EP3459904B2 - Flurförderzeug, hydraulisches system für ein flurförderzeug und verfahren zum betreiben eines hydraulischen systems - Google Patents

Flurförderzeug, hydraulisches system für ein flurförderzeug und verfahren zum betreiben eines hydraulischen systems Download PDF

Info

Publication number
EP3459904B2
EP3459904B2 EP18194815.9A EP18194815A EP3459904B2 EP 3459904 B2 EP3459904 B2 EP 3459904B2 EP 18194815 A EP18194815 A EP 18194815A EP 3459904 B2 EP3459904 B2 EP 3459904B2
Authority
EP
European Patent Office
Prior art keywords
mast
lift cylinder
hydraulic
lifting
load
Prior art date
Legal status (The legal status is an assumption and is not a legal conclusion. Google has not performed a legal analysis and makes no representation as to the accuracy of the status listed.)
Active
Application number
EP18194815.9A
Other languages
English (en)
French (fr)
Other versions
EP3459904B1 (de
EP3459904A1 (de
Inventor
Michael Knieriem
Thomas Stolten
Current Assignee (The listed assignees may be inaccurate. Google has not performed a legal analysis and makes no representation or warranty as to the accuracy of the list.)
Jungheinrich AG
Original Assignee
Jungheinrich AG
Priority date (The priority date is an assumption and is not a legal conclusion. Google has not performed a legal analysis and makes no representation as to the accuracy of the date listed.)
Filing date
Publication date
Family has litigation
First worldwide family litigation filed litigation Critical https://patents.darts-ip.com/?family=63637736&utm_source=google_patent&utm_medium=platform_link&utm_campaign=public_patent_search&patent=EP3459904(B2) "Global patent litigation dataset” by Darts-ip is licensed under a Creative Commons Attribution 4.0 International License.
Application filed by Jungheinrich AG filed Critical Jungheinrich AG
Publication of EP3459904A1 publication Critical patent/EP3459904A1/de
Publication of EP3459904B1 publication Critical patent/EP3459904B1/de
Application granted granted Critical
Publication of EP3459904B2 publication Critical patent/EP3459904B2/de
Active legal-status Critical Current
Anticipated expiration legal-status Critical

Links

Images

Classifications

    • BPERFORMING OPERATIONS; TRANSPORTING
    • B66HOISTING; LIFTING; HAULING
    • B66FHOISTING, LIFTING, HAULING OR PUSHING, NOT OTHERWISE PROVIDED FOR, e.g. DEVICES WHICH APPLY A LIFTING OR PUSHING FORCE DIRECTLY TO THE SURFACE OF A LOAD
    • B66F9/00Devices for lifting or lowering bulky or heavy goods for loading or unloading purposes
    • B66F9/06Devices for lifting or lowering bulky or heavy goods for loading or unloading purposes movable, with their loads, on wheels or the like, e.g. fork-lift trucks
    • B66F9/075Constructional features or details
    • B66F9/20Means for actuating or controlling masts, platforms, or forks
    • B66F9/22Hydraulic devices or systems
    • BPERFORMING OPERATIONS; TRANSPORTING
    • B66HOISTING; LIFTING; HAULING
    • B66FHOISTING, LIFTING, HAULING OR PUSHING, NOT OTHERWISE PROVIDED FOR, e.g. DEVICES WHICH APPLY A LIFTING OR PUSHING FORCE DIRECTLY TO THE SURFACE OF A LOAD
    • B66F9/00Devices for lifting or lowering bulky or heavy goods for loading or unloading purposes
    • B66F9/06Devices for lifting or lowering bulky or heavy goods for loading or unloading purposes movable, with their loads, on wheels or the like, e.g. fork-lift trucks
    • B66F9/075Constructional features or details
    • B66F9/07504Accessories, e.g. for towing, charging, locking
    • BPERFORMING OPERATIONS; TRANSPORTING
    • B66HOISTING; LIFTING; HAULING
    • B66FHOISTING, LIFTING, HAULING OR PUSHING, NOT OTHERWISE PROVIDED FOR, e.g. DEVICES WHICH APPLY A LIFTING OR PUSHING FORCE DIRECTLY TO THE SURFACE OF A LOAD
    • B66F9/00Devices for lifting or lowering bulky or heavy goods for loading or unloading purposes
    • B66F9/06Devices for lifting or lowering bulky or heavy goods for loading or unloading purposes movable, with their loads, on wheels or the like, e.g. fork-lift trucks
    • B66F9/075Constructional features or details
    • B66F9/08Masts; Guides; Chains
    • FMECHANICAL ENGINEERING; LIGHTING; HEATING; WEAPONS; BLASTING
    • F15FLUID-PRESSURE ACTUATORS; HYDRAULICS OR PNEUMATICS IN GENERAL
    • F15BSYSTEMS ACTING BY MEANS OF FLUIDS IN GENERAL; FLUID-PRESSURE ACTUATORS, e.g. SERVOMOTORS; DETAILS OF FLUID-PRESSURE SYSTEMS, NOT OTHERWISE PROVIDED FOR
    • F15B11/00Servomotor systems without provision for follow-up action; Circuits therefor
    • F15B11/08Servomotor systems without provision for follow-up action; Circuits therefor with only one servomotor
    • FMECHANICAL ENGINEERING; LIGHTING; HEATING; WEAPONS; BLASTING
    • F15FLUID-PRESSURE ACTUATORS; HYDRAULICS OR PNEUMATICS IN GENERAL
    • F15BSYSTEMS ACTING BY MEANS OF FLUIDS IN GENERAL; FLUID-PRESSURE ACTUATORS, e.g. SERVOMOTORS; DETAILS OF FLUID-PRESSURE SYSTEMS, NOT OTHERWISE PROVIDED FOR
    • F15B2211/00Circuits for servomotor systems
    • F15B2211/40Flow control
    • F15B2211/405Flow control characterised by the type of flow control means or valve
    • F15B2211/40523Flow control characterised by the type of flow control means or valve with flow dividers
    • F15B2211/4053Flow control characterised by the type of flow control means or valve with flow dividers using valves
    • FMECHANICAL ENGINEERING; LIGHTING; HEATING; WEAPONS; BLASTING
    • F15FLUID-PRESSURE ACTUATORS; HYDRAULICS OR PNEUMATICS IN GENERAL
    • F15BSYSTEMS ACTING BY MEANS OF FLUIDS IN GENERAL; FLUID-PRESSURE ACTUATORS, e.g. SERVOMOTORS; DETAILS OF FLUID-PRESSURE SYSTEMS, NOT OTHERWISE PROVIDED FOR
    • F15B2211/00Circuits for servomotor systems
    • F15B2211/70Output members, e.g. hydraulic motors or cylinders or control therefor
    • F15B2211/71Multiple output members, e.g. multiple hydraulic motors or cylinders

Definitions

  • the invention relates to an industrial truck with a lifting mast with at least one mast lifting stage driven by at least one mast lifting cylinder and with a free lifting stage driven by at least one free lifting cylinder, with which a load-carrying device can be moved along the lifting mast.
  • the invention also relates to a method for operating a hydraulic system of an industrial truck with a lifting mast with at least one mast lifting stage and with a free lifting stage, with which a load-carrying device can be moved along the lifting mast, wherein the hydraulic system comprises at least one mast lifting cylinder for driving the at least one mast lifting stage and at least one free lifting cylinder for driving the free lifting stage.
  • the lifting mast comprises a stationary mast that is permanently connected to the vehicle and usually two extension masts, a central mast and an inner mast, which are extended by the mast lifting cylinder.
  • a free lift cylinder moves a free lift stage with which a load-handling device, for example a fork, can be moved along the inner mast of the lifting mast.
  • the free lift stage moves the load-handling device along this mast stage and allows the operator of the industrial truck to move the load-handling device in height without the lifting mast being extended and thus the overall height of the industrial truck changing.
  • Common forklift trucks have a common hydraulic lowering branch for the mast lift and the free lift, in which a lowering valve is integrated.
  • the individual mast lift stages and the free lift have hydraulic cylinders with different cross-sections. If several mast stages are extended, the mast stage with the smallest effective hydraulic cross-section retracts first when the industrial truck is lowering the load. This is because this hydraulic cylinder is subject to the greatest hydraulic pressure, so it retracts first when the hydraulic pressure drops. This is usually the top mast lift stage. As the hydraulic pressure continues to drop, the mast stages are lowered serially, i.e. one after the other. Finally, after the mast stages have been fully retracted, the free lift stage retracts and lowers the load-handling device.
  • a hydraulic system which comprises a free lift cylinder and a mast lift cylinder.
  • a load-carrying device is coupled to the free lift cylinder, and a mast step is coupled to the mast lift cylinder.
  • the two lift cylinders are connected to a hydraulic tank via separate hydraulic return lines.
  • a first return valve is present in the first return line, and a second return valve is present in the second return line.
  • the hydraulic fluid is supplied via a hydraulic pump, a supply valve and a first and a second connecting line.
  • the hydraulic fluid can be supplied to the two lift cylinders simultaneously. Since the supply valve is also a proportional valve, the free lift and the mast lift can be moved independently of one another or together to lift the load, depending on the valve position. It is also provided that shortly before the free lift cylinder reaches its end position, the supply valve is gradually closed so that the volume flow to the free lift cylinder is reduced.
  • Valves are installed between a hydraulic pump and the hydraulic cylinders of the free lift and the mast lift so that both hydraulic stages can be operated at the desired speed and a smooth transition between the free lift stage and the main stage can be achieved.
  • the task is solved by an industrial truck with a lifting mast with at least one mast lifting stage driven by at least one mast lifting cylinder and with a free lifting stage driven by at least one free lifting cylinder, with which a load-carrying means can be moved along the lifting mast, wherein the industrial truck is further developed by a hydraulic system for supplying the at least one mast lifting cylinder and the at least one free lifting cylinder with a hydraulic fluid, wherein the hydraulic system is set up for at least temporarily simultaneously actuating the at least one mast lifting cylinder and the at least one free lifting cylinder in load lowering operation, wherein the hydraulic system for relieving the at least one mast lifting cylinder and the at least one free lifting cylinder in load lowering operation comprises separate hydraulic return lines, the hydraulic system comprises a first hydraulic return line which runs between the at least one free lifting cylinder and a reservoir for the hydraulic fluid and the hydraulic system further comprises a second hydraulic return line which runs between the at least one mast lifting cylinder and the reservoir, wherein a first lowering valve is integrated in the first return line and a second
  • the mast lifting stages and the load handling device are retracted and/or extended at the same time.
  • the synchronous, i.e. at least temporarily simultaneous, operation of at least one mast lifting cylinder and at least one free lift cylinder can reduce the lowering time of the industrial truck. This increases the handling capacity of the industrial truck. This applies if the industrial truck accesses heights that can only be reached when the lifting mast is at least partially extended. In lifting mode, a jerky transition between free lift and mast lift can be avoided.
  • An industrial truck or industrial conveyor is a means of transport for the transportation of goods, which is mostly used within a company and on the ground, for example a forklift.
  • the industrial truck when lowering the load-handling device in load-lowering mode from maximum height, the industrial truck is faster by the time period that is usually required to retract the load-handling device with the free lift stage during the synchronous lowering process.
  • the extension process i.e. raising the load-handling device to the maximum height, is more homogeneous and smoother than before. This improves the handling of the industrial truck.
  • the industrial truck is designed such that the hydraulic system for relieving the at least one mast lift cylinder and the at least one free lift cylinder in load lowering operation comprises separate hydraulic return lines.
  • the separate hydraulic return lines can be used to accelerate the lowering of the load-carrying device by simultaneously retracting the mast stage(s) and the free lift stage.
  • the separate hydraulic return lines can be used to relieve the load on the mast lift cylinder and the free lift cylinder at the same time. This also applies if the mast lift cylinder and the free lift cylinder or the mast lift cylinders of the individual mast lift stages have different cross-sections, so that they extend in series, i.e. one after the other, during load lifting. If only a single hydraulic line were used to relieve the load on the lifting cylinders, the retraction of the mast lift stage and the free lift would necessarily take place in the reverse order to the extension. This is now advantageously no longer the case.
  • the industrial truck is designed such that the hydraulic system comprises a first hydraulic return line which runs between the at least one free lift cylinder and a reservoir for the hydraulic fluid and the hydraulic system further comprises a second hydraulic return line which runs between the at least one mast lift cylinder and the reservoir, wherein a first lowering valve is integrated into the first return line and a second lowering valve is integrated into the second return line.
  • first lowering valve and the second lowering valve can be controlled separately, i.e. independently of each other. This makes it possible to lower the mast lifting stage(s) and/or the load-carrying device separately and independently of each other in load-lowering operation.
  • the industrial truck includes a control system that is designed to open the lowering valves simultaneously when the load handling device is lowered in load lowering mode. By opening both lowering valves simultaneously, the mast lifting stage(s) and the load handling device are lowered simultaneously, at least at the start of the process. The load handling device is lowered particularly quickly.
  • the lowering valves are proportional valves and the control is further configured to control or regulate a first volume flow through the first lowering valve and a second volume flow through the second lowering valve such that in load lowering operation when lowering the load-carrying means, the at least one mast lifting stage and the load-carrying means reach a lower end position at least approximately simultaneously.
  • a homogeneous and comparable behavior of the industrial truck can be achieved when lowering the load lifting device from different lifting heights. This makes the industrial truck easier to operate.
  • a uniform lowering speed of the load handling device can be achieved over the entire lowering process.
  • a displacement sensor is provided on the mast lift and the free lift, for example, so that the respective speed at which the mast lift or the free lift is extended or retracted can be determined. Based on this measured value, a control is possible with which a uniform and homogeneous lowering process can be achieved, in particular so that the mast lift stage and the load-carrying device reach their lower end position at least approximately at the same time.
  • the industrial truck is further developed in particular in that the hydraulic system comprises a hydraulic pump which is integrated into a hydraulic supply line and is set up in load lifting mode to supply the at least one mast lift cylinder and the at least one free lift cylinder with pressurized hydraulic fluid, wherein the hydraulic supply line between the hydraulic pump and the lifting cylinders forks into a first and a second supply branch and the first supply branch runs to the free lift cylinder and the second supply branch runs to the mast lift cylinder, wherein a lift valve designed as a proportional valve is integrated into the hydraulic supply line, with which a ratio between the volume flows in the first and second supply branch can be changed.
  • a hydraulic pump which is integrated into a hydraulic supply line and is set up in load lifting mode to supply the at least one mast lift cylinder and the at least one free lift cylinder with pressurized hydraulic fluid
  • the hydraulic supply line between the hydraulic pump and the lifting cylinders forks into a first and a second supply branch and the first supply branch runs to the free lift cylinder and the second supply branch runs to the mast
  • the free lift cylinder has a first cross-section and the lifting cylinder has a second cross-section, the first cross-section being larger than the second cross-section and the lifting valve being integrated into the first supply branch.
  • the arrangement of the lifting valve in the first supply branch is advantageous because the effective hydraulic flow cross-section of the first supply branch can be reduced by means of the lifting valve. It is thus possible that the free lift cylinder and the lifting cylinder can be extended at the same time by appropriately selecting or setting the effective hydraulic flow cross-section of this supply branch.
  • the industrial truck is further developed by a control system that is designed to control the lifting valve in such a way that the free lift cylinder and the mast lift cylinder are extended simultaneously, at least temporarily, during load lifting operation.
  • the control system is designed to control the lifting valve in such a way that a smooth transition between free lift and mast lift is achieved.
  • the control or control unit is in particular a part of the operating control or operating control unit of the industrial vehicle.
  • a hydraulic system for an industrial truck has a lifting mast with at least one mast lifting stage and a free lifting stage with which a load-carrying means can be moved along the lifting mast, wherein the hydraulic system comprises at least one mast lifting cylinder for driving the at least one mast lifting stage and at least one free lifting cylinder for driving the at least one free lifting stage, wherein the hydraulic system is set up to at least temporarily simultaneously supply the at least one mast lifting cylinder and the at least one free lifting cylinder with a hydraulic fluid in load lowering operation, wherein the hydraulic system comprises a first hydraulic return line which runs between the at least one free lifting cylinder and a reservoir for the hydraulic fluid and the hydraulic system further comprises a second separate hydraulic return line which runs between the at least one mast lifting cylinder and the reservoir, wherein a first lowering valve is integrated into the first return line and a second lowering valve is integrated into the second return line.
  • the hydraulic system makes it possible to provide an industrial truck in which the load-handling device can be lowered more quickly than before. This makes it possible to use the hydraulic system to equip an industrial truck so that it achieves a higher handling capacity.
  • the hydraulic system is particularly interesting with regard to the possible upgrading or conversion of existing industrial trucks.
  • the hydraulic system further comprises a hydraulic pump which is integrated into a hydraulic supply line and is set up in load lifting operation to supply the at least one mast lifting cylinder and the at least one free lifting cylinder with pressurized hydraulic fluid, wherein the hydraulic supply line between the hydraulic pump and the lifting cylinders forks into a first and a second supply branch and the first supply branch runs to the free lifting cylinder and the second supply branch runs to the mast lifting cylinder, wherein a lifting valve designed as a proportional valve is integrated into the hydraulic supply line, with which a ratio between the volume flows in the first and second supply branch can be changed.
  • the object is also achieved by a method for operating a hydraulic system of an industrial truck with a lifting mast with at least one mast lifting stage and with a free lifting stage with which a load-carrying device can be moved along the lifting mast.
  • the hydraulic system comprises at least one mast lifting cylinder for driving the at least one mast lifting stage and at least one free lift cylinder for driving the free lift stage, wherein the hydraulic system is developed in that it is operated in such a way that in load lifting operation and/or in load lowering operation the at least one mast lifting cylinder and the at least one free lift cylinder are at least temporarily actuated simultaneously
  • the hydraulic system comprises a first hydraulic return line which runs between the at least one free lift cylinder and a reservoir for the hydraulic fluid
  • the hydraulic system further comprises a separate second hydraulic return line which runs between the at least one mast lifting cylinder and the reservoir, wherein a first lowering valve is integrated into the first return line and a second lowering valve is integrated into the second return line, and wherein in load lowering operation when the load-carrying
  • the method for operating the hydraulic system also has the same or similar advantages as those already mentioned with regard to the industrial truck or the hydraulic system.
  • the lowering valves are proportional valves and a first volume flow through the first lowering valve and a second volume flow through the second lowering valve are controlled or regulated such that when the load-carrying device is lowered, the at least one mast lifting stage and the load-carrying device reach a lower end position at least approximately simultaneously.
  • the hydraulic system comprises a hydraulic pump which is integrated into a hydraulic supply line and with which the at least one mast lift cylinder and the at least one free lift cylinder are supplied with pressurized hydraulic fluid during load lifting operation, wherein the hydraulic supply line between the hydraulic pump and the lifting cylinders forks into a first and a second supply branch and the first supply branch runs to the free lift cylinder and the second supply branch runs to the mast lift cylinder, wherein a lift valve designed as a proportional valve is integrated into the hydraulic supply line, with which a ratio between a volume flow in the first and second supply branch can be changed, wherein the free lift cylinder has a first cross section and the mast lift cylinder has a second cross section, wherein the first cross section is larger than the second cross section and the lift valve is integrated into the first supply branch and wherein the lift valve is controlled in such a way that the free lift cylinder and the mast lift cylinder are extended at least temporarily at the same time.
  • a lift valve designed as a proportional valve is integrated into the hydraulic supply line, with which
  • the lifting valve is brought into a first position for a sequential extension of the free lift cylinder and the mast lift cylinder or into a second position for an at least temporarily simultaneous extension.
  • the corresponding operating mode can be selected manually, for example. However, it is also intended that a corresponding operating mode in which the mast lifting stage and the free lifting stage are moved simultaneously is selected if, for example, a lifting height is manually entered which lies outside the range that can be reached exclusively using the free lifting.
  • Embodiments of the invention may fulfill individual features or a combination of several features.
  • Fig.1 shows an industrial truck 2, for example a forklift truck, with a lifting mast 4, comprising for example a first mast lifting stage 41, the inner mast, and a second mast lifting stage 42, the middle mast.
  • the lifting mast 4 is supported by a Fig.1 not shown mast lifting cylinder (also several mast lifting cylinders can be provided).
  • the lifting mast 4 comprises in addition to the inner mast and the middle mast, there is a stationary mast that is firmly connected to the vehicle frame.
  • the middle mast is driven, for example, by the mast lifting cylinder, the inner mast is also coupled, for example, to the middle mast via a chain, so that these two extension masts extend simultaneously.
  • the industrial truck 2 also comprises a free lift stage with a load-carrying device 6, for example a fork, which can be moved along the inner mast of the lifting mast 4.
  • the free lift stage comprises a free lift cylinder 8.
  • the free lift cylinder 8 can move the load-carrying device 6 along the first mast stage 41 of the lifting mast 4.
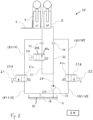
  • Fig. 2 shows a schematic circuit diagram of a hydraulic system 10, as it is integrated into the industrial truck 2 according to an embodiment.
  • the hydraulic system 10 serves to supply a mast lift cylinder 12 and the free lift cylinder 8, with which the load-carrying device 6 is moved, with a hydraulic fluid 14.
  • the hydraulic fluid is taken from a storage container 16 and returned to it.
  • the hydraulic system 10 is set up to operate the mast lift cylinder 12 and the free lift cylinder 8 simultaneously in load lifting mode and/or in lowering mode, at least temporarily.
  • the hydraulic system 10 is designed to simultaneously actuate the mast lifting cylinder 12 and the free lifting cylinder 8 both in load lifting mode, i.e. when raising the load-handling device 6, and in load lowering mode, i.e. when lowering the load-handling device 6.
  • the hydraulic system 10 comprises separate hydraulic return lines 18.
  • a first hydraulic return line 181 runs between the free lift cylinder 8 and the storage tank 16.
  • a second hydraulic return line 182 is included, which runs between the mast lift cylinder 12 and the storage tank 16.
  • a first lowering valve 21 is integrated into the first return line 181 and a second lowering valve 22 is integrated into the second return line 182.
  • the lowering valves 21, 22 are, for example, proportional valves. These can be switched between a first switching position 21a, 22a, in which the lowering valves 21, 22 work as check valves, and a second switching position 21b, 22b. In the second switching position 21b, 22b, the lowering valves 21, 22 are designed to control or regulate a first volume flow or a second volume flow.
  • the first lowering valve 21 controls or regulates a first volume flow through the first return line 181, while the second lowering valve 22 controls or regulates a second volume flow through the second return line 182.
  • the lowering valves 21, 22 can be controlled separately from one another.
  • a controller 24 is included in the hydraulic system 10, which controls the two lowering valves 21, 22 via connecting lines (not shown).
  • the control 24 is set up or programmed in such a way that in a load lowering operation, i.e. when lowering the load-carrying device 6, the lowering valves 21, 22 open simultaneously.
  • the free lift cylinder 8 of the free lift stage and the mast lift cylinder 12 of the lifting mast 4 are thus retracted simultaneously. Consequently, the load-carrying device 6 actuated by the free lift stage lowers along the first mast lift stage 41, while at the same time the lifting mast 4, i.e. the first and second mast lift stages 41, 42, retract.
  • FIG. 3a to 3d show a lowering process of a load-handling device 6, as it takes place in an industrial truck according to the state of the art.
  • Fig. 3a shows the industrial truck 2 with the lifting mast 4 fully extended.
  • the load handling device 6 is located at the upper stop of the first mast lifting stage 41.
  • a conventional industrial truck 2 comprises a common return line with which both the free lift cylinder 8 and the mast lifting cylinder 12 are relieved of pressure.
  • the free lift cylinder 8 and the mast lift cylinder 12 have different cross sections. These are selected so that at a first pressure p1 (cf. Fig. 2 ) of the hydraulic fluid 14, the free lift cylinder 8 extends first.
  • a first pressure p1 cf. Fig. 2
  • the pressure of the hydraulic fluid 14 in the hydraulic system 10 continues to rise until it reaches the value p2, which is higher than p1.
  • the mast lifting stages 41, 42 begin to extend.
  • the individual mast lifting cylinders 12 of the mast lifting stages 41, 42 can in turn be designed such that their different cross sections ensure that first the first mast lifting stage 41 and then the second mast lifting stage 42 extend.
  • the two mast lifting stages 41, 42 retract at approximately the same time.
  • the lifting mast 4 and the free lifting stage retract in the reverse order.
  • the lifting mast 4 retracts first (cf. Fig. 3b ). Since the pressure is still above p1, the free lift stage and thus the load handling device 6 remain at the upper stop until the lifting mast 4 is completely retracted (cf. Fig. 3c ). Only when the hydraulic pressure in the hydraulic system 10 subsequently drops further, namely below the value of p1, does the free lift stage retract and the load handling device 6 sink to the lower stop.
  • the Fig. 4a to 4c show a lowering process of a load-handling device 6 of an industrial truck 2 according to an embodiment.
  • Fig. 4a shows the industrial truck 2 with the lifting mast 4 fully extended, with the load handling device 6 also at the upper stop of the first mast lifting stage 41.
  • This situation is identical to the Fig. 3a In load lowering mode, the loads are lowered Fig.4
  • the free lift stage and the mast lift stages 41, 42 of the industrial truck 2 shown are activated by simultaneously opening the first and second lowering valves 21, 22 (cf. Fig. 2 ) are lowered synchronously.
  • Fig. 4b shows the industrial truck 2 after a first time interval, after which the conventional industrial truck 2 in Fig. 3b In contrast to the conventional industrial truck 2 in Fig. 3b is in the industrial truck 2 according to an embodiment in Fig.
  • the load-carrying device 6 has already reached the lower stop of the first mast lifting stage 41. It is therefore already significantly lower than the load-carrying device 6 in the conventional industrial truck 2.
  • the lifting mast 4 sinks completely and the load-carrying device 6 reaches the lowest stop ( Fig. 4c ).
  • the load handling device 6 is still at the upper stop of the first mast lifting stage 41.
  • the load-handling device 6 is lowered much more quickly. This saves exactly the time interval that the load-handling device 6 needs in a conventional industrial truck 2 to be lowered along a mast lifting step 41, 42.
  • control 24 is set up in such a way that the lowering of the lifting mast 4 and the free lift stage, which moves the load-carrying device 6, is controlled or regulated in such a way that the mast lift stages 41, 42 and the load-carrying device 6 reach the lower stop at least approximately simultaneously. In this way, a homogeneous lowering process can be achieved, which simplifies the operation of the industrial truck 2 for the operator.
  • the hydraulic system 10 of the industrial vehicle 2 comprises a hydraulic pump 26, which takes hydraulic fluid 14 from the reservoir 16 via a hydraulic supply line 28.
  • the hydraulic pump 26 is integrated into the hydraulic supply line 28.
  • the hydraulic pump 26 is used to supply the mast lifting cylinder 12 and the free lifting cylinder 8 with pressurized hydraulic fluid 14.
  • the hydraulic supply line 28 forks between the hydraulic pump 26 and the lifting cylinders, i.e. the free lift cylinder 8 and the mast lift cylinder 12, into a first supply branch 31 and a second supply branch 32.
  • the first supply branch 31 leads to the free lift cylinder 8
  • the second supply branch 32 leads to the mast lift cylinder 12.
  • the two supply branches 31, 32 are also considered part of the hydraulic supply line 28.
  • a lift valve 34 which can be designed as a proportional valve, is integrated into the first supply branch 31.
  • the lift valve 34 can be controlled or regulated via the control 24 in the same way as the hydraulic pump 26.
  • the settings of the lift valve 34 can be used to change a ratio between the volume flows in the first and second supply branches 31, 32.
  • the free lift cylinder 8 has a first cross-section and the mast lift cylinder 12 has a second cross-section, the first cross-section being larger than the second cross-section. For this reason, the free lift cylinder 8 is activated at a first pressure p1, the pressure p1 being smaller than the pressure p2 at which the mast lift cylinder 12 is activated.
  • the settings of the lift valve 34 can be used to variably set the effective hydraulic flow cross-section of the lift cylinders 8, 12 so that it is possible to extend both lift cylinders 8, 12 at the same time. This takes place in the first switching position 34a of the lift valve 34.
  • the free lift can be blocked so that only the mast lift cylinder 12 is actuated. Furthermore, the dynamic adjustment of the lift valve 34 makes it possible to achieve a smooth transition between a lift of the load-carrying device 6 accomplished by the free lift cylinder 8 and a lift of the same accomplished by the mast lift cylinder 12.
  • a check valve 36 is integrated into the respective supply branch.

Landscapes

  • Engineering & Computer Science (AREA)
  • Structural Engineering (AREA)
  • Transportation (AREA)
  • Mechanical Engineering (AREA)
  • Life Sciences & Earth Sciences (AREA)
  • Civil Engineering (AREA)
  • Geology (AREA)
  • Chemical & Material Sciences (AREA)
  • Combustion & Propulsion (AREA)
  • Physics & Mathematics (AREA)
  • Fluid Mechanics (AREA)
  • General Engineering & Computer Science (AREA)
  • Forklifts And Lifting Vehicles (AREA)
  • Fluid-Pressure Circuits (AREA)

Description

  • Die Erfindung betrifft ein Flurförderzeug mit einem Hubmast mit zumindest einer von zumindest einem Masthubzylinder angetriebenen Masthubstufe und mit einer von zumindest einem Freihubzylinder angetriebenen Freihubstufe, mit der ein Lastaufnahmemittel entlang des Hubmastes verfahrbar ist. Die Erfindung betrifft ebenso ein Verfahren zum Betreiben eines hydraulischen Systems eines Flurförderzeugs mit einem Hubmast mit zumindest einer Masthubstufe und mit einer Freihubstufe, mit der ein Lastaufnahmemittel entlang des Hubmasts verfahrbar ist, wobei das hydraulische System zumindest einen Masthubzylinder zum Antreiben der zumindest einen Masthubstufe und zumindest einen Freihubzylinder zum Antreiben der Freihubstufe umfasst.
  • Flurförderzeuge, wie beispielsweise Gabelstapler, verfügen vielfach über einen Hubmast mit einer oder mehreren Masthubstufen, die von einem Masthubzylinder oder mehreren Masthubzylindern hydraulisch betätigt werden. Der Hubmast umfasst einen fest mit dem Fahrzeug verbundenen Standmast und in der Regel zwei Ausfahrmasten, einem Mittelmast und einem Innenmast, die von dem Masthubzylinder ausgefahren werden. Ein Freihubzylinder bewegt eine Freihubstufe, mit der ein Lastaufnahmemittel, beispielsweise eine Gabel, entlang des Innenmastes des Hubmastes verfahrbar ist. Die Freihubstufe bewegt das Lastaufnahmemittel entlang dieser Maststufe und erlaubt es dem Bediener des Flurförderzeugs, das Lastaufnahmemittel der Höhe nach zu verfahren, ohne dass der Hubmast ausgefahren wird und sich somit die Bauhöhe des Flurförderzeugs ändert.
  • Bekannte Gabelstapler verfügen über einen gemeinsamen Hydraulik-Senkzweig für den Masthub und den Freihub, in den ein Senkventil integriert ist. Damit beim Absenken des Lastaufnahmemittels die Masthubstufen und der Freihub in der gewünschten Reihenfolge einfahren, verfügen die einzelnen Masthubstufen und der Freihub über Hydraulikzylinder mit unterschiedlichen Querschnitten. Sind mehrere Maststufen ausgefahren, so fährt im Lastsenkbetrieb des Flurförderzeugs zuerst diejenige Maststufe ein, deren wirksamer hydraulischer Querschnitt in Summe am geringsten ist. An diesem Hydraulikzylinder liegt nämlich der größte hydraulische Druck an, so dass er bei sinkendem hydraulischen Druck als erstes einfährt. Üblicherweise handelt es sich um die oberste Masthubstufe. Mit weiter sinkendem hydraulischem Druck werden die Maststufen seriell, also nacheinander, abgesenkt. Schließlich fährt, nachdem die Maststufen vollständig eingefahren sind, die Freihubstufe ein und senkt das Lastaufnahmemittel ab.
  • Aus der nicht vorveröffentlichten EP 3 336 051 A1 ist ein hydraulisches System bekannt, welches einen Freihubzylinder und einen Masthubzylinder umfasst. Mit dem Freihubzylinder ist ein Lastaufnahmemittel gekoppelt, mit dem Masthubzylinder ist eine Maststufe gekoppelt. Die beiden Hubzylinder sind über separate hydraulische Rückleitungen mit einem Hydrauliktank verbunden. In der ersten Rückleitung ist ein erstes Rückführventil vorhanden, in der zweiten Rückleitung ist ein zweites Rückführventil vorhanden. Die Zufuhr der Hydraulikflüssigkeit erfolgt über eine Hydraulikpumpe, ein Zuführventil sowie eine erste und eine zweite Verbindungsleitung. Die Zufuhr von Hydraulikflüssigkeit zu den beiden Hubzylindern kann gleichzeitig erfolgen. Da es sich bei dem Zuführventil außerdem um ein Proportionalventil handelt, kann zum Heben der Last der Freihub und der Masthub je nach Ventilstellung unabhängig voneinander oder gemeinsam verfahren werden. Außerdem ist vorgesehen, dass kurz bevor der Freihubzylinder seine Endstellung erreicht, das Zuführventil sukzessive geschlossen wird, so dass sich der Volumenstrom zum Freihubzylinder reduziert. Dieses Dokument offenbart den Oberbegriff von Anspruch 1.
  • Aus der DE 10 2009 011 865 A1 ist ein hydraulisches System bekannt, bei dem ein sanfter Übergang zwischen Freihub und Masthub realisiert werden kann. Kurz vor Erreichen der jeweiligen Endanschläge wird der Freihub oder der Masthub verringert oder bereits angefahren, so dass diese kurzzeitig gleichzeitig betätig werden, um einen sanften Übergang zu ermöglichen.
  • Aus der EP 1 600 420 A1 ist ein weiteres hydraulisches System bekannt, welches einen Freihubzylinder und zwei Masthubzylinder umfasst. Die Hubzylinder werden über Hydraulikpumpen versorgt. Die Querschnitte der Hydraulikzylinder sind so gewählt, dass diese sequentiell betätigt werden. Um einen sanften Übergang zwischen den einzelnen Hubstufen zu schaffen, ist ein Ventil vorhanden, welches in einer vorgesehenen Schaltstellung den Fluss zu dem Freihubzylinder begrenzt.
  • Ein weiteres hydraulisches System ist aus WO 2009/141242 A1 bekannt. Zwischen einer Hydraulikpumpe und den Hydraulikzylindern des Freihubs und des Masthubs sind Ventile vorhanden, so dass beide Hydraulikstufen mit der gewünschten Geschwindigkeit verfahren werden können und ein ruckfreier Übergang zwischen der Freihubstufe und der Hauptstufe hergestellt werden kann.
  • Es ist eine Aufgabe der Erfindung, ein Flurförderzeug mit einem Hubmast mit zumindest einer Masthubstufe und mit einer Freihubstufe sowie ein Verfahren zum Betreiben eines hydraulischen Systems eines Flurförderzeugs anzugeben, wobei ein Einfahren der zumindest einen Masthubstufe und der Freihubstufe im Lastsenkbetrieb schneller als bisher möglich sein soll.
  • Die Aufgabe wird gelöst durch ein Flurförderzeug mit einem Hubmast mit zumindest einer von zumindest einem Masthubzylinder angetriebenen Masthubstufe und mit einer von zumindest einem Freihubzylinder angetriebenen Freihubstufe, mit der ein Lastaufnahmemittel entlang des Hubmastes verfahrbar ist, wobei das Flurförderzeug fortgebildet ist durch ein hydraulisches System zum Versorgen des zumindest einen Masthubzylinders und des zumindest einen Freihubzylinders mit einer Hydraulikflüssigkeit, wobei das hydraulische System zum zumindest zeitweise gleichzeitigen Betätigen des zumindest einen Masthubzylinders und des zumindest einen Freihubzylinders im Lastsenkbetrieb eingerichtet ist, wobei das hydraulische System zum Entlasten des zumindest einen Masthubzylinders und des zumindest einen Freihubzylinders im Lastsenkbetrieb separate hydraulische Rückleitungen umfasst, das hydraulische System eine erste hydraulische Rückleitung umfasst, die zwischen dem zumindest einen Freihubzylinder und einem Vorratsbehälter für die Hydraulikflüssigkeit verläuft und das hydraulische System ferner eine zweite hydraulische Rückleitung umfasst, die zwischen dem zumindest einen Masthubzylinder und dem Vorratsbehälter verläuft, wobei in die erste Rückleitung ein erstes Senkventil und in die zweite Rückleitung ein zweites Senkventil integriert ist und wobei eine Steuerung umfasst ist, die dazu eingerichtet ist, im Lastsenkbetrieb beim Absenken des Lastaufnahmemittels die beiden Senkventile gleichzeitig zu öffnen.
  • Vorteilhaft werden bei einem solchen Flurförderzeug die Masthubstufen und das Lastaufnahmemittel gleichzeitig eingefahren und/oder ausgefahren. Durch die synchrone, d. h. zumindest zeitweise gleichzeitige, Betätigung des zumindest einen Masthubzylinders und des zumindest einen Freihubzylinders kann die Senkzeit des Flurförderzeugs reduziert werden. Dies erhöht die Umschlagleistung des Flurförderzeugs. Dies gilt, sofern das Flurförderzeug auf Höhen zugreift, die nur bei zumindest teilweise ausgefahrenem Hubmast erreichbar sind. Im Hubbetrieb kann ein ruckartiger Übergang zwischen Freihub und Masthub vermieden werden.
  • Ein Flurförderzeug oder auch Flurfördergerät ist ein Transportmittel für den Transport von Gütern, welches zumeist innerbetrieblich und zu ebener Erde eingesetzt wird, beispielsweise ein Stapler.
  • Im Idealfall ist das Flurförderzeug gemäß Aspekten der Erfindung beim Herunterfahren des Lastaufnahmemittels im Lastsenkbetrieb aus maximaler Höhe beim synchronen Senkvorgang um diejenige Zeitspanne schneller, wie sie üblicherweise zum Einfahren des Lastaufnahmemittels mit der Freihubstufe erforderlich ist. Der Ausfahrvorgang, d. h. das Anheben des Lastaufnahmemittels bis zur maximalen Höhe, ist homogener und flüssiger als bisher. Dies verbessert die Handhabung des Flurförderzeugs.
  • Das Flurförderzeug ist so ausgebildet, dass das hydraulische System zum Entlasten des zumindest einen Masthubzylinders und des zumindest einen Freihubzylinders im Lastsenkbetrieb separate hydraulische Rückleitungen umfasst.
  • Durch die separaten hydraulischen Rückleitungen kann das Absenken des Lastaufnahmemittels durch gleichzeitiges Einfahren der Maststufe(n) und der Freihubstufe beschleunigt werden. Durch die separaten hydraulischen Rückleitungen können der Masthubzylinder und der Freihubzylinder gleichzeitig entlastet werden. Dies gilt auch, wenn der Masthubzylinder und der Freihubzylinder bzw. die Masthubzylinder der einzelnen Masthubstufen unterschiedliche Querschnitte aufweisen, sodass diese im Lasthubbetrieb seriell, also nacheinander, ausfahren. Würde lediglich eine einzige Hydraulikleitung auch zum Entlasten der Hubzylinder eingesetzt, so würde notwendigerweise das Einfahren der Masthubstufe und des Freihubs gerade in umgekehrter Reihenfolge wie das Ausfahren stattfinden. Dies ist nun vorteilhaft nicht mehr der Fall.
  • Das Flurförderzeug ist so ausgebildet, dass das hydraulische System eine erste hydraulische Rückleitung umfasst, die zwischen dem zumindest einen Freihubzylinder und einem Vorratsbehälter für die Hydraulikflüssigkeit verläuft und das hydraulische System ferner eine zweite hydraulische Rückleitung umfasst, die zwischen dem zumindest einen Masthubzylinder und dem Vorratsbehälter verläuft, wobei in die erste Rückleitung ein erstes Senkventil und in die zweite Rückleitung ein zweites Senkventil integriert ist.
  • Insbesondere ist vorgesehen, dass das erste Senkventil und das zweite Senkventil separat, d. h. unabhängig voneinander, angesteuert werden können. So ist es möglich, die Masthubstufe(n) und/oder das Lastaufnahmemittel separat und unabhängig voneinander im Lastsenkbetrieb abzusenken.
  • Das Flurförderzeug umfasst eine Steuerung, die dazu eingerichtet ist, im Lastsenkbetrieb beim Absenken des Lastaufnahmemittels die Senkventile gleichzeitig zu öffnen. Durch ein gleichzeitiges Öffnen der beiden Senkventile werden die Masthubstufe(n) und das Lastaufnahmemittel zumindest zu Beginn des Vorgangs gleichzeitig abgesenkt. Das Lastaufnahmemittel wird besonders schnell abgesenkt.
  • Es ist ferner insbesondere vorgesehen, dass die Senkventile Proportionalventile sind und die Steuerung ferner dazu eingerichtet ist, einen ersten Volumenstrom durch das erste Senkventil und einen zweiten Volumenstrom durch das zweite Senkventil so zu steuern oder zu regeln, dass im Lastsenkbetrieb beim Absenken des Lastaufnahmemittels die zumindest eine Masthubstufe und das Lastaufnahmemittel eine untere Endposition zumindest näherungsweise gleichzeitig erreichen.
  • Gemäß dieser Ausführungsform kann ein homogenes und vergleichbares Verhalten des Flurförderzeugs beim Absenken des Lasthebemittels aus unterschiedlichen Hubhöhen erreicht werden. Dies erleichtert die Bedienbarkeit des Flurförderzeugs. Außerdem kann eine gleichmäßige Absenkgeschwindigkeit des Lastaufnahmemittels über den gesamten Absenkvorgang hinweg erreicht werden.
  • Um eine entsprechende Regelung bereitzustellen, ist beispielsweise ein Wegaufnehmer am Masthub und am Freihub vorgesehen, so dass die jeweilige Geschwindigkeit, mit der der Masthub bzw. der Freihub aus- bzw. eingefahren werden, feststellbar ist. Ausgehend von diesem Messwert ist eine Regelung möglich, mit der ein gleichmäßiger und homogener Absenkvorgang erreicht werden kann, insbesondere so, dass die Masthubstufe und das Lastaufnahmemittel ihre untere Endposition zumindest näherungsweise gleichzeitig erreichen.
  • Das Flurförderzeug ist ferner insbesondere dadurch fortgebildet, dass das hydraulische System eine Hydraulikpumpe umfasst, die in eine hydraulische Zuleitung integriert ist und im Lasthubbetrieb zum Beaufschlagen des zumindest einen Masthubzylinders und des zumindest einen Freihubzylinders mit unter Druck stehender Hydraulikflüssigkeit eingerichtet ist, wobei sich die hydraulische Zuleitung zwischen der Hydraulikpumpe und den Hubzylindern in einen ersten und einen zweiten Versorgungsast aufgabelt und der erste Versorgungsast zu dem Freihubzylinder und der zweite Versorgungsast zu dem Masthubzylinder verläuft, wobei ein als Proportionalventil ausgestaltetes Hubventil in die hydraulische Zuleitung integriert ist, mit dem ein Verhältnis zwischen den Volumenströmen im ersten und im zweiten Versorgungsast veränderbar ist.
  • Gemäß dieser Ausführungsform ist nicht nur ein zumindest zeitweise gleichzeitiges Einfahren des Hubmastes bzw. der Masthubstufen und der Freihubstufe im Lastsenkbetrieb sondern auch ein zumindest zeitweise gleichzeitiges Ausfahren des Hubmastes und der Freihubstufe während des Lasthubbetriebes möglich. Auf diese Weise kann neben der Umschlagleistung auch die Handhabung und Bedienbarkeit des Flurförderzeugs weiter verbessert werden.
  • Gemäß einer weiteren vorteilhaften Ausführungsform ist vorgesehen, dass der Freihubzylinder einen ersten Querschnitt und der Hubzylinder einen zweiten Querschnitt aufweisen, wobei der erste Querschnitt größer als der zweite Querschnitt ist und das Hubventil in den ersten Versorgungsast integriert ist. Die Anordnung des Hubventils im ersten Versorgungsast ist vorteilhaft, da mittels des Hubventils der effektive hydraulische Strömungsquerschnitt des ersten Versorgungsastes verringert werden kann. So ist es möglich, dass durch entsprechende Wahl oder Einstellung des effektiven hydraulischen Strömungsquerschnitts dieses Versorgungsastes der Freihubzylinder und der Hubzylinder gleichzeitig ausgefahren werden können.
  • Das Flurförderzeug ist ferner durch eine Steuerung fortgebildet, die dazu eingerichtet ist, das Hubventil derart anzusteuern, dass im Lasthubbetrieb der Freihubzylinder und der Masthubzylinder zumindest zeitweise gleichzeitig ausgefahren werden. Insbesondere ist vorgesehen, dass die Steuerung dazu eingerichtet ist, das Hubventil derart anzusteuern, dass ein ruckfreier Übergang zwischen Freihub und Masthub erreicht wird.
  • Die Steuerung oder Steuerungseinheit ist insbesondere ein Teil der Betriebssteuerung oder Betriebssteuereinheit des Flurfahrzeugs.
  • Gemäß einem Beispiel, welches nicht Gegenstand der Erfindung ist, wird ein hydraulisches System für ein Flurförderzeug angegeben. Das Flurförderzeug weist auf, einen Hubmast mit zumindest einer Masthubstufe und eine Freihubstufe, mit der ein Lastaufnahmemittel entlang des Hubmastes verfahrbar ist, wobei das hydraulische System zumindest einen Masthubzylinder zum Antreiben der zumindest einen Masthubstufe und zumindest einen Freihubzylinder zum Antreiben der zumindest einen Freihubstufe umfasst, wobei das hydraulische System zum zumindest zeitweise gleichzeitigen Versorgen des zumindest einen Masthubzylinders und des zumindest einen Freihubzylinders mit einer Hydraulikflüssigkeit im Lastsenkbetrieb eingerichtet ist, wobei das hydraulische System eine erste hydraulische Rückleitung umfasst, die zwischen dem zumindest einen Freihubzylinder und einem Vorratsbehälter für die Hydraulikflüssigkeit verläuft und das hydraulische System ferner eine zweite separate hydraulische Rückleitung umfasst, die zwischen dem zumindest einen Masthubzylinder und dem Vorratsbehälter verläuft, wobei in die erste Rückleitung ein erstes Senkventil und in die zweite Rückleitung ein zweites Senkventil integriert ist.
  • Das hydraulische System erlaubt es, ein Flurförderzeug bereitzustellen, bei welchem das Lastaufnahmemittel schneller als bisher abgesenkt werden kann. Somit ist es möglich, mithilfe des hydraulischen Systems ein Flurförderzeug so auszurüsten, dass dieses eine höhere Umschlagsleistung erzielt. Das hydraulische System ist vor allem im Hinblick auf die mögliche Auf- oder Umrüstung bestehender Flurfahrzeuge interessant.
  • Ferner ist beispielsweise vorgesehen, dass das hydraulische System ferner eine Hydraulikpumpe umfasst, die in eine hydraulische Zuleitung integriert ist und im Lasthubbetrieb zum Beaufschlagen des zumindest einen Masthubzylinders und des zumindest einen Freihubzylinders mit unter Druck stehender Hydraulikflüssigkeit eingerichtet ist, wobei sich die hydraulische Zuleitung zwischen der Hydraulikpumpe und den Hubzylindern in einen ersten und einen zweiten Versorgungsast aufgabelt und der erste Versorgungsast zu dem Freihubzylinder und der zweite Versorgungsast zu dem Masthubzylinder verläuft, wobei ein als Proportionalventil ausgestaltetes Hubventil in die hydraulische Zuleitung integriert ist, mit dem ein Verhältnis zwischen den Volumenströmen im ersten und im zweiten Versorgungsast veränderbar ist.
  • Die Aufgabe wird außerdem gelöst durch ein Verfahren zum Betreiben eines hydraulischen Systems eines Flurförderzeugs mit einem Hubmast mit zumindest einer Masthubstufe und mit einer Freihubstufe, mit der ein Lastaufnahmemittel entlang des Hubmasts verfahrbar ist, wobei das hydraulische System zumindest einen Masthubzylinder zum Antreiben der zumindest einen Masthubstufe und zumindest einen Freihubzylinder zum Antreiben der Freihubstufe umfasst, wobei das hydraulische System dadurch fortgebildet ist, dass es derart betrieben wird, dass im Lasthubbetrieb und/oder im Lastsenkbetrieb der zumindest eine Masthubzylinder und der zumindest eine Freihubzylinder zumindest zeitweise gleichzeitig betätigt werden, wobei das hydraulische System eine erste hydraulische Rückleitung umfasst, die zwischen dem zumindest einen Freihubzylinder und einem Vorratsbehälter für die Hydraulikflüssigkeit verläuft und das hydraulische System ferner eine separate zweite hydraulische Rückleitung umfasst, die zwischen dem zumindest einen Masthubzylinder und dem Vorratsbehälter verläuft, wobei in die erste Rückleitung ein erstes Senkventil und in die zweite Rückleitung ein zweites Senkventil integriert ist, und wobei im Lastsenkbetrieb beim Ablassen des Lastaufnahmemittels das erste Senkventil und das zweite Senkventil gleichzeitig geöffnet werden.
  • Auch auf das Verfahren zum Betreiben des hydraulischen Systems treffen gleiche oder ähnliche Vorteile zu wie sie bereits im Hinblick auf das Flurförderzeug oder auch im Hinblick auf das hydraulische System erwähnt wurden.
  • In einer weiteren Ausführungsform ist vorgesehen, dass die Senkventile Proportionalventile sind und ein erster Volumenstrom durch das erste Senkventil und ein zweiter Volumenstrom durch das zweite Senkventil so gesteuert oder geregelt werden, dass beim Absenken des Lastaufnahmemittels die zumindest eine Masthubstufe und das Lastaufnahmemittel eine untere Endposition zumindest näherungsweise gleichzeitig erreichen.
  • Ferner ist das Verfahren vorteilhaft dadurch fortgebildet, dass das hydraulische System eine Hydraulikpumpe umfasst, die in eine hydraulische Zuleitung integriert ist und mit der im Lasthubbetrieb der zumindest eine Masthubzylinder und der zumindest eine Freihubzylinder mit unter Druck stehender Hydraulikflüssigkeit beaufschlagt wird, wobei sich die hydraulische Zuleitung zwischen der Hydraulikpumpe und den Hubzylindern in einen ersten und einen zweiten Versorgungsast aufgabelt und der erste Versorgungsast zu dem Freihubzylinder und der zweite Versorgungsast zu dem Masthubzylinder verläuft, wobei ein als Proportionalventil ausgestaltetes Hubventil in die hydraulische Zuleitung integriert ist, mit dem ein Verhältnis zwischen einem Volumenstrom im ersten und im zweiten Versorgungsast veränderbar ist, wobei der Freihubzylinder einen ersten Querschnitt und der Masthubzylinder einen zweiten Querschnitt aufweisen, wobei der erste Querschnitt größer als der zweite Querschnitt ist und das Hubventil in den ersten Versorgungsast integriert ist und wobei das Hubventil derart angesteuert wird, dass der Freihubzylinder und der Masthubzylinder zumindest zeitweise gleichzeitig ausgefahren werden.
  • Gemäß einer weiteren Ausführungsform ist vorgesehen, dass in Abhängigkeit von einem Betriebsmodus des Flurförderzeugs und/oder in Abhängigkeit von einer vorgewählten Hubhöhe des Lastaufnahmemittels das Hubventil in eine erste Stellung für ein sequentielles Ausfahren des Freihubzylinders und des Masthubzylinders oder in eine zweite Stellung für ein zumindest zeitweise gleichzeitiges Ausfahren gebracht wird.
  • Der entsprechende Betriebsmodus kann beispielsweise manuell angewählt werden. Es ist jedoch ebenso vorgesehen, dass ein entsprechender Betriebsmodus, bei dem die Masthubstufe und die Freihubstufe gleichzeitig verfahren werden, ausgewählt wird, wenn beispielsweise manuell eine Hubhöhe eingegeben wird, welche außerhalb des ausschließlich mittels des Freihubs erreichbaren Bereiches liegt.
  • Weitere Merkmale der Erfindung werden aus der Beschreibung erfindungsgemäßer Ausführungsformen zusammen mit den Ansprüchen und den beigefügten Zeichnungen ersichtlich. Erfindungsgemäße Ausführungsformen können einzelne Merkmale oder eine Kombination mehrerer Merkmale erfüllen.
  • Die Erfindung wird nachstehend ohne Beschränkung des allgemeinen Erfindungsgedankens anhand von Ausführungsbeispielen unter Bezugnahme auf die Zeichnungen beschrieben, wobei bezüglich aller im Text nicht näher erläuterten erfindungsgemäßen Einzelheiten ausdrücklich auf die Zeichnungen verwiesen wird. Es zeigen:
  • Fig. 1
    ein Flurförderzeug in einer schematisch vereinfachten perspektivischen Darstellung,
    Fig. 2
    ein schematisches Schaltbild eines hydraulischen Systems,
    Fig. 3a bis 3d
    einen Absenkvorgang eines Lastaufnahmemittels bei einem Flurförderzeug gemäß dem Stand der Technik aus einer maximal mit diesem Flurförderzeug erreichbaren Höhe und
    Fig. 4a bis 4c
    einen Absenkvorgang eines Lastaufnahmemittels aus einer maximalen mit dem Flurförderzeug erreichbaren Höhe bei einem Flurförderzeug gemäß einem Ausführungsbeispiel.
  • In den Zeichnungen sind jeweils gleiche oder gleichartige Elemente und/oder Teile mit denselben Bezugsziffern versehen, so dass von einer erneuten Vorstellung jeweils abgesehen wird.
  • Fig. 1 zeigt ein Flurförderzeug 2, beispielhaft einen Gabelstapler, mit einem Hubmast 4, umfassend beispielhaft eine erste Masthubstufe 41, den Innenmast, und eine zweite Masthubstufe 42, den Mittelmast. Der Hubmast 4 wird von einem in Fig. 1 nicht dargestellten Masthubzylinder (ebenso können mehrere Masthubzylinder vorgesehen sein) angetrieben. Der Hubmast 4 umfasst neben dem Innenmast und dem Mittelmast einen fest mit dem Fahrzeuggestell verbundenen Standmast. Der Mittelmast wird beispielhaft von dem Masthubzylinder angetrieben, der Innenmast ist ebenfalls beispielhaft über eine Kette mit dem Mittelmast gekoppelt, so dass diese beiden Ausfahrmasten gleichzeitig ausfahren. Ferner umfasst das Flurförderzeug 2 eine Freihubstufe mit einem Lastaufnahmemittel 6, beispielhaft eine Gabel, das entlang des Innenmastes des Hubmastes 4 verfahrbar ist. Zu diesem Zweck umfasst die Freihubstufe einen Freihubzylinder 8. Der Freihubzylinder 8 kann das Lastaufnahmemittel 6 entlang der ersten Maststufe 41 des Hubmasts 4 verfahren.
  • Fig. 2 zeigt ein schematisches Schaltbild eines hydraulischen Systems 10, wie es gemäß einem Ausführungsbeispiel in das Flurförderzeug 2 integriert ist. Das hydraulische System 10 dient dazu, einen Masthubzylinder 12 und den Freihubzylinder 8, mit dem das Lastaufnahmemittel 6 verfahren wird, mit einer Hydraulikflüssigkeit 14, zu versorgen. Die Hydraulikflüssigkeit wird einem Vorratsbehälter 16 entnommen und in diesen auch wieder zurückgeführt. Das hydraulische System 10 ist dazu eingerichtet, zumindest zeitweise den Masthubzylinder 12 und den Freihubzylinder 8 im Lasthubbetrieb und/oder im Senkbetrieb gleichzeitig zu betreiben.
  • Im dargestellten Ausführungsbeispiel ist das hydraulische System 10 dazu eingerichtet, den Masthubzylinder 12 und den Freihubzylinder 8 sowohl im Lasthubbetrieb, d.h. beim Anheben des Lastaufnahmemittels 6, als auch im Lastsenkbetrieb, also beim Absenken des Lastaufnahmemittels 6, gleichzeitig zu betätigen.
  • Das hydraulische System 10 umfasst separate hydraulische Rückleitungen 18. Eine erste hydraulische Rückleitung 181 verläuft zwischen dem Freihubzylinder 8 und dem Vorratsbehälter 16. Ferner ist eine zweite hydraulische Rückleitung 182 umfasst, die zwischen dem Masthubzylinder 12 und dem Vorratsbehälter 16 verläuft. In die erste Rückleitung 181 ist ein erstes Senkventil 21 und in die zweite Rückleitung 182 ein zweites Senkventil 22 integriert. Bei den Senkventilen 21, 22 handelt es sich beispielsweise um Proportionalventile. Diese sind zwischen einer ersten Schaltstellung 21a, 22a, in der die Senkventile 21, 22 als Rückschlagventile arbeiten, und einer zweiten Schaltstellung 21b, 22b schaltbar. In der zweiten Schaltstellung 21b, 22b sind die Senkventile 21, 22 dazu eingerichtet, einen ersten Volumenstrom bzw. einen zweiten Volumenstrom zu steuern oder zu regeln. So steuert oder regelt das erste Senkventil 21 einen ersten Volumenstrom durch die erste Rückleitung 181, während das zweite Senkventil 22 einen zweiten Volumenstrom durch die zweite Rückleitung 182 steuert oder regelt. Die Senkventile 21, 22 sind separat voneinander ansteuerbar. Zum Steuern und/oder Regeln ist eine Steuerung 24 von dem hydraulischen System 10 umfasst, welche die beiden Senkventile 21, 22 über nicht dargestellte Verbindungsleitungen ansteuert.
  • Die Steuerung 24 ist derart eingerichtet bzw. programmiert, dass in einem Lastsenkbetrieb, d.h. beim Absenken des Lastaufnahmemittels 6, die Senkventile 21, 22 gleichzeitig öffnen. So werden der Freihubzylinder 8 der Freihubstufe und der Masthubzylinder 12 des Hubmasts 4 gleichzeitig eingefahren. Folglich sinkt das von der Freihubstufe betätigte Lastaufnahmemittel 6 entlang der ersten Masthubstufe 41 ab, während gleichzeitig der Hubmast 4, d.h. die erste und die zweite Masthubstufe 41, 42, einfahren.
  • Dieser neuartige Vorgang wird anhand eines Vergleichs der Fig. 3 und 4 erläutert. Die Fig. 3a bis 3d zeigen einen Absenkvorgang eines Lastaufnahmemittels 6, wie er bei einem Flurförderzeug gemäß dem Stand der Technik stattfindet. Fig. 3a zeigt das Flurförderzeug 2 mit vollständig ausgefahrenem Hubmast 4. Das Lastaufnahmemittel 6 befindet sich am oberen Anschlag der ersten Masthubstufe 41. Ein herkömmliches Flurförderzeug 2 umfasst eine gemeinsame Rücklaufleitung, mit der sowohl der Freihubzylinder 8 als auch der Masthubzylinder 12 druckentlastet werden.
  • Der Freihubzylinder 8 und der Masthubzylinder 12 weisen unterschiedliche Querschnitte auf. Diese sind so gewählt, dass bei einem ersten Druck p1 (vgl. Fig. 2) der hydraulischen Flüssigkeit 14 zunächst der Freihubzylinder 8 ausfährt. Erreicht die Freihubstufe den oberen Anschlag des Hubmastes 4, genauer der ersten Masthubstufe 41 (diese Situation zeigt die Fig. 3c), so steigt der Druck der Hydraulikflüssigkeit 14 im hydraulischen System 10 weiter an, bis er den gegenüber p1 größeren Wert p2 erreicht. Bei Überschreiten des hydraulischen Druckes p2 beginnen die Masthubstufen 41, 42 auszufahren. Die einzelnen Masthubzylinder 12 der Masthubstufen 41, 42 können wiederum so ausgestaltet sein, dass ihre unterschiedlichen Querschnitte dafür sorgen, dass zunächst die erste Masthubstufe 41 und anschließend die zweite Masthubstufe 42 ausfährt.
  • Im in Fig. 3 dargestellten Ausführungsbeispiel fahren die beiden Masthubstufen 41, 42 in etwa gleichzeitig ein. Beim Ablassen der Hydraulikflüssigkeit 14 fahren der Hubmast 4 und die Freihubstufe in umgekehrter Reihenfolge ein. Ausgehend von einer Situation bei maximal ausgefahrenem Hubmast 4 und einem Lasthubmittel 6 am oberen Anschlag der ersten Masthubstufe 41 (vgl. Fig. 3a) fährt zunächst der Hubmast 4 ein (vgl. Fig. 3b). Da der Druck nach wie vor oberhalb von p1 liegt, verbleibt die Freihubstufe und somit das Lastaufnahmemittel 6 am oberen Anschlag, bis der Hubmast 4 vollständig eingefahren ist (vgl. Fig. 3c). Erst wenn anschließend der hydraulische Druck im hydraulischen System 10 weiter sinkt, nämlich unterhalb des Wertes von p1, fährt auch die Freihubstufe ein und das Lastaufnahmemittel 6 sinkt an den unteren Anschlag.
  • Die Fig. 4a bis 4c zeigen einen Absenkvorgang eines Lastaufnahmemittels 6 eines Flurförderzeugs 2 gemäß einem Ausführungsbeispiel.
  • Fig. 4a zeigt das Flurförderzeug 2 mit vollständig ausgefahrenem Hubmast 4, wobei sich außerdem das Lastaufnahmemittel 6 am oberen Anschlag der ersten Masthubstufe 41 befindet. Diese Situation ist identisch zu der in Fig. 3a gezeigten. Im Lastsenkbetrieb werden bei dem in Fig. 4 dargestellten Flurförderzeug 2 die Freihubstufe und die Masthubstufen 41, 42 durch gleichzeitiges Öffnen des ersten und zweiten Senkventils 21, 22 (vgl. Fig. 2) synchron abgesenkt. Fig. 4b zeigt das Flurförderzeug 2 nach einem ersten Zeitintervall, nach dem auch das herkömmliche Flurförderzeug 2 in Fig. 3b dargestellt ist. Im Gegensatz zu dem herkömmlichen Flurförderzeug 2 in Fig. 3b ist bei dem Flurförderzeug 2 gemäß einem Ausführungsbeispiel in Fig. 4b das Lastaufnahmemittel 6 bereits am unteren Anschlag der ersten Masthubstufe 41 angelangt. Es befindet sich somit bereits deutlich tiefer als das Lastaufnahmemittel 6 bei dem herkömmlichen Flurförderzeug 2. Während eines weiteren Zeitintervalls sinkt der Hubmast 4 vollständig ein und das Lastaufnahmemittel 6 erreicht den untersten Anschlag (Fig. 4c). Bei einem herkömmlichen Flurförderzeug 2 (vgl. Fig. 3c) befindet sich nach diesem Zeitintervall das Lastaufnahmemittel 6 noch am oberen Anschlag der ersten Masthubstufe 41.
  • Wie ein Vergleich der Fig. 3 und 4 zeigt, wird bei dem Flurförderzeug 2 gemäß einem Ausführungsbeispiel das Lastaufnahmemittel 6 wesentlich schneller abgesenkt. Es wird genau dasjenige Zeitintervall eingespart, welches das Lastaufnahmemittel 6 bei einem herkömmlichen Flurförderzeug 2 braucht, um entlang einer Masthubstufe 41, 42 abgesenkt zu werden.
  • Es ist gemäß einem weiteren Ausführungsbeispiel vorgesehen, dass die Steuerung 24 derart eingerichtet ist, dass das Absenken des Hubmastes 4 und der Freihubstufe, welche das Lastaufnahmemittel 6 bewegt, so gesteuert oder geregelt wird, dass die Masthubstufen 41, 42 und das Lastaufnahmemittel 6 den unteren Anschlag zumindest näherungsweise gleichzeitig erreichen. So kann ein homogener Absenkvorgang erreicht werden, was die Bedienung des Flurförderzeugs 2 für die Bedienperson vereinfacht.
  • Um das Lastaufnahmemittel 6 im Lasthubbetrieb anheben zu können, umfasst das hydraulische System 10 des Flurfahrzeugs 2 eine Hydraulikpumpe 26, welche Hydraulikflüssigkeit 14 aus dem Vorratsbehälter 16 über eine hydraulische Zuleitung 28 entnimmt. Die Hydraulikpumpe 26 ist in die hydraulische Zuleitung 28 integriert. Im Lasthubbetrieb dient die Hydraulikpumpe 26 zum Beaufschlagen des Masthubzylinders 12 und des Freihubzylinders 8 mit unter Druck stehender Hydraulikflüssigkeit 14.
  • Die hydraulische Zuleitung 28 gabelt sich zwischen der Hydraulikpumpe 26 und den Hubzylindern, d.h. dem Freihubzylinder 8 und dem Masthubzylinder 12, in einen ersten Versorgungsast 31 und in einen zweiten Versorgungsast 32. Der erste Versorgungsast 31 führt zu dem Freihubzylinder 8, der zweite Versorgungsast 32 führt zu dem Masthubzylinder 12. Die beiden Versorgungsäste 31, 32 werden ebenfalls als Teil der hydraulischen Zuleitung 28 aufgefasst. In den ersten Versorgungsast 31 ist ein Hubventil 34 integriert, welches als Proportionalventil ausgestaltet sein kann. Das Hubventil 34 kann ebenso wie die Hydraulikpumpe 26 über die Steuerung 24 gesteuert oder geregelt werden.
  • Über die Einstellungen des Hubventils 34 kann ein Verhältnis zwischen den Volumenströmen im ersten und zweiten Versorgungsast 31, 32 verändert werden. Der Freihubzylinder 8 weist einen ersten Querschnitt auf und der Masthubzylinder 12 weist einen zweiten Querschnitt auf, wobei der erste Querschnitt größer ist als der zweite Querschnitt. Aus diesem Grund wird der Freihubzylinder 8 bei einem ersten Druck p1 aktiviert, wobei der Druck p1 kleiner ist als der Druck p2, bei dem der Masthubzylinder 12 aktiviert wird. Über die Einstellungen des Hubventils 34 kann der wirksame hydraulische Strömungsquerschnitt der Hubzylinder 8, 12 variabel eingestellt werden, so dass es möglich ist, beide Hubzylinder 8, 12 gleichzeitig auszufahren. Dies erfolgt in der ersten Schaltstellung 34a des Hubventils 34. In der zweiten Schaltstellung 34b kann der Freihub gesperrt werden, so dass ausschließlich der Masthubzylinder 12 betätigt wird. Es ist außerdem durch die dynamische Einstellung des Hubventils 34 möglich, einen sanften Übergang zwischen einem von dem Freihubzylinder 8 bewerkstelligten Hub des Lastaufnahmemittels 6 und einem von dem Masthubzylinder 12 bewirkten Hub desselben zu erreichen.
  • Um ein Rückfließen der Hydraulikflüssigkeit 14 in dem ersten und zweiten Versorgungsast 32, 32 zu vermeiden, ist jeweils ein Rückschlagventil 36 in den jeweiligen Versorgungsast integriert.
  • Alle genannten Merkmale, auch die den Zeichnungen allein zu entnehmenden sowie auch einzelne Merkmale, die in Kombination mit anderen Merkmalen offenbart sind, werden allein und in Kombination als erfindungswesentlich angesehen. Erfindungsgemäße Ausführungsformen können durch einzelne Merkmale oder eine Kombination mehrerer Merkmale erfüllt sein. Im Rahmen der Erfindung sind Merkmale, die mit "insbesondere" oder "vorzugsweise" gekennzeichnet sind, als fakultative Merkmale zu verstehen.
  • Bezugszeichenliste
  • 2
    Flurförderzeug
    4
    Hubmast
    6
    Lastaufnahmemittel
    8
    Freihubzylinder
    10
    hydraulisches System
    12
    Masthubzylinder
    14
    Hydraulikflüssigkeit
    16
    Vorratsbehälter
    18
    hydraulische Rückleitung
    21
    erstes Senkventil
    22
    zweites Senkventil
    21a, 22a, 34a
    erste Schaltstellung
    21b, 22b, 34b
    zweite Schaltung
    24
    Steuerung
    26
    Hydraulikpumpe
    28
    Zuleitung
    31
    erster Versorgungsast
    32
    zweiter Versorgungsast
    34
    Hubventil
    36
    Rückschlagventil
    41
    erste Masthubstufe
    42
    zweite Masthubstufe
    181
    erste hydraulische Rückleitung
    182
    zweite hydraulische Rückleitung

Claims (9)

  1. Flurförderzeug (2) mit einem Hubmast (4) mit zumindest einer von zumindest einem Masthubzylinder (12) angetriebenen Masthubstufe (41, 42) und mit einer von zumindest einem Freihubzylinder (8) angetriebenen Freihubstufe, mit der ein Lastaufnahmemittel (6) entlang des Hubmastes (4) verfahrbar ist, gekennzeichnet durch ein hydraulisches System (10) zum Versorgen des zumindest einen Masthubzylinders (12) und des zumindest einen Freihubzylinders (8) mit einer Hydraulikflüssigkeit (14), wobei das hydraulische System (10) zum zumindest zeitweise gleichzeitigen Betätigen des zumindest einen Masthubzylinders (12) und des zumindest einen Freihubzylinders (8) im Lastsenkbetrieb eingerichtet ist, wobei das hydraulische System (10) zum Entlasten des zumindest einen Masthubzylinders (12) und des zumindest einen Freihubzylinders (8) im Lastsenkbetrieb separate hydraulische Rückleitungen (18) umfasst, das hydraulische System (10) eine erste hydraulische Rückleitung (181) umfasst, die zwischen dem zumindest einen Freihubzylinder (8) und einem Vorratsbehälter (16) für die Hydraulikflüssigkeit (14) verläuft und das hydraulische System (10) ferner eine zweite hydraulische Rückleitung (182) umfasst, die zwischen dem zumindest einen Masthubzylinder (12) und dem Vorratsbehälter (16) verläuft, wobei in die erste Rückleitung (181) ein erstes Senkventil (21) und in die zweite Rückleitung (182) ein zweites Senkventil (22) integriert ist und wobei eine Steuerung (24) umfasst ist, die dazu eingerichtet ist, im Lastsenkbetrieb beim Absenken des Lastaufnahmemittels (6) die beiden Senkventile (21, 22) gleichzeitig zu öffnen.
  2. Flurförderzeug (2) nach Anspruch 1, dadurch gekennzeichnet, dass die Senkventile (21, 22) Proportionalventile sind und die Steuerung (24) ferner dazu eingerichtet ist, einen ersten Volumenstrom durch das erste Senkventil (21) und einen zweiten Volumenstrom durch das zweite Senkventil (22) so zu steuern oder zu regeln, dass im Lastsenkbetrieb beim Absenken des Lastaufnahmemittels (6) die zumindest eine Masthubstufe (41, 42) und das Lastaufnahmemittel (6) eine untere Endposition zumindest näherungsweise gleichzeitig erreichen.
  3. Flurförderzeug (2) nach Anspruch 1 oder 2, dadurch gekennzeichnet, dass das hydraulische System (10) eine Hydraulikpumpe (26) umfasst, die in eine hydraulische Zuleitung (28) integriert ist und im Lasthubbetrieb zum Beaufschlagen des zumindest einen Masthubzylinders (12) und des zumindest einen Freihubzylinders (8) mit unter Druck stehender Hydraulikflüssigkeit (14) eingerichtet ist, wobei sich die hydraulische Zuleitung (28) zwischen der Hydraulikpumpe (26) und den Hubzylindern (8, 12) in einen ersten und einen zweiten Versorgungsast (31, 32) aufgabelt und der erste Versorgungsast (31) zu dem Freihubzylinder (8) und der zweite Versorgungsast (32) zu dem Masthubzylinder 812) verläuft, wobei ein als Proportionalventil ausgestaltetes Hubventil (34) in die hydraulische Zuleitung (28) integriert ist, mit dem ein Verhältnis zwischen den Volumenströmen im ersten und im zweiten Versorgungsast (31, 32) veränderbar ist.
  4. Flurförderzeug (2) nach Anspruch 3, dadurch gekennzeichnet, dass der Freihubzylinder (8) einen ersten Querschnitt und der Hubzylinder (12) einen zweiten Querschnitt aufweisen, wobei der erste Querschnitt größer als der zweite Querschnitt ist und das Hubventil (34) in den ersten Versorgungsast (31) integriert ist.
  5. Flurförderzeug (2) nach Anspruch 3 oder 4, gekennzeichnet durch eine Steuerung (24), die dazu eingerichtet ist, das Hubventil (34) derart anzusteuern, dass im Lasthubbetrieb der Freihubzylinder (8) und der Masthubzylinder (12) zumindest zeitweise gleichzeitig ausgefahren werden.
  6. Verfahren zum Betreiben eines hydraulischen Systems (10) eines Flurförderzeugs (2) mit einem Hubmast (4) mit zumindest einer Masthubstufe (41, 42) und mit einer Freihubstufe, mit der ein Lastaufnahmemittel (6) entlang des Hubmasts (4) verfahrbar ist, wobei das hydraulische System (10) zumindest einen Masthubzylinder (12) zum Antreiben der zumindest einen Masthubstufe (41, 42) und zumindest einen Freihubzylinder 88) zum Antreiben der Freihubstufe umfasst, dadurch gekennzeichnet, dass das hydraulische System (10) derart betrieben wird, dass im Lastsenkbetrieb der zumindest eine Masthubzylinder (12) und der zumindest eine Freihubzylinder (8) zumindest zeitweise gleichzeitig betätigt werden, wobei das hydraulische System (10) eine erste hydraulische Rückleitung (181) umfasst, die zwischen dem zumindest einen Freihubzylinder (8) und einem Vorratsbehälter (16) für die Hydraulikflüssigkeit (14) verläuft und das hydraulische System (10) ferner eine separate zweite hydraulische Rückleitung (182) umfasst, die zwischen dem zumindest einen Masthubzylinder (12) und dem Vorratsbehälter (16) verläuft, wobei in die erste Rückleitung (181) ein erstes Senkventil (21) und in die zweite Rückleitung (182) ein zweites Senkventil (22) integriert ist, und wobei im Lastsenkbetrieb beim Ablassen des Lastaufnahmemittels (6) das erste Senkventil (21) und das zweite Senkventil (22) gleichzeitig geöffnet werden.
  7. Verfahren nach Anspruch 6, dadurch gekennzeichnet, dass die Senkventile (21, 22) Proportionalventile sind und ein erster Volumenstrom durch das erste Senkventil (21) und ein zweiter Volumenstrom durch das zweite Senkventil (22) so gesteuert oder geregelt werden, dass beim Absenken des Lastaufnahmemittels (6) die zumindest eine Masthubstufe (41, 42) und das Lastaufnahmemittel (6) eine untere Endposition zumindest näherungsweise gleichzeitig erreichen.
  8. Verfahren nach Anspruch 6 oder 7, dadurch gekennzeichnet, dass das hydraulische System (10) eine Hydraulikpumpe (26) umfasst, die in eine hydraulische Zuleitung (28) integriert ist und mit der im Lasthubbetrieb der zumindest eine Masthubzylinder (12) und der zumindest eine Freihubzylinder (8) mit unter Druck stehender Hydraulikflüssigkeit (14) beaufschlagt wird, wobei sich die hydraulische Zuleitung (28) zwischen der Hydraulikpumpe (26) und den Hubzylindern (8, 12) in einen ersten und einen zweiten Versorgungsast (31, 32) aufgabelt und der erste Versorgungsast (31) zu dem Freihubzylinder (8) und der zweite Versorgungsast (32) zu dem Masthubzylinder (12) verläuft, wobei ein als Proportionalventil ausgestaltetes Hubventil (34) in die hydraulische Zuleitung (28) integriert ist, mit dem ein Verhältnis zwischen einem Volumenstrom im ersten und im zweiten Versorgungsast (31, 32) veränderbar ist, wobei der Freihubzylinder (8) einen ersten Querschnitt und der Masthubzylinder (12) einen zweiten Querschnitt aufweisen, wobei der erste Querschnitt größer als der zweite Querschnitt ist und das Hubventil (34) in den ersten Versorgungsast (31) integriert ist und wobei das Hubventil (34) derart angesteuert wird, dass der Freihubzylinder (8) und der Masthubzylinder (12) zumindest zeitweise gleichzeitig ausgefahren werden.
  9. Verfahren nach Anspruch 8, dadurch gekennzeichnet, dass in Abhängigkeit von einem Betriebsmodus des Flurförderzeugs (2) und/oder in Abhängigkeit von einer vorgewählten Hubhöhe des Lastaufnahmemittels (6) das Hubventil (34) in eine erste Stellung für ein sequentielles Ausfahren des Freihubzylinders (8) und des Masthubzylinders (12) oder in eine zweite Stellung für ein zumindest zeitweise gleichzeitiges Ausfahren gebracht wird.
EP18194815.9A 2017-09-20 2018-09-17 Flurförderzeug, hydraulisches system für ein flurförderzeug und verfahren zum betreiben eines hydraulischen systems Active EP3459904B2 (de)

Applications Claiming Priority (1)

Application Number Priority Date Filing Date Title
DE102017121818.1A DE102017121818B4 (de) 2017-09-20 2017-09-20 Flurförderzeug, hydraulisches System für ein Flurförderzeug und Verfahren zum Betreiben eines hydraulischen Systems

Publications (3)

Publication Number Publication Date
EP3459904A1 EP3459904A1 (de) 2019-03-27
EP3459904B1 EP3459904B1 (de) 2021-08-04
EP3459904B2 true EP3459904B2 (de) 2024-09-11

Family

ID=63637736

Family Applications (1)

Application Number Title Priority Date Filing Date
EP18194815.9A Active EP3459904B2 (de) 2017-09-20 2018-09-17 Flurförderzeug, hydraulisches system für ein flurförderzeug und verfahren zum betreiben eines hydraulischen systems

Country Status (4)

Country Link
US (2) US11427451B2 (de)
EP (1) EP3459904B2 (de)
CN (1) CN109534238B (de)
DE (1) DE102017121818B4 (de)

Families Citing this family (12)

* Cited by examiner, † Cited by third party
Publication number Priority date Publication date Assignee Title
DE102016124504A1 (de) * 2016-12-15 2018-06-21 Jungheinrich Aktiengesellschaft Hubvorrichtung für ein Flurförderzeug sowie ein solches Flurförderzeug
DE102018117391A1 (de) 2018-07-18 2020-01-23 Jungheinrich Ag Flurförderzeug mit einem hydraulischen System sowie Verfahren zum Betreiben eines hydraulischen Systems
USD940989S1 (en) * 2019-05-17 2022-01-11 Doosan Industrial Vehicle Co., Ltd. Forklift
USD960484S1 (en) * 2019-11-27 2022-08-09 Hangzhou Hikrobot Technology Co., Ltd. Forklift
KR102385239B1 (ko) * 2020-06-19 2022-04-11 두산산업차량 주식회사 지게차
JP1699646S (de) * 2020-08-07 2021-11-15
USD981077S1 (en) * 2020-12-17 2023-03-14 Doosan Industrial Vehicle Co., Ltd. Forklift
USD1021316S1 (en) * 2021-10-18 2024-04-02 Robopac S.P.A. Lift truck
JP7729212B2 (ja) * 2022-01-13 2025-08-26 株式会社豊田自動織機 フォークリフトの荷役装置
USD1021317S1 (en) * 2022-05-03 2024-04-02 Robopac S.P.A. Lift truck
DE102022120009A1 (de) * 2022-08-09 2024-02-15 Linde Material Handling Gmbh Hydraulisches System für ein Flurförderzeug
EP4624410A1 (de) * 2024-03-26 2025-10-01 Toyota Material Handling Manufacturing Sweden AB Verfahren zum heben und/oder senken einer mastanordnung eines materialhandhabungsfahrzeugs und materialhandhabungsfahrzeug

Family Cites Families (16)

* Cited by examiner, † Cited by third party
Publication number Priority date Publication date Assignee Title
US3871266A (en) * 1973-07-16 1975-03-18 Hyster Co Hydraulic cylinder phasing system
US5115720A (en) * 1990-04-02 1992-05-26 Baker Material Handling Corporation Hydraulic valve bank
GB2264282B (en) * 1992-02-20 1995-04-12 Lansing Linde Ltd Lift trucks and extensible mast structures therefor
US5657834A (en) * 1994-08-30 1997-08-19 Crown Equipment Corporation Mast staging cushion apparatus
SE525159C2 (sv) * 2002-06-05 2004-12-14 Bt Ind Ab Förfarande för att styra sänkningsrörelsen för en trucks luftcylinder
SE529748C2 (sv) * 2004-05-03 2007-11-13 Toyota Ind Sweden Ab Anordning vid gaffeltruck
US7240771B2 (en) 2004-05-25 2007-07-10 The Raymond Corporation Mast staging hydraulic circuit
DE102005050733A1 (de) * 2005-10-22 2007-04-26 Jungheinrich Ag Hubmast für Stapler
EP2123594A1 (de) * 2008-05-23 2009-11-25 BT Products AB Industriegabelstapler mit Geschwindigkeitssteuerung
EP2159186B1 (de) * 2008-08-27 2016-11-23 Toyota Material Handling Manufacturing Sweden AB Doppelstockstapler mit Hydraulikkreis
DE102009011865B4 (de) * 2009-03-05 2021-11-18 Jungheinrich Aktiengesellschaft Hubvorrichtung für ein Flurförderzeug
EP2465812B1 (de) * 2010-12-16 2013-11-06 BT Products AB Industriefahrzeug mit ausziehbarem Mast
DE102016103256A1 (de) 2015-12-29 2017-06-29 Still Gmbh Flurförderzeug mit einem Hubgerüst
DE102016124505A1 (de) * 2016-12-15 2018-06-21 Jungheinrich Aktiengesellschaft Flurförderzeug mit einer Steuereinheit zur Regelung der Bewegung einer Kolbenstange eines Hydraulikzylinders sowie ein solches Verfahren
DE102016124504A1 (de) * 2016-12-15 2018-06-21 Jungheinrich Aktiengesellschaft Hubvorrichtung für ein Flurförderzeug sowie ein solches Flurförderzeug
CA2998893A1 (en) * 2017-03-23 2018-09-23 The Raymond Corporation Systems and methods for mast stabilization on a material handling vehicle

Also Published As

Publication number Publication date
US20220348447A1 (en) 2022-11-03
EP3459904B1 (de) 2021-08-04
EP3459904A1 (de) 2019-03-27
US20190084816A1 (en) 2019-03-21
US11427451B2 (en) 2022-08-30
CN109534238B (zh) 2022-01-04
DE102017121818B4 (de) 2025-09-04
CN109534238A (zh) 2019-03-29
DE102017121818A1 (de) 2019-03-21
US11905153B2 (en) 2024-02-20

Similar Documents

Publication Publication Date Title
EP3459904B2 (de) Flurförderzeug, hydraulisches system für ein flurförderzeug und verfahren zum betreiben eines hydraulischen systems
EP1915538B1 (de) Schaltung zur ansteuerung eines doppeltwirkenden hydraulischen antriebszylinders
DE69221122T2 (de) Hebezeug mit eigenantrieb und mit nicht miteinander verbundenen unterlagen
DE69003426T2 (de) Hydraulische Steuerkreisanordnung für einen einfach wirkenden Zylinder.
EP3336051B1 (de) Hubvorrichtung für ein flurförderzeug sowie ein solches flurförderzeug
DE2433437C2 (de) Steuersystem für einen hydraulischen Kran
DE2648173A1 (de) Hydraulischer arbeitszylinder
DE202014006861U1 (de) Arbeitsmaschine
DE10307993B4 (de) Hebesteuerungs-bzw. Regelungssystem für eine Lasthebeeinrichtung sowie Verfahren zum Betrieb einer Lasthebevorrichtung
EP1943179B1 (de) Hydraulikanlage
DE19744429A1 (de) Flurförderfahrzeug mit einer Lastaufnahmevorrichtung und Verfahren zum Absenken der Lastaufnahmevorrichtung
DE2132842A1 (de) Sicherheitseinrichtung fuer Hubstapler
DE1580264B2 (de) Hubmast eines Hubladers zur Mitnahme auf Lastwagen
DE19935854C2 (de) Hydraulische Betätigungsanordnung
DE4234064C2 (de) Rampenfläche zum Be- und Entladen einer insbesondere durch Seitenwände begrenzten Ladefläche eines Transportfahrzeuges
DE2066194C2 (de)
DE102015110768A1 (de) Ölhydraulische Strangpresse sowie Verfahren zum Betrieb einer derartigen Strangpresse
EP4321471A1 (de) Hydraulisches system für ein flurförderzeug
DE3617080A1 (de) Mehrstufige hydraulische kolben/zylindereinheit
EP1967485B1 (de) Flurförderzeug
EP4385938B1 (de) Ventileinrichtung für ein flurförderzeug
DE10063610A1 (de) Eilgangsteuerung
EP3597588B1 (de) Flurförderzeug mit einem hydraulischen system sowie verfahren zum betreiben eines hydraulischen systems
EP2818732B1 (de) Verfahren und Steuerung zum hydraulischen Heben einer Last
EP4190740B1 (de) Hubmast für ein flurförderzeug mit zwei lasttragmitteln

Legal Events

Date Code Title Description
PUAI Public reference made under article 153(3) epc to a published international application that has entered the european phase

Free format text: ORIGINAL CODE: 0009012

STAA Information on the status of an ep patent application or granted ep patent

Free format text: STATUS: THE APPLICATION HAS BEEN PUBLISHED

AK Designated contracting states

Kind code of ref document: A1

Designated state(s): AL AT BE BG CH CY CZ DE DK EE ES FI FR GB GR HR HU IE IS IT LI LT LU LV MC MK MT NL NO PL PT RO RS SE SI SK SM TR

AX Request for extension of the european patent

Extension state: BA ME

STAA Information on the status of an ep patent application or granted ep patent

Free format text: STATUS: REQUEST FOR EXAMINATION WAS MADE

17P Request for examination filed

Effective date: 20190906

RBV Designated contracting states (corrected)

Designated state(s): AL AT BE BG CH CY CZ DE DK EE ES FI FR GB GR HR HU IE IS IT LI LT LU LV MC MK MT NL NO PL PT RO RS SE SI SK SM TR

GRAP Despatch of communication of intention to grant a patent

Free format text: ORIGINAL CODE: EPIDOSNIGR1

STAA Information on the status of an ep patent application or granted ep patent

Free format text: STATUS: GRANT OF PATENT IS INTENDED

INTG Intention to grant announced

Effective date: 20210428

GRAS Grant fee paid

Free format text: ORIGINAL CODE: EPIDOSNIGR3

GRAA (expected) grant

Free format text: ORIGINAL CODE: 0009210

STAA Information on the status of an ep patent application or granted ep patent

Free format text: STATUS: THE PATENT HAS BEEN GRANTED

AK Designated contracting states

Kind code of ref document: B1

Designated state(s): AL AT BE BG CH CY CZ DE DK EE ES FI FR GB GR HR HU IE IS IT LI LT LU LV MC MK MT NL NO PL PT RO RS SE SI SK SM TR

REG Reference to a national code

Ref country code: GB

Ref legal event code: FG4D

Free format text: NOT ENGLISH

REG Reference to a national code

Ref country code: AT

Ref legal event code: REF

Ref document number: 1416809

Country of ref document: AT

Kind code of ref document: T

Effective date: 20210815

REG Reference to a national code

Ref country code: CH

Ref legal event code: EP

REG Reference to a national code

Ref country code: DE

Ref legal event code: R096

Ref document number: 502018006406

Country of ref document: DE

REG Reference to a national code

Ref country code: IE

Ref legal event code: FG4D

Free format text: LANGUAGE OF EP DOCUMENT: GERMAN

REG Reference to a national code

Ref country code: SE

Ref legal event code: TRGR

REG Reference to a national code

Ref country code: LT

Ref legal event code: MG9D

REG Reference to a national code

Ref country code: NL

Ref legal event code: MP

Effective date: 20210804

PG25 Lapsed in a contracting state [announced via postgrant information from national office to epo]

Ref country code: LT

Free format text: LAPSE BECAUSE OF FAILURE TO SUBMIT A TRANSLATION OF THE DESCRIPTION OR TO PAY THE FEE WITHIN THE PRESCRIBED TIME-LIMIT

Effective date: 20210804

Ref country code: BG

Free format text: LAPSE BECAUSE OF FAILURE TO SUBMIT A TRANSLATION OF THE DESCRIPTION OR TO PAY THE FEE WITHIN THE PRESCRIBED TIME-LIMIT

Effective date: 20211104

Ref country code: PT

Free format text: LAPSE BECAUSE OF FAILURE TO SUBMIT A TRANSLATION OF THE DESCRIPTION OR TO PAY THE FEE WITHIN THE PRESCRIBED TIME-LIMIT

Effective date: 20211206

Ref country code: NO

Free format text: LAPSE BECAUSE OF FAILURE TO SUBMIT A TRANSLATION OF THE DESCRIPTION OR TO PAY THE FEE WITHIN THE PRESCRIBED TIME-LIMIT

Effective date: 20211104

Ref country code: RS

Free format text: LAPSE BECAUSE OF FAILURE TO SUBMIT A TRANSLATION OF THE DESCRIPTION OR TO PAY THE FEE WITHIN THE PRESCRIBED TIME-LIMIT

Effective date: 20210804

Ref country code: HR

Free format text: LAPSE BECAUSE OF FAILURE TO SUBMIT A TRANSLATION OF THE DESCRIPTION OR TO PAY THE FEE WITHIN THE PRESCRIBED TIME-LIMIT

Effective date: 20210804

Ref country code: FI

Free format text: LAPSE BECAUSE OF FAILURE TO SUBMIT A TRANSLATION OF THE DESCRIPTION OR TO PAY THE FEE WITHIN THE PRESCRIBED TIME-LIMIT

Effective date: 20210804

Ref country code: ES

Free format text: LAPSE BECAUSE OF FAILURE TO SUBMIT A TRANSLATION OF THE DESCRIPTION OR TO PAY THE FEE WITHIN THE PRESCRIBED TIME-LIMIT

Effective date: 20210804

PG25 Lapsed in a contracting state [announced via postgrant information from national office to epo]

Ref country code: PL

Free format text: LAPSE BECAUSE OF FAILURE TO SUBMIT A TRANSLATION OF THE DESCRIPTION OR TO PAY THE FEE WITHIN THE PRESCRIBED TIME-LIMIT

Effective date: 20210804

Ref country code: LV

Free format text: LAPSE BECAUSE OF FAILURE TO SUBMIT A TRANSLATION OF THE DESCRIPTION OR TO PAY THE FEE WITHIN THE PRESCRIBED TIME-LIMIT

Effective date: 20210804

Ref country code: GR

Free format text: LAPSE BECAUSE OF FAILURE TO SUBMIT A TRANSLATION OF THE DESCRIPTION OR TO PAY THE FEE WITHIN THE PRESCRIBED TIME-LIMIT

Effective date: 20211105

PG25 Lapsed in a contracting state [announced via postgrant information from national office to epo]

Ref country code: NL

Free format text: LAPSE BECAUSE OF FAILURE TO SUBMIT A TRANSLATION OF THE DESCRIPTION OR TO PAY THE FEE WITHIN THE PRESCRIBED TIME-LIMIT

Effective date: 20210804

REG Reference to a national code

Ref country code: DE

Ref legal event code: R026

Ref document number: 502018006406

Country of ref document: DE

PG25 Lapsed in a contracting state [announced via postgrant information from national office to epo]

Ref country code: DK

Free format text: LAPSE BECAUSE OF FAILURE TO SUBMIT A TRANSLATION OF THE DESCRIPTION OR TO PAY THE FEE WITHIN THE PRESCRIBED TIME-LIMIT

Effective date: 20210804

PLBI Opposition filed

Free format text: ORIGINAL CODE: 0009260

REG Reference to a national code

Ref country code: CH

Ref legal event code: PL

PLAB Opposition data, opponent's data or that of the opponent's representative modified

Free format text: ORIGINAL CODE: 0009299OPPO

PLAX Notice of opposition and request to file observation + time limit sent

Free format text: ORIGINAL CODE: EPIDOSNOBS2

REG Reference to a national code

Ref country code: BE

Ref legal event code: MM

Effective date: 20210930

26 Opposition filed

Opponent name: STILL GMBH

Effective date: 20220428

PG25 Lapsed in a contracting state [announced via postgrant information from national office to epo]

Ref country code: SM

Free format text: LAPSE BECAUSE OF FAILURE TO SUBMIT A TRANSLATION OF THE DESCRIPTION OR TO PAY THE FEE WITHIN THE PRESCRIBED TIME-LIMIT

Effective date: 20210804

Ref country code: SK

Free format text: LAPSE BECAUSE OF FAILURE TO SUBMIT A TRANSLATION OF THE DESCRIPTION OR TO PAY THE FEE WITHIN THE PRESCRIBED TIME-LIMIT

Effective date: 20210804

Ref country code: RO

Free format text: LAPSE BECAUSE OF FAILURE TO SUBMIT A TRANSLATION OF THE DESCRIPTION OR TO PAY THE FEE WITHIN THE PRESCRIBED TIME-LIMIT

Effective date: 20210804

Ref country code: MC

Free format text: LAPSE BECAUSE OF FAILURE TO SUBMIT A TRANSLATION OF THE DESCRIPTION OR TO PAY THE FEE WITHIN THE PRESCRIBED TIME-LIMIT

Effective date: 20210804

Ref country code: EE

Free format text: LAPSE BECAUSE OF FAILURE TO SUBMIT A TRANSLATION OF THE DESCRIPTION OR TO PAY THE FEE WITHIN THE PRESCRIBED TIME-LIMIT

Effective date: 20210804

Ref country code: CZ

Free format text: LAPSE BECAUSE OF FAILURE TO SUBMIT A TRANSLATION OF THE DESCRIPTION OR TO PAY THE FEE WITHIN THE PRESCRIBED TIME-LIMIT

Effective date: 20210804

Ref country code: AL

Free format text: LAPSE BECAUSE OF FAILURE TO SUBMIT A TRANSLATION OF THE DESCRIPTION OR TO PAY THE FEE WITHIN THE PRESCRIBED TIME-LIMIT

Effective date: 20210804

R26 Opposition filed (corrected)

Opponent name: STILL GMBH

Effective date: 20220428

PG25 Lapsed in a contracting state [announced via postgrant information from national office to epo]

Ref country code: LU

Free format text: LAPSE BECAUSE OF NON-PAYMENT OF DUE FEES

Effective date: 20210917

Ref country code: IE

Free format text: LAPSE BECAUSE OF NON-PAYMENT OF DUE FEES

Effective date: 20210917

Ref country code: BE

Free format text: LAPSE BECAUSE OF NON-PAYMENT OF DUE FEES

Effective date: 20210930

PG25 Lapsed in a contracting state [announced via postgrant information from national office to epo]

Ref country code: SI

Free format text: LAPSE BECAUSE OF FAILURE TO SUBMIT A TRANSLATION OF THE DESCRIPTION OR TO PAY THE FEE WITHIN THE PRESCRIBED TIME-LIMIT

Effective date: 20210804

Ref country code: LI

Free format text: LAPSE BECAUSE OF NON-PAYMENT OF DUE FEES

Effective date: 20210930

Ref country code: CH

Free format text: LAPSE BECAUSE OF NON-PAYMENT OF DUE FEES

Effective date: 20210930

PLBB Reply of patent proprietor to notice(s) of opposition received

Free format text: ORIGINAL CODE: EPIDOSNOBS3

PG25 Lapsed in a contracting state [announced via postgrant information from national office to epo]

Ref country code: CY

Free format text: LAPSE BECAUSE OF FAILURE TO SUBMIT A TRANSLATION OF THE DESCRIPTION OR TO PAY THE FEE WITHIN THE PRESCRIBED TIME-LIMIT

Effective date: 20210804

PG25 Lapsed in a contracting state [announced via postgrant information from national office to epo]

Ref country code: HU

Free format text: LAPSE BECAUSE OF FAILURE TO SUBMIT A TRANSLATION OF THE DESCRIPTION OR TO PAY THE FEE WITHIN THE PRESCRIBED TIME-LIMIT; INVALID AB INITIO

Effective date: 20180917

P01 Opt-out of the competence of the unified patent court (upc) registered

Effective date: 20230628

PG25 Lapsed in a contracting state [announced via postgrant information from national office to epo]

Ref country code: MK

Free format text: LAPSE BECAUSE OF FAILURE TO SUBMIT A TRANSLATION OF THE DESCRIPTION OR TO PAY THE FEE WITHIN THE PRESCRIBED TIME-LIMIT

Effective date: 20210804

PG25 Lapsed in a contracting state [announced via postgrant information from national office to epo]

Ref country code: TR

Free format text: LAPSE BECAUSE OF FAILURE TO SUBMIT A TRANSLATION OF THE DESCRIPTION OR TO PAY THE FEE WITHIN THE PRESCRIBED TIME-LIMIT

Effective date: 20210804

PUAH Patent maintained in amended form

Free format text: ORIGINAL CODE: 0009272

STAA Information on the status of an ep patent application or granted ep patent

Free format text: STATUS: PATENT MAINTAINED AS AMENDED

27A Patent maintained in amended form

Effective date: 20240911

AK Designated contracting states

Kind code of ref document: B2

Designated state(s): AL AT BE BG CH CY CZ DE DK EE ES FI FR GB GR HR HU IE IS IT LI LT LU LV MC MK MT NL NO PL PT RO RS SE SI SK SM TR

REG Reference to a national code

Ref country code: DE

Ref legal event code: R102

Ref document number: 502018006406

Country of ref document: DE

PG25 Lapsed in a contracting state [announced via postgrant information from national office to epo]

Ref country code: MT

Free format text: LAPSE BECAUSE OF FAILURE TO SUBMIT A TRANSLATION OF THE DESCRIPTION OR TO PAY THE FEE WITHIN THE PRESCRIBED TIME-LIMIT

Effective date: 20210804

REG Reference to a national code

Ref country code: AT

Ref legal event code: MM01

Ref document number: 1416809

Country of ref document: AT

Kind code of ref document: T

Effective date: 20230917

REG Reference to a national code

Ref country code: SE

Ref legal event code: RPEO

PG25 Lapsed in a contracting state [announced via postgrant information from national office to epo]

Ref country code: AT

Free format text: LAPSE BECAUSE OF NON-PAYMENT OF DUE FEES

Effective date: 20230917

PG25 Lapsed in a contracting state [announced via postgrant information from national office to epo]

Ref country code: AT

Free format text: LAPSE BECAUSE OF NON-PAYMENT OF DUE FEES

Effective date: 20230917

PGFP Annual fee paid to national office [announced via postgrant information from national office to epo]

Ref country code: DE

Payment date: 20250919

Year of fee payment: 8

PGFP Annual fee paid to national office [announced via postgrant information from national office to epo]

Ref country code: GB

Payment date: 20250923

Year of fee payment: 8

PGFP Annual fee paid to national office [announced via postgrant information from national office to epo]

Ref country code: FR

Payment date: 20250922

Year of fee payment: 8

PGFP Annual fee paid to national office [announced via postgrant information from national office to epo]

Ref country code: SE

Payment date: 20250922

Year of fee payment: 8

PGFP Annual fee paid to national office [announced via postgrant information from national office to epo]

Ref country code: IT

Payment date: 20250930

Year of fee payment: 8