EP3014100B1 - Steuerventil - Google Patents
Steuerventil Download PDFInfo
- Publication number
- EP3014100B1 EP3014100B1 EP14721358.1A EP14721358A EP3014100B1 EP 3014100 B1 EP3014100 B1 EP 3014100B1 EP 14721358 A EP14721358 A EP 14721358A EP 3014100 B1 EP3014100 B1 EP 3014100B1
- Authority
- EP
- European Patent Office
- Prior art keywords
- outflow opening
- control valve
- slot
- valve
- valve according
- Prior art date
- Legal status (The legal status is an assumption and is not a legal conclusion. Google has not performed a legal analysis and makes no representation as to the accuracy of the status listed.)
- Not-in-force
Links
- 239000000446 fuel Substances 0.000 claims description 21
- 238000002347 injection Methods 0.000 description 13
- 239000007924 injection Substances 0.000 description 13
- 238000007789 sealing Methods 0.000 description 12
- 230000000694 effects Effects 0.000 description 5
- 230000007423 decrease Effects 0.000 description 3
- 230000004048 modification Effects 0.000 description 3
- 238000012986 modification Methods 0.000 description 3
- 238000011161 development Methods 0.000 description 2
- 230000018109 developmental process Effects 0.000 description 2
- 239000000463 material Substances 0.000 description 2
- 240000001439 Opuntia Species 0.000 description 1
- 235000004727 Opuntia ficus indica Nutrition 0.000 description 1
- 230000002411 adverse Effects 0.000 description 1
- 230000001419 dependent effect Effects 0.000 description 1
- 239000012530 fluid Substances 0.000 description 1
- 230000002706 hydrostatic effect Effects 0.000 description 1
- 230000008093 supporting effect Effects 0.000 description 1
Images
Classifications
-
- F—MECHANICAL ENGINEERING; LIGHTING; HEATING; WEAPONS; BLASTING
- F02—COMBUSTION ENGINES; HOT-GAS OR COMBUSTION-PRODUCT ENGINE PLANTS
- F02M—SUPPLYING COMBUSTION ENGINES IN GENERAL WITH COMBUSTIBLE MIXTURES OR CONSTITUENTS THEREOF
- F02M47/00—Fuel-injection apparatus operated cyclically with fuel-injection valves actuated by fluid pressure
- F02M47/02—Fuel-injection apparatus operated cyclically with fuel-injection valves actuated by fluid pressure of accumulator-injector type, i.e. having fuel pressure of accumulator tending to open, and fuel pressure in other chamber tending to close, injection valves and having means for periodically releasing that closing pressure
- F02M47/027—Electrically actuated valves draining the chamber to release the closing pressure
-
- F—MECHANICAL ENGINEERING; LIGHTING; HEATING; WEAPONS; BLASTING
- F02—COMBUSTION ENGINES; HOT-GAS OR COMBUSTION-PRODUCT ENGINE PLANTS
- F02M—SUPPLYING COMBUSTION ENGINES IN GENERAL WITH COMBUSTIBLE MIXTURES OR CONSTITUENTS THEREOF
- F02M63/00—Other fuel-injection apparatus having pertinent characteristics not provided for in groups F02M39/00 - F02M57/00 or F02M67/00; Details, component parts, or accessories of fuel-injection apparatus, not provided for in, or of interest apart from, the apparatus of groups F02M39/00 - F02M61/00 or F02M67/00; Combination of fuel pump with other devices, e.g. lubricating oil pump
- F02M63/0012—Valves
- F02M63/0014—Valves characterised by the valve actuating means
- F02M63/0015—Valves characterised by the valve actuating means electrical, e.g. using solenoid
- F02M63/0017—Valves characterised by the valve actuating means electrical, e.g. using solenoid using electromagnetic operating means
-
- F—MECHANICAL ENGINEERING; LIGHTING; HEATING; WEAPONS; BLASTING
- F02—COMBUSTION ENGINES; HOT-GAS OR COMBUSTION-PRODUCT ENGINE PLANTS
- F02M—SUPPLYING COMBUSTION ENGINES IN GENERAL WITH COMBUSTIBLE MIXTURES OR CONSTITUENTS THEREOF
- F02M63/00—Other fuel-injection apparatus having pertinent characteristics not provided for in groups F02M39/00 - F02M57/00 or F02M67/00; Details, component parts, or accessories of fuel-injection apparatus, not provided for in, or of interest apart from, the apparatus of groups F02M39/00 - F02M61/00 or F02M67/00; Combination of fuel pump with other devices, e.g. lubricating oil pump
- F02M63/0012—Valves
- F02M63/0031—Valves characterized by the type of valves, e.g. special valve member details, valve seat details, valve housing details
- F02M63/0033—Lift valves, i.e. having a valve member that moves perpendicularly to the plane of the valve seat
-
- F—MECHANICAL ENGINEERING; LIGHTING; HEATING; WEAPONS; BLASTING
- F02—COMBUSTION ENGINES; HOT-GAS OR COMBUSTION-PRODUCT ENGINE PLANTS
- F02M—SUPPLYING COMBUSTION ENGINES IN GENERAL WITH COMBUSTIBLE MIXTURES OR CONSTITUENTS THEREOF
- F02M63/00—Other fuel-injection apparatus having pertinent characteristics not provided for in groups F02M39/00 - F02M57/00 or F02M67/00; Details, component parts, or accessories of fuel-injection apparatus, not provided for in, or of interest apart from, the apparatus of groups F02M39/00 - F02M61/00 or F02M67/00; Combination of fuel pump with other devices, e.g. lubricating oil pump
- F02M63/0012—Valves
- F02M63/007—Details not provided for in, or of interest apart from, the apparatus of the groups F02M63/0014 - F02M63/0059
- F02M63/0077—Valve seat details
-
- F—MECHANICAL ENGINEERING; LIGHTING; HEATING; WEAPONS; BLASTING
- F02—COMBUSTION ENGINES; HOT-GAS OR COMBUSTION-PRODUCT ENGINE PLANTS
- F02M—SUPPLYING COMBUSTION ENGINES IN GENERAL WITH COMBUSTIBLE MIXTURES OR CONSTITUENTS THEREOF
- F02M2547/00—Special features for fuel-injection valves actuated by fluid pressure
- F02M2547/003—Valve inserts containing control chamber and valve piston
-
- F—MECHANICAL ENGINEERING; LIGHTING; HEATING; WEAPONS; BLASTING
- F02—COMBUSTION ENGINES; HOT-GAS OR COMBUSTION-PRODUCT ENGINE PLANTS
- F02M—SUPPLYING COMBUSTION ENGINES IN GENERAL WITH COMBUSTIBLE MIXTURES OR CONSTITUENTS THEREOF
- F02M2547/00—Special features for fuel-injection valves actuated by fluid pressure
- F02M2547/008—Means for influencing the flow rate out of or into a control chamber, e.g. depending on the position of the needle
Definitions
- the invention relates to a control valve for a fuel injector, in particular a common rail fuel injector, with the features of the preamble of claim 1. Furthermore, the invention relates to a fuel injector with such a control valve.
- Control valves of the aforementioned type are regularly used in fuel injectors, which have a hubbewegliche nozzle needle for releasing and closing at least one injection port.
- the control valve serves to control the lifting movement of the nozzle needle. Opens the control valve, a control chamber is relieved, so that acting in the closing direction of the nozzle needle control pressure decreases in the control chamber and opens the nozzle needle.
- the actuation of the control valve is usually carried out by means of an actuator, such as a Magnetaktors or a piezoelectric actuator.
- a fuel injector with a control valve for controlling an at least one injection opening releasing or occluding injection valve member shows.
- the control valve comprises a liftable valve piston, which cooperates sealingly with a valve seat designed as a flat seat. If the valve piston is sealingly seated on the flat seat, a control pressure which acts on the injection valve member in the closing direction builds up in the control chamber.
- the valve piston Upon actuation of the control valve by means of an electromagnet, the valve piston lifts off the valve seat and a connection of the control chamber is made with a low pressure area. As a result, the control pressure in the control chamber and thus the injection valve member acting in the closing direction decreases Force.
- the injection valve member opens and releases the at least one injection opening in this way.
- the provision of the valve piston takes place by means of the spring force of a spring after completion of the energization of the electromagnet. This in turn results in the increase of the control pressure in the control chamber, so that also the injection valve member is returned to its sealing seat and the at least one injection port closes again.
- a fast-switching control valve is advantageous in order to bring about rapid relief of the control chamber.
- the advantage here is a reduced stroke of the liftable closing element of the control valve.
- a sufficiently large outflow cross-section must be ensured.
- the diameter of a discharge opening located within the valve seat can be increased.
- this also increases the area formed on the valve closing element, which comes to lie within the diameter of the valve seat, and is acted upon in the closed position of the control valve by the control pressure of the control chamber.
- the result is an increase in the force acting on the valve closing element in the opening direction hydraulic force. This can be counteracted by the spring force of a spring is increased, which acts on the valve closing element in the closing direction. To open the valve but then larger magnetic forces are required, which in turn adversely affects the switching time of the control valve.
- an injection device with an electromagnetic valve for connecting a pressure control chamber with a low-pressure chamber comprises a plate member and a movable member with flat contact and sealing surfaces. In at least one contact surface, a groove-shaped fuel relief passage is provided.
- the present invention has the object to provide a fast-switching control valve for a fuel injector, which has at least one optimized in terms of reduced switching forces and / or low strokes discharge opening. Furthermore, a control valve with an increased life is to be provided.
- control valve with the features of claim 1 is proposed.
- Advantageous developments of the invention can be found in the dependent claims.
- a fuel injector is specified with such a control valve.
- the proposed control valve comprises a valve piece with a discharge opening formed inside a valve seat designed as a flat seat, and a lift-movable valve closing element sealingly cooperating with the valve seat.
- the outflow opening is slit-shaped and has a length L which is greater than a width B of the outflow opening.
- the length L corresponds essentially to a diameter D or a radius R of a circular area within which the outflow opening and at least one further outlet opening connected to the outflow opening and / or separated from the outflow opening are arranged.
- the slot-shaped outflow opening in comparison to a circular outflow opening has the advantage that it has a large outflow circumference at the same time small area. Accordingly, the valve closing element is subjected to a smaller hydraulic force via the slot-shaped outflow opening, with the same outflow circumference, so that the shifting forces can be reduced. Alternatively or additionally, the stroke of the valve closing element can be reduced because a fast discharge of the control chamber is ensured via the outflow circumference.
- an unfavorable length / width ratio (L / B >> 1) of the slit-shaped outflow opening can lead to stresses in the valve piece which occur in particular at the ends in the longitudinal direction of the outflow opening (notch stress).
- notch stress notch stress
- the at least one further outflow opening can be connected to the slot-like outflow opening or formed as a separate outflow opening. It has been found that the load on the valve piece can be reduced by this measure. This in turn leads to an increase in the service life of the control valve.
- the at least one further outflow opening is likewise slot-shaped and has a longitudinal axis A ', which is inclined relative to a longitudinal axis A of the first slot-shaped outflow opening.
- a plurality of slit-like Outflow openings arranged in a cross or star shape. The arrangement may be such that two or more slit-like outflow openings intersect.
- the strength-increasing effect is achieved by avoiding a voltage-generating widening of the slot-shaped outflow openings, since in the vicinity of other pressure-loaded slots by the expansion of a supporting effect on the highly loaded notch radius is achieved.
- the effect can already be detected by arranging a further slot-like outflow opening within the circular area predetermined by the first outflow opening.
- the at least one further outflow opening is arranged at one end of the slot-like outflow opening within the circular area.
- the further discharge opening arranged at the end leads to an enlargement of the notch radius, so that a stress relief is achieved.
- the further outflow opening arranged at one end of the slot-shaped outflow opening may, for example, be circular and have a diameter d which is greater than the width B of the slot-like outflow opening.
- the further outflow opening arranged at one end of the slot-shaped outflow opening can be slot-shaped and have an arcuate course. Also by this measure, a stress relief is achieved by increasing the notch radius. At the same time, the further outflow opening has an optimized geometry. The arcuate course ensures the arrangement of the further slot-shaped outflow opening within the specified circular area.
- the effect of the voltage reduction is here in particular in the approximation to the voltage-ideal circular shape with internal pressure.
- an arcuate course of the further outflow opening which is offset slightly inwards relative to the circular shape, proves to be particularly advantageous with regard to the avoidance of notch stresses.
- the arcuate course of the further outflow opening follows the shape of an ellipse with two half-axes a, b, wherein the shorter half-axis a coincides with the length L of the slit-like outflow opening defining the circular area.
- Within the approximate circular shape thus an approximately hydrostatic stress state, so that stresses occur substantially only radially outward of the arcuate course, where they are much smaller due to the large radius.
- the half-axis a is less than a quarter of the length L of the slot-like outflow opening, at the end of which it is arranged. By this measure, a sufficient mechanical strength of the valve piece is further ensured.
- the half-axis ratio a / b is 0.8 to 0.9. This ensures that a plurality of slot-shaped outflow openings, which are each arranged at one end of a slot-shaped radially extending outflow opening and have a curved course, a sufficient web width remains in order not to jeopardize the mechanical strength of the valve piece.
- valve seat formed as a flat seat is released and is formed by at least one web, which follows an outer contour of an outflow opening.
- the discharge opening is therefore limited by the web. Due to the release, the fluid exiting via the outflow openings can flow off almost without pressure. As a result, an additional opening force acting on the valve closing element is avoided.
- the sealing surface of the valve seat is reduced, so that an improved sealing effect is achieved.
- control valve is preferably used to control the lifting movement of a nozzle needle of the fuel injector.
- the Indian FIG. 1 illustrated fuel injector has a nozzle body 25 and a holding body 26 which are axially braced by means of a clamping nut, not shown.
- the nozzle body 25 and the holding body 26 are penetrated by a high-pressure bore 24, in which a nozzle needle 20 for releasing or closing of injection openings 27 is received in a liftable manner.
- the high-pressure bore 24 is connected via a feed line 28 to a high-pressure accumulator 29, via which the high-pressure bore 24 is supplied under high pressure fuel.
- the high-pressure bore 24 is delimited by a valve piece 1, which is inserted into the holding body 26, of a control valve for controlling the lifting movement of the nozzle needle 20.
- the valve piece 1 seals the high-pressure bore 24 from a low-pressure chamber 10, which is formed within a valve body 11 of the control valve.
- a low-pressure chamber 10 Via a bore 15 of the valve body 11, in which a valve closing element 4 of the control valve is received liftable, and a receiving space 19, in which a cooperating with an electromagnet 13 for actuating the control valve armature 12 is arranged, the low-pressure chamber 10 is connected to a return line 30 ,
- a sealing sleeve 22 is supported, in which one end of the nozzle needle 20 is received in such a way that a control chamber 16 is formed, which is connected via an inlet throttle 18 with the high-pressure bore 24.
- a control chamber 16 In the closed position of the control valve therefore also prevails in the control chamber 16 high pressure, which exerts an acting on an end face 21 of the nozzle needle 20 in the closing direction compressive force.
- the nozzle needle 20 is acted upon by the spring force of a spring 23 in the closing direction.
- a relief of the control chamber 16 is effected, so that the force acting on the end face 21 of the nozzle needle 20 closing pressure is reduced and the nozzle needle 20 lifts from its seat.
- the nozzle needle 20 releases the injection openings 27 in this way.
- the discharge of the control chamber 16 is effected by opening the control valve, so that the control chamber 16 is connected to the low-pressure chamber 10.
- the electromagnet 13 is energized. About the magnetic force of the electromagnet 13 of the arranged in the receiving space 19 armature 12 which is fixedly connected to the valve closing element 4 of the control valve, pulled in the direction of the electromagnet 13, so that the valve closing element 4 lifts from a formed in the valve piece 1 valve seat 2 and an outflow opening 3 releases, via which the required to relieve the control chamber 16 connection with the low-pressure chamber 10 is made.
- the energization of the electromagnet 13 is stopped. The armature 12 and the valve closing element 4 are then placed back on the spring force of a spring 14 to its original position. In the closed position of the control valve, the control chamber 16 is filled via the inlet throttle 18 again with fuel, so that the pressure in the control chamber 16 increases again.
- valve closure member 4 has a circular sealing surface 8, which is formed flat according to the valve seat 2.
- At least one further outflow opening 6, 6 ' is provided according to the invention, which is formed within a circular area 5 which is defined by the slot-shaped outflow opening 3 and thus likewise comes to lie within the sealing surface 8 of the valve closing element 4.
- the at least one further outflow opening 6, 6 'voltages in the valve piece 1 are counteracted, so that the load capacity of the valve piece 1 increases.
- a first preferred embodiment is in the FIG. 2 shown. It shows a in the fuel injector according to the FIG. 1 insertable valve piece 1 of a control valve according to the invention in plan view.
- the further outflow opening 6 is here also slit-shaped and forms with the outflow opening 3 a cross, which comes to rest within the circular area 5, which is defined by the length L of the outflow opening 3. Because the length L corresponds to the diameter D of the circular surface 5.
- the longitudinal axes A and A 'of the two slot-shaped outflow openings 3, 6 are orthogonal to each other, so that the two outflow openings 3, 6 intersect in the middle.
- FIG. 3 A modification of the embodiment of FIG. 2 is in the FIG. 3 shown.
- a circular outflow opening 6 is arranged at the ends of the two slot-shaped outflow openings 3, 6, whose diameter d is greater than the width B of the slot-shaped outflow openings 3, 6 is selected.
- the circular outflow openings 6 cause a relief of the valve piece 1, as notch stresses is counteracted.
- FIGS. 2 and 3 Further modifications of the embodiments of FIGS. 2 and 3 are possible if - as in the FIGS. 4 and 5 shown - a plurality of slot-shaped outflow openings 3, 6 6 'are arranged in a star shape.
- the star-shaped slot-shaped outflow openings 3, 6, 6 ' can be connected via an intersection region or arranged at a distance from a center of the circular surface 5 so that there is no intersection.
- the number of slot-shaped outflow openings 3, 6, 6 ' can be varied and / or circular outflow openings 6 at the respective ends of the slot-shaped outflow openings 3, 6, 6' according to the embodiment of FIG. 3 be provided.
- FIG. 6 Another, particularly preferred embodiment is in the FIG. 6 shown.
- the slot-shaped outflow opening 3 is combined with each end arranged C-shaped outflow openings 6.
- the C-shaped outflow openings 6 also form slots, which also extend arcuately.
- the arch form follows the shape of an ellipse, which is defined by the half-axes a, b (see FIG. 8 ).
- the shorter half-axis a coincides with the length L of the slot-shaped outflow opening 3, where a is less than a quarter of the length L.
- the ratio of the semi-axes a / b in the present case is 0.8. This has the consequence that the arcuate course of the C-shaped outflow openings 6 is offset in relation to a circle 5 delimiting the circular line inwards.
- This measure has an increasing strength, because stresses occur substantially on the outside of the C-shaped outflow openings 6 and thus on the large radii, which are less critical with respect to stresses (see FIG. 9 ).
- FIG. 7 A modification of the embodiment of FIG. 6 is in the FIG. 7 shown.
- the length L of the slot-shaped outflow opening 3 here corresponds to the radius R of the circular surface 5.
- Respectively at the same angular distance from each other two further slot-shaped outflow openings 6 are arranged, so that the outflow openings 3, 6 give a star shape.
- Each of the outflow openings 3, 6 has at its end a C-shaped outflow opening 6 for relieving the valve piece 1.
- the ends of the C-shaped outflow openings 6 are compared with the circle 5 delimiting circular line inwardly offset by the amount i in order to increase the strength of the valve piece 1.
- valve seat 2 is formed here by webs 7, which limit the outflow openings 3, 6, 6 '.
- the webs 7 thus follow the outer contours of the outflow openings 3, 6, 6 '.
- the webs 7 are released over a lowered portion 9 of the valve piece 1. Via the lowered region 9, the fuel exiting via the outflow openings 3, 6, 6 'can flow off almost without pressure.
- the surface of the lowered portion 9 is larger than a cooperating with the valve seat 2 sealing surface 8 of a valve closing element 4 selected (in the FIG. 10 not shown).
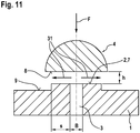
- the effect of the exemption of the valve seat 2 is based on the Figures 11 and 12 explained in more detail.
- the valve seat 2, which is formed by webs 7, has a discharge opening 3 limiting web surface with a web width s on. This is followed by the lowered portion 9 of the valve piece 1, whereby the webs 7 are released.
- the fuel exiting via the outflow circumference of the outflow opening 3 can flow over the lowered area 9 largely free of pressure.
- the sealing surface 8 of the valve closing element 4 is therefore not acted upon by an additional pressure force acting in the opening direction when it lifts off from the valve seat 2, 7 with a reduced stroke h.
- the closing force F required to close the control valve can thus be reduced.
- FIG. 12 In the FIG. 12 are shown in the region of the valve seat 2 applied pressures.
- the pressure prevails p1.
- p4 (p1 + p3) / 2).
- the decrease in region 9 ensures that the pressure p3 approximately corresponds to the pressure p4.
Landscapes
- Engineering & Computer Science (AREA)
- Chemical & Material Sciences (AREA)
- Combustion & Propulsion (AREA)
- Mechanical Engineering (AREA)
- General Engineering & Computer Science (AREA)
- Physics & Mathematics (AREA)
- Fluid Mechanics (AREA)
- Electromagnetism (AREA)
- Fuel-Injection Apparatus (AREA)
Description
- Die Erfindung betrifft ein Steuerventil für einen Kraftstoffinjektor, insbesondere einen Common-Rail-Kraftstoffinjektor, mit den Merkmalen des Oberbegriffs des Anspruchs 1. Ferner betrifft die Erfindung einen Kraftstoffinjektor mit einem solchen Steuerventil.
- Steuerventile der vorstehend genannten Art finden regelmäßig in Kraftstoffinjektoren Einsatz, die eine hubbewegliche Düsennadel zum Freigeben und Verschließen wenigstens einer Einspritzöffnung besitzen. Das Steuerventil dient dabei der Steuerung der Hubbewegung der Düsennadel. Öffnet das Steuerventil, wird ein Steuerraum entlastet, so dass ein in Schließrichtung auf die Düsennadel wirkender Steuerdruck im Steuerraum abnimmt und die Düsennadel öffnet. Die Betätigung des Steuerventils erfolgt in der Regel mittels eines Aktors, beispielsweise eine Magnetaktors oder eines Piezoaktors.
- Aus der Offenlegungsschrift
DE 10 2006 049 050 A1 geht beispielhaft ein Kraftstoffinjektor mit einem Steuerventil zur Ansteuerung eines mindestens eine Einspritzöffnung freigebenden oder verschließenden Einspritzventilgliedes hervor. Hierzu umfasst das Steuerventil einen hubbeweglichen Ventilkolben, der mit einem als Flachsitz ausgebildeten Ventilsitz dichtend zusammenwirkt. Liegt der Ventilkolben am Flachsitz dichtend an, baut sich im Steuerraum ein das Einspritzventilglied in Schließrichtung beaufschlagender Steuerdruck auf. Bei Betätigung des Steuerventils mittels eines Elektromagneten hebt der Ventilkolben vom Ventilsitz ab und es wird eine Verbindung des Steuerraums mit einem Niederruckbereich hergestellt. In der Folge sinkt der Steuerdruck im Steuerraum und damit die das Einspritzventilglied in Schließrichtung beaufschlagende Kraft. Das Einspritzventilglied öffnet und gibt auf diese Weise die wenigstens eine Einspritzöffnung frei. Die Rückstellung des Ventilkolbens erfolgt mittels der Federkraft einer Feder nach Beendigung der Bestromung des Elektromagneten. Dies hat wiederum den Anstieg des Steuerdrucks im Steuerraum zur Folge, so dass auch das Einspritzventilglied in seinen Dichtsitz zurückgestellt wird und die wenigstens eine Einspritzöffnung wieder verschließt. - Zur Darstellung von Teileinspritzungen ist ein schnellschaltendes Steuerventil von Vorteil, um eine schnelle Entlastung des Steuerraums zu bewirken. Von Vorteil ist dabei ein reduzierter Hub des hubbeweglichen Schließelements des Steuerventils. Zugleich muss jedoch ein ausreichend großer Abströmquerschnitt sichergestellt sein. Um dies zu gewährleisten, kann der Durchmesser einer innerhalb des Ventilsitzes liegenden Abströmöffnung vergrößert werden. Damit vergrößert sich jedoch auch die am Ventilschließelement ausgebildete Fläche, welche innerhalb des Durchmessers des Ventilsitzes zu liegen kommt, und in Schließstellung des Steuerventils vom Steuerdruck des Steuerraums beaufschlagt wird. Die Folge ist eine Vergrößerung der auf das Ventilschließelement in Öffnungsrichtung wirkenden hydraulischen Kraft. Dem kann entgegengewirkt werden, indem die Federkraft einer Feder erhöht wird, die das Ventilschließelement in Schließrichtung beaufschlagt. Zum Öffnen des Ventils sind dann jedoch größere Magnetkräfte erforderlich, was sich wiederum ungünstig auf die Schaltzeit des Steuerventils auswirkt.
- Aus der
DE 197 38 351 A1 ist ferner eine Einspritzvorrichtung mit einem elektromagnetischen Ventil zur Verbindung einer Drucksteuerkammer mit einem Niederdruckraum bekannt. Das elektromagnetische Ventil umfasst ein Plattenbauteil und ein bewegliches Bauteil mit ebenen Kontakt- bzw. Dichtflächen. In zumindest einer Kontaktfläche ist ein nutförmiger Kraftstoffentlastungsdurchgang vorgesehen. - Ausgehend von dem vorstehend genannten Stand der Technik liegt der vorliegenden Erfindung die Aufgabe zugrunde, ein schnell schaltendes Steuerventil für einen Kraftstoffinjektor anzugeben, das wenigstens eine im Hinblick auf reduzierte Schaltkräfte und/oder geringe Hübe optimierte Abströmöffnung besitzt. Ferner soll ein Steuerventil mit einer erhöhten Lebensdauer bereit gestellt werden.
- Zur Lösung der Aufgabe wird das Steuerventil mit den Merkmalen des Anspruchs 1 vorgeschlagen. Vorteilhafte Weiterbildungen der Erfindung sind den Unteransprüchen zu entnehmen. Ferner wird ein Kraftstoffinjektor mit einem solchen Steuerventil angegeben.
- Das vorgeschlagene Steuerventil umfasst ein Ventilstück mit einer innerhalb eines als Flachsitz ausgebildeten Ventilsitzes ausgebildeten Abströmöffnung sowie ein mit dem Ventilsitz dichtend zusammenwirkendes hubbewegliches Ventilschließelement. Erfindungsgemäß ist die Abströmöffnung schlitzförmig ausgebildet und besitzt eine Länge L, die größer als eine Breite B der Abströmöffnung ist. Die Länge L entspricht dabei im Wesentlichen einem Durchmesser D oder einem Radius R einer Kreisfläche, innerhalb welcher die Abströmöffnung und wenigstens eine weitere mit der Abströmöffnung verbundene und/oder von der Abströmöffnung getrennte Abströmöffnung angeordnet sind.
- Die schlitzförmige Abströmöffnung weist im Vergleich zu einer kreisförmigen Abströmöffnung den Vorteil auf, dass sie einen großen Abströmumfang bei zugleich kleiner Fläche besitzt. Über die schlitzförmige Abströmöffnung wird demnach - bei gleichem Abströmumfang - das Ventilschließelement mit einer geringeren hydraulischen Kraft beaufschlagt, so dass die Schaltkräfte reduziert werden können. Alternativ oder ergänzend kann der Hub des Ventilschließelementes verringert werden, da über den Abströmumfang weiterhin eine schnelle Entlastung des Steuerraums sichergestellt ist.
- Ein ungünstiges Länge/Breite Verhältnis (L/B >> 1) der schlitzförmigen Abströmöffnung kann jedoch zu Spannungen im Ventilstück führen, die insbesondere an den Enden in Längsrichtung der Abströmöffnung auftreten (Kerbspannung). Zur Verminderung der Spannungen wird daher vorgeschlagen, innerhalb einer die schlitzförmige Abströmöffnung aufnehmenden Kreisfläche wenigstens eine weitere Abströmöffnung auszubilden. Die wenigstens eine weitere Abströmöffnung kann dabei mit der schlitzartigen Abströmöffnung verbunden oder als separate Abströmöffnung ausgebildet sein. Es hat sich gezeigt, dass durch diese Maßnahme die Belastungen des Ventilstücks verringert werden. Dies wiederum führt zu einer Erhöhung der Lebensdauer des Steuerventils.
- Gemäß einer bevorzugten Ausführungsform der Erfindung ist die wenigstens eine weitere Abströmöffnung ebenfalls schlitzförmig und besitzt eine Längsachse A', die gegenüber einer Längsachse A der ersten schlitzförmigen Abströmöffnung geneigt ist. In einer besonders bevorzugten Ausgestaltung sind mehrere schlitzartige Abströmöffnungen kreuz- oder sternförmig angeordnet. Die Anordnung kann derart erfolgen, dass sich zwei oder mehr schlitzartige Abströmöffnungen schneiden.
- Die festigkeitssteigernde Wirkung wird durch Vermeidung einer spannungserzeugenden Aufweitung der schlitzförmigen Abströmöffnungen erzielt, da in der Nähe von anderen druckbelasteten Schlitzen durch deren Aufweitung eine Stützwirkung am hochbelasteten Kerbradius erzielt wird. Die Wirkung ist bereits bei Anordnung einer weiteren schlitzartigen Abströmöffnung innerhalb der durch die erste Abströmöffnung vorgegebenen Kreisfläche nachweisbar.
- Alternativ oder ergänzend wird vorgeschlagen, dass die wenigstens eine weitere Abströmöffnung an einem Ende der schlitzartigen Abströmöffnung innerhalb der Kreisfläche angeordnet ist. Die weitere endseitig angeordnete Abströmöffnung führt zu einer Vergrößerung des Kerbradius, so dass eine Spannungsentlastung erreicht wird.
- Die an einem Ende der schlitzförmigen Abströmöffnung angeordnete weitere Abströmöffnung kann beispielsweise kreisförmig sein und einen Durchmesser d besitzen, der größer als die Breite B der schlitzartigen Abströmöffnung ist. Bei der Festlegung des Durchmessers d sollte jedoch beachtet werden, dass das Verhältnis Fläche/Abströmumfang nicht wesentlich verschlechtert wird, um die eingangs genannten Vorteile einer schlitzförmigen Abströmöffnung gegenüber einer kreisförmigen Abströmöffnung zu erhalten.
- Alternativ kann die an einem Ende der schlitzförmigen Abströmöffnung angeordnete weitere Abströmöffnung schlitzförmig sein und einen bogenförmigen Verlauf besitzen. Auch durch diese Maßnahme wird eine Spannungsentlastung mittels einer Vergrößerung des Kerbradius erreicht. Zugleich weist die weitere Abströmöffnung eine optimierte Geometrie auf. Der bogenförmige Verlauf gewährleistet die Anordnung der weiteren schlitzförmigen Abströmöffnung innerhalb der angegebenen Kreisfläche. Der Effekt der Spannungsreduktion liegt hier im Besonderen in der Annäherung an die in Bezug auf Spannung ideale Kreisform mit Innendruck.
- Als besonders vorteilhaft im Hinblick auf die Vermeidung von Kerbspannungen erweist sich ein bogenförmiger Verlauf der weiteren Abströmöffnung, der gegenüber der Kreisform geringfügig nach innen versetzt ist. Bevorzugt folgt daher der bogenförmige Verlauf der weiteren Abströmöffnung der Form einer Ellipse mit zwei Halbachsen a, b, wobei die kürzere Halbachse a mit der Länge L der die Kreisfläche definierenden schlitzartigen Abströmöffnung zusammenfällt. Innerhalb der angenäherten Kreisform stellt sich damit ein näherungsweise hydrostatischer Spannungszustand ein, so dass Spannungen im Wesentlichen nur radial außen des bogenförmigen Verlaufs auftreten, wo sie aufgrund des großen Radius deutlich geringer sind.
- Vorzugsweise ist die Halbachse a kleiner als ein Viertel der Länge L der schlitzartigen Abströmöffnung, an deren Ende sie angeordnet ist. Durch diese Maßnahme ist weiterhin eine ausreichende mechanische Festigkeit des Ventilstücks gewährleistet.
- Weiterhin vorzugsweise beträgt das Halbachsenverhältnis a/b 0,8 bis 0,9. Dadurch ist sichergestellt, dass bei mehreren schlitzförmigen Abströmöffnungen, die jeweils an einem Ende einer schlitzförmigen radial verlaufenden Abströmöffnung angeordnet sind und einen bogenförmigen Verlauf aufweisen, eine ausreichende Stegbreite verbleibt, um die mechanische Festigkeit des Ventilstücks nicht zu gefährden.
- In Weiterbildung der Erfindung wird vorgeschlagen, dass der als Flachsitz ausgebildete Ventilsitz freigestellt ist und durch wenigstens einen Steg ausbildet wird, der einer Außenkontur einer Abströmöffnung folgt. Die Abströmöffnung wird demnach durch den Steg begrenzt. Durch die Freistellung kann das über die Abströmöffnungen austretende Fluid nahezu drucklos abströmen. Dadurch wird eine zusätzliche auf das Ventilschließelement wirkende Öffnungskraft vermieden. In Abhängigkeit von der jeweils gewählten Stegbreite wird zudem die Dichtfläche des Ventilsitzes reduziert, so dass eine verbesserte Dichtwirkung erzielt wird.
- Da die Vorteile des angegebenen Steuerventils insbesondere bei Einsatz in einem Kraftstoffinjektor zum Tragen kommen, wird ferner ein Kraftstoffinjektor mit einem erfindungsgemäßen Steuerventil vorgeschlagen. Das Steuerventil dient vorzugsweise der Steuerung der Hubbewegung einer Düsennadel des Kraftstoffinjektors.
- Bevorzugte Ausführungsformen der Erfindung werden nachfolgend anhand der beigefügten Zeichnungen näher erläutert. Diese zeigen:
- Figur 1
- einen Längsschnitt durch einen Kraftstoffinjektor mit einem erfindungsgemäßen Steuerventil,
- Figur 2
- eine Draufsicht auf ein Ventilstück eines erfindungsgemäßen Steuerventils gemäß einer ersten bevorzugten Ausführungsform der Erfindung,
- Figur 3
- eine Draufsicht auf ein Ventilstück eines erfindungsgemäßen Steuerventils gemäß einer zweiten bevorzugten Ausführungsform der Erfindung,
- Figur 4
- eine Draufsicht auf ein Ventilstück eines erfindungsgemäßen Steuerventils gemäß einer dritten bevorzugten Ausführungsform der Erfindung,
- Figur 5
- eine Draufsicht auf ein Ventilstück eines erfindungsgemäßen Steuerventils gemäß einer vierten bevorzugten Ausführungsform der Erfindung,
- Figur 6
- eine Draufsicht auf ein Ventilstück eines erfindungsgemäßen Steuerventils gemäß einer fünften bevorzugten Ausführungsform der Erfindung,
- Figur 7
- eine Draufsicht auf ein Ventilstück eines erfindungsgemäßen Steuerventils gemäß einer sechsten bevorzugten Ausführungsform der Erfindung,
- Figur 8
- eine vergrößerte Darstellung der Geometrie der Abströmöffnungen der Ausführungsform der
Figur 6 , - Figur 9
- eine weitere Draufsicht auf das Ventilstück der
Figur 6 mit Darstellung der im Ventilstück auftretenden Spannungen, - Figur 10
- eine perspektivische Schnittansicht des Ventilstücks der
Figur 6 , - Figur 11
- einen Längsschnitt durch ein Ventilstück eines erfindungsgemäßen Steuerventils und
- Figur 12
- eine partielle Draufsicht auf ein Ventilstück eines erfindungsgemäßen Steuerventils.
- Der in der
Figur 1 dargestellte Kraftstoffinjektor weist einen Düsenkörper 25 und einen Haltekörper 26 auf, die mittels einer nicht dargestellten Spannmutter axial verspannt sind. Der Düsenkörper 25 und der Haltekörper 26 werden von einer Hochdruckbohrung 24 durchsetzt, in der eine Düsennadel 20 zum Freigeben oder Verschließen von Einspritzöffnungen 27 hubbeweglich aufgenommen ist. Die Hochdruckbohrung 24 ist über eine Zulaufleitung 28 mit einem Hochdruckspeicher 29 verbunden, über welchen der Hochdruckbohrung 24 unter hohem Druck stehender Kraftstoff zugeführt wird. - In axialer Richtung wird die Hochdruckbohrung 24 von einem in den Haltekörper 26 eingesetzten Ventilstück 1 eines Steuerventils zur Steuerung der Hubbewegung der Düsennadel 20 begrenzt. Das Ventilstück 1 dichtet die Hochdruckbohrung 24 gegenüber einem Niederdruckraum 10 ab, der innerhalb eines Ventilkörpers 11 des Steuerventils ausgebildet ist. Über eine Bohrung 15 des Ventilkörpers 11, in welcher ein Ventilschließelement 4 des Steuerventils hubbeweglich aufgenommen ist, und einen Aufnahmeraum 19, in der ein mit einem Elektromagneten 13 zur Betätigung des Steuerventils zusammenwirkender Anker 12 angeordnet ist, ist der Niederdruckraum 10 mit einer Rücklaufleitung 30 verbunden.
- Am Ventilstück 1 des Steuerventils ist eine Dichthülse 22 abgestützt, in der ein Ende der Düsennadel 20 in der Weise aufgenommen ist, dass ein Steuerraum 16 ausgebildet wird, der über eine Zulaufdrossel 18 mit der Hochdruckbohrung 24 verbunden ist. In Schließstellung des Steuerventils herrscht demnach im Steuerraum 16 ebenfalls Hochdruck, der eine auf eine Stirnfläche 21 der Düsennadel 20 in Schließrichtung wirkende Druckkraft ausübt. Ferner wird die Düsennadel 20 von der Federkraft einer Feder 23 in Schließrichtung beaufschlagt. Die Feder 23, die einerseits an der Düsennadel 20 und andererseits an der Dichthülse 22 abgestützt ist, dient der Rückstellung der Düsennadel 20 und hält zugleich die Dichthülse 22 in dichtender Anlage mit dem Ventilstück 1 des Steuerventils.
- Über das Steuerventil ist eine Entlastung des Steuerraums 16 bewirkbar, so dass der auf die Stirnfläche 21 der Düsennadel 20 wirkende Schließdruck reduziert wird und die Düsennadel 20 aus ihrem Sitz abhebt. Die Düsennadel 20 gibt auf diese Weise die Einspritzöffnungen 27 frei. Die Entlastung des Steuerraums 16 wird durch Öffnen des Steuerventils bewirkt, so dass der Steuerraum 16 mit dem Niederdruckraum 10 verbunden ist.
- Zum Öffnen des Steuerventils wird der Elektromagnet 13 bestromt. Über die Magnetkraft des Elektromagneten 13 wird der im Aufnahmeraum 19 angeordnete Anker 12, der mit dem Ventilschließelement 4 des Steuerventils fest verbunden ist, in Richtung des Elektromagneten 13 gezogen, so dass das Ventilschließelement 4 von einem im Ventilstück 1 ausgebildeten Ventilsitz 2 abhebt und eine Abströmöffnung 3 freigibt, über welche die zur Entlastung des Steuerraums 16 erforderliche Verbindung mit dem Niederdruckraum 10 hergestellt wird. Zum Schließen des Steuerventils wird die Bestromung des Elektromagneten 13 beendet. Der Anker 12 und das Ventilschließelement 4 werden dann über die Federkraft einer Feder 14 in ihre Ausgangslage zurück gestellt. In Schließstellung des Steuerventils wird der Steuerraum 16 über die Zulaufdrossel 18 erneut mit Kraftstoff befüllt, so dass der Druck im Steuerraum 16 wieder ansteigt.
- Die Abströmöffnung 3 ist vorliegend schlitzförmig ausgebildet und dient zugleich als Ablaufdrossel 17. Sie liegt innerhalb des als Flachsitz ausgebildeten Ventilsitzes 2. Zum Verschließen der Abströmöffnung 3 weist das Ventilschließelement 4 eine kreisförmige Dichtfläche 8 auf, die entsprechend dem Ventilsitz 2 flach ausgebildet ist.
- Neben der schlitzförmigen Abströmöffnung 3 ist erfindungsgemäß wenigstens eine weitere Abströmöffnung 6, 6' vorgesehen, die innerhalb einer Kreisfläche 5 ausgebildet ist, welche durch die schlitzförmige Abströmöffnung 3 definiert ist und somit ebenfalls innerhalb der Dichtfläche 8 des Ventilsschließelements 4 zu liegen kommt. Durch die wenigstens eine weitere Abströmöffnung 6, 6' werden Spannungen im Ventilstück 1 entgegen gewirkt, so dass die Belastbarkeit des Ventilstücks 1 steigt. Nachfolgend werden bevorzugte Ausgestaltungen der weiteren Abströmöffnungen 6, 6' jeweils in Kombination mit einer schlitzförmigen Abströmöffnung 3 aufgezeigt.
- Eine erste bevorzugte Ausgestaltung ist in der
Figur 2 dargestellt. Sie zeigt ein in den Kraftstoffinjektor gemäß derFigur 1 einsetzbares Ventilstück 1 eines erfindungsgemäßen Steuerventils in der Draufsicht. Die weitere Abströmöffnung 6 ist hier ebenfalls schlitzförmig ausgebildet und bildet mit der Abströmöffnung 3 ein Kreuz aus, das innerhalb der Kreisfläche 5 zu liegen kommt, welche durch die Länge L der Abströmöffnung 3 definiert ist. Denn die Länge L entspricht dem Durchmesser D der Kreisfläche 5. Die Längsachsen A und A' der beiden schlitzförmigen Abströmöffnungen 3, 6 liegen orthogonal zueinander, so dass sich die beiden Abströmöffnungen 3, 6 jeweils in der Mitte schneiden. - Eine Abwandlung der Ausgestaltung der
Figur 2 ist in derFigur 3 dargestellt. Hier ist jeweils an den Enden der beiden schlitzförmigen Abströmöffnungen 3, 6 eine kreisförmige Abströmöffnung 6 angeordnet, deren Durchmesser d größer als die Breite B der schlitzförmigen Abströmöffnungen 3, 6 gewählt ist. Die kreisförmigen Abströmöffnungen 6 bewirken eine Entlastung des Ventilstücks 1, da Kerbspannungen entgegen gewirkt wird. - Weitere Abwandlungen der Ausgestaltungen der
Figuren 2 und 3 sind möglich, wenn - wie in denFiguren 4 und 5 dargestellt - mehrere schlitzförmige Abströmöffnungen 3, 6 6' sternförmig angeordnet werden. Dabei können die sternförmig angeordneten schlitzförmigen Abströmöffnungen 3, 6, 6' über einen Verschneidungsbereich verbunden oder gegenüber einer Mitte der Kreisfläche 5 beabstandet angeordnet sein, so dass es zu keiner Verschneidung kommt. Hieraus ergibt sich eine Vielzahl möglicher Ausgestaltungen, die vorliegend nicht alle dargestellt werden können. Ferner kann die Anzahl der schlitzförmigen Abströmöffnungen 3, 6, 6' variiert werden und/oder es können kreisförmige Abströmöffnungen 6 an den jeweiligen Enden der schlitzförmigen Abströmöffnungen 3, 6, 6' entsprechend der Ausführungsform derFigur 3 vorgesehen werden. - Eine weitere, besonders bevorzugte Ausgestaltung ist in der
Figur 6 dargestellt. Hier wird die schlitzförmige Abströmöffnung 3 mit jeweils endseitig angeordneten C-förmigen Abströmöffnungen 6 kombiniert. Die C-förmigen Abströmöffnungen 6 bilden ebenfalls Schlitze aus, die zudem bogenförmig verlaufen. Die Bogenform folgt dabei der Form einer Ellipse, welche durch die Halbachsen a, b definiert ist (sieheFigur 8 ). Die kürzere Halbachse a fällt mit der Länge L der schlitzförmigen Abströmöffnung 3 zusammen, wobei a kleiner als ein Viertel der Länge L ist. Das Verhältnis der Halbachsen a/b beträgt vorliegend 0,8. Dies hat zur Folge, dass der bogenförmige Verlauf der C-förmigen Abströmöffnungen 6 gegenüber einer die Kreisfläche 5 begrenzenden Kreislinie nach innen versetzt ist. Diese Maßnahme wirkt sich festigkeitssteigernd aus, denn Spannungen treten im Wesentlichen an der Außenseite der C-förmigen Abströmöffnungen 6 auf und somit an den großen Radien, die bezüglich Spannungen weniger kritisch sind (sieheFigur 9 ). - Eine Abwandlung der Ausgestaltung der
Figur 6 ist in derFigur 7 dargestellt. Die Länge L der schlitzförmigen Abströmöffnung 3 entspricht hier dem Radius R der Kreisfläche 5. Jeweils im gleichen Winkelabstand zueinander sind zwei weitere schlitzförmige Abströmöffnungen 6 angeordnet, so dass die Abströmöffnungen 3, 6 eine Sternform ergeben. Jede der Abströmöffnungen 3, 6 weist an ihrem Ende eine C-förmige Abströmöffnung 6 zur Entlastung des Ventilstücks 1 auf. Die Enden der C-förmigen Abströmöffnungen 6 sind gegenüber der die Kreisfläche 5 begrenzenden Kreislinie nach innen um das Maß i versetzt, um die Festigkeit des Ventilstücks 1 zu erhöhen. Ferner verbleiben zwischen den schlitzförmigen Abströmöffnungen 3, 6 Materialstege, die im Bereich zwischen den Enden der C-förmigen Abströmöffnungen 6 das Maß ii und in radialer Richtung das Maß iii aufweisen. Die Materialstege sind damit derart bemessen, dass das Ventilstück 1 eine ausreichende Festigkeit besitzt. - In der
Figur 10 ist eine vorteilhafte Ausgestaltung des Ventilsitzes 2 dargestellt, der mit allen vorstehend beschriebenen Ausgestaltungen der Abströmöffnungen 3, 6, 6' kombinierbar ist, gleichwohl sich die Darstellung auf eine Ausgestaltung gemäß derFigur 6 bezieht. Der Ventilsitz 2 wird hier durch Stege 7 gebildet, welche die Abströmöffnungen 3, 6, 6' begrenzen. Die Stege 7 folgen somit den Außenkonturen der Abströmöffnungen 3, 6, 6'. Die Stege 7 sind über einen abgesenkten Bereich 9 des Ventilstücks 1 freigestellt. Über den abgesenkten Bereich 9 kann der über die Abströmöffnungen 3, 6, 6' austretende Kraftstoff nahezu druckfrei abströmen. Hierzu ist die Fläche des abgesenkten Bereichs 9 größer als eine mit dem Ventilsitz 2 zusammenwirkende Dichtfläche 8 eines Ventilschließelementes 4 gewählt (in derFigur 10 nicht dargestellt). - Die Wirkung der Freistellung des Ventilsitzes 2 wird anhand der
Figuren 11 und12 näher erläutert. Der Ventilsitz 2, der durch Stege 7 ausgebildet wird, weist eine die Abströmöffnung 3 begrenzende Stegfläche mit einer Stegbreite s auf. Hieran schließt sich der abgesenkte Bereich 9 des Ventilstücks 1 an, wodurch die Stege 7 freigestellt werden. Der über den Abströmumfang der Abströmöffnung 3 austretende Kraftstoff (siehe Pfeile 31 in derFigur 11 ), kann über den abgesenkten Bereich 9 weitgehend druckfrei abströmen. Die Dichtfläche 8 des Ventilschließelements 4 wird demzufolge nicht mit einer zusätzlichen in Öffnungsrichtung wirkenden Druckkraft beaufschlagt, wenn es mit einem reduzierten Hub h vom Ventilsitz 2, 7 abhebt. Die zum Schließen des Steuerventils erforderliche Schließkraft F kann demnach verringert werden. - In der
Figur 12 sind die im Bereich des Ventilsitzes 2 anliegenden Drücke dargestellt. Im Strömungsquerschnitt der Abströmöffnungen 3, 6 herrscht der Druck p1 vor. Im Bereich des Steges 7 fällt der Druck von p1 auf p3, wobei im Mittel der Druck p2 herrscht (p2 = (p1 + p3)/2). Außerhalb des abgesenkten Bereichs 9 herrscht ein Druck p4, der gleich dem im Niederdruckraum 10 herrschenden Druck ist. Die Absenkung im Bereich 9 stellt sicher, dass der Druck p3 annähend dem Druck p4 entspricht.
Claims (11)
- Steuerventil für einen Kraftstoffinjektor, insbesondere einen Common-Rail-Kraftstoffinjektor, umfassend ein Ventilstück (1) mit einer innerhalb eines als Flachsitz ausgebildeten Ventilsitzes (2) ausgebildeten Abströmöffnung (3) sowie ein mit dem Ventilsitz (2) dichtend zusammenwirkendes hubbewegliches Ventilschließelement (4),
dadurch gekennzeichnet, dass die Abströmöffnung (3) schlitzförmig ausgebildet ist und eine Länge (L) besitzt, die größer als eine Breite (B) der Abströmöffnung (3) ist, wobei die Länge (L) im Wesentlichen einem Durchmesser (D) oder einem Radius (R) einer Kreisfläche (5) entspricht, innerhalb welcher die Abströmöffnung (3) und wenigstens eine weitere mit der Abströmöffnung (3) verbundene und/oder von der Abströmöffnung (3) getrennte Abströmöffnung (6, 6') angeordnet sind. - Steuerventil nach Anspruch 1,
dadurch gekennzeichnet, dass die wenigstens eine weitere Abströmöffnung (6, 6') schlitzförmig ist und eine Längsachse (A') besitzt, die gegenüber einer Längsachse (A) der Abströmöffnung (3) geneigt ist. - Steuerventil nach Anspruch 2,
dadurch gekennzeichnet, dass die schlitzartigen Abströmöffnungen (3, 6, 6') kreuz- oder sternförmig angeordnet sind. - Steuerventil nach einem der vorhergehenden Ansprüche,
dadurch gekennzeichnet, dass die wenigstens eine weitere Abströmöffnung (6) an einem Ende der schlitzartigen Abströmöffnung (3) angeordnet ist. - Steuerventil nach einem der vorhergehenden Ansprüche,
dadurch gekennzeichnet, dass die wenigstens eine weitere Abströmöffnung (6) kreisförmig ist und einen Durchmesser (d) besitzt, der größer als die Breite (B) der schlitzartigen Abströmöffnung (3) ist. - Steuerventil nach einem der Ansprüche 1 bis 4,
dadurch gekennzeichnet, dass die wenigstens eine weitere Abströmöffnung (6) schlitzförmig ist und einen bogenförmigen Verlauf besitzt. - Steuerventil nach Anspruch 6,
dadurch gekennzeichnet, dass der bogenförmige Verlauf der weiteren Abströmöffnung (6) der Form einer Ellipse mit zwei Halbachsen (a, b) folgt, wobei die kürzere Halbachse (a) mit der Länge (L) der schlitzartigen Abströmöffnung (3) zusammenfällt. - Steuerventil nach Anspruch 7,
dadurch gekennzeichnet, dass die Halbachse (a) kleiner als ein Viertel der Länge (L) der schlitzartigen Abströmöffnung (3) ist. - Steuerventil nach Anspruch 7 oder 8,
dadurch gekennzeichnet, dass das Halbachsenverhältnis (a/b) 0,8 bis 0,9 beträgt. - Steuerventil nach einem der vorhergehenden Ansprüche,
dadurch gekennzeichnet, dass der als Flachsitz ausgebildete Ventilsitz (2) freigestellt ist und durch wenigstens einen Steg (7) ausgebildet wird, der einer Außenkontur einer Abströmöffnung (3, 6, 6') folgt. - Kraftstoffinjektor mit einem Steuerventil nach einem der vorhergehenden Ansprüche.
Applications Claiming Priority (2)
| Application Number | Priority Date | Filing Date | Title |
|---|---|---|---|
| DE201310212140 DE102013212140A1 (de) | 2013-06-25 | 2013-06-25 | Steuerventil |
| PCT/EP2014/058919 WO2014206606A1 (de) | 2013-06-25 | 2014-04-30 | Steuerventil |
Publications (2)
| Publication Number | Publication Date |
|---|---|
| EP3014100A1 EP3014100A1 (de) | 2016-05-04 |
| EP3014100B1 true EP3014100B1 (de) | 2017-07-19 |
Family
ID=50639520
Family Applications (1)
| Application Number | Title | Priority Date | Filing Date |
|---|---|---|---|
| EP14721358.1A Not-in-force EP3014100B1 (de) | 2013-06-25 | 2014-04-30 | Steuerventil |
Country Status (4)
| Country | Link |
|---|---|
| EP (1) | EP3014100B1 (de) |
| CN (1) | CN105492755B (de) |
| DE (1) | DE102013212140A1 (de) |
| WO (1) | WO2014206606A1 (de) |
Families Citing this family (3)
| Publication number | Priority date | Publication date | Assignee | Title |
|---|---|---|---|---|
| US10310597B2 (en) | 2013-09-03 | 2019-06-04 | Tobii Ab | Portable eye tracking device |
| DE102015111813B4 (de) * | 2015-07-21 | 2017-03-02 | Kendrion (Villingen) Gmbh | Sitzventil |
| CN114790957B (zh) * | 2022-04-29 | 2023-11-21 | 中国北方发动机研究所(天津) | 一种滑阀式共轨喷油器 |
Family Cites Families (8)
| Publication number | Priority date | Publication date | Assignee | Title |
|---|---|---|---|---|
| US3731880A (en) * | 1971-10-08 | 1973-05-08 | Gen Motors Corp | Ball valve electromagnetic fuel injector |
| DE3878599T2 (de) * | 1987-06-26 | 1993-09-23 | Hitachi Automotive Eng | Elektromagnetisches kraftstoffeinspritzventil. |
| ATE199966T1 (de) * | 1995-06-02 | 2001-04-15 | Ganser Hydromag | Brennstoffeinspritzventil für verbrennungskraftmaschinen |
| JP3584554B2 (ja) * | 1995-07-26 | 2004-11-04 | 株式会社デンソー | 蓄圧式燃料噴射装置 |
| JP3719468B2 (ja) * | 1996-09-02 | 2005-11-24 | 株式会社デンソー | 蓄圧式燃料噴射装置 |
| ITTO20010970A1 (it) * | 2001-10-12 | 2003-04-12 | Fiat Ricerche | Inettore di combustibile per un motore a combustione interna. |
| DE102006049050A1 (de) * | 2006-10-18 | 2008-04-30 | Robert Bosch Gmbh | Injektor zum Einspritzen von Kraftstoff |
| DE102008005532A1 (de) * | 2008-01-22 | 2009-07-23 | Robert Bosch Gmbh | Kraftstoffinjektor, dessen Steuerventilelement einen Stützbereich aufweist |
-
2013
- 2013-06-25 DE DE201310212140 patent/DE102013212140A1/de not_active Withdrawn
-
2014
- 2014-04-30 WO PCT/EP2014/058919 patent/WO2014206606A1/de not_active Ceased
- 2014-04-30 EP EP14721358.1A patent/EP3014100B1/de not_active Not-in-force
- 2014-04-30 CN CN201480046885.7A patent/CN105492755B/zh not_active Expired - Fee Related
Non-Patent Citations (1)
| Title |
|---|
| None * |
Also Published As
| Publication number | Publication date |
|---|---|
| WO2014206606A1 (de) | 2014-12-31 |
| EP3014100A1 (de) | 2016-05-04 |
| CN105492755B (zh) | 2018-08-14 |
| CN105492755A (zh) | 2016-04-13 |
| DE102013212140A1 (de) | 2015-01-08 |
Similar Documents
| Publication | Publication Date | Title |
|---|---|---|
| EP0898650A1 (de) | Kraftstoffeinspritzeinrichtung für brennkraftmaschinen | |
| EP3478957B1 (de) | Ventil zum eindüsen von gasförmigem kraftstoff | |
| EP3014100B1 (de) | Steuerventil | |
| DE102008032133A1 (de) | Kraftstoffeinspritzvorrichtung | |
| EP1117922B1 (de) | Common-rail-injektor | |
| EP2310662B1 (de) | Kraftstoff-injektor | |
| EP1171708B1 (de) | Einspritzdüse | |
| EP1335128B1 (de) | Ventil zur Steuerung einer Verbindung in einem Hochdruckflüssigkeitssystem, insbesondere einer Kraftstoffeinspritzeinrichtung für eine Brennkraftmaschine | |
| EP2743493B1 (de) | Kraftstoffinjektor | |
| WO2016034402A1 (de) | Elektromagnetisch betätigbares proportionalventil | |
| EP2276922B1 (de) | Kraftstoffinjektor mit magnetventil | |
| EP2466107B1 (de) | Kraftstoffinjektor mit druckausgeglichenem Steuerventil | |
| EP1671028A1 (de) | Ventil zur steuerung einer verbindung in einem hochdruckfl s sigkeitssystem, insbesondere einer kraftstoffeinspritzeinrichtung f r eine brennkraftmaschine | |
| EP2499352B1 (de) | Kraftstoffinjektor | |
| EP3380715B1 (de) | Kraftstoff-injektor | |
| EP1601869B1 (de) | Ventil mit federelement für einen kraftstoffinjektor | |
| EP3060789B1 (de) | Kraftstoffinjektor | |
| EP2630361B1 (de) | Kraftstoffinjektor | |
| EP1952011A1 (de) | Kraftstoff-einspritzvorrichtung für eine brennkraftmaschine mit kraftstoff-direkteinspritzung | |
| DE102009026564A1 (de) | Kraftstoff-Injektor mit druckausgeglichenem Steuerventil | |
| EP2798192B1 (de) | Kraftstoffeinspritzventil für brennkraftmaschinen | |
| EP2957760B1 (de) | Düsenbaugruppe für einen kraftstoffinjektor sowie kraftstoffinjektor | |
| WO2003031803A1 (de) | Kraftstoff-einspritzvorrichtung, insbesondere injektor für brennkraftmaschinen mit direkteinspritzung, sowie kraftstoffsystem und brennkraftmaschine | |
| EP2653712A1 (de) | Kraftstoffinjektor mit Magnetventil | |
| EP2267295A2 (de) | Kraftstoffinjektor |
Legal Events
| Date | Code | Title | Description |
|---|---|---|---|
| PUAI | Public reference made under article 153(3) epc to a published international application that has entered the european phase |
Free format text: ORIGINAL CODE: 0009012 |
|
| 17P | Request for examination filed |
Effective date: 20160125 |
|
| AK | Designated contracting states |
Kind code of ref document: A1 Designated state(s): AL AT BE BG CH CY CZ DE DK EE ES FI FR GB GR HR HU IE IS IT LI LT LU LV MC MK MT NL NO PL PT RO RS SE SI SK SM TR |
|
| AX | Request for extension of the european patent |
Extension state: BA ME |
|
| DAX | Request for extension of the european patent (deleted) | ||
| GRAP | Despatch of communication of intention to grant a patent |
Free format text: ORIGINAL CODE: EPIDOSNIGR1 |
|
| INTG | Intention to grant announced |
Effective date: 20170329 |
|
| GRAS | Grant fee paid |
Free format text: ORIGINAL CODE: EPIDOSNIGR3 |
|
| GRAA | (expected) grant |
Free format text: ORIGINAL CODE: 0009210 |
|
| AK | Designated contracting states |
Kind code of ref document: B1 Designated state(s): AL AT BE BG CH CY CZ DE DK EE ES FI FR GB GR HR HU IE IS IT LI LT LU LV MC MK MT NL NO PL PT RO RS SE SI SK SM TR |
|
| REG | Reference to a national code |
Ref country code: GB Ref legal event code: FG4D Free format text: NOT ENGLISH |
|
| REG | Reference to a national code |
Ref country code: CH Ref legal event code: EP |
|
| REG | Reference to a national code |
Ref country code: IE Ref legal event code: FG4D Free format text: LANGUAGE OF EP DOCUMENT: GERMAN |
|
| REG | Reference to a national code |
Ref country code: AT Ref legal event code: REF Ref document number: 910652 Country of ref document: AT Kind code of ref document: T Effective date: 20170815 |
|
| REG | Reference to a national code |
Ref country code: DE Ref legal event code: R096 Ref document number: 502014004666 Country of ref document: DE |
|
| REG | Reference to a national code |
Ref country code: NL Ref legal event code: MP Effective date: 20170719 |
|
| REG | Reference to a national code |
Ref country code: LT Ref legal event code: MG4D |
|
| PG25 | Lapsed in a contracting state [announced via postgrant information from national office to epo] |
Ref country code: LT Free format text: LAPSE BECAUSE OF FAILURE TO SUBMIT A TRANSLATION OF THE DESCRIPTION OR TO PAY THE FEE WITHIN THE PRESCRIBED TIME-LIMIT Effective date: 20170719 Ref country code: HR Free format text: LAPSE BECAUSE OF FAILURE TO SUBMIT A TRANSLATION OF THE DESCRIPTION OR TO PAY THE FEE WITHIN THE PRESCRIBED TIME-LIMIT Effective date: 20170719 Ref country code: NO Free format text: LAPSE BECAUSE OF FAILURE TO SUBMIT A TRANSLATION OF THE DESCRIPTION OR TO PAY THE FEE WITHIN THE PRESCRIBED TIME-LIMIT Effective date: 20171019 Ref country code: FI Free format text: LAPSE BECAUSE OF FAILURE TO SUBMIT A TRANSLATION OF THE DESCRIPTION OR TO PAY THE FEE WITHIN THE PRESCRIBED TIME-LIMIT Effective date: 20170719 Ref country code: NL Free format text: LAPSE BECAUSE OF FAILURE TO SUBMIT A TRANSLATION OF THE DESCRIPTION OR TO PAY THE FEE WITHIN THE PRESCRIBED TIME-LIMIT Effective date: 20170719 Ref country code: SE Free format text: LAPSE BECAUSE OF FAILURE TO SUBMIT A TRANSLATION OF THE DESCRIPTION OR TO PAY THE FEE WITHIN THE PRESCRIBED TIME-LIMIT Effective date: 20170719 |
|
| PG25 | Lapsed in a contracting state [announced via postgrant information from national office to epo] |
Ref country code: BG Free format text: LAPSE BECAUSE OF FAILURE TO SUBMIT A TRANSLATION OF THE DESCRIPTION OR TO PAY THE FEE WITHIN THE PRESCRIBED TIME-LIMIT Effective date: 20171019 Ref country code: PL Free format text: LAPSE BECAUSE OF FAILURE TO SUBMIT A TRANSLATION OF THE DESCRIPTION OR TO PAY THE FEE WITHIN THE PRESCRIBED TIME-LIMIT Effective date: 20170719 Ref country code: RS Free format text: LAPSE BECAUSE OF FAILURE TO SUBMIT A TRANSLATION OF THE DESCRIPTION OR TO PAY THE FEE WITHIN THE PRESCRIBED TIME-LIMIT Effective date: 20170719 Ref country code: ES Free format text: LAPSE BECAUSE OF FAILURE TO SUBMIT A TRANSLATION OF THE DESCRIPTION OR TO PAY THE FEE WITHIN THE PRESCRIBED TIME-LIMIT Effective date: 20170719 Ref country code: GR Free format text: LAPSE BECAUSE OF FAILURE TO SUBMIT A TRANSLATION OF THE DESCRIPTION OR TO PAY THE FEE WITHIN THE PRESCRIBED TIME-LIMIT Effective date: 20171020 Ref country code: IS Free format text: LAPSE BECAUSE OF FAILURE TO SUBMIT A TRANSLATION OF THE DESCRIPTION OR TO PAY THE FEE WITHIN THE PRESCRIBED TIME-LIMIT Effective date: 20171119 Ref country code: LV Free format text: LAPSE BECAUSE OF FAILURE TO SUBMIT A TRANSLATION OF THE DESCRIPTION OR TO PAY THE FEE WITHIN THE PRESCRIBED TIME-LIMIT Effective date: 20170719 |
|
| REG | Reference to a national code |
Ref country code: DE Ref legal event code: R097 Ref document number: 502014004666 Country of ref document: DE |
|
| REG | Reference to a national code |
Ref country code: FR Ref legal event code: PLFP Year of fee payment: 5 |
|
| PG25 | Lapsed in a contracting state [announced via postgrant information from national office to epo] |
Ref country code: RO Free format text: LAPSE BECAUSE OF FAILURE TO SUBMIT A TRANSLATION OF THE DESCRIPTION OR TO PAY THE FEE WITHIN THE PRESCRIBED TIME-LIMIT Effective date: 20170719 Ref country code: CZ Free format text: LAPSE BECAUSE OF FAILURE TO SUBMIT A TRANSLATION OF THE DESCRIPTION OR TO PAY THE FEE WITHIN THE PRESCRIBED TIME-LIMIT Effective date: 20170719 Ref country code: DK Free format text: LAPSE BECAUSE OF FAILURE TO SUBMIT A TRANSLATION OF THE DESCRIPTION OR TO PAY THE FEE WITHIN THE PRESCRIBED TIME-LIMIT Effective date: 20170719 |
|
| PLBE | No opposition filed within time limit |
Free format text: ORIGINAL CODE: 0009261 |
|
| STAA | Information on the status of an ep patent application or granted ep patent |
Free format text: STATUS: NO OPPOSITION FILED WITHIN TIME LIMIT |
|
| PG25 | Lapsed in a contracting state [announced via postgrant information from national office to epo] |
Ref country code: SK Free format text: LAPSE BECAUSE OF FAILURE TO SUBMIT A TRANSLATION OF THE DESCRIPTION OR TO PAY THE FEE WITHIN THE PRESCRIBED TIME-LIMIT Effective date: 20170719 Ref country code: EE Free format text: LAPSE BECAUSE OF FAILURE TO SUBMIT A TRANSLATION OF THE DESCRIPTION OR TO PAY THE FEE WITHIN THE PRESCRIBED TIME-LIMIT Effective date: 20170719 Ref country code: SM Free format text: LAPSE BECAUSE OF FAILURE TO SUBMIT A TRANSLATION OF THE DESCRIPTION OR TO PAY THE FEE WITHIN THE PRESCRIBED TIME-LIMIT Effective date: 20170719 |
|
| 26N | No opposition filed |
Effective date: 20180420 |
|
| PG25 | Lapsed in a contracting state [announced via postgrant information from national office to epo] |
Ref country code: SI Free format text: LAPSE BECAUSE OF FAILURE TO SUBMIT A TRANSLATION OF THE DESCRIPTION OR TO PAY THE FEE WITHIN THE PRESCRIBED TIME-LIMIT Effective date: 20170719 |
|
| PG25 | Lapsed in a contracting state [announced via postgrant information from national office to epo] |
Ref country code: MT Free format text: LAPSE BECAUSE OF FAILURE TO SUBMIT A TRANSLATION OF THE DESCRIPTION OR TO PAY THE FEE WITHIN THE PRESCRIBED TIME-LIMIT Effective date: 20170719 |
|
| PG25 | Lapsed in a contracting state [announced via postgrant information from national office to epo] |
Ref country code: MC Free format text: LAPSE BECAUSE OF FAILURE TO SUBMIT A TRANSLATION OF THE DESCRIPTION OR TO PAY THE FEE WITHIN THE PRESCRIBED TIME-LIMIT Effective date: 20170719 |
|
| REG | Reference to a national code |
Ref country code: CH Ref legal event code: PL |
|
| REG | Reference to a national code |
Ref country code: BE Ref legal event code: MM Effective date: 20180430 |
|
| GBPC | Gb: european patent ceased through non-payment of renewal fee |
Effective date: 20180430 |
|
| REG | Reference to a national code |
Ref country code: IE Ref legal event code: MM4A |
|
| PG25 | Lapsed in a contracting state [announced via postgrant information from national office to epo] |
Ref country code: LU Free format text: LAPSE BECAUSE OF NON-PAYMENT OF DUE FEES Effective date: 20180430 |
|
| PG25 | Lapsed in a contracting state [announced via postgrant information from national office to epo] |
Ref country code: BE Free format text: LAPSE BECAUSE OF NON-PAYMENT OF DUE FEES Effective date: 20180430 Ref country code: GB Free format text: LAPSE BECAUSE OF NON-PAYMENT OF DUE FEES Effective date: 20180430 Ref country code: LI Free format text: LAPSE BECAUSE OF NON-PAYMENT OF DUE FEES Effective date: 20180430 Ref country code: CH Free format text: LAPSE BECAUSE OF NON-PAYMENT OF DUE FEES Effective date: 20180430 |
|
| PG25 | Lapsed in a contracting state [announced via postgrant information from national office to epo] |
Ref country code: IE Free format text: LAPSE BECAUSE OF NON-PAYMENT OF DUE FEES Effective date: 20180430 |
|
| PG25 | Lapsed in a contracting state [announced via postgrant information from national office to epo] |
Ref country code: TR Free format text: LAPSE BECAUSE OF FAILURE TO SUBMIT A TRANSLATION OF THE DESCRIPTION OR TO PAY THE FEE WITHIN THE PRESCRIBED TIME-LIMIT Effective date: 20170719 |
|
| PG25 | Lapsed in a contracting state [announced via postgrant information from national office to epo] |
Ref country code: PT Free format text: LAPSE BECAUSE OF FAILURE TO SUBMIT A TRANSLATION OF THE DESCRIPTION OR TO PAY THE FEE WITHIN THE PRESCRIBED TIME-LIMIT Effective date: 20170719 |
|
| PG25 | Lapsed in a contracting state [announced via postgrant information from national office to epo] |
Ref country code: CY Free format text: LAPSE BECAUSE OF FAILURE TO SUBMIT A TRANSLATION OF THE DESCRIPTION OR TO PAY THE FEE WITHIN THE PRESCRIBED TIME-LIMIT Effective date: 20170719 Ref country code: HU Free format text: LAPSE BECAUSE OF FAILURE TO SUBMIT A TRANSLATION OF THE DESCRIPTION OR TO PAY THE FEE WITHIN THE PRESCRIBED TIME-LIMIT; INVALID AB INITIO Effective date: 20140430 Ref country code: MK Free format text: LAPSE BECAUSE OF NON-PAYMENT OF DUE FEES Effective date: 20170719 |
|
| PG25 | Lapsed in a contracting state [announced via postgrant information from national office to epo] |
Ref country code: AL Free format text: LAPSE BECAUSE OF FAILURE TO SUBMIT A TRANSLATION OF THE DESCRIPTION OR TO PAY THE FEE WITHIN THE PRESCRIBED TIME-LIMIT Effective date: 20170719 |
|
| REG | Reference to a national code |
Ref country code: AT Ref legal event code: MM01 Ref document number: 910652 Country of ref document: AT Kind code of ref document: T Effective date: 20190430 |
|
| PG25 | Lapsed in a contracting state [announced via postgrant information from national office to epo] |
Ref country code: AT Free format text: LAPSE BECAUSE OF NON-PAYMENT OF DUE FEES Effective date: 20190430 |
|
| PGFP | Annual fee paid to national office [announced via postgrant information from national office to epo] |
Ref country code: IT Payment date: 20220429 Year of fee payment: 9 Ref country code: FR Payment date: 20220420 Year of fee payment: 9 |
|
| PGFP | Annual fee paid to national office [announced via postgrant information from national office to epo] |
Ref country code: DE Payment date: 20220627 Year of fee payment: 9 |
|
| REG | Reference to a national code |
Ref country code: DE Ref legal event code: R119 Ref document number: 502014004666 Country of ref document: DE |
|
| PG25 | Lapsed in a contracting state [announced via postgrant information from national office to epo] |
Ref country code: FR Free format text: LAPSE BECAUSE OF NON-PAYMENT OF DUE FEES Effective date: 20230430 Ref country code: DE Free format text: LAPSE BECAUSE OF NON-PAYMENT OF DUE FEES Effective date: 20231103 |
|
| PG25 | Lapsed in a contracting state [announced via postgrant information from national office to epo] |
Ref country code: IT Free format text: LAPSE BECAUSE OF NON-PAYMENT OF DUE FEES Effective date: 20230430 |