EP2974810B2 - Casting equipment and casting method using same - Google Patents

Casting equipment and casting method using same Download PDF

Info

Publication number
EP2974810B2
EP2974810B2 EP14762821.8A EP14762821A EP2974810B2 EP 2974810 B2 EP2974810 B2 EP 2974810B2 EP 14762821 A EP14762821 A EP 14762821A EP 2974810 B2 EP2974810 B2 EP 2974810B2
Authority
EP
European Patent Office
Prior art keywords
slab
casting
unit
solidification
molten steel
Prior art date
Legal status (The legal status is an assumption and is not a legal conclusion. Google has not performed a legal analysis and makes no representation as to the accuracy of the status listed.)
Active
Application number
EP14762821.8A
Other languages
German (de)
French (fr)
Other versions
EP2974810A1 (en
EP2974810A4 (en
EP2974810B1 (en
Inventor
Kyung Shik Oh
Joo Dong Lee
Jeong Yun Choi
Sung Jool Kim
Current Assignee (The listed assignees may be inaccurate. Google has not performed a legal analysis and makes no representation or warranty as to the accuracy of the list.)
Posco Holdings Inc
Original Assignee
Posco Co Ltd
Priority date (The priority date is an assumption and is not a legal conclusion. Google has not performed a legal analysis and makes no representation as to the accuracy of the date listed.)
Filing date
Publication date
Family has litigation
First worldwide family litigation filed litigation Critical https://patents.darts-ip.com/?family=51537132&utm_source=google_patent&utm_medium=platform_link&utm_campaign=public_patent_search&patent=EP2974810(B2) "Global patent litigation dataset” by Darts-ip is licensed under a Creative Commons Attribution 4.0 International License.
Application filed by Posco Co Ltd filed Critical Posco Co Ltd
Publication of EP2974810A1 publication Critical patent/EP2974810A1/en
Publication of EP2974810A4 publication Critical patent/EP2974810A4/en
Application granted granted Critical
Publication of EP2974810B1 publication Critical patent/EP2974810B1/en
Publication of EP2974810B2 publication Critical patent/EP2974810B2/en
Active legal-status Critical Current
Anticipated expiration legal-status Critical

Links

Images

Classifications

    • BPERFORMING OPERATIONS; TRANSPORTING
    • B22CASTING; POWDER METALLURGY
    • B22DCASTING OF METALS; CASTING OF OTHER SUBSTANCES BY THE SAME PROCESSES OR DEVICES
    • B22D11/00Continuous casting of metals, i.e. casting in indefinite lengths
    • B22D11/12Accessories for subsequent treating or working cast stock in situ
    • B22D11/128Accessories for subsequent treating or working cast stock in situ for removing
    • BPERFORMING OPERATIONS; TRANSPORTING
    • B22CASTING; POWDER METALLURGY
    • B22DCASTING OF METALS; CASTING OF OTHER SUBSTANCES BY THE SAME PROCESSES OR DEVICES
    • B22D11/00Continuous casting of metals, i.e. casting in indefinite lengths
    • B22D11/12Accessories for subsequent treating or working cast stock in situ
    • BPERFORMING OPERATIONS; TRANSPORTING
    • B22CASTING; POWDER METALLURGY
    • B22DCASTING OF METALS; CASTING OF OTHER SUBSTANCES BY THE SAME PROCESSES OR DEVICES
    • B22D11/00Continuous casting of metals, i.e. casting in indefinite lengths
    • B22D11/04Continuous casting of metals, i.e. casting in indefinite lengths into open-ended moulds
    • B22D11/041Continuous casting of metals, i.e. casting in indefinite lengths into open-ended moulds for vertical casting
    • BPERFORMING OPERATIONS; TRANSPORTING
    • B22CASTING; POWDER METALLURGY
    • B22DCASTING OF METALS; CASTING OF OTHER SUBSTANCES BY THE SAME PROCESSES OR DEVICES
    • B22D11/00Continuous casting of metals, i.e. casting in indefinite lengths
    • B22D11/10Supplying or treating molten metal
    • BPERFORMING OPERATIONS; TRANSPORTING
    • B22CASTING; POWDER METALLURGY
    • B22DCASTING OF METALS; CASTING OF OTHER SUBSTANCES BY THE SAME PROCESSES OR DEVICES
    • B22D11/00Continuous casting of metals, i.e. casting in indefinite lengths
    • B22D11/10Supplying or treating molten metal
    • B22D11/11Treating the molten metal
    • B22D11/114Treating the molten metal by using agitating or vibrating means
    • B22D11/115Treating the molten metal by using agitating or vibrating means by using magnetic fields
    • BPERFORMING OPERATIONS; TRANSPORTING
    • B22CASTING; POWDER METALLURGY
    • B22DCASTING OF METALS; CASTING OF OTHER SUBSTANCES BY THE SAME PROCESSES OR DEVICES
    • B22D11/00Continuous casting of metals, i.e. casting in indefinite lengths
    • B22D11/12Accessories for subsequent treating or working cast stock in situ
    • B22D11/1213Accessories for subsequent treating or working cast stock in situ for heating or insulating strands
    • BPERFORMING OPERATIONS; TRANSPORTING
    • B22CASTING; POWDER METALLURGY
    • B22DCASTING OF METALS; CASTING OF OTHER SUBSTANCES BY THE SAME PROCESSES OR DEVICES
    • B22D11/00Continuous casting of metals, i.e. casting in indefinite lengths
    • B22D11/12Accessories for subsequent treating or working cast stock in situ
    • B22D11/122Accessories for subsequent treating or working cast stock in situ using magnetic fields
    • BPERFORMING OPERATIONS; TRANSPORTING
    • B22CASTING; POWDER METALLURGY
    • B22DCASTING OF METALS; CASTING OF OTHER SUBSTANCES BY THE SAME PROCESSES OR DEVICES
    • B22D11/00Continuous casting of metals, i.e. casting in indefinite lengths
    • B22D11/12Accessories for subsequent treating or working cast stock in situ
    • B22D11/124Accessories for subsequent treating or working cast stock in situ for cooling
    • BPERFORMING OPERATIONS; TRANSPORTING
    • B22CASTING; POWDER METALLURGY
    • B22DCASTING OF METALS; CASTING OF OTHER SUBSTANCES BY THE SAME PROCESSES OR DEVICES
    • B22D11/00Continuous casting of metals, i.e. casting in indefinite lengths
    • B22D11/14Plants for continuous casting
    • B22D11/141Plants for continuous casting for vertical casting
    • BPERFORMING OPERATIONS; TRANSPORTING
    • B22CASTING; POWDER METALLURGY
    • B22DCASTING OF METALS; CASTING OF OTHER SUBSTANCES BY THE SAME PROCESSES OR DEVICES
    • B22D11/00Continuous casting of metals, i.e. casting in indefinite lengths
    • B22D11/16Controlling or regulating processes or operations
    • B22D11/20Controlling or regulating processes or operations for removing cast stock
    • BPERFORMING OPERATIONS; TRANSPORTING
    • B22CASTING; POWDER METALLURGY
    • B22DCASTING OF METALS; CASTING OF OTHER SUBSTANCES BY THE SAME PROCESSES OR DEVICES
    • B22D7/00Casting ingots, e.g. from ferrous metals
    • BPERFORMING OPERATIONS; TRANSPORTING
    • B22CASTING; POWDER METALLURGY
    • B22DCASTING OF METALS; CASTING OF OTHER SUBSTANCES BY THE SAME PROCESSES OR DEVICES
    • B22D7/00Casting ingots, e.g. from ferrous metals
    • B22D7/06Ingot moulds or their manufacture
    • BPERFORMING OPERATIONS; TRANSPORTING
    • B22CASTING; POWDER METALLURGY
    • B22DCASTING OF METALS; CASTING OF OTHER SUBSTANCES BY THE SAME PROCESSES OR DEVICES
    • B22D9/00Machines or plants for casting ingots
    • B22D9/003Machines or plants for casting ingots for top casting

Definitions

  • the present invention relates to a casting installation and a casting method using the same, and more particularly, to a casting installation that may easily produce a slab for an extremely thick steel material and enhance quality, yielding percentage, and productivity of the slab and to a casting method using the same.
  • KR 2011 0074153 A discloses a vertical casting device comprising a cooling mold, a support, a solidifying unit, a magnetic-field applying and a cooling unit.
  • KR 2010 0085748 A discloses a vertical semi-continuous caster comprising a cooling mold, supporting part, second solidification part, and a magnetic field application part.
  • an extremely thick steel material has a thickness of at least 100 mm, and internal quality such as porosity and mechanical properties such as impact and toughness of the extremely thick steel material are managed with a thickness reduction ratio (slab thickness/product thickness) limited according to an intended use.
  • a thickness reduction ratio latitude/product thickness
  • an extremely thick steel material may be produced through predetermined post-processes such as forging and rolling of an ingot or slab produced by a continuous casting process.
  • An ingot process is, for example, disclosed in KR 2008-0034951 .
  • a continuous casting process is, for example, disclosed in JP 2002-361374 .
  • the ingot is produced into an extremely thick steel material product by a forging process or is subject to an additional rolling process.
  • the extremely thick steel material requiting a high thickness reduction ratio regards the internal quality as an important factor, a slab mostly cast in an ingot is subjected to a forging operation and then produced through a rolling process.
  • producing an extremely thick steel material by using a slab cast in an ingot may correspond to the production of an extremely thick steel material having a high thickness reduction ratio and has an advantage for the production of a small-lot in consideration of a demand characteristic of the extremely thick steel material.
  • the slab produced by using the ingot process requires cutting of an unsound region for removing the unsound region generated around a riser and a main riser.
  • deterioration in yielding percentage of the slab is caused due to cutting of upper and lower regions of the slab, so that production costs for producing the extremely thick steel material is increased.
  • the extremely thick steel material is produced by the continuous casting process, i.e., the latter method
  • the extremely thick steel material is produced by a method of rolling a slab subject to a continuous cast.
  • the latter method is excellent in yielding process and thus superior to the ingot process in terms of production costs when compared to the ingot process, there is a problem in that a thickness of the extremely thick steel material is also limited due to a limited slab thickness when steel products requiring a high thickness reduction ratio are produced.
  • the extremely thick steel material is relatively thick compared to a normal slab, it takes a long time until the slab is completely solidified after being cast.
  • a slab for an extremely thick steel material thicker than a general slab produced by a general caster is produced by a conventional casting method in which molten steel is continuous cast and cut, solidification is completed to an inside of the slab and thus the installation of the caster becomes very long for a cutting process, which leads to enlargement of the installation, resulting in consumption of enormous initial cost in terms of production costs.
  • the present invention provides a casting installation easily producing a slab for an extremely thick steel material and to a casting method using the same.
  • the present invention also provides to a casting installation capable of enhancing quality and yielding percentage of a slab and to a casting method using the same.
  • the present invention also provides to a casting installation capable of enhancing productivity of a slab and efficiency of a process installation and to a casting method using the same.
  • a casting installation according to the present invention includes the features of claim 1.
  • the first stirrer may have coils wound around the slab and disposed in the form of a circle.
  • the casting unit may include a second quality controller provided on an outside of a passage of the casting unit through which molten steel passes.
  • the accommodation unit may include a mold configured to form the passage through which the molten steel supplied to a tundish passes, and the mold may be formed so that the slab has a thickness of 800 mm or less and a width of 2000 mm or less.
  • the second quality controller may include: a stirring unit including at least one stirrer disposed on an outside of the mold and configured to stir at least any one of the molten steel and unsolidified molten steel inside the slab; a second heater installed so as to be able to move forward and backward in a region directly below the mold and configured to heat an upper portion of the slab.
  • the stirring unit may include: a third stirrer disposed in proximity to the mold and able to elevate in a drawing direction of the slab; a fourth stirrers provided spaced apart below the third stirrer and able to elevate in the drawing direction of the slab.
  • the third stirrer may have coils wound around the mold or the slab and disposed in the form of a circle.
  • a pusher for separating the slab from the drawing machine may be provided to the casting unit and the pusher may be installed so as to be able to reciprocally move forward and backward toward the solidification unit.
  • a transfer unit transferring the slab from the casting unit to the solidification unit or from the solidification unit to an outside of the solidification unit may be provided.
  • a casting method according to the present invention comprises the features of claim 10.
  • the casting of the molten steel is repeated in the casting unit after the slab is transferred to the solidification unit.
  • the transferring the slab to the solidification unit may be performed while the molten steel is transferred to the casting unit so that preparing the casting is performed.
  • the solidification of the slab may be completed in the casting unit or after the slab is transferred to the solidification unit.
  • the molten steel may be cast at a casting rate 0.3m per minute or less.
  • a casting installation and a casting method using the same it is possible to improve yielding percentage of a slab produced by a continuous casting. That is, when a slab cast in a casting unit is solidified in a casting unit or a solidification unit, the length of a pipe generated at an upper portion of the slab is reduced to enhance yielding percentage of the slab by delaying solidification of the upper portion of the slab by using a second heater or a first heater.
  • molten steel remaining in a mold is stirred to enhance inner quality during casting and unsolidified molten steel in slab is stirred after a casting is completed, so that the equiaxed crystal ratio in the slab may be enhanced, segregation and porosity may be reduced, and an internal defect such as a pipe occurring at an edge end of the slab may be reduced.
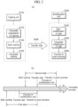
  • FIG. 1 illustrates a view of a casting installation according to an embodiment of the present invention.
  • FIG. 2 illustrates a flow chart of a casting method according to an embodiment of the present invention.
  • FIG. 3 illustrates a view of an operating state of a casting installation according to a casting method in FIG. 2 .
  • FIGS. 3A to 3F illustrate changes in the casting installation working to produce slab.
  • a casting installation 1 as an installation to produce a slab for an extremely thick steel material includes a casting unit 1a defining a passage through which molten steel passes and for casting the molten steel into a slab; and a solidification unit 1b including: a support unit 500 disposed spaced apart from the casting unit 1a and receiving the slab from the casting unit 1a and disposed on at least any one place of sides of the slab to support the slab; and a first quality controller 600 provided on an outside of the slab to induce solidification of the slab.
  • the casting unit 1a as a section in which continuous casting of refined molten steel is carried out includes: an accommodation unit 100 accommodating the molten steel; a drawing machine 200 drawing the slab from the accommodation unit 100 to a lower portion; and a second quality controller 300 provided on an outside of the passage through which the molten steel passes.
  • the accommodation unit 100 defines a space accommodating molten steel before the casting of the molten steel and includes a ladle 120 accommodating molten steel, a tundish 140 receiving the molten steel from the ladle 120, and a mold 160 disposed spaced apart below the tundish 140.
  • the ladle 120 is a container for accommodating molten steel after refining is completed and may be produced in various hollow shapes having an internal space capable of accommodating the molten steel. In general, the ladle 120 may be provided in plurality to increase the circulation rate of a continuous casting installation.
  • the tundish 140 is produced in the shape of a hollow container capable of accommodating the molten steel supplied from the ladle 120.
  • An outlet discharging molten steel is formed in the bottom of the tundish 140, so that the molten steel accommodated in the tundish 140 may be discharged to the outside through the outlet.
  • the molten steel accommodated in the tundish 140 stays inside the tundish 140 for a period of time, thus being poured into the mold 160 after flotation of inclusion contained in the molten steel.
  • the mold 160 is provided for shaping the molten steel poured from the tundish 140 in an appropriate size to produce a slab, thus defining width and thickness of a passage through which the molten steel passes.
  • the mold 160 of the present invention may be formed such that a slab has a thickness of 800 mm or less and a width of 2000 mm or less in order to cope with the size of a slab for an extremely thick steel material. That is, use of the mold 160 having a greatly increased thickness compared to a mold of a conventional casting installation allows a slab subjected to forging and rolling processes to have a thickness used for the extremely thick steel material.
  • a guide roll 170 guiding a slab having an initial shell to the outside of the mold 160 through the mold 160, a cooling nozzle (not shown) cooling the slab guided from the guide roll 170, and a vibrator (not shown) transmitting vibration to the mold 160 so that the slab inside the mold is easily drawn to the outside of the mold 160.
  • a guide roll 170 guiding a slab having an initial shell to the outside of the mold 160 through the mold 160
  • a cooling nozzle (not shown) cooling the slab guided from the guide roll 170
  • a vibrator not shown transmitting vibration to the mold 160 so that the slab inside the mold is easily drawn to the outside of the mold 160.
  • the drawing machine 200 as a machine for drawing a slab from the accommodation unit 100 to a lower portion, includes: a surface plate 220 which is initially disposed inside the mold and receives molten steel to prevent the molten steel from spilling downwards from the mold 160 and connects the primary solidified slab to an actuator 240, and the actuator 240 drawing the slab to the lower portion.
  • the surface plate 220 is provided for connecting a slab to the actuator 240, and a plate having a specific-shaped surface is used for easy connection to the slab.
  • a plate having a specific-shaped surface is used for easy connection to the slab.
  • the present invention does not limit the shape and the material of the surface plate 220, it is preferable that the surface plate 200 is made of such a material that does not lead to deformation which may be caused by to a slab of a high temperature when being in contact with the slab.
  • the actuator 240 is a device for lowering the surface plate 220, and a slab connected to the surface plate 220 may be drawn downwards by lowering the surface plate 220 connected to the actuator 240.
  • the actuator 240 may employ a device capable of descending to a lower portion when the slab is drawn and ascending at an initial stage of casting so that the surface plate 220 is positioned inside the mold 160. That is, a device capable of descending and ascending may be used as the actuator 240.
  • the second quality controller 300 is provided for improving quality of a slab drawn from the drawing machine 200 and includes: a stirring unit 320 including at least one stirrer disposed on an outside of the mold 160 and configured to stir at least any one of molten steel in the mold 160 and unsolidified molten steel inside the slab; and a second heater 340 installed so as to be able to move forward and backward in a region directly below the mold 160 and configured to heat an upper portion of the slab.
  • the stirring unit 320 is a device having at least one stirrer on an outside of the mold 160 to improve quality of a slab and includes: a third stirrer 322 disposed in proximity to the mold 160 and able to elevate in a drawing direction of the slab; and a fourth stirrer 324 provided spaced apart below the third stirrer 322 and able to elevate in the drawing direction of the slab. That is, the stirring unit 320 stirs at least any one of molten steel accommodated in a molten state in the mold 160 and unsolidified molten steel in the produced slab to perform grain refinement on a slab, thereby being capable of improving quality of the slab.
  • the third stirrer 322 is disposed spaced apart at a predetermined distance from a side of the mold 160, and stirs molten steel accommodated in the mold 160 during the casting.
  • the third stirrer 322 descends by a predetermined distance along with a slab to stir unsolidified molten steel inside the slab. That is, when molten steel is poured to the mold 160, the third stirrer 322 applies an electromagnetic field to the molten steel from a side of the mold 160 to stir the molten steel, and when pouring of the molten steel into the mold 160 is completed, the third stirrer 322 may stir unsolidified molten steel inside a slab while descending to a lower portion along with the slab.
  • An electromagnetic stirrer may be used as the third stirrer 322.
  • the electromagnetic stirrer being able to be used as the third stirrer 322 typically has a low frequency (Hz) band corresponding to a frequency enough to stir molten steel in a molten state.
  • the fourth stirrer 324 is provided spaced apart at a predetermined distance below the third stirrer 322, and elevates in a drawing direction of a slab to stir unsolidified molten steel in the slab.
  • a final electromagnetic stirrer (FEMS) may be used as the fourth stirrer 324.
  • the fourth stirrer 324 is disposed in a relatively lower portion compared to the third stirrer 322, and it is preferable to use a stirring device having a higher frequency (Hz) than the third stirrer 322 in order to stir molten steel existing inside a solidified region in a lower portion of a slab (a lower portion from the center with respect to a longitudinal direction of a slab) in which solidification has progressed to some extent.
  • Hz frequency
  • the stirring unit 320 stirs solidified molten steel in the mold and unsolidified molten steel in the slab, thereby being capable of enhancing the equiaxed crystal ratio in slab and reducing segregation and porosity.
  • the present invention does not limit a stirring region of a slab stirred by the third and fourth stirrers 322 and 324 and an elevating width of the stirrers, and various moving ranges may be applicable according to casting conditions.
  • the second heater 340 is a device disposed outside of the mold 160 and installed so as to be able to move forward and backward in a region directly below the mold (a path in a drawing direction of a slab) to heat an upper portion of the cast slab (tail portion).
  • a method according to induction heating was employed.
  • the second heater 340 indirectly heats the upper side of a slab by using an electromagnetic field generated in an induction heating coil by power supply, and is wound so as to surround the slab while being spaced apart at a predetermined interval from four directional sides of the slab.
  • the second heater 340 preferably uses an induction coil having a shape corresponding to a cross-section of the slab, but not limited thereto, may be wound in various forms.
  • a pusher 400 may be provided to the casting unit 1a so as to transfer a slab to the solidification unit 1b after casting of molten steel is completed.
  • the pusher 400 is a device disposed in a position facing the solidification unit 1b of sides of the casting unit 1a and pushing a side of a slab and separating the slab from the drawing machine 200 to deliver the slab towards the solidification unit 1b.
  • a device capable of reciprocally moving a predetermined distance may be used for the pusher 400, and for example, a stepping motor, an actuator, a solenoid, or the like may be used.
  • a piston reciprocally moves while being inserted and ejected into/from a cylinder, thus being able to push the slab toward the solidification unit 1b and then return back to an original position.
  • a device delivering the slab of the casting unit 1a to the solidification unit 1b is not limited to the pusher 400 and may be a variety of devices.
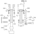
  • the solidification unit 1b is a section receiving a slab so as to solidify the slab cast from the above described casting unit 1a and includes: a support unit 500 disposed on at least any one side of the slab to support the slab; and a first quality controller 600 provided on an outside of the slab to induce solidification of the slab.
  • the solidification unit 1b receives the slab from a section spaced apart at a predetermined distance from the casting unit 1a, completes solidification of the slab, and then transfers the slab to a post-process (for example, forging or rolling).
  • the support unit 500 is provided so that the slab is stably positioned in the solidification unit 1b and includes: a support block 520 disposed in contact with the bottom of the slab; and a support frame 540 disposed surrounding a portion of a side of the slab.
  • the configuration of the support unit 500 is not limited thereto, but the slab may be supported by a variety of devices and methods within the extent not interfering with the movement of the first quality controller 600.
  • the supporting block 520 uses a block in a shape similar to the surface plate 220 of the casting unit 1a.
  • the support block 520 plays a role of supporting a lower portion of the slab disposed in the solidification unit 1b in a drawing direction, i.e. a longitudinal direction.
  • the support frame 540 may be disposed spaced apart at a predetermined distance from a side of the slab and surrounding a portion of a side of the slab so as to suppress and prevent the slab disposed in the longitudinal direction from falling, as illustrated in an enlarged view in FIG. 1 .
  • the first quality controller 600 as a device provided on an outside of a slab and to ensure slab quality includes: a first stirrer 620 disposed in proximity to an outside of the slab and able to elevate in a longitudinal direction of the slab; a second stirrer 640 provided spaced apart below the first stirrer 620 and able to elevate in the longitudinal direction of the slab; and a first heater 660 configured to heat an upper portion of the slab. That is, since solidification of the slab which is naturally cooled is not completed, the first quality controller 600 may be provided with a device the same as or similar to the casting unit 1a to continue a treatment process for improving slab quality.
  • the first stirrer 620 as a device for stirring unsolidified molten steel in a slab delivered to the solidification unit 1b is disposed spaced apart at a predetermined distance from the slab.
  • the first stirrer 620 may be installed so as to be able to elevate in such a way that the first stirrer 620 descends to be disposed on a side of the slab when the slab is delivered to the solidification unit 1b with the first stirrer 620 being disposed at the same height as or a similar height to the third stirrer 322.
  • the first stirrer 620 is disposed in an upper portion outside of the slab. That is, the first stirrer 620 is disposed above the center of the slab with respect to a longitudinal direction of the slab.
  • an electromagnetic stirrer (EMS) similar to the third stirrer 322 may be used.
  • the first stirrer 620 uses a device similar to the third stirrer 322, the first and third stirrers 620 and 322 may be different in the size of a frequency generated thereby or the operating time thereof from each other. That is, the third stirrer 322 stirs molten steel in the mold 160 or molten steel in an initial slab subjected to solidification, and thus uses a frequency less than about 1 Hz.
  • the third stirrer 322 operates during the following processes: pouring of molten steel into the mold 160, casting the molten steel into a slab, and transferring of the slab to the solidification unit 1b.
  • the first stirrer 620 due to a characteristic of the slab transferred to the solidification unit 1b, the slab is not provided with the mold and forms a thicker solidified shell compared to the slab cast in the casting unit. Therefore, the first stirrer 620 uses a frequency of up to 5 Hz and operates until the casting of the slab is completed so that the magnetic field of the first stirrer 620 passes through the thickened solidified shell to stir unsolidified molten steel in the slab.
  • solidification of a slab occurs in a wide variety of forms according to casting situations and casting conditions, so that the third and first stirrers 322 and 620 may use a frequency in a range of 0 to 5 Hz according to various operation patterns.
  • the first stirrer 620 disposed in the solidification unit 1b in FIG. 3D stirs unsolidified molten steel in the slab to equalize temperatures of unsolidified molten steel in the slab during solidification of the slab in the solidification unit 1a, thus being able to operate very efficiently in reducing pipe defects inside the slab in such a way that the first heater 660 heats an upper side of the slab to prevent an upper portion of the slab from being pre-solidified.
  • 3F stirs unsolidified molten steel in the slab to equalize temperatures of unsolidified molten steel in the slab during solidification of the slab in the casting unit 1a, thus being able to operate very efficiently in reducing pipe defects inside the slab in such a way that the second heater heats an upper side of the slab to prevent an upper portion of the slab from being pre-solidified.
  • the second stirrer 640 is provided spaced apart at a predetermined distance below the first stirrer 620 and installed so as to elevate in a longitudinal direction of a slab to stir unsolidified molten steel in the slab. That is, the second stirrer 640 is disposed below the center of the slab with respect to a longitudinal direction of the slab.
  • the second stirrer 640 may use a final electromagnetic stirrer (FEMS) similar to the fourth stirrer 324 so as to stir unsolidified molten steel in a lower region outside of the slab
  • the second and fourth stirrers 640 and 324 may be different in the size of a frequency generated thereby or the operating time thereof from each other.
  • the fourth stirrer 322 uses a frequency of up to about 3 Hz so as to stir unsolidified molten steel in the slab which is being solidified in the casting unit 1a.
  • the fourth stirrer 324 operates before the slab cast in the casting unit 1a is transferred to the solidification unit 1b.
  • the second stirrer 640 due to a characteristic of the slab transferred to the solidification unit 1b, the slab forms a thicker solidified shell compared to the slab cast in the casting unit. Therefore, the second stirrer 640 uses a frequency of up to 6 Hz and operates until the casting of the slab is completed.
  • solidification of a slab occurs in a wide variety of forms according to casting situations and casting conditions, so that the fourth and second stirrers 324 and 640 may use a frequency in a range of 0 to 6 Hz according to various operation patterns.
  • the first and second stirrers 620 and 640 are provided in plurality to respectively stir unsolidified molten steel in different regions of the slab
  • an apparatus and a method for stirring unsolidified molten steel in the slab in the solidification unit 1b are not limited thereto. That is, the embodiment may be modified to various methods and apparatus shapes in such a way that a single stirrer is provided and a whole region from an upper portion to a lower portion of the slab may be stirred while the frequency of the stirrer is being changed.
  • the first and second stirrers 620 and 640 stir molten steel until solidification of the slab transferred to the solidification unit 1b is completed, thus being able to enhance the equiaxed crystal ratio in the slab and improve slab quality by reducing segregation and porosity as in the stirring unit 320 of the casting unit 1a.
  • the first heater 660 is a device installed so as to be able to move forward and backward in a direct upper region of slab for heating an upper portion of the slab in an outside of the slab and configured to heat an upper portion (tail portion) of the slab transferred to the solidification unit 1b. Since the first heater 660 has similar configuration and effect as in the second heater 340, a detailed description thereof will not be repeated.
  • the above described casting installation 1 may include a transfer unit which transfers the slab from the casting unit 1a to the solidification unit 1b and/or from the solidification unit 1b to the outside of the solidification unit 1b, i.e. a post-process.
  • the transfer unit 700 is a device disposed on one side of the solidification unit 1b and formed so as to be able to move forward and backward toward the casting unit or the solidification unit to transfer the slab.
  • the transfer unit 700 includes: a tilting unit 720 for tilting the slab in contact with the slab in the casting unit 1a or transferring the slab from the casting unit 1a to the solidification unit 1b; and a driving unit 740 controlling operation of the tilting unit 720.
  • the tilting unit 720 is disposed on one side of the slab and transfers the slab while being tilted or moved forward and backward by the driving unit, and the support block 520 of the solidification unit 1b is connected to transfer the slab. That is, the slab may be transferred from the casting unit 1a to the solidification unit 1b in such a way that one side of the tilting unit 720 is connected to the support block 520 supporting the slab and the slab is disposed on the support block 520.
  • the tilting unit 720 is tilted with the slab being in contact with one side of the tilting unit 720 and the slab may be seated on the tilting unit disposed in the transferring direction.
  • a roller 725 may be mounted to easily transfer the slab.
  • the driving unit 740 controls operation of the tilting unit 720, and may allow the tilting unit 720 to move forward and backward so that the tilting unit 720 approaches or recedes from the casting unit 1a.
  • the driving unit 740 allows the tilting unit 720 to be tilted and communicate with a roller table 800 guiding the tilting unit 720 and the slab to a post-process.
  • a device such as the pusher 400 of the casting unit 1a capable of reciprocally moving a predetermined distance may be used for the driving unit 740, and for example, when an actuator is used, the tilting unit 720 may be connected to an end of a piston so as to enable angle adjustment.
  • the device and operating method used for the transfer unit 700 are not limited thereto, and various devices and methods capable of easily transferring the slab may be used when the slab is transferred from the casting unit 1a to the solidification unit 1b or from the solidification unit 1b to a post-process.
  • a casting method includes: providing molten steel to prepare casting; casting the molten steel in a casting unit allowing a passage through which the molten steel passes to be opened or closed; and transferring a slab produced through the casting to a solidification unit.
  • molten steel after refining is completed is accommodated in a ladle 120 and then transferred to the casting unit so as to start casting.
  • the molten steel transferred to the casting unit is supplied to the tundish 140 from the ladle 120, flotation of inclusion is then performed in the tundish 140 for a period of time, and the molten steel is then poured to the mold, thereby performing the process in the casting unit 1a (S100).
  • preparation of the casting is competed in a condition in which the surface plate 220 is positioned in a mold to prevent molten steel poured to the mold 160 from being discharged to the outside (S120).
  • slab is produced (S140).
  • the third stirrer 322 is operated to stir molten steel in the mold.
  • the slab is produced in a size of a maximum thickness of 800 mm, a maximum width of 2000 mm, and cast at a casting rate of 0.3m per minute or less.
  • a reason why the slab is cast at a low casting rate of 0.3 m per minute is that suppressing occurrence of segregation to secure internal quality by casting at a slow casting rate and securing a sufficient thickness of the solidified shell during casting are required as a solidification rate of a slab for the extremely thick steel material is slow unlike a general slab.
  • the third stirrer 322 While the casting is in progress, the third stirrer 322 continually stirs molten steel in the mold and the fourth stirrer 324 continually stirs unsolidified molten steel inside the slab so that solidification proceeds by characteristic of thick slab.
  • the third and fourth stirrers 322 and 324 may refine a structure of slab by continuously stirring molten steel to enhance quality and equiaxed crystal ratio of slab.
  • the slab S1 located in the casting unit 1a is separated from the surface plate by the pusher 400 and supported by the transfer unit 700 to move to the solidification unit (S200).
  • the slab S1 may be transferred to the solidification unit 1b in a state solidification of a surface is advanced to a degree of no deformation.
  • the stirring unit 329 moving upper and lower portions in the casting and solidifying slab returns to its original position so as not to interfere with transfer of the slab S1.
  • a process of finally completing solidification of the slab S1 proceeds in the solidification unit 1b (S300). That is, since the slab S1 is solidified in the solidification unit 1b, a casting process may be performed in the casting unit 1a.
  • the first quality controller 600 provided in the solidification unit 1b descends or ascends to be disposed spaced apart from an outside of slab. That is, as illustrated in FIG. 3 , the first and second stirrers 620 and 640 are disposed outside of the slab for stirring unsolidified molten steel inside the slab S1 to operate until solidification of the slab S1 is completed.
  • the first heater 660 indirectly heats an upper portion of the slab inside each of regions to solidifying the upper portion of slab while heat is suppressed from being released from a side of the upper portion of the slab as much as possible. This may suppress or prevent unsolidified region of an upper portion of the slab from being pre-solidified by indirectly heating a side of an upper portion of the slab to minimize a solidification shrinkage defect such as a pipe. Thus, yielding percentage of slab is enhanced to improve yielding percentage of a final slab.
  • FIGS. 3A to 3F is not limited to a number of times and may be repeated.
  • a process of the casting unit 1a is re-processed in the casting unit 1a and produces another slab S2 to be able to be repeated until obtaining required quantity while the slab S1 is transferred to the solidification unit to perform a process of the casting unit (slab solidification process).
  • the slab Se in the casting unit 1a may finish solidification in the casting unit 1a without being transferred to the solidification unit 1b. That is, the slab Se finishes solidification by using the second quality controller 300 provided in the casting unit 1a and then may be transferred to a post-process (S360).
  • the second heater 340 of the casting unit 1a indirectly heats an upper portion of the slab Se to perform a role of the first heater 660 of the solidification unit 1b.
  • the last produced slab Se may be transferred to a post-process after being transferred to the solidification unit 1b and then completing a solidification process as similarly as the previously produced slabs S1 and S2.
  • a position of the final slab Se is not limited.
  • Table 1 shows the results of changes in slab thickness and yielding percentage of a finally produced slab in a variety of process conditions for producing the extremely thick steel material. [Table 1] Slab thickness (mm) Yielding percentage (%) Initial stage Middle stage Final stage Comparative Example 1 1500 300 178 52 Comparative Example 2 450 - 150 95 Example 800 300 178 89
  • the slab thickness of the initial stage indicates the thickness of the slab when an additional post-process is not performed on the slab of a completed cast.
  • the slab thickness of the middle stage indicates the thickness of the slab after a forging process beating or pressing the slab and
  • the slab thickness of the final stage indicates the thickness of the slab after a rolling process.
  • Each of the slabs (Comparative Example 1, Comparative Example 2, Example) shown in Table 1 are slabs produced as a slab for the extremely thick steel material after undergone a casting process and then at least any one of a forging or a rolling process, and Table 1 may show following results as below.
  • the slab in Comparative Example 1 is produced through an ingot process, thus being able to be obtained by supplying molten steel to a mold and cooling the molten steel.
  • the slab produced as above has an initial thickness of about 1500 mm.
  • the slab finally has a thickness of about 178 mm after undergone a forging and rolling process so as to form a thickness for the extremely thick steel material.
  • a total yielding percentage has a low value of about 52%.
  • the Slab in Comparative Example 2 is produced through a normal casting installation, thus being able to be produced by continuously pouring and solidifying molten steel supplied from a steelmaking plant to a mold.
  • the slab in Comparative Example 2 is produced through a normal casting installation, thus being able to be produced by continuously pouring and solidifying molten steel supplied from a steelmaking plant to a mold.
  • the slab produced as above has very high yielding percentage of about 95 %.
  • the slab is produced to have an initial thickness of about 450 mm, thus having a thickness about 150 mm after a rolling process is completed.
  • the slab is limited to have a thickness of about 150 mm when used for the extremely thick steel material.
  • the slab in Example is produced through a casting installation according to an embodiment of the present invention, thus being produced through the slab having a maximum thickness of about 800 mm and a maximum width of about 2000 mm.
  • the slab in Example produced to have an initial thickness of about 800 mm and may be confirmed to finally have a thickness of about 178 mm after undergone a forging and rolling process.
  • the slab in Example is confirmed to have a yielding percentage of about 89 %.
  • the slab in Example has a yielding percentage significantly enhanced by about 40 % when compared to the slab of Comparative Example 1 and a thickness suitable for the extremely thick steel material when compared to the slab in Comparative Example 2. That is, the slab produced by the installation in Example may solve problems of a slab produced through an ingot casting and a conventional continuous casting.
  • the extremely thick steel material produced according to the embodiment was not observed to have a surface defect (for example, a corner crack) identified by a naked eye and segregation generated inside the slab as macro quality achieved equiaxed crystal ratio of 100 % by applying a molten steel stirrer to the slab. Accordingly, it may be confirmed that the extremely thick steel material produced according to the embodiment of the present invention is improved.
  • the extremely thick steel material may be easily produced and quality and yielding percentage of the slab finally produced may be improved.
  • the slab produced in a casting unit is transferred to the solidification unit and then solidification of the slab is completed through the first quality controller and pre-solidification of an upper portion of the slab is suppressed or prevented to reduce formation of pipe, quality of the slab may be enhanced. Therefore, since cutting unsound region that is a problem of an ingot casting is not performed due to improved slab quality, yielding percentage of the slab may be enhanced.
  • next slab may be cast in the casting unit while the slab is transferred to the solidification unit and then solidified in the solidification unit, a problem of a batch process such as a conventional continuous casting may be solved.
  • productivity of the slab may be increased.
  • the slab produced in a last casting process is not transferred to the solidification unit and solidification of the slab may be completed through the second quality controller provided in the casting unit.
  • process efficiency may be improved.

Landscapes

  • Engineering & Computer Science (AREA)
  • Mechanical Engineering (AREA)
  • Continuous Casting (AREA)

Description

    TECHNICAL FIELD
  • The present invention relates to a casting installation and a casting method using the same, and more particularly, to a casting installation that may easily produce a slab for an extremely thick steel material and enhance quality, yielding percentage, and productivity of the slab and to a casting method using the same.
  • BACKGROUND ART
  • KR 2011 0074153 A discloses a vertical casting device comprising a cooling mold, a support, a solidifying unit, a magnetic-field applying and a cooling unit. KR 2010 0085748 A discloses a vertical semi-continuous caster comprising a cooling mold, supporting part, second solidification part, and a magnetic field application part.
    In general, an extremely thick steel material has a thickness of at least 100 mm, and internal quality such as porosity and mechanical properties such as impact and toughness of the extremely thick steel material are managed with a thickness reduction ratio (slab thickness/product thickness) limited according to an intended use. For example, as marine structural steel, there is required an extremely thick steel material having the thickness reduction ratio of 4 or more and pressure steel and wind power structural steel requires the thickness reduction ratio of 3 or more.
  • Currently, an extremely thick steel material may be produced through predetermined post-processes such as forging and rolling of an ingot or slab produced by a continuous casting process. An ingot process is, for example, disclosed in KR 2008-0034951 . A continuous casting process is, for example, disclosed in JP 2002-361374 . When an extremely thick steel material is produced by the ingot process, i.e., the former method, the ingot is produced into an extremely thick steel material product by a forging process or is subject to an additional rolling process. In particular, since the extremely thick steel material requiting a high thickness reduction ratio regards the internal quality as an important factor, a slab mostly cast in an ingot is subjected to a forging operation and then produced through a rolling process.
  • As such, producing an extremely thick steel material by using a slab cast in an ingot may correspond to the production of an extremely thick steel material having a high thickness reduction ratio and has an advantage for the production of a small-lot in consideration of a demand characteristic of the extremely thick steel material. However, the slab produced by using the ingot process requires cutting of an unsound region for removing the unsound region generated around a riser and a main riser. Thus, deterioration in yielding percentage of the slab is caused due to cutting of upper and lower regions of the slab, so that production costs for producing the extremely thick steel material is increased.
  • Meanwhile, when an extremely thick steel material is produced by the continuous casting process, i.e., the latter method, in general, the extremely thick steel material is produced by a method of rolling a slab subject to a continuous cast. Although the latter method is excellent in yielding process and thus superior to the ingot process in terms of production costs when compared to the ingot process, there is a problem in that a thickness of the extremely thick steel material is also limited due to a limited slab thickness when steel products requiring a high thickness reduction ratio are produced.
  • Further, since the extremely thick steel material is relatively thick compared to a normal slab, it takes a long time until the slab is completely solidified after being cast. When a slab for an extremely thick steel material thicker than a general slab produced by a general caster is produced by a conventional casting method in which molten steel is continuous cast and cut, solidification is completed to an inside of the slab and thus the installation of the caster becomes very long for a cutting process, which leads to enlargement of the installation, resulting in consumption of enormous initial cost in terms of production costs.
  • In addition, since possibility in which an internal defect of the slab occurs is high compared to an ingot material, there is a high possibility in which an internal defect in a continuous cast slab may remain in the extremely thick steel material. In addition, since a continuous cast installation for producing a slab is optimized for mass production, there is a disadvantageous problem in terms of production of a small-lot.
  • Thus, development of new installation and process is urgently required for producing a slab for extremely thick steel material having a high thickness reduction ratio, the slab being not easy to be produced in a general casting installation. That is, required is an installation and process which is capable of enhancing internal quality and yielding percentage same as or better than an ingot slab in terms of steel quality, is advantageous in producing various kinds of small-lot extremely thick steel materials in terms of production, and is capable of enhancing productivity compared to the production of the ingot slab.
  • DISCLOSURE OF THE INVENTION TECHNICAL PROBLEM
  • The present invention provides a casting installation easily producing a slab for an extremely thick steel material and to a casting method using the same.
  • The present invention also provides to a casting installation capable of enhancing quality and yielding percentage of a slab and to a casting method using the same.
  • The present invention also provides to a casting installation capable of enhancing productivity of a slab and efficiency of a process installation and to a casting method using the same.
  • TECHNICAL SOLUTION
  • A casting installation according to the present invention includes the features of claim 1.
  • The first stirrer may have coils wound around the slab and disposed in the form of a circle.
  • The casting unit may include a second quality controller provided on an outside of a passage of the casting unit through which molten steel passes.
  • The accommodation unit may include a mold configured to form the passage through which the molten steel supplied to a tundish passes, and the mold may be formed so that the slab has a thickness of 800 mm or less and a width of 2000 mm or less.
  • The second quality controller may include: a stirring unit including at least one stirrer disposed on an outside of the mold and configured to stir at least any one of the molten steel and unsolidified molten steel inside the slab; a second heater installed so as to be able to move forward and backward in a region directly below the mold and configured to heat an upper portion of the slab.
  • The stirring unit may include: a third stirrer disposed in proximity to the mold and able to elevate in a drawing direction of the slab; a fourth stirrers provided spaced apart below the third stirrer and able to elevate in the drawing direction of the slab.
  • The third stirrer may have coils wound around the mold or the slab and disposed in the form of a circle.
  • A pusher for separating the slab from the drawing machine may be provided to the casting unit and the pusher may be installed so as to be able to reciprocally move forward and backward toward the solidification unit.
  • A transfer unit transferring the slab from the casting unit to the solidification unit or from the solidification unit to an outside of the solidification unit may be provided.
  • A casting method according to the present invention comprises the features of claim 10.
  • The casting of the molten steel is repeated in the casting unit after the slab is transferred to the solidification unit.
  • When the casting of the molten steel is repeated, the transferring the slab to the solidification unit may be performed while the molten steel is transferred to the casting unit so that preparing the casting is performed.
  • When the casting of the molten steel is a single casting, that is one time casting, the solidification of the slab may be completed in the casting unit or after the slab is transferred to the solidification unit.
  • The molten steel may be cast at a casting rate 0.3m per minute or less.
  • ADVANTAGEOUS EFFECTS
  • According to a casting installation and a casting method using the same according to embodiments of the present invention, it is possible to improve yielding percentage of a slab produced by a continuous casting. That is, when a slab cast in a casting unit is solidified in a casting unit or a solidification unit, the length of a pipe generated at an upper portion of the slab is reduced to enhance yielding percentage of the slab by delaying solidification of the upper portion of the slab by using a second heater or a first heater.
  • In addition, molten steel remaining in a mold is stirred to enhance inner quality during casting and unsolidified molten steel in slab is stirred after a casting is completed, so that the equiaxed crystal ratio in the slab may be enhanced, segregation and porosity may be reduced, and an internal defect such as a pipe occurring at an edge end of the slab may be reduced.
  • In addition, according to the present invention, it is possible to continuously cast another slab in a casting unit during a process in which solidification of a slab is performed in a solidification unit. Thus, since a process required for solidification of an extremely thick steel material may be completed in the solidification unit, a casting of molten steel may not stop, thus capable of improving productivity of a slab and efficiency of a process installation.
  • BRIEF DESCRIPTION OF THE DRAWINGS
  • FIG. 1
    illustrates a view of a casting installation according to an embodiment of the present invention.
    FIG. 2
    illustrates a flow chart of a casting method according to an embodiment of the present invention.
    FIG. 3
    illustrates a view of an operating state of a casting installation according to a casting method in FIG. 2.
    MODE FOR CARRYING OUT THE INVENTION
  • Hereinafter, specific embodiments will be described in detail with reference to the accompanying drawings. The present invention may, however, be embodied in different forms and should not be construed as limited to the embodiments set forth herein. Rather, these embodiments are provided so that this disclosure will be thorough and complete, and will fully convey the scope of the present invention to those skilled in the art. Like reference numerals refer to like elements throughout.
  • FIG. 1 illustrates a view of a casting installation according to an embodiment of the present invention. FIG. 2 illustrates a flow chart of a casting method according to an embodiment of the present invention. FIG. 3 illustrates a view of an operating state of a casting installation according to a casting method in FIG. 2. FIGS. 3A to 3F illustrate changes in the casting installation working to produce slab.
  • Referring to FIG. 1, a casting installation 1 as an installation to produce a slab for an extremely thick steel material according to an embodiment of the present invention includes a casting unit 1a defining a passage through which molten steel passes and for casting the molten steel into a slab; and a solidification unit 1b including: a support unit 500 disposed spaced apart from the casting unit 1a and receiving the slab from the casting unit 1a and disposed on at least any one place of sides of the slab to support the slab; and a first quality controller 600 provided on an outside of the slab to induce solidification of the slab.
  • The casting unit 1a as a section in which continuous casting of refined molten steel is carried out includes: an accommodation unit 100 accommodating the molten steel; a drawing machine 200 drawing the slab from the accommodation unit 100 to a lower portion; and a second quality controller 300 provided on an outside of the passage through which the molten steel passes.
  • The accommodation unit 100 defines a space accommodating molten steel before the casting of the molten steel and includes a ladle 120 accommodating molten steel, a tundish 140 receiving the molten steel from the ladle 120, and a mold 160 disposed spaced apart below the tundish 140.
  • The ladle 120 is a container for accommodating molten steel after refining is completed and may be produced in various hollow shapes having an internal space capable of accommodating the molten steel. In general, the ladle 120 may be provided in plurality to increase the circulation rate of a continuous casting installation.
  • The tundish 140 is produced in the shape of a hollow container capable of accommodating the molten steel supplied from the ladle 120. An outlet discharging molten steel is formed in the bottom of the tundish 140, so that the molten steel accommodated in the tundish 140 may be discharged to the outside through the outlet. The molten steel accommodated in the tundish 140 stays inside the tundish 140 for a period of time, thus being poured into the mold 160 after flotation of inclusion contained in the molten steel.
  • The mold 160 is provided for shaping the molten steel poured from the tundish 140 in an appropriate size to produce a slab, thus defining width and thickness of a passage through which the molten steel passes. The mold 160 of the present invention may be formed such that a slab has a thickness of 800 mm or less and a width of 2000 mm or less in order to cope with the size of a slab for an extremely thick steel material. That is, use of the mold 160 having a greatly increased thickness compared to a mold of a conventional casting installation allows a slab subjected to forging and rolling processes to have a thickness used for the extremely thick steel material.
  • Meanwhile, there may be provided a guide roll 170 guiding a slab having an initial shell to the outside of the mold 160 through the mold 160, a cooling nozzle (not shown) cooling the slab guided from the guide roll 170, and a vibrator (not shown) transmitting vibration to the mold 160 so that the slab inside the mold is easily drawn to the outside of the mold 160. In the present invention, it is not necessary to particularly limit the configuration of the guide roll 170, the cooling nozzle, and the vibrator, but various configurations and operating methods thereof are already widely known to those skilled in the art, so that a detailed description thereof will be omitted.
  • The drawing machine 200 as a machine for drawing a slab from the accommodation unit 100 to a lower portion, includes: a surface plate 220 which is initially disposed inside the mold and receives molten steel to prevent the molten steel from spilling downwards from the mold 160 and connects the primary solidified slab to an actuator 240, and the actuator 240 drawing the slab to the lower portion.
  • The surface plate 220 is provided for connecting a slab to the actuator 240, and a plate having a specific-shaped surface is used for easy connection to the slab. Although the present invention does not limit the shape and the material of the surface plate 220, it is preferable that the surface plate 200 is made of such a material that does not lead to deformation which may be caused by to a slab of a high temperature when being in contact with the slab.
  • The actuator 240 is a device for lowering the surface plate 220, and a slab connected to the surface plate 220 may be drawn downwards by lowering the surface plate 220 connected to the actuator 240. The actuator 240 may employ a device capable of descending to a lower portion when the slab is drawn and ascending at an initial stage of casting so that the surface plate 220 is positioned inside the mold 160. That is, a device capable of descending and ascending may be used as the actuator 240.
  • The second quality controller 300 is provided for improving quality of a slab drawn from the drawing machine 200 and includes: a stirring unit 320 including at least one stirrer disposed on an outside of the mold 160 and configured to stir at least any one of molten steel in the mold 160 and unsolidified molten steel inside the slab; and a second heater 340 installed so as to be able to move forward and backward in a region directly below the mold 160 and configured to heat an upper portion of the slab.
  • The stirring unit 320 is a device having at least one stirrer on an outside of the mold 160 to improve quality of a slab and includes: a third stirrer 322 disposed in proximity to the mold 160 and able to elevate in a drawing direction of the slab; and a fourth stirrer 324 provided spaced apart below the third stirrer 322 and able to elevate in the drawing direction of the slab. That is, the stirring unit 320 stirs at least any one of molten steel accommodated in a molten state in the mold 160 and unsolidified molten steel in the produced slab to perform grain refinement on a slab, thereby being capable of improving quality of the slab.
  • As illustrated in FIG. 1, the third stirrer 322 is disposed spaced apart at a predetermined distance from a side of the mold 160, and stirs molten steel accommodated in the mold 160 during the casting. When the casting starts, the third stirrer 322 descends by a predetermined distance along with a slab to stir unsolidified molten steel inside the slab. That is, when molten steel is poured to the mold 160, the third stirrer 322 applies an electromagnetic field to the molten steel from a side of the mold 160 to stir the molten steel, and when pouring of the molten steel into the mold 160 is completed, the third stirrer 322 may stir unsolidified molten steel inside a slab while descending to a lower portion along with the slab. An electromagnetic stirrer (EMS) may be used as the third stirrer 322. The electromagnetic stirrer being able to be used as the third stirrer 322 typically has a low frequency (Hz) band corresponding to a frequency enough to stir molten steel in a molten state.
  • The fourth stirrer 324 is provided spaced apart at a predetermined distance below the third stirrer 322, and elevates in a drawing direction of a slab to stir unsolidified molten steel in the slab. A final electromagnetic stirrer (FEMS) may be used as the fourth stirrer 324. The fourth stirrer 324 is disposed in a relatively lower portion compared to the third stirrer 322, and it is preferable to use a stirring device having a higher frequency (Hz) than the third stirrer 322 in order to stir molten steel existing inside a solidified region in a lower portion of a slab (a lower portion from the center with respect to a longitudinal direction of a slab) in which solidification has progressed to some extent.
  • Thus, the stirring unit 320 stirs solidified molten steel in the mold and unsolidified molten steel in the slab, thereby being capable of enhancing the equiaxed crystal ratio in slab and reducing segregation and porosity. Meanwhile, the present invention does not limit a stirring region of a slab stirred by the third and fourth stirrers 322 and 324 and an elevating width of the stirrers, and various moving ranges may be applicable according to casting conditions.
  • The second heater 340 is a device disposed outside of the mold 160 and installed so as to be able to move forward and backward in a region directly below the mold (a path in a drawing direction of a slab) to heat an upper portion of the cast slab (tail portion). In this embodiment, a method according to induction heating (electromagnetic heater, EMH) was employed. The second heater 340 indirectly heats the upper side of a slab by using an electromagnetic field generated in an induction heating coil by power supply, and is wound so as to surround the slab while being spaced apart at a predetermined interval from four directional sides of the slab. Thus, the second heater 340 preferably uses an induction coil having a shape corresponding to a cross-section of the slab, but not limited thereto, may be wound in various forms.
  • Meanwhile, a pusher 400 may be provided to the casting unit 1a so as to transfer a slab to the solidification unit 1b after casting of molten steel is completed.
  • The pusher 400 is a device disposed in a position facing the solidification unit 1b of sides of the casting unit 1a and pushing a side of a slab and separating the slab from the drawing machine 200 to deliver the slab towards the solidification unit 1b. A device capable of reciprocally moving a predetermined distance may be used for the pusher 400, and for example, a stepping motor, an actuator, a solenoid, or the like may be used. As an example, when an actuator is used as the pusher 400, a piston reciprocally moves while being inserted and ejected into/from a cylinder, thus being able to push the slab toward the solidification unit 1b and then return back to an original position. A device delivering the slab of the casting unit 1a to the solidification unit 1b is not limited to the pusher 400 and may be a variety of devices.
  • The solidification unit 1b is a section receiving a slab so as to solidify the slab cast from the above described casting unit 1a and includes: a support unit 500 disposed on at least any one side of the slab to support the slab; and a first quality controller 600 provided on an outside of the slab to induce solidification of the slab. The solidification unit 1b receives the slab from a section spaced apart at a predetermined distance from the casting unit 1a, completes solidification of the slab, and then transfers the slab to a post-process (for example, forging or rolling).
  • The support unit 500 is provided so that the slab is stably positioned in the solidification unit 1b and includes: a support block 520 disposed in contact with the bottom of the slab; and a support frame 540 disposed surrounding a portion of a side of the slab. However, the configuration of the support unit 500 is not limited thereto, but the slab may be supported by a variety of devices and methods within the extent not interfering with the movement of the first quality controller 600.
  • The supporting block 520 uses a block in a shape similar to the surface plate 220 of the casting unit 1a. The support block 520 plays a role of supporting a lower portion of the slab disposed in the solidification unit 1b in a drawing direction, i.e. a longitudinal direction.
  • The support frame 540 may be disposed spaced apart at a predetermined distance from a side of the slab and surrounding a portion of a side of the slab so as to suppress and prevent the slab disposed in the longitudinal direction from falling, as illustrated in an enlarged view in FIG. 1.
  • The first quality controller 600 as a device provided on an outside of a slab and to ensure slab quality includes: a first stirrer 620 disposed in proximity to an outside of the slab and able to elevate in a longitudinal direction of the slab; a second stirrer 640 provided spaced apart below the first stirrer 620 and able to elevate in the longitudinal direction of the slab; and a first heater 660 configured to heat an upper portion of the slab. That is, since solidification of the slab which is naturally cooled is not completed, the first quality controller 600 may be provided with a device the same as or similar to the casting unit 1a to continue a treatment process for improving slab quality.
  • The first stirrer 620 as a device for stirring unsolidified molten steel in a slab delivered to the solidification unit 1b is disposed spaced apart at a predetermined distance from the slab. The first stirrer 620 may be installed so as to be able to elevate in such a way that the first stirrer 620 descends to be disposed on a side of the slab when the slab is delivered to the solidification unit 1b with the first stirrer 620 being disposed at the same height as or a similar height to the third stirrer 322. The first stirrer 620 is disposed in an upper portion outside of the slab. That is, the first stirrer 620 is disposed above the center of the slab with respect to a longitudinal direction of the slab. An unsolidified region in an upper portion of the slab, which is stirred by the first stirrer 620, is subjected to relatively less progressed solidification than a lower portion of the slab, so that a large amount of unsolidified molten steel is included in the slab compared to the lower portion of the slab. Thus, an electromagnetic stirrer (EMS) similar to the third stirrer 322 may be used.
  • Meanwhile, although the first stirrer 620 uses a device similar to the third stirrer 322, the first and third stirrers 620 and 322 may be different in the size of a frequency generated thereby or the operating time thereof from each other. That is, the third stirrer 322 stirs molten steel in the mold 160 or molten steel in an initial slab subjected to solidification, and thus uses a frequency less than about 1 Hz. The third stirrer 322 operates during the following processes: pouring of molten steel into the mold 160, casting the molten steel into a slab, and transferring of the slab to the solidification unit 1b. In the case of the first stirrer 620, due to a characteristic of the slab transferred to the solidification unit 1b, the slab is not provided with the mold and forms a thicker solidified shell compared to the slab cast in the casting unit. Therefore, the first stirrer 620 uses a frequency of up to 5 Hz and operates until the casting of the slab is completed so that the magnetic field of the first stirrer 620 passes through the thickened solidified shell to stir unsolidified molten steel in the slab. However, solidification of a slab occurs in a wide variety of forms according to casting situations and casting conditions, so that the third and first stirrers 322 and 620 may use a frequency in a range of 0 to 5 Hz according to various operation patterns. In addition, the first stirrer 620 disposed in the solidification unit 1b in FIG. 3D stirs unsolidified molten steel in the slab to equalize temperatures of unsolidified molten steel in the slab during solidification of the slab in the solidification unit 1a, thus being able to operate very efficiently in reducing pipe defects inside the slab in such a way that the first heater 660 heats an upper side of the slab to prevent an upper portion of the slab from being pre-solidified. Similarly, the third stirrer 322 disposed in the casting unit 1a in FIG. 3F stirs unsolidified molten steel in the slab to equalize temperatures of unsolidified molten steel in the slab during solidification of the slab in the casting unit 1a, thus being able to operate very efficiently in reducing pipe defects inside the slab in such a way that the second heater heats an upper side of the slab to prevent an upper portion of the slab from being pre-solidified.
  • The second stirrer 640 is provided spaced apart at a predetermined distance below the first stirrer 620 and installed so as to elevate in a longitudinal direction of a slab to stir unsolidified molten steel in the slab. That is, the second stirrer 640 is disposed below the center of the slab with respect to a longitudinal direction of the slab. Although the second stirrer 640 may use a final electromagnetic stirrer (FEMS) similar to the fourth stirrer 324 so as to stir unsolidified molten steel in a lower region outside of the slab, the second and fourth stirrers 640 and 324 may be different in the size of a frequency generated thereby or the operating time thereof from each other. That is, the fourth stirrer 322 uses a frequency of up to about 3 Hz so as to stir unsolidified molten steel in the slab which is being solidified in the casting unit 1a. The fourth stirrer 324 operates before the slab cast in the casting unit 1a is transferred to the solidification unit 1b. In the case of the second stirrer 640, due to a characteristic of the slab transferred to the solidification unit 1b, the slab forms a thicker solidified shell compared to the slab cast in the casting unit. Therefore, the second stirrer 640 uses a frequency of up to 6 Hz and operates until the casting of the slab is completed. However, solidification of a slab occurs in a wide variety of forms according to casting situations and casting conditions, so that the fourth and second stirrers 324 and 640 may use a frequency in a range of 0 to 6 Hz according to various operation patterns.
  • Meanwhile, in the embodiment, although the first and second stirrers 620 and 640 are provided in plurality to respectively stir unsolidified molten steel in different regions of the slab, an apparatus and a method for stirring unsolidified molten steel in the slab in the solidification unit 1b are not limited thereto. That is, the embodiment may be modified to various methods and apparatus shapes in such a way that a single stirrer is provided and a whole region from an upper portion to a lower portion of the slab may be stirred while the frequency of the stirrer is being changed.
  • Thus, the first and second stirrers 620 and 640 stir molten steel until solidification of the slab transferred to the solidification unit 1b is completed, thus being able to enhance the equiaxed crystal ratio in the slab and improve slab quality by reducing segregation and porosity as in the stirring unit 320 of the casting unit 1a.
  • Meanwhile, in the case of the third and first stirrers 322 and 620 applied to the present invention, in order to ensure a uniform stirring force in molten steel in the slab according to significantly increased sizes compared to molds applied to existing continuous casting machines, coils wound around the mold 160 or the slab were disposed in the form of a circle to perform rotation-type stirring on unsolidified molten steel in the mold or the slab.
  • The first heater 660 is a device installed so as to be able to move forward and backward in a direct upper region of slab for heating an upper portion of the slab in an outside of the slab and configured to heat an upper portion (tail portion) of the slab transferred to the solidification unit 1b. Since the first heater 660 has similar configuration and effect as in the second heater 340, a detailed description thereof will not be repeated.
  • The above described casting installation 1 may include a transfer unit which transfers the slab from the casting unit 1a to the solidification unit 1b and/or from the solidification unit 1b to the outside of the solidification unit 1b, i.e. a post-process.
  • The transfer unit 700 is a device disposed on one side of the solidification unit 1b and formed so as to be able to move forward and backward toward the casting unit or the solidification unit to transfer the slab. The transfer unit 700 includes: a tilting unit 720 for tilting the slab in contact with the slab in the casting unit 1a or transferring the slab from the casting unit 1a to the solidification unit 1b; and a driving unit 740 controlling operation of the tilting unit 720.
  • The tilting unit 720 is disposed on one side of the slab and transfers the slab while being tilted or moved forward and backward by the driving unit, and the support block 520 of the solidification unit 1b is connected to transfer the slab. That is, the slab may be transferred from the casting unit 1a to the solidification unit 1b in such a way that one side of the tilting unit 720 is connected to the support block 520 supporting the slab and the slab is disposed on the support block 520. When the slab is transferred from the solidification unit 1b to the outside of the solidification unit, the tilting unit 720 is tilted with the slab being in contact with one side of the tilting unit 720 and the slab may be seated on the tilting unit disposed in the transferring direction. On a side in which the tilting unit 720 contacts the slab, a roller 725 may be mounted to easily transfer the slab.
  • The driving unit 740 controls operation of the tilting unit 720, and may allow the tilting unit 720 to move forward and backward so that the tilting unit 720 approaches or recedes from the casting unit 1a. In addition, the driving unit 740 allows the tilting unit 720 to be tilted and communicate with a roller table 800 guiding the tilting unit 720 and the slab to a post-process. A device such as the pusher 400 of the casting unit 1a capable of reciprocally moving a predetermined distance may be used for the driving unit 740, and for example, when an actuator is used, the tilting unit 720 may be connected to an end of a piston so as to enable angle adjustment.
  • In this way, in this embodiment, although the method and device as described above are used for the transfer unit 700 transferring the slab, the device and operating method used for the transfer unit 700 are not limited thereto, and various devices and methods capable of easily transferring the slab may be used when the slab is transferred from the casting unit 1a to the solidification unit 1b or from the solidification unit 1b to a post-process.
  • Hereinafter, a casting method using the above-described casting installation will be described.
  • Referring to FIG. 2, a casting method according to an embodiment of the present invention includes: providing molten steel to prepare casting; casting the molten steel in a casting unit allowing a passage through which the molten steel passes to be opened or closed; and transferring a slab produced through the casting to a solidification unit.
  • First, molten steel after refining is completed is accommodated in a ladle 120 and then transferred to the casting unit so as to start casting. The molten steel transferred to the casting unit is supplied to the tundish 140 from the ladle 120, flotation of inclusion is then performed in the tundish 140 for a period of time, and the molten steel is then poured to the mold, thereby performing the process in the casting unit 1a (S100). As illustrated in FIG. 3, preparation of the casting is competed in a condition in which the surface plate 220 is positioned in a mold to prevent molten steel poured to the mold 160 from being discharged to the outside (S120).
  • After the preparation of the cast is completed, as illustrated in FIG. 3B, as the drawing machine 200 operates to lower the surface plate 220 down and a slab S1 connected to the surface plate 220 is drawn downwards to start the casting, slab is produced (S140). Before the casting starts, the third stirrer 322 is operated to stir molten steel in the mold. The slab is produced in a size of a maximum thickness of 800 mm, a maximum width of 2000 mm, and cast at a casting rate of 0.3m per minute or less. By a characteristic of an extremely thick steel material, the mold 160 in which a slab has an increased thickness needs to be used so as to obtain a final product having an increased thickness. A reason why the slab is cast at a low casting rate of 0.3 m per minute is that suppressing occurrence of segregation to secure internal quality by casting at a slow casting rate and securing a sufficient thickness of the solidified shell during casting are required as a solidification rate of a slab for the extremely thick steel material is slow unlike a general slab.
  • While the casting is in progress, the third stirrer 322 continually stirs molten steel in the mold and the fourth stirrer 324 continually stirs unsolidified molten steel inside the slab so that solidification proceeds by characteristic of thick slab. Thus, the third and fourth stirrers 322 and 324 may refine a structure of slab by continuously stirring molten steel to enhance quality and equiaxed crystal ratio of slab.
  • When the casting is complete on the casting unit 1a (S160), the slab S1 located in the casting unit 1a is separated from the surface plate by the pusher 400 and supported by the transfer unit 700 to move to the solidification unit (S200). When a pushing force is delivered to the slab S1 by the pusher 400, the slab S1 may be transferred to the solidification unit 1b in a state solidification of a surface is advanced to a degree of no deformation. Meanwhile, the stirring unit 329 moving upper and lower portions in the casting and solidifying slab returns to its original position so as not to interfere with transfer of the slab S1.
  • After the slab is transferred to the solidification unit 1b, a process of finally completing solidification of the slab S1 proceeds in the solidification unit 1b (S300). That is, since the slab S1 is solidified in the solidification unit 1b, a casting process may be performed in the casting unit 1a. When solidification of the slab S1 starts, the first quality controller 600 provided in the solidification unit 1b descends or ascends to be disposed spaced apart from an outside of slab. That is, as illustrated in FIG. 3, the first and second stirrers 620 and 640 are disposed outside of the slab for stirring unsolidified molten steel inside the slab S1 to operate until solidification of the slab S1 is completed.
  • In a process of solidifying the slab, the first heater 660 indirectly heats an upper portion of the slab inside each of regions to solidifying the upper portion of slab while heat is suppressed from being released from a side of the upper portion of the slab as much as possible. This may suppress or prevent unsolidified region of an upper portion of the slab from being pre-solidified by indirectly heating a side of an upper portion of the slab to minimize a solidification shrinkage defect such as a pipe. Thus, yielding percentage of slab is enhanced to improve yielding percentage of a final slab.
  • Thus, when solidification of the slab is completed in the solidified portion 1b, S340, as illustrated in FIG. 3E, the slab is tilted by the tilting unit 720 of the transfer unit 700 and the tilting unit 720 of the transfer unit 700 is connected to the roller table 800 disposed in vicinity of the transfer unit 700 and the slab is transferred to a post-process along the roller table 800.
  • Thus, the process of FIGS. 3A to 3F is not limited to a number of times and may be repeated. As illustrated (b) in FIG. 2, after a process of the casting unit 1a is completed, a process of the casting unit 1a is re-processed in the casting unit 1a and produces another slab S2 to be able to be repeated until obtaining required quantity while the slab S1 is transferred to the solidification unit to perform a process of the casting unit (slab solidification process).
  • When the process of the casting unit 1a no longer proceeds after repeating the above described process, that is, the last slab Se is produced in the casting unit 1a after the slab S2 in FIG. 3E is transferred to the solidification unit 1b, the slab Se in the casting unit 1a may finish solidification in the casting unit 1a without being transferred to the solidification unit 1b. That is, the slab Se finishes solidification by using the second quality controller 300 provided in the casting unit 1a and then may be transferred to a post-process (S360). The second heater 340 of the casting unit 1a indirectly heats an upper portion of the slab Se to perform a role of the first heater 660 of the solidification unit 1b. However, the last produced slab Se may be transferred to a post-process after being transferred to the solidification unit 1b and then completing a solidification process as similarly as the previously produced slabs S1 and S2. Thus, a position of the final slab Se is not limited.
  • Hereinafter, effects of the present invention will be described in more detail through experimental examples.
  • Table 1 shows the results of changes in slab thickness and yielding percentage of a finally produced slab in a variety of process conditions for producing the extremely thick steel material. [Table 1]
    Slab thickness (mm) Yielding percentage (%)
    Initial stage Middle stage Final stage
    Comparative Example 1 1500 300 178 52
    Comparative Example 2 450 - 150 95
    Example 800 300 178 89
  • Herein, the slab thickness of the initial stage indicates the thickness of the slab when an additional post-process is not performed on the slab of a completed cast. In addition, the slab thickness of the middle stage indicates the thickness of the slab after a forging process beating or pressing the slab and, the slab thickness of the final stage indicates the thickness of the slab after a rolling process.
  • Each of the slabs (Comparative Example 1, Comparative Example 2, Example) shown in Table 1 are slabs produced as a slab for the extremely thick steel material after undergone a casting process and then at least any one of a forging or a rolling process, and Table 1 may show following results as below.
  • [Comparative Example 1]
  • The slab in Comparative Example 1 is produced through an ingot process, thus being able to be obtained by supplying molten steel to a mold and cooling the molten steel. The slab produced as above has an initial thickness of about 1500 mm. Then, the slab finally has a thickness of about 178 mm after undergone a forging and rolling process so as to form a thickness for the extremely thick steel material. However, it may be confirmed that a total yielding percentage has a low value of about 52%.
  • [Comparative Example 2]
  • The Slab in Comparative Example 2 is produced through a normal casting installation, thus being able to be produced by continuously pouring and solidifying molten steel supplied from a steelmaking plant to a mold.
  • The slab in Comparative Example 2 is produced through a normal casting installation, thus being able to be produced by continuously pouring and solidifying molten steel supplied from a steelmaking plant to a mold. The slab produced as above has very high yielding percentage of about 95 %. However, in a generally used casting installation, the slab is produced to have an initial thickness of about 450 mm, thus having a thickness about 150 mm after a rolling process is completed. Thus, it may be confirmed that the slab is limited to have a thickness of about 150 mm when used for the extremely thick steel material.
  • [Example]
  • The slab in Example is produced through a casting installation according to an embodiment of the present invention, thus being produced through the slab having a maximum thickness of about 800 mm and a maximum width of about 2000 mm. Thus, the slab in Example produced to have an initial thickness of about 800 mm and may be confirmed to finally have a thickness of about 178 mm after undergone a forging and rolling process. In addition, since the casting installation is separated into a casting unit and a solidification unit and a process for preventing pre-solidification of an upper portion of the slab is performed, the slab in Example is confirmed to have a yielding percentage of about 89 %.
  • As such, the slab in Example has a yielding percentage significantly enhanced by about 40 % when compared to the slab of Comparative Example 1 and a thickness suitable for the extremely thick steel material when compared to the slab in Comparative Example 2. That is, the slab produced by the installation in Example may solve problems of a slab produced through an ingot casting and a conventional continuous casting.
  • In addition, the extremely thick steel material produced according to the embodiment was not observed to have a surface defect (for example, a corner crack) identified by a naked eye and segregation generated inside the slab as macro quality achieved equiaxed crystal ratio of 100 % by applying a molten steel stirrer to the slab. Accordingly, it may be confirmed that the extremely thick steel material produced according to the embodiment of the present invention is improved.
  • As described above, according to the embodiment of the present invention, since a continuous casting installation is separated into the casting unit and the solidification unit and the slab in which casting is completed in the casting unit is transferred to the solidification unit and the slab in which solidification is completed in the solidification unit is transferred to a post-process, the extremely thick steel material may be easily produced and quality and yielding percentage of the slab finally produced may be improved.
  • More specifically, since the slab produced in a casting unit is transferred to the solidification unit and then solidification of the slab is completed through the first quality controller and pre-solidification of an upper portion of the slab is suppressed or prevented to reduce formation of pipe, quality of the slab may be enhanced. Therefore, since cutting unsound region that is a problem of an ingot casting is not performed due to improved slab quality, yielding percentage of the slab may be enhanced.
  • In addition, since the next slab may be cast in the casting unit while the slab is transferred to the solidification unit and then solidified in the solidification unit, a problem of a batch process such as a conventional continuous casting may be solved. Thus, as a result, productivity of the slab may be increased. Further, the slab produced in a last casting process is not transferred to the solidification unit and solidification of the slab may be completed through the second quality controller provided in the casting unit. Thus, process efficiency may be improved.
  • The present invention will now be described more fully with reference to the accompanying drawings, in which exemplary embodiments of the invention are shown. The present invention is limited not thereto and but by Claims. Moreover, various changes and modifications within the scope not departing from the basic principles of the present invention are possible to those skilled in the art of the present invention.

Claims (12)

  1. A casting installation (1) comprising:
    a casting unit (1a) comprising an accommodation unit (100) configured to accommodate molten steel and solidify the molten steel, a drawing machine (200) configured to draw a slab downward from the accommodation unit (100), and a guide roll (170) configured to guide the slab, which is drawn from the accommodation unit (100) and solidified, to a lower side, the casting unit (1a) configured to cast the molten steel into the slab; and
    a solidification unit (1b) separated from the casting unit (1a) and disposed to be spaced apart from a side surface of the casting unit (1a), the solidification unit (1b) receiving the slab cast in the casting unit (1a) to induce the solidification, wherein the solidification unit (1b) comprising:
    a support unit (500) disposed on at least any one place of sides of the slab to support the slab; and
    a first quality controller (600) provided on an outside of the slab to induce solidification of the slab;
    wherein the first quality controller (600) comprises:
    a first stirrer (620) disposed in proximity to an outside of the slab and able to elevate in a longitudinal direction of the slab;
    a second stirrer (640) provided spaced apart below the first stirrer (620) and able to elevate in the longitudinal direction of the slab; and
    a first heater (660) installed so as to be able to move forward and backward in a region directly above the slab and configured to heat an upper portion of the slab.
  2. The casting installation (1) of claim 1, wherein the first stirrer (620) has coils wound around the slab and disposed in the form of a circle.
  3. The casting installation (1) of claim 1, wherein the casting unit (1a) comprises:
    a second quality controller (300) provided on an outside of a passage of the casting unit (1a) through which molten steel passes.
  4. The casting installation (1) of claim 3, wherein the accommodation unit (100) comprises a mold (160) configured to form the passage through which the molten steel supplied to a tundish (140) passes, and the mold (160) is formed so that the slab has a thickness of 100 mm to 800 mm and a width of 2000 mm or less.
  5. The casting installation (1) of claim 4, wherein the second quality controller (300) comprises:
    a stirring unit (320) comprising at least one stirrer disposed on an outside of the mold (160) and configured to stir at least any one of the molten steel and unsolidified molten steel inside the slab; and
    a second heater (340) installed so as to be able to move forward and backward in a region directly below the mold (160) and configured to heat an upper portion of the slab.
  6. The casting installation (1) of claim 5, wherein the stirring unit (320) comprises:
    a third stirrer disposed in proximity to the mold (160) and able to elevate in a drawing direction of the slab; and
    a fourth stirrer provided spaced apart below the third stirrer and able to elevate in the drawing direction of the slab.
  7. The casting installation (1) of claim 6, wherein the third stirrer has coils wound around the mold (160) or the slab and disposed in the form of a circle.
  8. The casting installation (1) of claim 3, wherein a pusher (400) for separating the slab from the drawing machine (200) is provided to the casting unit (1a) and the pusher is installed so as to be able to reciprocally move forward and backward toward the solidification unit (1b).
  9. The casting installation (1) of claim 1, wherein a transfer unit (700) transferring the slab from the casting unit (1a) to the solidification unit (1b) or from the solidification unit (1b) to an outside of the solidification unit (1b) is provided.
  10. A casting method comprising:
    providing molten steel to prepare casting;
    casting the molten steel in a casting unit (1a) allowing a passage through which the molten steel passes to be opened or closed;
    transferring a slab produced through the casting to a solidification unit (1b) that is separated from the casting unit (1a) and disposed to be spaced apart from a side surface of the casting unit (1a);
    completing solidification of the slab and preventing pre-solidification of an upper portion of the slab to reduce formation of pipe through a first quality controller (600) that is provided in the solidification unit (1b) and comprises:
    a first stirrer (620) that is disposed in proximity to an outside of the slab and spaced apart at a predetermined distance from the slab, and that is configured to elevate in a longitudinal direction of the slab,
    a second stirrer (640) that is provided spaced apart at a predetermined distance below the first stirrer (620) and configured to elevate in the longitudinal direction of the slab, and
    a first heater (660) configured to heat an upper portion of the slab;
    wherein unsolidified molten steel in the slab is stirred by the first stirrer (620), and by the second stirrer (640), and an upper portion of the slab in an outside of the slab is heated by the first heater (660); and
    transferring the slab, of which solidification is completed in the solidification unit (1b), to a post-process,
    wherein the casting of the molten steel is repeated in the casting unit (1a) after transferring the slab to the solidification unit (1b).
  11. The casting method of claim 10, wherein, when the casting of the molten steel is repeated, the transferring the slab to the solidification unit (1b) is performed while the molten steel is transferred to the casting unit (1a) so that preparing the casting is performed.
  12. The casting method of claim 10, wherein the molten steel is cast at a casting rate 0.3m per minute or less.
EP14762821.8A 2013-03-15 2014-03-14 Casting equipment and casting method using same Active EP2974810B2 (en)

Applications Claiming Priority (2)

Application Number Priority Date Filing Date Title
KR1020130027910A KR101511723B1 (en) 2013-03-15 2013-03-15 Casting apparatus and method using it
PCT/KR2014/002153 WO2014142597A1 (en) 2013-03-15 2014-03-14 Casting equipment and casting method using same

Publications (4)

Publication Number Publication Date
EP2974810A1 EP2974810A1 (en) 2016-01-20
EP2974810A4 EP2974810A4 (en) 2016-09-28
EP2974810B1 EP2974810B1 (en) 2018-07-25
EP2974810B2 true EP2974810B2 (en) 2025-02-26

Family

ID=51537132

Family Applications (1)

Application Number Title Priority Date Filing Date
EP14762821.8A Active EP2974810B2 (en) 2013-03-15 2014-03-14 Casting equipment and casting method using same

Country Status (9)

Country Link
US (1) US20160023269A1 (en)
EP (1) EP2974810B2 (en)
JP (1) JP6055114B2 (en)
KR (1) KR101511723B1 (en)
CN (1) CN105026073B (en)
BR (1) BR112015020565B1 (en)
ES (1) ES2693560T5 (en)
TR (1) TR201815354T4 (en)
WO (1) WO2014142597A1 (en)

Families Citing this family (12)

* Cited by examiner, † Cited by third party
Publication number Priority date Publication date Assignee Title
AT515244A2 (en) * 2013-12-30 2015-07-15 Inteco Special Melting Technologies Gmbh Method for producing long ingots of large cross section
KR101642904B1 (en) * 2014-10-20 2016-08-10 주식회사 포스코 Semi-continuous casting equipment of vertical type and casting method therewith
KR101755400B1 (en) * 2015-09-16 2017-07-27 주식회사 포스코 Semi-continuous casting equipment of vertical type
CN105568134A (en) * 2016-01-05 2016-05-11 江阴兴澄特种钢铁有限公司 Steel for carbon hub bearing of microalloying car and production method thereof
WO2017137094A1 (en) * 2016-02-12 2017-08-17 Rotelec Sa Apparatus and method for casting ingots
EP3427863A1 (en) * 2017-07-11 2019-01-16 INTECO melting and casting technologies GmbH Method and system for the production of cast blocks from metal
CN108672668A (en) * 2018-03-29 2018-10-19 马鞍山钢铁股份有限公司 The method and its control device of casting blank solidification institutional framework in a kind of control casting process
CN108436046B (en) * 2018-05-23 2023-11-24 中冶京诚工程技术有限公司 Vertical continuous casting production equipment and method for oversized round billet
CN108817332B (en) * 2018-06-26 2020-04-21 辽宁科技大学 A solidification quality control method for large-scale medium and high alloy steel vertical continuous casting billets
CN109317631B (en) * 2018-10-30 2020-08-07 武汉钢铁有限公司 Production method for improving texture uniformity of continuous casting square billet
KR102596672B1 (en) * 2020-08-11 2023-11-01 박성철 Refrigerator for grain having improved cooling efficiency by cooling aid material
CN113426970B (en) * 2021-06-11 2023-02-03 一重集团大连工程技术有限公司 Vertical semi-continuous production device and production process of large round billets with phi of 1000 mm-2000 mm

Citations (3)

* Cited by examiner, † Cited by third party
Publication number Priority date Publication date Assignee Title
US3620285A (en) 1969-03-21 1971-11-16 Olsson International Slab casting apparatus
KR20100085748A (en) 2009-01-21 2010-07-29 주식회사 포스코 Semi-continuous casting equipment of vertical type and casting method therewith
KR20110074153A (en) 2009-12-24 2011-06-30 주식회사 포스코 Vertical casting apparatus and casting method using the same

Family Cites Families (17)

* Cited by examiner, † Cited by third party
Publication number Priority date Publication date Assignee Title
US3667534A (en) 1971-03-11 1972-06-06 Sumitomo Metal Ind Steel ingot making method
JPS59218247A (en) * 1983-05-25 1984-12-08 Mitsubishi Heavy Ind Ltd Continuous casting method
JPS61212457A (en) * 1985-03-18 1986-09-20 Kobe Steel Ltd Vertical type continuous casting installation for slab having large section
JPS6340656A (en) * 1986-08-02 1988-02-22 Sumitomo Metal Ind Ltd Continuous caster for cast slab having large section
JP3104467B2 (en) * 1993-04-22 2000-10-30 神鋼電機株式会社 Vacuum melting continuous casting device capable of multipurpose casting
JPH0740019A (en) * 1993-07-28 1995-02-10 Kawasaki Steel Corp Method of reducing center segregation of slab in continuous casting of steel
JP3146904B2 (en) * 1995-02-07 2001-03-19 株式会社神戸製鋼所 Vertical continuous casting method for large section slabs
CN1226471A (en) * 1999-01-04 1999-08-25 刘定平 Process for rolling thick metal plates and sectional materials with hot moulds and fluid pouring with magnet suspension temperature reducing
JP4774632B2 (en) * 2001-05-31 2011-09-14 大同特殊鋼株式会社 Slab, vertical die casting method and vertical die casting apparatus
CN101443144A (en) * 2006-05-16 2009-05-27 Sms迪马格股份公司 Method and strand-guiding device for guiding a cast strand
JP5116265B2 (en) * 2006-07-13 2013-01-09 新日鐵住金ステンレス株式会社 Austenitic stainless rolled steel sheet excellent in strength and ductility and method for producing the same
KR100981566B1 (en) * 2007-12-18 2010-09-10 주식회사 포스코 Manufacturing method of ferritic stainless steel and continuous casting device therefor
US20090242165A1 (en) * 2008-03-25 2009-10-01 Beitelman Leonid S Modulated electromagnetic stirring of metals at advanced stage of solidification
KR20100025929A (en) * 2008-08-28 2010-03-10 현대제철 주식회사 Crack prevention system of thin slab in continuous casting
KR101272712B1 (en) 2010-12-28 2013-06-10 주식회사 포스코 Continuous casting method and apparatus
TWI496633B (en) * 2011-04-13 2015-08-21 Sms Siemag Ag Verfahren und vertikalstranggiessanlage zum herstellen von dicken brammen aus einer metallischen schmelze
CN202270944U (en) * 2011-09-30 2012-06-13 中冶南方工程技术有限公司 Extra-thick slab casting machine

Patent Citations (3)

* Cited by examiner, † Cited by third party
Publication number Priority date Publication date Assignee Title
US3620285A (en) 1969-03-21 1971-11-16 Olsson International Slab casting apparatus
KR20100085748A (en) 2009-01-21 2010-07-29 주식회사 포스코 Semi-continuous casting equipment of vertical type and casting method therewith
KR20110074153A (en) 2009-12-24 2011-06-30 주식회사 포스코 Vertical casting apparatus and casting method using the same

Also Published As

Publication number Publication date
ES2693560T5 (en) 2025-06-26
WO2014142597A1 (en) 2014-09-18
EP2974810A1 (en) 2016-01-20
KR20140113040A (en) 2014-09-24
KR101511723B1 (en) 2015-04-13
JP2016503730A (en) 2016-02-08
BR112015020565B1 (en) 2020-02-04
US20160023269A1 (en) 2016-01-28
ES2693560T3 (en) 2018-12-12
CN105026073B (en) 2018-02-23
TR201815354T4 (en) 2018-11-21
CN105026073A (en) 2015-11-04
BR112015020565A2 (en) 2017-07-18
JP6055114B2 (en) 2016-12-27
EP2974810A4 (en) 2016-09-28
EP2974810B1 (en) 2018-07-25

Similar Documents

Publication Publication Date Title
EP2974810B2 (en) Casting equipment and casting method using same
CN106457371B (en) Semi-continuous casting of steel strip
CN106029254B (en) Method and apparatus for manufacturing the longer ingot casting with larger cross section
CN102303102B (en) Continuous casting process and continuous casting machine for extra-thick plate blank
CN113426970B (en) Vertical semi-continuous production device and production process of large round billets with phi of 1000 mm-2000 mm
JP5741402B2 (en) Continuous casting method for circular section slabs
KR101642905B1 (en) Semi-continuous casting method of vettical type
KR101254110B1 (en) Continuous Casting Apparatus for Manufacturing Double-layered Metal Slab
CN113523208A (en) Composite continuous casting machine and production method thereof
JP5029324B2 (en) Steel continuous casting method
JPH07144255A (en) Vertical semicontinuous casting device for large cross section cast slab and carrying out method of cast slab
KR102910305B1 (en) Controlled casting of in-mold large-scale ingots using inductive variable power and variable frequency.
KR101565517B1 (en) Casting apparatus
KR20120071474A (en) A method of continuous casting double-layered metal slab
KR20150103889A (en) Casting method of slab
KR101261425B1 (en) A controlling apparatus for container height and the method thereof
CN210188431U (en) A progressive solidification forming device for large ingot or billet
KR20110138612A (en) Mold powder feeder
JPS61212457A (en) Vertical type continuous casting installation for slab having large section
JPS63180351A (en) Cast slab casting method
JP2001162352A (en) Method and apparatus for manufacturing small lot billets
JPS58187237A (en) Production of large sized steel ingot
JPH04274846A (en) Continuous casting mold for multilayer cast billet
KR20160044866A (en) Semi-continuous casting equipment of vertical type and casting method therewith

Legal Events

Date Code Title Description
PUAI Public reference made under article 153(3) epc to a published international application that has entered the european phase

Free format text: ORIGINAL CODE: 0009012

17P Request for examination filed

Effective date: 20150723

AK Designated contracting states

Kind code of ref document: A1

Designated state(s): AL AT BE BG CH CY CZ DE DK EE ES FI FR GB GR HR HU IE IS IT LI LT LU LV MC MK MT NL NO PL PT RO RS SE SI SK SM TR

AX Request for extension of the european patent

Extension state: BA ME

DAX Request for extension of the european patent (deleted)
REG Reference to a national code

Ref country code: DE

Ref legal event code: R079

Ref document number: 602014029182

Country of ref document: DE

Free format text: PREVIOUS MAIN CLASS: B22D0011120000

Ipc: B22D0007000000

A4 Supplementary search report drawn up and despatched

Effective date: 20160829

RIC1 Information provided on ipc code assigned before grant

Ipc: B22D 7/00 20060101AFI20160823BHEP

Ipc: B22D 11/115 20060101ALI20160823BHEP

Ipc: B22D 11/128 20060101ALI20160823BHEP

Ipc: B22D 11/041 20060101ALI20160823BHEP

Ipc: B22D 9/00 20060101ALI20160823BHEP

Ipc: B22D 11/12 20060101ALI20160823BHEP

Ipc: B22D 11/14 20060101ALI20160823BHEP

STAA Information on the status of an ep patent application or granted ep patent

Free format text: STATUS: EXAMINATION IS IN PROGRESS

17Q First examination report despatched

Effective date: 20170530

GRAP Despatch of communication of intention to grant a patent

Free format text: ORIGINAL CODE: EPIDOSNIGR1

STAA Information on the status of an ep patent application or granted ep patent

Free format text: STATUS: GRANT OF PATENT IS INTENDED

INTG Intention to grant announced

Effective date: 20180131

GRAS Grant fee paid

Free format text: ORIGINAL CODE: EPIDOSNIGR3

GRAA (expected) grant

Free format text: ORIGINAL CODE: 0009210

STAA Information on the status of an ep patent application or granted ep patent

Free format text: STATUS: THE PATENT HAS BEEN GRANTED

AK Designated contracting states

Kind code of ref document: B1

Designated state(s): AL AT BE BG CH CY CZ DE DK EE ES FI FR GB GR HR HU IE IS IT LI LT LU LV MC MK MT NL NO PL PT RO RS SE SI SK SM TR

REG Reference to a national code

Ref country code: GB

Ref legal event code: FG4D

REG Reference to a national code

Ref country code: CH

Ref legal event code: EP

REG Reference to a national code

Ref country code: AT

Ref legal event code: REF

Ref document number: 1021220

Country of ref document: AT

Kind code of ref document: T

Effective date: 20180815

REG Reference to a national code

Ref country code: IE

Ref legal event code: FG4D

REG Reference to a national code

Ref country code: DE

Ref legal event code: R096

Ref document number: 602014029182

Country of ref document: DE

REG Reference to a national code

Ref country code: NL

Ref legal event code: MP

Effective date: 20180725

REG Reference to a national code

Ref country code: LT

Ref legal event code: MG4D

REG Reference to a national code

Ref country code: ES

Ref legal event code: FG2A

Ref document number: 2693560

Country of ref document: ES

Kind code of ref document: T3

Effective date: 20181212

PG25 Lapsed in a contracting state [announced via postgrant information from national office to epo]

Ref country code: NL

Free format text: LAPSE BECAUSE OF FAILURE TO SUBMIT A TRANSLATION OF THE DESCRIPTION OR TO PAY THE FEE WITHIN THE PRESCRIBED TIME-LIMIT

Effective date: 20180725

PG25 Lapsed in a contracting state [announced via postgrant information from national office to epo]

Ref country code: SE

Free format text: LAPSE BECAUSE OF FAILURE TO SUBMIT A TRANSLATION OF THE DESCRIPTION OR TO PAY THE FEE WITHIN THE PRESCRIBED TIME-LIMIT

Effective date: 20180725

Ref country code: BG

Free format text: LAPSE BECAUSE OF FAILURE TO SUBMIT A TRANSLATION OF THE DESCRIPTION OR TO PAY THE FEE WITHIN THE PRESCRIBED TIME-LIMIT

Effective date: 20181025

Ref country code: RS

Free format text: LAPSE BECAUSE OF FAILURE TO SUBMIT A TRANSLATION OF THE DESCRIPTION OR TO PAY THE FEE WITHIN THE PRESCRIBED TIME-LIMIT

Effective date: 20180725

Ref country code: NO

Free format text: LAPSE BECAUSE OF FAILURE TO SUBMIT A TRANSLATION OF THE DESCRIPTION OR TO PAY THE FEE WITHIN THE PRESCRIBED TIME-LIMIT

Effective date: 20181025

Ref country code: PL

Free format text: LAPSE BECAUSE OF FAILURE TO SUBMIT A TRANSLATION OF THE DESCRIPTION OR TO PAY THE FEE WITHIN THE PRESCRIBED TIME-LIMIT

Effective date: 20180725

Ref country code: IS

Free format text: LAPSE BECAUSE OF FAILURE TO SUBMIT A TRANSLATION OF THE DESCRIPTION OR TO PAY THE FEE WITHIN THE PRESCRIBED TIME-LIMIT

Effective date: 20181125

Ref country code: LT

Free format text: LAPSE BECAUSE OF FAILURE TO SUBMIT A TRANSLATION OF THE DESCRIPTION OR TO PAY THE FEE WITHIN THE PRESCRIBED TIME-LIMIT

Effective date: 20180725

Ref country code: GR

Free format text: LAPSE BECAUSE OF FAILURE TO SUBMIT A TRANSLATION OF THE DESCRIPTION OR TO PAY THE FEE WITHIN THE PRESCRIBED TIME-LIMIT

Effective date: 20181026

Ref country code: FI

Free format text: LAPSE BECAUSE OF FAILURE TO SUBMIT A TRANSLATION OF THE DESCRIPTION OR TO PAY THE FEE WITHIN THE PRESCRIBED TIME-LIMIT

Effective date: 20180725

PG25 Lapsed in a contracting state [announced via postgrant information from national office to epo]

Ref country code: LV

Free format text: LAPSE BECAUSE OF FAILURE TO SUBMIT A TRANSLATION OF THE DESCRIPTION OR TO PAY THE FEE WITHIN THE PRESCRIBED TIME-LIMIT

Effective date: 20180725

Ref country code: AL

Free format text: LAPSE BECAUSE OF FAILURE TO SUBMIT A TRANSLATION OF THE DESCRIPTION OR TO PAY THE FEE WITHIN THE PRESCRIBED TIME-LIMIT

Effective date: 20180725

Ref country code: HR

Free format text: LAPSE BECAUSE OF FAILURE TO SUBMIT A TRANSLATION OF THE DESCRIPTION OR TO PAY THE FEE WITHIN THE PRESCRIBED TIME-LIMIT

Effective date: 20180725

REG Reference to a national code

Ref country code: DE

Ref legal event code: R026

Ref document number: 602014029182

Country of ref document: DE

PG25 Lapsed in a contracting state [announced via postgrant information from national office to epo]

Ref country code: RO

Free format text: LAPSE BECAUSE OF FAILURE TO SUBMIT A TRANSLATION OF THE DESCRIPTION OR TO PAY THE FEE WITHIN THE PRESCRIBED TIME-LIMIT

Effective date: 20180725

Ref country code: EE

Free format text: LAPSE BECAUSE OF FAILURE TO SUBMIT A TRANSLATION OF THE DESCRIPTION OR TO PAY THE FEE WITHIN THE PRESCRIBED TIME-LIMIT

Effective date: 20180725

Ref country code: CZ

Free format text: LAPSE BECAUSE OF FAILURE TO SUBMIT A TRANSLATION OF THE DESCRIPTION OR TO PAY THE FEE WITHIN THE PRESCRIBED TIME-LIMIT

Effective date: 20180725

PLBI Opposition filed

Free format text: ORIGINAL CODE: 0009260

PLAX Notice of opposition and request to file observation + time limit sent

Free format text: ORIGINAL CODE: EPIDOSNOBS2

PG25 Lapsed in a contracting state [announced via postgrant information from national office to epo]

Ref country code: SM

Free format text: LAPSE BECAUSE OF FAILURE TO SUBMIT A TRANSLATION OF THE DESCRIPTION OR TO PAY THE FEE WITHIN THE PRESCRIBED TIME-LIMIT

Effective date: 20180725

Ref country code: SK

Free format text: LAPSE BECAUSE OF FAILURE TO SUBMIT A TRANSLATION OF THE DESCRIPTION OR TO PAY THE FEE WITHIN THE PRESCRIBED TIME-LIMIT

Effective date: 20180725

Ref country code: DK

Free format text: LAPSE BECAUSE OF FAILURE TO SUBMIT A TRANSLATION OF THE DESCRIPTION OR TO PAY THE FEE WITHIN THE PRESCRIBED TIME-LIMIT

Effective date: 20180725

26 Opposition filed

Opponent name: DANIELI & C. OFFICINE MECCANICHE SPA

Effective date: 20190424

PG25 Lapsed in a contracting state [announced via postgrant information from national office to epo]

Ref country code: SI

Free format text: LAPSE BECAUSE OF FAILURE TO SUBMIT A TRANSLATION OF THE DESCRIPTION OR TO PAY THE FEE WITHIN THE PRESCRIBED TIME-LIMIT

Effective date: 20180725

PLBB Reply of patent proprietor to notice(s) of opposition received

Free format text: ORIGINAL CODE: EPIDOSNOBS3

PG25 Lapsed in a contracting state [announced via postgrant information from national office to epo]

Ref country code: MC

Free format text: LAPSE BECAUSE OF FAILURE TO SUBMIT A TRANSLATION OF THE DESCRIPTION OR TO PAY THE FEE WITHIN THE PRESCRIBED TIME-LIMIT

Effective date: 20180725

REG Reference to a national code

Ref country code: CH

Ref legal event code: PL

PG25 Lapsed in a contracting state [announced via postgrant information from national office to epo]

Ref country code: LU

Free format text: LAPSE BECAUSE OF NON-PAYMENT OF DUE FEES

Effective date: 20190314

REG Reference to a national code

Ref country code: BE

Ref legal event code: MM

Effective date: 20190331

PG25 Lapsed in a contracting state [announced via postgrant information from national office to epo]

Ref country code: LI

Free format text: LAPSE BECAUSE OF NON-PAYMENT OF DUE FEES

Effective date: 20190331

Ref country code: IE

Free format text: LAPSE BECAUSE OF NON-PAYMENT OF DUE FEES

Effective date: 20190314

Ref country code: CH

Free format text: LAPSE BECAUSE OF NON-PAYMENT OF DUE FEES

Effective date: 20190331

PG25 Lapsed in a contracting state [announced via postgrant information from national office to epo]

Ref country code: BE

Free format text: LAPSE BECAUSE OF NON-PAYMENT OF DUE FEES

Effective date: 20190331

PG25 Lapsed in a contracting state [announced via postgrant information from national office to epo]

Ref country code: PT

Free format text: LAPSE BECAUSE OF FAILURE TO SUBMIT A TRANSLATION OF THE DESCRIPTION OR TO PAY THE FEE WITHIN THE PRESCRIBED TIME-LIMIT

Effective date: 20181125

Ref country code: MT

Free format text: LAPSE BECAUSE OF NON-PAYMENT OF DUE FEES

Effective date: 20190314

REG Reference to a national code

Ref country code: AT

Ref legal event code: UEP

Ref document number: 1021220

Country of ref document: AT

Kind code of ref document: T

Effective date: 20180725

PG25 Lapsed in a contracting state [announced via postgrant information from national office to epo]

Ref country code: CY

Free format text: LAPSE BECAUSE OF FAILURE TO SUBMIT A TRANSLATION OF THE DESCRIPTION OR TO PAY THE FEE WITHIN THE PRESCRIBED TIME-LIMIT

Effective date: 20180725

PG25 Lapsed in a contracting state [announced via postgrant information from national office to epo]

Ref country code: HU

Free format text: LAPSE BECAUSE OF FAILURE TO SUBMIT A TRANSLATION OF THE DESCRIPTION OR TO PAY THE FEE WITHIN THE PRESCRIBED TIME-LIMIT; INVALID AB INITIO

Effective date: 20140314

APBM Appeal reference recorded

Free format text: ORIGINAL CODE: EPIDOSNREFNO

APBP Date of receipt of notice of appeal recorded

Free format text: ORIGINAL CODE: EPIDOSNNOA2O

APAH Appeal reference modified

Free format text: ORIGINAL CODE: EPIDOSCREFNO

APAW Appeal reference deleted

Free format text: ORIGINAL CODE: EPIDOSDREFNO

APBQ Date of receipt of statement of grounds of appeal recorded

Free format text: ORIGINAL CODE: EPIDOSNNOA3O

APBQ Date of receipt of statement of grounds of appeal recorded

Free format text: ORIGINAL CODE: EPIDOSNNOA3O

PG25 Lapsed in a contracting state [announced via postgrant information from national office to epo]

Ref country code: MK

Free format text: LAPSE BECAUSE OF FAILURE TO SUBMIT A TRANSLATION OF THE DESCRIPTION OR TO PAY THE FEE WITHIN THE PRESCRIBED TIME-LIMIT

Effective date: 20180725

REG Reference to a national code

Ref country code: DE

Ref legal event code: R081

Ref document number: 602014029182

Country of ref document: DE

Owner name: POSCO CO., LTD, POHANG-SI, KR

Free format text: FORMER OWNER: POSCO, POHANG-SI, GYEONGSANGBUK-DO, KR

Ref country code: DE

Ref legal event code: R081

Ref document number: 602014029182

Country of ref document: DE

Owner name: POSCO CO., LTD, POHANG- SI, KR

Free format text: FORMER OWNER: POSCO, POHANG-SI, GYEONGSANGBUK-DO, KR

Ref country code: DE

Ref legal event code: R081

Ref document number: 602014029182

Country of ref document: DE

Owner name: POSCO HOLDINGS INC., KR

Free format text: FORMER OWNER: POSCO, POHANG-SI, GYEONGSANGBUK-DO, KR

REG Reference to a national code

Ref country code: GB

Ref legal event code: 732E

Free format text: REGISTERED BETWEEN 20221027 AND 20221102

REG Reference to a national code

Ref country code: ES

Ref legal event code: PC2A

Owner name: POSCO HOLDINGS INC.

Effective date: 20230303

REG Reference to a national code

Ref country code: AT

Ref legal event code: PC

Ref document number: 1021220

Country of ref document: AT

Kind code of ref document: T

Owner name: POSCO CO., LTD, KR

Effective date: 20230228

REG Reference to a national code

Ref country code: DE

Ref legal event code: R081

Ref document number: 602014029182

Country of ref document: DE

Owner name: POSCO CO., LTD, POHANG-SI, KR

Free format text: FORMER OWNER: POSCO HOLDINGS INC., SEOUL, KR

Ref country code: DE

Ref legal event code: R081

Ref document number: 602014029182

Country of ref document: DE

Owner name: POSCO CO., LTD, POHANG- SI, KR

Free format text: FORMER OWNER: POSCO HOLDINGS INC., SEOUL, KR

APBU Appeal procedure closed

Free format text: ORIGINAL CODE: EPIDOSNNOA9O

PUAH Patent maintained in amended form

Free format text: ORIGINAL CODE: 0009272

STAA Information on the status of an ep patent application or granted ep patent

Free format text: STATUS: PATENT MAINTAINED AS AMENDED

27A Patent maintained in amended form

Effective date: 20250226

AK Designated contracting states

Kind code of ref document: B2

Designated state(s): AL AT BE BG CH CY CZ DE DK EE ES FI FR GB GR HR HU IE IS IT LI LT LU LV MC MK MT NL NO PL PT RO RS SE SI SK SM TR

REG Reference to a national code

Ref country code: DE

Ref legal event code: R102

Ref document number: 602014029182

Country of ref document: DE

PGFP Annual fee paid to national office [announced via postgrant information from national office to epo]

Ref country code: DE

Payment date: 20241223

Year of fee payment: 12

PGFP Annual fee paid to national office [announced via postgrant information from national office to epo]

Ref country code: AT

Payment date: 20250107

Year of fee payment: 12

PGFP Annual fee paid to national office [announced via postgrant information from national office to epo]

Ref country code: GB

Payment date: 20250106

Year of fee payment: 12

Ref country code: IT

Payment date: 20241224

Year of fee payment: 12

PGFP Annual fee paid to national office [announced via postgrant information from national office to epo]

Ref country code: TR

Payment date: 20250108

Year of fee payment: 12

REG Reference to a national code

Ref country code: ES

Ref legal event code: DC2A

Ref document number: 2693560

Country of ref document: ES

Kind code of ref document: T5

Effective date: 20250626

PGFP Annual fee paid to national office [announced via postgrant information from national office to epo]

Ref country code: ES

Payment date: 20250408

Year of fee payment: 12

PGFP Annual fee paid to national office [announced via postgrant information from national office to epo]

Ref country code: FR

Payment date: 20251223

Year of fee payment: 13