EP2848397B1 - Ballenpresse - Google Patents

Ballenpresse Download PDF

Info

Publication number
EP2848397B1
EP2848397B1 EP13184233.8A EP13184233A EP2848397B1 EP 2848397 B1 EP2848397 B1 EP 2848397B1 EP 13184233 A EP13184233 A EP 13184233A EP 2848397 B1 EP2848397 B1 EP 2848397B1
Authority
EP
European Patent Office
Prior art keywords
pressure
piston
pressure cylinder
cylinders
space
Prior art date
Legal status (The legal status is an assumption and is not a legal conclusion. Google has not performed a legal analysis and makes no representation as to the accuracy of the status listed.)
Active
Application number
EP13184233.8A
Other languages
German (de)
English (en)
French (fr)
Other versions
EP2848397A1 (de
Inventor
Achim Schautzgy
Marco Olk
Current Assignee (The listed assignees may be inaccurate. Google has not performed a legal analysis and makes no representation or warranty as to the accuracy of the list.)
Maschinenfabrik Bermatingen GmbH and Co KG
Original Assignee
Maschinenfabrik Bermatingen GmbH and Co KG
Priority date (The priority date is an assumption and is not a legal conclusion. Google has not performed a legal analysis and makes no representation as to the accuracy of the date listed.)
Filing date
Publication date
Application filed by Maschinenfabrik Bermatingen GmbH and Co KG filed Critical Maschinenfabrik Bermatingen GmbH and Co KG
Priority to EP13184233.8A priority Critical patent/EP2848397B1/de
Priority to PL13184233T priority patent/PL2848397T3/pl
Publication of EP2848397A1 publication Critical patent/EP2848397A1/de
Application granted granted Critical
Publication of EP2848397B1 publication Critical patent/EP2848397B1/de
Active legal-status Critical Current
Anticipated expiration legal-status Critical

Links

Images

Classifications

    • BPERFORMING OPERATIONS; TRANSPORTING
    • B30PRESSES
    • B30BPRESSES IN GENERAL
    • B30B9/00Presses specially adapted for particular purposes
    • B30B9/30Presses specially adapted for particular purposes for baling; Compression boxes therefor
    • B30B9/3057Fluid-driven presses
    • BPERFORMING OPERATIONS; TRANSPORTING
    • B30PRESSES
    • B30BPRESSES IN GENERAL
    • B30B1/00Presses, using a press ram, characterised by the features of the drive therefor, pressure being transmitted directly, or through simple thrust or tension members only, to the press ram or platen
    • B30B1/32Presses, using a press ram, characterised by the features of the drive therefor, pressure being transmitted directly, or through simple thrust or tension members only, to the press ram or platen by plungers under fluid pressure
    • B30B1/34Presses, using a press ram, characterised by the features of the drive therefor, pressure being transmitted directly, or through simple thrust or tension members only, to the press ram or platen by plungers under fluid pressure involving a plurality of plungers acting on the platen
    • BPERFORMING OPERATIONS; TRANSPORTING
    • B30PRESSES
    • B30BPRESSES IN GENERAL
    • B30B1/00Presses, using a press ram, characterised by the features of the drive therefor, pressure being transmitted directly, or through simple thrust or tension members only, to the press ram or platen
    • B30B1/32Presses, using a press ram, characterised by the features of the drive therefor, pressure being transmitted directly, or through simple thrust or tension members only, to the press ram or platen by plungers under fluid pressure
    • B30B1/36Presses, using a press ram, characterised by the features of the drive therefor, pressure being transmitted directly, or through simple thrust or tension members only, to the press ram or platen by plungers under fluid pressure having telescoping plungers
    • FMECHANICAL ENGINEERING; LIGHTING; HEATING; WEAPONS; BLASTING
    • F15FLUID-PRESSURE ACTUATORS; HYDRAULICS OR PNEUMATICS IN GENERAL
    • F15BSYSTEMS ACTING BY MEANS OF FLUIDS IN GENERAL; FLUID-PRESSURE ACTUATORS, e.g. SERVOMOTORS; DETAILS OF FLUID-PRESSURE SYSTEMS, NOT OTHERWISE PROVIDED FOR
    • F15B11/00Servomotor systems without provision for follow-up action; Circuits therefor
    • F15B11/16Servomotor systems without provision for follow-up action; Circuits therefor with two or more servomotors
    • F15B11/20Servomotor systems without provision for follow-up action; Circuits therefor with two or more servomotors controlling several interacting or sequentially-operating members
    • FMECHANICAL ENGINEERING; LIGHTING; HEATING; WEAPONS; BLASTING
    • F15FLUID-PRESSURE ACTUATORS; HYDRAULICS OR PNEUMATICS IN GENERAL
    • F15BSYSTEMS ACTING BY MEANS OF FLUIDS IN GENERAL; FLUID-PRESSURE ACTUATORS, e.g. SERVOMOTORS; DETAILS OF FLUID-PRESSURE SYSTEMS, NOT OTHERWISE PROVIDED FOR
    • F15B15/00Fluid-actuated devices for displacing a member from one position to another; Gearing associated therewith
    • F15B15/08Characterised by the construction of the motor unit
    • F15B15/14Characterised by the construction of the motor unit of the straight-cylinder type
    • F15B15/1423Component parts; Constructional details
    • F15B15/1457Piston rods
    • FMECHANICAL ENGINEERING; LIGHTING; HEATING; WEAPONS; BLASTING
    • F15FLUID-PRESSURE ACTUATORS; HYDRAULICS OR PNEUMATICS IN GENERAL
    • F15BSYSTEMS ACTING BY MEANS OF FLUIDS IN GENERAL; FLUID-PRESSURE ACTUATORS, e.g. SERVOMOTORS; DETAILS OF FLUID-PRESSURE SYSTEMS, NOT OTHERWISE PROVIDED FOR
    • F15B15/00Fluid-actuated devices for displacing a member from one position to another; Gearing associated therewith
    • F15B15/08Characterised by the construction of the motor unit
    • F15B15/14Characterised by the construction of the motor unit of the straight-cylinder type
    • F15B15/149Fluid interconnections, e.g. fluid connectors, passages

Definitions

  • the invention relates to a baler according to the preambles of claims 1 and 8.
  • Such a baling press which initially consists of a first pair of pressure cylinders, which are installed between a frame of the baler and a mounted in the baler carriage. Between the carriage and a retractable into the press chamber a second pair of pressure cylinders is arranged so that the axial extent of the baler can be limited to a minimum and the stroke optimally designed by the ram due to the two pairs of pressure cylinders connected in series is because the stroke movement of the ram is increased by the two pairs of pressure cylinders compared with only a pair of pressure cylinders.
  • the printing cylinders each consist of a telescopically extendable piston, which is attached to the carriage or the press ram and are separated by the two pressure chambers in the printing cylinder.
  • balers have been proven for the pressing of cargo, such as cardboard, grass or the like.
  • those for the operation of Pistons of the pressure cylinder necessary media through pipes in the respective pressure chambers of the pressure cylinder to promote reciprocation of the piston.
  • These pipes are usually configured flexurally elastic and arranged meandering along the respective pressure cylinders, so that when extending the respective pistons, the pipelines travel along the strokes of the pistons.
  • From the DE 2115353 is a hydraulic device for lifting and lowering against loads known. Two pressure cylinders connected in series are connected to each other by means of an integrated piping system.
  • Such flexurally elastic lines have multiple disadvantages, because on the one hand, the stroke, the pressure cylinders can cover the necessary lines, limited because the lines can only have a certain predetermined length and on the other hand, the cross sections of the lines used are not sized so large be that a significant volume flow of a medium can be promoted through the lines, because the larger the cross-sections of the lines are sized, the more rigid they are.
  • the pressure from the cylinders Provided compressive force acting on the baler of the baler, in comparison with the known balers is at least the same size, that the stroke, put back the pistons of the printing cylinder is identical to the stroke of the known balers and that at the same time the required space
  • the baler can be kept constant in comparison with known balers.
  • a second conduit system is provided, that the conduit systems are separated from each other and are each connected to the drive means, that the respective conduit system is integrated in the respective pressure cylinder and that the connection between the pressure cylinders takes place through the lines which are fixedly connected to the respective pressure cylinders, no relative displacement or movement arises between the lines and the movements of the pressure cylinders.
  • FIG. 1 a is a baler 1 shown, which has a press ram 2, which is deliverable in the direction of a press room, not shown.
  • a press ram 2 By the ram 2 isolated individual cargo, such as cardboard, grass or the like to be compressed to a compact bale to require a small footprint in their disposal or storage.
  • the ram 2 is delivered by two pairs I and II of a total of four printing cylinders 3, 4, 5 and 6.
  • the first pair I of the impression cylinders 3 and 4 are aligned parallel to one another and arranged between a frame 10 of the baler 1 and a carriage 11 movably mounted in the baling press 1.
  • Each of the printing cylinder 3, 4, 5 and 6 consists of a telescopically extendable piston 9, the direction of movement is indicated by the reference numeral 22.
  • the pistons 9 of the respective impression cylinders 3, 4, 5 and 6 are thus moved back and forth in synchronism with one another so that, on the one hand, the carriage 11 and, on the other hand, the ram 2 are moved back and forth in the feed direction 22.
  • a medium 15 is provided, for example air, hydraulic or a gas mixture which is mounted in a container 23.
  • a medium 15 is provided, for example air, hydraulic or a gas mixture which is mounted in a container 23.
  • the pump 14 is driven by means of a motor 13.
  • These drive means are identified by the reference numeral 12; for the expert it is of course, to replace the presented drive means 12 by other mechanical or electrical drive means to convey the medium 15 through the conduits 16.
  • the medium 15 is thus pressed out of the container 23 through the lines 16 in the press ram 2 opposite pressure chambers 7 of the respective impression cylinder 3, 4, 5 and 6, so that thereby, as will be explained in detail below, the piston 9 is pressed in the direction of the pressing space.
  • the lines 16, which open into the pressure chamber 7 of the respective pressure cylinder 3, 4, 5 and 6, form a first delivery circuit A.
  • a second return circuit B which opens into the pressure chambers 8 of the respective pressure cylinders 3, 4, 5 and 6.
  • the inlet openings in the pressure chambers 7 of the respective pressure cylinder 3, 4, 5 and 6 are marked with the letter A and a natural number, in such a way that the number used represents the order of the delivery cycle A. This therefore means that the medium 15 is first pressed by the pump 13 into the inlet opening A1 of the first pressure cylinder 3 of the first pair I.
  • the piston 9 is designed as a tube.
  • the outwardly projecting free end of the piston 9 is closed, so that the medium 15 flows through the inlet opening A1 and moves the piston 9 in the direction of the ram 2.
  • an outlet opening A2 located in the region of the free end of the piston 9, which is connected via one of the lines 16 to the inlet opening A3 of the second pressure cylinder 4 of the first pair I.
  • the medium 15 flows into the pressure chamber 7 of the second pressure cylinder 4 a.
  • the piston 9 used there has, in the region of the pressure chamber 7, a plate 17, through which the inner tube piece of the piston 9 is closed in the direction of the pressure chamber 7.
  • FIG. 1 a is also apparent that the first pressure cylinder 3 of the first pair I is connected via a further line 16 with inlet openings A3 and A4 of the pressure cylinder 5 and 6 of the second pair II, so that all of the four provided pressure cylinder 3, by the inflowing medium 15, 4, 5 and 6 are filled and is moved synchronously by the resulting pressure in the space 7 overpressure of the piston 9 from the impression cylinder 3, 4, 5 and 6.
  • the return circuit B is provided.
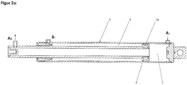
  • FIG. 2a shows that between the outer circumference of the piston 9 and the inner wall of the printing cylinder 3, an annular air gap is present, which is used as a pressure chamber 8.
  • the medium 15 is first filled into an opening into the pressure chamber 8 inlet opening B1, so that the piston 9 is moved in the direction of the pressure chamber 7.
  • FIG. 2b It is shown that the printing cylinder 4 constructed essentially identically can be filled with the medium 15 through an inlet opening B2. Moreover, the piston 9 in the region of the plate 17 has a plurality of bores 19, through which the medium 15 flows into the interior of the piston 9 and flows out of an area opposite the plate 17 through an outlet opening B3.
  • the outlet port B3 is connected to the inlet ports B4 and B5 of the pressure cylinders 5 and 6 of the second pair II by two lines 16, so that the pistons 9 of the pressure cylinders 5 and 6 are moved back simultaneously with the piston 9 of the pressure cylinders 3 and 4.
  • the lines 16 are firmly connected to the respective pressure cylinders 3, 4, 5 and 6, so that between the lines 16 the pressure cylinders, 3, 4, 5 and 6, no relative movement takes place.
  • the blocking or opening of the lines 16 for the delivery circuit A and the return hollow circuit B are switched by means of control valves 24.
  • the return circuit B for the passage of the medium 15 is closed in the pressure chambers 8; however, the medium 15 present in the pressure chambers 8 can flow back out of these via the lines 16 into the container 23 and through the control valves 24 opened in this direction.
  • the delivery circuit A is closed by means of the control valves 24 and the medium 15 is pressed into the return circuit B by means of the pump 13.
  • the present in the pressure chambers 7 medium 15 passes through the control valves 24 in the container 23. Consequently, an uncomplicated and fast operation of the baler 1 is reached.
  • the space of the baler 1 and their available stroke are not affected by the constructive measures to promote the medium 15.
  • the impression cylinder 3 is according to FIG. 3 constructed so that the inlet opening A1 opens into the pressure chamber 7, however, the piston 9 is configured zwewandig, so that the filled medium 15 first flows from the pressure chamber 7 through the interior of the piston 9 in the direction of the free outwardly projecting end and from a in the piston 9 incorporated outlet opening A2 flows out.
  • the outlet port A2 is connected to the inlet port A3 of the second pressure cylinder 5 via one of the conduits 16.
  • an inlet opening B1 is first provided in the first pressure cylinder 3, which opens into an annular gap extending between the inner wall of the pressure cylinder 3 and the outer wall of the piston 9 and accordingly Pressure chamber 8 forms.
  • the pressure chamber 8 is separated from the pressure chamber 7 by means of one of the seals 18.
  • a through hole 21 is incorporated, which opens into a passageway 20 which extends between the outer and the inner wall of the piston 9.
  • an outlet opening B2 is present, which is connected to one of the lines 16 with the inlet opening B3 of the second pressure cylinder 5.
  • both two pressure cylinders 3 and 5 arranged one behind the other as well as the conveying of the medium 15 can be accomplished by two pairs I, II of four pressure cylinders 3, 4, 5 and 6.
  • Each of the impression cylinders 3, 4, 5 and 6 explained FIGS. 1a to 3 can have any length and cross-sectional shape.
  • the geometric relationships of the printing cylinders 3, 4, 5 and 6 depend essentially on the pressure forces that are necessary to compress the filled in the press room cargo.

Landscapes

  • Engineering & Computer Science (AREA)
  • Mechanical Engineering (AREA)
  • Physics & Mathematics (AREA)
  • Fluid Mechanics (AREA)
  • General Engineering & Computer Science (AREA)
  • Auxiliary Devices For And Details Of Packaging Control (AREA)
  • Inking, Control Or Cleaning Of Printing Machines (AREA)
EP13184233.8A 2013-09-13 2013-09-13 Ballenpresse Active EP2848397B1 (de)

Priority Applications (2)

Application Number Priority Date Filing Date Title
EP13184233.8A EP2848397B1 (de) 2013-09-13 2013-09-13 Ballenpresse
PL13184233T PL2848397T3 (pl) 2013-09-13 2013-09-13 Prasa do belowania

Applications Claiming Priority (1)

Application Number Priority Date Filing Date Title
EP13184233.8A EP2848397B1 (de) 2013-09-13 2013-09-13 Ballenpresse

Publications (2)

Publication Number Publication Date
EP2848397A1 EP2848397A1 (de) 2015-03-18
EP2848397B1 true EP2848397B1 (de) 2017-05-10

Family

ID=49209239

Family Applications (1)

Application Number Title Priority Date Filing Date
EP13184233.8A Active EP2848397B1 (de) 2013-09-13 2013-09-13 Ballenpresse

Country Status (2)

Country Link
EP (1) EP2848397B1 (pl)
PL (1) PL2848397T3 (pl)

Cited By (2)

* Cited by examiner, † Cited by third party
Publication number Priority date Publication date Assignee Title
EP3620296A1 (de) 2018-09-10 2020-03-11 Maschinenfabrik Bermatingen GmbH & Co. KG Ballenpresse sowie steuerverfahren für eine solche
DE102024123686A1 (de) * 2024-08-20 2026-02-26 Herbert Kannegiesser Gmbh Entwässerungspresse zum Entwässern von Wäsche

Families Citing this family (2)

* Cited by examiner, † Cited by third party
Publication number Priority date Publication date Assignee Title
CN109664538A (zh) * 2019-02-15 2019-04-23 南通海利特橡塑机械有限公司 一种新型四柱液压压力机
EP4349582A1 (de) * 2022-10-07 2024-04-10 HSM GmbH + Co. KG Ballenpresse und verfahren zum betrieb einer solchen

Family Cites Families (10)

* Cited by examiner, † Cited by third party
Publication number Priority date Publication date Assignee Title
GB1064061A (en) * 1962-12-19 1967-04-05 Fletcer And Stewart Ltd Baling press
US3384007A (en) * 1967-08-09 1968-05-21 Compactor Corp Waster compacting device
DE2115353A1 (de) * 1971-03-30 1972-12-07 Jacobs, Max, 5650 Solingen-Wald Hydraulische Vorrichtung zum Heben und Senken von Lasten
US3802337A (en) * 1971-10-06 1974-04-09 Gen Compactor Of Quebec Ltd Refuse compactor
DE2237453A1 (de) * 1972-07-29 1974-02-07 Karl Heinz Stein Teleskopzylinder mit hydraulisch bewirktem vor- und rueckschub fuer kranausleger u. dgl
US3802336A (en) * 1972-11-24 1974-04-09 Carrier Corp Refuse compacting device
DE8717589U1 (de) * 1987-10-13 1989-05-03 Maschinenfabrik Bermatingen GmbH & Co, 7775 Bermatingen Ballenpresse
DE9301899U1 (de) * 1993-02-11 1993-07-29 Langerbein-Scharf GmbH & Co. KG, 4700 Hamm Hydraulische Betätigungsvorrichtung mit zumindest zwei gekoppelten Betätigungselementen
FR2725250B1 (fr) * 1994-09-29 1996-12-20 Fdi Sambron Dispositif comprenant au moins trois elements mobiles en coulissement et actionnes par des verins
DE102009053134C5 (de) 2009-11-05 2018-01-25 Maschinenfabrik Bermatingen Gmbh & Co. Kg Ballenpresse

Cited By (2)

* Cited by examiner, † Cited by third party
Publication number Priority date Publication date Assignee Title
EP3620296A1 (de) 2018-09-10 2020-03-11 Maschinenfabrik Bermatingen GmbH & Co. KG Ballenpresse sowie steuerverfahren für eine solche
DE102024123686A1 (de) * 2024-08-20 2026-02-26 Herbert Kannegiesser Gmbh Entwässerungspresse zum Entwässern von Wäsche

Also Published As

Publication number Publication date
EP2848397A1 (de) 2015-03-18
PL2848397T3 (pl) 2017-09-29

Similar Documents

Publication Publication Date Title
EP3620296B1 (de) Ballenpresse sowie steuerverfahren für eine solche
EP2848397B1 (de) Ballenpresse
DE3834610C2 (pl)
DE102010013107A1 (de) Ventil zum alternierenden Befüllen zweier Arbeitsräume eines Kolben-Zylinder-Systems einer Pumpe
WO2013064251A1 (de) Strang- und rohrpresse bzw. metallstrangpresse
DE102019204874A1 (de) Umschaltvorrichtung und Schmierpumpe
DE2631479A1 (de) Arbeitskolbenvorrichtung
DE1403973A1 (de) Dosierungspumpe
DE10354952A1 (de) Antriebsvorrichtung
DE102011100632A1 (de) Kolben-Zylinder-Einheit
DE102011114241B4 (de) Hydraulische Antriebsvorrichtung, Hydraulische Endstufe eines hydraulischen Servo-Regelventils, Servo-Regelventil und Pulverpresse
DE3428629C2 (pl)
DE102009037959A1 (de) Arbeitszylinder mit vier mechanischen Stopppositionen
EP2952800B1 (de) Schmiermittelpumpe
DE1503334A1 (de) Hydraulische Vorrichtung zum Erzeugen einer hin- und hergehenden Bewegung
DE102021116843A1 (de) Entleervorrichtung mit Fassfolge-Schlauchpumpe sowie Verfahren für ihren Betrieb
DE1293031B (de) Mehrstufige hydraulische Stellvorrichtung
DE3911278C2 (de) Plunger-Pumpe
DE3642695C2 (de) Zylinderantrieb
DE102023000817A1 (de) Verfahren zum Ansteuern eines fluidischen Aktors nebst Vorrichtung zum Durchführen des Verfahrens
DE1016194B (de) Hydraulische Hubvorrichtung fuer Stapelvorrichtungen mit teleskopartig ausziehbarem Hubmast
EP3601800B1 (de) Mehrstufiger verdichter
EP0718040B1 (de) Lackförderpumpe
DE3033739A1 (de) Druckuebersetzer zur hoechstdruckerzeugung
DE1752761B2 (de) Überlastsicherung für eine Vorrichtung zur Herstellung nahtloser becherförmiger Behälter durch Ziehen

Legal Events

Date Code Title Description
PUAI Public reference made under article 153(3) epc to a published international application that has entered the european phase

Free format text: ORIGINAL CODE: 0009012

17P Request for examination filed

Effective date: 20130913

AK Designated contracting states

Kind code of ref document: A1

Designated state(s): AL AT BE BG CH CY CZ DE DK EE ES FI FR GB GR HR HU IE IS IT LI LT LU LV MC MK MT NL NO PL PT RO RS SE SI SK SM TR

AX Request for extension of the european patent

Extension state: BA ME

R17P Request for examination filed (corrected)

Effective date: 20150910

RBV Designated contracting states (corrected)

Designated state(s): AL AT BE BG CH CY CZ DE DK EE ES FI FR GB GR HR HU IE IS IT LI LT LU LV MC MK MT NL NO PL PT RO RS SE SI SK SM TR

REG Reference to a national code

Ref country code: DE

Ref legal event code: R079

Ref document number: 502013007201

Country of ref document: DE

Free format text: PREVIOUS MAIN CLASS: B30B0001340000

Ipc: F15B0011200000

GRAP Despatch of communication of intention to grant a patent

Free format text: ORIGINAL CODE: EPIDOSNIGR1

RIC1 Information provided on ipc code assigned before grant

Ipc: F15B 15/14 20060101ALI20161129BHEP

Ipc: B30B 1/34 20060101ALI20161129BHEP

Ipc: F15B 11/20 20060101AFI20161129BHEP

Ipc: B30B 1/36 20060101ALI20161129BHEP

Ipc: B30B 9/30 20060101ALI20161129BHEP

INTG Intention to grant announced

Effective date: 20161222

GRAS Grant fee paid

Free format text: ORIGINAL CODE: EPIDOSNIGR3

GRAA (expected) grant

Free format text: ORIGINAL CODE: 0009210

AK Designated contracting states

Kind code of ref document: B1

Designated state(s): AL AT BE BG CH CY CZ DE DK EE ES FI FR GB GR HR HU IE IS IT LI LT LU LV MC MK MT NL NO PL PT RO RS SE SI SK SM TR

REG Reference to a national code

Ref country code: GB

Ref legal event code: FG4D

Free format text: NOT ENGLISH

REG Reference to a national code

Ref country code: AT

Ref legal event code: REF

Ref document number: 892656

Country of ref document: AT

Kind code of ref document: T

Effective date: 20170515

Ref country code: CH

Ref legal event code: EP

REG Reference to a national code

Ref country code: IE

Ref legal event code: FG4D

Free format text: LANGUAGE OF EP DOCUMENT: GERMAN

REG Reference to a national code

Ref country code: DE

Ref legal event code: R096

Ref document number: 502013007201

Country of ref document: DE

REG Reference to a national code

Ref country code: NL

Ref legal event code: MP

Effective date: 20170510

REG Reference to a national code

Ref country code: LT

Ref legal event code: MG4D

Ref country code: FR

Ref legal event code: PLFP

Year of fee payment: 5

PG25 Lapsed in a contracting state [announced via postgrant information from national office to epo]

Ref country code: ES

Free format text: LAPSE BECAUSE OF FAILURE TO SUBMIT A TRANSLATION OF THE DESCRIPTION OR TO PAY THE FEE WITHIN THE PRESCRIBED TIME-LIMIT

Effective date: 20170510

Ref country code: LT

Free format text: LAPSE BECAUSE OF FAILURE TO SUBMIT A TRANSLATION OF THE DESCRIPTION OR TO PAY THE FEE WITHIN THE PRESCRIBED TIME-LIMIT

Effective date: 20170510

Ref country code: FI

Free format text: LAPSE BECAUSE OF FAILURE TO SUBMIT A TRANSLATION OF THE DESCRIPTION OR TO PAY THE FEE WITHIN THE PRESCRIBED TIME-LIMIT

Effective date: 20170510

Ref country code: HR

Free format text: LAPSE BECAUSE OF FAILURE TO SUBMIT A TRANSLATION OF THE DESCRIPTION OR TO PAY THE FEE WITHIN THE PRESCRIBED TIME-LIMIT

Effective date: 20170510

Ref country code: NO

Free format text: LAPSE BECAUSE OF FAILURE TO SUBMIT A TRANSLATION OF THE DESCRIPTION OR TO PAY THE FEE WITHIN THE PRESCRIBED TIME-LIMIT

Effective date: 20170810

Ref country code: GR

Free format text: LAPSE BECAUSE OF FAILURE TO SUBMIT A TRANSLATION OF THE DESCRIPTION OR TO PAY THE FEE WITHIN THE PRESCRIBED TIME-LIMIT

Effective date: 20170811

PG25 Lapsed in a contracting state [announced via postgrant information from national office to epo]

Ref country code: BG

Free format text: LAPSE BECAUSE OF FAILURE TO SUBMIT A TRANSLATION OF THE DESCRIPTION OR TO PAY THE FEE WITHIN THE PRESCRIBED TIME-LIMIT

Effective date: 20170810

Ref country code: RS

Free format text: LAPSE BECAUSE OF FAILURE TO SUBMIT A TRANSLATION OF THE DESCRIPTION OR TO PAY THE FEE WITHIN THE PRESCRIBED TIME-LIMIT

Effective date: 20170510

Ref country code: LV

Free format text: LAPSE BECAUSE OF FAILURE TO SUBMIT A TRANSLATION OF THE DESCRIPTION OR TO PAY THE FEE WITHIN THE PRESCRIBED TIME-LIMIT

Effective date: 20170510

Ref country code: NL

Free format text: LAPSE BECAUSE OF FAILURE TO SUBMIT A TRANSLATION OF THE DESCRIPTION OR TO PAY THE FEE WITHIN THE PRESCRIBED TIME-LIMIT

Effective date: 20170510

Ref country code: IS

Free format text: LAPSE BECAUSE OF FAILURE TO SUBMIT A TRANSLATION OF THE DESCRIPTION OR TO PAY THE FEE WITHIN THE PRESCRIBED TIME-LIMIT

Effective date: 20170910

Ref country code: SE

Free format text: LAPSE BECAUSE OF FAILURE TO SUBMIT A TRANSLATION OF THE DESCRIPTION OR TO PAY THE FEE WITHIN THE PRESCRIBED TIME-LIMIT

Effective date: 20170510

PG25 Lapsed in a contracting state [announced via postgrant information from national office to epo]

Ref country code: CZ

Free format text: LAPSE BECAUSE OF FAILURE TO SUBMIT A TRANSLATION OF THE DESCRIPTION OR TO PAY THE FEE WITHIN THE PRESCRIBED TIME-LIMIT

Effective date: 20170510

Ref country code: DK

Free format text: LAPSE BECAUSE OF FAILURE TO SUBMIT A TRANSLATION OF THE DESCRIPTION OR TO PAY THE FEE WITHIN THE PRESCRIBED TIME-LIMIT

Effective date: 20170510

Ref country code: EE

Free format text: LAPSE BECAUSE OF FAILURE TO SUBMIT A TRANSLATION OF THE DESCRIPTION OR TO PAY THE FEE WITHIN THE PRESCRIBED TIME-LIMIT

Effective date: 20170510

Ref country code: RO

Free format text: LAPSE BECAUSE OF FAILURE TO SUBMIT A TRANSLATION OF THE DESCRIPTION OR TO PAY THE FEE WITHIN THE PRESCRIBED TIME-LIMIT

Effective date: 20170510

Ref country code: SK

Free format text: LAPSE BECAUSE OF FAILURE TO SUBMIT A TRANSLATION OF THE DESCRIPTION OR TO PAY THE FEE WITHIN THE PRESCRIBED TIME-LIMIT

Effective date: 20170510

REG Reference to a national code

Ref country code: DE

Ref legal event code: R097

Ref document number: 502013007201

Country of ref document: DE

PG25 Lapsed in a contracting state [announced via postgrant information from national office to epo]

Ref country code: SM

Free format text: LAPSE BECAUSE OF FAILURE TO SUBMIT A TRANSLATION OF THE DESCRIPTION OR TO PAY THE FEE WITHIN THE PRESCRIBED TIME-LIMIT

Effective date: 20170510

PLBE No opposition filed within time limit

Free format text: ORIGINAL CODE: 0009261

STAA Information on the status of an ep patent application or granted ep patent

Free format text: STATUS: NO OPPOSITION FILED WITHIN TIME LIMIT

26N No opposition filed

Effective date: 20180213

REG Reference to a national code

Ref country code: CH

Ref legal event code: PL

PG25 Lapsed in a contracting state [announced via postgrant information from national office to epo]

Ref country code: MC

Free format text: LAPSE BECAUSE OF FAILURE TO SUBMIT A TRANSLATION OF THE DESCRIPTION OR TO PAY THE FEE WITHIN THE PRESCRIBED TIME-LIMIT

Effective date: 20170510

Ref country code: SI

Free format text: LAPSE BECAUSE OF FAILURE TO SUBMIT A TRANSLATION OF THE DESCRIPTION OR TO PAY THE FEE WITHIN THE PRESCRIBED TIME-LIMIT

Effective date: 20170510

REG Reference to a national code

Ref country code: IE

Ref legal event code: MM4A

REG Reference to a national code

Ref country code: BE

Ref legal event code: MM

Effective date: 20170930

PG25 Lapsed in a contracting state [announced via postgrant information from national office to epo]

Ref country code: LU

Free format text: LAPSE BECAUSE OF NON-PAYMENT OF DUE FEES

Effective date: 20170913

PG25 Lapsed in a contracting state [announced via postgrant information from national office to epo]

Ref country code: LI

Free format text: LAPSE BECAUSE OF NON-PAYMENT OF DUE FEES

Effective date: 20170930

Ref country code: IE

Free format text: LAPSE BECAUSE OF NON-PAYMENT OF DUE FEES

Effective date: 20170913

Ref country code: CH

Free format text: LAPSE BECAUSE OF NON-PAYMENT OF DUE FEES

Effective date: 20170930

PG25 Lapsed in a contracting state [announced via postgrant information from national office to epo]

Ref country code: BE

Free format text: LAPSE BECAUSE OF NON-PAYMENT OF DUE FEES

Effective date: 20170930

REG Reference to a national code

Ref country code: FR

Ref legal event code: PLFP

Year of fee payment: 6

PG25 Lapsed in a contracting state [announced via postgrant information from national office to epo]

Ref country code: MT

Free format text: LAPSE BECAUSE OF FAILURE TO SUBMIT A TRANSLATION OF THE DESCRIPTION OR TO PAY THE FEE WITHIN THE PRESCRIBED TIME-LIMIT

Effective date: 20170510

PG25 Lapsed in a contracting state [announced via postgrant information from national office to epo]

Ref country code: HU

Free format text: LAPSE BECAUSE OF FAILURE TO SUBMIT A TRANSLATION OF THE DESCRIPTION OR TO PAY THE FEE WITHIN THE PRESCRIBED TIME-LIMIT; INVALID AB INITIO

Effective date: 20130913

PG25 Lapsed in a contracting state [announced via postgrant information from national office to epo]

Ref country code: CY

Free format text: LAPSE BECAUSE OF FAILURE TO SUBMIT A TRANSLATION OF THE DESCRIPTION OR TO PAY THE FEE WITHIN THE PRESCRIBED TIME-LIMIT

Effective date: 20170510

PG25 Lapsed in a contracting state [announced via postgrant information from national office to epo]

Ref country code: MK

Free format text: LAPSE BECAUSE OF FAILURE TO SUBMIT A TRANSLATION OF THE DESCRIPTION OR TO PAY THE FEE WITHIN THE PRESCRIBED TIME-LIMIT

Effective date: 20170510

PG25 Lapsed in a contracting state [announced via postgrant information from national office to epo]

Ref country code: TR

Free format text: LAPSE BECAUSE OF FAILURE TO SUBMIT A TRANSLATION OF THE DESCRIPTION OR TO PAY THE FEE WITHIN THE PRESCRIBED TIME-LIMIT

Effective date: 20170510

PG25 Lapsed in a contracting state [announced via postgrant information from national office to epo]

Ref country code: PT

Free format text: LAPSE BECAUSE OF FAILURE TO SUBMIT A TRANSLATION OF THE DESCRIPTION OR TO PAY THE FEE WITHIN THE PRESCRIBED TIME-LIMIT

Effective date: 20170510

PG25 Lapsed in a contracting state [announced via postgrant information from national office to epo]

Ref country code: AL

Free format text: LAPSE BECAUSE OF FAILURE TO SUBMIT A TRANSLATION OF THE DESCRIPTION OR TO PAY THE FEE WITHIN THE PRESCRIBED TIME-LIMIT

Effective date: 20170510

REG Reference to a national code

Ref country code: DE

Ref legal event code: R082

Ref document number: 502013007201

Country of ref document: DE

Representative=s name: GEITZ TRUCKENMUELLER LUCHT CHRIST PATENTANWAEL, DE

Ref country code: DE

Ref legal event code: R082

Ref document number: 502013007201

Country of ref document: DE

Representative=s name: WEICKMANN & WEICKMANN PATENT- UND RECHTSANWAEL, DE

P01 Opt-out of the competence of the unified patent court (upc) registered

Effective date: 20230518

REG Reference to a national code

Ref country code: DE

Ref legal event code: R082

Ref document number: 502013007201

Country of ref document: DE

Representative=s name: WEICKMANN & WEICKMANN PATENT- UND RECHTSANWAEL, DE

Ref country code: DE

Ref legal event code: R082

Ref document number: 502013007201

Country of ref document: DE

REG Reference to a national code

Ref country code: DE

Ref legal event code: R082

Ref document number: 502013007201

Country of ref document: DE

Representative=s name: WEICKMANN & WEICKMANN PATENT- UND RECHTSANWAEL, DE

Ref country code: DE

Ref legal event code: R081

Ref document number: 502013007201

Country of ref document: DE

Owner name: HSM GMBH + CO. KG, DE

Free format text: FORMER OWNER: MASCHINENFABRIK BERMATINGEN GMBH & CO. KG, 88697 BERMATINGEN, DE

PGFP Annual fee paid to national office [announced via postgrant information from national office to epo]

Ref country code: GB

Payment date: 20230929

Year of fee payment: 11

Ref country code: AT

Payment date: 20230927

Year of fee payment: 11

PGFP Annual fee paid to national office [announced via postgrant information from national office to epo]

Ref country code: FR

Payment date: 20230928

Year of fee payment: 11

PGFP Annual fee paid to national office [announced via postgrant information from national office to epo]

Ref country code: IT

Payment date: 20230926

Year of fee payment: 11

Ref country code: DE

Payment date: 20230929

Year of fee payment: 11

PGFP Annual fee paid to national office [announced via postgrant information from national office to epo]

Ref country code: PL

Payment date: 20231011

Year of fee payment: 11

REG Reference to a national code

Ref country code: DE

Ref legal event code: R119

Ref document number: 502013007201

Country of ref document: DE

REG Reference to a national code

Ref country code: AT

Ref legal event code: MM01

Ref document number: 892656

Country of ref document: AT

Kind code of ref document: T

Effective date: 20240913

GBPC Gb: european patent ceased through non-payment of renewal fee

Effective date: 20240913

PG25 Lapsed in a contracting state [announced via postgrant information from national office to epo]

Ref country code: DE

Free format text: LAPSE BECAUSE OF NON-PAYMENT OF DUE FEES

Effective date: 20250401

PG25 Lapsed in a contracting state [announced via postgrant information from national office to epo]

Ref country code: GB

Free format text: LAPSE BECAUSE OF NON-PAYMENT OF DUE FEES

Effective date: 20240913

PG25 Lapsed in a contracting state [announced via postgrant information from national office to epo]

Ref country code: IT

Free format text: LAPSE BECAUSE OF NON-PAYMENT OF DUE FEES

Effective date: 20240913

PG25 Lapsed in a contracting state [announced via postgrant information from national office to epo]

Ref country code: FR

Free format text: LAPSE BECAUSE OF NON-PAYMENT OF DUE FEES

Effective date: 20240930

PG25 Lapsed in a contracting state [announced via postgrant information from national office to epo]

Ref country code: AT

Free format text: LAPSE BECAUSE OF NON-PAYMENT OF DUE FEES

Effective date: 20240913