EP2532292A2 - Buse d'aspiration et aspirateur - Google Patents

Buse d'aspiration et aspirateur Download PDF

Info

Publication number
EP2532292A2
EP2532292A2 EP12170186A EP12170186A EP2532292A2 EP 2532292 A2 EP2532292 A2 EP 2532292A2 EP 12170186 A EP12170186 A EP 12170186A EP 12170186 A EP12170186 A EP 12170186A EP 2532292 A2 EP2532292 A2 EP 2532292A2
Authority
EP
European Patent Office
Prior art keywords
suction nozzle
suction
flow channel
section
nozzle according
Prior art date
Legal status (The legal status is an assumption and is not a legal conclusion. Google has not performed a legal analysis and makes no representation as to the accuracy of the status listed.)
Granted
Application number
EP12170186A
Other languages
German (de)
English (en)
Other versions
EP2532292A3 (fr
EP2532292B1 (fr
Inventor
Andreas Kirchner
Manfred Prell
Thomas Seith
Current Assignee (The listed assignees may be inaccurate. Google has not performed a legal analysis and makes no representation or warranty as to the accuracy of the list.)
BSH Hausgeraete GmbH
Original Assignee
BSH Bosch und Siemens Hausgeraete GmbH
Priority date (The priority date is an assumption and is not a legal conclusion. Google has not performed a legal analysis and makes no representation as to the accuracy of the date listed.)
Filing date
Publication date
Application filed by BSH Bosch und Siemens Hausgeraete GmbH filed Critical BSH Bosch und Siemens Hausgeraete GmbH
Publication of EP2532292A2 publication Critical patent/EP2532292A2/fr
Publication of EP2532292A3 publication Critical patent/EP2532292A3/fr
Application granted granted Critical
Publication of EP2532292B1 publication Critical patent/EP2532292B1/fr
Not-in-force legal-status Critical Current
Anticipated expiration legal-status Critical

Links

Images

Classifications

    • AHUMAN NECESSITIES
    • A47FURNITURE; DOMESTIC ARTICLES OR APPLIANCES; COFFEE MILLS; SPICE MILLS; SUCTION CLEANERS IN GENERAL
    • A47LDOMESTIC WASHING OR CLEANING; SUCTION CLEANERS IN GENERAL
    • A47L9/00Details or accessories of suction cleaners, e.g. mechanical means for controlling the suction or for effecting pulsating action; Storing devices specially adapted to suction cleaners or parts thereof; Carrying-vehicles specially adapted for suction cleaners
    • A47L9/02Nozzles

Definitions

  • the invention relates to a suction nozzle for a vacuum cleaner, with a suction nozzle housing, which forms a flow channel for the flow connection of a suction mouth with a suction fan, wherein the cross section of the flow channel narrows funnel-shaped starting from the suction mouth in frontal view.
  • the invention further relates to a vacuum cleaner equipped with such a suction nozzle.
  • Vacuum cleaners serve to absorb dirt from floor surfaces, furniture or the like by a suction air flow.
  • the suction mouth of a suction nozzle is placed on the surface to be cleaned, so that dust or other contaminants are sucked in by the suction air flow.
  • the suction air flow is generated by a suction fan, which is in flow communication with a StaubabscheideINA, such as a centrifugal separator or dust filter bag.
  • the dirt particles received by the suction nozzle are collected in the dust separator while the purified air is released to the environment.
  • the suction mouth of a suitable for floor cleaning suction nozzle usually has a rectangular shape and extends transversely to the sliding direction. It is desirable that over the entire width of the suction mouth a homogeneous vacuum is applied to achieve a uniform suction result. In order to use the power of the suction fan particularly effective, the lowest possible pressure loss between suction and suction fan is also advantageous.
  • suction fan and the Staubabscheide can for example be attached to a torque tube, which is directly mechanically connected to the suction nozzle and usually also forms a part of the flow channel between the suction nozzle and suction fan (Stielstaubsauger).
  • suction fan and Staubabscheide are arranged in the housing of a separate subframe, which can be moved by means of a chassis on the bottom surface and with the inserted into the suction nozzle torque tube through a flexible hose line is connected (Kansiterstaubsauger).
  • a suction nozzle of the type mentioned is from the patent CH 271904 known.
  • the suction nozzle consists of a suction nozzle housing, which forms a flow channel for the suction air flow of the vacuum cleaner.
  • the suction mouth of the suction nozzle which is guided over the bottom surface during the cleaning process, opens into the flow channel of the suction nozzle housing.
  • the connection piece At its other end of this flow channel opens into a connection piece, in which the flow-connected to the suction fan torque tube of the vacuum cleaner is inserted.
  • the cross-section of the suction-mouth-side part of the flow channel is, in a frontal view, funnel-shaped and forms the transition between the transversely extending suction mouth and the circular connection piece.
  • the longitudinal axis of the funnel-shaped cross-section of the flow channel runs straight in the vertical direction, before the subsequent, nozzle-side circular cross-section from the top of the funnel at an angle of about 45 °.
  • This generally conventional embodiment may be unfavorable in terms of flow in terms of flow velocity distribution and pressure loss.
  • the suction nozzle after insertion of the push tube in their handling when driving under furniture can be a hindrance.
  • EP 0 404 278 A2 discloses a nozzle tool for a wet cleaning device, the cross section also narrows funnel-shaped in frontal view.
  • the longitudinal axis of this cross-section is formed straight suction mouth side, but inclined relative to the vertical by an angle of about 20 °, the subsequent connecting piece again kinks from the top of the funnel. This design may be unfavorable in terms of flow.
  • the invention has for its object to provide an improved suction nozzle and an improved vacuum cleaner.
  • generic suction nozzles and vacuum cleaners are to be developed so that the dust pickup improved, the pressure loss kept low and a good suction behavior is achieved in the lateral end regions of the suction mouth.
  • the height of the nozzle should be sized so that underrun of furniture or the like is hindered as little as possible.
  • a suction nozzle of the type mentioned in that the longitudinal extension of the funnel-shaped narrowing cross-section of the flow channel in the suction nozzle housing in a lateral view from the suction mouth, starting at least in a curved arcuate section.
  • a flow channel can be curved in an arc shape, in particular along a longitudinal section of the channel perpendicular to the longitudinal extent of the suction mouth, at least in one section. Subsequently, the flow channel can open into the connecting piece for the thrust tube, which is usually hingedly connected to the remaining part of the suction nozzle.
  • the object is further achieved by a vacuum cleaner equipped with such a suction nozzle.
  • the vacuum cleaner is preferably a style vacuum cleaner.
  • the longitudinal extent is the extent of the flow channel in the flow direction.
  • the cross-section of the flow channel is the cross-sectional area perpendicular to the longitudinal extent of the channel. Terms like frontal, lateral, above, below, etc. are to be understood in the context of the present invention always with respect to the intended position of use of the suction nozzle.
  • the overall height of such a suction nozzle can be designed so low that a driving under low furniture, such as beds, can be carried out comfortably.
  • the inventors have found that in addition to the curvature, a uniform pressure distribution over the width of the suction mouth can be achieved. It is also achievable that the pressure loss in the suction mouth-side flow channel of the suction nozzle is relatively low, so that the performance of the suction fan is used particularly efficiently.
  • the curvature of the cross section of the flow channel runs along a circular or elliptical arc.
  • Such a contour is particularly easy to produce and requires due to their compact shape a relatively low cost of materials.
  • the arc extends over an angle of 45 ° or more, more preferably of 70 ° or more.
  • the arc extends over an angle of 135 ° or less, more preferably 120 ° or less.
  • a particularly preferred arch extends over an angle of about 90 °.
  • the cross section of the flow channel in lateral view has regions of different curvature direction. It is particularly advantageous that the longitudinal extension of the cross section of the flow channel starting in a lateral view from the suction mouth initially in a first arc section around a located below the flow channel transverse axis and subsequently curved in a second arc section about a transverse axis located above the flow channel. Even if the flow channel lengthens slightly in this embodiment, the pressure loss in such a bionic pipe bend is surprisingly lower than in a curved in one direction only channel.
  • a transverse axis is an axis which, in normal use of the vacuum cleaner, runs perpendicular to the longitudinal extent of the flow channel and parallel to the floor to be cleaned.
  • This training is particularly effective when the second arc section extends over an angle of 5 ° or more, more preferably 7 ° or more. It preferably extends over 30 ° or less, more preferably over 20 ° or less.
  • the first arc section advantageously extends to the subsequent compensation of the flow channel initially pointing away from the connecting piece over an angle of preferably more than 95 ° or more and particularly preferably 110 ° or less.
  • the vertical diameter of the curved longitudinal extent in the lateral view is less than 12.5 cm, preferably less than 10 cm and in particular approximately 7.5 cm.
  • the suction nozzle is particularly compact, without the function being impaired in the case of an inventive design of the flow channel.
  • the suction nozzle is equipped with a chassis in the form of a wheel assembly which does not protrude upwards or only slightly above the Saugdüsengephaseuse and thus not obstruct the driving under furniture. Due to the chassis, the sliding sole of the suction nozzle is relieved, in particular in a Stielstaubsauger, whereby a reduction of the displacement forces can be achieved when cleaning resilient floor coverings. It is particularly advantageous in this case that the axis of rotation of the wheel assembly is arranged below the flow channel of the suction nozzle. By this design, the wheels can be rotatably mounted on a continuous axis, without affecting the flow in the suction channel.
  • the outer axial surfaces of the wheels are provided with elastic protective caps, so that lateral contact of the wheels does not damage sensitive surfaces on furniture.
  • the center of the thin-walled protective caps is designed to bulge outwards so that it can deflect inwards upon contact with pieces of furniture.
  • the preferred wheel diameter is greater than 20 mm, preferably greater than 40 mm, particularly preferably greater than 50 mm.
  • the preferred wheel diameter is less than 90 mm, preferably less than 80 mm, more preferably less than 70 mm, e.g. about 60 mm. This advantageously achieves that the wheels sink as little as possible into a yielding ground, on the other hand, the wheels are not so large that they impede the driving under furniture.
  • the running surfaces of adjacent wheels spaced in the direction of displacement are preferably less than 40 mm apart, more preferably less than 20 mm, particularly preferably less than 10 mm. They are preferably more than 1 mm apart, preferably more than 3 mm, e.g. 5 mm. This allows on the one hand a compact design, on the other hand it prevents that larger dirt particles wedged between the wheels and thereby block the wheels.
  • the equalization of the pressure distribution across the width of the suction mouth advantageous if the front view in a funnel-shaped narrowing cross section of the flow channel is curved.
  • a particularly favorable pressure distribution is achieved when the tangent to the cross section of the flow channel in frontal view suction mouth side as in the transition to the suction nozzle runs parallel to the plane of symmetry of the suction nozzle.
  • the plane of symmetry of the suction nozzle is usually spanned by the vertical and the longitudinal extent of the flow channel.
  • the height of the suction nozzle can advantageously be designed so low that a driving under low furniture, such as beds, can be carried out comfortably.
  • the pressure loss in the suction mouth-side flow channel of the suction nozzle can be kept low and a uniform pressure distribution over the width of the suction mouth can be achieved.
  • Vacuum cleaner 1 shown is designed as Kansiterstaubsauger. In principle, however, the invention can also be used to advantage in other designs, for example a stick vacuum cleaner. All directions and locations refer to a suction nozzle, which rests on a horizontal surface and in the forward direction, that is in the horizontal direction opposite to the longitudinal extension of a suction nozzle connected to the suction nozzle, is moved.
  • the vacuum cleaner 1 after Fig. 1 consists of a separate subframe 2, which is equipped with a chassis 3 and thus can be easily moved over the floor surface to be cleaned.
  • the housing 4 of the unit carrier 2 receives in particular a suction fan 5 and a Staubabscheide Rhein 6 in the form of a dust filter bag 7.
  • components of the subframe are, for example, a coiled-up power cable for electrical connection to a power grid, adjusting devices for switching on and for power adjustment, electronic control devices and a storage compartment for accessories such as suction brushes or the like.
  • a connection 8 is provided for attaching a flexible suction hose 9, which in turn is fluidly connected to a telekopierbaren torque tube 10.
  • the torque tube 10 is sealed in a connecting piece 11 of the suction nozzle 12 is inserted.
  • the suction nozzle 12 Upstream of the connecting piece 11 connected in an articulated manner to the remaining suction nozzle 12, the suction nozzle 12 also has a suction nozzle housing 13 and a sliding sole 14 to be guided over the floor surface to be cleaned with a suction mouth 15.
  • the suction nozzle 12 further includes a wheel assembly 16 for supporting the push tube 10.
  • the sliding sole 14 is sealingly against the bottom surface, wherein an air flow is sucked in by the negative pressure applied to the suction mouth 15 and carries the dust on the floor surface.
  • the dirt-carrying air flow is passed through the torque tube 10 and the suction hose 9 in the Staubabscheide owned 6, where the dust in the dust filter bag 7 is deposited.
  • the now cleaned air flow passes through the suction fan 5 and is then discharged through an opening 17 in the housing 4 of the unit carrier 2 in the environment.
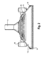
  • FIGS. 2 to 5 show a first inventively designed suction nozzle 12 for use on the vacuum cleaner after Fig. 1 , How out Fig. 4 it can be seen, the suction nozzle 12 has a sliding sole 14 with a rectangular suction mouth 15, which extends substantially transversely to the direction of displacement of the suction nozzle and has a width B which is greater by a multiple compared to its length L. In order to ensure that sufficient dust is picked up in the peripheral areas of the suction mouth 15, it is desirable for the width B of the suction mouth 15 to be as uniform as possible.
  • the flow channel tapers in the suction nozzle housing 13 from the suction port 15 in the direction of the connecting piece 11 in a funnel shape. It may be concluded from the shape of the funnel-shaped region of the suction nozzle housing 13 shown in frontal, uncut view directly on the shape of the therein flow channel, since this has a substantially uniform wall thickness.
  • the funnel-shaped design of the flow channel extends slightly curved, wherein the tangent to the suction-mouth side arc 18 initially runs approximately parallel to the plane of symmetry of the suction nozzle 12. This is spanned by the vertical to the bottom surface and the longitudinal extent of the flow channel and protrudes in the presentation Fig. 2 centrally and vertically out of the suction nozzle 12.
  • a region 19 adjoins the bend 18 downstream, in which the funnel tapers substantially linearly, before another, but oppositely curved arc 20 adjoins in the transition region to the connecting piece 11.
  • Fig. 3 and 5 show the course of the flow channel in a lateral view.
  • the longitudinal extension 21 of the funnel-shaped narrowing cross-section of the flow channel runs in a lateral view in the embodiment of the suction mouth 15 starting arcuately curved and follows over an angle of about 90 ° approximately the course of a circular arc.
  • a gentle deflection of the suction air flow whereby the pressure loss is reduced in the pipe bend.
  • the free flow cross section in the pipe bend widens slightly, as a result of which the pressure-consuming vortex formation in the suction air flow is further reduced.
  • the diameter of the rotatably mounted on the suction nozzle housing 13 wheel assembly 16 is dimensioned so that it protrudes only insignificantly above the suction nozzle housing 13.
  • the wheel assembly 16 thus hinders the driving under furniture, it should be noted that the articulated connection piece 11 can be pivoted together with inserted push tube 10 in this process down.
  • the axis of rotation 26 of the wheel assembly 16 extends below the flow channel of the suction nozzle housing 13, so that the wheel assembly 16 can be basically equipped with a continuous axis. In the exemplary embodiment, however, the wheels are inserted separately via axle stubs 27 into associated receptacles of the suction nozzle housing 13.
  • a further reduction of the pressure loss is surprisingly achieved in that the cross section of the flow channel in a lateral view has regions of different curvature direction. It is provided that the longitudinal extension of the cross section of the flow channel in lateral view from the suction mouth 15 starting first from the connecting piece 11 pioneering in a first arc section 22 to a located below the flow channel first transverse axis 23 and subsequently to the connecting piece 11 indicative in a second arc section 24 to a located above the flow channel transverse axis 25 is curved.
  • the height of the suction nozzle 12 can be made so low that a driving under low furniture, such as beds, can be carried out comfortably.
  • the pressure loss in the suction mouth-side flow channel of the suction nozzle 12 can be kept low, that the power of the suction fan 5 is used particularly efficiently.
  • a uniform pressure distribution over the width of the suction mouth 15 can be achieved.

Landscapes

  • Engineering & Computer Science (AREA)
  • Mechanical Engineering (AREA)
  • Nozzles For Electric Vacuum Cleaners (AREA)
EP12170186.6A 2011-06-09 2012-05-31 Buse d'aspiration et aspirateur Not-in-force EP2532292B1 (fr)

Applications Claiming Priority (1)

Application Number Priority Date Filing Date Title
DE102011077277A DE102011077277A1 (de) 2011-06-09 2011-06-09 Saugdüse und Staubsauger

Publications (3)

Publication Number Publication Date
EP2532292A2 true EP2532292A2 (fr) 2012-12-12
EP2532292A3 EP2532292A3 (fr) 2017-08-23
EP2532292B1 EP2532292B1 (fr) 2021-12-15

Family

ID=46318866

Family Applications (1)

Application Number Title Priority Date Filing Date
EP12170186.6A Not-in-force EP2532292B1 (fr) 2011-06-09 2012-05-31 Buse d'aspiration et aspirateur

Country Status (2)

Country Link
EP (1) EP2532292B1 (fr)
DE (1) DE102011077277A1 (fr)

Citations (1)

* Cited by examiner, † Cited by third party
Publication number Priority date Publication date Assignee Title
CH271904A (de) 1947-05-17 1950-11-30 Electrolux Ab Staubsaugermundstück.

Family Cites Families (8)

* Cited by examiner, † Cited by third party
Publication number Priority date Publication date Assignee Title
US1519868A (en) * 1918-03-04 1924-12-16 American Radiator Co Suction cleaning apparatus
US1951316A (en) * 1931-10-02 1934-03-13 Allen Sherman Hoff Co Vacuum cleaner nozzle
DE2918759C3 (de) * 1979-05-09 1982-01-07 Ing. Alfred Schmidt Gmbh, 7822 St Blasien Vorrichtung zur Aufnahme von Kehrgut mittels eines Saugluftstroms
DE3486370T2 (de) 1984-03-02 1995-06-14 Trc Acquisition Corp Vorrichtung mit abnehmbarem Behälter für Reinigungsgerät.
DE19706240A1 (de) * 1997-02-18 1998-08-20 Fedag Romanshorn Fa Saugreinigungswerkzeug mit höhenverstellbarem Saugmund
US7254864B2 (en) * 2004-07-01 2007-08-14 Royal Appliance Mfg. Co. Hard floor cleaner
SE532299C2 (sv) * 2008-04-17 2009-12-08 Electrolux Ab Dammsugarmunstycke
US8312594B2 (en) * 2008-06-27 2012-11-20 Nilfisk-Advance, Inc. Carpet cleaning wand having uniform air flow distribution

Patent Citations (1)

* Cited by examiner, † Cited by third party
Publication number Priority date Publication date Assignee Title
CH271904A (de) 1947-05-17 1950-11-30 Electrolux Ab Staubsaugermundstück.

Also Published As

Publication number Publication date
EP2532292A3 (fr) 2017-08-23
DE102011077277A1 (de) 2012-12-13
EP2532292B1 (fr) 2021-12-15

Similar Documents

Publication Publication Date Title
DE60204753T2 (de) Wasserabstossender kotflügel für kraftfahrzeuge und dergleichen
EP3185741B1 (fr) Buse d'aspiration et aspiratuer pour surfaces dures
DE202011108345U1 (de) Staubsaugersaugeinrichtung
EP2449934A2 (fr) Agencement de buses d'aspiration pour un aspirateur de sol
DE102013021277A1 (de) Tragbares Hartflächenabsauggerät
EP2587977B1 (fr) Buse pour aspirateur
EP2531087A1 (fr) Dispositif de nettoyage manuel pour surfaces planes
DE102021203242B4 (de) Schmutzabscheider für einen Staubsauger
EP2532292B1 (fr) Buse d'aspiration et aspirateur
DE102015105060B4 (de) Reinigungsgerät, insbesondere Staubsauger oder Vorsatzgerät eines Staubsaugers
DE102012112532A1 (de) Upright-Staubsauger
DE4412988B4 (de) Düse für einen Staubsauger
EP1714734B1 (fr) Dispositif démontable d'aspiration de poussière pour outil, avec système d'admission coulissant
DE102023108163A1 (de) Unterwasserreiniger
DE102019125704A1 (de) Auswechselbarer Akkumulator
DE102011077265B4 (de) Saugdüse und Staubsauger
DE102011077275B4 (de) Saugdüse mit Balgen
EP3741276A1 (fr) Aspirateur destiné au nettoyage des sols
EP2659820B1 (fr) Cassette de filtre pour un aspirateur
WO2013144209A1 (fr) Dispositif de piégeage de poussière pour aspirateur
DE102019106215A1 (de) Vorsatzgerät für einen Staubsauger und Verfahren zum Ableiten einer elektrischen Aufladung bei Nutzung eines Staubsaugers mit einem Vorsatzgerät
DE2647504C3 (de) Saugmäherkopf für einen Schlegelgrasmäher
EP3298944B1 (fr) Buse de sol pour aspirateur et aspirateur
DE2914450B1 (de) Staubsammelbehaelter fuer Schleifboecke
DE202004021148U1 (de) Staubsauger-Saugvorrichtung

Legal Events

Date Code Title Description
PUAI Public reference made under article 153(3) epc to a published international application that has entered the european phase

Free format text: ORIGINAL CODE: 0009012

AK Designated contracting states

Kind code of ref document: A2

Designated state(s): AL AT BE BG CH CY CZ DE DK EE ES FI FR GB GR HR HU IE IS IT LI LT LU LV MC MK MT NL NO PL PT RO RS SE SI SK SM TR

AX Request for extension of the european patent

Extension state: BA ME

RAP1 Party data changed (applicant data changed or rights of an application transferred)

Owner name: BSH HAUSGERAETE GMBH

RIC1 Information provided on ipc code assigned before grant

Ipc: A47L 9/02 20060101AFI20170505BHEP

PUAL Search report despatched

Free format text: ORIGINAL CODE: 0009013

AK Designated contracting states

Kind code of ref document: A3

Designated state(s): AL AT BE BG CH CY CZ DE DK EE ES FI FR GB GR HR HU IE IS IT LI LT LU LV MC MK MT NL NO PL PT RO RS SE SI SK SM TR

AX Request for extension of the european patent

Extension state: BA ME

RIC1 Information provided on ipc code assigned before grant

Ipc: A47L 9/02 20060101AFI20170720BHEP

STAA Information on the status of an ep patent application or granted ep patent

Free format text: STATUS: REQUEST FOR EXAMINATION WAS MADE

17P Request for examination filed

Effective date: 20180223

RBV Designated contracting states (corrected)

Designated state(s): AL AT BE BG CH CY CZ DE DK EE ES FI FR GB GR HR HU IE IS IT LI LT LU LV MC MK MT NL NO PL PT RO RS SE SI SK SM TR

STAA Information on the status of an ep patent application or granted ep patent

Free format text: STATUS: EXAMINATION IS IN PROGRESS

17Q First examination report despatched

Effective date: 20200903

GRAP Despatch of communication of intention to grant a patent

Free format text: ORIGINAL CODE: EPIDOSNIGR1

STAA Information on the status of an ep patent application or granted ep patent

Free format text: STATUS: GRANT OF PATENT IS INTENDED

INTG Intention to grant announced

Effective date: 20210526

GRAJ Information related to disapproval of communication of intention to grant by the applicant or resumption of examination proceedings by the epo deleted

Free format text: ORIGINAL CODE: EPIDOSDIGR1

STAA Information on the status of an ep patent application or granted ep patent

Free format text: STATUS: EXAMINATION IS IN PROGRESS

GRAP Despatch of communication of intention to grant a patent

Free format text: ORIGINAL CODE: EPIDOSNIGR1

STAA Information on the status of an ep patent application or granted ep patent

Free format text: STATUS: GRANT OF PATENT IS INTENDED

INTC Intention to grant announced (deleted)
GRAJ Information related to disapproval of communication of intention to grant by the applicant or resumption of examination proceedings by the epo deleted

Free format text: ORIGINAL CODE: EPIDOSDIGR1

GRAP Despatch of communication of intention to grant a patent

Free format text: ORIGINAL CODE: EPIDOSNIGR1

GRAS Grant fee paid

Free format text: ORIGINAL CODE: EPIDOSNIGR3

INTG Intention to grant announced

Effective date: 20211012

GRAA (expected) grant

Free format text: ORIGINAL CODE: 0009210

STAA Information on the status of an ep patent application or granted ep patent

Free format text: STATUS: THE PATENT HAS BEEN GRANTED

INTG Intention to grant announced

Effective date: 20211026

AK Designated contracting states

Kind code of ref document: B1

Designated state(s): AL AT BE BG CH CY CZ DE DK EE ES FI FR GB GR HR HU IE IS IT LI LT LU LV MC MK MT NL NO PL PT RO RS SE SI SK SM TR

REG Reference to a national code

Ref country code: GB

Ref legal event code: FG4D

Free format text: NOT ENGLISH

Ref country code: CH

Ref legal event code: EP

REG Reference to a national code

Ref country code: IE

Ref legal event code: FG4D

Free format text: LANGUAGE OF EP DOCUMENT: GERMAN

Ref country code: DE

Ref legal event code: R096

Ref document number: 502012016957

Country of ref document: DE

REG Reference to a national code

Ref country code: AT

Ref legal event code: REF

Ref document number: 1454838

Country of ref document: AT

Kind code of ref document: T

Effective date: 20220115

REG Reference to a national code

Ref country code: LT

Ref legal event code: MG9D

REG Reference to a national code

Ref country code: NL

Ref legal event code: MP

Effective date: 20211215

PG25 Lapsed in a contracting state [announced via postgrant information from national office to epo]

Ref country code: RS

Free format text: LAPSE BECAUSE OF FAILURE TO SUBMIT A TRANSLATION OF THE DESCRIPTION OR TO PAY THE FEE WITHIN THE PRESCRIBED TIME-LIMIT

Effective date: 20211215

Ref country code: LT

Free format text: LAPSE BECAUSE OF FAILURE TO SUBMIT A TRANSLATION OF THE DESCRIPTION OR TO PAY THE FEE WITHIN THE PRESCRIBED TIME-LIMIT

Effective date: 20211215

Ref country code: FI

Free format text: LAPSE BECAUSE OF FAILURE TO SUBMIT A TRANSLATION OF THE DESCRIPTION OR TO PAY THE FEE WITHIN THE PRESCRIBED TIME-LIMIT

Effective date: 20211215

Ref country code: BG

Free format text: LAPSE BECAUSE OF FAILURE TO SUBMIT A TRANSLATION OF THE DESCRIPTION OR TO PAY THE FEE WITHIN THE PRESCRIBED TIME-LIMIT

Effective date: 20220315

PG25 Lapsed in a contracting state [announced via postgrant information from national office to epo]

Ref country code: SE

Free format text: LAPSE BECAUSE OF FAILURE TO SUBMIT A TRANSLATION OF THE DESCRIPTION OR TO PAY THE FEE WITHIN THE PRESCRIBED TIME-LIMIT

Effective date: 20211215

Ref country code: NO

Free format text: LAPSE BECAUSE OF FAILURE TO SUBMIT A TRANSLATION OF THE DESCRIPTION OR TO PAY THE FEE WITHIN THE PRESCRIBED TIME-LIMIT

Effective date: 20220315

Ref country code: LV

Free format text: LAPSE BECAUSE OF FAILURE TO SUBMIT A TRANSLATION OF THE DESCRIPTION OR TO PAY THE FEE WITHIN THE PRESCRIBED TIME-LIMIT

Effective date: 20211215

Ref country code: HR

Free format text: LAPSE BECAUSE OF FAILURE TO SUBMIT A TRANSLATION OF THE DESCRIPTION OR TO PAY THE FEE WITHIN THE PRESCRIBED TIME-LIMIT

Effective date: 20211215

Ref country code: GR

Free format text: LAPSE BECAUSE OF FAILURE TO SUBMIT A TRANSLATION OF THE DESCRIPTION OR TO PAY THE FEE WITHIN THE PRESCRIBED TIME-LIMIT

Effective date: 20220316

PG25 Lapsed in a contracting state [announced via postgrant information from national office to epo]

Ref country code: NL

Free format text: LAPSE BECAUSE OF FAILURE TO SUBMIT A TRANSLATION OF THE DESCRIPTION OR TO PAY THE FEE WITHIN THE PRESCRIBED TIME-LIMIT

Effective date: 20211215

PG25 Lapsed in a contracting state [announced via postgrant information from national office to epo]

Ref country code: SM

Free format text: LAPSE BECAUSE OF FAILURE TO SUBMIT A TRANSLATION OF THE DESCRIPTION OR TO PAY THE FEE WITHIN THE PRESCRIBED TIME-LIMIT

Effective date: 20211215

Ref country code: SK

Free format text: LAPSE BECAUSE OF FAILURE TO SUBMIT A TRANSLATION OF THE DESCRIPTION OR TO PAY THE FEE WITHIN THE PRESCRIBED TIME-LIMIT

Effective date: 20211215

Ref country code: RO

Free format text: LAPSE BECAUSE OF FAILURE TO SUBMIT A TRANSLATION OF THE DESCRIPTION OR TO PAY THE FEE WITHIN THE PRESCRIBED TIME-LIMIT

Effective date: 20211215

Ref country code: PT

Free format text: LAPSE BECAUSE OF FAILURE TO SUBMIT A TRANSLATION OF THE DESCRIPTION OR TO PAY THE FEE WITHIN THE PRESCRIBED TIME-LIMIT

Effective date: 20220418

Ref country code: ES

Free format text: LAPSE BECAUSE OF FAILURE TO SUBMIT A TRANSLATION OF THE DESCRIPTION OR TO PAY THE FEE WITHIN THE PRESCRIBED TIME-LIMIT

Effective date: 20211215

Ref country code: EE

Free format text: LAPSE BECAUSE OF FAILURE TO SUBMIT A TRANSLATION OF THE DESCRIPTION OR TO PAY THE FEE WITHIN THE PRESCRIBED TIME-LIMIT

Effective date: 20211215

Ref country code: CZ

Free format text: LAPSE BECAUSE OF FAILURE TO SUBMIT A TRANSLATION OF THE DESCRIPTION OR TO PAY THE FEE WITHIN THE PRESCRIBED TIME-LIMIT

Effective date: 20211215

PG25 Lapsed in a contracting state [announced via postgrant information from national office to epo]

Ref country code: PL

Free format text: LAPSE BECAUSE OF FAILURE TO SUBMIT A TRANSLATION OF THE DESCRIPTION OR TO PAY THE FEE WITHIN THE PRESCRIBED TIME-LIMIT

Effective date: 20211215

REG Reference to a national code

Ref country code: DE

Ref legal event code: R097

Ref document number: 502012016957

Country of ref document: DE

PG25 Lapsed in a contracting state [announced via postgrant information from national office to epo]

Ref country code: IS

Free format text: LAPSE BECAUSE OF FAILURE TO SUBMIT A TRANSLATION OF THE DESCRIPTION OR TO PAY THE FEE WITHIN THE PRESCRIBED TIME-LIMIT

Effective date: 20220415

PLBE No opposition filed within time limit

Free format text: ORIGINAL CODE: 0009261

STAA Information on the status of an ep patent application or granted ep patent

Free format text: STATUS: NO OPPOSITION FILED WITHIN TIME LIMIT

PG25 Lapsed in a contracting state [announced via postgrant information from national office to epo]

Ref country code: DK

Free format text: LAPSE BECAUSE OF FAILURE TO SUBMIT A TRANSLATION OF THE DESCRIPTION OR TO PAY THE FEE WITHIN THE PRESCRIBED TIME-LIMIT

Effective date: 20211215

Ref country code: AL

Free format text: LAPSE BECAUSE OF FAILURE TO SUBMIT A TRANSLATION OF THE DESCRIPTION OR TO PAY THE FEE WITHIN THE PRESCRIBED TIME-LIMIT

Effective date: 20211215

26N No opposition filed

Effective date: 20220916

PG25 Lapsed in a contracting state [announced via postgrant information from national office to epo]

Ref country code: SI

Free format text: LAPSE BECAUSE OF FAILURE TO SUBMIT A TRANSLATION OF THE DESCRIPTION OR TO PAY THE FEE WITHIN THE PRESCRIBED TIME-LIMIT

Effective date: 20211215

REG Reference to a national code

Ref country code: CH

Ref legal event code: PL

REG Reference to a national code

Ref country code: BE

Ref legal event code: MM

Effective date: 20220531

PG25 Lapsed in a contracting state [announced via postgrant information from national office to epo]

Ref country code: MC

Free format text: LAPSE BECAUSE OF FAILURE TO SUBMIT A TRANSLATION OF THE DESCRIPTION OR TO PAY THE FEE WITHIN THE PRESCRIBED TIME-LIMIT

Effective date: 20211215

Ref country code: LU

Free format text: LAPSE BECAUSE OF NON-PAYMENT OF DUE FEES

Effective date: 20220531

Ref country code: LI

Free format text: LAPSE BECAUSE OF NON-PAYMENT OF DUE FEES

Effective date: 20220531

Ref country code: CH

Free format text: LAPSE BECAUSE OF NON-PAYMENT OF DUE FEES

Effective date: 20220531

PG25 Lapsed in a contracting state [announced via postgrant information from national office to epo]

Ref country code: IE

Free format text: LAPSE BECAUSE OF NON-PAYMENT OF DUE FEES

Effective date: 20220531

PG25 Lapsed in a contracting state [announced via postgrant information from national office to epo]

Ref country code: IT

Free format text: LAPSE BECAUSE OF FAILURE TO SUBMIT A TRANSLATION OF THE DESCRIPTION OR TO PAY THE FEE WITHIN THE PRESCRIBED TIME-LIMIT

Effective date: 20211215

Ref country code: BE

Free format text: LAPSE BECAUSE OF NON-PAYMENT OF DUE FEES

Effective date: 20220531

REG Reference to a national code

Ref country code: AT

Ref legal event code: MM01

Ref document number: 1454838

Country of ref document: AT

Kind code of ref document: T

Effective date: 20220531

PG25 Lapsed in a contracting state [announced via postgrant information from national office to epo]

Ref country code: AT

Free format text: LAPSE BECAUSE OF NON-PAYMENT OF DUE FEES

Effective date: 20220531

PGFP Annual fee paid to national office [announced via postgrant information from national office to epo]

Ref country code: FR

Payment date: 20230517

Year of fee payment: 12

Ref country code: DE

Payment date: 20230531

Year of fee payment: 12

PGFP Annual fee paid to national office [announced via postgrant information from national office to epo]

Ref country code: GB

Payment date: 20230522

Year of fee payment: 12

PG25 Lapsed in a contracting state [announced via postgrant information from national office to epo]

Ref country code: HU

Free format text: LAPSE BECAUSE OF FAILURE TO SUBMIT A TRANSLATION OF THE DESCRIPTION OR TO PAY THE FEE WITHIN THE PRESCRIBED TIME-LIMIT; INVALID AB INITIO

Effective date: 20120531

PG25 Lapsed in a contracting state [announced via postgrant information from national office to epo]

Ref country code: MK

Free format text: LAPSE BECAUSE OF FAILURE TO SUBMIT A TRANSLATION OF THE DESCRIPTION OR TO PAY THE FEE WITHIN THE PRESCRIBED TIME-LIMIT

Effective date: 20211215

Ref country code: CY

Free format text: LAPSE BECAUSE OF FAILURE TO SUBMIT A TRANSLATION OF THE DESCRIPTION OR TO PAY THE FEE WITHIN THE PRESCRIBED TIME-LIMIT

Effective date: 20211215

PG25 Lapsed in a contracting state [announced via postgrant information from national office to epo]

Ref country code: MT

Free format text: LAPSE BECAUSE OF FAILURE TO SUBMIT A TRANSLATION OF THE DESCRIPTION OR TO PAY THE FEE WITHIN THE PRESCRIBED TIME-LIMIT

Effective date: 20211215

REG Reference to a national code

Ref country code: DE

Ref legal event code: R119

Ref document number: 502012016957

Country of ref document: DE

GBPC Gb: european patent ceased through non-payment of renewal fee

Effective date: 20240531

PG25 Lapsed in a contracting state [announced via postgrant information from national office to epo]

Ref country code: DE

Free format text: LAPSE BECAUSE OF NON-PAYMENT OF DUE FEES

Effective date: 20241203

PG25 Lapsed in a contracting state [announced via postgrant information from national office to epo]

Ref country code: FR

Free format text: LAPSE BECAUSE OF NON-PAYMENT OF DUE FEES

Effective date: 20240531

PG25 Lapsed in a contracting state [announced via postgrant information from national office to epo]

Ref country code: GB

Free format text: LAPSE BECAUSE OF NON-PAYMENT OF DUE FEES

Effective date: 20240531

PG25 Lapsed in a contracting state [announced via postgrant information from national office to epo]

Ref country code: TR

Free format text: LAPSE BECAUSE OF FAILURE TO SUBMIT A TRANSLATION OF THE DESCRIPTION OR TO PAY THE FEE WITHIN THE PRESCRIBED TIME-LIMIT

Effective date: 20211215