EP2477419B1 - Wireless communication device, wireless communication method and computer program - Google Patents
Wireless communication device, wireless communication method and computer program Download PDFInfo
- Publication number
- EP2477419B1 EP2477419B1 EP10815233.1A EP10815233A EP2477419B1 EP 2477419 B1 EP2477419 B1 EP 2477419B1 EP 10815233 A EP10815233 A EP 10815233A EP 2477419 B1 EP2477419 B1 EP 2477419B1
- Authority
- EP
- European Patent Office
- Prior art keywords
- client terminal
- wireless communication
- location
- information
- server
- Prior art date
- Legal status (The legal status is an assumption and is not a legal conclusion. Google has not performed a legal analysis and makes no representation as to the accuracy of the status listed.)
- Not-in-force
Links
Images
Classifications
-
- H—ELECTRICITY
- H04—ELECTRIC COMMUNICATION TECHNIQUE
- H04W—WIRELESS COMMUNICATION NETWORKS
- H04W48/00—Access restriction; Network selection; Access point selection
- H04W48/16—Discovering, processing access restriction or access information
-
- H—ELECTRICITY
- H04—ELECTRIC COMMUNICATION TECHNIQUE
- H04W—WIRELESS COMMUNICATION NETWORKS
- H04W52/00—Power management, e.g. Transmission Power Control [TPC] or power classes
- H04W52/02—Power saving arrangements
- H04W52/0209—Power saving arrangements in terminal devices
- H04W52/0251—Power saving arrangements in terminal devices using monitoring of local events, e.g. events related to user activity
- H04W52/0258—Power saving arrangements in terminal devices using monitoring of local events, e.g. events related to user activity controlling an operation mode according to history or models of usage information, e.g. activity schedule or time of day
-
- H—ELECTRICITY
- H04—ELECTRIC COMMUNICATION TECHNIQUE
- H04W—WIRELESS COMMUNICATION NETWORKS
- H04W64/00—Locating users or terminals or network equipment for network management purposes, e.g. mobility management
-
- Y—GENERAL TAGGING OF NEW TECHNOLOGICAL DEVELOPMENTS; GENERAL TAGGING OF CROSS-SECTIONAL TECHNOLOGIES SPANNING OVER SEVERAL SECTIONS OF THE IPC; TECHNICAL SUBJECTS COVERED BY FORMER USPC CROSS-REFERENCE ART COLLECTIONS [XRACs] AND DIGESTS
- Y02—TECHNOLOGIES OR APPLICATIONS FOR MITIGATION OR ADAPTATION AGAINST CLIMATE CHANGE
- Y02D—CLIMATE CHANGE MITIGATION TECHNOLOGIES IN INFORMATION AND COMMUNICATION TECHNOLOGIES [ICT], I.E. INFORMATION AND COMMUNICATION TECHNOLOGIES AIMING AT THE REDUCTION OF THEIR OWN ENERGY USE
- Y02D30/00—Reducing energy consumption in communication networks
- Y02D30/70—Reducing energy consumption in communication networks in wireless communication networks
Definitions
- the present invention relates to an information providing apparatus and information providing method for providing information for performing transfer of information and synchronous processing with a server to be connected to a network via a base station or access point to a client terminal, and a wireless communication apparatus and wireless communication method, a computer program, and a wireless communication system for performing transfer of information, and synchronous processing with a server by connecting to a network via a base station or access point, and more particularly relates to an information providing apparatus and information providing method for providing information for performing transfer of information and synchronous processing with a server to a client terminal while reducing power consumption in an offline state where the server is not connected to a base station or access point, and a wireless communication apparatus and wireless communication method, a computer program, and a wireless communication system for performing transfer of information, and synchronous processing with a server while reducing power consumption in an offline state where the server is not connected to a base station or access point.
- Wireless communication has been used as a technique for eliminating load of wiring work in conventional cable communication, and further realizing mobile communications.
- a wireless LAN Local Area Network
- IEEE The Institute of Electrical and Electronics Engineers 802.11 or the like
- a broadband Internet connection service employing a wireless LAN, of which a "hot spot (registered trademark)" is representative, is coming into common use.
- a base station or access point is installed in a cafe, hotel, fast-food shop, train station, airport, or the like, and a service area where the Internet is available is provided.
- a user can receive a service such as IP (Internet Protocol) phone or access to WWW (World Wide Web) information space, or the like even when away from the home or office. Therefore, many information devices serving as a client terminal have often been equipped with a wireless LAN function.
- IP Internet Protocol
- a wireless communication system made up of a server and client terminals
- transfer of information or synchronous processing is mutually performed.
- client terminals are battery-driven mobile terminals such as cellular phones or PDAs (Personal Digital Assistants) or the like, and accordingly, it is desirable to realize energy saving by shutting down transmitters/receivers when unnecessary.
- inactivating the communication function when out of service improves the effects of power saving.
- Known examples include a function for manually turning just the function of a communication system to an off mode, and a function for prolonging the sensing interval as to a base station on a step-by-step basis.
- a wireless LAN scan operation for confirming a network existing in the current location is needed.
- scan procedures There are two types of scan procedures; active scan and passive scan.
- active scan a client terminal periodically transmits a probe request frame to sense an access point.
- passive scan a client terminal repeats an awake mode for activating a reception state only at the time of reception of a beacon frame from the access point, and a sleep mode for inactivating a reception state without performing transmission by itself.
- passive scan the transmitter/receiver is suspended under the sleep mode, and accordingly, battery consumption can be suppressed.
- the reception circuit has to periodically operate for reception of a beacon, and accordingly, the operation of the transmitter/receiver is not completely suspended. Also, a user performs switching of the operation mode of the wireless LAN function manually or using a timer or the like, which is poor in practicality in the same way as described above.
- a situation can be prevented such as loss of synchronous data, partial synchronous processing of data, or the like, by determining whether or not to perform synchronous processing using the value of received field strength (e.g., see PTL 1).
- the received field strength has to be obtained in preparation for the synchronous processing, and the communication function has to constantly operate even in an offline state, and consequently, power consumption increases.
- the communication function of the terminal needs to operate for the information terminal monitoring the communication load of the network, and consequently, power consumption increases.
- US 2005/0125148 A1 describes a vehicle operator destination prediction by using vehicle position data for the vehicle.
- the vehicle position data for the current trip is compared to vehicle position data for a previous trip to predict a destination for the vehicle.
- US 6 597 906 B1 describes a procedure where a base station informs mobile devices in its cell when they might reach an out-of coverage area and when they might be back under coverage.
- Fig. 1 schematically illustrates the configuration of a communication system according to an embodiment of the present invention.
- transfer of information and synchronization are mutually performed between a server and a client terminal.
- the network of the illustrated communication system is made up of a wired communication unit to be connected with a wired cable, and a wireless communication unit to be connected by radio wave communication.
- the wired communication unit is configured of a wired network such as an optical fiber or ADSL (Asymmetric Digital Subscriber Line) or the like.
- the wireless communication unit is configured of a wireless network such as WiFi, W-CDMA (Wideband-Code Division Multiple Access), LTE (Long Term Evolution), WiMAX (Worldwide interoperability for Microwave Access) or the like, for example.
- the wireless communication unit can be connected via a base station or access point.
- a server is connected to the wired communication unit.
- Fig. 1 though only one server is drawn to simplify the drawing, multiple severs can be installed.
- the server holds all of the data of multiple users, and performs processing with multiple client terminals, such as transfer of information, synchronization, or the like.
- the client terminals are connected to the communication system using either the wired communication unit or the wireless communication unit.
- a client terminal B which a user B possesses, and a client terminal C which a user C possesses are each connected to the communication system using the wired communication unit.
- a client terminal A which a user A possesses, and a client terminal D which a user D possesses are each connected to the wireless communication unit via a nearest base station or access point (AP).
- the service area of each base station or access point is an "online area" where the client terminals A and D turn to an online state. Also, with an area other than the service area of either a base station or access point, the client terminals A and D turn to an offline state, and this area is equivalent to an "offline area".
- New information is transferred from the server to the client terminals A through D.
- the client terminals A through D perform synchronous processing with the server, and save necessary data in a storage device such as an own local disk or the like.
- a user's entire data is saved in the server, whereby the user can confirm his/her data in possession in the same way when logging into any client terminal.
- the client terminals A and D are battery-driven mobile terminals, and it is desirable for the client terminals A and D to realize power saving by suspending the transmission/receiver when not needed, such as an offline state where the client terminals A and D are not housed in any service area.
- a client terminal to be connected to the server will be connected to the wireless communication unit via a base station or access point.
- the client terminal transmits sensor information used for location recognition extracted from a mounted sensor, to the server (see Fig. 2 ).
- the sensor information include sensor information for estimating the location information of a client terminal such as location information measured based on GPS (Global Positioning System) received radio waves, received signal strength information (RSSI: Receiving Signal Strength Indicator) of a WiFi base station, acceleration information measured by an acceleration sensor, or the like, or sensor information for estimating the mobile state of a client terminal such as an acceleration sensor, image recognizing apparatus, or the like.
- GPS Global Positioning System
- RSSI Receiving Signal Strength Indicator
- the server has a communication information database which saves the communication information transmitted from multiple client terminals in the past, and recognizes the communication states of multiple wireless systems as to time and a location, i.e., recognizes a location registration map of the service area of each scattering access point, the transfer rate or radio wave strength within each service area, and so forth as the communication information. Also, the server includes a contents analyzing algorithm, a movement predicting algorithm, and a communication predicting algorithm.
- the server estimates, based on the sensor information received from a client terminal, the current location or mobile state of the client terminal.
- the server analyzes the contents of a private content (text information such as schedule, E-mail, and memo pad, or photographed image information or the like) of the client terminal internally saved as the database based on the contents analyzing algorithm, compares this analysis result with the estimated current location or mobile state of the client terminal, thereby performing the action prediction of the client terminal, i.e., the prediction of a destination to which the client terminal will move from now on.
- the server calculates a movement route of the client terminal from the current location to the destination, based on the movement predicting algorithm.
- the server compares the predicted movement prediction information (destination, movement route) with the communication information such as the received radio wave strength of each access point, and so forth based on the movement predicting algorithm, thereby determining the future communication information of the client terminal, i.e., the connection disabled state and connection condition of the client terminal over the movement route.
- the connection disabled state is equivalent to that the client terminal is in an offline area where the client terminal cannot connect to any base station or access point.
- the connection condition is equivalent to that the client terminal moves to an online area where the client terminal can be connected to any base station or access point.
- the server predicts the connection disabled state and connectable condition of the client terminal, and transmits communication prediction information including these information before the client terminal turns to a connection disabled state (see Fig. 3 ). Specifically, the server calculates, as the connection disable state, an offline predicted location or offline predicted time wherein the client terminal will reach the offline area. Also, the server calculates, as the connectable condition, an online return predicted location or online return predicted time wherein the client terminal passes through the offline area and returns to the online area. Also, the server suspends connection with the client terminal predicted to be in a connection disabled state until the connection condition is satisfied. However, even in the event that the connection condition is not satisfied, when another predetermined condition is satisfied, the server may release suspension of connection with the client terminal to attempt connection with the client terminal (later described).
- the client terminal compares the current location recognized by the own location recognizing means such as its holding GPS, WiFi, acceleration sensor, or the like, or the current point-in-time recognized by the own time recognizing means with the offline predicted location or predicted time informed from the server. The client terminal then suspends the communication function when reaching a connection disabled state, i.e., the offline area.
- the client terminal indicates notation during a period of autonomously suspending the communication function in the offline area whereby it can be found that the communication function has been suspended by the present system.
- Fig. 4 illustrates a scene where an icon indicating the offline state (OFF) is displayed on the upper right of a GUI (Graphical User Interface) screen of the client terminal.
- the client terminal When the connectable condition is satisfied, the client terminal then restores the communication function being suspended. Specifically, the client terminal compares the current location by the location recognizing means or the current point-in-time by the time recognizing means, held by itself with the online return predicted location or predicted time informed from the server, and restores the communication function being suspended when reaching the online area. Also, even in the event that the communicable condition is unsatisfied, when another predetermined condition is satisfied, the client may release suspension of the communication function to attempt connection with the server (later described).
- the offline area is an area where, due to a cause in that a client terminal is out of service from all service areas, the client terminal cannot communicate with the server.
- the offline predicted location is a location where the client terminal is predicted to arrive at the offline area over the movement route of the client terminal, and is calculated from a result of comparing the predicted movement route of the client terminal, and the location registration map of base stations and access points saved in the communication information database.
- the offline predicted time is point-in-time when the client terminal which is moving in accordance with the movement route is predicted to reach the offline area, and is calculated from the offline predicted location, and distance calculated from the movement route from the current location, and the moving speed of the client terminal.
- the online area is an area where the client terminal exists within any service area, and the client terminal can communicate with the server.
- the online return predicted location is a location where the client terminal is predicted to arrive the online area again over the movement route of the client terminal, and is calculated from a result of comparing the predicted movement route of the client terminal, and the location registration map of base stations and access points saved in the communication information database.
- the online return predicted time is point-in-time when the client terminal which is moving in accordance with the movement route is predicted to reach the online area, and is calculated from the online return predicted location, and distance calculated from the movement route from the current location, and the moving speed of the client terminal.
- to suspend the communication function of the client terminal means to suspend supply of power to the transmitter/receiver without performing even the intermittent reception that is performed in the power saving mode at the time of normal passive scan. Accordingly, with the present embodiment, the client terminal can reduce power consumption without performing intermittent reception in the offline area.
- an offline area and an online area based on the prediction result of the server will be referred to as “offline predicted area” and “online predicted area” respectively
- a location and point-in-time wherein the client terminal reaches the offline predicted area will be referred to as “offline predicted location” and “offline predicted point-in-time” respectively
- a location and point-in-time wherein the client terminal reaches the online predicted area will be referred to as “online return predicted location” and “online return predicted time” respectively.
- FIG. 5 and Fig. 6 illustrates an operation example wherein the client terminal controls the own communication function based on the communication prediction information informed from the server.
- Fig. 7 illustrates an operation example wherein the client terminal controls the communication function with no notification of the communication information from the server in contrast with Fig. 5 and Fig. 6 .
- the server has informed the offline predicted location and online return predicted location to the client terminal as communication prediction information.
- the client terminal compares the current location recognized by location recognizing means which it itself possesses with the informed offline predicted location. The client terminal then suspends the communication function when the current location reaches the offline predicted location. In a state in which the communication function is suspended, supply of power to the transmitter/receiver is suspended as illustrated in the drawing.
- the client terminal With the power saving mode at the time of normal passive scan, intermittent reception of a beacon is performed even in a state in which not communication is performed.
- the client terminal does not perform even intermittent reception after suspending the communication function, and accordingly, the effect of power saving is high.
- the client terminal compares, in an offline state, the current location recognized by the location recognizing means which it itself possesses with the informed online return predicted location. The client terminal then restores the communication function when the current location reaches the online return predicted location.
- the location recognizing means which the client terminal possesses can measure the current location information based on, for example, GPS received radio waves, the received radio wave strength (RSSI) of a WiFi base station, the integrated result of the acceleration information of an acceleration sensor, or the like.
- RSSI received radio wave strength
- “PlaceEngine (registered trademark)” has been known as a technique for obtaining the power measurement information from a WiFi access point located on the periphery to measure the current location in real time.
- the mobile state of the client terminal can be estimated based on the acceleration information measured by an acceleration sensor, the image recognition result by an image recognizing device, or the like.
- the client terminal can more accurately perform control of the communication function in the event of finely obtaining location information using the location recognizing means.
- the client terminal arrives at the offline predicted location prior to the actual offline area, and arrives at the online return predicted location prior to the actual online return location.
- the server has informed the offline predicted time and online return predicted time to the client terminal as the communication prediction information.
- the client terminal compares the current point-in-time recognized by time recognizing means which it itself possesses with the informed offline predicted time. Upon the current point-in-time reaching the offline predicted time, the client terminal then suspends the communication function. In a state in which the communication function has been suspended, the client terminal suspends supply of power to the transmitter/receiver as illustrated in the drawing. With the present embodiment, the client terminal does not perform even intermittent reception after suspending the communication function, and accordingly, the effect of power saving is high as compared to the power saving mode at the time of normal passive scan, or the like (the same as above).
- the client terminal compares, in an offline state, the current point-in-time recognized by time recognizing means which it itself possesses with the online return predicted time. Upon the current point-in-time reaching the online return predicted time, the client terminal then restores the communication function.
- the server does not inform the communication prediction information relating to the predicted location and predicted time relating to arrival to the offline area, and return to the online area to the client terminal at all.
- the client terminal successively performs intermittent beacon reception operation in the power saving mode at the time of passive scan while suspending transmission operation. That is to say, even when arriving at the offline area, the power consumption of the client terminal does not peculiarly decrease.
- control has to be performed using the time recognizing means alone as illustrated in Fig. 6 .
- Fig. 8A and Fig. 8B illustrate a processing procedure that the server and client terminal execute respectively for realizing the operations illustrated in Fig. 5 and Fig. 6 , in a flowchart format.
- the client terminal basically performs determination of the own offline state/online state using the communication prediction information received from the server.
- the client terminal transmits sensor information used for location recognition extracted from a mounted sensor to the server (step S12).
- the client terminal transmits the sensor information to the server with relatively high frequency.
- the server Upon receiving the above sensor information from the client terminal, the server determines or estimates the current location of each client terminal based on the sensor information saved in the sensor information database (step S1).
- the server analyzes the contents of a private content (text information such as schedule, E-mail, memo pad, or the like, or photographed image information, or the like) of a client terminal saved in a private content database (described later) based on the contents analyzing algorithm to perform prediction of a destination where the client terminal will move from now on (step S2).
- a private content text information such as schedule, E-mail, memo pad, or the like, or photographed image information, or the like
- the server calculates the movement route of the client terminal from the current location determined or estimated from the sensor information to the above predicted destination based on the movement predicting algorithm (step S3).
- the server includes a communication information database which saves the communication information transmitted from multiple client terminals in the past, and recognizes the communication states of multiple wireless systems as to time and a location, i.e., the transfer rate, radio wave strength, and so forth within the service area of each scattering access point (described above).
- the server Upon obtaining the movement route of the client terminal by step S3, the server further predicts the future communication information of the client terminal based on the communication predicting algorithm. Specifically, the server compares the predicted movement prediction information (destination, movement route) with the communication information such as the received radio wave strength of each access point, or the like, thereby determining whether or not there is an offline area over the predicted movement route (step S4).
- the server calculates the offline predicted location or offline predicted time, and online return predicted location or online return predicted time of the client terminal (step S5), and transmits these calculated information to the client terminal as the communication prediction information (step S6).
- the offline predicted location is calculated from a result of comparing the movement route of the client terminal predicted by the server with the location registration map of base stations and access points held by the server.
- the offline predicted time is calculated from distance calculated from the offline predicted location and the movement route from the current location, and the moving speed of the client terminal.
- the client terminal transmits the sensor information used for location recognition to the server with relatively high frequency (described above), and the communication prediction information is also transmitted from the server with high frequency (step S6).
- the client terminal can estimate that the current location has reached the offline predicted location, or the current point-in-time is the offline predicted point-in-time, at the instant of receiving the communication prediction information from the server.
- the client terminal suspends the communication function (step S13).
- the server side may also suspend connection with the client terminal predicted to be in an offline state.
- the client terminal Upon suspending the communication function, the client terminal does not perform even intermittent reception to be performed in the power saving mode at the time of normal passive scan, and accordingly, power consumption can be reduced (see Fig. 5 and Fig. 6 ).
- the client terminal compares, in an offline state, the current location according to the location recognizing means which it itself possesses, or the current point-in-time according to the time recognizing means with the online return predicted location or online return predicted time informed from the server (step S14), holds the offline state until the current location or current point-in-time reaches the online return predicted location or online return predicted time, and continuously suspends the communication function.
- step S14 the client terminal restores the communication function being suspended (step S16).
- step S16 when predicting that the client terminal returns to an online state, the server side also resumes connection with the client.
- the online return predicted location is calculated from a result of comparing the movement route of the client terminal predicted by the server with the location registration map of base stations and access points held by the server.
- the online return predicted time is calculated from the online return predicted location, the distance calculated from the movement route from the current location, and the moving speed of the client terminal.
- step S16 restores the communication function being suspended (step S16).
- a case can be given wherein difference between the online return predicted location or online return predicted time predicted by the server, and the current location or current point-in-time actually measured by the client terminal is equal to or greater than a stipulated value. That is because in the case that such a phenomenon occurs, the probability that the movement prediction or communication prediction of the client terminal by the server was an error is high, the client terminal is also estimated to have encountered the online area, and accordingly, early return to the online state should be attempted.
- the user may be included as a particular condition that the user has instructed return to the online state using manual operations. This is because, even if the client terminal is predicted to be in an offline area by a collaborative operation between the server and the client terminal, the user may detect that the current location is in the online area, and accordingly, the user's determination has to be respected.
- the client terminal performs control of the communication function depending on the communication prediction information alone from the server instead of the own sensor information, even if a notification of the sensor information by the client terminal, and a notification of the communication prediction information from the server are performed with relatively high frequency, there is concern that there is error between the current location or time and the communication prediction information. Accordingly, it can be conceived that it is desirable for the client terminal side to have an arrangement to return from the offline state to the online state, as with step S15.
- the client terminal After restoring the communication function (step S16), the client terminal checks whether to have been able to return to the online state, i.e., whether to have been able to connect to the nearest base station or access point (step S17).
- the client terminal determines whether to be in an online state depending on the communication prediction information from the server instead of the own sensor information, in reality there may be a case where the client terminal has not reached the offline area yet, and accordingly cannot return to the online state. Therefore, in the event that the client terminal is not able to return to the online state yet (No in step S17), the client terminal temporarily suspends the communication function (step S18) to avoid consumption of wasteful power. Note that the server side may also suspend connection with the client terminal predicted to be in an offline state.
- the client terminal resumes connection with the server (step S19).
- the client terminal then connects to the server to perform processing such as transfer of information, synchronization, or the like.
- the server side also resumes connection with the client when predicting that the client terminal will return to the online state.
- the client terminal returns to step S12, and transmits the sensor information to the server with predetermined frequency.
- Fig. 9A and Fig. 9B illustrate another example of a processing procedure that the server and client terminal execute respectively for realizing the operations illustrated in Fig. 5 and Fig. 6 , in a flowchart format.
- the client terminal receives the communication prediction information from the server, it itself also includes a communication information database, and can accurately recognize the location information of the offline area and online area based on the own location recognizing means.
- the client terminal Upon the user having logged into the client terminal (step S31), the client terminal obtains sensor information used for location recognition from the mounted sensor to transmit to the server with relatively low frequency (step S32).
- the server determines or estimates the current location of each client terminal based on the sensor information saved in the sensor information database (step S21).
- the server analyzes the contents of a private content (text information such as schedule, E-mail, memo pad, or the like, or photographed image information, or the like) of a client terminal saved in a private content database (described later) based on the contents analyzing algorithm to perform prediction of a destination where the client terminal will move from now on (step S22).
- a private content text information such as schedule, E-mail, memo pad, or the like, or photographed image information, or the like
- the server calculates the movement route of the client terminal from the current location determined or estimated from the sensor information to the above predicted destination based on the movement predicting algorithm (step S23).
- the server includes a communication information database which saves the communication information transmitted from multiple client terminals in the past, and recognizes the communication states of multiple wireless systems as to time and a location, i.e., the transfer rate, radio wave strength, and so forth within the service area of each scattering access point (described above).
- the server Upon obtaining the movement route of the client terminal by step S23, the server further predicts the future communication information of the client terminal based on the communication predicting algorithm. Specifically, the server compares the predicted movement prediction information (destination, movement route) with the communication information such as the received radio wave strength of each access point or the like, thereby determining whether or not there is an offline area over the predicted movement route (step S24).
- the server calculates the offline predicted location or offline predicted time, and online return predicted location or online return predicted time of the client terminal (step S25), and transmits these calculated information to the client terminal as the communication prediction information (step S26).
- the client terminal transmits the sensor information used for location recognition to the server with relatively low frequency (described above), and the communication prediction information is also transmitted from the server with low frequency (step S26).
- the client terminal Upon receiving the communication prediction information including these predicted location or predicted time from the server, the client terminal compares the current location recognized by the location recognizing means such as a GPS, WiFi, acceleration sensor, or the like which it itself holds, or the current point-in-time recognized by the time recognizing means with the offline predicted location or predicted time informed from the server. Upon reaching the offline predicted area, the client terminal then suspends the communication function (step S33).
- the location recognizing means such as a GPS, WiFi, acceleration sensor, or the like which it itself holds, or the current point-in-time recognized by the time recognizing means with the offline predicted location or predicted time informed from the server.
- the client terminal refers for the current location according to the location recognizing means which it itself holds to the own communication information database (step S34) to check whether to come closer to the offline area (step S35).
- the client terminal suspends the communication function (step S36).
- the server side may also suspend connection with a client terminal predicted to be in an offline state.
- the client terminal Upon suspending the communication function, the client terminal does not perform even intermittent reception to be performed in the power saving mode at the time of normal passive scan, and accordingly, power consumption can be reduced (see Fig. 5 and Fig. 6 ).
- the client terminal refers, in an offline state, for the current location according to the location recognizing means which it itself possesses to the own communication information database to check whether to come closer to the online area (step S37). Upon coming closer to the online area (Yes in step S37), the client terminal restores the communication function being suspended (step S38). At this time, the server side also resumes connection with the client when predicting that the client terminal will return to the online state.
- the client terminal can accurately recognize the location information of the offline area and online area based on the own location recognizing means (described above), and accordingly, in contrast to the processing procedure illustrated in Fig. 8A and Fig. 8B , there is no need to restore the communication function in response to a particular condition being satisfied, or to temporarily suspend the communication function by recognizing an offline state after restoring the communication function.
- the client terminal Upon restoring the communication function, the client terminal connects to the server to perform processing such as transfer of information, synchronization, or the like. Thereafter, the client terminal returns to step S32, and transmits the sensor information to the server with predetermined frequency.
- Fig. 10 illustrates a configuration example of information equipment which operates as a user's client terminal such as a cellular phone.
- client terminal such as a cellular phone.
- this client terminal is a battery-driven terminal.
- a CPU (Central Processing Unit) 1001 controls the operation of each unit to execute various types of processing in accordance with the program stored in ROM (Read Only Memory) 1002, or the program loaded to RAM (Random Access Memory) 1003 from a storage unit 1004. Data necessary for executing various types of processing, and so forth are also stored in the RAM 1003 as appropriate.
- ROM Read Only Memory
- RAM Random Access Memory
- the CPU 1001, ROM 1002, and RAM 1003 are mutually connected via a bus 1005. Also, the bus 1005 is connected to the storage unit 1004, a cellular phone transmission/reception unit 1006, a wireless LAN communication unit 1007, an operating unit 1008, an LED 1009, a vibrator 1010, an audio input/output control unit 1011, a microphone 1012, an audio input/output control unit 1013, a display 1014, an imaging unit 1015, a sensor group 1016, an internal clock unit 1017, and a noncontact IC module 1018. With this information equipment, a moving image or still image can be taken using the imaging unit 1015.
- the cellular phone transmission/reception unit 1006 can operate as a cellular wireless transmitter/receiver which completely functions, in accordance with an optional known standard including a standard such as, for example, W-CDMA, LTE, or the like.
- the wireless LAN communication unit 1007 can operate in accordance with a typical wireless LAN standard such as WiFi, WiMAX, or the like. With the present embodiment, let us say that the wireless LAN communication unit 1007 can completely suspend the communication function in accordance with the command from the CPU 1001 in addition to performing intermittent reception operation under the power saving mode at the time of passive scan.
- a typical wireless LAN standard such as WiFi, WiMAX, or the like.
- the operating unit 1008 is configured of buttons, a jog dial, and so forth, and accepts the operations from the user. Examples of user operations include text input such as E-mail creation, schedule entry, and so forth in addition to phone number input, and various settings.
- the LED 1009 is emitted to direct the user's attention to this information equipment at the time of presenting information to the user, for example. Also, the vibrator 1010 adds vibration to this equipment body for directing the user's attention thereto at the time of an incoming call or the like, for example.
- the microphone 1012 converts the user's voice into electric audio signals
- the speaker 1013 converts the audio signals into audible signals whereby the user can listen to these.
- the audio input/output control unit 1011 supplies basic analog output signals to the speaker 1013, and also receives analog audio input from the microphone 1012.
- the display 1014 allows the operator to view a numeric dialed by the operator, an image, a call-up situation, menu options, and other service information at the time of using this equipment as a common cellular phone. Also, at the time of taking an image using the imaging unit 1015, this display 1014 can be used for display/playing output of a through image or shot image.
- the imaging unit 1015 includes an optical system, an image sensor, and an image processor (neither is illustrated).
- the optical system is made up of a single lens or multiple lenses, and the image sensor captures an image formed by the optical system.
- the image processor processes the compressed image data or RAW image data captured by the image sensor for storage to the storage unit 1004, output to the display 1014, or transmission according to the cellular phone transmission/reception unit 1006 or wireless LAN communication unit 1007.
- An imaged image according to the imaging unit 1015 is a private content. Also, an imaged image according to the imaging unit 1015 is subjected to image recognition, whereby this image can be sensor information for estimating the mobile state of this client terminal.
- the sensor group 1016 includes one or more sensors whereby sensor information that can be used for location recognition can be obtained.
- sensors include a GPS module, an acceleration sensor module, and a geomagnetic sensor module.
- the internal clock unit 1017 supplies point-in-time information such as the current point-in-time to the system.
- the arrival of the offline predicted time and online return predicted time can be estimated based on the point-in-time information clocked by the internal clock unit 1017.
- noncontact IC module 1018 includes a proximity-type IC module conforming to ISO/IEC 14443 such as FeliCa (registered trademark) or the like, and can be used for authentication processing or accounting processing. Traffic history and purchase history can be obtained from the noncontact IC module 1018.
- the information equipment when the information equipment (see Fig. 10 ) operates as a client terminal, in order to realize a collaborative operation with the server as illustrated in Fig. 5 and Fig. 6 , the information equipment includes a function for transmitting a private content or sensor information to the server.
- Fig. 11 schematically illustrates a functional configuration for a client terminal transmitting a private content or sensor information.
- Examples of a private content includes E-mail history, schedule history, memo history, and so forth processed through an application such as E-mail software, scheduler, memo pad, or the like, executed by the CPU 1001.
- a user's login ID, login time and date, login location, logoff time and date, logoff location, transportation system history, image information taken by the imaging unit 1015, accounting information such as purchase history or transportation system history or the like performed by the noncontact IC module 1018, and action history such as the operation history of various types of equipment may be included in private contents.
- These private contents are stored in the storage unit 1004, and are transferred to the server at optional timing serving as the online state of a client terminal.
- the sensor information is sensor information measured by the sensor group 1016, and includes one or more pieces of information that can be used for location recognition.
- the sensor information include location information obtained by the GPS module, acceleration information obtained by the acceleration sensor module, and geomagnetic information obtained by the geomagnetic sensor module.
- the operation history that the user has performed as to the operating unit 1008, the point-in-time information clocked by the internal clock unit 1017 may be included in the sensor information.
- sensor information for estimating the mobile state of a client terminal such as the image recognition results of an imaged image according to the acceleration sensor or imaging unit 1015 may be included.
- the communication information such as transfer rate, received radio wave strength, and so forth can be used for location recognition. Therefore, the transfer rate obtained by the antenna module made up of the cellular phone transmission/reception unit 1006, wireless LAN communication unit 1007, and so forth, and the received radio wave strength of a base station or access point may be included in the sensor information.
- These sensor information is stored in the storage unit 1004, and is transferred to the server with a predetermined frequency in an online state after the user has logged into a client terminal.
- Fig. 12 illustrates a configuration example of information equipment which operates as a server.
- the server can be built with a mode wherein a predetermined server application is activated over a common computer system, for example, such as a personal computer.
- a CPU 1201 executes various types of application programs under an execution environment provided by an operating system.
- the operating system (OS: Operating System) is a program for controlling the basic operations of a computer, for example, represented by so-called Windows (registered trademark) XP of Microsoft Corporation, or so-called Mac OS (registered trademark) of Apple Computer, Inc..
- the CPU 1201 is connected to a front side bus (FSB) 1202, and the FSB 1202 is further connected to a north bridge 1203.
- the north bridge 1203 includes an AGP (Accelerated Graphics Port) 1204 and a hub interface 1210.
- the north bridge 1203 is connected to cache memory 1208, and RAM 1209 which is the main memory, and controls an access operation to these memory devices.
- the RAM 1209 is configured of, for example, DRAM (Dynamic RAM), and stores a program that the CPU 1201 executes, or work data necessary for the operation of the CPU 1201.
- the cache memory 1208 is configured of a memory device such as SRAM (Static RAM) which can execute a higher-speed writing or reading operation, and caches, i.e., temporarily stores a program or data that the CPU 1201 uses.
- the north bridge 1203 is connected to a video controller 205 via the AGP 1204.
- the video controller 1205 generates image data corresponding to the data received from the CPU 1201, or stores the image data received from the CPU 1201 in built-in video memory (not illustrated) without change, and also displays an image corresponding to image data within the video memory on an LCD 1206 or VGA 1207.
- the VGA 1207 is a VGA (Video Graphics Array) type display.
- the LCD 1206 or VGA 1207 displays an image or text based on the data supplied from the video controller 1205.
- the north bridge 1203 is mutually connected to the south bridge 1211 via the hub interface 210.
- the south bridge 1211 houses an AC link interface 1211A, a USB (Universal Serial Bus) interface 1211B, an IDE (Integrated Drive Electronics) interface 1211C, a PCI (Peripheral Component Interconnect) interface 1211D, an LPC (Low Pin Count) interface 1211E, a LAN interface 1211F, and so forth, and controls the input/output operations and so forth of various devices to be connected thereto via a device to be connected to the AC link bus 1212, USB bus 1217, or IDE bus 1222.
- USB Universal Serial Bus
- IDE Integrated Drive Electronics
- PCI Peripheral Component Interconnect
- LPC Low Pin Count
- the AC link bus 1212 is connected to a modem 1213, a sound controller 1214, and so forth.
- the sound controller 1214 captures audio form a microphone 1215, generates data corresponding to the audio thereof, and outputs to the RAM 1209. Also, the sound controller 1214 drives and causes a speaker 1216 to output the audio.
- the USB bus 1217 can be connected to various USB devices via a USB connector 1218.
- the USB interface 1211B transmits data to a USB device (not illustrated) connected thereto via the USB bus 1217, and also receives data from the device.
- the IDE interface 1211C is configured of two IDE controllers of a primary IDE controller, and a secondary IDE controller, and a configuration register, and so forth (neither is illustrated).
- the primary IDE controller is connected to an HDD (Hard Disk Drive) 1223 via the IDE bus 1222.
- an IDE device such as a CD-ROM drive 1224 or HDD (not illustrated) or the like is mounted on the secondary IDE controller.
- Various application programs to be executed at the CPU 1201 are installed into the HDD 1223. Also, various types of data and various contents can be saved in the HDD 1223. With the present embodiment, the communication information database, sensor information database, and private content database are built using the HDD 1223.
- a wireless LAN communication unit 1225 is connected to a network using wireless LAN communication, for example, such as IEEE802.11a/b or the like.
- the LAN interface 211F transmits data to the network connected to the wireless LAN communication unit 1225, and also receives data.
- This computer system which operates as the server may perform transfer of information, synchronization, or the like with a client terminal via the wireless LAN.
- BIOS Basic Input Output System
- BIOS is made up of a basic input/output command group, and controls input/output of data between the OS or an application program and a peripheral device.
- the I/O interface 1253 is connected to a serial terminal 1254 and a parallel terminal 1255, and performs serial input/output and parallel input/output of data with devices connected to the terminals.
- the controller 1256 can be connected to user input devices such as a keyboard 1258, a mouse 1257, and so forth.
- the PCI bus 1226 is connected to a card interface 1229, an IEEE1394 interface 1227, and other unshown PCI devices.
- the card interface 1229 supplies the data supplied from an expansion card connected to a card slot (not illustrated) to the CPU 1201 or RAM 1209, and also outputs the data supplied from the CPU 1201 to the expansion card connected to the above slot.
- An example of the expansion card is a wired LAN card 1230.
- the IEEE1394 interface 1227 transmits/receives data (data stored in packets) conforming to the IEEE1394 standard via an IEEE1394 port 1228.
- the server when the information equipment (see Fig. 12 ) operates as the server, the server receives communication information, a private content, and sensor information from a client terminal, and transmits communication prediction information to the moving client terminal.
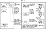
- Fig. 13 schematically illustrates a functional configuration for the server providing communication prediction information according to a collaborative operation with a client terminal.
- the server includes a communication information database 1301, a sensor information database 1302, and a private content database 1303. These databases are built with the HDD 1223.
- the communication information database 1301 saves the communication information such as a transfer rate, received radio wave strength, and so forth transmitted from multiple client terminals in the past.
- the essence of the present invention is not restricted to a method for building a communication information database based on the communication information collected from multiple client terminals, and the communication information database may be built by another method.
- the server can recognize the communication states of multiple wireless systems as to time and a location, i.e., a transfer rate, radio wave strength, and so forth within the service area of each scattering access point based on the communication information database 1301.
- the sensor information database 1302 saves the sensor information transmitted from multiple client terminals in the past.
- the sensor information mentioned here includes sensor information that can be used for location recognition, such as location information measured based on received radio waves of GPS, the received signal strength information (RSSI) of a WiFi base station, acceleration information measured by the acceleration sensor, and so forth, which are mounted on the client terminals.
- the server can determine or estimate the current location of each client terminal based on the sensor information saved in the sensor information database 1302.
- the private content database 1303 saves the private contents (text information such as a schedule, E-mail, memo pad, and so forth, shot image information, purchase history, transportation system history, and so forth) transmitted from multiple client terminals in the past.
- the server can predict the destination of a moving client terminal by analyzing the contents of a private content saved in this database.
- the usage of the private content database is not restricted to prediction of a destination.
- An upload controller 1310 is a function module to be realized by the CPU 1001 executing a predetermined application program, for example.
- the upload controller 1310 uploads communication information such as received radio wave strength and a transfer rate and so forth to the communication information database 1301 on the server side, uploads sensor information such as location information, acceleration information, geomagnetic information, purchase history/transportation system history, and so forth to the sensor information database 1302, and uploads a private content such as E-mail history, schedule history, memo history, purchase history/transportation system history, and so forth to the private content database 1303.
- the server includes, in order to provide a communication prediction service to the client terminals, a contents analysis algorithm computing unit 1304, a movement prediction algorithm computing unit 1305, and a communication prediction algorithm computing unit 1306.
- the contents analysis algorithm computing unit 1304 analyzes the contents described in a private content of a client terminal save in the private content database 1303, predicts a destination to which the client terminal will move, using a contents analyzing algorithm, and supplies this destination prediction information to the movement prediction algorithm computing unit 1305.
- the movement prediction algorithm computing unit 1305 predicts a movement route to the destination predicted at the contents analysis algorithm computing unit 1304 from the current location of the client terminal determined or estimated based on the sensor information using a movement predicting algorithm, and supplies this movement prediction information to the communication prediction algorithm computing unit 1306.
- the movement prediction algorithm computing unit 1305 uses the past movement history of a user employing this client terminal, or another user's movement history as well as the appropriate user to predict how this client terminal moves from now on in the case of the current location and current point-in-time.
- a predicting method the probability of a movement route at this point-in-time on this day of the week is obtained using the movement history, and a movement route having the highest probability is selected.
- a learning algorithm employing a hidden Markov model (HMM) is used to predict a movement route out of movement route candidates obtained from the movement history.
- HMM hidden Markov model
- a movement route i.e., connection between spots is represented with typical probability state transition machine.
- prediction of a movement route can be obtained by inputting the current location information of the user to this probability state transition machine.
- the movement prediction algorithm computing unit 1305 also employs a method for predicting a destination by analyzing a private content such as a schedule, E-mail, or memo pad to determine these schedules as well as a method for predicting a movement route and a destination using a movement history. Thus, it can be predicted how the client terminal will move as to the current location and current point-in-time in the future.
- the communication prediction algorithm computing unit 1306 compares the movement prediction information (destination, movement route) predicted by the movement prediction algorithm computing unit 1305 with communication information saved in the communication information database 1301, thereby predicting the future communication information of the client terminal.
- the communication prediction algorithm computing unit 1306 employs the communication predicting algorithm, thereby predicting an offline predicted location or offline predicted time wherein the client terminal turns into an offline state over the movement route of the client terminal, and an online return predicted location or online return predicted time wherein the client terminal returns to the online state, and informs this communication prediction information to the client terminal.
- Communication information saved in the communication information database 1301 is, as described above, the communication history and radio wave strength measurement history of each user, communication history and radio wave strength history collected from multiple users, the layout information or radio wave environment information as to locations, of base stations that a cellular phone carrier company or a company which manages WiFi access points possesses, and so forth.
- the communication prediction algorithm computing unit 1306 can recognize a WiFi or cellular phone communication area, and radio wave environment information such as communication speed based on these communication information.
- the communication prediction algorithm computing unit 1306 collates this radio wave environment information with the prediction of a movement route, thereby determining when, which location, what communication carrier turns into offline over the predicted movement route of the client terminal, i.e., determining the offline area for each communication carrier.
- the client terminal performs control of the own communication function based on the communication prediction information from the communication prediction algorithm computing unit 1306 of the server. Specifically, upon reaching the offline predicted location or offline predicted time informed as the communication prediction information, the client terminal suspends the communication function such as the cellular phone transmission/reception unit 1006 or wireless LAN communication unit 1007 or the like. Also, in the event of determining that the current location or current point-in-time has reached the online return predicted location or time, the client terminal at the time of offline restores the communication function based on location recognition using GPS, WiFi, or acceleration sensor, or time determined using point-in-time recognizing means such as the internal clock unit 1017 which the client terminal has or the like.
- the client terminal can reduce power consumption accompanied with operating the communication function for searching a base station or access point at the time of offline. Also, in the event of including multiple wireless communication functions as well as the cellular phone transmission/reception unit 1006 and wireless LAN communication unit 1007, the client terminal can reduce power consumption by suspending only a wireless communication function of which the offline state continues long.
- the communication information database is integrally managed on the server side.
- the client terminal basically performs determination of the own offline state/online state based on the communication prediction information to be received from the server. Accordingly, the communication prediction service of the client terminal can be realized in accordance with the processing procedure illustrated in Fig. 8 .
- the client terminal side may also hold the map data (or communication information such as the received radio wave strength and so forth of each access point) of base stations and access points by itself.
- the client terminal can accurately determine whether the current location is in either an online state or offline state in accordance with the location information obtained at the location recognizing means.
- the client terminal can control on/off of the communication function in accordance with the processing procedure illustrated with a flowchart format in Fig. 9A and Fig. 9B without notification of the communication prediction information from the server.
- Fig. 14 illustrates an example of the prediction result of a movement route of a client terminal according to the movement prediction algorithm computing unit 1305.
- the movement prediction algorithm computing unit 1305 within the server first recognizes the current location and current point-in-time of the client terminal.
- the movement prediction algorithm computing unit 1305 then predicts, based on the past movement history of a user who uses this client terminal, or the movement history of another user as well as this user's movement history, how the client terminal moves from now on from the current location and current point-in-time.
- the movement prediction algorithm computing unit 1305 uses movement history to obtain the probability of the movement route in the case of this point-in-time and this day of the week, and to select a movement route having the highest probability as the movement predicting algorithm.
- the movement prediction algorithm computing unit 1305 uses a learning algorithm to which a hidden Markov model has been applied to predict a movement route out of one or more movement route candidates calculated from movement history as the movement predicting algorithm.
- the movement prediction algorithm computing unit 1305 uses only movement history to predict the destination of a client terminal and a movement route up to the destination.
- the movement prediction algorithm computing unit 1305 may analyze a user's private content saved in the private content database 1303, such as a schedule, E-mail, or memo pad, to figure out a schedule of the corresponding user, and to predict a destination.
- Fig. 15 exemplifies an offline area that the communication prediction algorithm computing unit 1306 has determined above the movement route of the client terminal illustrated in Fig. 14 .
- This drawing is the determination result of WiFi offline area as communication carrier, where 10 online areas of WiFi_1, WiFi_2, ..., WiFi_10 are predicted over the movement route. Consequently, a location that deviates from each online area over the movement route is an offline area.
- the communication prediction algorithm computing unit 1306 informs communication prediction information including the offline predicted location or offline predicted time, and online return predicted location or time regarding each offline area, for example, when the client terminal comes closer to an offline area.
- the server predicts the movement route of a client terminal, further predicts an offline area (for each communication carrier) over the predicted movement route, whereby the communication prediction information can be informed to the client terminal.
- the client terminal can recognize existence of an offline area over the own movement route, i.e., a location or point-in-time whereby the communication function can be suspended, and a location or point-in-time wherein the communication function has to be restored based on the notified communication prediction information.
- the client terminal can realize higher power saving effects as compared to the power saving mode at the time of common passive scan, or the like, since not even intermittent reception is performed when the communication function is suspended.
- the essence of the present invention is not restricted to this.
- the present invention can similarly be applied to even a case where the wireless communication services provided by various communication carriers are included in the wireless communication unit.
- the present invention can similarly be realized even when at least a part of these algorithms and databases are equipped on the client side.
Landscapes
- Engineering & Computer Science (AREA)
- Computer Networks & Wireless Communication (AREA)
- Signal Processing (AREA)
- Computer Security & Cryptography (AREA)
- Mobile Radio Communication Systems (AREA)
- Telephonic Communication Services (AREA)
- Telephone Function (AREA)
Applications Claiming Priority (2)
| Application Number | Priority Date | Filing Date | Title |
|---|---|---|---|
| JP2009212082A JP5476880B2 (ja) | 2009-09-14 | 2009-09-14 | 情報提供装置及び情報提供方法、コンピューター・プログラム、並びに無線通信装置 |
| PCT/JP2010/063165 WO2011030636A1 (ja) | 2009-09-14 | 2010-08-04 | 情報提供装置及び情報提供方法、無線通信装置及び無線通信方法、コンピューター・プログラム、並びに無線通信システム |
Publications (3)
| Publication Number | Publication Date |
|---|---|
| EP2477419A1 EP2477419A1 (en) | 2012-07-18 |
| EP2477419A4 EP2477419A4 (en) | 2016-06-01 |
| EP2477419B1 true EP2477419B1 (en) | 2019-03-20 |
Family
ID=43732310
Family Applications (1)
| Application Number | Title | Priority Date | Filing Date |
|---|---|---|---|
| EP10815233.1A Not-in-force EP2477419B1 (en) | 2009-09-14 | 2010-08-04 | Wireless communication device, wireless communication method and computer program |
Country Status (7)
| Country | Link |
|---|---|
| US (1) | US9313721B2 (enExample) |
| EP (1) | EP2477419B1 (enExample) |
| JP (1) | JP5476880B2 (enExample) |
| CN (1) | CN102484771B (enExample) |
| BR (1) | BR112012005151A2 (enExample) |
| RU (1) | RU2012108639A (enExample) |
| WO (1) | WO2011030636A1 (enExample) |
Families Citing this family (38)
| Publication number | Priority date | Publication date | Assignee | Title |
|---|---|---|---|---|
| US8457653B2 (en) | 2011-02-25 | 2013-06-04 | Nokia Corporation | Method and apparatus for pre-fetching location-based data while maintaining user privacy |
| JP5742404B2 (ja) * | 2011-04-08 | 2015-07-01 | 富士通株式会社 | サーバ装置、情報処理方法 |
| KR101835829B1 (ko) * | 2011-10-26 | 2018-03-08 | 삼성전자주식회사 | 휴대단말기의 ap 스캔 방법 및 장치 |
| CN102448187B (zh) * | 2011-10-29 | 2015-10-07 | 华为终端有限公司 | 自动接入Wi-Fi网络的方法及终端 |
| GB2502068B (en) * | 2012-05-14 | 2019-03-27 | Sensewhere Ltd | Method of and system for estimating position |
| EP2892300B1 (en) | 2012-08-31 | 2019-02-20 | Sony Corporation | Communication control apparatus, terminal apparatus, communication control method, program and communication control system |
| US9477993B2 (en) | 2012-10-14 | 2016-10-25 | Ari M Frank | Training a predictor of emotional response based on explicit voting on content and eye tracking to verify attention |
| US9104467B2 (en) | 2012-10-14 | 2015-08-11 | Ari M Frank | Utilizing eye tracking to reduce power consumption involved in measuring affective response |
| US10477261B2 (en) * | 2012-10-19 | 2019-11-12 | At&T Intellectual Property I, L.P. | Sensory communication sessions over a network |
| TWI511513B (zh) * | 2012-11-14 | 2015-12-01 | Wistron Corp | 用於網路系統之偵測方法及其相關裝置 |
| WO2014100943A1 (zh) * | 2012-12-24 | 2014-07-03 | 华为终端有限公司 | 一种终端中无线保真器件的控制方法、装置及终端 |
| JP5245023B1 (ja) * | 2012-12-28 | 2013-07-24 | 楽天株式会社 | 情報処理装置、情報処理方法、情報処理プログラム、及び情報処理プログラムが記録された記録媒体 |
| US9693192B2 (en) * | 2012-12-28 | 2017-06-27 | Rakuten, Inc. | Information processing apparatus, information processing method, information processing program, recording medium storing thereon information processing program |
| JP5658292B2 (ja) * | 2013-01-25 | 2015-01-21 | ヤフー株式会社 | 無線端末、情報表示プログラム、情報提供方法および情報提供システム |
| JP5987707B2 (ja) * | 2013-01-25 | 2016-09-07 | ソニー株式会社 | 端末装置、プログラム及び通信システム |
| US9792317B2 (en) * | 2013-05-03 | 2017-10-17 | Kony, Inc. | Accelerated data integrity through broker orchestrated peer-to-peer data synchronization |
| GB2524974B (en) * | 2014-04-07 | 2016-04-20 | Canon Kk | Method for monitoring the displacement of a mobile node in a communication system |
| JP6340917B2 (ja) * | 2014-05-23 | 2018-06-13 | 富士ゼロックス株式会社 | 文書管理プログラム、文書閲覧編集プログラム、文書管理装置、端末装置及び文書管理システム |
| KR20170036759A (ko) * | 2014-07-25 | 2017-04-03 | 제트티이 (유에스에이) 잉크. | 무선 자원의 와이어리스 통신 에너지 인지 전력 공유 방법 및 장치 |
| US9392574B1 (en) * | 2015-01-21 | 2016-07-12 | Sprint Communications Company L.P. | Notification factors and rules for proactive notification of potential service impacts |
| US11805467B2 (en) * | 2015-03-25 | 2023-10-31 | Comcast Cable Communications, Llc | Distributed content delivery for moving devices |
| US10080201B2 (en) * | 2015-03-27 | 2018-09-18 | Intel Corporation | Technologies for controlling mobile communication devices for low reception areas |
| US9706320B2 (en) | 2015-05-29 | 2017-07-11 | Sound United, LLC | System and method for providing user location-based multi-zone media |
| CN105376714B (zh) * | 2015-11-23 | 2018-11-02 | 北京百度网讯科技有限公司 | 一种定位方法和装置 |
| US10182387B2 (en) | 2016-06-01 | 2019-01-15 | At&T Intellectual Property I, L.P. | Method and apparatus for distributing content via diverse networks |
| JP6777494B2 (ja) * | 2016-10-19 | 2020-10-28 | Kddi株式会社 | 端末装置、通信システムおよびプログラム |
| JP6544348B2 (ja) * | 2016-12-22 | 2019-07-17 | トヨタ自動車株式会社 | 車両運転支援装置 |
| WO2018164086A1 (ja) * | 2017-03-09 | 2018-09-13 | 日本電気株式会社 | 情報処理装置、端末装置、情報処理方法、およびプログラムが記憶された記憶媒体 |
| KR101840409B1 (ko) * | 2017-03-17 | 2018-03-20 | 주식회사 아이쉐어링소프트 | 비주기적 갱신 기반 사용자 위치정보 처리 방법 |
| CN112236787B (zh) * | 2018-06-08 | 2024-06-11 | 北京嘀嘀无限科技发展有限公司 | 用于生成个性化目的地推荐的系统和方法 |
| GB2577879B (en) | 2018-10-08 | 2022-08-24 | B & W Group Ltd | Content playback system |
| US10834524B2 (en) * | 2019-02-19 | 2020-11-10 | International Business Machines Corporation | Delegating cloud-side roles to devices |
| JP7426582B2 (ja) * | 2019-03-26 | 2024-02-02 | パナソニックIpマネジメント株式会社 | 情報通知システム及び情報通知方法 |
| CN112491572B (zh) * | 2019-09-12 | 2022-01-21 | 华为技术有限公司 | 终端之间连接状态的预测方法、装置和分析设备 |
| JP7170623B2 (ja) * | 2019-12-24 | 2022-11-14 | 本田技研工業株式会社 | 通信システム、通信装置、および通信サーバ、並びにそれらの制御方法、およびプログラム |
| JP7548311B2 (ja) * | 2020-07-07 | 2024-09-10 | 日本電気株式会社 | 遠隔監視システム、経路提供装置、及び経路提供方法 |
| CN118525458A (zh) * | 2022-02-04 | 2024-08-20 | 三菱电机株式会社 | 位置推定装置、位置推定方法及程序 |
| CN119421187B (zh) * | 2024-10-28 | 2025-10-10 | 新华三技术有限公司 | 一种终端通信恢复方法、装置、设备及可读存储介质 |
Family Cites Families (21)
| Publication number | Priority date | Publication date | Assignee | Title |
|---|---|---|---|---|
| JP3518284B2 (ja) * | 1997-10-13 | 2004-04-12 | 日産自動車株式会社 | 移動体通信システム |
| CN1256851A (zh) | 1998-02-13 | 2000-06-14 | 皇家菲利浦电子有限公司 | 环绕声重放系统、声音/图象重放系统、环绕声处理装置和输入环绕声信号的处理方法 |
| US6597906B1 (en) * | 1999-01-29 | 2003-07-22 | International Business Machines Corporation | Mobile client-based station communication based on relative geographical position information |
| JP3503592B2 (ja) | 2000-11-22 | 2004-03-08 | 日本電気株式会社 | ネットワークシステム及び情報機器 |
| JP2002274381A (ja) * | 2001-03-14 | 2002-09-25 | Toshiba Corp | 列車利用支援方法およびシステム、ならびに列車利用支援用プログラム |
| US6629034B1 (en) * | 2001-06-06 | 2003-09-30 | Navigation Technologies Corp. | Driving profile method and system |
| JP4516707B2 (ja) | 2001-07-10 | 2010-08-04 | 株式会社エヌ・ティ・ティ・ドコモ | ネットワーク制御装置、移動通信システム及び移動通信ネットワーク制御方法 |
| JP2003076497A (ja) | 2001-09-05 | 2003-03-14 | Hitachi Ltd | 記録装置、外部装置、情報処理装置および情報配信システム |
| JP2003309791A (ja) | 2002-04-15 | 2003-10-31 | Toshiba Corp | 記憶装置及びそのデータ書込み制御方法 |
| JP2004140526A (ja) * | 2002-10-16 | 2004-05-13 | Aisin Aw Co Ltd | 車載装置 |
| WO2004077291A1 (ja) * | 2003-02-25 | 2004-09-10 | Matsushita Electric Industrial Co., Ltd. | アプリケーションプログラムの予測方法及び移動体端末 |
| JP3984922B2 (ja) * | 2003-03-20 | 2007-10-03 | 株式会社エヌ・ティ・ティ・ドコモ | 移動機、サーバ装置、及び情報提供方法 |
| JP4080375B2 (ja) * | 2003-05-15 | 2008-04-23 | シャープ株式会社 | 移動通信端末位置推定装置、この移動通信端末位置推定装置と通信可能な通信端末装置、通信システム、通信システムにおける移動通信端末位置推定方法、移動通信端末位置推定プログラム、及び移動通信端末位置推定プログラムを記録したコンピュータ読み取り可能な記録媒体 |
| US7233861B2 (en) * | 2003-12-08 | 2007-06-19 | General Motors Corporation | Prediction of vehicle operator destinations |
| US7603115B2 (en) * | 2005-03-11 | 2009-10-13 | International Business Machines Corporation | System and method for maintaining communication channels through coverage gaps |
| EP1877921A4 (en) * | 2005-04-25 | 2010-07-21 | Sidebar Inc | SYSTEM AND METHOD FOR CONSUMER ENGAGEMENT AND REVENUE OPTIMIZATION |
| JP2007271305A (ja) * | 2006-03-30 | 2007-10-18 | Suzuki Motor Corp | 情報配信装置 |
| US20080306909A1 (en) * | 2007-06-08 | 2008-12-11 | Microsoft Corporation | Intelligent download of media files to portable device |
| EP2161665A4 (en) | 2007-06-22 | 2012-12-12 | Nec Corp | DATA PROCESSING METHOD FOR PORTABLE COMMUNICATION TERMINAL AND PORTABLE COMMUNICATION TERMINAL |
| JP2009159336A (ja) * | 2007-12-26 | 2009-07-16 | Panasonic Corp | 行動範囲把握方法および行動把握装置 |
| US8452353B2 (en) * | 2010-02-24 | 2013-05-28 | Hewlett-Packard Development Company, L.P. | Apparatus and methods for providing intelligent battery management |
-
2009
- 2009-09-14 JP JP2009212082A patent/JP5476880B2/ja active Active
-
2010
- 2010-08-04 RU RU2012108639/08A patent/RU2012108639A/ru not_active Application Discontinuation
- 2010-08-04 EP EP10815233.1A patent/EP2477419B1/en not_active Not-in-force
- 2010-08-04 US US13/394,404 patent/US9313721B2/en not_active Expired - Fee Related
- 2010-08-04 WO PCT/JP2010/063165 patent/WO2011030636A1/ja not_active Ceased
- 2010-08-04 CN CN201080039913.4A patent/CN102484771B/zh not_active Expired - Fee Related
- 2010-08-04 BR BR112012005151A patent/BR112012005151A2/pt not_active IP Right Cessation
Non-Patent Citations (1)
| Title |
|---|
| None * |
Also Published As
| Publication number | Publication date |
|---|---|
| RU2012108639A (ru) | 2013-09-20 |
| JP2011061713A (ja) | 2011-03-24 |
| CN102484771B (zh) | 2015-11-25 |
| JP5476880B2 (ja) | 2014-04-23 |
| CN102484771A (zh) | 2012-05-30 |
| EP2477419A1 (en) | 2012-07-18 |
| WO2011030636A1 (ja) | 2011-03-17 |
| US20120190339A1 (en) | 2012-07-26 |
| US9313721B2 (en) | 2016-04-12 |
| BR112012005151A2 (pt) | 2016-05-03 |
| EP2477419A4 (en) | 2016-06-01 |
Similar Documents
| Publication | Publication Date | Title |
|---|---|---|
| EP2477419B1 (en) | Wireless communication device, wireless communication method and computer program | |
| EP2533500B1 (en) | Mobile terminal and control method for a mobile terminal | |
| CN102823227B (zh) | 移动终端和移动终端的控制方法 | |
| EP2668812B1 (en) | Intelligent management of location sensor | |
| JP6087693B2 (ja) | チャネル毎の電波受信強度に基づいて特定位置を検知する端末、方法及びプログラム | |
| US9615277B2 (en) | Method for determining position based on network and electronic device thereof | |
| CN107534932B (zh) | 一种功能状态控制的方法及相关设备 | |
| US20140300513A1 (en) | Mobile terminal and method | |
| CN111149313B (zh) | 一种数据传输方法及设备 | |
| CN110622528B (zh) | 一种信息推荐方法及装置 | |
| TWI686093B (zh) | 無線通訊裝置、通訊系統、資訊處理方法及程式 | |
| JP2013251718A (ja) | 携帯通信装置、通信方法、及びプログラム | |
| EP2654354B1 (en) | Providing a current position while reducing an overall power consumption | |
| JP2018195931A (ja) | 携帯端末装置、中継装置、管理システム、通知方法、中継方法及びプログラム | |
| JP2008022492A (ja) | 送信方法ならびにそれを利用した送信装置、受信装置、通信システム | |
| KR20110074258A (ko) | 이동통신 시스템에서 대중 교통 수단의 정류장 정보를 제공하기 위한 장치 및 방법 | |
| US20240306120A1 (en) | Management of peripheral devices using wireless beacon signals | |
| KR101136145B1 (ko) | 위치 기반 서비스를 이용한 휴대용 단말기의 체크인 시스템 및 이를 이용한 체크인 방법 | |
| CN115022449B (zh) | 地铁出行检测方法及电子设备 | |
| CN115038032B (zh) | 地铁出行检测方法及电子设备 | |
| US9788267B2 (en) | Mobile electronic device, control method, and recording medium thereof | |
| EP3236689B1 (en) | Information processing device, wireless communication device, information processing method, and program | |
| JP2006135948A (ja) | 位置情報認識システムおよび方法、無線位置情報発信機、ならびに携帯端末およびそのプログラム | |
| CN111615176A (zh) | 一种小区确定方法、设备及系统 | |
| JP6795383B2 (ja) | 通信端末装置、情報配信システム及び通信端末プログラム |
Legal Events
| Date | Code | Title | Description |
|---|---|---|---|
| PUAI | Public reference made under article 153(3) epc to a published international application that has entered the european phase |
Free format text: ORIGINAL CODE: 0009012 |
|
| 17P | Request for examination filed |
Effective date: 20120306 |
|
| AK | Designated contracting states |
Kind code of ref document: A1 Designated state(s): AL AT BE BG CH CY CZ DE DK EE ES FI FR GB GR HR HU IE IS IT LI LT LU LV MC MK MT NL NO PL PT RO SE SI SK SM TR |
|
| DAX | Request for extension of the european patent (deleted) | ||
| RIC1 | Information provided on ipc code assigned before grant |
Ipc: H04W 4/02 20090101AFI20160107BHEP Ipc: H04M 11/00 20060101ALI20160107BHEP Ipc: H04W 52/02 20090101ALI20160107BHEP |
|
| RA4 | Supplementary search report drawn up and despatched (corrected) |
Effective date: 20160503 |
|
| RIC1 | Information provided on ipc code assigned before grant |
Ipc: H04W 52/02 20090101ALI20160426BHEP Ipc: H04W 4/02 20090101AFI20160426BHEP Ipc: H04M 11/00 20060101ALI20160426BHEP |
|
| STAA | Information on the status of an ep patent application or granted ep patent |
Free format text: STATUS: EXAMINATION IS IN PROGRESS |
|
| 17Q | First examination report despatched |
Effective date: 20180213 |
|
| REG | Reference to a national code |
Ref country code: DE Ref legal event code: R079 Ref document number: 602010057723 Country of ref document: DE Free format text: PREVIOUS MAIN CLASS: H04W0004020000 Ipc: H04W0048160000 |
|
| GRAP | Despatch of communication of intention to grant a patent |
Free format text: ORIGINAL CODE: EPIDOSNIGR1 |
|
| STAA | Information on the status of an ep patent application or granted ep patent |
Free format text: STATUS: GRANT OF PATENT IS INTENDED |
|
| RIC1 | Information provided on ipc code assigned before grant |
Ipc: H04W 48/16 20090101AFI20180906BHEP Ipc: H04W 64/00 20090101ALN20180906BHEP Ipc: H04W 52/02 20090101ALI20180906BHEP |
|
| INTG | Intention to grant announced |
Effective date: 20181005 |
|
| GRAS | Grant fee paid |
Free format text: ORIGINAL CODE: EPIDOSNIGR3 |
|
| GRAA | (expected) grant |
Free format text: ORIGINAL CODE: 0009210 |
|
| STAA | Information on the status of an ep patent application or granted ep patent |
Free format text: STATUS: THE PATENT HAS BEEN GRANTED |
|
| AK | Designated contracting states |
Kind code of ref document: B1 Designated state(s): AL AT BE BG CH CY CZ DE DK EE ES FI FR GB GR HR HU IE IS IT LI LT LU LV MC MK MT NL NO PL PT RO SE SI SK SM TR |
|
| REG | Reference to a national code |
Ref country code: GB Ref legal event code: FG4D |
|
| REG | Reference to a national code |
Ref country code: CH Ref legal event code: EP |
|
| REG | Reference to a national code |
Ref country code: DE Ref legal event code: R096 Ref document number: 602010057723 Country of ref document: DE |
|
| REG | Reference to a national code |
Ref country code: AT Ref legal event code: REF Ref document number: 1111798 Country of ref document: AT Kind code of ref document: T Effective date: 20190415 |
|
| REG | Reference to a national code |
Ref country code: IE Ref legal event code: FG4D |
|
| REG | Reference to a national code |
Ref country code: NL Ref legal event code: MP Effective date: 20190320 |
|
| PG25 | Lapsed in a contracting state [announced via postgrant information from national office to epo] |
Ref country code: NO Free format text: LAPSE BECAUSE OF FAILURE TO SUBMIT A TRANSLATION OF THE DESCRIPTION OR TO PAY THE FEE WITHIN THE PRESCRIBED TIME-LIMIT Effective date: 20190620 Ref country code: FI Free format text: LAPSE BECAUSE OF FAILURE TO SUBMIT A TRANSLATION OF THE DESCRIPTION OR TO PAY THE FEE WITHIN THE PRESCRIBED TIME-LIMIT Effective date: 20190320 Ref country code: LT Free format text: LAPSE BECAUSE OF FAILURE TO SUBMIT A TRANSLATION OF THE DESCRIPTION OR TO PAY THE FEE WITHIN THE PRESCRIBED TIME-LIMIT Effective date: 20190320 Ref country code: SE Free format text: LAPSE BECAUSE OF FAILURE TO SUBMIT A TRANSLATION OF THE DESCRIPTION OR TO PAY THE FEE WITHIN THE PRESCRIBED TIME-LIMIT Effective date: 20190320 |
|
| REG | Reference to a national code |
Ref country code: LT Ref legal event code: MG4D |
|
| PG25 | Lapsed in a contracting state [announced via postgrant information from national office to epo] |
Ref country code: LV Free format text: LAPSE BECAUSE OF FAILURE TO SUBMIT A TRANSLATION OF THE DESCRIPTION OR TO PAY THE FEE WITHIN THE PRESCRIBED TIME-LIMIT Effective date: 20190320 Ref country code: NL Free format text: LAPSE BECAUSE OF FAILURE TO SUBMIT A TRANSLATION OF THE DESCRIPTION OR TO PAY THE FEE WITHIN THE PRESCRIBED TIME-LIMIT Effective date: 20190320 Ref country code: BG Free format text: LAPSE BECAUSE OF FAILURE TO SUBMIT A TRANSLATION OF THE DESCRIPTION OR TO PAY THE FEE WITHIN THE PRESCRIBED TIME-LIMIT Effective date: 20190620 Ref country code: GR Free format text: LAPSE BECAUSE OF FAILURE TO SUBMIT A TRANSLATION OF THE DESCRIPTION OR TO PAY THE FEE WITHIN THE PRESCRIBED TIME-LIMIT Effective date: 20190621 Ref country code: HR Free format text: LAPSE BECAUSE OF FAILURE TO SUBMIT A TRANSLATION OF THE DESCRIPTION OR TO PAY THE FEE WITHIN THE PRESCRIBED TIME-LIMIT Effective date: 20190320 |
|
| REG | Reference to a national code |
Ref country code: AT Ref legal event code: MK05 Ref document number: 1111798 Country of ref document: AT Kind code of ref document: T Effective date: 20190320 |
|
| PG25 | Lapsed in a contracting state [announced via postgrant information from national office to epo] |
Ref country code: EE Free format text: LAPSE BECAUSE OF FAILURE TO SUBMIT A TRANSLATION OF THE DESCRIPTION OR TO PAY THE FEE WITHIN THE PRESCRIBED TIME-LIMIT Effective date: 20190320 Ref country code: SK Free format text: LAPSE BECAUSE OF FAILURE TO SUBMIT A TRANSLATION OF THE DESCRIPTION OR TO PAY THE FEE WITHIN THE PRESCRIBED TIME-LIMIT Effective date: 20190320 Ref country code: PT Free format text: LAPSE BECAUSE OF FAILURE TO SUBMIT A TRANSLATION OF THE DESCRIPTION OR TO PAY THE FEE WITHIN THE PRESCRIBED TIME-LIMIT Effective date: 20190720 Ref country code: AL Free format text: LAPSE BECAUSE OF FAILURE TO SUBMIT A TRANSLATION OF THE DESCRIPTION OR TO PAY THE FEE WITHIN THE PRESCRIBED TIME-LIMIT Effective date: 20190320 Ref country code: RO Free format text: LAPSE BECAUSE OF FAILURE TO SUBMIT A TRANSLATION OF THE DESCRIPTION OR TO PAY THE FEE WITHIN THE PRESCRIBED TIME-LIMIT Effective date: 20190320 Ref country code: IT Free format text: LAPSE BECAUSE OF FAILURE TO SUBMIT A TRANSLATION OF THE DESCRIPTION OR TO PAY THE FEE WITHIN THE PRESCRIBED TIME-LIMIT Effective date: 20190320 Ref country code: ES Free format text: LAPSE BECAUSE OF FAILURE TO SUBMIT A TRANSLATION OF THE DESCRIPTION OR TO PAY THE FEE WITHIN THE PRESCRIBED TIME-LIMIT Effective date: 20190320 Ref country code: CZ Free format text: LAPSE BECAUSE OF FAILURE TO SUBMIT A TRANSLATION OF THE DESCRIPTION OR TO PAY THE FEE WITHIN THE PRESCRIBED TIME-LIMIT Effective date: 20190320 |
|
| PG25 | Lapsed in a contracting state [announced via postgrant information from national office to epo] |
Ref country code: SM Free format text: LAPSE BECAUSE OF FAILURE TO SUBMIT A TRANSLATION OF THE DESCRIPTION OR TO PAY THE FEE WITHIN THE PRESCRIBED TIME-LIMIT Effective date: 20190320 Ref country code: PL Free format text: LAPSE BECAUSE OF FAILURE TO SUBMIT A TRANSLATION OF THE DESCRIPTION OR TO PAY THE FEE WITHIN THE PRESCRIBED TIME-LIMIT Effective date: 20190320 |
|
| PG25 | Lapsed in a contracting state [announced via postgrant information from national office to epo] |
Ref country code: AT Free format text: LAPSE BECAUSE OF FAILURE TO SUBMIT A TRANSLATION OF THE DESCRIPTION OR TO PAY THE FEE WITHIN THE PRESCRIBED TIME-LIMIT Effective date: 20190320 Ref country code: IS Free format text: LAPSE BECAUSE OF FAILURE TO SUBMIT A TRANSLATION OF THE DESCRIPTION OR TO PAY THE FEE WITHIN THE PRESCRIBED TIME-LIMIT Effective date: 20190720 |
|
| REG | Reference to a national code |
Ref country code: DE Ref legal event code: R097 Ref document number: 602010057723 Country of ref document: DE |
|
| PLBE | No opposition filed within time limit |
Free format text: ORIGINAL CODE: 0009261 |
|
| STAA | Information on the status of an ep patent application or granted ep patent |
Free format text: STATUS: NO OPPOSITION FILED WITHIN TIME LIMIT |
|
| PG25 | Lapsed in a contracting state [announced via postgrant information from national office to epo] |
Ref country code: DK Free format text: LAPSE BECAUSE OF FAILURE TO SUBMIT A TRANSLATION OF THE DESCRIPTION OR TO PAY THE FEE WITHIN THE PRESCRIBED TIME-LIMIT Effective date: 20190320 |
|
| 26N | No opposition filed |
Effective date: 20200102 |
|
| PG25 | Lapsed in a contracting state [announced via postgrant information from national office to epo] |
Ref country code: SI Free format text: LAPSE BECAUSE OF FAILURE TO SUBMIT A TRANSLATION OF THE DESCRIPTION OR TO PAY THE FEE WITHIN THE PRESCRIBED TIME-LIMIT Effective date: 20190320 |
|
| PG25 | Lapsed in a contracting state [announced via postgrant information from national office to epo] |
Ref country code: TR Free format text: LAPSE BECAUSE OF FAILURE TO SUBMIT A TRANSLATION OF THE DESCRIPTION OR TO PAY THE FEE WITHIN THE PRESCRIBED TIME-LIMIT Effective date: 20190320 |
|
| GBPC | Gb: european patent ceased through non-payment of renewal fee |
Effective date: 20190804 |
|
| PG25 | Lapsed in a contracting state [announced via postgrant information from national office to epo] |
Ref country code: LI Free format text: LAPSE BECAUSE OF NON-PAYMENT OF DUE FEES Effective date: 20190831 Ref country code: MC Free format text: LAPSE BECAUSE OF FAILURE TO SUBMIT A TRANSLATION OF THE DESCRIPTION OR TO PAY THE FEE WITHIN THE PRESCRIBED TIME-LIMIT Effective date: 20190320 Ref country code: LU Free format text: LAPSE BECAUSE OF NON-PAYMENT OF DUE FEES Effective date: 20190804 Ref country code: CH Free format text: LAPSE BECAUSE OF NON-PAYMENT OF DUE FEES Effective date: 20190831 |
|
| REG | Reference to a national code |
Ref country code: BE Ref legal event code: MM Effective date: 20190831 |
|
| PG25 | Lapsed in a contracting state [announced via postgrant information from national office to epo] |
Ref country code: FR Free format text: LAPSE BECAUSE OF NON-PAYMENT OF DUE FEES Effective date: 20190831 Ref country code: IE Free format text: LAPSE BECAUSE OF NON-PAYMENT OF DUE FEES Effective date: 20190804 |
|
| PG25 | Lapsed in a contracting state [announced via postgrant information from national office to epo] |
Ref country code: GB Free format text: LAPSE BECAUSE OF NON-PAYMENT OF DUE FEES Effective date: 20190804 Ref country code: BE Free format text: LAPSE BECAUSE OF NON-PAYMENT OF DUE FEES Effective date: 20190831 |
|
| PG25 | Lapsed in a contracting state [announced via postgrant information from national office to epo] |
Ref country code: CY Free format text: LAPSE BECAUSE OF FAILURE TO SUBMIT A TRANSLATION OF THE DESCRIPTION OR TO PAY THE FEE WITHIN THE PRESCRIBED TIME-LIMIT Effective date: 20190320 |
|
| PG25 | Lapsed in a contracting state [announced via postgrant information from national office to epo] |
Ref country code: MT Free format text: LAPSE BECAUSE OF FAILURE TO SUBMIT A TRANSLATION OF THE DESCRIPTION OR TO PAY THE FEE WITHIN THE PRESCRIBED TIME-LIMIT Effective date: 20190320 Ref country code: HU Free format text: LAPSE BECAUSE OF FAILURE TO SUBMIT A TRANSLATION OF THE DESCRIPTION OR TO PAY THE FEE WITHIN THE PRESCRIBED TIME-LIMIT; INVALID AB INITIO Effective date: 20100804 |
|
| PG25 | Lapsed in a contracting state [announced via postgrant information from national office to epo] |
Ref country code: MK Free format text: LAPSE BECAUSE OF FAILURE TO SUBMIT A TRANSLATION OF THE DESCRIPTION OR TO PAY THE FEE WITHIN THE PRESCRIBED TIME-LIMIT Effective date: 20190320 |
|
| PGFP | Annual fee paid to national office [announced via postgrant information from national office to epo] |
Ref country code: DE Payment date: 20220616 Year of fee payment: 13 |
|
| P01 | Opt-out of the competence of the unified patent court (upc) registered |
Effective date: 20230527 |
|
| REG | Reference to a national code |
Ref country code: DE Ref legal event code: R119 Ref document number: 602010057723 Country of ref document: DE |
|
| PG25 | Lapsed in a contracting state [announced via postgrant information from national office to epo] |
Ref country code: DE Free format text: LAPSE BECAUSE OF NON-PAYMENT OF DUE FEES Effective date: 20240301 |