EP2465655A1 - Verfahren zur Entleerung eines zur Aufnahme und zum hängenden Transport von schüttfähigen Baustoffen ausgebildeten Kransilo - Google Patents

Verfahren zur Entleerung eines zur Aufnahme und zum hängenden Transport von schüttfähigen Baustoffen ausgebildeten Kransilo Download PDF

Info

Publication number
EP2465655A1
EP2465655A1 EP10405239A EP10405239A EP2465655A1 EP 2465655 A1 EP2465655 A1 EP 2465655A1 EP 10405239 A EP10405239 A EP 10405239A EP 10405239 A EP10405239 A EP 10405239A EP 2465655 A1 EP2465655 A1 EP 2465655A1
Authority
EP
European Patent Office
Prior art keywords
piston
resp
cylinder
opening
gas pressure
Prior art date
Legal status (The legal status is an assumption and is not a legal conclusion. Google has not performed a legal analysis and makes no representation as to the accuracy of the status listed.)
Granted
Application number
EP10405239A
Other languages
English (en)
French (fr)
Other versions
EP2465655B1 (de
Inventor
Vögtli Eduard
Current Assignee (The listed assignees may be inaccurate. Google has not performed a legal analysis and makes no representation or warranty as to the accuracy of the list.)
Obrist Baugerate AG
Original Assignee
Obrist Baugerate AG
Priority date (The priority date is an assumption and is not a legal conclusion. Google has not performed a legal analysis and makes no representation as to the accuracy of the date listed.)
Filing date
Publication date
Application filed by Obrist Baugerate AG filed Critical Obrist Baugerate AG
Priority to EP10405239.4A priority Critical patent/EP2465655B1/de
Publication of EP2465655A1 publication Critical patent/EP2465655A1/de
Application granted granted Critical
Publication of EP2465655B1 publication Critical patent/EP2465655B1/de
Active legal-status Critical Current
Anticipated expiration legal-status Critical

Links

Images

Classifications

    • EFIXED CONSTRUCTIONS
    • E04BUILDING
    • E04GSCAFFOLDING; FORMS; SHUTTERING; BUILDING IMPLEMENTS OR AIDS, OR THEIR USE; HANDLING BUILDING MATERIALS ON THE SITE; REPAIRING, BREAKING-UP OR OTHER WORK ON EXISTING BUILDINGS
    • E04G21/00Preparing, conveying, or working-up building materials or building elements in situ; Other devices or measures for constructional work
    • E04G21/02Conveying or working-up concrete or similar masses able to be heaped or cast
    • E04G21/025Buckets specially adapted for use with concrete
    • BPERFORMING OPERATIONS; TRANSPORTING
    • B65CONVEYING; PACKING; STORING; HANDLING THIN OR FILAMENTARY MATERIAL
    • B65DCONTAINERS FOR STORAGE OR TRANSPORT OF ARTICLES OR MATERIALS, e.g. BAGS, BARRELS, BOTTLES, BOXES, CANS, CARTONS, CRATES, DRUMS, JARS, TANKS, HOPPERS, FORWARDING CONTAINERS; ACCESSORIES, CLOSURES, OR FITTINGS THEREFOR; PACKAGING ELEMENTS; PACKAGES
    • B65D90/00Component parts, details or accessories for large containers
    • B65D90/54Gates or closures
    • B65D90/56Gates or closures operating by deformation of flexible walls

Definitions

  • the invention relates to a method for emptying a for receiving and hanging transport of free-flowing building materials such as concrete, gravel, sand, etc. trained crane silos with a container having at the upper end a filling opening for charging and at the lower end a discharge opening for removal of Building material via a hanging crane arranged on the crane silo and with the discharge opening of the container conveyor effectively connected conveying hose, which is assigned to the one of the emptying opening of the container facing conveyor region for closing and opening adjustable metering device.
  • free-flowing building materials such as concrete, gravel, sand, etc. trained crane silos with a container having at the upper end a filling opening for charging and at the lower end a discharge opening for removal of Building material via a hanging crane arranged on the crane silo and with the discharge opening of the container conveyor effectively connected conveying hose, which is assigned to the one of the emptying opening of the container facing conveyor region for closing and opening adjustable metering device.
  • a crane silo for carrying out the method of the type mentioned is inter alia in the EP 10 405 018.2 described.
  • Such crane silos are used in particular in the processing of concrete, especially self-compacting concrete SCC (Self Compacting Concrete), but also in slow-flowing concrete with such properties.
  • SCC Self Compacting Concrete
  • the self-compacting concrete has a relatively high liquid content resp. a favorable flowability.
  • the self-compacting mass which is self-compacting due to its high dead weight and liquid deposits, is extracted from the crane silo via a delivery hose fed to a turned-on cavity.
  • a metering device which is arranged at the upper end of the delivery hose, takes place, for example, for the opening of the metering device by a freely hanging down traction cable, which is preferably actuated by another person.
  • Closing the dosing device resp. an interruption of the supply of the building material in the formwork is created by the force of a vorzuspannenden during the opening operation spring.
  • the height of the dosing device attached to the crane silo changes. their accessibility and thus the length of the pull rope, so that the concreting -Kranilo and bainschlauch- out of balance respectively. comes from a stable position and thus makes the work of the staff more difficult.
  • a complicated handling of the delivery hose has disadvantageous the safety of a construction site and the equipment used and affects the work performance.
  • the object of the invention is therefore to provide a method and a crane silo, which ensure a simple and reliable processing of building materials from containers of a crane silo via a delivery hose efficiently and safely.
  • the object is achieved in that the opening of the metering device for forming a conveyor cross section on the delivery hose by a with the opening movement of a gas for a prestressed closing movement of the metering device in a counterforce to the opening movement to a closing pressure compressing, hydraulic force.
  • the opening of the metering device for forming a conveying cross section on the delivery hose by one with the opening movement the gas from an expansion space for the purpose of a gas pressure increase in a separate gas pressure accumulator resp.
  • Gas pressure vessel transporting, hydraulic force and to close the metering device resp.
  • the compressed gas located in the gas pressure accumulator is returned to the expansion space with relaxation of the gas pressure. recycled.
  • the inventive method can alternatively be applied by the opening of the metering device for forming a conveyor cross-section of the delivery hose by a with the opening movement of liquid from the expansion space, respectively.
  • Cylinder space in a gas pressure accumulator separately surrounding pressure vessel for the purpose of increasing the gas pressure in the gas pressure accumulator transposing, hydraulic force and the closing of the metering device resp. for closing the delivery cross-section of the delivery hose, which is returned in the pressure vessel liquid located under relaxation of the gas pressure in the expansion space.
  • the hydraulic force can be generated by supplying a piston guided in a cylinder space of the cylinder of the piston-cylinder unit on one side by means of supplied liquid and simultaneously with the rear side of the piston moved by the hydraulic force from the expansion space liquid under compression effect on the gas pressure accumulator be promoted in the pressure vessel.
  • the method can be used with a suitable for this purpose according to the invention Kransilo for the transport of pourable building materials such as concrete, gravel, sand, etc., formed with a material for receiving a building material, at an upper end of a filling opening for charging and at a lower end a discharge opening provided for removal of the building material via a hanging attached conveyor hose having container and which is connected to a detachable support frame, wherein below the container in the emptying direction to the Emptying opening then, arranged on the conveying hose for changing the conveying cross section, adjustable metering device is arranged, which is connected to the actuation with a drive shaft, wherein the crane silo according to the invention is characterized in that the drive shaft of an actuator with a piston-cylinder unit in two Cylinder spaces separating piston drivingly connected and the first cylinder space of the cylinder of the piston-cylinder unit before resp. behind the piston for receiving a liquid medium with a feed pump line connected and the cylinder chamber behind resp. connected in front of the piston
  • the second cylinder space for receiving a gaseous medium for example nitrogen, is connected to a gas pressure vessel.
  • the drive devices according to the invention offer a considerable advantage in terms of reliability and maintenance.
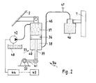
  • the Fig. 1 shows in excerpts a crane silo 1 for the transport of pourable building materials such as concrete, gravel, sand or the like.
  • a container 2 which is cylindrical in the upper region, but could also have a polygonal cross-section, such as the execution of a crane silo in the CH 685 831 A5 , and its container wall resp. -walls to a lower discharge opening 3 towards approximately conical or pyramidal resp. funnel-like, the container 2 tapering, run.
  • the upper end of the container 2 (not visible) is as a filling opening 3 for charging the container 2 and the lower end formed with the discharge opening 3 for removing a building material.
  • the emptying opening 3 is provided for example with a nozzle 4, to which a conveyor hose 5 shown in broken lines by means of a connecting piece 4 surrounding Bride 6 is attached hanging .
  • the crane silo 1 is designed to remove the building materials via a delivery hose 5, in a transverse to the conveying direction of the building materials compressed state is shown.
  • the crane silo 1 for loading the container 2 has a support frame 7 which can be placed on the floor and to which the container 2 is fastened.
  • an adjustable metering device 8 acting on the downwardly hanging delivery hose 5 for changing the delivery cross section is arranged.
  • the metering device 8 is detachably fastened to the outside of the lower container region narrowing in the conveying direction by connecting elements 9, for which purpose a screw connection 10 is provided in each case. It would also be possible to attach the metering device 8 to other parts of the crane silo 1, for example to the support frame 7.
  • a metering device 8 at a like in the CH 685831 A5 described to be subsequently grown with a trained below the emptying opening flap closure Kransilo to make a promotion of building materials via a delivery hose can.
  • the dosing device 8 surrounding the delivery hose (at least partially) could be attached to a closure device of the container, for example a flap closure of a crane silo after CH 685 831 A5 be releasably attached, so that an optional use of this crane silos-such as in EP 10 405 018.2 disclosed- is possible.
  • the metering device 8 has attached to a frame 11, from both sides the downwardly directed (hanging) conveying hose 5 delivery and foundedversetzbare Dosierbalken 12, 13, which are connected to an actuating device 14.
  • Fig. 3 the metering device 8 is illustrated on an enlarged scale.
  • the frame 11 consists of two spaced side plates 15, 16, held together by transverse rods 17, 18, 19 and screw connections 10 resp. are connected and stabilize the frame 11.
  • the on the delivery hose 5 (in Fig. 3 not apparent) deliverable and Wegsetzsetzbaren Dosierbalken 12, 13 are located in Fig. 3 in the operating position according to Fig. 1 , in which the flow of the building materials in the delivery hose 5 is interrupted.
  • the metering bars 12, 13 are in accordance with Fig. 1 approximately evenly distributed on the conveyor cross section of the delivery hose 5, laterally held away from each other (Dosierbalken 12 'and 13') and make the delivery hose 5 to flow freely. If the delivery flow in the delivery hose 5 is interrupted, the metering bars 12, 13 take their into the Fig. 1 and 3 shown position and press the intermediate conveying hose 5 flat together.
  • both Dosierbalken 12, 13 are moved against each other and are for this purpose on pivot arms 21, 22 mounted in the frame 11 pendulum.
  • the pivot arms 21, 22 each have a common pivot axis 23, 24, which are arranged opposite one another in pivot bearings 25, 26 on the frame plates 15, 16, wherein the suspension of Dosierbalken 12, 13 on a common axis is not mandatory.
  • the Dosierbalken 12, 13 in compressed, formed mainly of rubber, plastic and fabric conveying hose 5 in the Offset longitudinal extent, ie arranged differently in height, so that the conveyor hose 5 can be gently pressed together and is not exposed to a by pressing together the Dosierbalken 12, 13 resulting harmful pressure.
  • the effective region of the metering bars 12, 13 occurring larger stones in the conveying hose 5 can be displaced in the conveying direction, so that also liquid and fines of the building material remain on the metering device 8.
  • the Dosierbalken 12 and / or 13 are connected to lever gears 27, 28 of the actuator 14, wherein the connection points are formed by a respective steering lever 29, 30 of the lever mechanism 27, 28 and the pivotable end of the pivot arms 21, 22.
  • the steering levers 29, 30 are with their opposite ends respectively at the free ends of the lever arms 31, respectively.
  • the latter is each mounted in a side plate 15, 16 of the frame 11 and drivingly connected to the mounted in the opposite side plate 16, 15 Doppelarmhebel 33.
  • the actuation of the lever mechanism 27, 28 by means of a in Fig. 2 shown drive device 34, which with a drive shaft 20 (see Fig. 1 to 3 ) of the actuator 14 is drivingly connected.
  • the mirror-image opposing, similar lever mechanism 27, 28 are respectively disposed on the Souiten15, 16 within the frame 11, so that they are protected against external influences and the surrounding area.
  • drive device 34 acting on the drive shaft 20 of the actuator 14 of the metering device 8 drive device 34 consists of a piston-cylinder unit 35, the piston 36, the cylinder in a first cylinder chamber 37 and in a second cylinder chamber 38 separates.
  • the piston-cylinder unit 35 is preferably pivotally connected at the upper end to the support frame 7 or the container 2 of the crane silo 1.
  • the piston 36 has a piston rod 39, which in the direction of movement of the piston 36, a lower cylinder bottom 40 passes through tightly and is connected at the opposite end of the piston 36 with a fixed to the drive shaft 20 lever 41 gelchanbusend.
  • the first cylinder chamber 37 is line connected to the liquid intake with a hydraulic pump 42, which in turn driven by an electric motor and by a mobile control device 43 via a control device 44 remotely controllable resp. is remotely controlled.
  • An electric motor (not shown) drivingly connected to the hydraulic pump 42 is connected to an electric power source such as an accumulator (not shown).
  • the second cylinder chamber 38 is connected via line 45 with a gas pressure accumulator 46, in the gas, for example, liquid nitrogen, by the out of the hydraulic pump 42 in the first cylinder chamber 37 to the piston 36 guided liquid into the gas reservoir 46 to achieve a high gas pressure preloaded counterforce is displaced to the hydraulic force.
  • the gas pressure accumulator 46 may be formed as a pressure bottle and attached to the support frame 7 of the crane silo 1.
  • gas preferably nitrogen
  • the mass of the conveyor cross section in the delivery hose 5, respectively. the flow rate can be determined and changed. If the supply of liquid for the hydraulic force is interrupted and the liquid, for example, returned to a collecting container 48, the gas pressure in the gas pressure accumulator 46, the line 45 and the second cylinder chamber 38 formed line resp. Gas guide assembly, and the piston 36, gas-loaded at the back, displaced with a lifting movement liquid from the first cylinder chamber 37 via the hydraulic pump 42 in the collecting container 48 back, or in a by-pass line (not shown).
  • the drive device 34 could also be formed by a valve arrangement, with which the metering device 8 is driven via the drive shaft 20.
  • the closing process can take place in accordance with the relaxation of the gas pressure abruptly.
  • Fig. 4 shows an alternative drive device 34 for actuating the metering device 8 of the crane silo 1.
  • the difference with respect to the drive device 34 in Fig. 2 essentially lies in the fact that the second cylinder chamber 38, which also as in the case of the drive device 34, after Fig. 2 could be arranged on the opposite side of the piston 36 of the piston-cylinder unit 35, with a gas reservoir 49 having a pressure vessel 50 a pressure fluid leading, such as hydraulic oil, line connected.
  • the gas reservoir 49 may be formed as a bubble, membrane or piston accumulator.
  • the in Fig. 4 illustrated bubble memory 49 is shown in two positions. With the solid line, the bubble is in a VorHolldruck ein in which it is filled with nitrogen and resting on a poppet valve 51, the mouth of the conduit 45, which connects the cylinder chamber 38 of the piston-cylinder unit 35 with the pressure vessel 50, closes.
  • the dashed line mediates the bubble under working pressure resp. increased pressure by the supplied from the cylinder chamber 38 in the pressure vessel 50 hydraulic fluid.
  • the volume change of the bubble between the position at minimum and maximum working pressure corresponds to the stored amount of liquid.
  • the bladder Via a filling valve 52, the bladder can be filled with nitrogen and then takes the form in the Vor colll ein. As pressurized fluid is delivered into the pressure vessel 50, the nitrogen in the bladder 49 is compressed, that is, the gas volume decreases and the pressure is increased.
  • the hydraulic force directed by the feed pump 42 onto the piston 36 of the piston-cylinder unit 35 can be interrupted by the supplied hydraulic fluid or reversed in a circuit of the hydraulic fluid (not shown) in the case of a directional control valve arrangement.
  • the prestressed bladder 49 thereby expands and pushes the pressurized fluid back into the second cylinder chamber 38 until the bladder 49 rests against the fluid valve so that the pressurized fluid is blocked in the pressure vessel 50, with the piston 36 returning at the same time and the material being conveyed through closure the metering device 8 is interrupted.
  • the pressure vessel 50 could be provided with a diaphragm (not shown), which, like the bladder, at the filling end of the pressure vessel 50 for the pressurized liquid at the opposite end is fixed in the pressure vessel 50 and filled with nitrogen.
  • the membrane On the side facing the filling end, the membrane has a fixed plate, which forms a valve with the end of the line 45. The operation of the membrane memory corresponds to the mentioned difference the bladder memory.
  • a piston accumulator which has a cylinder connected to the line 45, which a piston separates into a nitrogen-enriched gas space and, facing away from the latter, into a pressure fluid space, to which the pressure line 45 adjoins.
  • the drive devices described allow a metered, even continuous opening a metering device, which can be closed by the closing pressure generated abruptly and with sufficient force.

Landscapes

  • Engineering & Computer Science (AREA)
  • Architecture (AREA)
  • Mechanical Engineering (AREA)
  • Civil Engineering (AREA)
  • Structural Engineering (AREA)
  • Filling Or Emptying Of Bunkers, Hoppers, And Tanks (AREA)

Abstract

Bei einem Verfahren zur Entleerung eines zur Aufnahme und zum hängenden Transport von schüttfähigen Baustoffen wie Beton, Kies, Sand etc. ausgebildeten Kransilos (1), mit einem Behälter (2), der an dem oberen Ende eine Einfüllöffnung zur Beschickung und an dem unteren Ende eine Entleerungsöffnung (3) zur Entnahme des Baustoffes über einen an dem Kransilo (1) hängend befestigten und mit der Entleerungsöffnung (3) des Behälters (2) förderwirksam verbundenen Förderschlauch (5) aufweist und dem eine an dem der Entleerungsöffnung (3) des Behälters (2) zugewandten Förderbereich zum Schliessen und Oeffnen verstellbare Dosiervorrichtung (8) zugeordnet ist, wobei das Oeffnen der Dosiervorrichtung (8) zur Bildung eines Förderquerschnitts an dem Förderschlauch (5) durch eine mit einer Oeffnungsbewegung ein Gas für eine vorgespannte Schliessbewegung der Dosiervorrichtung (8) in eine Gegenkraft zur Oeffnungsbewegung auf einen Schliessdruck komprimierende, hydraulische Kraft erfolgt.

Description

  • Die Erfindung betrifft ein Verfahren zur Entleerung eines zur Aufnahme und zum hängenden Transport von schüttfähigen Baustoffen wie Beton, Kies, Sand etc. ausgebildeten Kransilos mit einem Behälter, der an dem oberen Ende eine Einfüllöffnung zur Beschickung und an dem unteren Ende eine Entleerungsöffnung zur Entnahme des Baustoffes über einen an dem Kransilo hängend angeordneten und mit der Entleerungsöffnung des Behälters förderwirksam verbundenen Förderschlauch aufweist, dem eine an dem der Entleerungsöffnung des Behälters zugewandten Förderbereich zum Schliessen und Oeffnen verstellbare Dosiervorrichtung zugeordnet ist.
  • Ein Kransilo zur Durchführung des Verfahrens der eingangs genannten Art ist u.a. in der EP 10 405 018.2 beschrieben.
  • Solche Kransilos werden insbesondere bei der Verarbeitung von Beton, vornehmlich Selbstverdichtendem Beton SCC (Self Compacting Concrete), aber auch bei zähfliessendem Beton mit solchen Eigenschaften eingesetzt.
  • Der selbstverdichtende Beton weist einen relativ hohen Flüssigkeitsanteil resp. eine günstige Fliessfähigkeit auf. Die sich durch das hohe Eigengewicht und das flüssige Vorkommen selbst verdichtende Masse wird aus dem Kransilo über einen Förderschlauch einem eingeschalten Hohlraum zugeführt.
  • Die durch den Förderschlauch entstehende zusätzliche Fallhöhe intensiviert die Verdichtung der Betonmasse innerhalb der Schalung, sodass auf den Einsatz von Verdichtungs- und Homogenisierungsgeräten weitgehend verzichtet werden kann. Vermehrt werden diese Kransilos, ob mit mehreckigem, kreisrundem und/oder ovalem Behälterquerschnitt, mit einem Schlauchauslauf auch für die Verarbeitung von zähflüssigem Beton verwendet, da die Flexibilität des Förderschlauches und der leichtere Umgang mit dem Schlauch für eine bessere Zugänglichkeit zu den Schalungshohlräumen genutzt werden kann.
  • Beim Betonieren mittels Förderschlauch sind an Personal und Mittel hohe Anforderungen gestellt. Der etwa drei Meter über der den Schlauch führenden Bedienungsperson an dem Kransilo hängend befestigte Förderschlauch wird vorerst in die Schalung abgesenkt, um dort den unteren Bereich erreichen und mit Beton anfüllen zu können, und mit zunehmender Füllmenge durch einen Kran resp. ein entsprechendes Hebezeug kontinuierlich hochgezogen.
  • Die Betätigung einer Dosiervorrichtung, die an dem oberen Ende des Förderschlauchs angeordnet ist, erfolgt beispielsweise für das Oeffnen der Dosiervorrichtung durch ein frei nach unten hängendes Zugseil, das vorzugsweise durch eine weitere Person betätigt wird. Das Schliessen der Dosiervorrichtung resp. ein Unterbruch der Zuführung des Baustoffes in der Schalung entsteht mittels der Kraft einer beim Oeffnungsvorgang vorzuspannenden Feder. Mit dem Ansteigen der Betonmenge in der Wandschalung ändert sich die Höhe der am Kransilo befestigten Dosiervorrichtung resp. deren Erreichbarkeit und damit die Länge des Zugseils, sodass die Betoniereinrichtung -Kransilo und Förderschlauch- aus dem Gleichgewicht resp. aus einer stabilen Lage kommt und dadurch das Arbeiten des Personals erschwert. Zudem weist sich ein umständlicher Umgang mit dem Förderschlauch nachteilig auf die Arbeitssicherheit einer Baustelle sowie die benutzte Einrichtung aus und beeinträchtigt die Arbeitsleistung.
  • An die Erfindung hat sich deshalb die Aufgabe gestellt, ein Verfahren und ein Kransilo zu schaffen, die eine einfache und zuverlässige Verarbeitung von Baustoffen aus Behältern eines Kransilos über einen Förderschlauch effizient und gefahrenlos gewährleisten.
  • Erfindungsgemäss wird die Aufgabe dadurch gelöst, dass das Oeffnen der Dosiervorrichtung zur Bildung eines Förderquerschnitts an dem Förderschlauch durch eine mit der Oeffnungsbewegung ein Gas für eine vorgespannte Schliessbewegung der Dosiervorrichtung in eine Gegenkraft zur Oeffnungsbewegung auf einen Schliessdruck komprimierende, hydraulische Kraft erfolgt.
  • Vorzugsweise kann das Oeffnen der Dosiervorrichtung zur Bildung eines Förderquerschnitts an dem Förderschlauch durch eine mit der Oeffnungsbewegung das Gas aus einem Expansionsraum zum Zweck einer Gasdruckerhöhung in einem getrennten Gasdruckspeicher resp. Gasdruckbehälter transportierende, hydraulische Kraft erfolgen und zum Schliessen der Dosiervorrichtung resp. zum Verschluss des Förderquerschnitts des Förderschlauchs wird das sich im Gasdruckspeicher befindende komprimierte Gas unter Entspannung des Gasdruckes in den Expansionsraum zurückgeführt resp. zurückgeführt.
  • Vorteilhaft kann die hydraulische Kraft durch eine einseitige Beaufschlagung eines in einem Zylinderraum einer Kolben-Zylinder-Einheit geführten Kolbens mittels einer zugeführten Flüssigkeit erzeugt und gleichzeitig mit der Rückseite des durch die hydraulische Kraft bewegten Kolbens aus dem durch die Kolben-Zylinder-Einheit gebildeten Expansionsraum Gas unter Kompressionswirkung in den Gasdruckspeicher resp. Gasdruckbehälter zurückgedrängt werden.
  • Das erfindungsgemässe Verfahren kann alternativ so angewandt werden, indem das Oeffnen der Dosiervorrichtung zur Bildung eines Förderquerschnitts an dem Förderschlauch durch eine mit der Oeffnungsbewegung Füssigkeit aus dem Expansionsraum resp. Zylinderraum in einen einen Gasdruckspeicher getrennt umgebenden Druckbehälter zum Zweck einer Gasdruckerhöhung in dem Gasdruckspeicher transpotierende, hydraulische Kraft erfolgt und das zum Schliessen der Dosiervorrichtung resp. zum Verschluss des Förderquerschnitts des Förderschlauchs, die sich im Druckbehälter befindende Flüssigkeit unter Entspannung des Gasdrucks in den Expansionsraum zurückgeführt wird.
  • Zu diesem Zweck kann die hydraulische Kraft durch eine einseitige Beaufschlagung eines in einem Zylinderraum des Zylinders der Kolben-Zylinder-Einheit geführten Kolbens mittels zugeführter Flüssigkeit erzeugt und gleichzeitig mit der Rückseite des durch die hydraulische Kraft bewegten Kolbens aus dem Expansionsraum Flüssigkeit unter Kompressionswirkung auf den Gasdruckspeicher in den Druckbehälter gefördert werden.
  • Das Verfahren kann mit einem sich hierzu geeigneten erfindungsgemässen Kransilo für den Transport schüttfähiger Baustoffe wie Beton, Kies, Sand etc. angewandt werden, der mit einem zur Aufnahme eines Baustoffes ausgebildeten, an einem oberen Ende eine Einfüllöffnung zur Beschickung und an einem unteren Ende eine Entleerungsöffnung zur Entnahme des Baustoffes über einen hängend befestigten Förderschlauch aufweisenden Behälter versehen und der mit einem abstellbaren Traggestell verbunden ist, wobei unterhalb des Behälters, in Entleerungsrichtung an die Entleerungsöffnung anschliessend, eine auf den Förderschlauch zur Aenderung des Förderquerschnitts einwirkende, verstellbare Dosiervorrichtung angeordnet ist, die zur Betätigung mit einer Antriebswelle verbunden ist, wobei sich der Kransilo erfindungsgemäss dadurch auszeichnet, dass die Antriebswelle einer Betätigungsvorrichtung mit einem eine Kolben-Zylinder-Einheit in zwei Zylinderräume trennenden Kolben antriebsverbunden und der erste Zylinderraum des Zylinders der Kolben-Zylinder-Einheit vor resp. hinter dem Kolben zur Aufnahme eines flüssigen Mediums mit einer Förderpumpe leitungsverbunden und der Zylinderraum hinter resp. vor dem Kolben an ein Gegendruckmittel angeschlossen ist.
  • Es erweist sich als vorteilhaft, wenn der zweite Zylinderraum zur Aufnahme eines gasförmigen Mediums, beispielsweise Stickstoff, an einen Gasdruckbehälter angeschlossen ist.
  • Als einfache Antriebsverbindung mit der Betätigungsvorrichtung der Dosiervorrichtung erweist es sich, wenn der Kolben an der Rückseite eine den Zylinderboden des zweiten Zylinderraums durchsetzende Kolbenstange aufweist, die an dem einen Ende eines mit dem anderen Ende an der Antriebswelle befestigten Hebels verbunden ist.
  • Gegenüber den mechanischen Ausführungen bieten die erfindungsgemässen Antriebsvorrichtungen hinsichtlich Zuverlässigkeit und Unterhalt einen erheblichen Vorteil.
  • Nachfolgend wird die Erfindung unter Bezugnahme auf den zitierten resp. den zitierenden Stand der Technik und die Zeichnung, auf die bezüglich aller in der Beschreibung nicht näher erwähnten Einzelheiten verwiesen wird, anhand eines Ausführungsbeispiels erläutert. In der Zeichnung zeigen:
  • Fig. 1
    eine auszugsweise schematische Längsschnitt-Darstellung eines Kransilos mit einer betätigbaren, auf einen Förderschlauch einwirkenden Dosiervorrichtung,
    Fig. 2
    eine schematische Darstellung einer mit der Betätigungsvorrichtung der Dosiervorrichtung gemäss Fig. 1 antriebsverbundenen Antriebsvorrichtung,
    Fig. 3
    eine vergrösserte räumliche Darstellung der in Fig. 1 veranschaulichten, an ein Kransilo anbaubare Dosiervorrichtung und
    Fig. 4
    eine schematische Darstellung einer mit der Betätigungsvorrichtung der Dosiervorrichtung gemäss Fig. 1 antriebsverbundenen, alternativen Antriebsvorrichtung.
  • Die Fig. 1 zeigt auszugsweise ein Kransilo 1 für den Transport von schüttfähigen Baustoffen wie Beton, Kies, Sand oder dgl., mit einem Behälter 2, der im oberen Bereich zylindrisch ausgebildet ist, jedoch auch einen mehreckigen Querschnitt aufweisen könnte, wie beispielsweise die Ausführung eines Kransilos in der CH 685 831 A5 , und dessen Behälterwand resp. -wände zu einer unteren Entleerungsöffnung 3 hin sich etwa kegelig oder pyramidenförmig resp. trichterartig, den Behälter 2 verjüngend, verlaufen. Das obere Ende des Behälters 2 (nicht sichtbar) ist als Einfüllöffnung 3 zur Beschickung des Behälters 2 und das untere Ende mit der Entleerungsöffnung 3 zur Entnahme eines Baustoffes ausgebildet. Die Entleerungsöffnung 3 ist beispielsweise mit einem Stutzen 4 versehen, an dem ein in unterbrochenen Linien dargestellter Förderschlauch 5 mittels einer den Stutzen 4 umgebenden Bride 6 hängend befestigt ist .Der Kransilo 1 ist zur Entnahme der Baustoffe über einen Förderschlauch 5 ausgebildet, der in einem quer zur Förderrichtung der Baustoffe zusammengepressten Zustand dargestellt ist. Ueberdies weist der Kransilo 1 zur Beschickung des Behälters 2 ein auf den Boden abstellbares Traggestell 7 auf, an dem der Behälter 2 befestigt ist. An dem unteren Ende des Behälters 2, in Entleerungsrichtung an die Entleerungsöffnung 3 anschliessend, ist eine auf den nach unten hängenden Förderschlauch 5 zur Aenderung des Förderquerschnitts einwirkende, verstellbare Dosiervorrichtung 8 angeordnet. Gemäss Ausführungsbeispiel ist die Dosiervorrichtung 8 an der Aussenseite des unteren sich in Förderrichtung verengenden Behälterbereichs durch Verbindungselemente 9, beispielsweise lösbar befestigt, wozu jeweils eine Schraubenverbindung 10 vorgesehen ist. Es wäre auch möglich, die Dosiervorrichtung 8 an anderen Teilen des Kransilos 1, beispielsweise an dem Traggestell 7 zu befestigen.
  • Es ist denkbar, eine derartige Dosiervorrichtung 8 an einem wie in der CH 685831 A5 beschriebenen, mit einem einen unterhalb der Entleerungsöffnung aufweisenden Klappenverschluss ausgebildeten Kransilo nachträglich anzubauen, um eine Förderung der Baustoffe über einen Förderschlauch vornehmen zu können. Zu diesem Zweck könnte die den Förderschlauch (wenigstens teilweise) umgebende Dosiervorrichtung 8 an einer Verschlussvorrichtung des Behälters, beispielsweise einem Klappenverschluss eines Kransilos nach der CH 685 831 A5 lösbar befestigt werden, sodass ein wahlweiser Einsatz dieses Kransilos -wie beispielsweise in EP 10 405 018.2 offenbart- möglich ist.
  • Die Dosiervorrichtung 8 weist an einem Gestell 11 befestigte, von beiden Seiten auf den nach unten gerichteten (hängenden) Förderschlauch 5 zustell- und zurückversetzbare Dosierbalken 12, 13 auf, die mit einer Betätigungsvorrichtung 14 verbunden sind. In Fig. 3 ist die Dosiervorrichtung 8 in einem vergrösserten Massstab veranschaulicht. Das Gestell 11 besteht aus zwei beabstandeten Seitenschildern 15, 16, die durch quer gerichtete Stangen 17, 18, 19 und Schraubenverbindungen 10 zusammengehalten resp. verbunden sind und das Gestell 11 stabilisieren. Die auf den Förderschlauch 5 (in Fig. 3 nicht ersichtlich) zustell- und zurückversetzbaren Dosierbalken 12, 13 befinden sich in Fig. 3 in der Betriebsstellung gemäss Fig. 1, in der der Förderfluss der Baustoffe im Förderschlauch 5 unterbrochen ist. In der Ausserbetriebsstellung, in der der Baustoff über den Förderschlauch 5 dem Behälter 2 entnommen wird, sind die Dosierbalken 12, 13 gemäss Fig. 1 etwa gleichmässig auf den Förderquerschnitt des Förderschlauches 5 verteilt, seitlich von diesem entfernt voneinander gehalten (Dosierbalken 12' und 13') und stellen den Förderschlauch 5 zum Durchfluss frei. Wird der Förderfluss im Förderschlauch 5 unterbrochen, nehmen die Dosierbalken 12, 13 ihre in den Fig. 1 und 3 dargestellte Stellung ein und drücken den dazwischen verlaufenden Förderschlauch 5 flach zusammen.
  • Es besteht die Möglichkeit, die Dosiervorrichtung 8 so auszubilden, dass nur einer der beiden Dosierbalken 12, 13 gegen den anderen Dosierbalken 13, 12, der stationär angeordnet ist, gepresst wird.
  • Beim vorliegenden Ausführungsbeispiel werden beide Dosierbalken 12, 13 gegeneinander bewegt und sind zu diesem Zweck an Schwenkarmen 21, 22 im Gestell 11 pendelbar gelagert. Die Schwenkarme 21, 22 weisen jeweils eine gemeinsame Schwenkachse 23, 24 auf, die in Schwenklagern 25, 26 an den Gestellschildern 15, 16 sich gegenüberliegend angeordnet sind, wobei die Aufhängung der Dosierbalken 12, 13 an einer gemeinsamen Achse nicht zwingend ist.
  • Vorliegend dargestellt sind die Dosierbalken 12, 13 bei zusammengepresstem, vornehmlich aus Gummi, Kunststoff und Gewebe gebildeten Förderschlauch 5 in dessen Längserstreckung versetzt, also höhenunterschiedlich angeordnet, damit der Förderschlauch 5 schonend zusammengepresst werden kann und nicht einem durch ein Aufeinanderpressen der Dosierbalken 12, 13 entstehenden schädlichen Druck ausgesetzt ist. Dadurch lassen sich im Wirkbereich der Dosierbalken 12, 13 vorkommende grössere Steine im Förderschlauch 5 in Förderrichtung verschieben, sodass auch Flüssigkeits- und Feinanteile des Baustoffs an der Dosiervorrichtung 8 zurückbleiben. Die Dosierbalken 12 und/oder 13 sind mit Hebelgetrieben 27, 28 der Betätigungsvorrichtung 14 verbunden, wobei die Verbindungsstellen durch jeweils einen Lenkhebel 29, 30 des Hebelgetriebes 27, 28 und dem schwenkbaren Ende der Schwenkarme 21, 22 gebildet werden. Die Lenkhebel 29, 30 sind mit ihren gegenüberliegenden Enden jeweils an den freien Enden der Hebelarme 31 resp. 32 eines Doppelarmhebels 33 gekuppelt. Letzterer ist jeweils in einem Seitenschild 15, 16 des Gestells 11 gelagert und mit dem im gegenüberliegenden Seitenschild 16, 15 gelagerten Doppelarmhebel 33 antriebsverbunden. Die Betätigung der Hebelgetriebe 27, 28 erfolgt mittels einer in Fig. 2 dargestellten Antriebsvorrichtung 34, die mit einer Antriebswelle 20 (siehe Fig. 1 bis 3) der Betätigungsvorrichtung 14 antriebsverbunden.
  • Ist nur ein Dosierbalken 12, 13 beweglich angeordnet, kann auf einen Lenkhebel 29, 30 verzichtet werden und der Doppelarmhebel 33 kann gegen einen Einarmhebel (nicht ersichtlich) ersetzt werden.
  • Die sich im Abstand spiegelbildlich gegenüberliegenden, gleichartigen Hebelgetriebe 27, 28 sind jeweils an den Seitenschildern15, 16 innerhalb des Gestells 11 angeordnet, so dass sie gegen Einwirkungen von aussen und die nähere Umgebung geschützt sind.
  • Die in Fig. 2 schematisch dargestellte, auf die Antriebswelle 20 der Betätigungsvorrichtung 14 der Dosiervorrichtung 8 einwirkende Antriebsvorrichtung 34 besteht aus einer Kolben-Zylinder-Einheit 35, deren Kolben 36 den Zylinder in einen ersten Zylinderraum 37 und in einen zweiten Zylinderraum 38 trennt. Die Kolben-Zylinder-Einheit 35 ist an dem oberen Ende mit dem Traggestell 7 oder dem Behälter 2 des Kransilos 1 vorzugsweise schwenkbar verbunden. Der Kolben 36 weist eine Kolbenstange 39 auf, die in Bewegungsrichtung des Kolbens 36 einen unteren Zylinderboden 40 dicht durchsetzt und an dem vom Kolben 36 gegenüberliegenden Ende mit einem an der Antriebswelle 20 befestigten Hebel 41 gelenkbildend verbunden ist. Der erste Zylinderraum 37 ist zur Flüssigkeitsaufnahme mit einer Hydraulikpumpe 42 leitungsverbunden, die ihrerseits elektromotorisch angetrieben und von einer mobilen Bedienungsvorrichtung 43 aus über eine Steuervorrichtung 44 fernsteuerbar resp. ferngesteuert ist. Ein mit der Hydraulikpumpe 42 antriebsverbundener Elektromotor (nicht ersichtlich) ist an eine elektrische Energiequelle, beispielsweise einen Akkumulator (nicht dargestellt) angeschlossen.
  • Der zweite Zylinderraum 38 ist über Leitung 45 mit einem Gasdruckspeicher 46 verbunden, in dem Gas, beispielsweise aus flüssigem Stickstoff, durch die aus der Hydraulikpumpe 42 in den ersten Zylinderraum 37 auf den Kolben 36 geführte Flüssigkeit in den Gasspeicher 46 zur Erzielung eines hohen Gasdruckes als vorgespannte Gegenkraft zur hydraulischen Kraft verdrängt wird. Der Gasdruckspeicher 46 kann als Druckflasche ausgebildet und an dem Traggestell 7 des Kransilos 1 befestigt sein.
  • Der auch als Expansionsraum dienende zweite Zylinderraum 38 und der Gasdruckspeicher 46 werden über einen Einfüllanschluss 47 in Form eines Leitungsstutzens mit Gas, vorzugsweise Stickstoff angereichert, so dass bei vorgespanntem resp. komprimiertem Gas im Gasdruckspeicher resp. Gasdruckbehälter 46 ein hoher und ergiebiger Gasdruck (Gegendruck) entsteht, der den Kolben 36 der Kolben-Zylinder-Einheit 35 bei einer Freigabe zurück- resp. die Dosiervorrichtung 8 in die Schliessposition bewegt, in der der Förderschlauch 5 flach zusammengepresst und die Baustoffförderung unterbrochen ist.
  • Durch den von der steuerbaren Hydraulikpumpe 42 im ersten Zylinderraum 37 erzeugten Flüssigkeitsdruck resp. von der auf den Kolben 36 unter Gegendruck aus dem Gasdruckbehälter 46 wirkenden hydraulischen Kraft, kann das Mass des Förderquerschnitts im Förderschlauch 5 resp. die Fördermenge bestimmt und geändert werden. Wird die Zufuhr der Flüssigkeit für die hydraulische Kraft unterbrochen und die Flüssigkeit beispielsweise in einen Auffangbehälter 48 zurückgeführt, entspannt sich der Gasdruck in der aus Gasdruckspeicher 46, der Leitung 45 sowie zweitem Zylinderraum 38 gebildeten Leitungs- resp. Gasführungsanordnung, und der Kolben 36, gasbeaufschlagt an der Rückseite, verdrängt mit einer Hubbewegung Flüssigkeit aus dem ersten Zylinderraum 37 über die Hydraulikpumpe 42 in den Auffangbehälter 48 zurück, oder in eine By-pass-Leitung (nicht ersichtlich).
  • Selbstverständlich könnte die Antriebsvorrichtung 34 auch durch eine Ventilanordnung ausgebildet sein, mit der die Dosiervorrichtung 8 über die Antriebswelle 20 angesteuert wird.
  • Der Schliessvorgang kann der Entspannung des Gasdrucks entsprechend schlagartig erfolgen.
  • Fig. 4 zeigt eine alternative Antriebsvorrichtung 34 zur Betätigung der Dosiervorrichtung 8 des Kransilos 1. Der Unterschied gegenüber der Antriebsvorrichtung 34 in Fig. 2 liegt im Wesentlichen darin, dass der zweite Zylinderraum 38, der auch wie übrigens bei der Antriebsvorrichtung 34 nach Fig. 2 auf der gegenüberliegenden Seite des Kolbens 36 der Kolben-Zylinder-Einheit 35 angeordnet sein könnte, mit einem einen Gasspeicher 49 aufweisenden Druckbehälter 50 eine Druckflüssigkeit führend, beispielsweise Hydrauliköl, leitungsverbunden ist.
  • Dadurch kann erfahrungsgemäss in den Zylinderräumen 37, 38 eine höhere Zuverlässigkeit hinsichtlich Trennung der Zylinderräume voneinander durch den Kolben 36 erzielt werden.
  • Der Gasspeicher49 kann als Blasen-, Membran- oder Kolbenspeicher ausgebildet sein. Der in Fig. 4 veranschaulichte Blasenspeicher 49 ist in zwei Stellungen dargestellt. Mit ausgezogenem Strich befindet sich die Blase in einer Vorfülldruckstellung, bei der sie mit Stickstoff gefüllt ist und aufliegend an einem Tellerventil 51die Mündung der Leitung 45, die den Zylinderraum 38 der Kolben-Zylinder-Einheit 35 mit dem Druckbehälter 50 verbindet, schliesst.
  • Die gestrichelte Linie vermittelt die Blase unter Arbeitsdruck resp. erhöhtem Druck durch die aus dem Zylinderraum 38 in den Druckbehälter 50 zugeführte Druckflüssigkeit. Die Volumenänderung der Blase zwischen der Stellung bei minimalem und maximalem Arbeitsdruck entspricht der gespeicherten Flüssigkeitsmenge. Ueber ein Füllventil 52 kann die Blase mit Stickstoff gefüllt werden und nimmt dann die Form in der Vorfüllstellung ein. Sobald Druckflüssigkeit in den Druckbehälter 50 gefördert wird, wird der Stickstoff in der Blase 49 komprimiert, d.h., das Gasvolumen verkleinert sich und der Druck wird erhöht.
  • Ueber die Steuerung 44 kann die von der Förderpumpe 42 auf den Kolben 36 der Kolben-Zylinder-Einheit 35 gerichtete hydraulische Kraft die zugeführte Druckflüssigkeit unterbrochen oder bei einer Wegeventil- Anordnung in einem Kreislauf der Druckflüssigkeit (nicht dargestellt) umgesteuert werden. Die vorgespannte Blase 49 expandiert dadurch und drückt die Druckflüssigkeit in den zweiten Zylinderraum 38 zurück bis die Blase 49 wieder an dem Flüssigkeitsventil ansteht, so dass die Druckflüssigkeit in den Druckbehälter 50 gesperrt wird, wobei der Kolben 36 gleichzeitig zurückführt und die Förderung des Baustoffes durch Schliessen der Dosiervorrichtung 8 unterbrochen wird.
  • Anstelle einer Blase könnte der Druckbehälter 50 mit einer Membrane versehen sein (nicht dargestellt), die wie die Blase an dem Einfüllende des Druckbehälters 50 für die Druckflüssigkeit an dem gegenüberliegenden Ende in dem Druckbehälter 50 befestigt ist und mit Stickstoff gefüllt ist. An der dem Einfüllende zugewandten Seite weist die Membrane einen befestigten Teller auf, der mit dem Ende der Leitung 45 ein Ventil bildet. Die Arbeitsweise des Membranspeichers entspricht mit dem erwähnten Unterschied dem Blasenspeicher.
  • Eine alternative Möglichkeit zu Blasen- und Membranspeicher bietet ein Kolbenspeicher, de einen an die Leitung 45 angeschlossenen Zylinder aufweist, den ein Kolben in einen mit Stickstoff angereicherten Gasraum und von diesem abgewandt in einen Druckflüssigkeitsraum, an den die Druckleitung 45 anschliesst, trennt.
  • Im Zusammenhang mit den Blasen-, Membran- oder Kolbenspeichern wird auf www.hydrobar.de oder www.oaler.de verwiesen.
  • Die beschriebenen Antriebsvorrichtungen gestatten ein dosiertes, auch kontinuierliches Oeffnen einer Dosiervorrichtung, die durch den erzeugten Schliessdruck schlagartig und mit ausreichender Kraft geschlossen werden kann.

Claims (15)

  1. Verfahren zur Entleerung eines zur Aufnahme und zum hängenden Transport von schüttfähigen Baustoffen wie Beton, Kies, Sand etc. ausgebildeten Kransilos mit einem Behälter, der an dem oberen Ende eine Einfüllöffnung zur Beschickung und an dem unteren Ende eine Entleerungsöffnung zur Entnahme des Baustoffes über einen an dem Kransilo hängend angeordneten und mit der Entleerungsöffnung des Behälters förderwirksam verbundenen Förderschlauch aufweist, dem eine an dem der Entleerungsöffnung des Behälters zugewandten Förderbereich zum Schliessen und Oeffnen verstellbare Dosiervorrichtung zugeordnet ist, dadurch gekennzeichnet, dass das Oeffnen der Dosiervorrichtung, zur Bildung eines Förderquerschnitts an dem Förderschlauch, durch eine mit der Oeffnungsbewegung ein Gas für eine vorgespannte Schliessbewegung der Dosiervorrichtung in eine Gegenkraft zur Oeffnungsbewegung auf einen Schliessdruck komprimierende, hydraulische Kraft erfolgt.
  2. Verfahren nach Anspruch 1, dadurch gekennzeichnet, dass das Oeffnen der Dosiervorrichtung zur Bildung eines Förderquerschnitts an dem Förderschlauch durch eine mit der Oeffnungsbewegung Gas aus einem Expansionsraum zum Zweck eines erhöhten Gasdruckes in einem getrennten Gasdruckspeicher resp. Gasdruckbehälter transportierende, hydraulische Kraft erfolgt und dass zum Schliessen der Dosiervorrichtung resp. zum Verschluss des Förderquerschnitts des Förderschlauchs das sich im Gasdruckspeicher befindende, komprimierte Gas unter Entspannung des Gasdruckes in den Expansionsraum zurückgeführt wird.
  3. Verfahren nach Anspruch 2, dadurch gekennzeichnet, dass die hydraulische Kraft durch eine einseitige Beaufschlagung eines in einem Zylinderraum einer Kolben-Zylinder-Einheit geführten Kolbens mittels einer zugeführten Flüssigkeit erzeugt und gleichzeitig mit der Rückseite des durch die hydraulische Kraft bewegten Kolbens aus dem durch die Kolben-Zylinder-Einheit gebildeten Expansionsraum Gas unter Kompressionswirkung in den Gasdruckspeicher zurückgedrängt wird.
  4. Verfahren nach Anspruch 1, dadurch gekennzeichnet, dass das Oeffnen der Dosiervorrichtung zur Bildung eines Förderquerschnitts an dem Förderschlauch durch eine mit der Oeffnungsbewegung Flüssigkeit aus dem Expansionsraum resp. Zylinderraum in einen einen Gasdruckspeicher getrennt umgebenden Druckbehälter zum Zweck einer Gasdruckerhöhung in dem Gasdruckspeicher transpotierende, hydraulische Kraft erfolgt und dass zum Schliessen der Dosiervorrichtung resp. zum Verschluss des Förderquerschnitts des Förderschlauchs, die sich im Druckbehälter befindende Flüssigkeit unter Entspannung des Gasdrucks in den Expansionsraum zurückgeführt wird.
  5. Verfahren nach Anspruch 4, dadurch gekennzeichnet, dass die hydraulische Kraft durch eine einseitige Beaufschlagung eines in einem Zylinderraum des Zylinders der Kolben-Zylinder-Einheit geführten Kolbens mittels zugeführter Flüssigkeit erzeugt und gleichzeitig mit der Rückseite des durch die hydraulische Kraft bewegten Kolbens aus dem Expansionsraum Flüssigkeit unter Kompressionswirkung auf den Gasdruckspeicher in den Druckbehälter gefördert wird.
  6. Kransilo (1) für den Transport schüttfähiger Baustoffe wie Beton, Kies, Sand etc., mit einem zur Aufnahme eines Baustoffes ausgebildeten Behälter (2), der an einem oberen Ende eine Einfüllöffnung zur Beschickung und an einem unteren Ende eine Entleerungsöffnung (3) zur Entnahme des Baustoffes über einen hängend befestigten Förderschlauch (5) aufweist und der mit einem abstellbaren Traggestell (11) verbunden ist, wobei unterhalb des Behälters (2), in Entleerungsrichtung an die Entleerungsöffnung (3) anschliessend, eine auf den Förderschlauch (5) zur Aenderung des Förderquerschnitts einwirkende, verstellbare Dosiervorrichtung (8) angeordnet ist, die zur Betätigung mit einer Antriebswelle (20) verbunden ist, dadurch gekennzeichnet, dass die Antriebswelle (20) einer Betätigungsvorrichtung (14) mit einem eine Kolben-Zylinder-Einheit (35) in zwei Zylinderräume trennenden Kolben (36) antriebsverbunden ist und der erste Zylinderraum (37) des Zylinders der Kolben-Zylinder-Einheit (35) vor resp. hinter dem Kolben (36) zur Aufnahme eines flüssigen Mediums mit einer Förderpumpe (42) leitungsverbunden und der Zylinderraum (38) hinter resp. vor dem Kolben (36) an ein Gegendruckmittel angeschlossen ist.
  7. Kransilo nach Anspruch 6, dadurch gekennzeichnet, dass der Expansionsraum resp. erste resp. zweite Zylinderraum (37, 38) mit einem einen Gasspeicher (49) getrennt umgebenden Druckbehälter (50) leitungsverbunden ist.
  8. Kransilo nach Anspruch 7, dadurch gekennzeichnet, dass der Druckbehälter (50) als Blasen-, Membran- oder Kolbenspeicher ausgebildet ist.
  9. Kransilo nach einem der Ansprüche 6 bis 8, dadurch gekennzeichnet, dass der zweite resp. erste Zylinderraum (38, 37) zur Aufnahme eines gasförmigen resp. flüssigen Mediums und an einen Gasdruckbehälter (46) resp. Druckbehälter (50) angeschlossen ist.
  10. Kransilo nach einem der Ansprüche 6 bis 9, dadurch gekennzeichnet, dass der Kolben (36) an der dem ersten resp. zweiten Zylinderraum (37) abgewandten Seite eine den Zylinderboden (40) des zweiten resp. ersten Zylinderraums (38) durchsetzende Kolbenstange (39) aufweist, die an dem einen Ende eines mit dem anderen Ende an der Antriebswelle (20) befestigten einarmigen Hebels (41) verbunden ist.
  11. Kransilo nach Anspruch 10, dadurch gekennzeichnet, dass die Kolben-Zylinder-Einheit (35) mit einem Ende vorzugsweise an dem Traggestell (7) angelenkt ist und dass die Zylinderräume (37, 38) durch flexible Leitungen mit der Förderpumpe (42) resp. einem steuerbaren Wegeventil und dem Gegendruckmittel verbunden sind.
  12. Kransilo nach einem der Ansprüche 6 bis 11, dadurch gekennzeichnet, dass die Förderpumpe (42) zumindest ansaugseitig mit einem Flüssigkeitsaufnahmebehälter (48) leitungsverbunden ist.
  13. Kransilo nach einem der Ansprüche 6 bis 12, dadurch gekennzeichnet, dass die Förderpumpe (42) resp. das in einen Kreislauf der Förderpumpe geschaltete Wegeventil zur Betätigung der Antriebswelle (20) an einem elektrischen Akkumulator angeschlossen und durch eine Steuervorrichtung (44) fernsteuerbar ausgebildet ist.
  14. Kransilo nach einem der Ansprüche 6 bis 13, dadurch gekennzeichnet, dass der zweite resp. erste Zylinderraum (38, 37) der Kolben-Zylinder-Einheit (35) durch eine flexible Gas- oder Flüssigkeitsleitung (45) mit dem vorzugsweise an dem Traggestell (11) befestigten Gasdruckbehälter (46) resp. Druckbehälter eines Blasen-, Membran- oder Kolbenspeichers verbunden ist.
  15. Kransilo nach Anspruch 14, dadurch gekennzeichnet, dass die den ersten resp. zweiten Zylinderraum (37, 38) der Kolben-Zylinder-Einheit (35) und den Gasdruckbehälter (46) resp. Druckbehälter verbindende Leitung (45) einen Einfüllanschluss (47) für das gasförmige Medium aufweist.
EP10405239.4A 2010-12-18 2010-12-18 Verfahren zur Entleerung eines zur Aufnahme und zum hängenden Transport von schüttfähigen Baustoffen ausgebildeten Kransilo Active EP2465655B1 (de)

Priority Applications (1)

Application Number Priority Date Filing Date Title
EP10405239.4A EP2465655B1 (de) 2010-12-18 2010-12-18 Verfahren zur Entleerung eines zur Aufnahme und zum hängenden Transport von schüttfähigen Baustoffen ausgebildeten Kransilo

Applications Claiming Priority (1)

Application Number Priority Date Filing Date Title
EP10405239.4A EP2465655B1 (de) 2010-12-18 2010-12-18 Verfahren zur Entleerung eines zur Aufnahme und zum hängenden Transport von schüttfähigen Baustoffen ausgebildeten Kransilo

Publications (2)

Publication Number Publication Date
EP2465655A1 true EP2465655A1 (de) 2012-06-20
EP2465655B1 EP2465655B1 (de) 2015-02-18

Family

ID=44280730

Family Applications (1)

Application Number Title Priority Date Filing Date
EP10405239.4A Active EP2465655B1 (de) 2010-12-18 2010-12-18 Verfahren zur Entleerung eines zur Aufnahme und zum hängenden Transport von schüttfähigen Baustoffen ausgebildeten Kransilo

Country Status (1)

Country Link
EP (1) EP2465655B1 (de)

Cited By (5)

* Cited by examiner, † Cited by third party
Publication number Priority date Publication date Assignee Title
CN103507817A (zh) * 2013-09-05 2014-01-15 山西路桥建设集团有限公司 简易轨道式混凝土运输装置
EP2803784A1 (de) 2013-05-12 2014-11-19 Constreq GmbH Kransilo für den Transport schüttfähiger Baustoffe, wie Beton, Kies, Sand oder dgl.
CN104176401A (zh) * 2014-07-25 2014-12-03 合肥三冠包装科技有限公司 一种料仓门驱动机构
EP2905397A1 (de) 2014-02-07 2015-08-12 Obrist Baugeräte AG Kransilo für den Transport schüttfähiger Baustoffe wie Beton, Kies, Sand oder dgl.
CN112595269A (zh) * 2020-12-14 2021-04-02 重庆建筑工程职业学院 一种房地产建筑面积测量装置

Citations (6)

* Cited by examiner, † Cited by third party
Publication number Priority date Publication date Assignee Title
US4161135A (en) * 1977-03-10 1979-07-17 Garlinghouse Roland E Fail safe fluid power device
US4432578A (en) * 1980-01-11 1984-02-21 Garlinghouse Roland E Closed pressure actuated system for placement bucket
DE9006136U1 (de) * 1990-05-31 1990-09-20 Hebing Metall-Technik GmbH, 46397 Bocholt Transportbehälter für Beton od.dgl.
JPH03286070A (ja) * 1990-03-31 1991-12-17 Fudo Constr Co Ltd コンクリートバケット装置
CH685831A5 (de) 1994-01-17 1995-10-13 Eduard Voegtli Einrichtung zum Transport von schüttfähigen Baumaterialien bzw. Baustoffen.
EP1830017A1 (de) * 2006-03-02 2007-09-05 Obrist Baugeräte AG Kransilo für den Transport von schüttfähigen Baustoffen, wie Beton, Kies, Sand oder dgl.

Patent Citations (6)

* Cited by examiner, † Cited by third party
Publication number Priority date Publication date Assignee Title
US4161135A (en) * 1977-03-10 1979-07-17 Garlinghouse Roland E Fail safe fluid power device
US4432578A (en) * 1980-01-11 1984-02-21 Garlinghouse Roland E Closed pressure actuated system for placement bucket
JPH03286070A (ja) * 1990-03-31 1991-12-17 Fudo Constr Co Ltd コンクリートバケット装置
DE9006136U1 (de) * 1990-05-31 1990-09-20 Hebing Metall-Technik GmbH, 46397 Bocholt Transportbehälter für Beton od.dgl.
CH685831A5 (de) 1994-01-17 1995-10-13 Eduard Voegtli Einrichtung zum Transport von schüttfähigen Baumaterialien bzw. Baustoffen.
EP1830017A1 (de) * 2006-03-02 2007-09-05 Obrist Baugeräte AG Kransilo für den Transport von schüttfähigen Baustoffen, wie Beton, Kies, Sand oder dgl.

Cited By (7)

* Cited by examiner, † Cited by third party
Publication number Priority date Publication date Assignee Title
EP2803784A1 (de) 2013-05-12 2014-11-19 Constreq GmbH Kransilo für den Transport schüttfähiger Baustoffe, wie Beton, Kies, Sand oder dgl.
CN103507817A (zh) * 2013-09-05 2014-01-15 山西路桥建设集团有限公司 简易轨道式混凝土运输装置
CN103507817B (zh) * 2013-09-05 2016-08-17 山西路桥建设集团有限公司 简易轨道式混凝土运输装置
EP2905397A1 (de) 2014-02-07 2015-08-12 Obrist Baugeräte AG Kransilo für den Transport schüttfähiger Baustoffe wie Beton, Kies, Sand oder dgl.
CN104176401A (zh) * 2014-07-25 2014-12-03 合肥三冠包装科技有限公司 一种料仓门驱动机构
CN112595269A (zh) * 2020-12-14 2021-04-02 重庆建筑工程职业学院 一种房地产建筑面积测量装置
CN112595269B (zh) * 2020-12-14 2022-11-22 重庆建筑工程职业学院 一种房地产建筑面积测量装置

Also Published As

Publication number Publication date
EP2465655B1 (de) 2015-02-18

Similar Documents

Publication Publication Date Title
EP2465655B1 (de) Verfahren zur Entleerung eines zur Aufnahme und zum hängenden Transport von schüttfähigen Baustoffen ausgebildeten Kransilo
EP3440010B1 (de) Entleervorrichtung für viskose stoffe sowie verfahren hierfür
WO1999039900A1 (de) Verfahren zum betreiben einer scherpaketierpresse und scherpaketierpresse
EP2535482B1 (de) Kransilo für den Transport schüttfähiger Baustoffe wie Beton, Kies, Sand oder dgl.
EP2987909A2 (de) Bodenverdichter
DE102007013382A1 (de) Verfahren zum Herstellen eines Pressballens und Vorrichtung zum Herstellen von Pressballen
EP2241867B1 (de) Vorrichtung und Anordnung zum Befüllen von Verarbeitungsstationen
EP2987908A1 (de) Bodenverdichter
DE4340235C2 (de) Vorrichtung zum kontinuierlichen Abführen viskoser Materialien aus Behältern
EP3911801A1 (de) Rüttleranordnung zur baugrundverbesserung
EP1830017B1 (de) Kransilo für den Transport von schüttfähigen Baustoffen, wie Beton, Kies, Sand oder dgl.
EP2152586B1 (de) Packmaschine
AT508287B1 (de) Vorrichtung zum pressen und fördern von ballen, insbesondere aus altstoffen
EP2980334A1 (de) Kransilo für den Transport und die Verarbeitung schüttfähiger Baustoffe
EP0830926A2 (de) Betoncontainer
EP2429926B1 (de) Laschplattform
EP2103742B1 (de) Rüttlervorrichtung zur Herstellung von Materialsäulen im Boden
EP0988450A1 (de) Zweizylinderdickstoffpumpe
EP2683874A2 (de) Rüttleranordnung zum herstellen von füllmaterialsäulen
DE3744754C2 (de) Vorrichtung zum Fördern von zwei zähflüssigen oder pastösen Substanzen in vorgegebenem Mengenverhältnis aus zwei Vorratsbehältern zu einer oder mehreren Düsen
DE4440335B4 (de) Beschickungsvorrichtung für Schüttgut
DE102018127604B3 (de) Verfahren zum Verdichten von Abfallstoffen in einem oben offenen Container mittels eines Walzenverdichters
EP2803784A1 (de) Kransilo für den Transport schüttfähiger Baustoffe, wie Beton, Kies, Sand oder dgl.
CH707015B1 (de) Verfahren zum Befüllen einer Schalung mit Beton.
DE20311067U1 (de) Vorrichtung zur Vorhaltung und Handhabung von Schüttgütern

Legal Events

Date Code Title Description
PUAI Public reference made under article 153(3) epc to a published international application that has entered the european phase

Free format text: ORIGINAL CODE: 0009012

AK Designated contracting states

Kind code of ref document: A1

Designated state(s): AL AT BE BG CH CY CZ DE DK EE ES FI FR GB GR HR HU IE IS IT LI LT LU LV MC MK MT NL NO PL PT RO RS SE SI SK SM TR

AX Request for extension of the european patent

Extension state: BA ME

17P Request for examination filed

Effective date: 20121129

REG Reference to a national code

Ref country code: DE

Ref legal event code: R079

Ref document number: 502010008897

Country of ref document: DE

Free format text: PREVIOUS MAIN CLASS: B28C0007160000

Ipc: E04G0021020000

GRAP Despatch of communication of intention to grant a patent

Free format text: ORIGINAL CODE: EPIDOSNIGR1

RIC1 Information provided on ipc code assigned before grant

Ipc: E04G 21/02 20060101AFI20140731BHEP

Ipc: B65D 90/66 20060101ALI20140731BHEP

Ipc: B65D 90/56 20060101ALI20140731BHEP

INTG Intention to grant announced

Effective date: 20140820

GRAS Grant fee paid

Free format text: ORIGINAL CODE: EPIDOSNIGR3

GRAA (expected) grant

Free format text: ORIGINAL CODE: 0009210

AK Designated contracting states

Kind code of ref document: B1

Designated state(s): AL AT BE BG CH CY CZ DE DK EE ES FI FR GB GR HR HU IE IS IT LI LT LU LV MC MK MT NL NO PL PT RO RS SE SI SK SM TR

REG Reference to a national code

Ref country code: GB

Ref legal event code: FG4D

Free format text: NOT ENGLISH

REG Reference to a national code

Ref country code: CH

Ref legal event code: EP

REG Reference to a national code

Ref country code: AT

Ref legal event code: REF

Ref document number: 710750

Country of ref document: AT

Kind code of ref document: T

Effective date: 20150315

REG Reference to a national code

Ref country code: IE

Ref legal event code: FG4D

Free format text: LANGUAGE OF EP DOCUMENT: GERMAN

REG Reference to a national code

Ref country code: DE

Ref legal event code: R096

Ref document number: 502010008897

Country of ref document: DE

Effective date: 20150402

REG Reference to a national code

Ref country code: CH

Ref legal event code: NV

Representative=s name: WERNER FENNER PATENTANWALT, CH

REG Reference to a national code

Ref country code: NL

Ref legal event code: VDEP

Effective date: 20150218

REG Reference to a national code

Ref country code: LT

Ref legal event code: MG4D

PG25 Lapsed in a contracting state [announced via postgrant information from national office to epo]

Ref country code: HR

Free format text: LAPSE BECAUSE OF FAILURE TO SUBMIT A TRANSLATION OF THE DESCRIPTION OR TO PAY THE FEE WITHIN THE PRESCRIBED TIME-LIMIT

Effective date: 20150218

Ref country code: ES

Free format text: LAPSE BECAUSE OF FAILURE TO SUBMIT A TRANSLATION OF THE DESCRIPTION OR TO PAY THE FEE WITHIN THE PRESCRIBED TIME-LIMIT

Effective date: 20150218

Ref country code: FI

Free format text: LAPSE BECAUSE OF FAILURE TO SUBMIT A TRANSLATION OF THE DESCRIPTION OR TO PAY THE FEE WITHIN THE PRESCRIBED TIME-LIMIT

Effective date: 20150218

Ref country code: SE

Free format text: LAPSE BECAUSE OF FAILURE TO SUBMIT A TRANSLATION OF THE DESCRIPTION OR TO PAY THE FEE WITHIN THE PRESCRIBED TIME-LIMIT

Effective date: 20150218

Ref country code: LT

Free format text: LAPSE BECAUSE OF FAILURE TO SUBMIT A TRANSLATION OF THE DESCRIPTION OR TO PAY THE FEE WITHIN THE PRESCRIBED TIME-LIMIT

Effective date: 20150218

Ref country code: NO

Free format text: LAPSE BECAUSE OF FAILURE TO SUBMIT A TRANSLATION OF THE DESCRIPTION OR TO PAY THE FEE WITHIN THE PRESCRIBED TIME-LIMIT

Effective date: 20150518

PG25 Lapsed in a contracting state [announced via postgrant information from national office to epo]

Ref country code: NL

Free format text: LAPSE BECAUSE OF FAILURE TO SUBMIT A TRANSLATION OF THE DESCRIPTION OR TO PAY THE FEE WITHIN THE PRESCRIBED TIME-LIMIT

Effective date: 20150218

Ref country code: RS

Free format text: LAPSE BECAUSE OF FAILURE TO SUBMIT A TRANSLATION OF THE DESCRIPTION OR TO PAY THE FEE WITHIN THE PRESCRIBED TIME-LIMIT

Effective date: 20150218

Ref country code: IS

Free format text: LAPSE BECAUSE OF FAILURE TO SUBMIT A TRANSLATION OF THE DESCRIPTION OR TO PAY THE FEE WITHIN THE PRESCRIBED TIME-LIMIT

Effective date: 20150618

Ref country code: LV

Free format text: LAPSE BECAUSE OF FAILURE TO SUBMIT A TRANSLATION OF THE DESCRIPTION OR TO PAY THE FEE WITHIN THE PRESCRIBED TIME-LIMIT

Effective date: 20150218

Ref country code: GR

Free format text: LAPSE BECAUSE OF FAILURE TO SUBMIT A TRANSLATION OF THE DESCRIPTION OR TO PAY THE FEE WITHIN THE PRESCRIBED TIME-LIMIT

Effective date: 20150519

PG25 Lapsed in a contracting state [announced via postgrant information from national office to epo]

Ref country code: CZ

Free format text: LAPSE BECAUSE OF FAILURE TO SUBMIT A TRANSLATION OF THE DESCRIPTION OR TO PAY THE FEE WITHIN THE PRESCRIBED TIME-LIMIT

Effective date: 20150218

Ref country code: EE

Free format text: LAPSE BECAUSE OF FAILURE TO SUBMIT A TRANSLATION OF THE DESCRIPTION OR TO PAY THE FEE WITHIN THE PRESCRIBED TIME-LIMIT

Effective date: 20150218

Ref country code: DK

Free format text: LAPSE BECAUSE OF FAILURE TO SUBMIT A TRANSLATION OF THE DESCRIPTION OR TO PAY THE FEE WITHIN THE PRESCRIBED TIME-LIMIT

Effective date: 20150218

Ref country code: RO

Free format text: LAPSE BECAUSE OF FAILURE TO SUBMIT A TRANSLATION OF THE DESCRIPTION OR TO PAY THE FEE WITHIN THE PRESCRIBED TIME-LIMIT

Effective date: 20150218

Ref country code: SK

Free format text: LAPSE BECAUSE OF FAILURE TO SUBMIT A TRANSLATION OF THE DESCRIPTION OR TO PAY THE FEE WITHIN THE PRESCRIBED TIME-LIMIT

Effective date: 20150218

REG Reference to a national code

Ref country code: DE

Ref legal event code: R097

Ref document number: 502010008897

Country of ref document: DE

PG25 Lapsed in a contracting state [announced via postgrant information from national office to epo]

Ref country code: PL

Free format text: LAPSE BECAUSE OF FAILURE TO SUBMIT A TRANSLATION OF THE DESCRIPTION OR TO PAY THE FEE WITHIN THE PRESCRIBED TIME-LIMIT

Effective date: 20150218

PLBE No opposition filed within time limit

Free format text: ORIGINAL CODE: 0009261

STAA Information on the status of an ep patent application or granted ep patent

Free format text: STATUS: NO OPPOSITION FILED WITHIN TIME LIMIT

26N No opposition filed

Effective date: 20151119

PG25 Lapsed in a contracting state [announced via postgrant information from national office to epo]

Ref country code: SI

Free format text: LAPSE BECAUSE OF FAILURE TO SUBMIT A TRANSLATION OF THE DESCRIPTION OR TO PAY THE FEE WITHIN THE PRESCRIBED TIME-LIMIT

Effective date: 20150218

PG25 Lapsed in a contracting state [announced via postgrant information from national office to epo]

Ref country code: BE

Free format text: LAPSE BECAUSE OF NON-PAYMENT OF DUE FEES

Effective date: 20151231

PG25 Lapsed in a contracting state [announced via postgrant information from national office to epo]

Ref country code: MC

Free format text: LAPSE BECAUSE OF FAILURE TO SUBMIT A TRANSLATION OF THE DESCRIPTION OR TO PAY THE FEE WITHIN THE PRESCRIBED TIME-LIMIT

Effective date: 20150218

Ref country code: LU

Free format text: LAPSE BECAUSE OF FAILURE TO SUBMIT A TRANSLATION OF THE DESCRIPTION OR TO PAY THE FEE WITHIN THE PRESCRIBED TIME-LIMIT

Effective date: 20151218

GBPC Gb: european patent ceased through non-payment of renewal fee

Effective date: 20151218

REG Reference to a national code

Ref country code: IE

Ref legal event code: MM4A

REG Reference to a national code

Ref country code: FR

Ref legal event code: ST

Effective date: 20160831

PG25 Lapsed in a contracting state [announced via postgrant information from national office to epo]

Ref country code: GB

Free format text: LAPSE BECAUSE OF NON-PAYMENT OF DUE FEES

Effective date: 20151218

Ref country code: IE

Free format text: LAPSE BECAUSE OF NON-PAYMENT OF DUE FEES

Effective date: 20151218

PG25 Lapsed in a contracting state [announced via postgrant information from national office to epo]

Ref country code: FR

Free format text: LAPSE BECAUSE OF NON-PAYMENT OF DUE FEES

Effective date: 20151231

PG25 Lapsed in a contracting state [announced via postgrant information from national office to epo]

Ref country code: HU

Free format text: LAPSE BECAUSE OF FAILURE TO SUBMIT A TRANSLATION OF THE DESCRIPTION OR TO PAY THE FEE WITHIN THE PRESCRIBED TIME-LIMIT; INVALID AB INITIO

Effective date: 20101218

Ref country code: BG

Free format text: LAPSE BECAUSE OF FAILURE TO SUBMIT A TRANSLATION OF THE DESCRIPTION OR TO PAY THE FEE WITHIN THE PRESCRIBED TIME-LIMIT

Effective date: 20150218

Ref country code: SM

Free format text: LAPSE BECAUSE OF FAILURE TO SUBMIT A TRANSLATION OF THE DESCRIPTION OR TO PAY THE FEE WITHIN THE PRESCRIBED TIME-LIMIT

Effective date: 20150218

PG25 Lapsed in a contracting state [announced via postgrant information from national office to epo]

Ref country code: CY

Free format text: LAPSE BECAUSE OF FAILURE TO SUBMIT A TRANSLATION OF THE DESCRIPTION OR TO PAY THE FEE WITHIN THE PRESCRIBED TIME-LIMIT

Effective date: 20150218

PG25 Lapsed in a contracting state [announced via postgrant information from national office to epo]

Ref country code: TR

Free format text: LAPSE BECAUSE OF FAILURE TO SUBMIT A TRANSLATION OF THE DESCRIPTION OR TO PAY THE FEE WITHIN THE PRESCRIBED TIME-LIMIT

Effective date: 20150218

Ref country code: MT

Free format text: LAPSE BECAUSE OF FAILURE TO SUBMIT A TRANSLATION OF THE DESCRIPTION OR TO PAY THE FEE WITHIN THE PRESCRIBED TIME-LIMIT

Effective date: 20150218

PG25 Lapsed in a contracting state [announced via postgrant information from national office to epo]

Ref country code: MK

Free format text: LAPSE BECAUSE OF FAILURE TO SUBMIT A TRANSLATION OF THE DESCRIPTION OR TO PAY THE FEE WITHIN THE PRESCRIBED TIME-LIMIT

Effective date: 20150218

Ref country code: PT

Free format text: LAPSE BECAUSE OF FAILURE TO SUBMIT A TRANSLATION OF THE DESCRIPTION OR TO PAY THE FEE WITHIN THE PRESCRIBED TIME-LIMIT

Effective date: 20150218

PG25 Lapsed in a contracting state [announced via postgrant information from national office to epo]

Ref country code: AL

Free format text: LAPSE BECAUSE OF FAILURE TO SUBMIT A TRANSLATION OF THE DESCRIPTION OR TO PAY THE FEE WITHIN THE PRESCRIBED TIME-LIMIT

Effective date: 20150218

REG Reference to a national code

Ref country code: DE

Ref legal event code: R082

Ref document number: 502010008897

Country of ref document: DE

Representative=s name: LEINWEBER & ZIMMERMANN PATENTANWALTS-PARTG MBB, DE

Ref country code: DE

Ref legal event code: R081

Ref document number: 502010008897

Country of ref document: DE

Owner name: CONSTREQ AG, CH

Free format text: FORMER OWNER: OBRIST BAUGERAETE AG, WALLBACH, CH

REG Reference to a national code

Ref country code: CH

Ref legal event code: PFA

Owner name: CONSTREQ AG, CH

Free format text: FORMER OWNER: OBRIST BAUGERAETE AG, CH

REG Reference to a national code

Ref country code: CH

Ref legal event code: NV

Representative=s name: SERAINA FENNER, CH

REG Reference to a national code

Ref country code: AT

Ref legal event code: PC

Ref document number: 710750

Country of ref document: AT

Kind code of ref document: T

Owner name: CONSTREQ AG, CH

Effective date: 20201218

P01 Opt-out of the competence of the unified patent court (upc) registered

Effective date: 20230514

PGFP Annual fee paid to national office [announced via postgrant information from national office to epo]

Ref country code: AT

Payment date: 20241218

Year of fee payment: 15

PGFP Annual fee paid to national office [announced via postgrant information from national office to epo]

Ref country code: CH

Payment date: 20250311

Year of fee payment: 15

PGFP Annual fee paid to national office [announced via postgrant information from national office to epo]

Ref country code: IT

Payment date: 20241227

Year of fee payment: 15

PGFP Annual fee paid to national office [announced via postgrant information from national office to epo]

Ref country code: DE

Payment date: 20251215

Year of fee payment: 16