EP2460576B1 - Operating toy - Google Patents
Operating toy Download PDFInfo
- Publication number
- EP2460576B1 EP2460576B1 EP11190368.8A EP11190368A EP2460576B1 EP 2460576 B1 EP2460576 B1 EP 2460576B1 EP 11190368 A EP11190368 A EP 11190368A EP 2460576 B1 EP2460576 B1 EP 2460576B1
- Authority
- EP
- European Patent Office
- Prior art keywords
- switch
- key
- switches
- toy
- key member
- Prior art date
- Legal status (The legal status is an assumption and is not a legal conclusion. Google has not performed a legal analysis and makes no representation as to the accuracy of the status listed.)
- Not-in-force
Links
Images
Classifications
-
- A—HUMAN NECESSITIES
- A63—SPORTS; GAMES; AMUSEMENTS
- A63H—TOYS, e.g. TOPS, DOLLS, HOOPS OR BUILDING BLOCKS
- A63H5/00—Musical or noise- producing devices for additional toy effects other than acoustical
-
- A—HUMAN NECESSITIES
- A63—SPORTS; GAMES; AMUSEMENTS
- A63H—TOYS, e.g. TOPS, DOLLS, HOOPS OR BUILDING BLOCKS
- A63H33/00—Other toys
- A63H33/26—Magnetic or electric toys
-
- A—HUMAN NECESSITIES
- A63—SPORTS; GAMES; AMUSEMENTS
- A63H—TOYS, e.g. TOPS, DOLLS, HOOPS OR BUILDING BLOCKS
- A63H13/00—Toy figures with self-moving parts, with or without movement of the toy as a whole
Definitions
- the present invention relates to an operating toy.
- a toy cellular phone 100 described in Japanese Registered Utility Model No. 3108962 is, as shown in FIG. 13 , formed by connecting a phone main body 101 and a lid body 103 with a display portion 102 with a hinge portion 104 openably and closably.
- the phone main body 101 and the lid body 103 are provided with a sound sensor 105, a speaker 106 for emitting sound, and a main switch 107.
- the toy cellular phone 100 has therein a control unit (not shown) that displays an appropriate image on the display portion 102 and outputs a preliminarily stored phrase from the speaker 106 for emitting sounds in response to the turning on of the main switch 107 or the sensing of sound by the sound sensor 105.
- This control unit is configured to output an appropriate phrase when the sound sensor 105 detects that there is a break in the speaking voice of a user who is an infant.
- the infant can perform speech play through pseudo-communication interestedly and pleasurably.
- US 5,306,197 discloses a key action, movable toy that moves in response to a turning action of a switch key.
- an object of the present invention is to provide a more exciting operating toy.
- an operating toy includes a toy main body, a key cylinder attached to the toy main body, and a key member that can be inserted into the key cylinder.
- the key cylinder has a first switch that is turned on when the key member is inserted completely, and a plurality of second switches that are turned on at the timing when the first switch is turned off after the key member is rotated with the first switch turned on.
- the operating toy emits sound and light in a predetermined pattern according to the combination of the second switches turned on.
- the key cylinder have an insertion hole into which the key member is inserted, and a rotating member that rotates with the rotation of the key member, that the first switch be located at the bottom of the insertion hole, and the plurality of second switches be arranged along the insertion hole, and that the key member have a first switch pressing portion at the distal end of an inserted portion inserted into the key cylinder, the first switch pressing portion turning on the first switch via the rotating member, and a second switch pressing portion on the side of the inserted portion, the second switch pressing portion turning on at least one of the plurality of second switches.
- the second switches be pressed.
- the rotating member have a fan-shaped plate having a central angle smaller than the allowable rotation angle of the rotating member, and the first switch be pressed by the fan-shaped plate.
- the operating toy have a control portion that has a receiving portion receiving signals from the first switch and the second switches and that controls the operation of the operating toy, and the receiving portion start receiving signals from the second switches after the receiving portion receives the OFF signal of the first switch.
- the key member have an inserted portion inserted into the key cylinder and a grip portion gripped by a user, and the grip portion serve as a doll body.
- an operating toy 10 in this embodiment has a toy cellular phone 20 serving as a toy main body, a key cylinder 40 attached to this toy cellular phone 20, and a key member 30 that causes this key cylinder 40 to operate.
- the toy cellular phone 20 has a lower housing 22 having an input portion 21 including a plurality of dummy input keys 211, and an upper housing 24 attached to the lower housing 22 with a hinge 23 openably and closably.
- the key cylinder 40 is attached to a part of the lower housing 22 on the hinge 23 side of the input portion 21. An insertion hole 41 into which the key member 30 is inserted is exposed on the surface of the lower housing 22.
- This key cylinder 40 is electrically connected to a control portion 50 that controls the operation of the toy main body.
- the control portion 50 is connected to a sound-emission control portion 51 that controls emission of sound, and a light emission control portion 52 that controls emission of light (see FIG. 9 ).
- the control portion 50, the sound-emission control portion 51, the light emission control portion 52, and the like can be housed, for example, in the lower housing 22.
- the upper housing 24 is transformable.
- the upper housing 24 is divided into right and left halves and transforms into an X shape.
- a sword pattern 25 on the upper housing 24 may be provided with a light-emitting device so as to emit light.
- the lower housing 22 may also be provided with a light-emitting device 26, for example, around the key cylinder 40, and a speaker 27 emitting sound.
- the key member 30 has a key main body 31 serving as an inserted portion inserted into the key cylinder 40, and a grip portion 32 gripped by a user.
- the grip portion 32 is a doll body 33.
- the doll body 33 has an upper body 34 and a lower body 35.
- the lower body 35 is supported rotatably forward and backward relative to the upper body 34.
- a key main body 31 is fixed to the upper body 34 so as to protrude downward.
- Arms 341, 341 and a head 342 are rotatably attached to the upper body 34.
- the key member 30 serves as the doll body 33 and can be transformed into various shapes by rotating both arms 341 and the head 342.
- the key main body 31 is behind the lower body 35 and is not visible.
- the key main body 31 has, in the upper part thereof, an attachment portion 311 to which the grip portion 32 is attached.
- the key main body 31 is provided with a groove 312 that is semicircular in cross-section and extends along the vertical direction. When the key main body 31 is inserted into the key cylinder 40 and is rotated, the groove 312 serves as the center of rotation.
- the distal end face of the key main body 31 serves as a first switch pressing portion 314 that presses a first switch 44 (see FIG. 8 ) of the key cylinder 40 in order to check that the key main body 31 is completely inserted into the insertion hole 41 of the key cylinder 40 described later.
- a plurality of protrusions 313 serving as second switch pressing portions are provided in various patterns. When the key member 30 is rotated, the protrusions 313 turn on second switches 45 (see FIG. 8 ) of the key cylinder 40.
- the number of the second switches 45 is six as described later, and therefore up to six protrusions 313 can be provided. Therefore, of the six protrusions 313A, 313B, 313C, 313D, 313E, and 313F, only the necessary protrusion or protrusions 313 are provided. Instead of the unnecessary protrusion or protrusions 313, a space or spaces (a gap or gaps) are provided. In the case of the key member 30 shown in FIGS. 7A and 7B , the protrusion 313E is not provided.
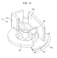
- the key cylinder 40 has a base portion 48 attached to the lower housing 22 of the toy cellular phone 20, and a key cylinder main body 42 attached to the top of the base portion 48.
- the key cylinder main body 42 has therein a rotating body 43 that is rotated by the key member 30.
- the rotating body 43 is provided with an insertion hole 41 (see FIG. 2 ) into which the key member 30 is inserted.
- a shaft 46 is provided. Therefore, when the key member 30 is inserted into the insertion hole 41, the shaft 46 fits into the groove 312 of the key member 30 and serves as the center of rotation.
- the protrusions 313 of the key member 30 protrude to the outside of the rotating body 43.
- a plurality of second switches 45 are provided in the vertical direction.
- the second switches 45 are provided at positions rotated by an allowable rotation angle ⁇ 1 from the insertion position of the key member 30 (see FIG. 12B ).
- six second switches 45 are provided.
- second switches 45A, 45B, 45C, 45D, 45E, and 45F are provided.
- a rotating member 47 is provided that is rotatable by a predetermined angle with the rotation of the key member 30.
- the first switch 44 is provided below the rotating member 47.
- the rotating member 47 has a substantially semicircular upper plate 471 and a fan-shaped plate 472 provided below the upper plate 471.
- a fitting portion into which the distal end (lower end) of the key member 30 is fitted is formed by a first vertical wall 473 and a second vertical wall 474.
- the angle through which the key member 30 rotates after insertion before coming into contact with the second switches 45 is angle ⁇ 1.
- the central angle of the fan-shaped plate 472 is ⁇ 2, and the fan-shaped plate 472 can be in contact with the first switch 44 within this range.
- the key member 30 when the key member 30 is inserted and the first switch pressing portion 314 at the distal end of the key member 30 presses the rotating member 47, the lower surface of the fan-shaped plate 472 presses and turns on the first switch 44.
- the key member 30 is rotated (in the direction of arrow in FIG. 12B ), the first switch 44 does not move, and therefore the fan-shaped plate 472 of the rotating member 47 slides while pressing the upper end face of the first switch 44.
- the central angle ⁇ 2 of the fan shape of the fan-shaped plate 472 is set smaller than the allowable rotation angle ⁇ 1 of the fan-shaped plate 472, that is to say, ⁇ 1 > ⁇ 2. For this reason, when the fan-shaped plate 472 rotating with the key member 30 rotates by angle ⁇ 2, the fan-shaped plate 472 comes out of contact with the first switch 44, and therefore the first switch 44 is turned off.
- the protrusions 313 of the key member 30 protruding from the rotating body 43 to the outside come into contact with the corresponding second switches 45 and turn on the second switches 45 (see FIG. 9 ). Since here the protrusion 313E (see FIG. 8 ) is not provided, the second switch 45E is not turned on.
- the first switch is pressed by the fan-shaped plate having a central angle smaller than the allowable rotation angle of the rotating member, the fan-shaped plate comes out of contact with the first switch 44 with the rotation of the key member 30, and the protrusions 313 of the key member 30 come into contact with the second switches at the timing when the first switch is turned off. That is to say, with the release of pressing of the first switch 44, the second switches 45 are pressed, and therefore the second switches can be turned on with the key member 30 completely inserted in the insertion hole. Therefore, the protrusions 313 of the key member 30 can reliably press the corresponding second switches 45, and false recognition of the second switches 45 can be avoided.
- the control portion 50 has a receiving portion 53, a memory 54, a determination portion 55, a light emission control portion 52, and a sound emission control portion 51.
- the receiving portion 53 receives signals from the first switch 44 and the second switches 45 of the key cylinder 40.
- the memory 54 stores patterns of sound output and light output corresponding to combinations of received signals.
- the determination portion 55 selects from among the output patterns stored in the memory 54 on the basis of the received signal from the receiving portion 53.
- the light emission control portion 52 causes the light-emitting portions 25 and 26 to operate on the basis of the determination of the determination portion 55.
- the sound emission control portion 51 causes the sound-emitting portion 27 to operate on the basis of the determination of the determination portion 55.
- the lower body 35 is lowered (see FIGS. 5A to 5C ). Since the arms 341 and the head 342 are movable, the user moves these.
- the lower body 35 of the key member 30 is rotated so as to be superimposed onto the upper body 34, and the key main body 31 is exposed (see FIGS. 6A to 6C ).
- the upper and lower housings 24 and 22 are opened, and the key main body 31 is inserted into the insertion hole 41 of the key cylinder 40.
- the first switch pressing portion 314 at the distal end of the key member 30 turns on the first switch 44 of the key cylinder 40, and the control portion 50 causes the light-emitting portions 25 and 26 and the sound-emitting portion 27 to operate and notifies the user that the key member 30 has been inserted completely (see FIG. 9 ).
- the key member 30 is rotated. At the timing when the first switch 44 is turned off, some of the second switches 45 are turned on. The protrusions 313 of the key member 30 turn on the corresponding second switches 45 of the key cylinder 40.
- the receiving portion 53 receives a key signal from the key cylinder 40
- the determination portion 55 selects an output pattern from the memory 54 on the basis of this signal
- the light emission control portion 52 and the sound emission control portion 51 cause the light-emitting portions 25 and 26 and the sound-emitting portion 27 to operate.
- the key member 30 when the key member 30 is inserted into the key cylinder 40 attached to the toy cellular phone 20 serving as a toy main body, and in the case where the key member 30 is inserted completely, the key member 30 turns on the first switch 44, sound and light are output, and therefore it can be easily checked that the key member 30 is inserted completely. If in this state the key member 30 is rotated, some of the plurality of second switches 45 are turned on. According to the combination of second switches 45 turned on at this time, sound and light are emitted in a predetermined pattern, and therefore the user feels the satisfaction that sound and light are emitted by their operation. Since some of the second switches 45 are turned on at the timing when the first switch 44 is turned off, deviation of the timing when the second switches 45 are turned on can be reduced.
- the key is rotated in a state where the key member 30 has turned on the first switch 44 and the key member 30 has been inserted completely, and the pressing of the second switches 45 is recognized at the timing when the first switch 44 is turned off. Therefore, the second switches 45 are pressed in a state where the key member 30 has been inserted completely. Therefore, false recognition of the selectively pressed second switches 45 can be avoided.
- the first switch 44 is turned on by the first switch pressing portion 314 at the distal end of the key main body 31.
- the second switches 45 are turned on by the protrusions 313 provided on the side of the key main body 31.
- the user can use the key member 30 itself as a toy.
- the user grips the doll body 33 provided in the grip portion 32 of the key member 30 operates the key member 30, and inserts the key member 30 into the key cylinder 40, only the doll body 33 stands on the toy cellular phone 20. Therefore, the interest of the user can be attracted.
- the toy main body is a toy cellular phone 20
- the user can play only with the toy main body.
- various sounds are emitted from the toy cellular phone 20. Therefore, the interest of the user can be attracted.
- the operating toy 10 according to the present invention is not limited to the above-described embodiment, and various changes may be made therein without departing from the scope of the present invention described in claims. That is to say, in the above-described embodiment, a case where the toy main body is a toy cellular phone 20 is illustrated, but the present invention is not limited to this.
- the doll body 33 serving as the grip portion 32 of the key member 30 can be changed according to the situation.
Landscapes
- Physics & Mathematics (AREA)
- Engineering & Computer Science (AREA)
- Acoustics & Sound (AREA)
- Multimedia (AREA)
- Toys (AREA)
Priority Applications (1)
| Application Number | Priority Date | Filing Date | Title |
|---|---|---|---|
| PL11190368T PL2460576T3 (pl) | 2010-12-01 | 2011-11-23 | Ruchoma zabawka |
Applications Claiming Priority (1)
| Application Number | Priority Date | Filing Date | Title |
|---|---|---|---|
| JP2010268397A JP4872019B1 (ja) | 2010-12-01 | 2010-12-01 | 動作玩具 |
Publications (2)
| Publication Number | Publication Date |
|---|---|
| EP2460576A1 EP2460576A1 (en) | 2012-06-06 |
| EP2460576B1 true EP2460576B1 (en) | 2013-10-23 |
Family
ID=45065756
Family Applications (1)
| Application Number | Title | Priority Date | Filing Date |
|---|---|---|---|
| EP11190368.8A Not-in-force EP2460576B1 (en) | 2010-12-01 | 2011-11-23 | Operating toy |
Country Status (8)
| Country | Link |
|---|---|
| US (1) | US20120142248A1 (enExample) |
| EP (1) | EP2460576B1 (enExample) |
| JP (2) | JP4872019B1 (enExample) |
| KR (1) | KR101248663B1 (enExample) |
| CN (2) | CN102389637B (enExample) |
| ES (1) | ES2441172T3 (enExample) |
| PL (1) | PL2460576T3 (enExample) |
| TW (1) | TWI473637B (enExample) |
Families Citing this family (16)
| Publication number | Priority date | Publication date | Assignee | Title |
|---|---|---|---|---|
| US9672668B2 (en) | 2012-09-28 | 2017-06-06 | Mattel, Inc. | Keyed memory device to record input user signals and output recorded user signals |
| US9067147B1 (en) | 2013-02-28 | 2015-06-30 | Hasbro, Inc. | Toy figure combiners |
| FR3021892B1 (fr) * | 2014-06-05 | 2016-09-23 | Aldebaran Robotics | Cle pour actionner plusieurs mecanismes d'un robot a caractere humanoide |
| JP5764248B1 (ja) | 2014-12-02 | 2015-08-19 | 株式会社バンダイ | 演出出力玩具 |
| JP5802322B1 (ja) * | 2014-12-02 | 2015-10-28 | 株式会社バンダイ | 演出玩具 |
| JP6594022B2 (ja) * | 2015-04-23 | 2019-10-23 | 株式会社バンダイ | 演出出力玩具 |
| JP6374831B2 (ja) * | 2015-06-12 | 2018-08-15 | 株式会社バンダイ | 演出出力玩具 |
| JP5911991B1 (ja) * | 2015-08-07 | 2016-04-27 | 株式会社タカラトミー | 入力装置 |
| CN107398080A (zh) * | 2016-09-05 | 2017-11-28 | 深圳市友悦机器人科技有限公司 | 音乐播放装置及玩具 |
| JP6166450B1 (ja) * | 2016-11-29 | 2017-07-19 | 株式会社バンダイ | 演出出力玩具 |
| JP6599524B2 (ja) * | 2018-07-20 | 2019-10-30 | 株式会社バンダイ | 演出出力玩具 |
| JP6768042B2 (ja) * | 2018-09-18 | 2020-10-14 | 株式会社バンダイ | 演出出力玩具および主玩具体 |
| JP6784818B2 (ja) * | 2019-10-01 | 2020-11-11 | 株式会社バンダイ | 演出出力玩具 |
| JP2020199351A (ja) * | 2020-09-18 | 2020-12-17 | 株式会社バンダイ | 演出出力玩具 |
| JP7095051B2 (ja) * | 2020-10-23 | 2022-07-04 | 株式会社バンダイ | 演出出力玩具 |
| JP7717890B1 (ja) * | 2024-04-05 | 2025-08-04 | 株式会社バンダイ | 演出出力玩具 |
Family Cites Families (27)
| Publication number | Priority date | Publication date | Assignee | Title |
|---|---|---|---|---|
| US2016515A (en) * | 1933-07-01 | 1935-10-08 | Harold G Ray | Automobile theft alarm |
| US2231598A (en) * | 1937-01-22 | 1941-02-11 | Edison General Elec Appliance | Electric switch |
| US3209489A (en) * | 1963-10-24 | 1965-10-05 | Walter L Strauss | Key controlled toy vehicle |
| US3444546A (en) * | 1966-07-28 | 1969-05-13 | Gen Alarm Corp | Protection system |
| US3704446A (en) * | 1970-02-09 | 1972-11-28 | Vincent J Walter | Running lights and differential parking systems for vehicles |
| US3803371A (en) * | 1971-03-08 | 1974-04-09 | B Roe | Vehicle theft security system |
| US3749930A (en) * | 1971-03-08 | 1973-07-31 | B Roe | Vehicle theft security system |
| US4208831A (en) * | 1979-02-01 | 1980-06-24 | Shelcore, Inc. | Driving simulator toy |
| JPS6256061A (ja) * | 1985-09-04 | 1987-03-11 | Nec Eng Ltd | 局間共通線信号方式における通話路導通試験方法 |
| JPS6256061U (enExample) * | 1985-09-30 | 1987-04-07 | ||
| JPH0747905B2 (ja) * | 1986-11-14 | 1995-05-24 | 本田技研工業株式会社 | 車両用盗難防止装置 |
| JPH0538784Y2 (enExample) * | 1986-11-29 | 1993-09-30 | ||
| US4932913A (en) * | 1988-02-05 | 1990-06-12 | Roni Raviv | Child's simulated vehicle control device |
| JPH03108962A (ja) | 1989-09-22 | 1991-05-09 | Fuji Photo Film Co Ltd | ビデオカメラ |
| JP2839346B2 (ja) * | 1990-09-10 | 1998-12-16 | 株式会社トミー | 走行玩具 |
| US5431033A (en) * | 1993-04-28 | 1995-07-11 | Barrett; Joseph S. | Steering wheel and ignition locking device for a vehicle |
| US5539165A (en) * | 1994-11-02 | 1996-07-23 | Wu; John | Electric lock for children's automobiles |
| US5557957A (en) * | 1995-05-15 | 1996-09-24 | Wyman; Victor D. | Automatic steering wheel anti-theft system |
| US5702283A (en) * | 1996-05-31 | 1997-12-30 | Larami Limited | Real sounds toy engine |
| KR19980016285U (ko) * | 1996-09-17 | 1998-06-25 | 김상희 | 변신 로봇 완구 |
| US6474659B1 (en) * | 2000-12-29 | 2002-11-05 | Teknek Toys International, Inc. | Ride-on toy interactive playset |
| US20030162597A1 (en) * | 2002-02-27 | 2003-08-28 | Tek Nek Toys International, Inc. | Interactive playset |
| CN2617617Y (zh) * | 2003-05-23 | 2004-05-26 | 中国重型汽车集团有限公司 | 新型汽车钥匙开关 |
| JP4644585B2 (ja) * | 2005-11-18 | 2011-03-02 | 株式会社バースデイ | 分解組み立て式人形玩具 |
| CN201154214Y (zh) * | 2007-10-22 | 2008-11-26 | 谢丽虹 | 一种变形玩具 |
| CN201399246Y (zh) * | 2009-04-30 | 2010-02-10 | 黄雅彬 | 一种旋转玩具装置 |
| CN201484358U (zh) * | 2009-07-03 | 2010-05-26 | 叶春林 | 汽车门锁控制装置 |
-
2010
- 2010-12-01 JP JP2010268397A patent/JP4872019B1/ja active Active
-
2011
- 2011-10-31 KR KR1020110112012A patent/KR101248663B1/ko not_active Expired - Fee Related
- 2011-11-07 TW TW100140591A patent/TWI473637B/zh not_active IP Right Cessation
- 2011-11-16 CN CN2011103750434A patent/CN102389637B/zh not_active Expired - Fee Related
- 2011-11-16 CN CN2013103031492A patent/CN103357186A/zh active Pending
- 2011-11-18 JP JP2011253150A patent/JP5785852B2/ja active Active
- 2011-11-23 EP EP11190368.8A patent/EP2460576B1/en not_active Not-in-force
- 2011-11-23 PL PL11190368T patent/PL2460576T3/pl unknown
- 2011-11-23 ES ES11190368.8T patent/ES2441172T3/es active Active
- 2011-11-28 US US13/304,787 patent/US20120142248A1/en not_active Abandoned
Also Published As
| Publication number | Publication date |
|---|---|
| JP2012115661A (ja) | 2012-06-21 |
| JP2012115510A (ja) | 2012-06-21 |
| CN103357186A (zh) | 2013-10-23 |
| KR20120060736A (ko) | 2012-06-12 |
| TW201223608A (en) | 2012-06-16 |
| JP5785852B2 (ja) | 2015-09-30 |
| CN102389637A (zh) | 2012-03-28 |
| HK1168063A1 (en) | 2012-12-21 |
| US20120142248A1 (en) | 2012-06-07 |
| JP4872019B1 (ja) | 2012-02-08 |
| CN102389637B (zh) | 2013-08-28 |
| KR101248663B1 (ko) | 2013-03-28 |
| TWI473637B (zh) | 2015-02-21 |
| EP2460576A1 (en) | 2012-06-06 |
| PL2460576T3 (pl) | 2014-04-30 |
| ES2441172T3 (es) | 2014-02-03 |
Similar Documents
| Publication | Publication Date | Title |
|---|---|---|
| EP2460576B1 (en) | Operating toy | |
| CN102274636B (zh) | 用于游戏控制器的附接件和控制器组件 | |
| US20080153594A1 (en) | Interactive Toy System and Methods | |
| JP5705568B2 (ja) | ゲーム用操作装置およびゲームシステム | |
| JP4703509B2 (ja) | ゲーム用操作装置およびゲームシステム | |
| US20130288563A1 (en) | Interactive toy system | |
| US20080139080A1 (en) | Interactive Toy System and Methods | |
| US20070093170A1 (en) | Interactive toy system | |
| JP2007313354A (ja) | ゲーム用操作装置およびゲームシステム | |
| US12447415B2 (en) | Two part toy figurine and a toy system | |
| KR100458079B1 (ko) | 감정 표현 로보트 | |
| HK1189540A (en) | Operating toy | |
| HK1168063B (en) | Operating toy | |
| JP2021069707A (ja) | コンパクト玩具 | |
| KR20210046343A (ko) | 다트 게임 장치 | |
| KR101773899B1 (ko) | 원심력 기반 변신 완구 어셈블리 | |
| CN115066283B (zh) | 具有按钮系统的玩具小雕像 | |
| JP2019170544A (ja) | 動作装置、動作玩具及びシステム | |
| CN221149476U (zh) | 一种故事机 | |
| JP3201504U (ja) | 玩具 | |
| JP7530493B1 (ja) | 動作玩具 | |
| CN217430808U (zh) | 一种组合式玩具乐器车 | |
| HK40080031A (en) | Toy figurine with a button system | |
| JP2025181040A (ja) | 演出出力玩具 | |
| HK40080031B (zh) | 具有按钮系统的玩具小雕像 |
Legal Events
| Date | Code | Title | Description |
|---|---|---|---|
| PUAI | Public reference made under article 153(3) epc to a published international application that has entered the european phase |
Free format text: ORIGINAL CODE: 0009012 |
|
| 17P | Request for examination filed |
Effective date: 20111123 |
|
| AK | Designated contracting states |
Kind code of ref document: A1 Designated state(s): AL AT BE BG CH CY CZ DE DK EE ES FI FR GB GR HR HU IE IS IT LI LT LU LV MC MK MT NL NO PL PT RO RS SE SI SK SM TR |
|
| AX | Request for extension of the european patent |
Extension state: BA ME |
|
| GRAP | Despatch of communication of intention to grant a patent |
Free format text: ORIGINAL CODE: EPIDOSNIGR1 |
|
| INTG | Intention to grant announced |
Effective date: 20130628 |
|
| GRAS | Grant fee paid |
Free format text: ORIGINAL CODE: EPIDOSNIGR3 |
|
| GRAA | (expected) grant |
Free format text: ORIGINAL CODE: 0009210 |
|
| AK | Designated contracting states |
Kind code of ref document: B1 Designated state(s): AL AT BE BG CH CY CZ DE DK EE ES FI FR GB GR HR HU IE IS IT LI LT LU LV MC MK MT NL NO PL PT RO RS SE SI SK SM TR |
|
| REG | Reference to a national code |
Ref country code: GB Ref legal event code: FG4D |
|
| REG | Reference to a national code |
Ref country code: CH Ref legal event code: EP |
|
| REG | Reference to a national code |
Ref country code: AT Ref legal event code: REF Ref document number: 637227 Country of ref document: AT Kind code of ref document: T Effective date: 20131115 |
|
| REG | Reference to a national code |
Ref country code: IE Ref legal event code: FG4D |
|
| REG | Reference to a national code |
Ref country code: DE Ref legal event code: R096 Ref document number: 602011003470 Country of ref document: DE Effective date: 20131219 |
|
| REG | Reference to a national code |
Ref country code: ES Ref legal event code: FG2A Ref document number: 2441172 Country of ref document: ES Kind code of ref document: T3 Effective date: 20140203 |
|
| REG | Reference to a national code |
Ref country code: NL Ref legal event code: VDEP Effective date: 20131023 |
|
| REG | Reference to a national code |
Ref country code: AT Ref legal event code: MK05 Ref document number: 637227 Country of ref document: AT Kind code of ref document: T Effective date: 20131023 |
|
| REG | Reference to a national code |
Ref country code: LT Ref legal event code: MG4D |
|
| PG25 | Lapsed in a contracting state [announced via postgrant information from national office to epo] |
Ref country code: BE Free format text: LAPSE BECAUSE OF FAILURE TO SUBMIT A TRANSLATION OF THE DESCRIPTION OR TO PAY THE FEE WITHIN THE PRESCRIBED TIME-LIMIT Effective date: 20131023 Ref country code: IS Free format text: LAPSE BECAUSE OF FAILURE TO SUBMIT A TRANSLATION OF THE DESCRIPTION OR TO PAY THE FEE WITHIN THE PRESCRIBED TIME-LIMIT Effective date: 20140223 Ref country code: NL Free format text: LAPSE BECAUSE OF FAILURE TO SUBMIT A TRANSLATION OF THE DESCRIPTION OR TO PAY THE FEE WITHIN THE PRESCRIBED TIME-LIMIT Effective date: 20131023 Ref country code: LT Free format text: LAPSE BECAUSE OF FAILURE TO SUBMIT A TRANSLATION OF THE DESCRIPTION OR TO PAY THE FEE WITHIN THE PRESCRIBED TIME-LIMIT Effective date: 20131023 Ref country code: FI Free format text: LAPSE BECAUSE OF FAILURE TO SUBMIT A TRANSLATION OF THE DESCRIPTION OR TO PAY THE FEE WITHIN THE PRESCRIBED TIME-LIMIT Effective date: 20131023 Ref country code: SE Free format text: LAPSE BECAUSE OF FAILURE TO SUBMIT A TRANSLATION OF THE DESCRIPTION OR TO PAY THE FEE WITHIN THE PRESCRIBED TIME-LIMIT Effective date: 20131023 Ref country code: NO Free format text: LAPSE BECAUSE OF FAILURE TO SUBMIT A TRANSLATION OF THE DESCRIPTION OR TO PAY THE FEE WITHIN THE PRESCRIBED TIME-LIMIT Effective date: 20140123 Ref country code: HR Free format text: LAPSE BECAUSE OF FAILURE TO SUBMIT A TRANSLATION OF THE DESCRIPTION OR TO PAY THE FEE WITHIN THE PRESCRIBED TIME-LIMIT Effective date: 20131023 |
|
| REG | Reference to a national code |
Ref country code: PL Ref legal event code: T3 |
|
| PG25 | Lapsed in a contracting state [announced via postgrant information from national office to epo] |
Ref country code: RS Free format text: LAPSE BECAUSE OF FAILURE TO SUBMIT A TRANSLATION OF THE DESCRIPTION OR TO PAY THE FEE WITHIN THE PRESCRIBED TIME-LIMIT Effective date: 20131023 Ref country code: AT Free format text: LAPSE BECAUSE OF FAILURE TO SUBMIT A TRANSLATION OF THE DESCRIPTION OR TO PAY THE FEE WITHIN THE PRESCRIBED TIME-LIMIT Effective date: 20131023 Ref country code: CY Free format text: LAPSE BECAUSE OF FAILURE TO SUBMIT A TRANSLATION OF THE DESCRIPTION OR TO PAY THE FEE WITHIN THE PRESCRIBED TIME-LIMIT Effective date: 20131023 Ref country code: LV Free format text: LAPSE BECAUSE OF FAILURE TO SUBMIT A TRANSLATION OF THE DESCRIPTION OR TO PAY THE FEE WITHIN THE PRESCRIBED TIME-LIMIT Effective date: 20131023 |
|
| PG25 | Lapsed in a contracting state [announced via postgrant information from national office to epo] |
Ref country code: PT Free format text: LAPSE BECAUSE OF FAILURE TO SUBMIT A TRANSLATION OF THE DESCRIPTION OR TO PAY THE FEE WITHIN THE PRESCRIBED TIME-LIMIT Effective date: 20140224 |
|
| REG | Reference to a national code |
Ref country code: DE Ref legal event code: R097 Ref document number: 602011003470 Country of ref document: DE |
|
| PG25 | Lapsed in a contracting state [announced via postgrant information from national office to epo] |
Ref country code: MC Free format text: LAPSE BECAUSE OF FAILURE TO SUBMIT A TRANSLATION OF THE DESCRIPTION OR TO PAY THE FEE WITHIN THE PRESCRIBED TIME-LIMIT Effective date: 20131023 Ref country code: EE Free format text: LAPSE BECAUSE OF FAILURE TO SUBMIT A TRANSLATION OF THE DESCRIPTION OR TO PAY THE FEE WITHIN THE PRESCRIBED TIME-LIMIT Effective date: 20131023 |
|
| REG | Reference to a national code |
Ref country code: IE Ref legal event code: MM4A |
|
| PG25 | Lapsed in a contracting state [announced via postgrant information from national office to epo] |
Ref country code: SK Free format text: LAPSE BECAUSE OF FAILURE TO SUBMIT A TRANSLATION OF THE DESCRIPTION OR TO PAY THE FEE WITHIN THE PRESCRIBED TIME-LIMIT Effective date: 20131023 Ref country code: CZ Free format text: LAPSE BECAUSE OF FAILURE TO SUBMIT A TRANSLATION OF THE DESCRIPTION OR TO PAY THE FEE WITHIN THE PRESCRIBED TIME-LIMIT Effective date: 20131023 Ref country code: RO Free format text: LAPSE BECAUSE OF FAILURE TO SUBMIT A TRANSLATION OF THE DESCRIPTION OR TO PAY THE FEE WITHIN THE PRESCRIBED TIME-LIMIT Effective date: 20131023 |
|
| PLBE | No opposition filed within time limit |
Free format text: ORIGINAL CODE: 0009261 |
|
| STAA | Information on the status of an ep patent application or granted ep patent |
Free format text: STATUS: NO OPPOSITION FILED WITHIN TIME LIMIT |
|
| PG25 | Lapsed in a contracting state [announced via postgrant information from national office to epo] |
Ref country code: DK Free format text: LAPSE BECAUSE OF FAILURE TO SUBMIT A TRANSLATION OF THE DESCRIPTION OR TO PAY THE FEE WITHIN THE PRESCRIBED TIME-LIMIT Effective date: 20131023 |
|
| 26N | No opposition filed |
Effective date: 20140724 |
|
| PG25 | Lapsed in a contracting state [announced via postgrant information from national office to epo] |
Ref country code: IE Free format text: LAPSE BECAUSE OF NON-PAYMENT OF DUE FEES Effective date: 20131123 |
|
| REG | Reference to a national code |
Ref country code: DE Ref legal event code: R097 Ref document number: 602011003470 Country of ref document: DE Effective date: 20140724 |
|
| PGFP | Annual fee paid to national office [announced via postgrant information from national office to epo] |
Ref country code: ES Payment date: 20141013 Year of fee payment: 4 Ref country code: DE Payment date: 20141118 Year of fee payment: 4 Ref country code: FR Payment date: 20141110 Year of fee payment: 4 |
|
| PG25 | Lapsed in a contracting state [announced via postgrant information from national office to epo] |
Ref country code: SI Free format text: LAPSE BECAUSE OF FAILURE TO SUBMIT A TRANSLATION OF THE DESCRIPTION OR TO PAY THE FEE WITHIN THE PRESCRIBED TIME-LIMIT Effective date: 20131023 |
|
| PGFP | Annual fee paid to national office [announced via postgrant information from national office to epo] |
Ref country code: PL Payment date: 20141022 Year of fee payment: 4 |
|
| PGFP | Annual fee paid to national office [announced via postgrant information from national office to epo] |
Ref country code: IT Payment date: 20141130 Year of fee payment: 4 |
|
| PG25 | Lapsed in a contracting state [announced via postgrant information from national office to epo] |
Ref country code: SM Free format text: LAPSE BECAUSE OF FAILURE TO SUBMIT A TRANSLATION OF THE DESCRIPTION OR TO PAY THE FEE WITHIN THE PRESCRIBED TIME-LIMIT Effective date: 20131023 Ref country code: TR Free format text: LAPSE BECAUSE OF FAILURE TO SUBMIT A TRANSLATION OF THE DESCRIPTION OR TO PAY THE FEE WITHIN THE PRESCRIBED TIME-LIMIT Effective date: 20131023 |
|
| REG | Reference to a national code |
Ref country code: CH Ref legal event code: PL |
|
| PG25 | Lapsed in a contracting state [announced via postgrant information from national office to epo] |
Ref country code: BG Free format text: LAPSE BECAUSE OF FAILURE TO SUBMIT A TRANSLATION OF THE DESCRIPTION OR TO PAY THE FEE WITHIN THE PRESCRIBED TIME-LIMIT Effective date: 20131023 Ref country code: CH Free format text: LAPSE BECAUSE OF NON-PAYMENT OF DUE FEES Effective date: 20141130 Ref country code: LU Free format text: LAPSE BECAUSE OF NON-PAYMENT OF DUE FEES Effective date: 20131123 Ref country code: MK Free format text: LAPSE BECAUSE OF FAILURE TO SUBMIT A TRANSLATION OF THE DESCRIPTION OR TO PAY THE FEE WITHIN THE PRESCRIBED TIME-LIMIT Effective date: 20131023 Ref country code: LI Free format text: LAPSE BECAUSE OF NON-PAYMENT OF DUE FEES Effective date: 20141130 Ref country code: HU Free format text: LAPSE BECAUSE OF FAILURE TO SUBMIT A TRANSLATION OF THE DESCRIPTION OR TO PAY THE FEE WITHIN THE PRESCRIBED TIME-LIMIT; INVALID AB INITIO Effective date: 20111123 |
|
| PG25 | Lapsed in a contracting state [announced via postgrant information from national office to epo] |
Ref country code: MT Free format text: LAPSE BECAUSE OF FAILURE TO SUBMIT A TRANSLATION OF THE DESCRIPTION OR TO PAY THE FEE WITHIN THE PRESCRIBED TIME-LIMIT Effective date: 20131023 Ref country code: GR Free format text: LAPSE BECAUSE OF NON-PAYMENT OF DUE FEES Effective date: 20131023 |
|
| REG | Reference to a national code |
Ref country code: DE Ref legal event code: R119 Ref document number: 602011003470 Country of ref document: DE |
|
| PG25 | Lapsed in a contracting state [announced via postgrant information from national office to epo] |
Ref country code: GR Free format text: LAPSE BECAUSE OF FAILURE TO SUBMIT A TRANSLATION OF THE DESCRIPTION OR TO PAY THE FEE WITHIN THE PRESCRIBED TIME-LIMIT Effective date: 20140124 |
|
| GBPC | Gb: european patent ceased through non-payment of renewal fee |
Effective date: 20151123 |
|
| PG25 | Lapsed in a contracting state [announced via postgrant information from national office to epo] |
Ref country code: IT Free format text: LAPSE BECAUSE OF NON-PAYMENT OF DUE FEES Effective date: 20151123 |
|
| REG | Reference to a national code |
Ref country code: FR Ref legal event code: ST Effective date: 20160729 |
|
| PG25 | Lapsed in a contracting state [announced via postgrant information from national office to epo] |
Ref country code: GB Free format text: LAPSE BECAUSE OF NON-PAYMENT OF DUE FEES Effective date: 20151123 Ref country code: DE Free format text: LAPSE BECAUSE OF NON-PAYMENT OF DUE FEES Effective date: 20160601 |
|
| PG25 | Lapsed in a contracting state [announced via postgrant information from national office to epo] |
Ref country code: FR Free format text: LAPSE BECAUSE OF NON-PAYMENT OF DUE FEES Effective date: 20151130 |
|
| REG | Reference to a national code |
Ref country code: ES Ref legal event code: FD2A Effective date: 20161227 |
|
| PG25 | Lapsed in a contracting state [announced via postgrant information from national office to epo] |
Ref country code: ES Free format text: LAPSE BECAUSE OF NON-PAYMENT OF DUE FEES Effective date: 20151124 |
|
| PG25 | Lapsed in a contracting state [announced via postgrant information from national office to epo] |
Ref country code: PL Free format text: LAPSE BECAUSE OF NON-PAYMENT OF DUE FEES Effective date: 20151123 |
|
| PG25 | Lapsed in a contracting state [announced via postgrant information from national office to epo] |
Ref country code: AL Free format text: LAPSE BECAUSE OF FAILURE TO SUBMIT A TRANSLATION OF THE DESCRIPTION OR TO PAY THE FEE WITHIN THE PRESCRIBED TIME-LIMIT Effective date: 20131023 |