EP2423402A2 - Highly insulated prefabricated element - Google Patents
Highly insulated prefabricated element Download PDFInfo
- Publication number
- EP2423402A2 EP2423402A2 EP20110179370 EP11179370A EP2423402A2 EP 2423402 A2 EP2423402 A2 EP 2423402A2 EP 20110179370 EP20110179370 EP 20110179370 EP 11179370 A EP11179370 A EP 11179370A EP 2423402 A2 EP2423402 A2 EP 2423402A2
- Authority
- EP
- European Patent Office
- Prior art keywords
- prefabricated
- prefabricated element
- profile
- elements
- concrete
- Prior art date
- Legal status (The legal status is an assumption and is not a legal conclusion. Google has not performed a legal analysis and makes no representation as to the accuracy of the status listed.)
- Granted
Links
Images
Classifications
-
- E—FIXED CONSTRUCTIONS
- E04—BUILDING
- E04C—STRUCTURAL ELEMENTS; BUILDING MATERIALS
- E04C2/00—Building elements of relatively thin form for the construction of parts of buildings, e.g. sheet materials, slabs, or panels
- E04C2/02—Building elements of relatively thin form for the construction of parts of buildings, e.g. sheet materials, slabs, or panels characterised by specified materials
- E04C2/26—Building elements of relatively thin form for the construction of parts of buildings, e.g. sheet materials, slabs, or panels characterised by specified materials composed of materials covered by two or more of groups E04C2/04, E04C2/08, E04C2/10 or of materials covered by one of these groups with a material not specified in one of the groups
- E04C2/284—Building elements of relatively thin form for the construction of parts of buildings, e.g. sheet materials, slabs, or panels characterised by specified materials composed of materials covered by two or more of groups E04C2/04, E04C2/08, E04C2/10 or of materials covered by one of these groups with a material not specified in one of the groups at least one of the materials being insulating
- E04C2/288—Building elements of relatively thin form for the construction of parts of buildings, e.g. sheet materials, slabs, or panels characterised by specified materials composed of materials covered by two or more of groups E04C2/04, E04C2/08, E04C2/10 or of materials covered by one of these groups with a material not specified in one of the groups at least one of the materials being insulating composed of insulating material and concrete, stone or stone-like material
-
- E—FIXED CONSTRUCTIONS
- E04—BUILDING
- E04B—GENERAL BUILDING CONSTRUCTIONS; WALLS, e.g. PARTITIONS; ROOFS; FLOORS; CEILINGS; INSULATION OR OTHER PROTECTION OF BUILDINGS
- E04B1/00—Constructions in general; Structures which are not restricted either to walls, e.g. partitions, or floors or ceilings or roofs
- E04B1/02—Structures consisting primarily of load-supporting, block-shaped, or slab-shaped elements
- E04B1/14—Structures consisting primarily of load-supporting, block-shaped, or slab-shaped elements the elements being composed of two or more materials
-
- E—FIXED CONSTRUCTIONS
- E04—BUILDING
- E04B—GENERAL BUILDING CONSTRUCTIONS; WALLS, e.g. PARTITIONS; ROOFS; FLOORS; CEILINGS; INSULATION OR OTHER PROTECTION OF BUILDINGS
- E04B1/00—Constructions in general; Structures which are not restricted either to walls, e.g. partitions, or floors or ceilings or roofs
- E04B1/62—Insulation or other protection; Elements or use of specified material therefor
- E04B1/74—Heat, sound or noise insulation, absorption, or reflection; Other building methods affording favourable thermal or acoustical conditions, e.g. accumulating of heat within walls
- E04B1/76—Heat, sound or noise insulation, absorption, or reflection; Other building methods affording favourable thermal or acoustical conditions, e.g. accumulating of heat within walls specifically with respect to heat only
- E04B1/78—Heat insulating elements
- E04B1/80—Heat insulating elements slab-shaped
-
- E—FIXED CONSTRUCTIONS
- E04—BUILDING
- E04B—GENERAL BUILDING CONSTRUCTIONS; WALLS, e.g. PARTITIONS; ROOFS; FLOORS; CEILINGS; INSULATION OR OTHER PROTECTION OF BUILDINGS
- E04B7/00—Roofs; Roof construction with regard to insulation
- E04B7/20—Roofs consisting of self-supporting slabs, e.g. able to be loaded
- E04B7/22—Roofs consisting of self-supporting slabs, e.g. able to be loaded the slabs having insulating properties, e.g. laminated with layers of insulating material
- E04B7/225—Roofs consisting of self-supporting slabs, e.g. able to be loaded the slabs having insulating properties, e.g. laminated with layers of insulating material the slabs having non-structural supports for roofing materials
-
- E—FIXED CONSTRUCTIONS
- E04—BUILDING
- E04B—GENERAL BUILDING CONSTRUCTIONS; WALLS, e.g. PARTITIONS; ROOFS; FLOORS; CEILINGS; INSULATION OR OTHER PROTECTION OF BUILDINGS
- E04B1/00—Constructions in general; Structures which are not restricted either to walls, e.g. partitions, or floors or ceilings or roofs
- E04B1/02—Structures consisting primarily of load-supporting, block-shaped, or slab-shaped elements
- E04B1/04—Structures consisting primarily of load-supporting, block-shaped, or slab-shaped elements the elements consisting of concrete, e.g. reinforced concrete, or other stone-like material
- E04B1/043—Connections specially adapted therefor
- E04B1/046—Connections specially adapted therefor using reinforcement loops protruding from the elements
-
- E—FIXED CONSTRUCTIONS
- E04—BUILDING
- E04B—GENERAL BUILDING CONSTRUCTIONS; WALLS, e.g. PARTITIONS; ROOFS; FLOORS; CEILINGS; INSULATION OR OTHER PROTECTION OF BUILDINGS
- E04B1/00—Constructions in general; Structures which are not restricted either to walls, e.g. partitions, or floors or ceilings or roofs
- E04B1/38—Connections for building structures in general
- E04B1/41—Connecting devices specially adapted for embedding in concrete or masonry
- E04B1/4171—Nailable or non-threaded screwable elements
-
- E—FIXED CONSTRUCTIONS
- E04—BUILDING
- E04F—FINISHING WORK ON BUILDINGS, e.g. STAIRS, FLOORS
- E04F13/00—Coverings or linings, e.g. for walls or ceilings
- E04F13/07—Coverings or linings, e.g. for walls or ceilings composed of covering or lining elements; Sub-structures therefor; Fastening means therefor
- E04F13/08—Coverings or linings, e.g. for walls or ceilings composed of covering or lining elements; Sub-structures therefor; Fastening means therefor composed of a plurality of similar covering or lining elements
Definitions
- the present invention relates to the construction sector. It relates more particularly to a highly insulated prefabricated carrier element and to fixing means of any type of cover or outer facing on this prefabricated element.
- the building designers use to realize the walls of a construction, a carrier element, connector elements attached to the carrier element to assemble the outer face and finally an insulator deposited on the carrier element and between the fasteners for the exterior cladding of the building. Everything is done in three phases on site.
- the prefabricated elements in the workshop are more and more used in the construction with a goal of saving time and obvious quality.
- insulated prefabricated concrete elements there is the system of insulated sandwich cladding panels. This is a classic sandwich panel type concrete-insulation-concrete. The disadvantage of these panels is that they are not connected to each other which causes movements and cracks not acceptable for a home. In addition, these panels must be fixed on a supporting structure.
- roof or wall panels with an insulating layer and a layer of concrete contiguous.
- the panel has two layers of cellular concrete, one of which is heat-insulating.
- the layers are traversed by a frame support which is surmounted by a U-shaped section in which can be housed a counter-lathing in the case of a cover panel.
- This panel has several disadvantages.
- As a wall element it is self-supporting but not carrying, that is to say that it carries its own load and possibly the outer and / or inner coating but can not take up the loads of the floors of the construction.
- the panel still requires the use of a wooden batten as an intermediate for fixing the coating.
- this type of attachment via a wooden batten does not allow to fix hooks for brick or stone siding. Such a system also requires proper ventilation of the wooden batten.
- Prefabricated elements including brick cladding are also known.
- the main ones disadvantages of these prefabricated elements are the fragility of the product during its manufacture and its assembly, the visibility of the mounting joints outside and the lack of flexibility of the product with regard to the urbanistic prescriptions (only suitable for brick facades).
- the present invention aims to overcome the disadvantages of the state of the art.
- the present invention is more particularly to achieve a prefabricated element for external walls and roofs for fixing any type of facings and covers respectively.
- the present invention also aims at producing a prefabricated element which is carrier and not only self-supporting.
- the present invention also aims to provide a highly insulated prefabricated element for the realization of low-energy or passive houses or for the realization of positive houses.
- the present invention also aims to achieve a low energy house, passive or positive being already, at the stage of the closed shell, airtight.
- the present invention relates to a prefabricated carrier element for the construction sector comprising a layer of insulation contiguous to a concrete veil and comprising fixing means allowing indifferently the fixing of any type of facings or outer covers on the free face of the insulation layer and ensuring the transfer of loads from the facing or the cover to the concrete veil.
- the present invention also relates to a shell closed and airtight comprising an assembly of prefabricated elements as described above, characterized in that an airtight seal is arranged between the elements prefabricated, and between the prefabricated elements and all the structures constituting said structural work.
- the present invention also relates to the use of the prefabricated element as described above as a load-bearing wall or roof of a highly insulated construction.
- the figure 1 represents three vertical sections of the prefabricated element according to the invention forming an outer wall with a plaster (a), a brick facing (b) or a cladding with a lathing (c) (figure above) and a section horizontal of prefabricated element with cladding with battens (c) (figure below).
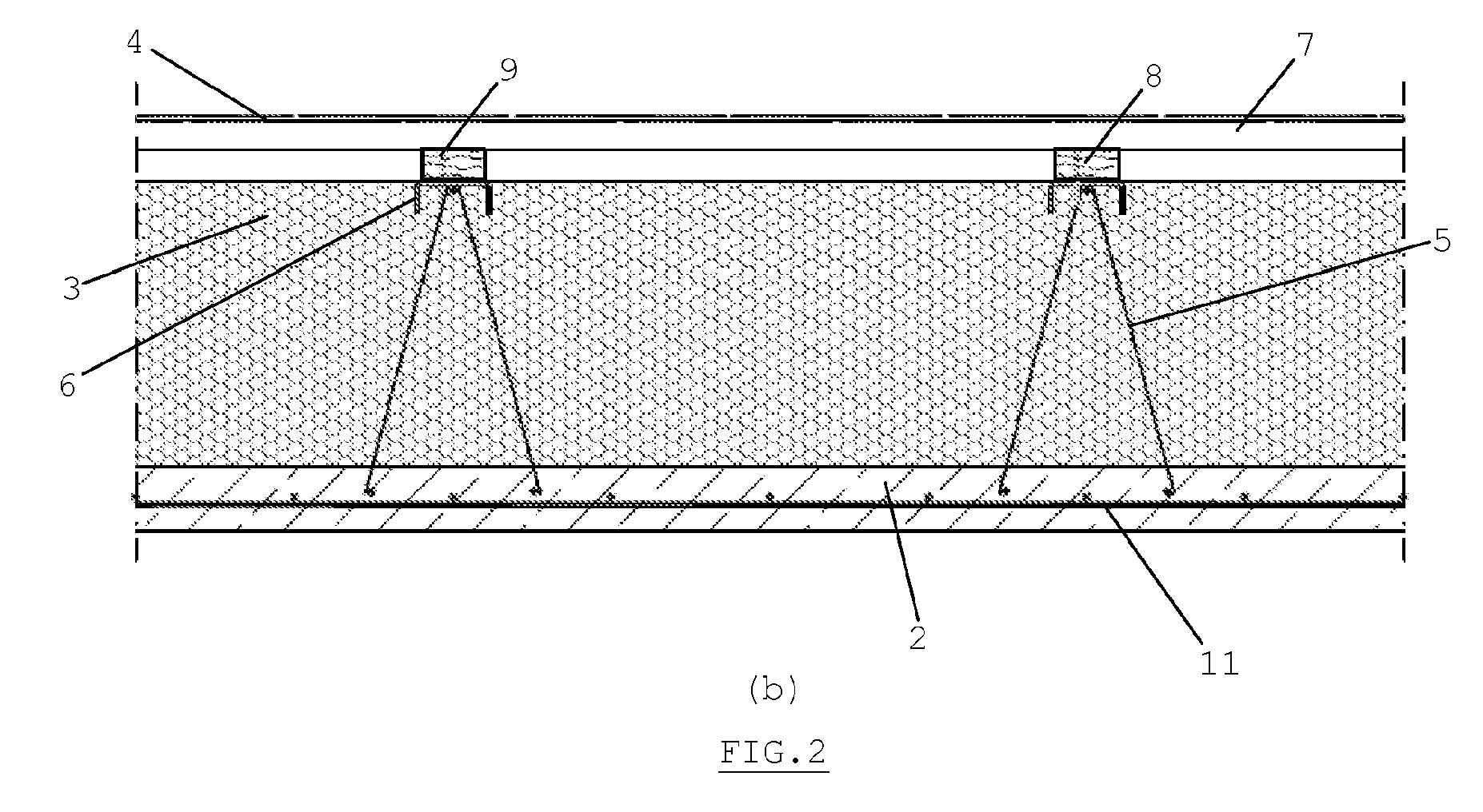
- the figure 2 represents respectively a vertical section (a) and a horizontal section (b) of the prefabricated element according to the invention forming a roof with slates covering.
- the figure 3 represents a vertical section of a prefabricated element according to the invention connected to a ventilated vacuum foundation. A thermal break is incorporated in the concrete layer to ensure thermal continuity with the slab.
- the figure 4 represents a vertical section of a connection between two prefabricated elements according to the invention for roofing.
- the figure 5 represents respectively a horizontal section of the junction between two prefabricated elements according to the invention forming an outer wall with a plaster facing (a) and a horizontal section of the junction between two prefabricated elements according to the invention with wedge mounting (without the facing) (b).
- the figure 6 represents a side view (a), a plan view (b), a top view (c) and a three-dimensional view (d) of the fastening means (without the fasteners) according to a first embodiment of the invention.
- the figure 7 represents a side view (a), a plan view (b), a top view (c) and a three-dimensional view (d) of the fastening means (without the fastening elements) according to a second embodiment of the invention.
- the figure 8 is a side view (a), a plan view (b), a top view (c) and a three-dimensional view (d) of the fastening means (without the fasteners) according to a third embodiment of the invention.
- the figure 9 is a side view (a), a plan view (b), a top view (c) and a three-dimensional view (d) of the fastening means (without the fasteners) according to a fourth embodiment of the invention.
- the present invention relates to a prefabricated prefabricated element made of highly insulated concrete and intended to receive different types of facade cladding (eg cladding made of wood, metal, plaster, masonry, natural stone, paint, etc.) or different types of roofing (tiles, shingles, photovoltaic panels, slates, metal roofing, flexible waterproofing membrane, etc.).
- facade cladding eg cladding made of wood, metal, plaster, masonry, natural stone, paint, etc.
- roofing tiles, shingles, photovoltaic panels, slates, metal roofing, flexible waterproofing membrane, etc.
- the prefabricated element 1 mainly comprises a concrete carrier veil 2 on which an insulating layer 3 is joined and fastening means 5, 6, 9 to allow the placement of the outer coating 4 as represented in FIG. figure 1 for an application as a load-bearing wall and as represented in figure 2 for an application like roofing.
- the facing 4 is respectively a plaster ( Figure 1 (a) ), a brick siding ( Figure 1 (b) ) and a cladding with lathing ( Figure 1 (c) ).
- the cover 4 is formed of slates with a lathing (slats 7) and a counter-lathing (counter-slats 8).
- the prefabricated element 1 further comprises a reinforcement 11 in the concrete web 2.
- This reinforcement may be metallic or alternatively comprise synthetic fibers.
- the fixing means of the prefabricated element comprise at least one profile 6, anchoring elements 5 and assembly elements 9.
- profile means a folded part comprising at least one core connecting two wings.
- a profile is also understood to mean a piece in the form of an angle, that is to say having two wings arranged at right angles.
- the profile having a core may be in the form of a "U”, i.e. that the soul connects two wings substantially perpendicular to the soul.
- the wings can also be inclined with respect to a perpendicular to the core.
- the profile may take other forms according to stability requirements.
- the anchoring elements 5 completely or partially cross the thickness of the prefabricated element 1 and end on the free face of the insulating layer 3, ie the face intended to receive the facing, by the profile 6.
- the anchoring elements 5 cross only partially the concrete web 2 and have at their free ends disposed in the concrete web 2 synthetic shoes 10 having the function to reduce the phenomenon of thermal bridges on the inner surface.
- the anchoring element and the profile are preferably made of stainless material or steel protected from corrosion.
- they are preferably made of stainless steel or of composite material comprising glass or carbon fibers while for an application as a roof, they are preferably made of steel protected from corrosion.
- This linear type connection is designed to take all types of siding and covers and transmit the efforts and loads of siding and covers to the concrete veil. It should be noted that for an application as a roof anchoring elements also have the function of ensuring the stability of the assembly.
- the fastening elements 9 ensuring the attachment of the cladding or the cover to the load-bearing wall or to the roof may be screws, self-drilling screws, self-tapping screws or nails.
- the manufacturing method of the prefabricated element comprises the steps in the concrete casting workshop with its reinforcement and the fastening means (without the assembly elements), then the projection of the insulating foam (e.g. ., polyurethane foam) on the concrete or insulating foam injection in a mold and finally, if necessary, leveling the faces of the product thus obtained.
- the insulating foam e.g. ., polyurethane foam
- the prefabricated element in the workshop can comprise various accessories necessary for the construction of a dwelling. It may comprise reinforcing elements made of wood or metal, in particular for fixing windows. A 150/80 wood can thus be incorporated in the insulation layer for fixing the frame at the level of the insulation.
- the prefabricated element may also comprise windows, doors, reservations for electricity and sanitary, cables, ventilation ducts.
- the prefabricated roof element can also incorporate pipes or pipes in the insulating part.
- the accessories are preferably directly incorporated and fixed in the prefabricated element so that the wall or the roof retains its functions of insulation, airtightness and its carrier character. As shown in figure 3 , a thermal break can also be incorporated in the concrete layer to ensure thermal continuity.
- the prefabricated element is then assembled on site with other prefabricated elements according to the invention.
- the figure 5 represents the on-site assembly of two prefabricated elements 1 according to the invention.
- a metal connecting element 12 disposed at the joint of the two prefabricated elements 1 and cast in concrete ensures the continuity of the concrete supporting structure between two prefabricated elements.
- the seal 13 filled with polyurethane foam ensures the continuity of the insulation between two prefabricated elements and, finally, the airtightness between two prefabricated elements is provided by a closed cell swelling band 14.
- Another example of assembly between two prefabricated elements for roofing is presented to the figure 4 .
- Whatever the connection for example between a prefabricated roof element and a prefabricated wall element, it is necessary to bond the two elements with an airtight seal. This is also applicable in the case of a connection between a prefabricated element according to the invention and foundations, floor slabs, etc.. In the end, the assembly between prefabricated elements and foundations, floors, etc. forms a shell closed, airtight.
- the concrete veil is solid and has a density greater than +/- 2400kg / m 3 .
- the prefabricated wall element has a mass of +/- 350kg / m 2 and can take loads up to 70kN / m 2 of wall.
- the prefabricated roof element has a mass of +/- 180kg / m 2 and takes roof loads up to 300kg / m 2 .
- the synthetic foam insulation it has thermal conductivity values between 0.023W / m 2 K and 0.035W / m 2 K.
- the maximum length and width of the prefabricated element are respectively 9 and 3.5 meters. They may be higher if transport permits.
- the thickness of concrete is 0.14 meters (mass of 11025kg) and can be variable depending on the required stability while the thickness of insulation (density between 35 and 55 kg / m 3 ) is 0.25 meter for an exterior wall and can also be adapted according to the needs.
- the concrete thickness is reduced to 0.06 meters and the insulation layer is 0.27 meters.
- the insulating material is polyurethane.
- the prefabricated element according to the invention has, for a polyurethane thickness of 0.25 meter, a heat transfer coefficient (U index) of less than 0.12 W / m 2 K, whereas for passive houses, the index U must be less than 0,15W / m 2 K.
- the profile may be shaped angle, this form will be preferred when the attachment of the facing is performed in a sharp place such as, for example, a corner of a facade.
- the profile can be "U" shaped or have wings inclined to a perpendicular to the soul.
- the anchoring element is fixed to the profile and, preferably, by welding. It can be attached to the wing or the web of the profile.
- the Figure 2 (b) already presented illustrates a case where the anchoring elements 5 are fixed on the core of the profile 6 while in the examples of the Figures 1 (c) and 5 (b) , the anchoring elements are fixed on the wings of the profile.
- the anchoring element can be fixed on the inner face or on the outer face of the wing.
- external face is meant the face which is not facing the hollow of the profile.
- a profile turned towards the roof can fulfill the function of gutter for the evacuation of water in addition to allowing the fixing of the cover.
- the Figures 6 to 9 have fastening means (without the fastening elements) according to four embodiments of the invention for application as a roof or as a load-bearing wall.
- the profile comprises a core connecting two inclined wings (flaring) and the anchoring element is fixed on the outer face of the wing.
- the profile is in "U" and the anchoring element is fixed on the outer face of the wing.
- two anchoring elements which will be called pairs of anchoring elements, are fixed symmetrically with respect to the longitudinal axis of the profile and several pairs of anchoring elements are fixed at intervals in the longitudinal direction of the profile.
- the profile is arranged vertically in the case of a load-bearing wall while for an application as a roof, it can be arranged according to the slope of the roof or in the sense of the scope according to the needs of stability.
- the length of the profile is substantially equal to that of one of the dimensions of the prefabricated element.
- the profile In the case of a load-bearing wall, its length is therefore substantially equal to the height of the wall while, in the case of a roof, the profile covers the length of the span.
- the profile has a reduced length and is, for example, intended to be arranged around a window within the prefabricated element.
- the anchoring elements according to the first, second, third and fourth embodiments may be of more rigid construction to take up a larger load.
- profiles may be arranged according to the width of the wall or in the direction of the range of the roof. Preferably, by way of non-limiting indication, the distance between two profiles is less than 60 cm.
- pairs of anchoring elements may also be arranged in the longitudinal direction of the profile as mentioned above. By way of example, the distance separating two pairs of anchoring elements is between 80 cm and 1 m.
- the present invention naturally extends to any other arrangement of the profiles and anchoring elements for fixing any type of facing and covering and performing the function of connection and charge transfer through the total or partial thickness of the prefabricated element as well as the stabilization function of the assembly for application as a roof.
- each anchoring element 5 comprises a first branch 15 and a second branch 16 integral at a junction zone 17 disposed on the outer face of the corresponding flange of the section; the two branches 15, 16 being symmetrical with respect to an axis perpendicular to the longitudinal axis of the profile and passing through the junction zone 17.
- each branch 15, 16 comprises successively a first part 15a, 16a and a second portion 15b, 16b.
- the first parts 15a, 16a are contained in a plane parallel to the plane of the wing and extend in this plane away from each other from the junction zone 17.
- the second parts 15b, 16b are contained in a plane perpendicular to the plane of the core and direction perpendicular to the longitudinal axis of the profile.
- each branch 15,16 comprises successively a first portion 15a, 16a and a second portion 15b, 16b.
- the first parts 15a, 16a are contained in a plane parallel to the plane of the wing. In this plane, the first portion 15a extends in a direction perpendicular to the longitudinal axis of the profile while the first portion 16a extends away from the first portion 15a.
- the second portions 15b, 16b are contained in a plane perpendicular to the plane of the core and are of direction perpendicular to the longitudinal axis of the profile.
- the first branches 15 of the two pairs frame the anchoring element 5 and the first parts 16a of the second branches 16 intersect at a point of intersection 18 passing through the axis of symmetry of the anchoring element, namely an axis perpendicular to the longitudinal axis of the profile and disposed at mid-height of the respective junctions 17 of each pair.
- the anchoring element 5 comprises a single pair of branches which is similar to that of the second embodiment.
- each anchoring element 5 always comprises a first branch 15 and a second branch 16 integral at a junction zone 17 disposed on the outer face of the corresponding wing of the profile; the two branches 15, 16 being symmetrical about an axis perpendicular to the longitudinal axis of the profile and passing through the junction zone 17. From the junction zone 17, the first 15 and second 16 branches successively comprise a first portion 15a , 16a, a second portion 15b, 16b and a third portion 15c, 16c.
- the first parts 15a, 16a are contained in a plane parallel to the plane of the wing and are each of oblique direction with respect to an axis perpendicular to the longitudinal axis of the profile.
- the second parts 15b, 16b are contained in an oblique plane (flaring) with respect to the plane of the corresponding wing and present in this plane the same oblique direction as the first parts.
- the third parts 15c, 16c are contained in a plane parallel to the plane of the corresponding wing and direction perpendicular to the longitudinal axis of the profile.
- the present invention extends to the embodiments where the anchoring elements are substantially of shapes corresponding to those of the anchoring elements shown in FIGS. figures 7 and 8 , except that each branch has three parts, and that the anchoring elements are fixed on a "U" profile.
- the junction zone 17 is preferably of rounded shape.
- the anchoring element may be circular, square or any other section as required. It will also be noted that the number of constituent parts of the branches can be modulated according to the needs.
- the first portions 15a, 16a of the branches 15, 16 are intended to extend mainly in the insulating layer while the second portions 15b, 16b are intended to extend mainly in the concrete web.
- the first 15a, 16a and second 15b, 16b parts of the branches 15, 16 are intended to extend mainly in the insulating layer while the third parts 15c, 16c are intended to extend mainly in the concrete web .
- the web of the section comes flush with the free face of the layer of insulation intended to receive the facing while the free end of the second or third parts disposed in the concrete web comprises hooves as already mentionned.
- the advantages of the prefabricated element according to the invention are numerous. In summary, it combines the functions of insulation, waterproofing, carriers while allowing the incorporation of accessories (windows, cables, etc.) necessary for a construction and, this, allowing in addition all types of interior finishing and outdoor.
- the prefabricated element according to the invention is made without joint and completely airtight thanks to the use of solid concrete. Similarly, everything that is incorporated in the prefabricated element (electricity, sanitary sewer pipe, ...) is designed to keep this seal. Subsequent piercing of the wall, as long as it does not completely pass through the wall, does not enter the criterion of airtightness either.
- the connections between the different elements are also studied in order to guarantee this seal on the entire construction after assembly of the elements. The continuity of the seal is thus ensured by a closed cell swelling band. This characteristic is valid for wall elements and roof elements but also for each connection of the elements with the other components of a construction namely, between the wall and the foundations, between the wall and the frames, between the wall and floor slabs, etc.
- the prefabricated element according to the invention is carrier. It consists of a concrete sail that can take over loads of several levels. Three floors of walls and floors can be supported on the element without any other structure. Between the elements, the continuity of the concrete supporting structure is achieved by the metallic connections and the concrete filling.
- the prefabricated elements are of large dimensions allowing a fast assembly on site. These individually prefabricated elements are thus integrated in a complete construction concept allowing the realization of "kit" dwellings.
- the prefabricated elements can also be small in particular for making beams and isolated columns.
- the profile and the anchoring element have dimensions and a construction adapted such that figures 7 and 8 .
- the prefabricated element remains carrier, allows high insulation and ensures airtightness.
- the elements can be completely independent of the other parts of the construction in order to study the dwellings in the perspective of making them adaptable to all the future situations (free internal partitioning and being able to be modified in the time without intervention on the external walls).
- This design will make it possible to modify housing in the future both in the interior space and by increasing the available volume by adding additional volumes.
- the prefabricated element according to the invention does not require interior finishes such as a ceiling.
- the siding or cover can be directly attached to the profile and do not require the presence of a wooden slat acting as an intermediate.
- the masonry hook and plaster can be directly attached to the profile unlike the panels of the prior art.
- the prefabricated element according to the invention is therefore designed to be adaptable to any situation and urban prescription.
Landscapes
- Engineering & Computer Science (AREA)
- Architecture (AREA)
- Physics & Mathematics (AREA)
- Civil Engineering (AREA)
- Structural Engineering (AREA)
- Electromagnetism (AREA)
- Acoustics & Sound (AREA)
- Building Environments (AREA)
Abstract
La présente invention se rapporte à un élément préfabriqué (1) porteur pour le secteur de la construction comportant une couche d'isolant (3) accolée à un voile en béton (2) et comportant des moyens de fixation (5,6,9) permettant indifféremment la fixation de tout type de parements ou couvertures extérieurs (4) sur la face libre de la couche d'isolant (3) et assurant le transfert de charges du parement ou de la couverture (4) vers le voile en béton (2). The present invention relates to a prefabricated element (1) carrying for the construction sector comprising a layer of insulation (3) contiguous to a concrete veil (2) and comprising fixing means (5,6,9) permitting indifferently the fixing of any type of exterior cladding or covering (4) on the free face of the insulating layer (3) and ensuring the transfer of loads from the facing or covering (4) to the concrete veil (2). ).
Description
La présente invention se rapporte au secteur de la construction. Elle se rapporte plus particulièrement à un élément préfabriqué porteur hautement isolé et à des moyens de fixation de tout type de couverture ou parement extérieur sur cet élément préfabriqué.The present invention relates to the construction sector. It relates more particularly to a highly insulated prefabricated carrier element and to fixing means of any type of cover or outer facing on this prefabricated element.
De façon conventionnelle, les concepteurs de constructions utilisent pour réaliser les murs d'une construction, un élément porteur, des éléments connecteurs fixés à l'élément porteur pour y assembler le parement extérieur et finalement un isolant déposé sur l'élément porteur et entre les éléments de fixation pour le parement extérieur de la construction. Le tout se fait donc en trois phases sur chantier.Conventionally, the building designers use to realize the walls of a construction, a carrier element, connector elements attached to the carrier element to assemble the outer face and finally an insulator deposited on the carrier element and between the fasteners for the exterior cladding of the building. Everything is done in three phases on site.
Les éléments préfabriqués en atelier sont de plus en plus utilisés dans la construction avec un objectif de gain de temps et de qualité évident. Dans le domaine des éléments en béton préfabriqués isolés, il existe le système des panneaux de bardage sandwich isolé. Il s'agit d'un panneau sandwich classique de type béton-isolation-béton. Le désavantage de ces panneaux est qu'ils ne sont pas connectés entre eux ce qui provoque des mouvements et fissures non acceptables pour une habitation. De plus, ces panneaux doivent être fixés sur une structure portante.The prefabricated elements in the workshop are more and more used in the construction with a goal of saving time and obvious quality. In the field of insulated prefabricated concrete elements, there is the system of insulated sandwich cladding panels. This is a classic sandwich panel type concrete-insulation-concrete. The disadvantage of these panels is that they are not connected to each other which causes movements and cracks not acceptable for a home. In addition, these panels must be fixed on a supporting structure.
Il existe aussi des panneaux de couverture ou muraux comportant une couche isolante et une couche de béton accolées.There are also roof or wall panels with an insulating layer and a layer of concrete contiguous.
Dans le document
Dans le document
On connaît aussi des éléments préfabriqués comprenant le parement en briques. Les principaux désavantages de ces éléments préfabriqués sont la fragilité du produit durant sa fabrication et son montage, la visibilité des joints de montage à l'extérieur et le manque de flexibilité du produit en regard des prescriptions urbanistiques (uniquement adéquat pour les façades en briques) .Prefabricated elements including brick cladding are also known. The main ones disadvantages of these prefabricated elements are the fragility of the product during its manufacture and its assembly, the visibility of the mounting joints outside and the lack of flexibility of the product with regard to the urbanistic prescriptions (only suitable for brick facades).
La présente invention vise à s'affranchir des inconvénients de l'état de la technique.The present invention aims to overcome the disadvantages of the state of the art.
La présente invention vise plus particulièrement à réaliser un élément préfabriqué pour murs extérieurs et toitures permettant la fixation de tout type de parements et de couvertures respectivement.The present invention is more particularly to achieve a prefabricated element for external walls and roofs for fixing any type of facings and covers respectively.
La présente invention vise également à réaliser un élément préfabriqué qui soit porteur et non pas uniquement autoportant.The present invention also aims at producing a prefabricated element which is carrier and not only self-supporting.
La présente invention vise en outre à réaliser un élément préfabriqué hautement isolé pour la réalisation de maisons basse énergie ou passives voire pour la réalisation de maisons positives.The present invention also aims to provide a highly insulated prefabricated element for the realization of low-energy or passive houses or for the realization of positive houses.
La présente invention vise aussi à réaliser une maison basse énergie, passive ou positive étant déjà, au stade du gros oeuvre fermé, étanche à l'air.The present invention also aims to achieve a low energy house, passive or positive being already, at the stage of the closed shell, airtight.
La présente invention se rapporte à un élément préfabriqué porteur pour le secteur de la construction comportant une couche d'isolant accolée à un voile en béton et comportant des moyens de fixation permettant indifféremment la fixation de tout type de parements ou couvertures extérieurs sur la face libre de la couche d'isolant et assurant le transfert de charges du parement ou de la couverture vers le voile en béton.The present invention relates to a prefabricated carrier element for the construction sector comprising a layer of insulation contiguous to a concrete veil and comprising fixing means allowing indifferently the fixing of any type of facings or outer covers on the free face of the insulation layer and ensuring the transfer of loads from the facing or the cover to the concrete veil.
Selon des modes particuliers de l'invention, l'élément préfabriqué comporte au moins une ou une combinaison appropriée des caractéristiques suivantes:
- les moyens de fixation comportent au moins un profilé disposé partiellement dans la couche d'isolant au niveau de la face libre de la couche d'isolant, au moins un élément d'ancrage fixé audit profilé et traversant partiellement ou totalement l'épaisseur de l'élément préfabriqué, et des éléments d'assemblage permettant l'assemblage du parement ou de la couverture au profilé;
- le profilé comporte une âme connectant deux ailes, lesdites ailes étant de direction orthogonale par rapport à l'âme formant ainsi un profilé en "U", ou lesdites ailes étant de direction oblique par rapport à une perpendiculaire à l'âme formant ainsi un profilé avec des ailes inclinées;
- le profilé comporte deux ailes disposées en équerre formant ainsi une cornière;
- l'âme du profilé et les ailes de la cornière sont destinées à être assemblées au parement ou à la couverture;
- l'élément d'ancrage comporte une première branche et une seconde branche solidarisées entre elles en une zone de jonction, ladite zone étant fixée sur une aile du profilé ou sur l'âme du profilé;
- pour un profilé avec des ailes inclinées, partant de la zone de jonction, la première branche et la seconde branche comportent chacune successivement une première et une seconde partie et:
- la première branche et la seconde branche sont disposées symétriquement par rapport à un axe perpendiculaire à l'axe longitudinal du profilé et passant par la zone de jonction,
- les premières parties desdites branches sont situées dans un plan parallèle au plan de l'aile et s'étendent dans ce plan en s'écartant l'une de l'autre à partir de la zone de jonction,
- et les secondes parties desdites branches sont situées dans un plan perpendiculaire au plan de l'âme et de direction perpendiculaire à l'axe longitudinal du profilé;
- pour un profilé avec des ailes inclinées, partant de la zone de jonction, la première branche et la seconde branche comportent chacune successivement une première et une seconde partie et:
- les premières parties desdites branches sont situées dans un plan parallèle au plan de l'aile et la première partie de la première branche s'étend dans ce plan dans une direction perpendiculaire à l'axe longitudinal du profilé tandis que la première partie de la seconde branche s'étend dans ce plan en s'écartant de la première partie,
- et les secondes parties desdites branches sont situées dans un plan perpendiculaire au plan de l'âme et ont une direction perpendiculaire à l'axe longitudinal du profilé;
- l'élément d'ancrage comporte une première et une seconde paire desdites première et seconde branches, de sorte que:
- les premières branches desdites paires encadrent l'élément d'ancrage,
- et les premières parties des secondes branches se croisent à un point de croisement passant par l'axe de symétrie de l'élément d'ancrage, à savoir un axe perpendiculaire à l'axe longitudinal du profilé et disposé à mi-hauteur des jonctions respectives de chaque paire;
- pour un profilé en "U", partant de la zone de jonction, la première branche et la seconde branche comportent chacune successivement une première, une deuxième et une troisième partie et:
- la première branche et la seconde branche sont disposées symétriquement par rapport à un axe perpendiculaire à l'axe longitudinal du profilé et passant par la zone de jonction,
- les premières parties desdites branches sont situées dans un plan parallèle au plan de l'aile et ont chacune une direction oblique par rapport à un axe perpendiculaire à l'axe longitudinal du profilé,
- les deuxièmes parties desdites branches sont situées dans un plan oblique par rapport au plan de l'aile et présentent dans ce plan une même direction oblique que leurs premières parties respectives,
- et les troisièmes parties desdites branches sont situées dans un plan parallèle au plan de l'aile et ont une direction perpendiculaire à l'axe longitudinal du profilé;
- pour un profilé en "U", partant de la zone de jonction, la première branche et la seconde branche comportent chacune successivement une première, une deuxième et une troisième partie et:
- les premières parties desdites branches sont situées dans un plan parallèle au plan de l'aile et ont respectivement une direction perpendiculaire et oblique par rapport à un axe perpendiculaire à l'axe longitudinal du profilé,
- les deuxièmes parties desdites branches sont situées dans un plan oblique par rapport au plan de l'aile et présentent dans ce plan une même direction que leurs premières parties respectives,
- et les troisièmes parties desdites branches sont situées dans un plan parallèle au plan de l'aile et ont une direction perpendiculaire à l'axe longitudinal du profilé;
- l'élément d'ancrage comporte une première et une seconde paire desdites première et seconde branches, de sorte que:
- les premières branches desdites paires encadrent l'élément d'ancrage,
- et les deuxièmes parties des secondes branches se croisent à un point de croisement passant par l'axe de symétrie de l'élément d'ancrage, à savoir un axe perpendiculaire à l'axe longitudinal du profilé et disposé à mi-hauteur des jonctions respectives de chaque paire;
- pour un profilé avec des ailes inclinées, les premières parties s'étendent majoritairement dans la couche d'isolant, et, pour un profilé en "U", les premières et les deuxièmes parties s'étendent majoritairement dans la couche d'isolant, et, pour un profilé avec des ailes inclinées, les secondes parties s'étendent majoritairement dans le voile en béton et, pour un profilé en "U", les troisièmes parties s'étendent majoritairement dans le voile en béton;
- pour un profilé avec des ailes inclinées ou un profilé en "U", les secondes parties ou les troisièmes parties respectives comportent à leur extrémité libre disposée dans le voile en béton un sabot synthétique ayant pour fonction de réduire le phénomène de ponts thermiques;
- deux éléments d'ancrage, formant une paire, sont fixés symétriquement par rapport à l'axe longitudinal du profilé et une pluralité desdites paires d'éléments d'ancrage sont fixées à intervalle selon la direction longitudinale du profilé;
- une pluralité de profilés sont disposés à intervalle selon une direction longitudinale ou transversale de l'élément préfabriqué;
- l'élément d'ancrage et le profilé sont en matériau inoxydable ou en acier protégé de la corrosion et la couche d'isolant est en mousse polyuréthane;
- les éléments d'assemblage comportent des vis, des vis autoforantes, des vis autotaraudeuses ou des clous;
- le parement et la couverture sont respectivement un bardage en bois, en métal, en crépis, une maçonnerie, de la pierre naturelle, une peinture, des tuiles, des bardeaux, des ardoises, des panneaux photovoltaïques, une toiture métallique ou une étanchéité toiture plate;
- le voile en béton et la couche de mousse polyuréthane ont des épaisseurs respectives de l'ordre de 0,14m et 0,25m pour une application comme mur porteur et des épaisseurs respectives de l'ordre de 0,06m et de 0,27m pour une application comme toiture, de manière à former un élément préfabriqué avec un coefficient de transfert thermique inférieur à 0,15W/m2K;
- l'élément préfabriqué peut comporter des fenêtres, des portes, des réservations pour l'électricité et le sanitaire, des câbles, des gaines de ventilation, des tuyauteries, des canalisations et/ou des moyens de renforts pour la fixation de fenêtres.
- the fastening means comprise at least one profile disposed partially in the insulating layer at the free face of the insulating layer, at least one anchoring element fixed to said profile and partially or completely traversing the thickness of the prefabricated element, and assembly elements for assembling the facing or the cover to the profile;
- the profile comprises a core connecting two flanges, said flanges being of orthogonal direction with respect to the core thus forming a "U" profile, or said flanges being of oblique direction with respect to a perpendicular to the core thus forming a profile with sloping wings;
- the profile comprises two wings arranged at right angles thus forming an angle;
- the web of the profile and the wings of the angle are intended to be assembled to the facing or the cover;
- the anchoring element comprises a first branch and a second branch secured together in a junction zone, said zone being fixed on a wing of the profile or on the web of the profile;
- for a profile with inclined wings, starting from the junction zone, the first branch and the second branch each comprise successively a first and a second part and:
- the first branch and the second branch are arranged symmetrically with respect to an axis perpendicular to the longitudinal axis of the profile and passing through the junction zone,
- the first parts of said branches are located in a plane parallel to the plane of the wing and extend in this plane away from one another from the junction zone,
- and the second portions of said branches are located in a plane perpendicular to the plane of the core and in a direction perpendicular to the longitudinal axis of the profile;
- for a profile with inclined wings, starting from the junction zone, the first branch and the second branch each comprise successively a first and a second part and:
- the first parts of said branches are located in a plane parallel to the plane of the wing and the first part of the first branch extends in this plane in a direction perpendicular to the longitudinal axis of the profile while the first part of the second branch extends in this plane by departing from the first part,
- and the second portions of said branches are located in a plane perpendicular to the plane of the core and have a direction perpendicular to the longitudinal axis of the profile;
- the anchor element has a first and a second pair of said first and second branches, so that:
- the first branches of said pairs frame the anchoring element,
- and the first portions of the second branches intersect at a crossing point passing through the axis of symmetry of the anchoring element, namely an axis perpendicular to the longitudinal axis of the profile and disposed at mid-height of the respective junctions each pair;
- for a "U" profile, starting from the junction zone, the first branch and the second branch each comprise successively first, second and third parts and:
- the first branch and the second branch are arranged symmetrically with respect to an axis perpendicular to the longitudinal axis of the profile and passing through the junction zone,
- the first parts of said branches are situated in a plane parallel to the plane of the wing and each have a direction oblique with respect to an axis perpendicular to the longitudinal axis of the profile,
- the second parts of said branches are located in a plane oblique to the plane of the wing and have in this plane a same oblique direction as their respective first parts,
- and the third parts of said branches are located in a plane parallel to the plane of the wing and have a direction perpendicular to the longitudinal axis of the section;
- for a "U" shaped section, starting from the junction zone, the first branch and the second branch each comprise successively a first, a second and a third part and:
- the first portions of said branches are located in a plane parallel to the plane of the wing and have respectively a direction perpendicular and oblique with respect to an axis perpendicular to the longitudinal axis of the profile,
- the second parts of said branches are located in an oblique plane relative to the plane of the wing and have in this plane a same direction as their respective first parts,
- and the third parts of said branches lie in a plane parallel to the plane of the wing and have a direction perpendicular to the longitudinal axis of the profile;
- the anchoring element has a first and a second pair of said first and second branches, so that:
- the first branches of said pairs frame the anchoring element,
- and the second portions of the second branches intersect at a crossing point passing through the axis of symmetry of the anchoring element, namely an axis perpendicular to the longitudinal axis of the profile and disposed at mid-height of the respective junctions. each pair;
- for a section with inclined flanges, the first parts extend mainly in the insulating layer, and, for a "U" section, the first and the second parts extend mainly in the insulating layer, and , for a section with inclined wings, the second parts extend mainly in the concrete veil and, for a "U" profile, the third parts extend mainly in the concrete veil;
- for a profile with inclined flanges or a "U" profile, the respective second or third portions have at their free end disposed in the concrete web a synthetic shoe whose function is to reduce the phenomenon of thermal bridges;
- two anchoring elements, forming a pair, are fixed symmetrically with respect to the longitudinal axis of the profile and a plurality of said pairs of anchoring elements are fixed at intervals along the longitudinal direction of the profile;
- a plurality of profiles are arranged at intervals in a longitudinal or transverse direction of the prefabricated element;
- the anchoring element and the profile are made of stainless steel or steel protected from corrosion and the insulating layer is made of polyurethane foam;
- the connecting elements comprise screws, self-drilling screws, self-tapping screws or nails;
- the cladding and the cladding are cladding made of wood, metal, plaster, masonry, natural stone, paint, tiles, shingles, slates, photovoltaic panels, metal roofing or flat roof waterproofing, respectively ;
- the concrete veil and the polyurethane foam layer have respective thicknesses of the order of 0.14m and 0.25m for an application as a load-bearing wall and respective thicknesses of the order of 0.06m and 0.27m for an application as a roof, so as to form a prefabricated element with a heat transfer coefficient of less than 0.15 W / m 2 K;
- the prefabricated element may comprise windows, doors, reservations for electricity and sanitary, cables, ventilation ducts, pipes, pipes and / or reinforcing means for fixing windows.
La présente invention se rapporte aussi à un gros oeuvre fermé et étanche à l'air comportant un assemblage d'éléments préfabriqués tels que décrits ci-dessus, caractérisé en ce qu'un joint d'étanchéité à l'air est disposé entre les éléments préfabriqués, et entre les éléments préfabriqués et l'ensemble des ouvrages constituant ledit gros oeuvre.The present invention also relates to a shell closed and airtight comprising an assembly of prefabricated elements as described above, characterized in that an airtight seal is arranged between the elements prefabricated, and between the prefabricated elements and all the structures constituting said structural work.
Selon des modes particuliers de l'invention, le gros oeuvre comporte au moins une ou une combinaison appropriée des caractéristiques suivantes:
- un joint d'isolation thermique est disposé entre les éléments préfabriqués;
- le joint d'isolation thermique est en mousse polyuréthane et le joint d'étanchéité à l'air est une bande gonflante à cellule fermée;
- le gros oeuvre comporte entre deux voiles de béton desdits éléments préfabriqués une liaison métallique coulée dans du béton.
- a thermal insulation seal is disposed between the prefabricated elements;
- the thermal insulation seal is made of polyurethane foam and the airtight seal is a closed cell swelling band;
- the shell comprises between two concrete webs of said prefabricated elements a metal connection cast in concrete.
La présente invention se rapporte également à l'utilisation de l'élément préfabriqué tel que décrit ci-dessus comme mur porteur ou toiture d'une construction hautement isolée.The present invention also relates to the use of the prefabricated element as described above as a load-bearing wall or roof of a highly insulated construction.
La
La
La
La
La
La
La
La
La
- (1) Elément préfabriqué(1) Prefabricated element
- (2) Voile en béton porteur(2) Carrying concrete sail
- (3) Couche d'isolant(3) Insulation layer
- (4) Parement extérieur, couverture ou revêtement(4) Exterior siding, covering or cladding
- (5) Elément d'ancrage(5) Anchor element
- (6) Profilé(6) Profile
- (7) Latte du parement ou de la couverture(7) Latte of siding or covering
- (8) Contre-latte de la couverture(8) Counter-lath of the cover
- (9) Elément d'assemblage(9) Fitting element
- (10) Sabot(10) Hoof
- (11) Armature(11) Armature
- (12) Elément de liaison métallique(12) Metal connecting element
- (13) Joint d'isolation thermique(13) Thermal insulation seal
- (14) Joint d'étanchéité à l'air(14) Airtight seal
-
(15) Première branche de l'élément d'ancrage
- (a) Première partie
- (b) Seconde ou deuxième partie
- (c) Troisième partie
- (a) First part
- (b) Second or second part
- (c) Third part
-
(16) Seconde branche de l'élément d'ancrage
- (a) Première partie
- (b) Seconde ou deuxième partie
- (c) Troisième partie
- (a) First part
- (b) Second or second part
- (c) Third part
- (17) Zone de jonction(17) Junction area
- (18) Point de croisement(18) Crossing point
La présente invention se rapporte à un élément préfabriqué porteur en béton hautement isolé et destiné à recevoir différents types de revêtements de façades (par ex. bardage en bois, en métal, en crépis, maçonnerie, pierres naturelles, peinture, etc.) ou différents types de revêtements de toitures (tuiles, bardeaux, panneaux photovoltaïques, ardoises, toiture métallique, membrane d'étanchéité souple, etc.). On entendra par revêtement aussi bien un parement pour mur extérieur qu'une couverture pour toiture, on utilisera par la suite indifféremment les trois termes.The present invention relates to a prefabricated prefabricated element made of highly insulated concrete and intended to receive different types of facade cladding (eg cladding made of wood, metal, plaster, masonry, natural stone, paint, etc.) or different types of roofing (tiles, shingles, photovoltaic panels, slates, metal roofing, flexible waterproofing membrane, etc.). By covering both an exterior wall facing and a roof covering, the three terms will be used interchangeably.
L'élément préfabriqué 1 selon l'invention comporte principalement un voile en béton porteur 2 sur lequel est accolé une couche d'isolant 3 et des moyens de fixation 5,6,9 pour permettre le placement du revêtement extérieur 4 tel que représenté à la
L'élément préfabriqué 1 comporte en outre une armature 11 dans le voile en béton 2. Cette armature peut être métallique ou alternativement comporter des fibres synthétiques.The
Les moyens de fixation de l'élément préfabriqué comportent au moins un profilé 6, des éléments d'ancrage 5 et des éléments d'assemblage 9.The fixing means of the prefabricated element comprise at least one
On entend par profilé, une pièce pliée comportant au moins une âme connectant deux ailes. On entend également par profilé une pièce sous forme de cornière, c.à.d. comportant deux ailes disposées en équerre. Le profilé comportant une âme peut se présenter sous forme de "U", c.à.d. que l'âme connecte deux ailes sensiblement perpendiculaires à l'âme. Selon l'invention, les ailes peuvent également être inclinées par rapport à une perpendiculaire à l'âme. Le profilé pourra revêtir d'autres formes selon les besoins en stabilité.The term "profile" means a folded part comprising at least one core connecting two wings. A profile is also understood to mean a piece in the form of an angle, that is to say having two wings arranged at right angles. The profile having a core may be in the form of a "U", i.e. that the soul connects two wings substantially perpendicular to the soul. According to the invention, the wings can also be inclined with respect to a perpendicular to the core. The profile may take other forms according to stability requirements.
Les éléments d'ancrage 5 traversent totalement ou partiellement l'épaisseur de l'élément préfabriqué 1 et se terminent sur la face libre de la couche d'isolant 3, c.à.d. la face destinée à recevoir le parement, par le profilé 6. Préférentiellement, les éléments d'ancrage 5 ne traversent que partiellement le voile en béton 2 et comportent à leurs extrémités libres disposées dans le voile de béton 2 des sabots synthétiques 10 ayant pour fonction de réduire le phénomène de ponts thermiques sur la surface intérieure.The
L'élément d'ancrage et le profilé sont préférentiellement en matériau inoxydable ou en acier protégé de la corrosion. Pour une application comme mur porteur, ils sont préférentiellement en acier inoxydable ou en matériau composite comportant des fibres de verre ou de carbone tandis que pour une application comme toiture, ils sont préférentiellement en acier protégé de la corrosion. Cette liaison de type linéaire, comme ce sera plus clairement décrit ci-dessous, est étudiée pour reprendre tous les types de parements et de couvertures et transmettre les efforts et charges des parements et des couvertures au voile en béton. On notera que pour une application comme toiture les éléments d'ancrage ont également pour fonction d'assurer la stabilité de l'ensemble.The anchoring element and the profile are preferably made of stainless material or steel protected from corrosion. For an application as a load-bearing wall, they are preferably made of stainless steel or of composite material comprising glass or carbon fibers while for an application as a roof, they are preferably made of steel protected from corrosion. This linear type connection, as will be more clearly described below, is designed to take all types of siding and covers and transmit the efforts and loads of siding and covers to the concrete veil. It should be noted that for an application as a roof anchoring elements also have the function of ensuring the stability of the assembly.
Les éléments d'assemblage 9 assurant la fixation du parement ou de la couverture au mur porteur ou à la toiture peuvent être des vis, des vis autoforantes, des vis autotaraudeuses ou des clous.The
Selon l'invention, le procédé de fabrication de l'élément préfabriqué comporte les étapes en atelier de coulage du béton avec son armature et les moyens de fixation (sans les éléments d'assemblage), ensuite de projection de la mousse isolante (par ex., mousse polyuréthane) sur le béton ou d'injection de mousse isolante dans un moule et finalement, si nécessaire, de mise à niveau des faces du produit ainsi obtenu.According to the invention, the manufacturing method of the prefabricated element comprises the steps in the concrete casting workshop with its reinforcement and the fastening means (without the assembly elements), then the projection of the insulating foam (e.g. ., polyurethane foam) on the concrete or insulating foam injection in a mold and finally, if necessary, leveling the faces of the product thus obtained.
L'élément préfabriqué en atelier peut comporter divers accessoires nécessaires à la construction d'une habitation. Il peut comporter des éléments de renfort en bois ou en métal, notamment pour la fixation des fenêtres. Un bois 150/80 peut ainsi être incorporé dans la couche d'isolant pour la fixation du châssis au niveau de l'isolation. L'élément préfabriqué peut également comporter des fenêtres, des portes, des réservations pour l'électricité et le sanitaire, des câbles, des gaines de ventilation. L'élément préfabriqué pour toiture peut également intégrer des tuyauteries ou canalisations dans la partie isolante. Les accessoires sont préférentiellement directement incorporés et fixés dans l'élément préfabriqué afin que le mur ou la toiture garde ses fonctions d'isolation, d'étanchéité à l'air et son caractère porteur. Tel que montré à la
L'élément ainsi préfabriqué est ensuite assemblé sur chantier avec d'autres éléments préfabriqués selon l'invention. La
A titre indicatif non limitatif, le voile de béton est massif et a une densité supérieure à +/-2400kg/m3. L'élément préfabriqué mural a une masse de +/-350kg/m2 et permet de reprendre des charges s'élevant jusqu'à 70kN/m2 de mur. L'élément préfabriqué pour toiture a une masse de +/-180kg/m2 et reprend des charges en toiture jusqu'à 300kg/m2. Concernant l'isolant en mousse synthétique, il a des valeurs de conductibilité thermique comprises entre 0.023W/m2K et 0.035W/m2K.By way of non-limiting indication, the concrete veil is solid and has a density greater than +/- 2400kg / m 3 . The prefabricated wall element has a mass of +/- 350kg / m 2 and can take loads up to 70kN / m 2 of wall. The prefabricated roof element has a mass of +/- 180kg / m 2 and takes roof loads up to 300kg / m 2 . As regards the synthetic foam insulation, it has thermal conductivity values between 0.023W / m 2 K and 0.035W / m 2 K.
Toujours à titre indicatif non limitatif, la longueur et la largeur maximales de l'élément préfabriqué sont respectivement de 9 et 3,5 mètres. Elles peuvent être supérieures si le transport le permet. Toujours à titre indicatif, l'épaisseur de béton est de 0,14 mètre (masse de 11025kg) et peut être variable selon la stabilité requise tandis que l'épaisseur d'isolant (densité entre 35 et 55 kg/m3) est de 0,25 mètre pour un mur extérieur et peut également être adaptée en fonction des besoins. Dans le cas d'un élément de toiture, l'épaisseur de béton est réduite à 0,06 mètre et la couche d'isolant est de 0,27 mètre. Préférentiellement, le matériau isolant est le polyuréthane.Still as a non-limiting indication, the maximum length and width of the prefabricated element are respectively 9 and 3.5 meters. They may be higher if transport permits. Still indicative, the thickness of concrete is 0.14 meters (mass of 11025kg) and can be variable depending on the required stability while the thickness of insulation (density between 35 and 55 kg / m 3 ) is 0.25 meter for an exterior wall and can also be adapted according to the needs. In the case of a roof element, the concrete thickness is reduced to 0.06 meters and the insulation layer is 0.27 meters. Preferably, the insulating material is polyurethane.
L'élément préfabriqué selon l'invention a, pour une épaisseur de polyuréthane de 0,25 mètre, un coefficient de transfert thermique (indice U) inférieur à 0,12W/m2K sachant que pour les maisons passives, l'indice U doit être inférieur à 0,15W/m2K.The prefabricated element according to the invention has, for a polyurethane thickness of 0.25 meter, a heat transfer coefficient (U index) of less than 0.12 W / m 2 K, whereas for passive houses, the index U must be less than 0,15W / m 2 K.
Comme déjà mentionné, le profilé peut être en forme de cornière, cette forme sera préférée lorsque la fixation du parement est effectuée dans un endroit anguleux comme, par exemple, un coin d'une façade. Le profilé peut être en forme de "U" ou bien comporter des ailes inclinées par rapport à une perpendiculaire à l'âme. L'élément d'ancrage est fixé au profilé et, ce, préférentiellement par soudage. Il peut être fixé sur l'aile ou sur l'âme du profilé. Par exemple, la
Les exemples dans la présente invention illustrent des formes de réalisation où le profilé (creux du profilé) est tourné vers la couche d'isolant mais la présente invention s'étend également à des formes de réalisation où le profilé est tourné vers la couverture ou le parement extérieur. Ainsi, dans le cas d'une application toiture, un profilé tourné vers la toiture peut remplir la fonction de caniveau pour l'évacuation des eaux en plus de permettre la fixation de la couverture.The examples in the present invention illustrate embodiments where the profile (hollow of the profile) is facing the insulation layer but the present invention also extends to embodiments where the profile is turned towards the cover or exterior siding. Thus, in the case of a roofing application, a profile turned towards the roof can fulfill the function of gutter for the evacuation of water in addition to allowing the fixing of the cover.
Les
Préférentiellement, deux éléments d'ancrage, qu'on appellera paire d'éléments d'ancrage, sont fixés symétriquement par rapport à l'axe longitudinal du profilé et plusieurs paires d'éléments d'ancrage sont fixées à intervalle selon la direction longitudinale du profilé. Toujours préférentiellement, le profilé est disposé verticalement dans le cas d'un mur porteur tandis que pour une application comme toiture, il peut être disposé selon la pente du toit ou dans le sens de la portée selon les besoins de stabilité. Selon la première et quatrième forme de réalisation des
Plusieurs profilés peuvent être disposés selon la largeur du mur ou dans le sens de la portée de la toiture. Préférentiellement, à titre indicatif non limitatif, la distance entre deux profilés est inférieure à 60 cm. Plusieurs paires d'éléments d'ancrage peuvent être également disposées selon la direction longitudinale du profilé comme susmentionné. A titre d'exemple, la distance séparant deux paires d'éléments d'ancrage est comprise entre 80 cm et 1 m.Several profiles may be arranged according to the width of the wall or in the direction of the range of the roof. Preferably, by way of non-limiting indication, the distance between two profiles is less than 60 cm. Several pairs of anchoring elements may also be arranged in the longitudinal direction of the profile as mentioned above. By way of example, the distance separating two pairs of anchoring elements is between 80 cm and 1 m.
La présente invention s'étend bien entendu à tout autre agencement des profilés et des éléments d'ancrage permettant la fixation de tout type de parement et de couverture et réalisant la fonction de liaison et de transfert de charges à travers l'épaisseur totale ou partielle de l'élément préfabriqué ainsi que la fonction de stabilisation de l'ensemble pour une application comme toiture.The present invention naturally extends to any other arrangement of the profiles and anchoring elements for fixing any type of facing and covering and performing the function of connection and charge transfer through the total or partial thickness of the prefabricated element as well as the stabilization function of the assembly for application as a roof.
Selon la première forme de réalisation de l'invention représentée à la
Selon une deuxième forme de réalisation présentée à la
Selon une troisième forme de réalisation présentée à la
Selon une quatrième forme de réalisation présentée à la
La présente invention s'étend aux formes de réalisation où les éléments d'ancrage sont sensiblement de formes correspondantes à celles des éléments d'ancrage représentés aux
On notera que, selon les quatre formes de réalisation illustrées ci-dessus, la zone de jonction 17 est préférentiellement de forme arrondie. Selon ces formes de réalisation, l'élément d'ancrage peut être de section circulaire, carrée ou de toute autre section selon les besoins. On notera aussi que le nombre de parties constitutives des branches peut être modulé selon les besoins.It will be noted that, according to the four embodiments illustrated above, the
Selon les trois formes de réalisation illustrées aux
Selon les quatre formes de réalisation, l'âme du profilé vient affleurer la face libre de la couche d'isolant destinée à recevoir le parement tandis que l'extrémité libre des secondes ou troisièmes parties disposée dans le voile en béton comporte des sabots comme déjà mentionné.According to the four embodiments, the web of the section comes flush with the free face of the layer of insulation intended to receive the facing while the free end of the second or third parts disposed in the concrete web comprises hooves as already mentionned.
Les avantages de l'élément préfabriqué selon l'invention sont nombreux. En résumé, il combine les fonctions d'isolation, d'étanchéité, porteuses tout en permettant l'incorporation des accessoires (fenêtres, câbles, etc.) nécessaires à une construction et, cela, en permettant en outre tous les types de finition intérieure et extérieure.The advantages of the prefabricated element according to the invention are numerous. In summary, it combines the functions of insulation, waterproofing, carriers while allowing the incorporation of accessories (windows, cables, etc.) necessary for a construction and, this, allowing in addition all types of interior finishing and outdoor.
Plus en détail, les divers avantages de l'élément préfabriqué selon l'invention sont repris ci-dessous.In more detail, the various advantages of the prefabricated element according to the invention are given below.
L'élément préfabriqué selon l'invention est réalisé sans joint et complètement étanche à l'air grâce à l'utilisation de béton massif. De même, tout ce qui est incorporé dans l'élément préfabriqué (électricité, canalisation pour sanitaires, ...) est étudié pour garder cette étanchéité. Un percement ultérieur de la paroi, pour autant qu'il ne traverse pas entièrement la paroi, n'entame pas non plus le critère d'étanchéité à l'air. Les liaisons entre les différents éléments sont également étudiées afin de garantir cette étanchéité sur la totalité de la construction après assemblage des éléments. La continuité de l'étanchéité est ainsi assurée par une bande gonflante à cellule fermée. Cette caractéristique est valable pour les éléments de mur et les éléments de toiture mais également pour chaque liaison des éléments avec les autres constituants d'une construction à savoir, entre le mur et les fondations, entre le mur et les châssis, entre le mur et les dalles du sol, etc. Cela permet de fournir une habitation passive et donc étanche à l'air au stade du gros oeuvre fermé. L'étanchéité est ainsi réalisée par l'ensemble des murs, panneaux de toiture et châssis sans intervenir au niveau du parachèvement et, ce, contrairement aux assemblages selon l'état de l'art où l'étanchéité des maisons passives est réalisée sur les parois lors des finitions (bandes d'étanchéité pour la fermeture des joints à appliquer après le montage des éléments).The prefabricated element according to the invention is made without joint and completely airtight thanks to the use of solid concrete. Similarly, everything that is incorporated in the prefabricated element (electricity, sanitary sewer pipe, ...) is designed to keep this seal. Subsequent piercing of the wall, as long as it does not completely pass through the wall, does not enter the criterion of airtightness either. The connections between the different elements are also studied in order to guarantee this seal on the entire construction after assembly of the elements. The continuity of the seal is thus ensured by a closed cell swelling band. This characteristic is valid for wall elements and roof elements but also for each connection of the elements with the other components of a construction namely, between the wall and the foundations, between the wall and the frames, between the wall and floor slabs, etc. This allows to provide a passive home and therefore airtight at the stage of the shell closed. The tightness is thus achieved by all the walls, roof panels and chassis without intervening at the level of the completion and, this, contrary to the assemblies according to the state of the art where the watertightness of the passive houses is made on the walls during finishing (sealing strips for the closure of joints to be applied after assembly of the elements).
L'élément préfabriqué selon l'invention est porteur. Il est constitué d'un voile en béton qui peut reprendre les charges de plusieurs niveaux. Trois étages de murs et de planchers peuvent ainsi être appuyés sur l'élément sans aucune autre structure. Entre les éléments, la continuité de la structure portante en béton est réalisée par les liaisons métalliques et le remplissage en béton.The prefabricated element according to the invention is carrier. It consists of a concrete sail that can take over loads of several levels. Three floors of walls and floors can be supported on the element without any other structure. Between the elements, the continuity of the concrete supporting structure is achieved by the metallic connections and the concrete filling.
Les éléments préfabriqués sont de grandes dimensions permettant un montage rapide sur chantier. Ces éléments préfabriqués individuellement s'intègrent ainsi dans un concept complet de construction permettant ainsi la réalisation d'habitations "en kit".The prefabricated elements are of large dimensions allowing a fast assembly on site. These individually prefabricated elements are thus integrated in a complete construction concept allowing the realization of "kit" dwellings.
Les éléments préfabriqués peuvent également être de dimensions réduites notamment pour réaliser des poutres et des colonnes isolées. Dans ce cas de figure, le profilé et l'élément d'ancrage ont des dimensions et une construction adaptées telles qu'aux
Les éléments peuvent être totalement indépendants des autres parties de la construction afin d'étudier les logements dans la perspective de les rendre adaptable à toutes les situations à venir (cloisonnement intérieur libre et pouvant être modifié dans le temps sans intervention sur les murs extérieurs). Cette conception permettra de modifier le logement dans l'avenir aussi bien dans l'espace intérieur qu'en augmentant le volume disponible par l'ajout de volumes complémentaires.The elements can be completely independent of the other parts of the construction in order to study the dwellings in the perspective of making them adaptable to all the future situations (free internal partitioning and being able to be modified in the time without intervention on the external walls). This design will make it possible to modify housing in the future both in the interior space and by increasing the available volume by adding additional volumes.
L'élément préfabriqué selon l'invention ne nécessite pas de finitions intérieures telles qu'un plafonnage.The prefabricated element according to the invention does not require interior finishes such as a ceiling.
Le parement ou la couverture peuvent être directement fixés sur le profilé et ne nécessitent pas la présence d'une latte en bois agissant comme intermédiaire. Ainsi, le crochet de maçonnerie et le crépi peuvent être directement fixés sur le profilé contrairement aux panneaux de l'art antérieur. L'élément préfabriqué selon l'invention est donc conçu pour être adaptable à toute situation et prescription urbanistique.The siding or cover can be directly attached to the profile and do not require the presence of a wooden slat acting as an intermediate. Thus, the masonry hook and plaster can be directly attached to the profile unlike the panels of the prior art. The prefabricated element according to the invention is therefore designed to be adaptable to any situation and urban prescription.
Tourner la partie en creux du profilé vers l'intérieur de la couche isolante a pour avantage de permettre un remplissage complet de cette dernière par la mousse isolante. La couche d'isolation est alors uniforme ce qui donne une meilleure isolation globale mais également un flux de chaleur homogène, sans variation sensible de la température de surface.Turning the hollow part of the profile towards the inside of the insulating layer has the advantage of allowing complete filling of the latter by the insulating foam. The insulation layer is then uniform which gives a better overall insulation but also a homogeneous heat flow, without significant variation of the surface temperature.
Claims (15)
Applications Claiming Priority (1)
| Application Number | Priority Date | Filing Date | Title |
|---|---|---|---|
| BE2010/0515A BE1019464A3 (en) | 2010-08-31 | 2010-08-31 | PREFABRICATED ELEMENT HIGHLY ISOLATED. |
Publications (3)
| Publication Number | Publication Date |
|---|---|
| EP2423402A2 true EP2423402A2 (en) | 2012-02-29 |
| EP2423402A3 EP2423402A3 (en) | 2012-06-20 |
| EP2423402B1 EP2423402B1 (en) | 2015-08-26 |
Family
ID=44063683
Family Applications (1)
| Application Number | Title | Priority Date | Filing Date |
|---|---|---|---|
| EP11179370.9A Active EP2423402B1 (en) | 2010-08-31 | 2011-08-30 | Highly insulated prefabricated element |
Country Status (2)
| Country | Link |
|---|---|
| EP (1) | EP2423402B1 (en) |
| BE (1) | BE1019464A3 (en) |
Cited By (3)
| Publication number | Priority date | Publication date | Assignee | Title |
|---|---|---|---|---|
| CN105756236A (en) * | 2016-04-14 | 2016-07-13 | 西安建筑科技大学 | Column flange post-tensioning steel-concrete partial combination frame-steel plate shear wall structure |
| WO2020152287A1 (en) * | 2019-01-25 | 2020-07-30 | Pittsburgh Corning Europe Nv | Façade cladding fixing system |
| EP3995642A1 (en) * | 2020-11-09 | 2022-05-11 | Katoen Natie Art Logistics nv | Improved wall insulation for climate-controlled storage space |
Families Citing this family (1)
| Publication number | Priority date | Publication date | Assignee | Title |
|---|---|---|---|---|
| CN107227870B (en) * | 2017-07-25 | 2024-01-09 | 深圳供电局有限公司 | A substation building made of prefabricated components |
Citations (2)
| Publication number | Priority date | Publication date | Assignee | Title |
|---|---|---|---|---|
| EP0494612A1 (en) | 1991-01-11 | 1992-07-15 | SÜBA-Cooperation Gesellschaft für Bauforschung, Bauentwicklung und Franchising mbH | Roofing slab for sloping roofs |
| EP2050885A2 (en) | 2007-10-18 | 2009-04-22 | Xella Baustoffe GmbH | Assembly component for self-supporting roof or wall panels |
Family Cites Families (6)
| Publication number | Priority date | Publication date | Assignee | Title |
|---|---|---|---|---|
| CH541051A (en) * | 1971-06-25 | 1973-08-31 | Tepalia Patentverwertungs Anst | Spatial framework-like reinforcement part |
| DE3237697A1 (en) * | 1982-10-12 | 1984-04-26 | Storm, Walter, 10018 New Nork, N.Y. | COMPONENT FOR PRODUCING CONSTRUCTION WALLS FROM CONCRETE AND BUILDING WALL MADE WITH THE ASSISTANCE OF THE COMPONENT |
| AT389550B (en) * | 1986-05-28 | 1989-12-27 | Josef Fuhs | Spacer for concrete reinforcements |
| DE4417060A1 (en) * | 1994-05-14 | 1995-11-16 | Lehr Sabine | Spacer end cap for reinforcing rods in steel reinforced concrete |
| US6041561A (en) * | 1997-08-22 | 2000-03-28 | Wayne Leblang | Self-contained molded pre-fabricated building panel and method of making the same |
| US7681368B1 (en) * | 2007-08-21 | 2010-03-23 | Edward Rubio | Concrete composite wall panel |
-
2010
- 2010-08-31 BE BE2010/0515A patent/BE1019464A3/en active
-
2011
- 2011-08-30 EP EP11179370.9A patent/EP2423402B1/en active Active
Patent Citations (2)
| Publication number | Priority date | Publication date | Assignee | Title |
|---|---|---|---|---|
| EP0494612A1 (en) | 1991-01-11 | 1992-07-15 | SÜBA-Cooperation Gesellschaft für Bauforschung, Bauentwicklung und Franchising mbH | Roofing slab for sloping roofs |
| EP2050885A2 (en) | 2007-10-18 | 2009-04-22 | Xella Baustoffe GmbH | Assembly component for self-supporting roof or wall panels |
Cited By (6)
| Publication number | Priority date | Publication date | Assignee | Title |
|---|---|---|---|---|
| CN105756236A (en) * | 2016-04-14 | 2016-07-13 | 西安建筑科技大学 | Column flange post-tensioning steel-concrete partial combination frame-steel plate shear wall structure |
| CN105756236B (en) * | 2016-04-14 | 2018-02-27 | 西安建筑科技大学 | Post edge of a wing post-stretching steel and concrete parts group frame steel plate shear wall structure |
| WO2020152287A1 (en) * | 2019-01-25 | 2020-07-30 | Pittsburgh Corning Europe Nv | Façade cladding fixing system |
| US12168876B2 (en) | 2019-01-25 | 2024-12-17 | Pittsburgh Corning Europe Nv | Facade cladding fixing system |
| EP3995642A1 (en) * | 2020-11-09 | 2022-05-11 | Katoen Natie Art Logistics nv | Improved wall insulation for climate-controlled storage space |
| BE1028781B1 (en) * | 2020-11-09 | 2022-06-07 | Katoen Natie Art Logistics Nv | IMPROVED WALL INSULATION FOR CLIMATE CONTROL STORAGE AREA |
Also Published As
| Publication number | Publication date |
|---|---|
| BE1019464A3 (en) | 2012-07-03 |
| EP2423402B1 (en) | 2015-08-26 |
| EP2423402A3 (en) | 2012-06-20 |
Similar Documents
| Publication | Publication Date | Title |
|---|---|---|
| JP7545332B2 (en) | Prefabricated insulated building panel with at least one hardened cementitious layer bonded to an insulation material - Patents.com | |
| EP0054199B1 (en) | Prefabricated building element | |
| FR2931496A1 (en) | Prefabricated multi-layer monoblock panel e.g. wall panel, for forming e.g. wythe of modular dwelling, has core formed by ultra high performance fiber concrete with ribs, and thermo-acoustic insulant placed inside ribs | |
| EP0014294A1 (en) | Insulating precast building element | |
| FR2905710A1 (en) | BUILDING EDIFICE AND METHOD, IN PARTICULAR HOUSING | |
| EP2423402B1 (en) | Highly insulated prefabricated element | |
| FR2950638A1 (en) | Constructive system for building, has wall elements equipped with two concrete strips spaced and connected together by vertical spacers, where parts of strips blades external to spacers form walls of slide boxes of framework of building | |
| FR2628775A1 (en) | Exterior wall for building - has outer cladding and inner insulation-facing on vertical battens to give continuous air cavities between floors | |
| EP3553244B1 (en) | Construction element and construction comprising such an element | |
| FR3005670A1 (en) | PANEL OF CONSTRUCTION BOIS-BETON | |
| WO2016046496A1 (en) | Building having enhanced heat insulation, method for constructing said building, and fasteners designed for implementing said method | |
| LU82134A1 (en) | INSULATING CARRIER WALL FOR PREFABRICATED CONSTRUCTION | |
| EP0565446B1 (en) | Creation of closed or open living spaces such as verandas, pergolas, winter gardens or annexes | |
| FR2497858A1 (en) | SUPPORTING ELEMENT FOR THE CONSTRUCTION OF CEILINGS OR ROOFS | |
| EP4405535B1 (en) | Construction provided with facade panels and method for producing such a construction | |
| FR2765905A1 (en) | CONSTRUCTION METHOD FOR SINGLE-FAMILY HOUSES USING MODULAR PANELS IN SYNTHETIC COMPOSITE MATERIALS SERVING AS A BULK STRUCTURE AND WATERPROOF AND AESTHETIC FINISH | |
| FR2994577A1 (en) | Wooden frame building wall for constructing wooden dwelling, has external vertical portion and internal vertical portion arranged parallel to each other and spaced by inter-space forming air gap between external and internal portions | |
| WO2018178522A1 (en) | Building panel for buildings | |
| FR3041978B1 (en) | CONSTRUCTION PANEL FOR BUILDINGS | |
| FR2516121A1 (en) | Sandwich panels and frame components for prefabricated building system - involves reinforced resin and expander resin interlayers | |
| EP1365080A1 (en) | Method for making a load-bearing reinforced concrete wall | |
| CH719614A2 (en) | Building constructed from wooden construction elements and method of insulating such construction elements. | |
| EP2593613B1 (en) | Construction system of a building | |
| WO2023242492A1 (en) | Structure with double framework made of concrete | |
| EP2474675A1 (en) | Wooden structure and wooden house with such a wooden structure and with a frame enclosed between walls |
Legal Events
| Date | Code | Title | Description |
|---|---|---|---|
| AK | Designated contracting states |
Kind code of ref document: A2 Designated state(s): AL AT BE BG CH CY CZ DE DK EE ES FI FR GB GR HR HU IE IS IT LI LT LU LV MC MK MT NL NO PL PT RO RS SE SI SK SM TR |
|
| AX | Request for extension of the european patent |
Extension state: BA ME |
|
| PUAI | Public reference made under article 153(3) epc to a published international application that has entered the european phase |
Free format text: ORIGINAL CODE: 0009012 |
|
| PUAL | Search report despatched |
Free format text: ORIGINAL CODE: 0009013 |
|
| RIC1 | Information provided on ipc code assigned before grant |
Ipc: E04C 2/288 20060101ALI20120510BHEP Ipc: E04B 1/14 20060101ALI20120510BHEP Ipc: E04B 1/80 20060101ALI20120510BHEP Ipc: E04B 7/22 20060101AFI20120510BHEP |
|
| AK | Designated contracting states |
Kind code of ref document: A3 Designated state(s): AL AT BE BG CH CY CZ DE DK EE ES FI FR GB GR HR HU IE IS IT LI LT LU LV MC MK MT NL NO PL PT RO RS SE SI SK SM TR |
|
| AX | Request for extension of the european patent |
Extension state: BA ME |
|
| RIC1 | Information provided on ipc code assigned before grant |
Ipc: E04B 1/14 20060101ALI20120515BHEP Ipc: E04B 1/80 20060101ALI20120515BHEP Ipc: E04B 7/22 20060101AFI20120515BHEP Ipc: E04C 2/288 20060101ALI20120515BHEP |
|
| 17P | Request for examination filed |
Effective date: 20121217 |
|
| 17Q | First examination report despatched |
Effective date: 20140506 |
|
| 17Q | First examination report despatched |
Effective date: 20140523 |
|
| GRAP | Despatch of communication of intention to grant a patent |
Free format text: ORIGINAL CODE: EPIDOSNIGR1 |
|
| INTG | Intention to grant announced |
Effective date: 20150407 |
|
| GRAS | Grant fee paid |
Free format text: ORIGINAL CODE: EPIDOSNIGR3 |
|
| GRAA | (expected) grant |
Free format text: ORIGINAL CODE: 0009210 |
|
| AK | Designated contracting states |
Kind code of ref document: B1 Designated state(s): AL AT BE BG CH CY CZ DE DK EE ES FI FR GB GR HR HU IE IS IT LI LT LU LV MC MK MT NL NO PL PT RO RS SE SI SK SM TR |
|
| AX | Request for extension of the european patent |
Extension state: BA ME |
|
| REG | Reference to a national code |
Ref country code: GB Ref legal event code: FG4D Free format text: NOT ENGLISH |
|
| REG | Reference to a national code |
Ref country code: CH Ref legal event code: EP |
|
| REG | Reference to a national code |
Ref country code: AT Ref legal event code: REF Ref document number: 745273 Country of ref document: AT Kind code of ref document: T Effective date: 20150915 |
|
| REG | Reference to a national code |
Ref country code: IE Ref legal event code: FG4D Free format text: LANGUAGE OF EP DOCUMENT: FRENCH |
|
| REG | Reference to a national code |
Ref country code: DE Ref legal event code: R096 Ref document number: 602011019084 Country of ref document: DE |
|
| REG | Reference to a national code |
Ref country code: AT Ref legal event code: MK05 Ref document number: 745273 Country of ref document: AT Kind code of ref document: T Effective date: 20150826 |
|
| REG | Reference to a national code |
Ref country code: LT Ref legal event code: MG4D |
|
| PG25 | Lapsed in a contracting state [announced via postgrant information from national office to epo] |
Ref country code: LT Free format text: LAPSE BECAUSE OF FAILURE TO SUBMIT A TRANSLATION OF THE DESCRIPTION OR TO PAY THE FEE WITHIN THE PRESCRIBED TIME-LIMIT Effective date: 20150826 Ref country code: NO Free format text: LAPSE BECAUSE OF FAILURE TO SUBMIT A TRANSLATION OF THE DESCRIPTION OR TO PAY THE FEE WITHIN THE PRESCRIBED TIME-LIMIT Effective date: 20151126 Ref country code: GR Free format text: LAPSE BECAUSE OF FAILURE TO SUBMIT A TRANSLATION OF THE DESCRIPTION OR TO PAY THE FEE WITHIN THE PRESCRIBED TIME-LIMIT Effective date: 20151127 Ref country code: FI Free format text: LAPSE BECAUSE OF FAILURE TO SUBMIT A TRANSLATION OF THE DESCRIPTION OR TO PAY THE FEE WITHIN THE PRESCRIBED TIME-LIMIT Effective date: 20150826 Ref country code: LV Free format text: LAPSE BECAUSE OF FAILURE TO SUBMIT A TRANSLATION OF THE DESCRIPTION OR TO PAY THE FEE WITHIN THE PRESCRIBED TIME-LIMIT Effective date: 20150826 |
|
| REG | Reference to a national code |
Ref country code: NL Ref legal event code: FP |
|
| PG25 | Lapsed in a contracting state [announced via postgrant information from national office to epo] |
Ref country code: IS Free format text: LAPSE BECAUSE OF FAILURE TO SUBMIT A TRANSLATION OF THE DESCRIPTION OR TO PAY THE FEE WITHIN THE PRESCRIBED TIME-LIMIT Effective date: 20151226 Ref country code: HR Free format text: LAPSE BECAUSE OF FAILURE TO SUBMIT A TRANSLATION OF THE DESCRIPTION OR TO PAY THE FEE WITHIN THE PRESCRIBED TIME-LIMIT Effective date: 20150826 Ref country code: SE Free format text: LAPSE BECAUSE OF FAILURE TO SUBMIT A TRANSLATION OF THE DESCRIPTION OR TO PAY THE FEE WITHIN THE PRESCRIBED TIME-LIMIT Effective date: 20150826 Ref country code: RS Free format text: LAPSE BECAUSE OF FAILURE TO SUBMIT A TRANSLATION OF THE DESCRIPTION OR TO PAY THE FEE WITHIN THE PRESCRIBED TIME-LIMIT Effective date: 20150826 Ref country code: PL Free format text: LAPSE BECAUSE OF FAILURE TO SUBMIT A TRANSLATION OF THE DESCRIPTION OR TO PAY THE FEE WITHIN THE PRESCRIBED TIME-LIMIT Effective date: 20150826 Ref country code: AT Free format text: LAPSE BECAUSE OF FAILURE TO SUBMIT A TRANSLATION OF THE DESCRIPTION OR TO PAY THE FEE WITHIN THE PRESCRIBED TIME-LIMIT Effective date: 20150826 Ref country code: ES Free format text: LAPSE BECAUSE OF FAILURE TO SUBMIT A TRANSLATION OF THE DESCRIPTION OR TO PAY THE FEE WITHIN THE PRESCRIBED TIME-LIMIT Effective date: 20150826 Ref country code: PT Free format text: LAPSE BECAUSE OF FAILURE TO SUBMIT A TRANSLATION OF THE DESCRIPTION OR TO PAY THE FEE WITHIN THE PRESCRIBED TIME-LIMIT Effective date: 20151228 |
|
| PG25 | Lapsed in a contracting state [announced via postgrant information from national office to epo] |
Ref country code: EE Free format text: LAPSE BECAUSE OF FAILURE TO SUBMIT A TRANSLATION OF THE DESCRIPTION OR TO PAY THE FEE WITHIN THE PRESCRIBED TIME-LIMIT Effective date: 20150826 Ref country code: SK Free format text: LAPSE BECAUSE OF FAILURE TO SUBMIT A TRANSLATION OF THE DESCRIPTION OR TO PAY THE FEE WITHIN THE PRESCRIBED TIME-LIMIT Effective date: 20150826 Ref country code: DK Free format text: LAPSE BECAUSE OF FAILURE TO SUBMIT A TRANSLATION OF THE DESCRIPTION OR TO PAY THE FEE WITHIN THE PRESCRIBED TIME-LIMIT Effective date: 20150826 Ref country code: IT Free format text: LAPSE BECAUSE OF FAILURE TO SUBMIT A TRANSLATION OF THE DESCRIPTION OR TO PAY THE FEE WITHIN THE PRESCRIBED TIME-LIMIT Effective date: 20150826 Ref country code: CZ Free format text: LAPSE BECAUSE OF FAILURE TO SUBMIT A TRANSLATION OF THE DESCRIPTION OR TO PAY THE FEE WITHIN THE PRESCRIBED TIME-LIMIT Effective date: 20150826 |
|
| REG | Reference to a national code |
Ref country code: DE Ref legal event code: R097 Ref document number: 602011019084 Country of ref document: DE |
|
| PG25 | Lapsed in a contracting state [announced via postgrant information from national office to epo] |
Ref country code: MC Free format text: LAPSE BECAUSE OF FAILURE TO SUBMIT A TRANSLATION OF THE DESCRIPTION OR TO PAY THE FEE WITHIN THE PRESCRIBED TIME-LIMIT Effective date: 20150826 Ref country code: RO Free format text: LAPSE BECAUSE OF FAILURE TO SUBMIT A TRANSLATION OF THE DESCRIPTION OR TO PAY THE FEE WITHIN THE PRESCRIBED TIME-LIMIT Effective date: 20150826 |
|
| REG | Reference to a national code |
Ref country code: IE Ref legal event code: MM4A |
|
| PLBE | No opposition filed within time limit |
Free format text: ORIGINAL CODE: 0009261 |
|
| STAA | Information on the status of an ep patent application or granted ep patent |
Free format text: STATUS: NO OPPOSITION FILED WITHIN TIME LIMIT |
|
| PG25 | Lapsed in a contracting state [announced via postgrant information from national office to epo] |
Ref country code: IE Free format text: LAPSE BECAUSE OF NON-PAYMENT OF DUE FEES Effective date: 20150830 |
|
| 26N | No opposition filed |
Effective date: 20160530 |
|
| PG25 | Lapsed in a contracting state [announced via postgrant information from national office to epo] |
Ref country code: SI Free format text: LAPSE BECAUSE OF FAILURE TO SUBMIT A TRANSLATION OF THE DESCRIPTION OR TO PAY THE FEE WITHIN THE PRESCRIBED TIME-LIMIT Effective date: 20150826 |
|
| REG | Reference to a national code |
Ref country code: FR Ref legal event code: PLFP Year of fee payment: 6 |
|
| PG25 | Lapsed in a contracting state [announced via postgrant information from national office to epo] |
Ref country code: BE Free format text: LAPSE BECAUSE OF NON-PAYMENT OF DUE FEES Effective date: 20160831 |
|
| PG25 | Lapsed in a contracting state [announced via postgrant information from national office to epo] |
Ref country code: BE Free format text: LAPSE BECAUSE OF NON-PAYMENT OF DUE FEES Effective date: 20160831 |
|
| PGRI | Patent reinstated in contracting state [announced from national office to epo] |
Ref country code: BE Effective date: 20161026 |
|
| PG25 | Lapsed in a contracting state [announced via postgrant information from national office to epo] |
Ref country code: MT Free format text: LAPSE BECAUSE OF FAILURE TO SUBMIT A TRANSLATION OF THE DESCRIPTION OR TO PAY THE FEE WITHIN THE PRESCRIBED TIME-LIMIT Effective date: 20150826 |
|
| PG25 | Lapsed in a contracting state [announced via postgrant information from national office to epo] |
Ref country code: BG Free format text: LAPSE BECAUSE OF FAILURE TO SUBMIT A TRANSLATION OF THE DESCRIPTION OR TO PAY THE FEE WITHIN THE PRESCRIBED TIME-LIMIT Effective date: 20150826 Ref country code: SM Free format text: LAPSE BECAUSE OF FAILURE TO SUBMIT A TRANSLATION OF THE DESCRIPTION OR TO PAY THE FEE WITHIN THE PRESCRIBED TIME-LIMIT Effective date: 20150826 Ref country code: HU Free format text: LAPSE BECAUSE OF FAILURE TO SUBMIT A TRANSLATION OF THE DESCRIPTION OR TO PAY THE FEE WITHIN THE PRESCRIBED TIME-LIMIT; INVALID AB INITIO Effective date: 20110830 |
|
| PG25 | Lapsed in a contracting state [announced via postgrant information from national office to epo] |
Ref country code: CY Free format text: LAPSE BECAUSE OF FAILURE TO SUBMIT A TRANSLATION OF THE DESCRIPTION OR TO PAY THE FEE WITHIN THE PRESCRIBED TIME-LIMIT Effective date: 20150826 |
|
| REG | Reference to a national code |
Ref country code: FR Ref legal event code: PLFP Year of fee payment: 7 |
|
| PG25 | Lapsed in a contracting state [announced via postgrant information from national office to epo] |
Ref country code: TR Free format text: LAPSE BECAUSE OF FAILURE TO SUBMIT A TRANSLATION OF THE DESCRIPTION OR TO PAY THE FEE WITHIN THE PRESCRIBED TIME-LIMIT Effective date: 20150826 |
|
| PG25 | Lapsed in a contracting state [announced via postgrant information from national office to epo] |
Ref country code: MK Free format text: LAPSE BECAUSE OF FAILURE TO SUBMIT A TRANSLATION OF THE DESCRIPTION OR TO PAY THE FEE WITHIN THE PRESCRIBED TIME-LIMIT Effective date: 20150826 |
|
| REG | Reference to a national code |
Ref country code: FR Ref legal event code: PLFP Year of fee payment: 8 |
|
| PG25 | Lapsed in a contracting state [announced via postgrant information from national office to epo] |
Ref country code: AL Free format text: LAPSE BECAUSE OF FAILURE TO SUBMIT A TRANSLATION OF THE DESCRIPTION OR TO PAY THE FEE WITHIN THE PRESCRIBED TIME-LIMIT Effective date: 20150826 |
|
| PGFP | Annual fee paid to national office [announced via postgrant information from national office to epo] |
Ref country code: NL Payment date: 20190726 Year of fee payment: 9 |
|
| PGFP | Annual fee paid to national office [announced via postgrant information from national office to epo] |
Ref country code: FR Payment date: 20190722 Year of fee payment: 9 Ref country code: DE Payment date: 20190722 Year of fee payment: 9 |
|
| PGFP | Annual fee paid to national office [announced via postgrant information from national office to epo] |
Ref country code: GB Payment date: 20190722 Year of fee payment: 9 |
|
| PGFP | Annual fee paid to national office [announced via postgrant information from national office to epo] |
Ref country code: CH Payment date: 20190722 Year of fee payment: 9 |
|
| REG | Reference to a national code |
Ref country code: DE Ref legal event code: R119 Ref document number: 602011019084 Country of ref document: DE |
|
| REG | Reference to a national code |
Ref country code: CH Ref legal event code: PL |
|
| REG | Reference to a national code |
Ref country code: NL Ref legal event code: MM Effective date: 20200901 |
|
| GBPC | Gb: european patent ceased through non-payment of renewal fee |
Effective date: 20200830 |
|
| PG25 | Lapsed in a contracting state [announced via postgrant information from national office to epo] |
Ref country code: CH Free format text: LAPSE BECAUSE OF NON-PAYMENT OF DUE FEES Effective date: 20200831 Ref country code: LI Free format text: LAPSE BECAUSE OF NON-PAYMENT OF DUE FEES Effective date: 20200831 |
|
| PG25 | Lapsed in a contracting state [announced via postgrant information from national office to epo] |
Ref country code: FR Free format text: LAPSE BECAUSE OF NON-PAYMENT OF DUE FEES Effective date: 20200831 Ref country code: DE Free format text: LAPSE BECAUSE OF NON-PAYMENT OF DUE FEES Effective date: 20210302 |
|
| PG25 | Lapsed in a contracting state [announced via postgrant information from national office to epo] |
Ref country code: GB Free format text: LAPSE BECAUSE OF NON-PAYMENT OF DUE FEES Effective date: 20200830 |
|
| PG25 | Lapsed in a contracting state [announced via postgrant information from national office to epo] |
Ref country code: NL Free format text: LAPSE BECAUSE OF NON-PAYMENT OF DUE FEES Effective date: 20200901 |
|
| PGFP | Annual fee paid to national office [announced via postgrant information from national office to epo] |
Ref country code: LU Payment date: 20250723 Year of fee payment: 15 |
|
| PGFP | Annual fee paid to national office [announced via postgrant information from national office to epo] |
Ref country code: BE Payment date: 20250723 Year of fee payment: 15 |
