EP2394819A1 - Wartungssystem für grossformatige tintenstrahldruckmaschinen - Google Patents

Wartungssystem für grossformatige tintenstrahldruckmaschinen Download PDF

Info

Publication number
EP2394819A1
EP2394819A1 EP09839560A EP09839560A EP2394819A1 EP 2394819 A1 EP2394819 A1 EP 2394819A1 EP 09839560 A EP09839560 A EP 09839560A EP 09839560 A EP09839560 A EP 09839560A EP 2394819 A1 EP2394819 A1 EP 2394819A1
Authority
EP
European Patent Office
Prior art keywords
thin plate
ink
supporting plate
injectors
plate
Prior art date
Legal status (The legal status is an assumption and is not a legal conclusion. Google has not performed a legal analysis and makes no representation as to the accuracy of the status listed.)
Withdrawn
Application number
EP09839560A
Other languages
English (en)
French (fr)
Inventor
José Vicente TOMÁS CLARAMONTE
Rafael Vicent Abella
Current Assignee (The listed assignees may be inaccurate. Google has not performed a legal analysis and makes no representation or warranty as to the accuracy of the list.)
Kerajet SA
Original Assignee
Kerajet SA
Priority date (The priority date is an assumption and is not a legal conclusion. Google has not performed a legal analysis and makes no representation as to the accuracy of the date listed.)
Filing date
Publication date
Application filed by Kerajet SA filed Critical Kerajet SA
Publication of EP2394819A1 publication Critical patent/EP2394819A1/de
Withdrawn legal-status Critical Current

Links

Images

Classifications

    • BPERFORMING OPERATIONS; TRANSPORTING
    • B41PRINTING; LINING MACHINES; TYPEWRITERS; STAMPS
    • B41JTYPEWRITERS; SELECTIVE PRINTING MECHANISMS, i.e. MECHANISMS PRINTING OTHERWISE THAN FROM A FORME; CORRECTION OF TYPOGRAPHICAL ERRORS
    • B41J2/00Typewriters or selective printing mechanisms characterised by the printing or marking process for which they are designed
    • B41J2/005Typewriters or selective printing mechanisms characterised by the printing or marking process for which they are designed characterised by bringing liquid or particles selectively into contact with a printing material
    • B41J2/01Ink jet
    • B41J2/135Nozzles
    • B41J2/165Prevention or detection of nozzle clogging, e.g. cleaning, capping or moistening for nozzles
    • B41J2/16505Caps, spittoons or covers for cleaning or preventing drying out
    • B41J2/16508Caps, spittoons or covers for cleaning or preventing drying out connected with the printer frame
    • B41J2/16511Constructions for cap positioning
    • BPERFORMING OPERATIONS; TRANSPORTING
    • B41PRINTING; LINING MACHINES; TYPEWRITERS; STAMPS
    • B41JTYPEWRITERS; SELECTIVE PRINTING MECHANISMS, i.e. MECHANISMS PRINTING OTHERWISE THAN FROM A FORME; CORRECTION OF TYPOGRAPHICAL ERRORS
    • B41J2/00Typewriters or selective printing mechanisms characterised by the printing or marking process for which they are designed
    • B41J2/005Typewriters or selective printing mechanisms characterised by the printing or marking process for which they are designed characterised by bringing liquid or particles selectively into contact with a printing material
    • B41J2/01Ink jet
    • B41J2/135Nozzles
    • B41J2/165Prevention or detection of nozzle clogging, e.g. cleaning, capping or moistening for nozzles
    • B41J2/16505Caps, spittoons or covers for cleaning or preventing drying out
    • B41J2/16507Caps, spittoons or covers for cleaning or preventing drying out integral with the printhead
    • BPERFORMING OPERATIONS; TRANSPORTING
    • B41PRINTING; LINING MACHINES; TYPEWRITERS; STAMPS
    • B41JTYPEWRITERS; SELECTIVE PRINTING MECHANISMS, i.e. MECHANISMS PRINTING OTHERWISE THAN FROM A FORME; CORRECTION OF TYPOGRAPHICAL ERRORS
    • B41J2/00Typewriters or selective printing mechanisms characterised by the printing or marking process for which they are designed
    • B41J2/005Typewriters or selective printing mechanisms characterised by the printing or marking process for which they are designed characterised by bringing liquid or particles selectively into contact with a printing material
    • B41J2/01Ink jet
    • B41J2/135Nozzles
    • B41J2/165Prevention or detection of nozzle clogging, e.g. cleaning, capping or moistening for nozzles
    • B41J2/16585Prevention or detection of nozzle clogging, e.g. cleaning, capping or moistening for nozzles for paper-width or non-reciprocating print heads

Definitions

  • the present invention refers to a maintenance system for large format inkjet printing machines that allows carrying out all the cleaning operations of the print heads in order to maintain the lower base of the supporting plate of the print heads, whereon the injecting holes are mounted, under optimal conditions and so that their complexity does not make it prohibitive.
  • the number of injectors of each head is usually a power of two (1, 2, 4, 8, 16, 32, 64, 128, 256, 512, etc.), these are further aligned and uniformly distributed in a plane defined as the base of the supporting plate, commonly called "injector platc”.
  • Each one of the mentioned heads needs a system that maintains the plate, wherein the injector holes are housed, in optimal cleaning state so that the print quality is not affected.
  • inkjet print heads operate maintaining the ink under a pressure below the ambient pressure, the ink being maintained in the injectors by the action of the meniscus formed by the surface tension of the ink. Frequently occurs that the meniscus of one or a few injectors is broken by sharp mechanical and/or hydraulic oscillations. This makes that the affected injector(s), take air and get unprimed.
  • the ink pressure is usually made to be higher than that outside, so that a small amount of ink to fill all the way up to the injector hole flows.
  • This pressure increase is performed by increasing the pressure of the ink and/or decreasing the external pressure by vacuum.
  • the ink flows through the injector holes so that the ink remaining in the injectors is always renewed and maintains its properties even in the event that this contain a highly volatile component, evaporation of which can cause a change in its properties.
  • the main problem that can arise is that the evaporation of some volatile component, and therefore the increase of the concentration of other components, which increases the viscosity of the ink so much as to block the injectors.
  • the maintenance system could also be responsible for recirculating the ink during the downtime periods of the machine. In this case the system must be able to move a higher ink amount.
  • the maintenance system can automatically change the fluid flowing through the print head, by having various circuits that are switched using solenoid valves. This can be useful to clean ink residues in the internal circuit of the heads and even for automatically changing the ink used.
  • the maintenance system for large format inkjet machines object of the present invention has the print heads housed in a supporting plate and the injectors are protected by a thin plate, preferably made of ferromagnetic stainless steel, which is located in a recess on the lower face of said supporting plate. It acquires an arrangement parallel to the base or flat of the injectors and slides between two limiting positions. It is separated from said base between 0.1 mm and 2 mm.
  • the thin plate is kept attached to the supporting plate by the action of some magnets, so that the thin plate can not be separated from the supporting plate although it can move over the plane on which it is, by actuating some external mechanism.
  • the thin plate has grooves made therein, which are aligned in one of its end positions with the injectors, so that the print heads can perform their work without interference. At the other end position of the thin plate, the groove is completely blocked against the supporting plate.
  • the supporting plate has one or more ducts that communicate with the housing of the heads through channels. In this way the ink spilled in the gap between the thin plate and the supporting plate can be collected.
  • the ink spilled in said gap by the injectors is carried by the thin plate when this is moved due to the combination of surface tension of the ink and the surface energy of the thin plate and base, which make the ink to "wet" the thin plate but not the base.
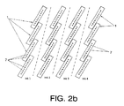
  • the system maintenance for large format inkjet printing machines includes, as others of its type, different plates 1 for supporting the injectors 7 arranged in respective two different ways in order to print on each pass a larger width, i.e., a large format, leaving some overlapping areas between the supporting platens 1 so that injectors 7 make a uniform sweep.
  • Figure 1a maintains the original resolution and Figure 1b increases since the sweep lines are closer together, with a factor equal to the inverse of the sine of "alpha".
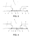
  • the maintenance system proposed by the present invention consists or a thin plate 2 made of ferromagnetic stainless steel, has as many grooves 3 practiced therein as print heads 5 are installed in the module.
  • the thin plate 2 can be moved between two end positions (shown respectively in Figures 3 and 4 ) and is held against the supporting plate 1 by the action of various magnets 4. These magnets 4 hold the thin plate 2 attached to the supporting plate 1 but allowing its displacement.
  • the end position shown in Figure 3 is that corresponding to the inactivity phase, in which the thin plate 2 protects the print head 5 with the groove 3 blocked against the supporting plate 1.
  • the other end position corresponds to the printing phase, in which the thin plate 2 has been moved so that the grooves 3 are aligned with the injectors 7 of the print heads 5 allowing the injectors 7 to project the droplets 10 through the grooves 3.
  • the thin plate 2 slides as indicated by the arrow in Figure 6 , dragging the ink 11 therewith.

Landscapes

  • Ink Jet (AREA)
EP09839560A 2009-02-09 2009-11-17 Wartungssystem für grossformatige tintenstrahldruckmaschinen Withdrawn EP2394819A1 (de)

Applications Claiming Priority (2)

Application Number Priority Date Filing Date Title
ES200900358A ES2343830B1 (es) 2009-02-09 2009-02-09 Sistema de mantenimiento para maquinas de impresion por chorro de tinta, de gran formato.
PCT/ES2009/070503 WO2010089425A1 (es) 2009-02-09 2009-11-17 Sistema de mantenimiento para máquinas de impresión por chorro de tinta, de gran formato

Publications (1)

Publication Number Publication Date
EP2394819A1 true EP2394819A1 (de) 2011-12-14

Family

ID=42357321

Family Applications (1)

Application Number Title Priority Date Filing Date
EP09839560A Withdrawn EP2394819A1 (de) 2009-02-09 2009-11-17 Wartungssystem für grossformatige tintenstrahldruckmaschinen

Country Status (3)

Country Link
EP (1) EP2394819A1 (de)
ES (1) ES2343830B1 (de)
WO (1) WO2010089425A1 (de)

Families Citing this family (1)

* Cited by examiner, † Cited by third party
Publication number Priority date Publication date Assignee Title
ES2472140B2 (es) 2014-02-07 2015-01-29 Kerajet S.A. Método de proyección de sólidos sobre una superficie

Family Cites Families (6)

* Cited by examiner, † Cited by third party
Publication number Priority date Publication date Assignee Title
JPS5816855A (ja) * 1981-07-24 1983-01-31 Fuji Photo Film Co Ltd インクジエツト用ノズルヘツド
JPH04115953A (ja) * 1990-09-06 1992-04-16 Seikosha Co Ltd インクジェットプリンタ
JPH04251750A (ja) * 1991-01-28 1992-09-08 Fuji Electric Co Ltd インクジェット記録ヘッド
JPH05177841A (ja) * 1991-11-18 1993-07-20 Fujitsu Ltd インクジェットヘッド
JPH06340091A (ja) * 1993-06-01 1994-12-13 Ricoh Co Ltd インクジェット記録装置
JP3554099B2 (ja) * 1996-02-13 2004-08-11 キヤノン株式会社 インクジェットプリント装置

Non-Patent Citations (1)

* Cited by examiner, † Cited by third party
Title
See references of WO2010089425A1 *

Also Published As

Publication number Publication date
ES2343830B1 (es) 2011-06-20
WO2010089425A1 (es) 2010-08-12
ES2343830A1 (es) 2010-08-10

Similar Documents

Publication Publication Date Title
US5117244A (en) Nozzle capping device for an ink jet printhead
US9694583B2 (en) Liquid ejection apparatus and moisturizing apparatus for liquid ejection head
US20120056935A1 (en) Inkjet recording device, inkjet recording method, and inkjet head cleaning device
CN102196916A (zh) 具有连续射流打印头的打印机和用于清洁该打印头的装置
US10022972B2 (en) Waste liquid container and attachment
CN113733761A (zh) 一种双面喷墨打印机
KR19990014295A (ko) 잉크젯 프린터
JP2012143947A (ja) 液体拭取りユニット及び液体噴射装置
JP2013031962A (ja) ノズル面清掃装置
JP2021535014A (ja) 印刷機械
EP2394819A1 (de) Wartungssystem für grossformatige tintenstrahldruckmaschinen
DE60302278T2 (de) Tintenstrahlkopf
JP6014983B2 (ja) インクジェット記録装置
CN102180017B (zh) 流体喷射装置
US7357481B2 (en) Duplex printing system capable of ink removal
JP5470919B2 (ja) 吸引装置およびこれを備えた液滴吐出装置
CN111376599B (zh) 液体喷射装置、液体喷射装置的控制方法
US9315027B1 (en) Scalable printhead maintenance cart having maintenance modules
JP2007244973A (ja) 液滴噴射装置及び塗布体の製造方法
JP2008229932A (ja) 液体吐出装置及びヘッドアセンブリ
JP4765969B2 (ja) インクジェット記録装置
US9156269B2 (en) Liquid ejection apparatus
JP5732828B2 (ja) インクジェット記録装置およびインクジェット記録装置のインクノズル面ワイピング方法
US20220297441A1 (en) Printing device and back pressure control method
JP5104486B2 (ja) 記録装置

Legal Events

Date Code Title Description
PUAI Public reference made under article 153(3) epc to a published international application that has entered the european phase

Free format text: ORIGINAL CODE: 0009012

17P Request for examination filed

Effective date: 20110608

AK Designated contracting states

Kind code of ref document: A1

Designated state(s): AT BE BG CH CY CZ DE DK EE ES FI FR GB GR HR HU IE IS IT LI LT LU LV MC MK MT NL NO PL PT RO SE SI SK SM TR

DAX Request for extension of the european patent (deleted)
STAA Information on the status of an ep patent application or granted ep patent

Free format text: STATUS: THE APPLICATION IS DEEMED TO BE WITHDRAWN

18D Application deemed to be withdrawn

Effective date: 20130601