EP2206444A1 - Schuh für Wintersport - Google Patents
Schuh für Wintersport Download PDFInfo
- Publication number
- EP2206444A1 EP2206444A1 EP09176017A EP09176017A EP2206444A1 EP 2206444 A1 EP2206444 A1 EP 2206444A1 EP 09176017 A EP09176017 A EP 09176017A EP 09176017 A EP09176017 A EP 09176017A EP 2206444 A1 EP2206444 A1 EP 2206444A1
- Authority
- EP
- European Patent Office
- Prior art keywords
- shoe according
- shaft
- locking
- shoe
- worm
- Prior art date
- Legal status (The legal status is an assumption and is not a legal conclusion. Google has not performed a legal analysis and makes no representation as to the accuracy of the status listed.)
- Withdrawn
Links
- 230000005540 biological transmission Effects 0.000 claims abstract description 25
- 238000006073 displacement reaction Methods 0.000 claims description 8
- 230000008878 coupling Effects 0.000 description 16
- 238000010168 coupling process Methods 0.000 description 16
- 238000005859 coupling reaction Methods 0.000 description 16
- 210000002683 foot Anatomy 0.000 description 16
- 230000033001 locomotion Effects 0.000 description 5
- 210000003423 ankle Anatomy 0.000 description 1
- 230000008602 contraction Effects 0.000 description 1
- 230000010006 flight Effects 0.000 description 1
- 239000000463 material Substances 0.000 description 1
- 230000009347 mechanical transmission Effects 0.000 description 1
Images
Classifications
-
- A—HUMAN NECESSITIES
- A43—FOOTWEAR
- A43C—FASTENINGS OR ATTACHMENTS OF FOOTWEAR; LACES IN GENERAL
- A43C11/00—Other fastenings specially adapted for shoes
- A43C11/14—Clamp fastenings, e.g. strap fastenings; Clamp-buckle fastenings; Fastenings with toggle levers
- A43C11/1406—Fastenings with toggle levers; Equipment therefor
- A43C11/146—Fastenings with toggle levers with adjustment means provided for on the strap, e.g. ratchet strap
- A43C11/1473—Fastenings with toggle levers with adjustment means provided for on the strap, e.g. ratchet strap characterised by means to retain the preferred position on the strap when the fastening means are in the loosened position
Definitions
- the invention relates to a shoe for winter sports.
- the invention is directed to a ski boot or a snowboard boot, which is intended for skiing or snowboarding and is designed as a shell shoe.
- Ski boots and snowboard boots have been known for a long time. They provide support to the wearer's foot and ensure safe power transmission from the wearer's foot to the ski or snowboard.
- the conventional ski boots and trained as hard boots snowboard boots are generally closed by actuable buckles, which are to mount in appropriate fixed recordings. The hanging and closing the buckles often requires a tremendous effort. For weaker persons, even a second person is necessary for hanging or closing the buckles.
- the US 2002/0095821 A1 shows a displacement of a closure buckle, but without a gear and in a displacement direction up or down.
- the US 4,614,047 . US 4,754,560 . US 4,961,544 or DE 36 04 926 A1 show examples of different gear on generic shoes.
- the invention is therefore based on the object to equip a winter sports shoe with the new locking device that it can be reliably locked without much effort. Another very positive aspect is the sensitive adjustment after closing.
- the locking device comprises an actuatable transmission, with which a closure buckle is adjustable in position.
- the gearbox serves to convert and transmit movements or forces.
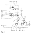
- Fig. 1 is a ski boot or ski boot for alpine skiing presented.
- the ski boot provides support to the wearer's foot and, with the ski fastened, ensures safe transmission of power from the wearer's foot to the ski. He can be safely recorded in a suitably set binding of a ski in a known manner.
- the ski boot has a hard plastic outer shell, into which a soft, insulating and padding inner shoe is inserted.
- the ski boot further comprises a lower foot shell 2 for receiving the foot of a wearer and a sleeve-like shaft 3 for enclosing the lower part of the leg of the wearer.
- the shaft 3 adjoins the top of the foot shell 2.
- the foot shell 2 and the shaft 3 are formed of a plastic material.
- the foot shell 2 comprises a rigid, lower stand sole 4, which is facing the ski when wearing a ski or is standing on it. From the standing sole 4, two flexible foot flaps 5 extend upwards, which converge arcuately and partially overlap each other. By the stand-sole 4 and the two foot flaps 5 a limited space for receiving the foot of the wearer is formed.
- the shaft 3 comprises two flexible shaft flaps 6, which are arcuate and partially overlap each other.
- the shaft flaps 6 are articulated on the foot shell 2 in the region of the ankle of the wearer and enclose the lower part of the wearer's leg. Essentially, the lower leg of the wearer is enclosed.
- the ski boot further comprises a plurality of locking devices 7.
- a total of four locking devices 7 are provided, wherein two locking devices 7 are provided on the foot shell 2 and two locking devices 7 on the shaft 3.
- the locking devices 7 serve to lock the ski boot in order to secure it to the wearer.
- the foot flaps 5 can be contracted.
- the shaft flaps 6 can be contracted. The more the flaps 5, 6 are pulled together, the tighter the ski boot becomes.
- Each locking device 7 comprises a first locking part (not shown in the figures) and an associated second locking part 8, which together form a pair.
- the first locking parts are attached to a flap 5 and 6, respectively.
- the second locking parts 8, however, are attached to the other flap 5 and 6, respectively.
- the first locking parts each have a plurality of web-like retaining projections, between which there is a respective channel-like retaining receptacle.
- Each second locking part 8 comprises a bearing receptacle 9, via which a closure buckle 10 is connected to the corresponding flap 5, 6.
- the closure buckles 10 can be hooked into any retaining receptacles of the first locking parts. By choosing the respective holding receptacle, the size of the shoe can be arbitrarily determined.
- Each bearing receptacle 9 is formed as a U-profile. It has a plate-like base 11 attached to the respective flap 5, 6 and two plate-like bearing legs 12 protruding from the base 11.
- each bearing receptacle 9 is an elongated, box-like gear-bearing body 13 mounted displaceably.
- an elongated bearing lever 15 is hinged to each bearing leg 12 via a bearing pin 14, which in turn is pivotally connected to the transmission bearing body 13 via a corresponding bearing pin 16.
- the bearing levers 15 are pivotally mounted on the inside of the respective bearing leg 12 and on the outside of the transmission-bearing body 13.
- the bearing pin 14 and the bearing pin 16 have respective pivot axes.
- the gearbox-bearing body 13 can be displaced in its position along a curved path.
- the transmission-bearing body 13 can be moved toward and away from the associated first locking part.
- the distance of the displacement is determined by the distance of the bearing pin 14, 16 to each other.
- the maximum displacement distance corresponds approximately to twice the distance of the bearing pin 14, 16 to each other. This distance is between 2 cm and 5 cm.
- the gear-bearing body 13 In a locking position, which in the Fig. 2 to 4 is shown, the gear-bearing body 13 is seated in the bearing receptacle 9. In the open position, which in the 6 and 7 is shown, the transmission-bearing body 13, however, largely lifted out of the bearing receptacle 9. In the locking position, the transmission-bearing body 13 is set back relative to the associated first locking part, while the transmission-bearing body 13 has advanced in the opening position relative thereto. In the rear lock position, the transmission bearing body has 13 a greater distance from the associated first locking member than in the front opening position. For transferring the gear-bearing body 13 between the two illustrated EndStellitch the gear-bearing body 13 is to pivot about the axis of the bearing pin 14. For manually displacing the gear-bearing body 13, an actuating handle 17 is provided at the rear of the bearing levers 15, by which they are connected to each other.
- the transmission-bearing body 13 a mechanical transmission 18 is accommodated.
- the transmission-bearing body 13 thus also forms a housing.
- the transmission 18 is designed as a worm gear. It comprises a worm wheel 19 and a worm shaft 20 meshing with the worm wheel 19.
- the axes of the worm wheel 19 and the worm shaft 20 are offset by 90 ° with respect to each other.
- the toothed worm wheel 19 is provided on the outside as a toothed rim on a sleeve 21.
- the worm wheel 19 and the sleeve 21 are integrally connected to each other.
- the sleeve 21 is rotatably supported in the gear-bearing body 13 and extends in the longitudinal direction of the gear-bearing body 13.
- a bearing insert 22 is inserted at the rear, the rotation of the Sleeve 21 in the transmission-bearing body 13 allowed.
- the bearing insert 22 is not rotatable or displaceable relative to the transmission-bearing body 13.
- An axial displacement of the sleeve 21 and the worm wheel 19 is prevented by the bearing insert 22 and the gear-bearing body 13 having corresponding to the worm wheel 19 laterally adjacent guide surfaces.
- the bearing insert 22 On the outside, the bearing insert 22 has a thread which is screwed into a corresponding internal thread in the gearbox-bearing body 13.
- the sleeve-like bearing insert 22 has a central opening 23 which is penetrated by the sleeve 21.
- the sleeve 21 is axially fixed in the opening 23.
- the sleeve 21 has a central longitudinal opening 24 in which an elongated substantially cylindrical, spindle-like coupling element 25 is located.
- the coupling element 25 is oriented substantially in the direction of the associated first locking part, i. H. it extends substantially tangentially or in the circumferential direction to the respective shell 5, 6.
- the coupling element 25 extends kinked so that it can follow the course of the shell 5, 6 at a small distance.
- the sleeve 21 has an internal thread with which an external thread of the coupling element 25 is engaged.
- the sleeve 21 and the coupling element 25 are rotatable relative to each other. Furthermore, the coupling element 25 relative to the sleeve 21 and the gear-bearing body 13 along its longitudinal axis can be displaced. On the coupling element 25, the closure buckle 10 is hinged end.
- the worm shaft 20 has one or more screw flights. It is rotatably mounted in the gear-bearing body 13 and extends approximately perpendicular to the corresponding flap 5, 6. The at least one screw of the worm shaft 20 is in engagement with the teeth of the toothed wheel 19.
- the worm shaft 20 has a projecting from above the gear-bearing body 13 actuating portion 26 which is formed as a hexagon. Another form of actuation region 26 may also be selected. Terminhalfter way, the actuating portion 26 is formed out of round.
- An actuating means such as a wrench or a knurled nut, for manually actuating the worm shaft 20 can be attached to the actuating region 26.
- the operation of the lock of the ski boot according to the invention will be described below. It is discussed only on a locking device 7. For the remaining locking devices 7, the statements apply analogously.
- the transmission-bearing body 13 is to be brought into the advanced position or pivoting in the 6 and 7 is shown.
- the actuating handle 17 and the bearing lever 15 are then folded forward.
- the actuating handle 17 then abuts against the coupling element 25 at the top.
- the coupling element 25 or the closure buckle 10 must be brought or screwed into an advanced position, which can be adjusted by rotating the worm shaft 20 about its longitudinal axis via the actuating element 26 attached to the actuating region 26. Means is achieved.
- the sleeve 21 is rotated about its worm wheel 19, whereby the coupling element 25 from the gear-bearing body 13 according to the movement arrow 27 in the direction of the associated first locking Part is moved or screwed.
- the buckle 10 can easily be hooked into the corresponding retaining receptacle of the first locking member without much effort.
- the transmission-bearing body 13 is then first about the operating handle 17 to pivot about the bearing pin 14 from the advanced position in the recessed position, whereby the flaps 5 and 6 by displacement of the closure buckle 10 away be contracted from the first locking part.
- the bearing levers 15 are then on the back of the floor 11. Compared to the front position, the bearing levers 15 are pivoted by about 120 to 150 ° to the rear.
- the worm shaft 20 is to be actuated such that the coupling element 25 and the closure buckle 10 is moved against the movement arrow 27 away from the first locking part.
- the sleeve 21 is again set on its worm wheel 19 in rotation.
- the coupling element 25 can be compared to the transmission bearing.
- Body 13 can be offset by a maximum of 4 cm.
- the second locking part 8 is shown in its closed position.
- the transmission-bearing body 13 is as well as the coupling element 25 and the buckle 10 in its reset position. In this case, the free end 28 of the coupling element 25 protrudes from the rear of the transmission-bearing body 13.
- the second locking part 8 is in its final locking position.
- the ski boot according to the invention thus has a double locking adjustment.
- a first, coarse adjustment is effected by the pivoting of the gear-bearing body 13, while the second, fine adjustment by actuation of the transmission 18 takes place.
- the locking device 7 can also be used in a snowboard boot.
Landscapes
- Footwear And Its Accessory, Manufacturing Method And Apparatuses (AREA)
Abstract
Ein Schuh für Wintersport, insbesondere ein Skischuh oder Snowboardschuh, umfasst eine Fuß-Schale zur Aufnahme des Fußes eines Trägers und einen manschettenartigen Schaft zum Umschließen des unteren Teils des Beins des Trägers. Der Schaft ist an der Fuß-Schale angelenkt. Ferner umfasst der Schuh mindestens eine Verriegelungs-Einrichtung zur Verriegelung des Schuhs, die ein erstes Verriegelungs-Teil und ein zweites Verriegelungs-Teil (8) aufweist. Das zweite Verriegelungs-Teil (8) hat eine Verschluss-Schnalle (10) zum Zusammenwirken mit dem ersten Verriegelungs-Teil und ein betätigbares Getriebe (18) zur Versetzung der Verschluss-Schnalle (10).
Description
- Die Erfindung betrifft einen Schuh für Wintersport. Insbesondere richtet sich die Erfindung auf einen Skischuh oder einen Snowboardschuh, der zum Skifahren bzw. Snowboarden vorgesehen ist und als Schalen-Schuh ausgebildet ist.
- Skischuhe und Snowboardschuhe sind seit langem bekannt. Sie geben dem Fuß des Trägers bzw. Fahrers Halt und sorgen für eine sichere Kraftübertragung von dem Fuß des Trägers auf den Ski bzw. auf das Snowboard. Die herkömmlichen Skischuhe und die als Hartboots ausgebildeten Snowboardschuhe werden im Allgemeinen über betätigbare Schnallen verschlossen, die in entsprechende fixe Aufnahmen einzuhängen sind. Das Einhängen und das Schließen der Schnallen erfordert oftmals einen enormen Kraftaufwand. Bei schwächeren Personen ist sogar eine zweite Person zum Einhängen bzw. zum Schließen der Schnallen notwendig.
- Die
US 2002/0095821 A1 zeigt ein Versetzen einer Verschluss-Schnalle, jedoch ohne ein Getriebe und in eine Versetz-Richtung nach oben bzw. unten. DieUS 4 614 047 ,US 4 754 560 ,US 4 961 544 oderDE 36 04 926 A1 zeigen Beispiele verschiedener Getriebe an gattungsgleichen Schuhen. - Der Erfindung liegt daher die Aufgabe zugrunde, einen Wintersport-Schuh mit der neuen Verriegelungseinrichtung auszustatten, dass dieser ohne größeren Kraftaufwand funktionssicher verriegelbar ist. Ein weiterer sehr positiver Aspekt ist das feinfühlige Nachstellen nach dem Verschließen.
- Diese Aufgaben werden erfindungsgemäß durch die in dem Anspruch 1 angegebenen Merkmale gelöst. Der Kern der Erfindung liegt darin, dass die Verriegelungs-Einrichtung ein betätigbares Getriebe aufweist, mit welchem eine Verschluss-Schnalle in der Position verstellbar ist. Das Getriebe dient zum Wandeln und Übertragen von Bewegungen bzw. Kräften.
- Weitere vorteilhafte Ausgestaltungen sind in den Unteransprüchen angegeben.
- Nachfolgend wird unter Bezugnahme auf die beigefügte Zeichnung eine bevorzugte Ausführungsform der Erfindung beschrieben. Dabei zeigen:
- Fig. 1
- vier erfindungsgemäße Verriegelungs-Einrichtungen auf einem herkömmlichen Skischuh,
- Fig. 2
- eine Aufsicht auf eine Verriegelungs-Einrichtung gemäß
Fig. 1 , die vergrößert dargestellt ist und sich in der Schließ-Stellung befindet, - Fig. 3
- einen Schnitt durch die in
Fig. 2 dargestellte Verriegelungs-Einrichtung gemäß der Schnittlinie III-III, - Fig. 4
- eine Seitenansicht der in
Fig. 2 dargestellten Verriegelungs-Einrichtung, - Fig. 5
- einen Schnitt durch die in
Fig. 4 dargestellte Verriegelungs-Einrichtung gemäß der Schnittlinie V-V, - Fig. 6
- eine Seitenansicht einer Verriegelungs-Einrichtung, die sich in der Öffnungs-Stellung befindet, und
- Fig. 7
- einen Schnitt durch die
Fig. 6 dargestellte Verriegelungs-Einrichtung entsprechend dem Schnitt-Verlauf gemäßFig. 3 . - In
Fig. 1 ist ein Skischuh bzw. Skistiefel für den alpinen Skisport dargestellt. Der Skischuh gibt dem Fuß des Trägers bzw. Fahrers Halt und sorgt bei angeschnalltem Ski für eine sichere Kraftübertragung von dem Fuß des Trägers auf den Ski. Er kann sicher in einer entsprechend eingestellten Bindung eines Skis in bekannter Weise aufgenommen werden. Hierfür weist der Skischuh vorne und hinten entsprechende Halte-Vorsprünge 1 auf. Der Skischuh weist eine harte Außen-Schale aus Kunststoff auf, in die ein weicher, isolierender und polsternder Innen-Schuh eingesetzt ist. - Der Skischuh umfasst ferner eine untere Fuß-Schale 2 zur Aufnahme des Fußes eines Trägers und einen manschettenartigen Schaft 3 zum Umschließen des unteren Teils des Beins des Trägers. Der Schaft 3 schließt sich oben an die Fuß-Schale 2 an. Die Fuß-Schale 2 und der Schaft 3 sind aus einem Kunststoff-Material gebildet.
- Die Fuß-Schale 2 umfasst eine starre, untere Stand-Sohle 4, die bei angeschnalltem Ski dem Ski zugewandt ist bzw. auf diesem steht. Von der Stand-Sohle 4 erstrecken sich zwei biegsame Fuß-Klappen 5 nach oben, die bogenförmig zusammenlaufen und einander teilweise überlappen. Durch die Stand-Sohle 4 und die beiden Fuß-Klappen 5 wird ein begrenzter Raum zur Aufnahme des Fußes des Trägers gebildet.
- Der Schaft 3 umfasst zwei biegsame Schaft-Klappen 6, die bogenförmig gestaltet sind und einander teilweise überlappen. Die Schaft-Klappen 6 sind an der Fuß-Schale 2 im Bereich des Knöchels des Trägers angelenkt und umschließen den unteren Teil des Beins des Trägers. Im Wesentlichen wird der Unterschenkel des Trägers umschlossen.
- Der Skischuh umfasst ferner mehrere Verriegelungs-Einrichtungen 7. Hier sind insgesamt vier Verriegelungs-Einrichtungen 7 vorgesehen, wobei zwei Verriegelungs-Einrichtungen 7 an der Fuß-Schale 2 und zwei Verriegelungs-Einrichtungen 7 an dem Schaft 3 vorgesehen sind. Die Verriegelungs-Einrichtungen 7 dienen zum Verriegeln des Skischuhs, um diesen an dem Träger sicher festzulegen. Durch die Verriegelungs-Einrichtungen 7 an der Fuß-Schale 2 können die Fuß-Klappen 5 zusammengezogen werden. Durch die Verriegelungs-Einrichtungen 7 an dem Schaft 3 können die Schaft-Klappen 6 zusammengezogen werden. Je stärker die Klappen 5, 6 zusammengezogen werden, desto enger wird der Skischuh.
- Die Verriegelungs-Einrichtungen 7 sind identisch ausgebildet, so dass nachfolgend lediglich der Aufbau und die Funktionsweise einer Verriegelungs-Einrichtung 7 beschrieben wird. Jede Verriegelungs-Einrichtung 7 umfasst ein erstes Verriegelungs-Teil (nicht in den Figuren dargestellt) und ein zugehöriges zweites Verriegelungs-Teil 8, die zusammen ein Paar bilden. Die ersten Verriegelungs-Teile sind an einer Klappe 5 bzw. 6 befestigt. Die zweiten Verriegelungs-Teile 8 sind dagegen an der anderen Klappe 5 bzw. 6 angebracht. Die ersten Verriegelungs-Teile weisen jeweils mehrere stegartige Halte-Vorsprünge auf, zwischen welchen jeweils eine kanalartige Halte-Aufnahme vorliegt. Jedes zweite Verriegelungs-Teil 8 umfasst eine Lager-Aufnahme 9, über welche eine Verschluss-Schnalle 10 mit der entsprechenden Klappe 5, 6 verbunden ist. Die Verschluss-Schnallen 10 können in beliebige Halte-Aufnahmen der ersten Verriegelungs-Teile eingehängt werden. Durch die Wahl der jeweiligen Halte-Aufnahme kann die Größe des Schuhs beliebig bestimmt werden.
- Jede Lager-Aufnahme 9 ist als U-Profil ausgebildet. Sie weist einen an der jeweiligen Klappe 5, 6 befestigten plattenartigen Boden 11 und zwei von dem Boden 11 vorspringende plattenartige Lager-Schenkel 12 auf. In jeder Lager-Aufnahme 9 ist ein länglicher, kastenartiger Getriebe-Lager-Körper 13 versetzbar gelagert. Hierfür ist an jedem Lager-Schenkel 12 über einen Lager-Zapfen 14 ein länglicher Lager-Hebel 15 angelenkt, der wiederum gelenkig mit dem Getriebe-Lager-Körper 13 über einen entsprechenden Lager-Zapfen 16 verbunden ist. Die Lager-Hebel 15 sind innenseitig an dem jeweiligen Lager-Schenkel 12 und außenseitig an dem Getriebe-Lager-Körper 13 schwenkbar gelagert. Die Lager-Zapfen 14 und die Lager-Zapfen 16 haben jeweilige Schwenk-Achsen. Durch die beschriebene Lagerung kann der Getriebe-Lager-Körper 13 in seiner Position entlang einer Bogen-Bahn versetzt werden. Im Wesentlichen kann der Getriebe-Lager-Körper 13 in Richtung auf das zugehörige erste Verriegelungs-Teil und auch wieder von diesem weg bewegt werden. Die Strecke der Verlagerung ist durch den Abstand der Lager-Zapfen 14, 16 zueinander vorgegeben. Die maximale Verlagerungs-Strecke entspricht in etwa dem doppelten Abstand der Lager-Zapfen 14, 16 zueinander. Diese Strecke liegt zwischen 2 cm und 5 cm.
- In einer Verriegelungs-Stellung, die in den
Fig. 2 bis 4 gezeigt ist, sitzt der Getriebe-Lager-Körper 13 in der Lager-Aufnahme 9. In der Öffnungs-Stellung, die in denFig. 6 und 7 gezeigt ist, ist der Getriebe-Lager-Körper 13 dagegen größtenteils aus der Lager-Aufnahme 9 herausgehoben. In der Verriegelungs-Stellung ist der Getriebe-Lager-Körper 13 gegenüber dem zugeordneten ersten Verriegelungs-Teil zurückversetzt, während der Getriebe-Lager-Körper 13 in der Öffnungs-Stellung gegenüber diesem vorgerückt ist. In der hinteren Verriegelungs-Stellung hat der Getriebe-Lager-Körper 13 einen größeren Abstand zu dem zugehörigen ersten Verriegelungs-Teil als in der vorderen Öffnungs-Stellung. Zur Überführung des Getriebe-Lager-Körpers 13 zwischen den beiden dargestellten EndStellungen ist der Getriebe-Lager-Körper 13 um die Achse der Lager-Zapfen 14 zu verschwenken. Zum manuellen Versetzen des Getriebe-Lager-Körpers 13 ist ein Betätigungs-Griff 17 hinten an den Lager-Hebeln 15 vorgesehen, durch welchen diese miteinander verbunden sind. - In dem Getriebe-Lager-Körper 13 ist ein mechanisches Getriebe 18 untergebracht. Der Getriebe-Lager-Körper 13 bildet somit auch ein Gehäuse. Das Getriebe 18 ist als Schnecken-Getriebe ausgebildet. Es umfasst ein Schnecken-Rad 19 und eine mit dem Schnecken-Rad 19 kämmende Schnecken-Welle 20. Die Achsen des Schnecken-Rads 19 und der Schnecken-Welle 20 sind um 90° zueinander versetzt. Das verzahnte Schnecken-Rad 19 ist außenseitig als Zahn-Kranz an einer Hülse 21 vorgesehen. Das Schnecken-Rad 19 und die Hülse 21 sind einstückig miteinander verbunden. Die Hülse 21 ist in dem Getriebe-Lager-Körper 13 drehbar gelagert und verläuft in der Längs-Richtung des Getriebe-Lager-Körpers 13. In dem Getriebe-Lager-Körper 13 ist hinten ein Lager-Einsatz 22 eingesetzt, der eine Drehung der Hülse 21 in dem Getriebe-Lager-Körper 13 erlaubt. Der Lager-Einsatz 22 ist gegenüber dem Getriebe-Lager-Körper 13 nicht verdrehbar oder verschiebbar. Eine axiale Versetzung der Hülse 21 bzw. des Schnecken-Rads 19 wird durch den Lager-Einsatz 22 und den Getriebe-Lager-Körper 13 unterbunden, die entsprechende an dem Schnecken-Rad 19 seitlich anliegende Führungs-Flächen aufweisen. Außen weist der Lager-Einsatz 22 ein Gewinde auf, das in ein entsprechendes Innen-Gewinde in dem Getriebe-Lager-Körper 13 eingedreht ist.
- Der hülsenartige Lager-Einsatz 22 weist eine zentrale Öffnung 23 auf, die von der Hülse 21 durchdrungen wird. Die Hülse 21 ist in der Öffnung 23 axial fixiert. Die Hülse 21 weist eine zentrale Längs-Öffnung 24 auf, in welcher sich ein längliches im Wesentlichen zylinderförmiges, spindelartiges Kopplungs-Element 25 befindet. Das Kopplungs-Element 25 ist im Wesentlichen in Richtung auf das zugehörige erste Verriegelungs-Teil orientiert, d. h. es verläuft im Wesentlichen tangential bzw. in UmfangsRichtung zu der jeweiligen Schale 5, 6. Das Kopplungs-Element 25 erstreckt sich geknickt, damit dieses dem Verlauf der Schale 5, 6 in geringem Abstand folgen kann. Die Hülse 21 hat ein Innen-Gewinde, mit welchem ein Außen-Gewinde des Kopplungs-Elements 25 in Eingriff steht. Die Hülse 21 und das Kopplungs-Element 25 sind relativ zueinander verdrehbar. Ferner ist das Kopplungs-Element 25 gegenüber der Hülse 21 bzw. dem Getriebe-Lager-Körper 13 entlang seiner Längs-Achse versetzbar. An dem Kopplungs-Element 25 ist endseitig die Verschluss-Schnalle 10 angelenkt.
- Die Schnecken-Welle 20 hat einen oder mehrere Schraubengänge. Sie ist drehbar in dem Getriebe-Lager-Körper 13 gelagert und verläuft in etwa senkrecht zu der entsprechenden Klappe 5, 6. Der mindestens eine Schraubengang der Schnecken-Welle 20 steht in Eingriff mit den Zähnen des Zahn-Rads 19. Die Schnecken-Welle 20 weist einen oben aus dem Getriebe-Lager-Körper 13 ragenden Betätigungs-Bereich 26 auf, der als Sechskant ausgebildet ist. Eine andere Form des Betätigungs-Bereichs 26 kann auch gewählt werden. Vorteilhalfter Weise ist der Betätigungs-Bereich 26 unrund ausgebildet. An den Betätigungs-Bereich 26 kann ein Betätigungs-Mittel, wie ein Schraubenschlüssel oder eine Rändelmutter, zum manuellen Betätigen der Schnecken-Welle 20 angesetzt werden.
- Nachfolgend wird die Funktionsweise der Verriegelung des erfindungsgemäßen Skischuhs beschrieben. Es wird dabei nur auf eine Verriegelungs-Einrichtung 7 eingegangen. Für die übrigen Verriegelungs-Einrichtungen 7 gelten die Ausführungen analog. Zum leichten Einsteigen in den Skischuh ist der Getriebe-Lager-Körper 13 in die vorgerückte Stellung zu bringen bzw. zu schwenken, die in den
Fig. 6 und 7 gezeigt ist. Der Betätigungs-Griff 17 bzw. die Lager-Hebel 15 sind dann nach vorne geklappt. Der Betätigungs-Griff 17 liegt dann an dem Kopplungs-Element 25 oben an. Ferner ist das Kopplungs-Element 25 bzw. die Verschluss-Schnalle 10 in eine vorgerückte Position zu bringen bzw. zu schrauben, die durch entsprechendes Drehen der Schnecken-Welle 20 um ihre Längs-Achse über das an den Betätigungs-Bereich 26 angesetzte Betätigungs-Mittel erreicht wird. Durch entsprechendes Drehen der Schnecken-Welle 20 wird die Hülse 21 über ihr Schnecken-Rad 19 in Drehung versetzt, wodurch das Kopplungs-Element 25 aus dem Getriebe-Lager-Körper 13 gemäß dem Bewegungs-Pfeil 27 in Richtung auf das zugehörige erste Verriegelungs-Teil bewegt bzw. geschraubt wird. Wenn sich sowohl das Kopplungs-Element 25 als auch der Getriebe-Lager-Körper 13 in ihrer vorgerückten Position befinden, kann die Verschluss-Schnalle 10 ohne größeren Kraftaufwand leicht in die entsprechende Halte-Aufnahme des ersten Verriegelungs-Teils eingehängt werden. - Zur Verriegelung ist dann zunächst der Getriebe-Lager-Körper 13 über den Betätigungs-Griff 17 um die Lager-Zapfen 14 aus der vorgerückten Stellung in die rückversetzte Stellung zu schwenken, wodurch die Klappen 5 bzw. 6 durch Versetzung der Verschluss-Schnalle 10 weg von dem ersten Verriegelungs-Teil zusammengezogen werden. Die Lager-Hebel 15 liegen dann hinten auf dem Boden 11 auf. Gegenüber der vorderen Position sind die Lager-Hebel 15 um etwa 120 bis 150° nach hinten verschwenkt. Zum weiteren Zusammenziehen der Klappen 5, 6 ist die Schnecken-Welle 20 derart zu betätigen, dass das Kopplungs-Element 25 bzw. die Verschluss-Schnalle 10 entgegen dem Bewegungs-Pfeil 27 weg von dem ersten Verriegelungs-Teil bewegt wird. Durch die entsprechende Drehung der Schnecken-Welle 20 über das an dem Betätigungs-Bereich 26 angesetzte Betätigungs-Mittel wird wieder die Hülse 21 über ihr Schnecken-Rad 19 in Drehung versetzt. Da die Dreh-Richtung nun entgegengesetzt zu der vorher beschriebenen Dreh-Richtung ist, erfolgt die Bewegung des Kopplungs-Elements 25 bzw. der Verschluss-Schnalle 10 entgegen dem Bewegungs-Pfeil 27. Das Kopplungs-Element 25 kann gegenüber dem Getriebe-Lager-Körper 13 um maximal 4 cm versetzt werden. In den
Fig. 3 und4 ist das zweite Verriegelungs-Teil 8 in seiner Schließ-Stellung gezeigt. Der Getriebe-Lager-Körper 13 befindet sich ebenso wie das Kopplungs-Element 25 bzw. die Verschluss-Schnalle 10 in seiner rückversetzten Stellung. Dabei ragt das freie Ende 28 des Kopplungs-Elements 25 rückseitig aus dem Getriebe-Lager-Körper 13 hervor. Das zweite Verriegelungs-Teil 8 befindet sich in seiner endgültigen Verriegelungs-Position. - Durch das Getriebe 18 können die Klappen 5 bzw. 6 ohne großen Kraftaufwand fest zusammengezogen werden. Der erfindungsgemäße Skischuh hat somit eine doppelte Verriegelungs-Verstellung. Eine erste, grobe Verstellung erfolgt durch das Verschwenken des Getriebe-Lager-Körpers 13, während die zweite, feine Verstellung durch Betätigung des Getriebes 18 erfolgt.
- Die Verriegelungs-Einrichtung 7 kann auch bei einem Snowboardschuh eingesetzt werden.
Claims (15)
- Schuh für Wintersport, insbesondere Skischuh oder Snowboardschuh, umfassenda) eine Fuß-Schale (2) zur Aufnahme des Fußes eines Trägers,b) einen manschettenartigen Schaft (3) zum Umschließen des unteren Teils des Beins des Trägers, wobei der Schaft (3) an der Fuß-Schale (2) angelenkt ist, undc) mindestens eine Verriegelungs-Einrichtung (7) zur Verriegelung des Schuhs mitd) jeweils einem ersten Verriegelungs-Teil, unde) jeweils einem zweiten Verriegelungs-Teil (8), das aufweistf) eine Verschluss-Schnalle (10) zum Zusammenwirken mit dem ersten Verriegelungs-Teil, undg) ein betätigbares Getriebe (18) zur Versetzung der Verschluss-Schnalle (10).
- Schuh nach Anspruch 1, dadurch gekennzeichnet, dass das Getriebe (18) zur Versetzung der Verschluss-Schnalle (10) insgesamt verlagerbar ist.
- Schuh nach Anspruch 1 oder 2, dadurch gekennzeichnet, dass das zweite Verschluss-Teil (8) eine fixe Lager-Aufnahme (9) aufweist, in welcher das Getriebe (18) versetzbar gelagert ist.
- Schuh nach einem der vorherigen Ansprüche, dadurch gekennzeichnet, dass das Getriebe (18) ein Schnecken-Getriebe ist.
- Schuh nach Anspruch 4, dadurch gekennzeichnet, dass das Schnecken-Getriebe (18) ein Schnecken-Rad (19) und eine mit dem Schnecken-Rad (19) kämmende Schnecken-Welle (20) umfasst.
- Schuh nach Anspruch 5, dadurch gekennzeichnet, dass die Schnecken-Welle (20) manuell betätigbar ist.
- Schuh nach Anspruch 5 oder 6, dadurch gekennzeichnet, dass die Schnecken-Welle (20) einen freien Betätigungs-Bereich (26) zur manuellen Betätigung der Schnecken-Welle (20) aufweist.
- Schuh nach Anspruch 7, dadurch gekennzeichnet, dass der Betätigungs-Bereich (26) im Querschnitt unrund, vorzugsweise mehreckig, ausgebildet ist.
- Schuh nach Anspruch 7 oder 8, dadurch gekennzeichnet, dass der Betätigungs-Bereich (26) zum Ansetzen eines Betätigungs-Mittels ausgebildet ist.
- Schuh nach einem der vorherigen Ansprüche 5 bis 9, dadurch gekennzeichnet, dass die Schnecken-Welle (20) und die Verschluss-Schnalle (10) miteinander gekoppelt sind.
- Schuh nach Anspruch 10, dadurch gekennzeichnet, dass die Schnecken-Welle (20) und die Verschluss-Schnalle (10) gelenkig miteinander gekoppelt sind.
- Schuh nach einem der vorherigen Ansprüche, dadurch gekennzeichnet, dass die mindestens eine Verriegelungs-Einrichtung (7) an der Fuß-Schale (2) zur verstellbaren Verriegelung der Fuß-Schale (2) vorgesehen ist.
- Schuh nach einem der vorherigen Ansprüche, dadurch gekennzeichnet, dass die mindestens eine Verriegelungs-Einrichtung (7) an dem Schaft (3) zur verstellbaren Verriegelung des Schafts (3) vorgesehen ist.
- Schuh nach einem der vorherigen Ansprüche, dadurch gekennzeichnet, dass das erste Verriegelungs-Teil mindestens einen HalteVorsprung aufweist.
- Schuh nach einem der vorherigen Ansprüche, dadurch gekennzeichnet, dass das erste Verriegelungs-Teil an einer ersten Klappe (5, 6) des Schafts (3) und/oder der Fuß-Schale (2) und das zweite Verriegelungs-Teil (8) an einer zweiten Klappe (5, 6) des jeweiligen Schafts (3) und/oder der jeweiligen Fuß-Schale (2) angebracht ist.
Applications Claiming Priority (1)
| Application Number | Priority Date | Filing Date | Title |
|---|---|---|---|
| DE200910004243 DE102009004243B3 (de) | 2009-01-09 | 2009-01-09 | Schuh für Wintersport |
Publications (1)
| Publication Number | Publication Date |
|---|---|
| EP2206444A1 true EP2206444A1 (de) | 2010-07-14 |
Family
ID=41501581
Family Applications (1)
| Application Number | Title | Priority Date | Filing Date |
|---|---|---|---|
| EP09176017A Withdrawn EP2206444A1 (de) | 2009-01-09 | 2009-11-16 | Schuh für Wintersport |
Country Status (2)
| Country | Link |
|---|---|
| EP (1) | EP2206444A1 (de) |
| DE (1) | DE102009004243B3 (de) |
Citations (10)
| Publication number | Priority date | Publication date | Assignee | Title |
|---|---|---|---|---|
| FR2507445A1 (fr) | 1981-06-16 | 1982-12-17 | Warrington Inc | Dispositif de fermeture de chaussure de ski |
| EP0093371A1 (de) | 1982-05-03 | 1983-11-09 | Carlo Valsecchi | Regelbare Schliessvorrichtung, insbesondere für Ski-Schuhe |
| DE3604926A1 (de) | 1985-03-07 | 1986-09-11 | Lange International S.A., Freiburg/Fribourg | Skischuh |
| US4614047A (en) | 1984-05-02 | 1986-09-30 | Lange International S.A. | Ski boot closing and tightening apparatus |
| FR2582486A1 (fr) * | 1985-05-31 | 1986-12-05 | Salomon Sa | Dispositif de mise sous tension d'un organe souple assurant la liaison entre deux pieces, applicable notamment a la fermeture et au serrage d'une chaussure de ski sur le pied d'un skieur |
| US4754560A (en) | 1985-11-12 | 1988-07-05 | Salomon S.A. | Device for securing a skier's foot inside a ski boot |
| US4961544A (en) | 1988-11-09 | 1990-10-09 | Lange International S. A. | Cable tensioner with a winding drum for a ski boot |
| WO1996022034A1 (fr) * | 1995-01-19 | 1996-07-25 | Salomon S.A. | Dispositif de verrouillage et de serrage |
| US5819378A (en) | 1997-11-03 | 1998-10-13 | Doyle; Michael A. | Buckle device with enhanced tension adjustment |
| US20020095821A1 (en) | 2001-01-24 | 2002-07-25 | Salomon S.A. | Sports boot having a transversely adjustable tightening device |
-
2009
- 2009-01-09 DE DE200910004243 patent/DE102009004243B3/de not_active Expired - Fee Related
- 2009-11-16 EP EP09176017A patent/EP2206444A1/de not_active Withdrawn
Patent Citations (11)
| Publication number | Priority date | Publication date | Assignee | Title |
|---|---|---|---|---|
| FR2507445A1 (fr) | 1981-06-16 | 1982-12-17 | Warrington Inc | Dispositif de fermeture de chaussure de ski |
| EP0093371A1 (de) | 1982-05-03 | 1983-11-09 | Carlo Valsecchi | Regelbare Schliessvorrichtung, insbesondere für Ski-Schuhe |
| US4614047A (en) | 1984-05-02 | 1986-09-30 | Lange International S.A. | Ski boot closing and tightening apparatus |
| DE3604926A1 (de) | 1985-03-07 | 1986-09-11 | Lange International S.A., Freiburg/Fribourg | Skischuh |
| FR2582486A1 (fr) * | 1985-05-31 | 1986-12-05 | Salomon Sa | Dispositif de mise sous tension d'un organe souple assurant la liaison entre deux pieces, applicable notamment a la fermeture et au serrage d'une chaussure de ski sur le pied d'un skieur |
| US4754560A (en) | 1985-11-12 | 1988-07-05 | Salomon S.A. | Device for securing a skier's foot inside a ski boot |
| US4961544A (en) | 1988-11-09 | 1990-10-09 | Lange International S. A. | Cable tensioner with a winding drum for a ski boot |
| WO1996022034A1 (fr) * | 1995-01-19 | 1996-07-25 | Salomon S.A. | Dispositif de verrouillage et de serrage |
| FR2729547A1 (fr) * | 1995-01-19 | 1996-07-26 | Salomon Sa | Dispositif de verrouillage et de serrage |
| US5819378A (en) | 1997-11-03 | 1998-10-13 | Doyle; Michael A. | Buckle device with enhanced tension adjustment |
| US20020095821A1 (en) | 2001-01-24 | 2002-07-25 | Salomon S.A. | Sports boot having a transversely adjustable tightening device |
Also Published As
| Publication number | Publication date |
|---|---|
| DE102009004243B3 (de) | 2010-02-11 |
Similar Documents
| Publication | Publication Date | Title |
|---|---|---|
| EP1443834B1 (de) | Vorrichtung zur fussbekleidung | |
| DE3532455A1 (de) | Verschluss- und festspanneinrichtung eines skistiefels mit einstieg von hinten | |
| DE3442780A1 (de) | Alpiner skischuh | |
| DE1947575A1 (de) | Skistiefel | |
| DE3342331A1 (de) | Integriertes verschlusssystem fuer skischuhe | |
| DE1803954B2 (de) | Auslöseskibindung | |
| DE69504518T2 (de) | Bindung für einen schuh auf einem snowboard | |
| CH633423A5 (de) | Vorrichtung zur blockierung des fusses in einem schischuh. . | |
| DE3514657A1 (de) | Hebel zum entriegeln des verschlusses eines skistiefels | |
| EP0423584A1 (de) | Skischuh | |
| DE2747626A1 (de) | Skibindung mit einer als fersenbacken oder vorderbacken ausgebildeten skistiefelhalterung | |
| DE68923577T2 (de) | Skistiefel mit verbessertem Sitz. | |
| DE2907163C3 (de) | Skischuh | |
| DE102015005572B4 (de) | Knieorthese zum Aufbringen einer ventral oder dorsal gerichteten Translationskraft | |
| CH528876A (de) | Skischuh | |
| DE2711213A1 (de) | Kniehebelverschluss fuer stiefel | |
| WO2019162520A1 (de) | Snowboardbindung aus zwei trennbare teile | |
| EP0784943B1 (de) | Schischuh | |
| EP0441776B1 (de) | Schischuh mit einer schale und einem mehrteiligen schaft | |
| EP2206444A1 (de) | Schuh für Wintersport | |
| DE69122011T2 (de) | Sportschuh mit angelenktem Schaft | |
| DE60102968T2 (de) | Schalen, insbesondere für Skistiefel | |
| DE69301215T2 (de) | Skischuh | |
| DE69515376T2 (de) | Vorrichtung zum Einstellen der Position des Schaftes gegenüber der Schale eines Sportschuhs | |
| DE2701842A1 (de) | Skibindung mit einer beweglichen platte zur aufnahme des entsprechenden schuhs |
Legal Events
| Date | Code | Title | Description |
|---|---|---|---|
| PUAI | Public reference made under article 153(3) epc to a published international application that has entered the european phase |
Free format text: ORIGINAL CODE: 0009012 |
|
| AK | Designated contracting states |
Kind code of ref document: A1 Designated state(s): AT BE BG CH CY CZ DE DK EE ES FI FR GB GR HR HU IE IS IT LI LT LU LV MC MK MT NL NO PL PT RO SE SI SK SM TR |
|
| AX | Request for extension of the european patent |
Extension state: AL BA RS |
|
| 17P | Request for examination filed |
Effective date: 20100731 |
|
| 17Q | First examination report despatched |
Effective date: 20110523 |
|
| STAA | Information on the status of an ep patent application or granted ep patent |
Free format text: STATUS: THE APPLICATION HAS BEEN WITHDRAWN |
|
| 18W | Application withdrawn |
Effective date: 20121128 |