EP2199729A2 - Schwenkluke, insbesondere für militärische Fahrzeuge - Google Patents

Schwenkluke, insbesondere für militärische Fahrzeuge Download PDF

Info

Publication number
EP2199729A2
EP2199729A2 EP09180134A EP09180134A EP2199729A2 EP 2199729 A2 EP2199729 A2 EP 2199729A2 EP 09180134 A EP09180134 A EP 09180134A EP 09180134 A EP09180134 A EP 09180134A EP 2199729 A2 EP2199729 A2 EP 2199729A2
Authority
EP
European Patent Office
Prior art keywords
locking
pivot
axis
hatch according
swing
Prior art date
Legal status (The legal status is an assumption and is not a legal conclusion. Google has not performed a legal analysis and makes no representation as to the accuracy of the status listed.)
Granted
Application number
EP09180134A
Other languages
English (en)
French (fr)
Other versions
EP2199729B1 (de
EP2199729A3 (de
Inventor
Georg Scheidemann
Current Assignee (The listed assignees may be inaccurate. Google has not performed a legal analysis and makes no representation or warranty as to the accuracy of the list.)
KNDS Deutschland GmbH and Co KG
Original Assignee
Krauss Maffei Wegmann GmbH and Co KG
Priority date (The priority date is an assumption and is not a legal conclusion. Google has not performed a legal analysis and makes no representation as to the accuracy of the date listed.)
Filing date
Publication date
Family has litigation
First worldwide family litigation filed litigation Critical https://patents.darts-ip.com/?family=41718353&utm_source=google_patent&utm_medium=platform_link&utm_campaign=public_patent_search&patent=EP2199729(A2) "Global patent litigation dataset” by Darts-ip is licensed under a Creative Commons Attribution 4.0 International License.
Application filed by Krauss Maffei Wegmann GmbH and Co KG filed Critical Krauss Maffei Wegmann GmbH and Co KG
Publication of EP2199729A2 publication Critical patent/EP2199729A2/de
Publication of EP2199729A3 publication Critical patent/EP2199729A3/de
Application granted granted Critical
Publication of EP2199729B1 publication Critical patent/EP2199729B1/de
Active legal-status Critical Current
Anticipated expiration legal-status Critical

Links

Images

Classifications

    • FMECHANICAL ENGINEERING; LIGHTING; HEATING; WEAPONS; BLASTING
    • F41WEAPONS
    • F41HARMOUR; ARMOURED TURRETS; ARMOURED OR ARMED VEHICLES; MEANS OF ATTACK OR DEFENCE, e.g. CAMOUFLAGE, IN GENERAL
    • F41H5/00Armour; Armour plates
    • F41H5/22Manhole covers, e.g. on tanks; Doors on armoured vehicles or structures
    • F41H5/223Manhole covers specially adapted for armoured or fighting vehicles

Definitions

  • the invention relates to a pivot hatch, in particular for military vehicles, with a relation to a pivot bearing about a pivot axis pivotally mounted hatch cover which is lockable via a locking element in at least one pivotal position relative to the pivot bearing, wherein the locking element in the direction of a pivot axis parallel to the locking axis movable and with a locking structure of the pivot bearing is engageable.
  • Schwenkluken this type are used on military vehicles in particular as entry / exit hatches, through which a crew member of the vehicle in the vehicle can get on and off.
  • the hatch cover is opened and locked in the open position via a locking element, so that a member of the vehicle crew can stick his head through the vehicle hatch to the vehicle's exterior, resulting in better visibility for this crew member,
  • Locking elements for locking the hatch cover are known from the prior art, which can be moved back and forth in the direction of a locking axis in order to form a lock with a locking structure of the vehicle-fixed pivot bearing.
  • Known locking elements extend in the direction of the locking axis and engage laterally in the locking structure, resulting in a positive locking of the hatch cover on the pivot bearing.
  • the object of the invention is therefore to provide a pivot hatch in which a lock between the pivoting hatch cover and the pivot bearing is possible even at a more distant from the pivot axis of the pivot bearing locking axis.
  • the hatch cover can be locked in two pivot positions via the locking element, wherein a first locking structure is provided for locking in the first pivot position and a second locking structure is provided for locking in the second pivot position.
  • a first locking structure is provided for locking in the first pivot position
  • a second locking structure is provided for locking in the second pivot position.
  • the locking element can be moved back and forth in the direction of the locking axis by actuating an actuating element provided on the inside of the hatch cover.
  • an actuating element provided on the inside of the hatch cover.
  • the actuating element is coupled in such a way with an actuating bolt extending along the locking axis, that a rotary movement of the actuating element is converted into a translational movement of the actuating bolt.
  • the actuating bolt may carry at one end of the locking element, which is entrained by the movement of the actuating bolt and in this way in the axial direction of the locking axis with the locking structures is engageable.
  • An advantage for a reliable power transmission between the actuating element and the actuating bolt or the locking element is an embodiment, according to which the actuating element is coupled via a meshing with a toothed segment of the actuating bolt gear segment.
  • the locking element has a guide portion and an engagement portion.
  • the guide portion is guided over guide surfaces in the guide and that engages the engagement portion for locking the hatch cover via engagement surfaces in a pivotal position in a locking structure.
  • the locking element has in this way a double function.
  • the locking between the hatch cover and the pivot bearing is provided via the locking portion.
  • the guide portion of the locking element is guided within the guide, so that there is a play-free transmission of forces over the guide portion.
  • the engagement surfaces are inclined relative to each other, wherein in particular one of the two engagement surfaces is inclined relative to one of the guide surfaces and the second engagement surface is aligned parallel to the guide surfaces.
  • An advantageous embodiment provides that the locking element is guided over the guide portion in the guide so that a torque support of the actuating bolt results, resulting in a reliable introduction of the forces and in particular the locking bolt is outside the power flow. This allows a smooth operation of the locking element.
  • the locking structure is arranged on a bearing element for a Schwenkachsharm extending along the pivot axis.
  • a further embodiment provides that the locking structure is a recess which is continuous parallel to the direction of the locking axis.
  • the configuration of the locking structure as a recess passing through in the locking direction has the advantage that impurities accumulating within the locking structure are pushed out in the direction of entry when the locking element enters.
  • the locking structure is a recess which opens in a direction radial to the pivot axis.
  • the locking element engages from outside the pivot bearing in the locking structure and forms the lock.
  • the locking element is loaded in the direction of the locking position via a spring, so that the lock is effected automatically by inserting the locking element into the locking structure as a result of the spring force, without requiring an actuation here.
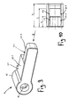
  • FIG. 1 shows a Schwenkluke 1, as used in particular as an entry / exit hatch on military vehicles, in particular armored vehicles.
  • the pivot hatch 1 has a solid hatch cover 3, which is arranged pivotably about a pivot axis S on a pivot bearing 2.
  • the pivot bearing 2 is fixed to the vehicle on the outer contour of the vehicle.
  • the hatch cover 3 In order to lock the hatch cover 3 having a considerable weight in the open position, the hatch cover 3 is provided with a locking element 4, which in locking structures 5.1, 5.2 of the pivot bearing 2 is locked or latched, so that after locking further pivotal movements of the hatch cover 3 are blocked relative to the pivot bearing 2.
  • the pivot bearing 2 is formed by two bearing elements 15 which are fixed to the vehicle outer contour and form a bearing for a Schwenkachsêt 11.
  • One of the two bearing elements 15 is provided with the two locking structures 5.1, 5.2, at an angle of 90 ° or 170 ° relative to the in FIG. 1 illustrated closed position of the hatch cover 3 are arranged.
  • the locking element 4 is of elongated geometry and is arranged to be movable in the axial direction of the locking axis V back and forth. In the closed position according to FIG. 1 is the locking element 4 is not locked, but lies loosely against the side surface 26 of the bearing element 15 from the outside.
  • the hatch cover 3 In the closed position, the hatch cover 3 is secured against opening by means of two closing elements 30 designed in the manner of a rotatable hand latch.
  • the closing elements 30 are located on the inside 6 of the hatch cover 3 in the region of the hatch cover 3 facing away from the pivot bearing 2, cf. also Fig. 2 ,
  • FIG. 1 It can also be seen that on the outside 7 of the hatch cover 3, a housing 17 is provided, in which the components required for locking the locking element 4 are housed.
  • an actuating element 8 is provided, which is provided for actuating the locking element 4 and for releasing the lock.
  • FIG. 3 in which a cover plate 18 of the housing 17 is not located, is located in the interior of the housing 17 is a locking bolt 9 which is axially movable along the locking axis V back and forth and carries at its free end the locking element 4.
  • the locking element 4 extends from the locking axis V in the direction of the pivot axis S. In the embodiment shown in the figures, the locking element 4 extends radially both to the locking axis V as well as to the pivot axis S.
  • the locking element 4 extends transversely to the axis of the locking bolt 9 and is in the embodiment according to FIG. 3 releasably connected to the free end of the locking bolt 9.
  • the locking element 4 has three sections.
  • the section 4.2 forms the actual locking portion, which engages or snaps into the designed according to the type of recesses locking structures 5.1, 5.2 from the outside.
  • To the engaging section 4.2 joins a guide section 4.1 of the locking element 4, which is guided within a bearing element 10, which is arranged in a side wall of the housing 17.
  • a mounting portion 4.3 in which the locking element 4 is screwed by a bolt 19 with the locking pin 9.
  • the guide section 4.1 of the locking element 4 slides within the locking element 10 via two mutually parallel guide surfaces 20.1, 20.2, so that a virtually backlash-free arrangement results, cf. also the representation in FIG. 9 ,
  • the bearing element 10 is of a total horseshoe-shaped geometry and has a section corresponding to the geometry of the section 4.3, approximately hollow cylindrical portion, and a two parallel surfaces having portion corresponding to the parallel guide surfaces 20.1, 20.2 of the locking element 4.
  • the bearing element 10 is made of a suitable sliding bearing material.
  • actuator 8 is provided on the inside 6 of the hatch cover 3. This is connected via a square 22 with a shaft 23 which extends in a direction transverse to the hatch cover 3, see. Fig. 4 ,
  • the shaft 23 penetrates the hatch cover 3 and projects into the housing 17 provided on its outer side 7.
  • the shaft 23 is provided with a gear segment 14, which engages in a rack portion 13 of the locking bolt 9.
  • about the meshing with the rack portion 13 gear segment 14 is a rotational movement of the operating handle 8 in a translational movement of the actuating bolt 9 and thus the locking element 4 along the locking axis V transferred, see. also FIGS. 6 and 7 ,
  • the one end of a kind of actuating rod performing locking bolt 9 is guided in the locking direction in a bearing member 24 movable back and forth and force loaded by a spring 12 in the direction of the locking position.
  • the other end of the locking bolt 9 is guided over the locking element 4 in the guide 10, so that the load of the hatch cover is not transmitted to the locking pin 9 and this is easy to move back and forth, see. also Fig. 5 ,
  • the interior of the housing 17 is provided by a sealing ring 27 surrounding the actuating pin 9.
  • the locking element 4 first slides along the outside 26 of the bearing element 15. Driven by the compression spring 12, it then locks on reaching the first locking structure 5.1 automatically in the locking structure 5.1, which is a bearing element 15 passing through the recess. The unlocking is then carried out by actuation of the actuating element 8 against the force of the spring 12, whereby the locking element 4 disengages from the locking structure 5.1 and the hatch cover 3 can be pivoted further or back to the closed position.
  • FIG. 8 is a first open position shown, in which the hatch cover 3 is pivoted relative to the closed position by 90 ° upwards. As in FIG. 8 can be seen, in this position, the locking element 4 in the locking structure 5.1 engaged. Due to the play-free guidance of the locking element 4 within the bearing element 10, the introduced via the hatch cover 3 forces or moments are derived free of play on the bearing elements 15.
  • the locking element 4 is shown in a perspective view.
  • the locking element 4 is similar in cross section to the shape of a lock cylinder, wherein the locking element 4 has a construction with a total of three sections.
  • section 4.2 forms the actual locking section. This has a smaller depth T 1 than the other sections 4.1, 4.3.
  • the locking portion 4.2 is provided with engagement surfaces 21.1, 21.2, which are inclined relative to each other, see.
  • FIG. 10 The guide section 4.1 has a greater depth T 2 than the locking section 4.2, so that the guide surfaces 20.1, 20.2 are always guided within the bearing element 10, even when the engagement section 4.2 is outside the locking structures 5.1, 5.2.
  • connection section 4.1 for connection to the locking pin 9, which has the greatest depth T 3 and has approximately a round cylindrical contour with an inside provided square 25.
  • the locking element 4 extends in the region between the locking axis V and the pivot axis S of the pivot bearing 2, so that even with larger distances between the pivot axis S and the locking axis V a lock in the open positions is possible.
  • the locking element 4 is not only subjected to shear but also to bending, so that even heavy-duty hatch cover 3 can be locked reliably via the locking element 4.

Landscapes

  • Engineering & Computer Science (AREA)
  • General Engineering & Computer Science (AREA)
  • Lock And Its Accessories (AREA)
  • Refuge Islands, Traffic Blockers, Or Guard Fence (AREA)
  • Pivots And Pivotal Connections (AREA)

Abstract

Die Erfindung betrifft eine Schwenkluke, insbesondere für militärische Fahrzeuge, mit einem gegenüber einem Schwenklager (2) um eine Schwenkachse (S) schwenkbar angeordneten Lukendeckel (3), der über ein Verriegelungselement (4) in mindestens einer Schwenkstellung gegenüber dem Schwenklager (2) verriegelbar ist, wobei das Verriegelungselement (4) in Richtung einer zur Schwenkachse (S) parallelen Verriegelungsachse (V) bewegbar und mit einer Verriegelungsstruktur (5.1, 5.2) des Schwenklagers (2) in Eingriff bringbar ist, wobei sich das Verriegelungselement (4) ausgehend von der Verriegelungsachse (V) in Richtung der Schwenkachse (S) erstreckt.

Description

  • Die Erfindung betrifft eine Schwenkluke, insbesondere für militärische Fahrzeuge, mit einem gegenüber einem Schwenklager um eine Schwenkachse schwenkbar angeordneten Lukendeckel, der über ein Verriegelungselement in mindestens einer Schwenkstellung gegenüber dem Schwenklager verriegelbar ist, wobei das Verriegelungselement in Richtung einer zur Schwenkachse parallelen Verriegelungsachse bewegbar und mit einer Verriegelungsstruktur des Schwenklagers in Eingriff bringbar ist.
  • Schwenkluken dieser Art werden an militärischen Fahrzeugen insbesondere als Ein-/Ausstiegsluken verwendet, durch welche ein Besatzungsmitglied des Fahrzeugs in das Fahrzeug ein- bzw. aussteigen kann. In bestimmten Fahrsituationen, beispielsweise bei langsamen Marschfahrten in gesichertem Gelände, wird der Lukendeckel geöffnet und in der Offenstellung über ein Verriegelungselement arretiert, so dass ein Mitglied der Fahrzeugbesatzung seinen Kopf durch die Fahrzeugluke nach Fahrzeugaußen stecken kann, wodurch sich für dieses Besatzungsmitglied bessere Sichtverhältnisse ergeben, man spricht vom sogenannten Überlukefahren.
  • Aufgrund des oftmals erheblichen Gewichts des ballistisch geschützten Lukendeckels wirken insbesondere beim Überlukefahren vergleichsweise große Kräfte auf das die Schwenkbeweglichkeit zwischen dem Lukendeckel und dem Schwenklager blockierende Verriegelungselement, insbesondere bei Fahrten in unwegsamem Gelände.
  • Aus dem Stand der Technik sind Verriegelungselemente zur Arretierung des Lukendeckels bekannt, die sich in Richtung einer Verriegelungsachse hin und her bewegen lassen, um mit einer Verriegelungsstruktur des fahrzeugfesten Schwenklagers eine Verriegelung zu bilden. Bekannte Verriegelungselemente erstrecken sich in Richtung der Verriegelungsachse und greifen seitlich in die Verriegelungsstruktur ein, wodurch sich eine formschlüssige Verriegelung des Lukendeckels am Schwenklager ergibt.
  • Bei dieser Art von Schwenkluken hat sich als nachteilig erwiesen, dass sich das Verriegelungselement im Wesentlichen entlang dessen Verriegelungsachse auf das Schwenklager zu erstreckt. Insbesondere bei schweren Lukendeckeln, deren Öffnungsbewegung von einem in Richtung der Offenstellung vorgespannten Federelement unterstützt wird, ist es aus konstruktiven Gründen erforderlich, dass die Verriegelungsachse einen gewissen Abstand gegenüber der Schwenkachse aufweist, da das federnde Unterstützungsmittel zumeist als eine die Schwenkachse umgebende Spiralfeder ausgeführt ist. Bei derartigen Schwenkluken ist es nicht ohne Weiteres möglich, die Verriegelung über ein sich entlang der vergleichsweise weit beabstandet liegenden Verriegelungsachse erstreckendes Verriegelungselement zu erreichen. Ein weiterer Nachteil liegt darin, dass das sich in Richtung der Verriegelungsachse erstreckende Verriegelungselement oftmals nur mit Scherkräften beaufschlagt wird.
  • Aufgabe der Erfindung ist es daher, eine Schwenkluke anzugeben, bei welcher eine Verriegelung zwischen dem schwenkbeweglichen Lukendeckel und dem Schwenklager auch bei einer von der Schwenkachse des Schwenklagers weiter entfernt liegenden Verriegelungsachse möglich ist.
  • Diese Aufgabe wird bei einer Schwenkluke der eingangs genannten Art dadurch gelöst, dass sich das Verriegelungselement ausgehend von der Verriegelungsachse in Richtung der Schwenkachse erstreckt.
  • Über die Länge des Verriegelungselements lässt sich eine zuverlässige Verriegelung des Lukendeckels auch bei größeren Abständen zwischen der Verriegelungsachse und der Schwenkachse realisieren. Zudem können derartige, sich quer zur Verriegelungsachse erstreckende Verriegelungselemente im Gegensatz zu sich rein axial erstreckenden Verriegelungselementen nicht nur auf Scherung, sondern auch auf Biegung beansprucht werden, wodurch sich eine günstige Übertragung der insbesondere beim Überlukefahren in unwegsamem Gelände großen Kräfte ergibt.
  • Gemäß einer vorteilhaften Ausgestaltung der Erfindung wird vorgeschlagen, dass der Lukendeckel über das Verriegelungselement in zwei Schwenkstellungen verriegelbar ist, wobei zur Verriegelung in der ersten Schwenkstellung eine erste Verriegelungsstruktur und zur Verriegelung in der zweiten Schwenkstellung eine zweite Verriegelungsstruktur vorgesehen ist. Auf diese Weise ergeben sich zwei verschiedene Offenstellungen der Luke, wobei der Lukendeckel in diesen Schwenkstellungen vorzugsweise um 90° bzw. 170° verschwenkt ist. In der Schließstellung ist eine Verriegelung über das Verriegelungselement nicht erforderlich.
  • Weiter wird vorgeschlagen, dass das Verriegelungselement durch Betätigung eines an der Innenseite des Lukendeckels vorgesehenen Betätigungselements in Richtung der Verriegelungsachse hin und her bewegbar ist. Durch das an der Innenseite des Lukendeckels angeordnete Betätigungselement, beispielsweise einen schwenkbaren Handgriff, ist es möglich, die Verriegelung bei nach oben verschwenktem Lukendeckel zu lösen, ohne dass das Besatzungsmitglied aus dem Fahrzeuginneren heraus um den Lukendeckel herum greifen und im Bereich des Schwenklagers die Verriegelung lösen muss.
  • Weiter ist vorgesehen, dass das Betätigungselement derart mit einem sich entlang der Verriegelungsachse erstreckenden Betätigungsbolzen gekoppelt ist, dass eine Drehbewegung des Betätigungselements in eine translatorische Bewegung des Betätigungsbolzens überführt wird.
  • Der Betätigungsbolzen kann an seinem einen Ende das Verriegelungselement tragen, welches durch die Bewegung des Betätigungsbolzens mitgenommen und auf diese Weise in axialer Richtung der Verriegelungsachse mit den Verriegelungsstrukturen in Eingriff bringbar ist.
  • Von Vorteil für eine zuverlässige Kraftübertragung zwischen dem Betätigungselement und dem Betätigungsbolzen bzw. dem Verriegelungselement ist eine Ausgestaltung, nach welcher das Betätigungselement über ein mit einem Zahnsegment des Betätigungsbolzens kämmendes Zahnradsegment gekoppelt ist.
  • Für eine leichtgängige Betätigung des Verriegelungselements ist weiter vorgesehen, dass die Bewegung des Verriegelungsbolzens in einer Führung geführt ist.
  • Weiter wird vorgeschlagen, dass das Verriegelungselement einen Führungsabschnitt und einen Eingriffsabschnitt aufweist.
  • In diesem Zusammenhang ist weiter vorgesehen, dass der Führungsabschnitt über Führungsflächen in der Führung geführt ist und dass der Eingriffsabschnitt zur Verriegelung des Lukendeckels über Eingriffsflächen in einer Schwenkstellung in eine Verriegelungsstruktur eingreift. Das Verriegelungselement hat auf diese Weise eine Doppelfunktion. Zum Einen wird über den Verriegelungsabschnitt die Verriegelung zwischen dem Lukendeckel und dem Schwenklager bereitgestellt. Zum Anderen ist der Führungsabschnitt des Verriegelungselements innerhalb der Führung geführt, sodass sich eine spielfreie Übertragung der Kräfte über den Führungsabschnitt ergibt.
  • Weiter wird vorgeschlagen, dass die Führungsflächen zueinander parallel sind.
  • Darüber hinaus wird vorgeschlagen, dass die Eingriffsflächen gegeneinander geneigt sind, wobei insbesondere eine der beiden Eingriffsflächen gegenüber einer der Führungsflächen geneigt verläuft und die zweite Eingriffsfläche parallel zu den Führungsflächen ausgerichtet ist.
  • Eine vorteilhafte Ausgestaltung sieht vor, dass das Verriegelungselement über den Führungsabschnitt derart in der Führung geführt ist, dass sich eine Drehmomentabstützung des Betätigungsbolzens ergibt, wodurch sich eine zuverlässige Einleitung der Kräfte ergibt und insbesondere der Verriegelungsbolzen außerhalb des Kraftflusses liegt. Dies erlaubt eine leichtgängige Betätigung des Verriegelungselements.
  • In weiterer Ausgestaltung der Erfindung wird vorgeschlagen, dass die Verriegelungsstruktur an einem Lagerelement für einen sich entlang der Schwenkachse erstreckenden Schwenkachskörper angeordnet ist.
  • Eine weitere Ausgestaltung sieht vor, dass die Verriegelungsstruktur eine parallel zur Richtung der Verriegelungsachse durchgehende Ausnehmung ist. Die Ausgestaltung der Verriegelungsstruktur als in Verriegelungsrichtung durchgehende Ausnehmung bietet den Vorteil, dass sich innerhalb der Verriegelungsstruktur ansammelnde Verunreinigungen beim Eintreten des Verriegelungselements in der Eintrittsrichtung heraus geschoben werden.
  • Von konstruktivem Vorteil ist ferner eine Ausgestaltung, nach welcher die Verriegelungsstruktur eine sich in einer zu der Schwenkachse radialen Richtung öffnende Ausnehmung ist.
  • Weiterhin wird vorgeschlagen, dass das Verriegelungselement von außerhalb des Schwenklagers in die Verriegelungsstruktur eingreift und die Verriegelung bildet.
  • Ferner ist vorgesehen, dass das Verriegelungselement in Richtung der Verriegelungsstellung über eine Feder belastet ist, so dass die Verriegelung in Folge der Federkraft selbsttätig durch Einbringen des Verriegelungselements in die Verriegelungsstruktur erfolgt, ohne das es hier zu einer Betätigung bedarf.
  • Weitere Einzelheiten und Vorteile der Erfindung werden nachfolgen unter Zuhilfenahme der beigefügten Zeichnungen eines Ausführungsbeispiels erläutert. Darin zeigen:
  • Figur 1:
    eine perspektivische Ansicht einer Schwenkluke in deren Schließstellung,
    Figur 2:
    eine weitere perspektivische Darstellung der Schwenkluke in deren Schließstellung von unten her betrachtet,
    Figur 3:
    eine perspektivische Darstellung der Schwenkluke unter Weglassung einiger Bauteile,
    Figur 4:
    eine weitere perspektivische Darstellung der Schwenkluke unter Weglassung weiterer Bauteile,
    Figur 5:
    eine horizontale Schnittansicht durch den Bereich des Schwenklagers,
    Figur 6:
    eine vertikale Schnittansicht durch den Bereich des Schwenklagers,
    Figur 7:
    eine weitere vertikale Schnittansicht durch den Bereich des Schwenklagers,
    Figur 8:
    eine perspektivische Darstellung der Schwenkluke in einer ersten Offenstellung,
    Figur 9:
    eine perspektivische Ansicht des Verriegelungselements und
    Figur 10:
    eine stirnseitige Ansicht auf das Verriegelungselement aus der in Figur 9 mit X bezeichneten Richtung.
  • Figur 1 zeigt eine Schwenkluke 1, wie diese insbesondere als Ein/Ausstiegsluke an militärischen Fahrzeugen, insbesondere gepanzerten Fahrzeugen verwendet wird. Die Schwenkluke 1 verfügt über einen massiven Lukendeckel 3, der um eine Schwenkachse S schwenkbar an einem Schwenklager 2 angeordnet ist. Das Schwenklager 2 wird fahrzeugfest an der Außenkontur des Fahrzeugs festgelegt.
  • Um den ein erhebliches Gewicht aufweisenden Lukendeckel 3 in der Offenstellung zu arretieren, ist der Lukendeckel 3 mit einem Verriegelungselement 4 versehen, welches in Verriegelungsstrukturen 5.1, 5.2 des Schwenklagers 2 verriegel- bzw. einrastbar ist, so dass nach erfolgter Verriegelung weitere Schwenkbewegungen des Lukendeckels 3 gegenüber dem Schwenklager 2 blockiert sind.
  • Das Schwenklager 2 wird gebildet von zwei Lagerelementen 15, die an der Fahrzeugaußenkontur festgelegt werden und ein Lager für einen Schwenkachskörper 11 bilden. Eines der beiden Lagerelemente 15 ist mit den beiden Verriegelungsstrukturen 5.1, 5.2 versehen, die in einem Winkel von 90° bzw. 170° gegenüber der in Figur 1 dargestellten Schließstellung des Lukendeckels 3 angeordnet sind.
  • Bei der in Figur 1 dargestellten Schwenkluke 1 wird die Öffnungsbewegung aufgrund des erheblichen Gewichts des Lukendeckels 3 über zwei in Richtung der Offenstellung vorgespannte Spiralfedern 16 unterstützt, die sich um den Schwenkachskörper 11 herum erstrecken. Von daher weist die Verriegelungsachse V des Verriegelungselements 4 einen vergleichsweise großen Abstand A gegenüber der Schwenkachse S des Lukendeckels 3 auf.
  • Das Verriegelungselement 4 ist von länglicher Geometrie und ist in axialer Richtung der Verriegelungsachse V hin und her bewegbar angeordnet. In der Schließstellung gemäß Figur 1 ist das Verriegelungselement 4 nicht verriegelt, sondern liegt von außen lose gegen die Seitenfläche 26 des Lagerelements 15 an.
  • In der Schließstellung ist der Lukendeckel 3 über zwei nach Art drehbarer Handriegel gestalteter Schließelemente 30 gegen Öffnen gesichert. Die Schließelemente 30 befinden sich an der Innenseite 6 des Lukendeckels 3 in dem dem Schwenklager 2 abgewandten Bereich des Lukendeckels 3, vgl. auch Fig. 2.
  • In Figur 1 ist ferner zu erkennen, dass auf der Außenseite 7 des Lukendeckels 3 ein Gehäuse 17 vorgesehen ist, in welchem die zum Verriegeln des Verriegelungselements 4 erforderlichen Bauteile untergebracht sind.
  • Wie Figur 2 erkennen lässt, ist an der Innenseite 6 des Lukendeckels 3 an der dem Schwenklager 2 zugewandten Seite des Lukendeckels 3 ein Betätigungselement 8 vorgesehen, das zur Betätigung des Verriegelungselements 4 bzw. zum Lösen der Verriegelung vorgesehen ist.
  • Wie Figur 3 erkennen lässt, in welcher eine Abdeckplatte 18 des Gehäuses 17 nicht eingezeichnet ist, befindet sich im Inneren des Gehäuses 17 ein Verriegelungsbolzen 9, der entlang der Verriegelungsachse V axial hin und her bewegbar ist und an seinem freien Ende das Verriegelungselement 4 trägt. Das Verriegelungselement 4 erstreckt sich ausgehend von der Verriegelungsachse V in Richtung der Schwenkachse S. Bei der in den Figuren dargestellten Ausführung erstreckt sich das Verriegelungselement 4 radial sowohl zur Verriegelungsachse V wie auch zur Schwenkachse S.
  • Das Verriegelungselement 4 erstreckt sich quer zur Achse des Verriegelungsbolzens 9 und ist bei der Ausführung gemäß Figur 3 lösbar mit dem freien Ende des Verriegelungsbolzens 9 verbunden. Das Verriegelungselement 4 weist drei Abschnitte auf. Der Abschnitt 4.2 bildet den eigentlichen Verriegelungsabschnitt, der in die nach Art von Ausnehmungen gestalteten Verriegelungsstrukturen 5.1, 5.2 von außen her eingereift bzw. einrastet. An den Eingriffsabschnitt 4.2 schließt sich ein Führungsabschnitt 4.1 des Verriegelungselements 4 an, der innerhalb eines Lagerelements 10, welches in einer Seitenwand des Gehäuses 17 angeordnet ist, geführt wird. An den Führungsabschnitt 4.1 schließt sich ein Befestigungsabschnitt 4.3 an, in welchem das Verriegelungselement 4 über einen Schraubbolzen 19 mit dem Verriegelungsbolzen 9 verschraubt ist.
  • Der Führungsabschnitt 4.1 des Verriegelungselements 4 gleitet innerhalb des Verriegelungselements 10 über zwei zueinander parallele Führungsflächen 20.1, 20.2, so dass sich eine nahezu spielfreie Anordnung ergibt, vgl. auch die Darstellung in Figur 9. Das Lagerelement 10 ist von insgesamt hufeisenförmiger Geometrie und weist einen mit der Geometrie des Abschnitts 4.3 korrespondierenden, in etwa hohlzylindrischen Abschnitt, sowie einen zwei parallele Flächen aufweisenden Abschnitt auf, der mit den parallelen Führungsflächen 20.1, 20.2 des Verriegelungselements 4 korrespondiert. Das Lagerelement 10 ist aus einem geeigneten Gleitlagerwerkstoff gefertigt.
  • Zur Betätigung des Verriegelungselements 4 ist das bereits anhand der Figur 2 beschriebene Betätigungselement 8 an der Innenseite 6 des Lukendeckels 3 vorgesehen. Dieses ist über einen Vierkant 22 mit einer Welle 23 verbunden, die sich in einer Richtung quer zum Lukendeckel 3 erstreckt, vgl. Fig. 4. Die Welle 23 durchdringt den Lukendeckel 3 und ragt bis in das auf dessen Außenseite 7 vorgesehene Gehäuse 17 hinein. An ihrem freien Ende ist die Welle 23 mit einem Zahnradsegment 14 versehen, welches in einen Zahnstangenabschnitt 13 des Verriegelungsbolzens 9 eingreift. Über das mit dem Zahnstangenabschnitt 13 kämmende Zahnradsegment 14 wird eine rotatorische Bewegung des Betätigungsgriffs 8 in eine translatorische Bewegung des Betätigungsbolzens 9 und damit des Verriegelungselements 4 entlang der Verriegelungsachse V überführt, vgl. auch Figuren 6 und 7.
  • Das eine Ende des eine Art Betätigungsstange darstellenden Verriegelungsbolzens 9 ist in Verriegelungsrichtung in einem Lagerelement 24 hin und her bewegbar geführt und über eine Feder 12 in Richtung der Verriegelungsstellung kraftbelastet. Das andere Ende des Verriegelungsbolzens 9 ist über das Verriegelungselement 4 in der Führung 10 geführt, so dass sich die Last des Lukendeckels nicht auf den Verriegelungsbolzen 9 überträgt und dieser leichtgängig hin und her bewegbar ist, vgl. auch Fig. 5. Zum Schutz vor Verunreinigungen ist das Innere des Gehäuses 17 über einen den Betätigungsbolzen 9 umgebenden Dichtring 27 versehen.
  • Wird daher der Lukendeckel 3 geöffnet, gleitet zunächst das Verriegelungselement 4 an der Außenseite 26 des Lagerelements 15 entlang. Getrieben über die Druckfeder 12 verriegelt es dann bei Erreichen der ersten Verriegelungsstruktur 5.1 selbsttätig in der Verriegelungsstruktur 5.1, die eine das Lagerelement 15 durchsetzende Ausnehmung ist. Das Entriegeln erfolgt dann durch Betätigung des Betätigungselements 8 entgegen der Kraft der Feder 12, wodurch das Verriegelungselement 4 aus der Verriegelungsstruktur 5.1 ausrückt und der Lukendeckel 3 weiter oder zurück in die Schließstellung geschwenkt werden kann.
  • In Figur 8 ist eine erste Offenstellung dargestellt, in welcher der Lukendeckel 3 gegenüber der Schließstellung um 90° nach oben verschwenkt ist. Wie in Figur 8 zu erkennen ist, ist in dieser Position das Verriegelungselement 4 in der Verriegelungsstruktur 5.1 eingerastet. Aufgrund der spielfreien Führung des Verriegelungselements 4 innerhalb des Lagerelements 10 werden die über den Lukendeckel 3 eingebrachten Kräfte bzw. Momente spielfrei über die Lagerelemente 15 abgeleitet.
  • Nachfolgend werden konstruktive Einzelheiten des Verriegelungselements anhand der Darstellung in den Figuren 9 und 10 erläutert.
  • In Figur 9 ist das Verriegelungselement 4 in perspektivischer Darstellung abgebildet. Insgesamt ähnelt das Verriegelungselement 4 vom Querschnitt her der Form eines Schließzylinders, wobei das Verriegelungselement 4 einen Aufbau mit insgesamt drei Abschnitten aufweist. Zunächst bildet der Abschnitt 4.2 den eigentlichen Verriegelungsabschnitt. Dieser weist eine geringere Tiefe T1 als die übrigen Abschnitten 4.1, 4.3 auf. Der Verriegelungsabschnitt 4.2 ist mit Eingriffsflächen 21.1, 21.2 versehen, die gegeneinander geneigt verlaufen, vgl. Figur 10. Der Führungsabschnitt 4.1 weist eine größere Tiefe T2 auf als der Verriegelungsabschnitt 4.2, so dass die Führungsflächen 20.1, 20.2 auch bei außerhalb der Verriegelungsstrukturen 5.1, 5.2 liegendem Eingriffsabschnitt 4.2 stets innerhalb des Lagerelements 10 geführt sind. An den Führungsabschnitt 4.1 schließt sich ein Anbindungsabschnitt 4.1 zur Verbindung mit dem Verriegelungsbolzen 9 an, der die größte Tiefe T3 aufweist und in etwa eine rundzylindrische Kontur mit einem innen vorgesehenen Vierkant 25 aufweist.
  • Das Verriegelungselement 4 erstreckt sich im Bereich zwischen der Verriegelungsachse V und der Schwenkachse S des Schwenklagers 2, so dass auch bei größeren Abständen zwischen der Schwenkachse S und der Verriegelungsachse V eine Verriegelung in den Offenstellungen möglich ist. Das Verriegelungselement 4 wird nicht nur auf Scherung sondern auch auf Biegung beansprucht, so dass sich selbst schwergewichtige Lukendeckel 3 über das Verriegelungselement 4 zuverlässig verriegeln lassen.
  • Bezugszeichen:
  • 1
    Schwenkluke
    2
    Schwenklager
    3
    Lukendeckel
    4
    Verriegelungselement
    4.1
    Abschnitt
    4.2
    Abschnitt
    4.3
    Abschnitt
    5.1
    Verriegelungsstruktur
    5.2
    Verriegelungsstruktur
    6
    Innenseite
    7
    Außenseite
    8
    Betätigungselement
    9
    Verriegelungsbolzen
    10
    Lagerelement
    11
    Schwenkachskörper
    12
    Feder
    13
    Zahnsegment
    14
    Zahnradsegment
    15
    Lagerelement
    16
    Federelement
    17
    Gehäuse
    18
    Abdeckplatte
    19
    Schraubbolzen
    20.1
    Führungsfläche
    20.2
    Führungsfläche
    21.1
    Eingriffsfläche
    21.2
    Eingriffsfläche
    22
    Vierkant
    23
    Welle
    24
    Lagerelement
    25
    Vierkant
    26
    Fläche
    27
    Dichtring
    30
    Schließelement
    S
    Schwenkachse
    V
    Verriegelungsachse
    A
    Abstand
    T1
    Tiefe
    T2
    Tiefe
    T3
    Tiefe

Claims (16)

  1. Schwenkluke, insbesondere für militärische Fahrzeuge, mit einem gegenüber einem Schwenklager (2) um eine Schwenkachse (S) schwenkbar angeordneten Lukendeckel (3), der über ein Verriegelungselement (4) in mindestens einer Schwenkstellung gegenüber dem Schwenklager (2) verriegelbar ist, wobei das Verriegelungselement (4) in Richtung einer zur Schwenkachse (S) parallelen Verriegelungsachse (V) bewegbar und mit einer Verriegelungsstruktur (5.1, 5.2) des Schwenklagers (2) in Eingriff bringbar ist,
    dadurch gekennzeichnet,
    dass sich das Verriegelungselement (4) ausgehend von der Verriegelungsachse (V) in Richtung der Schwenkachse (S) erstreckt.
  2. Schwenkluke nach Anspruch 1, dadurch gekennzeichnet, dass der Lukendeckel (3) über das Verriegelungselement (4) in zwei Schwenkstellungen verriegelbar ist, wobei zur Verriegelung in der ersten Schwenkstellung eine erste Verriegelungsstruktur (5.1) und zur Verriegelung in der zweiten Schwenkstellung eine zweite Verriegelungsstruktur (5.2) vorgesehen ist.
  3. Schwenkluke nach Anspruch 1 oder 2, dadurch gekennzeichnet, dass das Verriegelungselement (4) durch Betätigung eines an der Innenseite (6) des Lukendeckels (3) vorgesehenen Betätigungselements (8) in Richtung der Verriegelungsachse (V) hin und her bewegbar ist.
  4. Schwenkluke nach Anspruch 3, dadurch gekennzeichnet, dass das Betätigungselement (8) derart mit einem sich entlang der Verriegelungsachse (V) erstreckenden Betätigungsbolzen (9) gekoppelt ist, dass eine Drehbewegung des Betätigungselements (8) in eine translatorische Bewegung des Betätigungsbolzen (9) überführt wird.
  5. Schwenkluke nach Anspruch 4, dadurch gekennzeichnet dass das Betätigungselement (8) über ein mit einem Zahnsegment des Betätigungsbolzens (9) kämmendes Zahnradsegment gekoppelt ist.
  6. Schwenkluke nach Anspruch 4, dadurch gekennzeichnet, dass die Bewegung des Verriegelungsbolzens (9) in einer Führung (10) geführt ist.
  7. Schwenkluke nach einem der vorhergehenden Ansprüche, dadurch gekennzeichnet, dass das Verriegelungselement (4) einen Führungsabschnitt (4.1) und einen Eingriffsabschnitt (4.2) aufweist.
  8. Schwenkluke nach Anspruch 7, dadurch gekennzeichnet, dass der Führungsabschnitt (4.1) über Führungsflächen (20.1, 20.2) in der Führung (10) geführt ist und dass der Eingriffsabschnitt (4.2) zur Verriegelung des Lukendeckels (3) über Eingriffsflächen (21.1, 21.2) in einer Schwenkstellung in eine Verriegelungsstruktur (5.1, 5.2) eingreift.
  9. Schwenkluke nach Anspruch 8, dadurch gekennzeichnet, dass die Führungsflächen (20.1, 20.2) zueinander parallel sind.
  10. Schwenkluke nach Anspruch 8 oder 9, dadurch gekennzeichnet, dass die Eingriffsflächen (21.1, 21.2) gegeneinander geneigt sind.
  11. Schwenkluke nach einem der Ansprüche 8 bis 10, dadurch gekennzeichnet, dass das Verriegelungselement (4) über den Führungsabschnitt (4.1) derart in der Führung (10) geführt ist, dass sich eine Drehmomentabstützung des Betätigungsbolzens (9) ergibt.
  12. Schwenkluke nach einem der vorhergehenden Ansprüche, dadurch gekennzeichnet, dass die Verriegelungsstruktur (5.1, 5.2) an einem Lagerelement (10) für einen sich entlang der Schwenkachse (S) erstreckenden Schwenkachskörper (11) angeordnet ist.
  13. Schwenkluke nach einem der vorhergehenden Ansprüche, dadurch gekennzeichnet, dass die Verriegelungsstruktur (5.1, 5.2) eine parallel zur Richtung der Verriegelungsachse (V) durchgehende Ausnehmung ist.
  14. Schwenkluke nach Anspruch 13, dadurch gekennzeichnet, dass die Verriegelungsstruktur (5.1, 5.2) eine sich in einer zu der Schwenkachse (S) radialen Richtung öffnende Ausnehmung ist.
  15. Schwenkluke nach einem der vorhergehenden Ansprüche, dadurch gekennzeichnet, dass das Verriegelungselement (4) von außerhalb in die Verriegelungsstruktur (5.1, 5.2) eingreift und die Verriegelung bildet.
  16. Schwenkluke nach einem der vorhergehenden Ansprüche, dadurch gekennzeichnet, dass das Verriegelungselement (4) in Richtung der Verriegelungsstellung über eine Feder (12) belastet ist.
EP09180134.0A 2008-12-22 2009-12-21 Schwenkluke, insbesondere für militärische Fahrzeuge Active EP2199729B1 (de)

Applications Claiming Priority (1)

Application Number Priority Date Filing Date Title
DE102008063769A DE102008063769B4 (de) 2008-12-22 2008-12-22 Schwenkluke, insbesondere für militärische Fahrzeuge

Publications (3)

Publication Number Publication Date
EP2199729A2 true EP2199729A2 (de) 2010-06-23
EP2199729A3 EP2199729A3 (de) 2012-06-06
EP2199729B1 EP2199729B1 (de) 2018-02-21

Family

ID=41718353

Family Applications (1)

Application Number Title Priority Date Filing Date
EP09180134.0A Active EP2199729B1 (de) 2008-12-22 2009-12-21 Schwenkluke, insbesondere für militärische Fahrzeuge

Country Status (3)

Country Link
EP (1) EP2199729B1 (de)
DE (1) DE102008063769B4 (de)
ES (1) ES2663413T3 (de)

Cited By (3)

* Cited by examiner, † Cited by third party
Publication number Priority date Publication date Assignee Title
WO2014004254A1 (en) * 2012-06-26 2014-01-03 Bae Systems Land & Armaments L. P. Armored split hatch
CN112777131A (zh) * 2021-01-26 2021-05-11 益新制罐(惠州)有限公司 一种多边形儿童安全铁盒
RU2845228C1 (ru) * 2024-06-04 2025-08-15 Акционерное общество "Конструкторское бюро приборостроения им. академика А.Г. Шипунова" Люк боевого отделения

Families Citing this family (1)

* Cited by examiner, † Cited by third party
Publication number Priority date Publication date Assignee Title
DE102011008699B4 (de) 2011-01-15 2016-12-08 Rheinmetall Landsysteme Gmbh Schutzvorrichtung für insbesondere eine Luke

Family Cites Families (14)

* Cited by examiner, † Cited by third party
Publication number Priority date Publication date Assignee Title
GB446340A (en) * 1934-10-20 1936-04-20 Ceandess Ltd Improvements in or relating to cap closures for petrol and oil tanks, radiators and the like
CH442077A (de) * 1964-03-20 1967-08-15 Bofors Ab Vorrichtung zum Befestigen eines Deckels an einer Wand, insbesondere eines Deckels einer Einsteigöffnung einer fahrbaren Kanone oder dergleichen
GB1281084A (en) * 1969-02-25 1972-07-12 Helio Mirror Company Ltd Improvements in and relating to hatch assemblies for vehicles
US3721363A (en) * 1970-09-16 1973-03-20 Gulf & Western Industries Quick-opening manway closure
FR2220767B1 (de) * 1973-03-08 1976-11-05 France Etat
DE3908789A1 (de) 1989-03-17 1990-09-20 Rheinmetall Gmbh Verriegelungs- und aufschwenkmechanismus fuer einen mit panzerschutz ausgeruesteten dachlukendeckel
DE3908788A1 (de) 1989-03-17 1990-09-20 Rheinmetall Gmbh Sperrvorrichtung fuer eine dachlukendeckelverriegelung
DE3908790A1 (de) * 1989-03-17 1990-09-20 Rheinmetall Gmbh Turminnenseitig bedienbarer mechanismus zum oeffnen und ablegen eines mit panzerschutz ausgeruesteten dachlukendeckels
DE3938586C2 (de) * 1989-11-21 1999-01-21 Wegmann & Co Gmbh Vorrichtung zum Massenausgleich an einem gepanzerten Lukendeckeln eines Kampffahrzeugs, insbesondere eines Kampfpanzers
DE19708848A1 (de) * 1997-03-05 1998-09-10 Wegmann & Co Gmbh Luke für ein gepanzertes Kampffahrzeug
DE19912557A1 (de) 1999-03-19 2000-09-21 Krauss Maffei Wegmann Gmbh & C Luke für gepanzerte Fahrzeuge
DE10225617A1 (de) * 2002-06-07 2003-12-24 Muhr & Bender Kg Spanneinrichtung für Zugmittel, insbesondere Riemenspanneinrichtung
KR101163784B1 (ko) * 2005-12-22 2012-07-09 두산디에스티주식회사 상하 열림각도 조정이 가능한 특수차량의 해치 개폐장치
FR2920461B1 (fr) 2007-08-30 2011-04-15 Peugeot Citroen Automobiles Sa Dispositif de maintien en position d'ouverture stable d'un ouvrant de vehicule automobile, en particulier d'un capot avant

Non-Patent Citations (1)

* Cited by examiner, † Cited by third party
Title
None

Cited By (3)

* Cited by examiner, † Cited by third party
Publication number Priority date Publication date Assignee Title
WO2014004254A1 (en) * 2012-06-26 2014-01-03 Bae Systems Land & Armaments L. P. Armored split hatch
CN112777131A (zh) * 2021-01-26 2021-05-11 益新制罐(惠州)有限公司 一种多边形儿童安全铁盒
RU2845228C1 (ru) * 2024-06-04 2025-08-15 Акционерное общество "Конструкторское бюро приборостроения им. академика А.Г. Шипунова" Люк боевого отделения

Also Published As

Publication number Publication date
ES2663413T3 (es) 2018-04-12
DE102008063769A1 (de) 2010-06-24
EP2199729B1 (de) 2018-02-21
EP2199729A3 (de) 2012-06-06
DE102008063769B4 (de) 2011-02-17

Similar Documents

Publication Publication Date Title
EP2362041B1 (de) Minenschutzverriegelung zur Anordnung an Türen von militärischen Fahrzeugen
DE102017129427B3 (de) Scharnierverschluss
DE102009018188B4 (de) Vorrichtung zum automatischen Schließen einer Fahrzeugtür
EP1767388A2 (de) Schwenkschiebetür für Fahrzeuge, insbesondere Fahrgasttür für Fahrzeuge des offentlichen Personnenverkehrs
EP2796645B1 (de) Riegelschloss eines Möbels
EP2096027B1 (de) Klappensteuerung
EP2199729B1 (de) Schwenkluke, insbesondere für militärische Fahrzeuge
DE102023109933B3 (de) Antriebsvorrichtung mit Kopplungsvorrichtung für eine Fahrzeugklappe
DE102023109932B3 (de) Antriebsvorrichtung mit Kopplungsvorrichtung für eine Fahrzeugklappe
DE102010002736A1 (de) Kraftfahrzeugschloss mit Kraftübertragung auf den Schlosskasten
DE102019129440A1 (de) Vorreiber zum Verriegeln einer Tür
EP0428953A1 (de) Gepanzertes Kampffahrzeug, insbesondere Kampfpanzer
EP2143859B1 (de) Verriegelungsvorrichtung
DE102016115622A1 (de) Verriegelungssystem zur Verriegelung eines Deckels in einem Kraftfahrzeug
DE2806491C2 (de) Verriegelungsanordnung für den Verschluß einer Fahrzeugtür
EP3287579B1 (de) Verschlussvorrichtung für eine tür
DE102005061127A1 (de) Luftfahrzeugtür-Anordnung sowie Luftfahrzeugrumpf mit einer derartigen Luftfahrzeugtür-Anordnung
EP2960410B1 (de) Schliesszylindervorrichtung für ein kraftfahrzeug mit einer koppeleinheit
DE10008497B4 (de) Feststellmechanismus für Schiebetür
EP3617432B1 (de) Verschlussvorrichtung für eine tür
EP1150090B1 (de) Vorrichtung zum Öffnen und Schliessen des Lukendeckels einer Schiebeluke an einem Kampffahrzeug, insbesondere einem Kampfpanzer
EP2105558A2 (de) Schloss mit einer Sicherheitseinrichtung
EP3744932B1 (de) Stangenverschluss mit notentriegelung
DE102019102441A1 (de) Vorreiber zum Verriegeln einer Tür
EP4403731A1 (de) Verschlussvorrichtung

Legal Events

Date Code Title Description
PUAI Public reference made under article 153(3) epc to a published international application that has entered the european phase

Free format text: ORIGINAL CODE: 0009012

AK Designated contracting states

Kind code of ref document: A2

Designated state(s): AT BE BG CH CY CZ DE DK EE ES FI FR GB GR HR HU IE IS IT LI LT LU LV MC MK MT NL NO PL PT RO SE SI SK SM TR

AX Request for extension of the european patent

Extension state: AL BA RS

PUAL Search report despatched

Free format text: ORIGINAL CODE: 0009013

AK Designated contracting states

Kind code of ref document: A3

Designated state(s): AT BE BG CH CY CZ DE DK EE ES FI FR GB GR HR HU IE IS IT LI LT LU LV MC MK MT NL NO PL PT RO SE SI SK SM TR

AX Request for extension of the european patent

Extension state: AL BA RS

RIC1 Information provided on ipc code assigned before grant

Ipc: F41H 5/22 20060101AFI20120503BHEP

17P Request for examination filed

Effective date: 20121130

17Q First examination report despatched

Effective date: 20131010

GRAP Despatch of communication of intention to grant a patent

Free format text: ORIGINAL CODE: EPIDOSNIGR1

STAA Information on the status of an ep patent application or granted ep patent

Free format text: STATUS: GRANT OF PATENT IS INTENDED

INTG Intention to grant announced

Effective date: 20170321

GRAJ Information related to disapproval of communication of intention to grant by the applicant or resumption of examination proceedings by the epo deleted

Free format text: ORIGINAL CODE: EPIDOSDIGR1

STAA Information on the status of an ep patent application or granted ep patent

Free format text: STATUS: EXAMINATION IS IN PROGRESS

GRAP Despatch of communication of intention to grant a patent

Free format text: ORIGINAL CODE: EPIDOSNIGR1

STAA Information on the status of an ep patent application or granted ep patent

Free format text: STATUS: GRANT OF PATENT IS INTENDED

INTC Intention to grant announced (deleted)
INTG Intention to grant announced

Effective date: 20170606

GRAJ Information related to disapproval of communication of intention to grant by the applicant or resumption of examination proceedings by the epo deleted

Free format text: ORIGINAL CODE: EPIDOSDIGR1

STAA Information on the status of an ep patent application or granted ep patent

Free format text: STATUS: EXAMINATION IS IN PROGRESS

GRAP Despatch of communication of intention to grant a patent

Free format text: ORIGINAL CODE: EPIDOSNIGR1

STAA Information on the status of an ep patent application or granted ep patent

Free format text: STATUS: GRANT OF PATENT IS INTENDED

INTC Intention to grant announced (deleted)
INTG Intention to grant announced

Effective date: 20170925

GRAS Grant fee paid

Free format text: ORIGINAL CODE: EPIDOSNIGR3

GRAA (expected) grant

Free format text: ORIGINAL CODE: 0009210

STAA Information on the status of an ep patent application or granted ep patent

Free format text: STATUS: THE PATENT HAS BEEN GRANTED

AK Designated contracting states

Kind code of ref document: B1

Designated state(s): AT BE BG CH CY CZ DE DK EE ES FI FR GB GR HR HU IE IS IT LI LT LU LV MC MK MT NL NO PL PT RO SE SI SK SM TR

REG Reference to a national code

Ref country code: GB

Ref legal event code: FG4D

Free format text: NOT ENGLISH

REG Reference to a national code

Ref country code: CH

Ref legal event code: EP

REG Reference to a national code

Ref country code: AT

Ref legal event code: REF

Ref document number: 972232

Country of ref document: AT

Kind code of ref document: T

Effective date: 20180315

REG Reference to a national code

Ref country code: IE

Ref legal event code: FG4D

Free format text: LANGUAGE OF EP DOCUMENT: GERMAN

REG Reference to a national code

Ref country code: DE

Ref legal event code: R096

Ref document number: 502009014739

Country of ref document: DE

REG Reference to a national code

Ref country code: SE

Ref legal event code: TRGR

REG Reference to a national code

Ref country code: ES

Ref legal event code: FG2A

Ref document number: 2663413

Country of ref document: ES

Kind code of ref document: T3

Effective date: 20180412

REG Reference to a national code

Ref country code: NL

Ref legal event code: MP

Effective date: 20180221

REG Reference to a national code

Ref country code: LT

Ref legal event code: MG4D

PG25 Lapsed in a contracting state [announced via postgrant information from national office to epo]

Ref country code: FI

Free format text: LAPSE BECAUSE OF FAILURE TO SUBMIT A TRANSLATION OF THE DESCRIPTION OR TO PAY THE FEE WITHIN THE PRESCRIBED TIME-LIMIT

Effective date: 20180221

Ref country code: LT

Free format text: LAPSE BECAUSE OF FAILURE TO SUBMIT A TRANSLATION OF THE DESCRIPTION OR TO PAY THE FEE WITHIN THE PRESCRIBED TIME-LIMIT

Effective date: 20180221

Ref country code: HR

Free format text: LAPSE BECAUSE OF FAILURE TO SUBMIT A TRANSLATION OF THE DESCRIPTION OR TO PAY THE FEE WITHIN THE PRESCRIBED TIME-LIMIT

Effective date: 20180221

Ref country code: NO

Free format text: LAPSE BECAUSE OF FAILURE TO SUBMIT A TRANSLATION OF THE DESCRIPTION OR TO PAY THE FEE WITHIN THE PRESCRIBED TIME-LIMIT

Effective date: 20180521

Ref country code: NL

Free format text: LAPSE BECAUSE OF FAILURE TO SUBMIT A TRANSLATION OF THE DESCRIPTION OR TO PAY THE FEE WITHIN THE PRESCRIBED TIME-LIMIT

Effective date: 20180221

Ref country code: CY

Free format text: LAPSE BECAUSE OF FAILURE TO SUBMIT A TRANSLATION OF THE DESCRIPTION OR TO PAY THE FEE WITHIN THE PRESCRIBED TIME-LIMIT

Effective date: 20180221

PG25 Lapsed in a contracting state [announced via postgrant information from national office to epo]

Ref country code: BG

Free format text: LAPSE BECAUSE OF FAILURE TO SUBMIT A TRANSLATION OF THE DESCRIPTION OR TO PAY THE FEE WITHIN THE PRESCRIBED TIME-LIMIT

Effective date: 20180521

Ref country code: LV

Free format text: LAPSE BECAUSE OF FAILURE TO SUBMIT A TRANSLATION OF THE DESCRIPTION OR TO PAY THE FEE WITHIN THE PRESCRIBED TIME-LIMIT

Effective date: 20180221

Ref country code: GR

Free format text: LAPSE BECAUSE OF FAILURE TO SUBMIT A TRANSLATION OF THE DESCRIPTION OR TO PAY THE FEE WITHIN THE PRESCRIBED TIME-LIMIT

Effective date: 20180522

PG25 Lapsed in a contracting state [announced via postgrant information from national office to epo]

Ref country code: MT

Free format text: LAPSE BECAUSE OF FAILURE TO SUBMIT A TRANSLATION OF THE DESCRIPTION OR TO PAY THE FEE WITHIN THE PRESCRIBED TIME-LIMIT

Effective date: 20180221

PG25 Lapsed in a contracting state [announced via postgrant information from national office to epo]

Ref country code: EE

Free format text: LAPSE BECAUSE OF FAILURE TO SUBMIT A TRANSLATION OF THE DESCRIPTION OR TO PAY THE FEE WITHIN THE PRESCRIBED TIME-LIMIT

Effective date: 20180221

Ref country code: RO

Free format text: LAPSE BECAUSE OF FAILURE TO SUBMIT A TRANSLATION OF THE DESCRIPTION OR TO PAY THE FEE WITHIN THE PRESCRIBED TIME-LIMIT

Effective date: 20180221

Ref country code: PL

Free format text: LAPSE BECAUSE OF FAILURE TO SUBMIT A TRANSLATION OF THE DESCRIPTION OR TO PAY THE FEE WITHIN THE PRESCRIBED TIME-LIMIT

Effective date: 20180221

REG Reference to a national code

Ref country code: DE

Ref legal event code: R026

Ref document number: 502009014739

Country of ref document: DE

PG25 Lapsed in a contracting state [announced via postgrant information from national office to epo]

Ref country code: CZ

Free format text: LAPSE BECAUSE OF FAILURE TO SUBMIT A TRANSLATION OF THE DESCRIPTION OR TO PAY THE FEE WITHIN THE PRESCRIBED TIME-LIMIT

Effective date: 20180221

Ref country code: SK

Free format text: LAPSE BECAUSE OF FAILURE TO SUBMIT A TRANSLATION OF THE DESCRIPTION OR TO PAY THE FEE WITHIN THE PRESCRIBED TIME-LIMIT

Effective date: 20180221

Ref country code: DK

Free format text: LAPSE BECAUSE OF FAILURE TO SUBMIT A TRANSLATION OF THE DESCRIPTION OR TO PAY THE FEE WITHIN THE PRESCRIBED TIME-LIMIT

Effective date: 20180221

Ref country code: SM

Free format text: LAPSE BECAUSE OF FAILURE TO SUBMIT A TRANSLATION OF THE DESCRIPTION OR TO PAY THE FEE WITHIN THE PRESCRIBED TIME-LIMIT

Effective date: 20180221

PLBI Opposition filed

Free format text: ORIGINAL CODE: 0009260

PLAX Notice of opposition and request to file observation + time limit sent

Free format text: ORIGINAL CODE: EPIDOSNOBS2

26 Opposition filed

Opponent name: RHEINMETALL LANDSYSTEME GMBH

Effective date: 20181121

PG25 Lapsed in a contracting state [announced via postgrant information from national office to epo]

Ref country code: SI

Free format text: LAPSE BECAUSE OF FAILURE TO SUBMIT A TRANSLATION OF THE DESCRIPTION OR TO PAY THE FEE WITHIN THE PRESCRIBED TIME-LIMIT

Effective date: 20180221

PLBB Reply of patent proprietor to notice(s) of opposition received

Free format text: ORIGINAL CODE: EPIDOSNOBS3

PG25 Lapsed in a contracting state [announced via postgrant information from national office to epo]

Ref country code: MC

Free format text: LAPSE BECAUSE OF FAILURE TO SUBMIT A TRANSLATION OF THE DESCRIPTION OR TO PAY THE FEE WITHIN THE PRESCRIBED TIME-LIMIT

Effective date: 20180221

Ref country code: LU

Free format text: LAPSE BECAUSE OF NON-PAYMENT OF DUE FEES

Effective date: 20181221

REG Reference to a national code

Ref country code: IE

Ref legal event code: MM4A

REG Reference to a national code

Ref country code: BE

Ref legal event code: MM

Effective date: 20181231

PG25 Lapsed in a contracting state [announced via postgrant information from national office to epo]

Ref country code: IE

Free format text: LAPSE BECAUSE OF NON-PAYMENT OF DUE FEES

Effective date: 20181221

PG25 Lapsed in a contracting state [announced via postgrant information from national office to epo]

Ref country code: BE

Free format text: LAPSE BECAUSE OF NON-PAYMENT OF DUE FEES

Effective date: 20181231

REG Reference to a national code

Ref country code: AT

Ref legal event code: MM01

Ref document number: 972232

Country of ref document: AT

Kind code of ref document: T

Effective date: 20181221

PG25 Lapsed in a contracting state [announced via postgrant information from national office to epo]

Ref country code: TR

Free format text: LAPSE BECAUSE OF FAILURE TO SUBMIT A TRANSLATION OF THE DESCRIPTION OR TO PAY THE FEE WITHIN THE PRESCRIBED TIME-LIMIT

Effective date: 20180221

PG25 Lapsed in a contracting state [announced via postgrant information from national office to epo]

Ref country code: AT

Free format text: LAPSE BECAUSE OF NON-PAYMENT OF DUE FEES

Effective date: 20181221

PG25 Lapsed in a contracting state [announced via postgrant information from national office to epo]

Ref country code: PT

Free format text: LAPSE BECAUSE OF FAILURE TO SUBMIT A TRANSLATION OF THE DESCRIPTION OR TO PAY THE FEE WITHIN THE PRESCRIBED TIME-LIMIT

Effective date: 20180221

PG25 Lapsed in a contracting state [announced via postgrant information from national office to epo]

Ref country code: HU

Free format text: LAPSE BECAUSE OF FAILURE TO SUBMIT A TRANSLATION OF THE DESCRIPTION OR TO PAY THE FEE WITHIN THE PRESCRIBED TIME-LIMIT; INVALID AB INITIO

Effective date: 20091221

Ref country code: MK

Free format text: LAPSE BECAUSE OF NON-PAYMENT OF DUE FEES

Effective date: 20180221

PG25 Lapsed in a contracting state [announced via postgrant information from national office to epo]

Ref country code: IS

Free format text: LAPSE BECAUSE OF FAILURE TO SUBMIT A TRANSLATION OF THE DESCRIPTION OR TO PAY THE FEE WITHIN THE PRESCRIBED TIME-LIMIT

Effective date: 20180621

REG Reference to a national code

Ref country code: DE

Ref legal event code: R100

Ref document number: 502009014739

Country of ref document: DE

PLCK Communication despatched that opposition was rejected

Free format text: ORIGINAL CODE: EPIDOSNREJ1

PLBN Opposition rejected

Free format text: ORIGINAL CODE: 0009273

STAA Information on the status of an ep patent application or granted ep patent

Free format text: STATUS: OPPOSITION REJECTED

27O Opposition rejected

Effective date: 20220223

P01 Opt-out of the competence of the unified patent court (upc) registered

Effective date: 20230517

REG Reference to a national code

Ref country code: DE

Ref legal event code: R081

Ref document number: 502009014739

Country of ref document: DE

Owner name: KNDS DEUTSCHLAND GMBH & CO. KG, DE

Free format text: FORMER OWNER: KRAUSS-MAFFEI WEGMANN GMBH & CO. KG, 80997 MUENCHEN, DE

PGFP Annual fee paid to national office [announced via postgrant information from national office to epo]

Ref country code: DE

Payment date: 20241231

Year of fee payment: 16

PGFP Annual fee paid to national office [announced via postgrant information from national office to epo]

Ref country code: IT

Payment date: 20241216

Year of fee payment: 16

REG Reference to a national code

Ref country code: ES

Ref legal event code: PC2A

Owner name: KNDS DEUTSCHLAND GMBH & CO. KG

Effective date: 20250304

PGFP Annual fee paid to national office [announced via postgrant information from national office to epo]

Ref country code: ES

Payment date: 20250117

Year of fee payment: 16

PGFP Annual fee paid to national office [announced via postgrant information from national office to epo]

Ref country code: CH

Payment date: 20250101

Year of fee payment: 16

REG Reference to a national code

Ref country code: CH

Ref legal event code: U11

Free format text: ST27 STATUS EVENT CODE: U-0-0-U10-U11 (AS PROVIDED BY THE NATIONAL OFFICE)

Effective date: 20260101

PGFP Annual fee paid to national office [announced via postgrant information from national office to epo]

Ref country code: GB

Payment date: 20251218

Year of fee payment: 17

PGFP Annual fee paid to national office [announced via postgrant information from national office to epo]

Ref country code: FR

Payment date: 20251218

Year of fee payment: 17

PGFP Annual fee paid to national office [announced via postgrant information from national office to epo]

Ref country code: SE

Payment date: 20251217

Year of fee payment: 17