EP2197656B1 - Verfahren zur herstellung eines tiefgezogenen folienteils aus thermoplastischem kunststoff - Google Patents
Verfahren zur herstellung eines tiefgezogenen folienteils aus thermoplastischem kunststoff Download PDFInfo
- Publication number
- EP2197656B1 EP2197656B1 EP08802639A EP08802639A EP2197656B1 EP 2197656 B1 EP2197656 B1 EP 2197656B1 EP 08802639 A EP08802639 A EP 08802639A EP 08802639 A EP08802639 A EP 08802639A EP 2197656 B1 EP2197656 B1 EP 2197656B1
- Authority
- EP
- European Patent Office
- Prior art keywords
- film
- piece
- temperature
- heating
- heated
- Prior art date
- Legal status (The legal status is an assumption and is not a legal conclusion. Google has not performed a legal analysis and makes no representation as to the accuracy of the status listed.)
- Active
Links
Images
Classifications
-
- B—PERFORMING OPERATIONS; TRANSPORTING
- B29—WORKING OF PLASTICS; WORKING OF SUBSTANCES IN A PLASTIC STATE IN GENERAL
- B29C—SHAPING OR JOINING OF PLASTICS; SHAPING OF MATERIAL IN A PLASTIC STATE, NOT OTHERWISE PROVIDED FOR; AFTER-TREATMENT OF THE SHAPED PRODUCTS, e.g. REPAIRING
- B29C51/00—Shaping by thermoforming, i.e. shaping sheets or sheet like preforms after heating, e.g. shaping sheets in matched moulds or by deep-drawing; Apparatus therefor
- B29C51/26—Component parts, details or accessories; Auxiliary operations
- B29C51/42—Heating or cooling
- B29C51/421—Heating or cooling of preforms, specially adapted for thermoforming
-
- B—PERFORMING OPERATIONS; TRANSPORTING
- B29—WORKING OF PLASTICS; WORKING OF SUBSTANCES IN A PLASTIC STATE IN GENERAL
- B29C—SHAPING OR JOINING OF PLASTICS; SHAPING OF MATERIAL IN A PLASTIC STATE, NOT OTHERWISE PROVIDED FOR; AFTER-TREATMENT OF THE SHAPED PRODUCTS, e.g. REPAIRING
- B29C48/00—Extrusion moulding, i.e. expressing the moulding material through a die or nozzle which imparts the desired form; Apparatus therefor
- B29C48/03—Extrusion moulding, i.e. expressing the moulding material through a die or nozzle which imparts the desired form; Apparatus therefor characterised by the shape of the extruded material at extrusion
- B29C48/07—Flat, e.g. panels
- B29C48/08—Flat, e.g. panels flexible, e.g. films
-
- B—PERFORMING OPERATIONS; TRANSPORTING
- B29—WORKING OF PLASTICS; WORKING OF SUBSTANCES IN A PLASTIC STATE IN GENERAL
- B29C—SHAPING OR JOINING OF PLASTICS; SHAPING OF MATERIAL IN A PLASTIC STATE, NOT OTHERWISE PROVIDED FOR; AFTER-TREATMENT OF THE SHAPED PRODUCTS, e.g. REPAIRING
- B29C51/00—Shaping by thermoforming, i.e. shaping sheets or sheet like preforms after heating, e.g. shaping sheets in matched moulds or by deep-drawing; Apparatus therefor
- B29C51/02—Combined thermoforming and manufacture of the preform
-
- B—PERFORMING OPERATIONS; TRANSPORTING
- B29—WORKING OF PLASTICS; WORKING OF SUBSTANCES IN A PLASTIC STATE IN GENERAL
- B29C—SHAPING OR JOINING OF PLASTICS; SHAPING OF MATERIAL IN A PLASTIC STATE, NOT OTHERWISE PROVIDED FOR; AFTER-TREATMENT OF THE SHAPED PRODUCTS, e.g. REPAIRING
- B29C51/00—Shaping by thermoforming, i.e. shaping sheets or sheet like preforms after heating, e.g. shaping sheets in matched moulds or by deep-drawing; Apparatus therefor
- B29C51/10—Forming by pressure difference, e.g. vacuum
-
- B—PERFORMING OPERATIONS; TRANSPORTING
- B29—WORKING OF PLASTICS; WORKING OF SUBSTANCES IN A PLASTIC STATE IN GENERAL
- B29C—SHAPING OR JOINING OF PLASTICS; SHAPING OF MATERIAL IN A PLASTIC STATE, NOT OTHERWISE PROVIDED FOR; AFTER-TREATMENT OF THE SHAPED PRODUCTS, e.g. REPAIRING
- B29C51/00—Shaping by thermoforming, i.e. shaping sheets or sheet like preforms after heating, e.g. shaping sheets in matched moulds or by deep-drawing; Apparatus therefor
- B29C51/26—Component parts, details or accessories; Auxiliary operations
- B29C51/42—Heating or cooling
- B29C51/421—Heating or cooling of preforms, specially adapted for thermoforming
- B29C51/422—Heating or cooling of preforms, specially adapted for thermoforming to produce a temperature differential
-
- B—PERFORMING OPERATIONS; TRANSPORTING
- B29—WORKING OF PLASTICS; WORKING OF SUBSTANCES IN A PLASTIC STATE IN GENERAL
- B29C—SHAPING OR JOINING OF PLASTICS; SHAPING OF MATERIAL IN A PLASTIC STATE, NOT OTHERWISE PROVIDED FOR; AFTER-TREATMENT OF THE SHAPED PRODUCTS, e.g. REPAIRING
- B29C51/00—Shaping by thermoforming, i.e. shaping sheets or sheet like preforms after heating, e.g. shaping sheets in matched moulds or by deep-drawing; Apparatus therefor
- B29C51/26—Component parts, details or accessories; Auxiliary operations
- B29C51/46—Measuring, controlling or regulating
-
- B—PERFORMING OPERATIONS; TRANSPORTING
- B29—WORKING OF PLASTICS; WORKING OF SUBSTANCES IN A PLASTIC STATE IN GENERAL
- B29C—SHAPING OR JOINING OF PLASTICS; SHAPING OF MATERIAL IN A PLASTIC STATE, NOT OTHERWISE PROVIDED FOR; AFTER-TREATMENT OF THE SHAPED PRODUCTS, e.g. REPAIRING
- B29C35/00—Heating, cooling or curing, e.g. crosslinking or vulcanising; Apparatus therefor
- B29C35/02—Heating or curing, e.g. crosslinking or vulcanizing during moulding, e.g. in a mould
- B29C35/08—Heating or curing, e.g. crosslinking or vulcanizing during moulding, e.g. in a mould by wave energy or particle radiation
- B29C35/0805—Heating or curing, e.g. crosslinking or vulcanizing during moulding, e.g. in a mould by wave energy or particle radiation using electromagnetic radiation
- B29C2035/0822—Heating or curing, e.g. crosslinking or vulcanizing during moulding, e.g. in a mould by wave energy or particle radiation using electromagnetic radiation using IR radiation
-
- B—PERFORMING OPERATIONS; TRANSPORTING
- B29—WORKING OF PLASTICS; WORKING OF SUBSTANCES IN A PLASTIC STATE IN GENERAL
- B29C—SHAPING OR JOINING OF PLASTICS; SHAPING OF MATERIAL IN A PLASTIC STATE, NOT OTHERWISE PROVIDED FOR; AFTER-TREATMENT OF THE SHAPED PRODUCTS, e.g. REPAIRING
- B29C2791/00—Shaping characteristics in general
- B29C2791/004—Shaping under special conditions
- B29C2791/007—Using fluid under pressure
-
- B—PERFORMING OPERATIONS; TRANSPORTING
- B29—WORKING OF PLASTICS; WORKING OF SUBSTANCES IN A PLASTIC STATE IN GENERAL
- B29C—SHAPING OR JOINING OF PLASTICS; SHAPING OF MATERIAL IN A PLASTIC STATE, NOT OTHERWISE PROVIDED FOR; AFTER-TREATMENT OF THE SHAPED PRODUCTS, e.g. REPAIRING
- B29C2795/00—Printing on articles made from plastics or substances in a plastic state
- B29C2795/002—Printing on articles made from plastics or substances in a plastic state before shaping
-
- B—PERFORMING OPERATIONS; TRANSPORTING
- B29—WORKING OF PLASTICS; WORKING OF SUBSTANCES IN A PLASTIC STATE IN GENERAL
- B29C—SHAPING OR JOINING OF PLASTICS; SHAPING OF MATERIAL IN A PLASTIC STATE, NOT OTHERWISE PROVIDED FOR; AFTER-TREATMENT OF THE SHAPED PRODUCTS, e.g. REPAIRING
- B29C48/00—Extrusion moulding, i.e. expressing the moulding material through a die or nozzle which imparts the desired form; Apparatus therefor
- B29C48/16—Articles comprising two or more components, e.g. co-extruded layers
- B29C48/17—Articles comprising two or more components, e.g. co-extruded layers the components having different colours
-
- B—PERFORMING OPERATIONS; TRANSPORTING
- B29—WORKING OF PLASTICS; WORKING OF SUBSTANCES IN A PLASTIC STATE IN GENERAL
- B29C—SHAPING OR JOINING OF PLASTICS; SHAPING OF MATERIAL IN A PLASTIC STATE, NOT OTHERWISE PROVIDED FOR; AFTER-TREATMENT OF THE SHAPED PRODUCTS, e.g. REPAIRING
- B29C48/00—Extrusion moulding, i.e. expressing the moulding material through a die or nozzle which imparts the desired form; Apparatus therefor
- B29C48/16—Articles comprising two or more components, e.g. co-extruded layers
- B29C48/18—Articles comprising two or more components, e.g. co-extruded layers the components being layers
- B29C48/21—Articles comprising two or more components, e.g. co-extruded layers the components being layers the layers being joined at their surfaces
-
- B—PERFORMING OPERATIONS; TRANSPORTING
- B29—WORKING OF PLASTICS; WORKING OF SUBSTANCES IN A PLASTIC STATE IN GENERAL
- B29C—SHAPING OR JOINING OF PLASTICS; SHAPING OF MATERIAL IN A PLASTIC STATE, NOT OTHERWISE PROVIDED FOR; AFTER-TREATMENT OF THE SHAPED PRODUCTS, e.g. REPAIRING
- B29C51/00—Shaping by thermoforming, i.e. shaping sheets or sheet like preforms after heating, e.g. shaping sheets in matched moulds or by deep-drawing; Apparatus therefor
- B29C51/002—Shaping by thermoforming, i.e. shaping sheets or sheet like preforms after heating, e.g. shaping sheets in matched moulds or by deep-drawing; Apparatus therefor characterised by the choice of material
-
- B—PERFORMING OPERATIONS; TRANSPORTING
- B29—WORKING OF PLASTICS; WORKING OF SUBSTANCES IN A PLASTIC STATE IN GENERAL
- B29C—SHAPING OR JOINING OF PLASTICS; SHAPING OF MATERIAL IN A PLASTIC STATE, NOT OTHERWISE PROVIDED FOR; AFTER-TREATMENT OF THE SHAPED PRODUCTS, e.g. REPAIRING
- B29C51/00—Shaping by thermoforming, i.e. shaping sheets or sheet like preforms after heating, e.g. shaping sheets in matched moulds or by deep-drawing; Apparatus therefor
- B29C51/14—Shaping by thermoforming, i.e. shaping sheets or sheet like preforms after heating, e.g. shaping sheets in matched moulds or by deep-drawing; Apparatus therefor using multilayered preforms or sheets
-
- B—PERFORMING OPERATIONS; TRANSPORTING
- B29—WORKING OF PLASTICS; WORKING OF SUBSTANCES IN A PLASTIC STATE IN GENERAL
- B29C—SHAPING OR JOINING OF PLASTICS; SHAPING OF MATERIAL IN A PLASTIC STATE, NOT OTHERWISE PROVIDED FOR; AFTER-TREATMENT OF THE SHAPED PRODUCTS, e.g. REPAIRING
- B29C51/00—Shaping by thermoforming, i.e. shaping sheets or sheet like preforms after heating, e.g. shaping sheets in matched moulds or by deep-drawing; Apparatus therefor
- B29C51/16—Lining or labelling
-
- B—PERFORMING OPERATIONS; TRANSPORTING
- B29—WORKING OF PLASTICS; WORKING OF SUBSTANCES IN A PLASTIC STATE IN GENERAL
- B29C—SHAPING OR JOINING OF PLASTICS; SHAPING OF MATERIAL IN A PLASTIC STATE, NOT OTHERWISE PROVIDED FOR; AFTER-TREATMENT OF THE SHAPED PRODUCTS, e.g. REPAIRING
- B29C51/00—Shaping by thermoforming, i.e. shaping sheets or sheet like preforms after heating, e.g. shaping sheets in matched moulds or by deep-drawing; Apparatus therefor
- B29C51/26—Component parts, details or accessories; Auxiliary operations
- B29C51/42—Heating or cooling
-
- B—PERFORMING OPERATIONS; TRANSPORTING
- B29—WORKING OF PLASTICS; WORKING OF SUBSTANCES IN A PLASTIC STATE IN GENERAL
- B29K—INDEXING SCHEME ASSOCIATED WITH SUBCLASSES B29B, B29C OR B29D, RELATING TO MOULDING MATERIALS OR TO MATERIALS FOR MOULDS, REINFORCEMENTS, FILLERS OR PREFORMED PARTS, e.g. INSERTS
- B29K2033/00—Use of polymers of unsaturated acids or derivatives thereof as moulding material
- B29K2033/04—Polymers of esters
- B29K2033/12—Polymers of methacrylic acid esters, e.g. PMMA, i.e. polymethylmethacrylate
-
- B—PERFORMING OPERATIONS; TRANSPORTING
- B29—WORKING OF PLASTICS; WORKING OF SUBSTANCES IN A PLASTIC STATE IN GENERAL
- B29K—INDEXING SCHEME ASSOCIATED WITH SUBCLASSES B29B, B29C OR B29D, RELATING TO MOULDING MATERIALS OR TO MATERIALS FOR MOULDS, REINFORCEMENTS, FILLERS OR PREFORMED PARTS, e.g. INSERTS
- B29K2069/00—Use of PC, i.e. polycarbonates or derivatives thereof, as moulding material
-
- B—PERFORMING OPERATIONS; TRANSPORTING
- B29—WORKING OF PLASTICS; WORKING OF SUBSTANCES IN A PLASTIC STATE IN GENERAL
- B29K—INDEXING SCHEME ASSOCIATED WITH SUBCLASSES B29B, B29C OR B29D, RELATING TO MOULDING MATERIALS OR TO MATERIALS FOR MOULDS, REINFORCEMENTS, FILLERS OR PREFORMED PARTS, e.g. INSERTS
- B29K2075/00—Use of PU, i.e. polyureas or polyurethanes or derivatives thereof, as moulding material
-
- B—PERFORMING OPERATIONS; TRANSPORTING
- B29—WORKING OF PLASTICS; WORKING OF SUBSTANCES IN A PLASTIC STATE IN GENERAL
- B29K—INDEXING SCHEME ASSOCIATED WITH SUBCLASSES B29B, B29C OR B29D, RELATING TO MOULDING MATERIALS OR TO MATERIALS FOR MOULDS, REINFORCEMENTS, FILLERS OR PREFORMED PARTS, e.g. INSERTS
- B29K2705/00—Use of metals, their alloys or their compounds, for preformed parts, e.g. for inserts
-
- B—PERFORMING OPERATIONS; TRANSPORTING
- B29—WORKING OF PLASTICS; WORKING OF SUBSTANCES IN A PLASTIC STATE IN GENERAL
- B29L—INDEXING SCHEME ASSOCIATED WITH SUBCLASS B29C, RELATING TO PARTICULAR ARTICLES
- B29L2031/00—Other particular articles
- B29L2031/30—Vehicles, e.g. ships or aircraft, or body parts thereof
- B29L2031/3005—Body finishings
- B29L2031/3008—Instrument panels
Definitions
- the present invention relates to a process for producing an at least partially printed, metallized and / or otherwise coated, thermoformed film part of at least one thermoplastic material, preferably polycarbonate (PC) or polymethyl methacrylate or poly (meth) acrylate (PMMA).
- PC polycarbonate
- PMMA polymethyl methacrylate
- PMMA poly (meth) acrylate
- the deep-drawn sheet-metal parts or deep-drawn parts according to the invention typically have a graphic, functional and / or decorative design with differently colored sections and optionally additionally with one or more transparent sections (s) following a given layout
- Deep-drawn parts can be used, for example, as light covers, as illuminated signs, as housing parts, as illuminated push-button or switch keys, as display devices, as scales, fittings and / or instrument display panels, as well as dials and signal displays of various kinds.
- thermoforming The basic process for forming a plastic sheet or sheet into a relatively simple molded article is thermoforming or "thermoforming".
- the planar starting material is heated to such a high molding temperature that it is soft and plastic, and in this state under the influence of relatively low forming forces, the contour of a mold can be formed.
- These molding forces can be applied for example by applying vacuum (vacuum method), by applying a fluid pressure medium under a pressure medium pressure up to about 4 to 6 bar (compressed air method) or by a combination of both measures.
- vacuum vacuum method
- a fluid pressure medium under a pressure medium pressure up to about 4 to 6 bar
- compressed air method compressed air method
- a molding temperature of 160 to 170 ° C is specified by the manufacturer.
- the film For thermoforming of PC films, here Makrofol® (from BAYER AG), the film must first be tempered in the heating furnace for at least 8 hours at at least 80 ° C. in order to remove solvent residues. Subsequently, the tempered film is heated to a molding temperature above 220 ° C, for example, held for 15 to 20 sec between an upper heater with a radiator surface temperature of 600 ° C and a sub-heater with a radiator surface temperature of 400 ° C. Without prior annealing, the solvent residues would cause blistering upon heating to the molding temperature and subsequent deep drawing. Because when thermoforming only with relatively small Forming forces is worked, the material for forming must be very soft and plastic. Typically, such relatively simple shaped moldings as housings and containers are obtained. A precise reproduction of a graphic design and / or a true and accurate impression sharp-edged structures of the flat starting film depending on the finished molded body is not possible.
- a similar process of this kind is from the document EP 0 371 425 B1 known;
- This method is also referred to in the art as "high-pressure deformation or high-pressure forming” of plastic films or as “high-pressure printing” or as “cold forming of films after high pressure molding” or as HPF process (high pressure molding) ,
- a transparent, a layer thickness of 125 microns having PC film (Makrofol®, purchased from BAYER AG) with a softening temperature of about 150 ° C to a working temperature in the range of 90 to 120 ° C heated and then with Help of compressed air of 150 bar reshaped.
- This working temperature refers to the entire film.
- a heating station described in detail there has three adjacent to each other in a common plane heating fields, which are arranged at a distance above the movement path of the pallet strand.
- Each heating field has a number of infrared surface radiators, some of which are independently controllable.
- the marginal infrared surface radiators are independently controllable.
- a pilot radiator is equipped with sensors for detecting the ambient temperature and its surface temperature. The surface temperature of the pilot radiator can be kept constant within narrow limits. The pilot radiator provides signals for controlling the independently controllable infrared panel radiators in order to keep their heating surface also at a predetermined temperature.
- the film piece to be heated remains at a distance from these heating fields for a given period of time and is heated to the intended working temperature.
- marginal infrared surface radiator can be ensured that the edge portions of the film piece assume the same temperature as the central portion, so that the entire film piece has a uniform, certain, predetermined operating temperature.
- a special feature of this known high-pressure deformation of plastic films is that the deformation at a working temperature below the plastic softening temperature the respective film material is made.
- the polycarbonate material based on bisphenol A (Makrolon® from BAYER AG) used there has a softening temperature of about 150 ° C .; and the high pressure forming. is carried out at a working temperature of the entire heated film of about 120 ° C.
- thermoformed film parts often still have some restoring forces.
- the thus produced, deep-drawn film parts are therefore often back-injected with further transparent plastic to provide dimensionally stable products.
- insert molding the printed and deep-drawn film part is placed in an injection mold so that the printing is directed to the nozzle side, and back-injected, for example, with a 0.5 to 3.0 mm thick layer of a thermoplastic material.
- a hot runner tool with a needle gate is well suited.
- thermoplastic materials are suitable such as PC, mixtures of PC with acrylonitrile-butadiene-styrene copolymers (ABS) and PMMA materials.
- the molten material used for injection molding meets the printed film at a temperature of about 220 ° C to 300 ° C.
- the film can be provided in the region of the injection channels with a protective element; see. about this DE 103 12 610 A1 ,
- the document EP 1 023 150 B1 relates, inter alia, to a process for producing a shaped article.
- a flat, optionally colored foil which may be made of PC for example, is placed over a mold cavity.
- molten plastic is arranged, for example, also PC.
- a moderate gas pressure can be built up in the mold cavity, which supports the weight of the film and plastic melt to avoid sagging of the film under the weight of the molten plastic.
- the combination of foil and plastic melt is forced into the mold cavity, and the foil is brought into abutment with the mold cavity wall.
- an optionally thin-walled shaped body is obtained, whose outer layer consists of the optionally colored film.
- the methods mentioned such as insert molding, compression molding and other methods of this type, provide multilayer, possibly thin-walled moldings in which the decorative film forms an outer layer, but the decoration itself is located within the molding compound and thus protected against abrasion.
- the contact with the molten plastic mass may affect the decor on the decorative layer.
- Compression molding typically can not achieve high imaging accuracy on the order of ⁇ 0.1 mm because the entire film is already soft and plastic during forming.
- the procedure requiring at least two work steps is complicated.
- the relevant industry increasingly requires deep-drawn, single-layered and dimensionally stable film parts of this type, so as to avoid the further step of the back injection with plastic.
- the object of the present invention is a method of the generic type (see. EP 0 371 425 B1 ), with the single-layer, deep-drawn and dimensionally stable film parts of at least one thermoplastic material, in particularly preferred embodiments of polycarbonate (PC) or polymethyl methacrylate or 'poly (meth) acrylate (PMMA) are available, which are virtually free of internal stresses and Restoring forces are and have after the high-pressure forming an unchanged, extremely accurate positioning of the original graphic, functional and / or decorative design in the order of preferably ⁇ 0.1 mm.
- PC polycarbonate
- PMMA polymethyl methacrylate
- the Vicat softening temperature B / 50 of a thermoplastic is the Vicat softening temperature B / 50 according to ISO 306 (50 N, 50 ° C / h).
- individual pieces of film pieces preferably individual segments of the film portion, can also be heated to an elevated temperature which exceeds this film surface temperature by at least 3 ° C and not more than 10 ° C, and formed with this film temperature under the other conditions of the inventive method become.
- the method according to the invention has the advantage over the prior art methods that deep-drawn sheet parts can be obtained with this method, in which the restoring forces and internal stresses are minimized or which are virtually free of internal stresses and restoring forces.
- a high imaging accuracy of the order of preferably ⁇ 0.1 mm can be achieved in the deep-drawn film parts produced according to the invention. This is surprisingly achieved by the combination of the individual process steps according to the invention, without the film being flowable plastically and the imaging accuracy during the subsequent deformation process being impaired by heating to a film surface temperature in the stated range above the Vicat softening temperature B / 50.
- either the entire film section or the predominant part of the film section is heated to the corresponding film surface temperature.
- Rapid introduction of the film piece into the deformation zone in the context of the present invention is to be understood as meaning that the film piece, after heating to the respective film surface temperature, within a period of time of less than 10 seconds, preferably less than 5 seconds, more preferably less than 2 seconds, most preferably less 1 sec is transferred to the deformation zone.
- film pieces are used in the thickness range of 100 microns to 2000 microns, preferably in the thickness range of 125 to 750 microns, more preferably in the thickness range of 125 to 600 microns and most preferably in the thickness range of 200 to 500 microns in the inventive method.
- the thermoplastic may preferably be at least one thermoplastic selected from polymers of ethylenically unsaturated monomers and / or polycondensates of bifunctional reactive compounds and / or polyaddition products of bifunctional reactive compounds, preferably at least one thermoplastic selected from polymers of ethylenically unsaturated monomers and / or polycondensates of bifunctional reactive compounds.
- a transparent thermoplastic For certain applications, it may be advantageous and therefore preferred to use a transparent thermoplastic.
- thermoplastics are polycarbonates or copolycarbonates based on diphenols, poly- or copolyacrylates and polymethacrylates such as by way of example and preferably polymethylmethacrylate or poly (meth) acrylate (PMMA), poly- or copolymers with styrene such as by way of example and preferably polystyrene or Polystyrene acrylonitrile (SAN), thermoplastic polyurethanes, and polyolefins, such as by way of example and preferably polypropylene or polyolefins based on cyclic olefins (eg TOPAS ® , Hoechst), poly- or copolycondensates of terephthalic acid, such as by way of example and preferably poly- or copolyethylene terephthalate (PET or CoPET), glycol-modified PET (PETG), glycol-modified poly- or copolycyclohexanedimethylene terephthalate (PC
- thermoplastics are polycarbonates or copolycarbonates, poly- or co-polyacrylates, poly- or co-polyethacrylates or blends containing at least one of these thermoplastics.
- Particular preference is given to polycarbonates or copolycarbonates, in particular having average molecular weights M w of from 500 to 100,000, preferably from 10,000 to 80,000, more preferably from 15,000 to 40,000, or blends thereof with at least one poly- or copolycondensate of terephthalic acid having average molecular weights M w from 10,000 to 200,000, preferably from 26,000 to 120,000, or poly- or copolyacrylates and poly- or copolymers with average molecular weights M w in the range of 30,000 to 300,000, more preferably in the range of 80,000 to 250,000.
- Suitable poly- or copolycondensates of terephthalic acid in preferred embodiments of the invention are polyalkylene terephthalates.
- Suitable polyalkylene terephthalates are, for example, reaction products of aromatic dicarboxylic acids or their reactive derivatives (for example dimethyl esters or anhydrides) and aliphatic, cycloaliphatic or araliphatic diols and mixtures of these reaction products.
- Preferred polyalkylene terephthalates can be prepared from terephthalic acid (or its reactive derivatives) and aliphatic or cycloaliphatic diols having 2 to 10 carbon atoms by known methods ( Plastics Handbook, Vol. VIII, p. 695 ff, Karl-Hanser-Verlag, Kunststoff 1973 ).
- Preferred polyalkylene terephthalates contain at least 80 mol%, preferably 90 mol%, of terephthalic acid residues, based on the dicarboxylic acid component, and at least 80 mol%, preferably at least 90 mol%, of ethylene glycol and / or 1,4-butanediol and / or 1, 4-cyclohexanedimethanol radicals, based on the diol component.
- the preferred polyalkylene terephthalates may contain up to 20 mol% of residues of other aromatic dicarboxylic acids having 8 to 14 carbon atoms or aliphatic dicarboxylic acids having 4 to 12 carbon atoms, for example residues of phthalic acid, isophthalic acid, naphthalene-2,6-dicarboxylic acid , 4,4'-diphenyldicarboxylic acid, succinic, adipic, sebacic, azelaic, cyclohexanediacetic.
- the preferred polyalkylene terephthalates may contain up to 80 mol% of other aliphatic diols having 3 to 12 C atoms or cycloaliphatic diols having 6 to 21 C atoms, eg. B.
- the polyalkylene can be prepared by incorporation of relatively small amounts of trihydric or trihydric alcohols or 3- or 4-basic carboxylic acids, as z. B. in the DE-OS 19 00 270 and the U.S. Patent 3,692,744 are described to be branched.
- preferred branching agents are trimesic acid, trimellitic acid, trimethylolethane and -propane and pentaerythritol.
- not more than 1 mol% of the branching agent, based on the acid component, is used.
- polyalkylene terephthalates which have been prepared solely from terephthalic acid and its reactive derivatives (for example their dialkyl esters) and ethylene glycol and / or butane-1,4-diol and / or 1,4-cyclohexanedimethanol radicals, and mixtures of these polyalkylene terephthalates.
- Preferred polyalkylene terephthalates are also copolyesters which are prepared from at least two of the abovementioned acid components and / or from at least two of the abovementioned alcohol components; particularly preferred copolyesters are poly (ethylene glycol / butanediol-1,4) terephthalates.
- the polyalkylene terephthalates preferably used as a component preferably have an intrinsic viscosity of about 0.4 to 1.5 dl / g, preferably 0.5 to 1.3 dl / g, each measured in phenol / o-dichlorobenzene (1: 1 wt . Parts) at 25 ° C.
- the blend of at least one polycarbonate or copolycarbonate with at least one poly- or copolycondensate of terephthalic acid is a blend of at least one polycarbonate or copolycarbonate with poly- or copolybutylene terephthalate or glycol-modified poly- or copolycyclohexanedimethylene terephthalate.
- Such a blend of polycarbonate or copolycarbonate with poly- or copolybutylene terephthalate or glycol-modified poly- or copolycyclohexanedimethylene terephthalate may preferably be one having from 1 to 90% by weight of polycarbonate or copolycarbonate and from 99 to 10% by weight of poly- or Copolybutylene terephthalate or glycol-modified poly- or Copolycyclohexandimethylenterephthalat, preferably with 1 to 90 wt .-% polycarbonate and 99 to 10 wt .-% polybutylene terephthalate or glycol-modified polycyclohexanedimethylene terephthalate, wherein the proportions add up to 100 wt .-%.
- Such a blend of polycarbonate or copolycarbonate with poly- or copolybutylene terephthalate or glycol-modified poly- or copolycyclohexanedimethylene terephthalate is particularly preferably one containing 20 to 85% by weight of polycarbonate or copolycarbonate and 80 to 15% by weight of polycarbonate or copolycarbonate.
- copolybutylene terephthalate or glycol-modified poly- or Copolycyclohexandimethylenterephthalat preferably with 20 to 85 wt .-% polycarbonate and 80 to 15 wt .-% of polybutylene terephthalate or glycol-modified polycyclohexanedimethylene terephthalate, wherein the proportions add up to 100 wt .-%.
- such a blend of polycarbonate or copolycarbonate with poly- or copolybutylene terephthalate or glycol-modified poly- or copolycyclohexanedimethylene terephthalate to be such with 35 to 80% by weight of polycarbonate or copolycarbonate and 65 to 20% by weight of poly - or copolybutylene terephthalate or glycol-modified poly- or Copolycyclohexandimethylenterephthalat, preferably with 35 to 80 wt .-% polycarbonate and 65 to 20 wt .-% polybutylene terephthalate or glycol-modified polycyclohexanedimethylene terephthalate, wherein the proportions add up to 100 wt .-%.
- these may be blends of polycarbonate and glycol-modified polycyclohexanedimethylene terephthalate in the above-mentioned compositions.
- Particularly suitable polycarbonates or copolycarbonates in preferred embodiments are aromatic polycarbonates or copolycarbonates.
- the polycarbonates or copolycarbonates may be linear or branched in a known manner.
- polycarbonates can be carried out in a known manner from diphenols, carbonic acid derivatives, optionally chain terminators and optionally branching agents. Details of the production of polycarbonates have been laid down in many patents for about 40 years. By way of example, let's look at this Quick, "Chemistry and Physics of Polycarbonates", Polymer Reviews, Volume 9, Interscience Publishers, New York, London, Sydney 1964 , on D. Freitag, U. Grigo, PR Müller, H. Nouvertne ', BAYER AG, "Polycarbonates” in Encyclopedia of Polymer Science and Engineering, Volume 11, Second Edition, 1988, pages 648-718 and finally on Dres. U. Grigo, K. Kirchner and PR Müller “Polycarbonates” in Becker / Braun, Plastics Handbook, Volume 3/1, polycarbonates, polyacetals, polyesters, cellulose esters, Carl Hanser Verlag Kunststoff, Vienna 1992, pages 117-299 directed.
- Suitable diphenols may be, for example, dihydroxyaryl compounds of the general formula (I) HO-Z-OH (I) wherein Z is an aromatic radical having 6 to 34 carbon atoms, which may contain one or more optionally substituted aromatic nuclei and aliphatic or cycloaliphatic radicals or alkylaryl or heteroatoms as bridge members.
- dihydroxyaryl compounds examples include: dihydroxybenzenes, dihydroxydiphenyls, bis (hydroxyphenyl) alkanes, bis (hydroxyphenyl) -cycloalkanes, bis (hydroxyphenyl) -aryls, bis (hydroxyphenyl) ethers, bis (hydroxyphenyl) -ketones, Bis (hydroxyphenyl) sulfides, bis (hydroxyphenyl) sulfones, bis (hydroxyphenyl) sulfoxides, 1, 1'-bis (hydroxyphenyl) diisopropylbenzenes, and their kemalkylated and ring-halogenated compounds.
- Preferred dihydroxyaryl compounds are, for example, resorcinol, 4,4'-dihydroxydiphenyl, bis (4-hydroxyphenyl) methane, bis (3,5-dimethyl-4-hydroxyphenyl) methane, bis (4-hydroxyphenyl) diphenylmethane , 1, 1-bis (4-hydroxyphenyl) -1-phenyl-ethane, 1, 1-bis (4-hydroxyphenyl) -1- (1-naphthyl) -ethane, 1,1-bis (4-hydroxyphenyl) hydroxyphenyl) -1- (2-naphthyl) ethane, 2,2-bis- (4-hydroxyphenyl) -propane, 2,2-bis (3-methyl-4-hydroxyphenyl) -propane, 2,2-bis - (3,5-dimethyl-4-hydroxyphenyl) -propane, 2,2-bis (4-hydroxyphenyl) -1-phenyl-propane, 2,2-bis (4-hydroxypheny
- Preferred alkyl radical for the radicals R 3 and R 4 in formula (Ia) is methyl.
- the X atoms in alpha position to the diphenyl substituted C atom (C-1) are preferably not dialkyl-substituted, while alkyl disubstitution in beta position to C-1 is preferred.
- a most preferred dihydroxydiphenylcycloalkane of formula (Ia) is 1,1-bis (4-hydroxyphenyl) -3,3,5-trimethylcyclohexane (formula (Ia-1) with R 1 and R 2 being H).
- Such polycarbonates can according to the EP-A 359 953 be prepared from Dihydroxydiphenylcycloalkanen of formula (Ia).
- dihydroxyaryl compounds are resorcinol, 4,4'-dihydroxydiphenyl, bis- (4-hydroxyphenyl) -diphenyl-methane, 1,1-bis- (4-hydroxyphenyl) -1-phenyl-ethane, bis- (4-hydroxyphenyl) -1- (1-naphthyl) ethane, bis- (4-hydroxyphenyl) -1- (2-naphthyl) -ethane, 2,2-bis (4-hydroxyphenyl) -propane, 2,2-bis (3 , 5-dimethyl-4-hydroxyphenyl) -propane, 1,1-bis (4-hydroxyphenyl) -cyclohexane, 1,1-bis (3,5-dimethyl-4-hydroxyphenyl) -cyclohexane, 1, 1 - Bis (4-hydroxyphenyl) -3,3,5-trimethylcyclohexane, 1,1'-bis (4-hydroxyphenyl) -3-d
- dihydroxyaryl compounds are 4,4'-dihydroxydiphenyl, 2,2-bis (4-hydroxyphenyl) propane and 1,1-bis (4-hydroxyphenyl) -3,3,5-trimethylcyclohexane.
- Both a dihydroxyaryl compound to form homopolycarbonates and various dihydroxyaryl compounds to form copolycarbonates can be used. It is possible to use both a dihydroxyaryl compound of the formula (I) or (Ia) to form homopolycarbonates and also a plurality of dihydroxyaryl compounds of the formula (I) and / or (Ia) to form copolycarbonates.
- the various dihydroxyaryl compounds can be linked to one another both statistically and in blocks.
- the molar ratio of dihydroxyaryl compounds of the formula (Ia) to the other dihydroxyaryl compounds of the formula (I) which may be used is preferably between 99 mol% (Ia) and 1 mol -% (I) and 2 mol% (Ia) to 98 mol% (I), preferably between 99 mol% (Ia) to 1 mol% (I) and 10 mol% (Ia) to 90 mol -% (I) and in particular between 99 mol% (Ia) to 1 mol% (I) and 30 mol% (Ia) to 70 mol% (I).
- An especially preferred copolycarbonate can be prepared by using 1,1-bis (4-hydroxyphenyl) -3,3,5-trimethylcyclohexane and 2,2-bis (4-hydroxyphenyl) propane dihydroxyaryl compounds of the formula (Ia) and (I) are prepared.
- Poly- or copolycarbonates prepared using Dihydroxyarylharm of formula (Ia) usually have a higher glass transition temperature Tg and a higher Vicat softening temperature B / 50 than polypolycarbonate based on 2,2-bis (4-hydroxyphenyl) propane as DihydroxyarylENS ,
- diaryl carbonates are diphenyl carbonate, methylphenyl phenyl carbonates and di (methylphenyl) carbonates, 4-ethylphenyl phenyl carbonate, di (4-ethylphenyl) carbonate, 4-n-propylphenyl phenyl carbonate, di (4 -n-propylphenyl) carbonate, 4-iso-propylphenyl-phenyl-carbonate, di (4-iso-propylphenyl) -carbonate, 4-n-butylphenyl-phenyl-carbonate, di (4-n-butylphenyl) - carbonate, 4-iso-butylphenyl phenyl carbonate, di (4-iso-butylphenyl) carbonate, 4-tert-butylphenyl phenyl carbonate, di (4-tert-butylphenyl) carbonate, 4-n-pentylphenyl phenyl carbonate, di- (4-(-
- diaryl compounds are diphenyl carbonate, 4-tert-butylphenyl phenyl carbonate, di (4-tert-butylphenyl) carbonate, biphenyl-4-yl phenyl carbonate, di (biphenyl-4-yl) carbonate, 4- (1-Methyl-1-phenylethyl) -phenyl-phenyl-carbonate, di- [4- (1-methyl-1-phenylethyl) -phenyl] -carbonate and di- (methyl-salicylate) -carbonate.
- Such MonohydroxyarylENSen are, for example, 1-, 2- or 3-methylphenol, 2,4-dimethylphenol 4-ethylphenol, 4-n-propylphenol, 4-iso-propylphenol, 4-n-butylphenol, 4-isoButylphenol, 4-tert-butylphenol , 4-n-pentylphenol, 4-n-hexylphenol, 4-iso-octylphenol, 4-n-nonylphenol, 3-pentadecylphenol, 4-cyclohexylphenol, 4- (1-methyl-1-phenylethyl) -phenol, 4-phenylphenol , 4-phenoxyphenol, 4- (1-naphthyl) -phenol, 4- (2-naphthyl) -phenol, 4-tritylphenol, methyl salicylate, ethyl salicylate, n-propyl salicylate, iso-propyl salicylate, n-butyl salicylate, iso-butyl salicylate
- Suitable branching agents may be compounds having three or more functional groups, preferably those having three or more hydroxyl groups.
- Suitable compounds having three or more phenolic hydroxyl groups are, for example, phloroglucinol, 4,6-dimethyl-2,4,6-tri- (4-hydroxyphenyl) -hepten-2, 4,6-dimethyl-2,4,6-tri- (4-hydroxyphenyl) -heptane, 1,3,5-tri (4-hydroxyphenyl) -benzene, 1,1,1-tri- (4-hydroxyphenyl) -ethane, tri- (4-hydroxyphenyl) -phenylmethane, 2,2-bis (4,4-bis (4-hydroxyphenyl) cyclohexyl] propane, 2,4-bis (4-hydroxyphenyl-isopropyl) -phenol and tetra (4-hydroxyphenyl) -methane.
- Suitable compounds having three and more functional groups are, for example, 2,4-dihydroxybenzoic acid, trimesic acid (trichloride), cyanuric trichloride and 3,3-bis (3-methyl-4-hydroxyphenyl) -2-oxo-2,3-dihydroindole.
- Preferred branching agents are 3,3-bis (3-methyl-4-hydroxyphenyl) -2-oxo-2,3-dihydroindole and 1,1,1-tri- (4-hydroxyphenyl) -ethane.
- Polymethyl (meth) acrylate PMMA
- impact-modified PMMA sz-PMMA
- blends of PMMA or of sz-PMMA can be used as the polymethyl (meth) acrylate. They are available under the brand Plexiglas from Röhm GmbH.
- Polymethyl (meth) acrylate is understood as meaning both polymers of methacrylic acid and its derivatives, for example their esters, and also polymers of acrylic acid and their derivatives, as well as mixtures of the above two components.
- polymethyl (meth) acrylate plastics having a methyl methacrylate monomer content of at least 80% by weight, preferably at least 90% by weight and optionally 0% by weight to 20% by weight, preferably 0% by weight to 10 wt .-% of further vinylic copolymerizable monomers such.
- Other monomers may be acrylic acid, methacrylic acid, maleic anhydride, hydroxy esters of acrylic acid or hydroxy esters of methacrylic acid.
- the thermoplastics may also contain fillers, optionally, preferably in an amount of up to 30 wt .-%.
- fillers are known to the person skilled in the art.
- inorganic fillers such as e.g. inorganic pigments are used.
- Suitable inorganic pigments include, for example, oxides such as silica, titania, zirconia, iron oxide, zinc oxide and chromium (III) oxide, sulfides such as zinc sulfides and cadmium sulfides, and salts such as barium sulfate, cadmium selenide, ultramarine and nickel chromium titanate.
- oxides such as silica, titania, zirconia, iron oxide, zinc oxide and chromium (III) oxide
- sulfides such as zinc sulfides and cadmium sulfides
- salts such as barium sulfate, cadmium selenide, ultramarine and nickel chromium titanate.
- carbonates such as calcium carbonate and barium carbonate, and carbon black.
- An especially preferred color pigment is barium sulfate.
- thermoplastics can also contain scattering pigments as fillers, which are well known to the skilled person and, for example, in WO-A 2007/045380 are described.
- These fillers may preferably be used in average particle sizes of 0.01 .mu.m to 50 .mu.m.
- the side of the film section of the coextrusion film made of the thermoplastic material with the Vicat softening temperature B / 50 (T vicat1) is advantageously heated to the specified film surface temperature.
- the temperature to which this side of the film section is heated is between T Vicat1 and T Vicat2 .
- the films used may also be multilayer laminate composite films, hereinafter also referred to as laminate films, in which at least two layers of at least two different thermoplastics are laminated with T Vicat1 and T Vicat2 become.
- the thermoplastic with T Vicat2 is a polycarbonate or copolycarbonate and the thermoplastic with T Vicat1 is a poly- or copolyacrylates or poly- or copolymers, such as polymethyl methacrylate or poly (meth) acrylate , or a blend of at least one polycarbonate or copolycarbonate with at least one poly- or copolycondensate of terephthalic acid.
- poly- or copolyacrylates or poly- or Copolymethacrylate such as polymethyl methacrylate or poly (meth) acrylate
- blends of at least one polycarbonate or copolycarbonate with at least one poly- or copolycondensate of terephthalic acid in question are particularly preferred.
- Particularly preferred blends for the thermoplastic with T Vicat2 are blends of polycarbonate or copolycarbonate with poly- or copolybutylene terephthalate in the above-mentioned compositions.
- the entire film section or of the predominant part of the film section is heated to a film surface temperature in said region.
- the other, opposite side of the entire film section or the majority of the film section can at remain at a low film surface temperature, for example, remain at up to about 10 ° C lower film surface temperature.
- Such a heating is preferably carried out in the method according to the invention, so that both sides of the entire film section or the predominant part of the film section have a film surface temperature in the range of 10 to 65 ° C above the Vicat softening temperature B / 50.
- the core region of the film piece will still have a lower core region temperature even when the film surface temperature reaches said region than that film surface temperature;
- this core region temperature may be up to about 30 ° C, preferably up to 20 ° C lower than this film surface temperature.
- the core region preferably comprises about 60 to 80% of the film cross section, or in the case of the three-layer coextrusion films, preferably the region of the middle layer.
- heating is only to a film surface temperature below the stated range, in the most preferred embodiments of the process according to the invention using polycarbonate at less than 180 ° C., restoring forces and stresses which impair the dimensional stability of a single-layer film part can still occur on the thermoformed film part. If, on the other hand, the entire film section is heated to a film surface temperature well above the stated range, in the most preferred embodiments of the process according to the invention using polycarbonate at above 200 ° C., local flow processes may already occur which jeopardize the imaging accuracy.
- the entire film portion or the majority of the film portion is heated to a film surface temperature in the range of 185 ° C to 195 ° C using polycarbonate.
- a film surface temperature is particularly preferred here.
- a film surface temperature of about 190 ° C is sufficient for the typical commercially available PC films, preferably those based on bisphenol A, and gives good results.
- PMMA polymethyl methacrylate or poly (meth) acrylate
- a film surface temperature in the range of 20 to 65 ° C, preferably 25 to 50 ° C above the Vicat softening temperature B. / 50, most preferably provided from 130 to 150 ° C. If the PMMA film piece is heated in this case only to a film surface temperature of less than 130 ° C., restoring forces and stresses which impair the dimensional stability of a single-layer film part made of PMMA can still occur on the thermoformed film part.
- the entire film section is heated to a film surface temperature well above 150 ° C., local flow processes may already occur which jeopardize the imaging accuracy.
- the film portion of PMMA material is heated to a film surface temperature in the range of 135 ° C to 145 ° C.
- Particularly preferred here is a film surface temperature of about 140 ° C.
- a film surface temperature of about 140 ° C is sufficient for the typical conventional PMMA films and gives good results.
- the inventor named in the present application has carried out extensive investigations and experiments in order to solve the above-mentioned problem. It was found that the restoring forces occurring on the film parts thermoformed according to the known HPF process are based on internal stresses which are produced during production of the film by extrusion and during subsequent calendering, and those at the later, below the Softening temperature occurring high pressure forming were not sufficiently degraded and compensated.
- the inventor gradually heated a plain, uncoated, 300 ⁇ m thick PC film (Makrofol® from Makrolon® from BAYER MATERIALSCIENCE AG) past the Vicat softening temperature B / 50 of 145 ° C. The film temperature was measured on the basis of the film surface temperature with the aid of a thermal imaging camera.
- the film is held at this film surface temperature of about 190 ° C for more than about 10 seconds, so The film begins to sag visibly under its own weight in the center not supported by the frame. Obviously, now the core area is heated to this temperature and begins to become plastic. If a film surface temperature of about 220 ° C is reached during rapid heating by means of radiant heaters, the film begins to sag visibly in the center not supported by the frame. Obviously, the flow transition area has been reached, and the tear strength has decreased so much that the structure and shape of the original film is no longer preserved. At temperatures in the flow transition region, the mechanical strength, for example determined on the shear modulus G of the film material decreases rapidly, and the maximum pressure deformation or the high pressure forming or HPF process is no longer possible due to the lack of sufficient strength of the film material.
- the known high pressure forming or HPF process can obviously be carried out at a substantially higher film temperature than previously assumed, namely at a film surface temperature significantly higher than the Vicat softening temperature B / 50 of the respective film material. It is expedient to keep the residence time of the film at the film surface temperature provided according to the invention as short as possible, ie the film piece after first reaching the inventively provided film surface temperature within a period of time less than 10 sec, preferably less than 5 sec, more preferably less than 2 sec to bring in the deformation zone and there immediately perform a sudden transformation.
- commercially available films of PMMA such as different types of Plexiglas® films and films of other PMMA variants, have a film surface temperature in the range from 20 to 65 ° C., preferably from 25 to 50 ° C above the Vicat softening temperature B / 50, most preferably heated from 130 ° C to 150 ° C, wherein individual pieces of film can also be heated to an elevated temperature, which this film surface temperature by at least 3 ° C and not more than Exceeds 10 ° C and reformed at this film temperature under the conditions of the HPF process.
- dimensionally stable foil deep-drawn parts are obtained which are free from any restoring forces.
- These products can be used in single-layer, non-reinforced form or in the form of back-injected moldings as display and instrument covers.
- Suitable polycarbonates (PC) for the production of film deep-drawing parts according to the invention are the known and commercially available PC films. These are typically carbonic acid polyester with aromatic dihydroxy components, in particular based on bisphenol A and its derivatives. Well-suited here are selected Makrofol® films (from Makrolon® from BAYER MATERIALSCIENCE AG). Makrolon® based on bisphenol A has a glass transition temperature of 145 ° C, a Vicat softening temperature B / 50 (50 N, 50 ° C / h, according to ISO 306) of about 144 to 146 ° C and has a heat resistance under one Load of 0.45 MPa (according to ISO 75-1, -2) of about 137 ° C. Particularly suitable for use in very particularly preferred embodiments of the method according to the invention are the Makrofol® films Makrofol® DE, here preferably matted on one side, and the scattered light film Makrofol® BL.
- these films are used in the thickness range of 100 microns to 2000 microns, preferably in the thickness range of 125 to 750 microns, more preferably in the thickness range of 125 to 600 microns and most preferably in the thickness range of 200 to 500 microns.
- Plexiglas® XT has a glass transition temperature of 110 ° C, a Vicat softening temperature B / 50 (according to ISO 306) of 103 ° C and has a heat deflection temperature B (according to ISO 75 HDT / B) of 100 under a load of 0.45 MPa ° C on.
- Particularly suitable for use in the process according to the invention are the Plexiglas® films Plexiglas® film 99524 and Plexiglas® film 99526.
- PMMA foils made of impact-modified PMMA for example, poly (meth) acrylates which consist of 80 to 99.9% by weight of methyl methacrylate and 0.1 to 20% by weight of further comonomers are suitable. Suitable comonomers are e.g.
- esters of methacrylic acid e.g., ethyl methacrylate, butyl methacrylate, hexyl methacrylate, cyclohexyl methacrylate
- esters of acrylic acid e.g., methyl acrylate, ethyl acrylate, butyl acrylate, hexyl acrylate, cyclohexyl acrylate
- styrene and styrene derivatives such as ⁇ -methylstyrene or p-methylstyrene.
- Impact modifiers for polymethacrylate plastics are well known.
- crosslinked mono- or multishell emulsion polymers which are e.g. consist of crosslinked polybutyl acetate.
- Such impact-modified PMMA films are also commercially available.
- these PMMA films are used in the thickness range of 100 .mu.m to 2000 .mu.m, preferably in the thickness range of 125 .mu.m to 600 .mu.m, and particularly preferably in the thickness range of 200 .mu.m to 500 .mu.m.
- Single-layer films of the type described above are preferably used.
- Single-ply here refers solely to the film or the film body and does not include additional applied layers and coverings of other materials.
- Single-ply also includes the above-described multilayer coextrusion films, which are produced as single-layered and used in the process, and the laminate films, which are also used as a total film in the sense of "single-ply" in the process.
- a "single-layer film” can consequently be printed, metallised and / or otherwise coated, wherein, otherwise coated, for example, also comprises application of at least one further layer by means of gluing and / or lamination without being limited thereto. At least one such additional layer applied by means of bonding and / or lamination may also be made of a non-thermoplastic material.
- These single layer films have been at least partially printed, metallized and / or otherwise coated before use
- High pressure molding according to the invention is carried out at elevated film surface temperature.
- the films can also be provided with a deformable protective layer, such as a deformable scratch-resistant coating, or a deformable haptic effect layer, such as, for example, a deformable soft-touch coating (cf. EP-A 1647399 ), before the high pressure forming according to the invention is carried out at an elevated film surface temperature.
- the three-dimensionally deformed deep-drawn part obtainable according to the invention is provided, for example, with a graphic, functional and / or decorative design following a given layout, which is typically applied as a background to the back of a transparent film, for example as printing, metallization and / or other coatings and through the film layer is perceptible. Therefore, preferably transparent film materials are used.
- a transparent film may also be provided on the surface opposite the printing, metallization and / or other coating with a surface matting or with a scattering lacquer layer.
- the inventive method is particularly well suited for the production of provided on the dashboard of a motor vehicle, fixed scales, scale parts and display means of the instruments and display devices provided there, and other symbols, images and pictograms, which are illuminated in case of need of incident or translucent light and provide such a visually perceptible display.
- These instruments include the vehicle speedometer, or tachometer, whose indicator elements often have a raised, annular arrangement with graduated lines associated with the digits indicating the speed.
- a centrally located, swiveling pointer is aligned with the current vehicle speed on a particular scale line to indicate the current vehicle speed (km / h or mph) based on the assigned number. Because of this annular, dial-like arrangement is also spoken of Tacholotn here.
- the display element is configured to display the number of revolutions of the engine; Here, typically, a display in numbers x 100 per min.
- formed display means with a raised, semicircular ring structure are used to display the tank filling and the oil pressure in the engine compartment.
- these display elements may also be attached to annular surface segments, which are truncated cone-shaped (at large cone angles of 160 ° and more) with respect to the main plane.
- frequently raised metalized webs and other decorative elements may be provided.
- An exemplary product produced according to the invention is intended for a combination instrument and has a transparent section for a navigation display in the center, a tachograph disc on the right and a speed indicator on the left.
- the scale marks, numbers, labels, symbols, pictures, pictograms and the like belonging to these display elements are applied to a surface of the initially flat film; This can be done for example in a multi-stage screen printing process and / or by applying a coating, which is applied in several successive steps each in a liquid layer.
- a coating which is applied in several successive steps each in a liquid layer.
- this alternative application offers, for example, offset, gravure, transfer or digital printing.
- a predetermined layout following printing is applied by screen printing.
- a black ink layer is often applied initially, in the negative print the later visible scale knitting, numbers, labels, symbols, pictures, pictograms and the like are left out; in later printing steps, these recessed areas are deposited with differently colored layers of paint.
- High-temperature-resistant flexible printing inks for printing on plastic films which expressly withstand the conditions of the high-pressure printing method provided here and optionally subsequent insert molding are disclosed, for example, in the document DE 198 32 570 C2 described.
- the document DE 101 51 281 A1 describes coatings that are particularly suitable for screen printing on PMMA films and can withstand the conditions of high pressure forming and possibly subsequent insert molding.
- liquid screen printing processes which are particularly suitable for these applications are commercially available from PR ⁇ LL KG, 91781 Weissenburg, Germany.
- Thicker metal layers and metallizations can also be screen printed.
- Thinner metal layers with layer thicknesses of 5 nm to 250 nm, in particular 15 nm to 60 nm, which on the one hand give metallic luster and on the other hand are translucent, can by means of Physical Vapor Deposition (PVD) or Chemical Vapor Deposition (CVD) or with the aid of a suitable combination of these methods are applied.
- PVD Physical Vapor Deposition
- CVD Chemical Vapor Deposition
- the superfluous metal layer sections which are undesirable for the production of certain functions (such as electrical contacting) or for certain graphic or decorative design patterns, can be removed by laser treatment.
- Suitable metals include, for example, aluminum, titanium, chromium, copper, gold, silver, molybdenum, indium and iridium and metal alloys, such as indium, tin or copper alloys, preferably indium-tin alloys, particularly preferably indium-tin-copper alloys (cf., eg US-A 2008/0020210 ).
- At least one further layer of one or more electroluminescent compounds can furthermore be applied to the metal layers.
- electroluminescent compounds are known in the art (see, eg EP-A 1 647 399 ).
- the electroluminescent compound for example, zinc sulfide doped with silver or copper may be used.
- a preferred embodiment of the method according to the invention relates to the production of Tachoinn and / or tachometer discs having the above-described graphical, functional and optionally decorative design.
- transparent film pieces are provided and transformed according to the invention, which printed according to a predetermined layout for Tachoefficiencyn or tachometer discs, metallized and / or otherwise coated.
- the customers of such deep-drawn parts require extremely accurate positioning of the graphic, functional and / or decorative design on the finished deep-drawn part.
- the deviations between this design on the originally flat film and the corresponding design on the finished deep-drawn part are preferably not more than ⁇ 0.1 mm.
- the above-mentioned, at least partially printed, metallized and / or otherwise coated films are used in the process according to the invention in the form of individual, cut to length pieces of film.
- preferably rectangular, smaller pieces of film for example, dimensions with a length of 160 mm to 450 mm and with a width of 160 mm to 305 mm can be provided.
- Foil pieces of this size can be processed particularly easily with the help of commercially available apparatuses (such as Fa. HDVF KUNSTSTOFFMASCHINEN GMBH, 82377 Penzberg, Germany) to the intended here Foiliefzieh warmth.
- Larger pieces of film may typically have a maximum length of 1,200 mm and a maximum width of 700 mm.
- a multi-benefit mode of operation can be provided.
- high-quality Tacho industryn and similar display covers is preferably worked with one-use film sizes, because here with the one-use operation, a higher imaging accuracy can be achieved.
- the flat piece of film is mounted in a defined arrangement on a frame-like support, a frame-like pallet or the like, which is referred to below as a frame.
- a frame which is referred to below as a frame.
- Well suited is a frame with a web width of 50 mm to 100 mm.
- the edge-side portions of the film piece typically have a width of 20 mm to 30 mm on these webs forming the frame.
- For the defined arrangement provide circular positioning pins, which protrude from the webs and engage in slots, which are recessed in the film piece edge portions. Long holes account for the increase in area of the film piece when heated to the film surface temperature provided according to the invention.
- the film piece held on such a frame is introduced into a heating zone where it is heated to the film surface temperature.
- the usual and known heating measures can be provided, such as convection heating by means of hot air or heating fluid or heat bath as a heat source or radiant heating, for example by means of infrared radiation or quartz heaters. Heating measures for contactless heating are preferred within the scope of the invention; Radiant heating by means of infrared radiation is particularly preferred. Less desirable is the high-frequency heating, because here, the core area is heated to the surface temperature of the film.
- a heating zone is provided which has two, coextensive, horizontally aligned and at a distance from each other and aligned with each other heating fields.
- each heating field has a larger area than the aligned arrangement of frame and foil piece.
- a 486mm x 455mm panel may be provided to safely secure the marginal portions of the film portion within the frame that are not resting on the frame to the intended film surface temperature heat.
- Each heating field consists of a number of adjoining and individually controllable infrared panel radiators or quartz radiators.
- infrared surface area spotlights or quartz lamps which are as small as possible.
- all-ceramic emitters with dimensions of 60 mm x 60 mm are well-suited for this, with a power consumption of 125 W Surface temperature of approximately 300 ° C assume.
- Infrared surface radiators of this type are offered and sold, for example, by FRIEDRICH FREEK GMBH, 58708 Menden, Germany.
- a distance is provided between the one radiator surface and the other, opposite radiator surface of about 50 mm to 100 mm.
- a distance is provided between the one radiator surface and the other, opposite radiator surface of about 50 mm to 100 mm.
- This is achieved by emanating from the respective adjacent edge regions of adjacent infrared surface radiator or quartz emitter heat radiation. The effects of the area radiator boundaries are minimized and a uniform temperature distribution at the film surface is achieved.
- heating fields which, in the direction of advance of the film, have an arrangement of 7 rows of all-ceramic emitters of this type and, in the transverse direction, an arrangement of 6 rows of all-ceramic emitters of this type.
- a single heating field of 42 full ceramic emitters of this type can be constructed.
- the average heater field surface temperature is maintained at about 300 ° C. This can be a coarse control of the film surface temperature over the residence time of a given piece of film in the heating zone.
- the film piece to be heated is held in such a heating zone for about 4 seconds to 12 seconds, depending on the layer thickness.
- a 300 ⁇ m thick, ambient temperature (about 20 ° C) having PC film piece is heated in a heating zone of the type described above within a period of about 6 seconds to the inventively provided film surface temperature of about 190 ° C.
- Each infrared panel heater or quartz heater of this type can be individually controlled.
- the control is via the electrical power consumption.
- Higher power consumption produces a higher surface temperature on a given infrared panel or quartz heater.
- the control of the power consumption of the individual infrared panel radiators or quartz radiators allows the temperature distribution on the surface of individual film segments to be fine-tuned, which are each assigned to a specific infrared panel radiator or quartz radiator. The effect of this fine control is greater the lower the average surface temperature is. Therefore, according to the invention, the heating of the film piece in such a heating zone is performed, which is bounded by two mutually aligned heating fields, each having an average heating surface temperature of about 300 ° C.
- the method according to the invention requires comparatively precise control and control of the film surface temperature at the film section. According to another preferred embodiment of the invention Method is therefore provided a detection of the surface temperature to which the film section has been heated in the heating zone.
- This further, preferred embodiment of the method according to the invention is characterized in that the foil piece for heating the heating zone for a period of time at a distance from at least one, constructed of a number of individually controllable infrared panel radiator or quartz heater, heating field is maintained; and the thus-heated piece of film passes on the way from the heating zone to the deformation zone a temperature measuring station, in which scanned with the aid of a thermal imaging chamber, the temperature distribution on a film surface, made visible and / or displayed in any other way.
- Ceramic infrared radiators of this type emit their heat radiation in the wavelength range of 2.5 to 10 microns.
- the heating of the film depends on the absorption capacity and the reflection behavior in this wavelength range.
- the printing, metallization and / or other coating which determines the intended use of the film section which is relevant here influences this absorption capacity and reflection behavior.
- a dark to black coating section enhances heat absorption there.
- a transparent window on the film section or a light coating section reduce heat absorption.
- a metallic coating here for example Al, Ti or Cr, reduces the heat absorption particularly strongly.
- the achievable in a given arrangement with given infrared surface radiators film surface temperature thus also depends on the type and size of the printing, metallization and / or other Coating of the film section from. For precise control and control of the film temperature, it is therefore desirable to detect and display the temperature at the film surface. This can be achieved with this preferred procedure.
- this higher flexibility can be desirable because of the exact impression sharp contours and / or because of the accurate reproduction of finely divided embossing and / or Ziselierungen and to correct pressure-induced positional deviations.
- film segments are selected for heating to the elevated temperature, in which an exact impression of sharp contours, a precise reproduction of finely divided embossing and / or Ziselierungen, and a correction of pressure-induced positional deviations to be achieved.
- thermo imaging camera typically considered an infrared line camera, which is designed for the temperature range 0 ° C to 400 ° C and temperature radiation in the wave range of 8 microns to 14 microns recorded and evaluated.
- the detection of the thermal radiation takes place with the aid of a line sensor which can have, for example, 128 or 256 measuring elements.
- Infrared line cameras of this type with appropriate evaluation circuit and evaluation software are commercially available.
- an infrared camera has been well proven here, which is sold by DIAS INFRARED GMBH, 01217 Dresden, Germany under the trade name INFRALINE®.
- the INFRALI.NE® infrared camera is used for non-contact, quantitative and largely distance-independent recording of temperature distributions on stationary and moving objects. It was developed for stationary use in industrial environments and can be used for system solutions for automated process control and control as well as for measuring data processing on machines and plants.
- the camera consists of a camera head for operating necessary assemblies. Due to the generally remote mounting near the process to be monitored or objects to be monitored, the camera has no controls. For control, monitoring and measured value transmission, a data interface is integrated into the camera. In conjunction with a PC, programming and measured value data acquisition can take place.
- the MICROSOFT INC. provided, well-known visualization software PYROSOFT® be used, which runs on PCs with MS-Windows operating system. Based on color coding and / or numerical information, the measured temperature can be displayed with an accuracy of 1/10 ° K.
- such infrared panel heaters can be specifically controlled with a higher electrical power consumption that heat those film segments, the hitherto - for example because of the peculiarities of printing, metallization and / or other coating present there, have not yet reached the intended film surface temperature, or heat the other selected film segment segments in which increased flexibilization of the film material is to be achieved and which therefore heats to a higher temperature than the regular unitary film surface temperature shall be.
- this PYROSOFT® software can be programmed and evaluated so that each aligned infrared surface panel pair associated with a window or field on the screen is.
- the entire film piece would then be divided into 42 pieces of film pieces, and a particular film piece segment would be significantly heated by a particular dedicated infrared panel pair.
- the color coding in a particular window on the screen and / or the corresponding temperature indicative temperature indicates the surface temperature in the associated film segment, and in case of need for correction, the electrical power of the one or more infrared surface radiators, supplied to the specific film segment segment associated with the infrared patch radiator pair.
- the differential heating of the film section provided according to the invention can be carried out in such a way that a selected film segment segment or several selected film segment segments are necessarily heated to the elevated temperature, which increases the film surface temperature for the respective film material by at least 3 ° C. and does not exceed more than 10 ° C.
- not more than 20% of all film piece segments are heated to the elevated temperature, which is the for a certain film material provided by the film surface temperature by at least 3 ° C and not more than 10 ° C.
- the process step "measurement and evaluation of the temperature distribution on a film surface” is carried out during the entire production process for the production of all deep-drawn parts of a given type. Often it is sufficient if this step is carried out when setting up a production, and then repeated at regular intervals or after generating a given number of deep-drawn parts in order to ensure the consistent uniform quality of these deep-drawn parts and secure.
- an embodiment of the method according to the invention is also provided for producing a number of deep-drawn sheet parts of the same type in which the method step of measuring and evaluating the temperature distribution on a film surface is carried out only during the production of a part of all deep-drawn sheet parts of this type , And in the production of the remaining portion of the thermoformed sheet parts of this kind this step is not carried out. Often it is sufficient if this process step is carried out only in the production of at least 20% of all thermoformed film parts of a given type. Often it is sufficient if this process step is carried out only in the production of at least 20% of all thermoformed film parts of a given type.
- the film piece is rapidly transferred from the heating zone in the deformation zone after reaching the intended film surface temperature according to the invention, without any appreciable cooling of the film piece takes place.
- the film piece is transferred immediately after heating to the intended film surface temperature and within a time period of less than 2 seconds in the deformation zone and deformed there immediately and suddenly.
- two goals are pursued and achieved.
- at least one side of the film section should still essentially have the film surface temperature provided according to the invention in the case of this abrupt deformation taking place under high pressure medium pressure.
- the core region of the film section in this abrupt deformation has a core region temperature which is lower than this film surface temperature.
- the core region temperature may preferably be lower by at least 10 ° C. than the respective film surface temperature. Even more preferably, the film piece is transferred immediately after heating to the intended film surface temperature and within a time period of less than 5 seconds, more preferably less than 2 seconds, most preferably less than 1 second in the deformation zone and immediately and suddenly deformed there. This makes it possible to achieve an improvement in the imaging accuracy in the sudden deformation.
- the temperature distribution on the film surface made visible and / or displayed in any other way, the film piece after heating to the ever provided film surface temperature immediately and preferably within a period of time less than 5 seconds, more preferably less than 2 seconds, most preferably within a time period of less than 1 sec transferred to the deformation zone and there immediately and suddenly deformed.
- the known high pressure forming or the known high pressure forming is carried out on the thus heated piece of film.
- EP 0 371 425 81 applied known measures and the devices described therein are used.
- the content of this document relevant here - to the extent that it is helpful for understanding and implementing the method according to the invention - should also be made part of the present documentation.
- the high pressure forming of the thus-heated film piece can also be carried out in a forming station by means of a forming tool included in the document DE 41 13 568 C1 is described.
- a forming tool included in the document DE 41 13 568 C1 is described.
- a press according to the document DE 41 13 568 C1 known type can be provided.
- the frame holding the heated film piece is inserted into the opened mold and fixed precisely to the lower mold half.
- the lower mold table is raised until the mold is closed.
- fluid pressure medium typically compressed air is introduced.
- fluid pressure of 20 to 300 bar is introduced.
- it is deformed with the aid of heated compressed air, which has a temperature of about 60 to 80 ° C when contacting the film piece.
- the mold cavity is relieved, the lower mold table is lowered, the mold is opened, the deformed film is released from the mold or demolding, the further holding the cooled and deformed foil piece holding frame is released from the lower mold half and returned to the starting position. There, the deformed piece of film is released by hand or automatically from the frame and cut as needed in order to obtain the desired deep-drawn part.
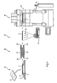
- a loading and unloading zone 10 a heating zone 20, a temperature measuring station 30 and a deformation zone 40 is formed.
- a guided on rails 2 carriage 3 transports a rectangular frame 4 from the loading and unloading zone 10 via the heating zone 20 and the temperature measuring station 30 in the deformation zone 40 and back.
- To drive the carriage 3 is a - not shown - designed for high accelerations and high feed speed stepper motor; For example, the carriage 3 can be adjusted at a speed of 1,400 mm / sec.
- a flat, printed, metallized and / or otherwise coated and to be deformed piece of film 5 is attached by hand or automatically to the frame 4 in a defined arrangement.
- the film piece 5 is supported only with its peripheral portions on the frame 4.
- the heating zone 20 is delimited by an upper heating field 21 and by a lower heating field 22.
- Silk heating panels 21 and 22 are formed coextensive, aligned horizontally and at a distance of about 100 mm from each other and aligned with each other.
- Each heating field 21, 22 has, for example, forty-two infrared surface radiators 23, which each have dimensions of 60 ⁇ 60 mm and can be individually controlled.
- Temperature radiation 32 detected and evaluated.
- the temperature distribution obtained in this way can be displayed on a screen, not shown, with each field of the screen being assigned to each pair of infrared emitter pairs 23 '/ 23 "which can be aligned with each other indicated by a color coding and / or numerically.
- the deformation zone 40 may be equipped with a press 41 with molding tool 42, as in the document DE 41 13 568 C1 described.
- a compressed air tank 43 is connected, is provided from the compressed air.
- the imported from the carriage 3 in the open mold 42 frame 4 is placed within the mold 42 fit.
- the mold 42 is closed by means of the press 41, and held on the frame 4 piece of film 5 is applied directly and directly with heated compressed air under a fluid pressure of, for example, 160 bar and formed isostatically abruptly to the contour of the mold 42.
- a fluid pressure of, for example, 160 bar and formed isostatically abruptly to the contour of the mold 42.
- at least one side of the film section of the film piece 5 held on the frame 4 has the film surface temperature provided according to the invention.
- the mold 42 is opened, and the carriage 3 transports the frame 4 with the deformed piece of film or deep drawn part back into the loading and unloading zone 10. There, the deep-drawn part automatically or by hand from the frame 4 and released from the device. 1 be removed.
- This in Fig. 2 Deep-drawn part shown has a length of 360 mm and a height of 105 mm.
- the speedometer disc and the tachometer disc each have a diameter of 113 mm.
- the plate of the disc is black, the numerals are white against a gray background, and the marginal strip segment between the numerals "5" and "6" of the tachometer disc is red.
- the pictograms arranged between the two panes are translucent and are each visible upon activation of a respective associated backlight. Noticeable is an initial step-shaped and then conical rise from the plate plane to a silver-colored edge bead, which ends about 12 mm above the plate plane. At this silver-colored edge bead, the white markings on the numbers are limited by very fine black margins.
- the starting material used was a 375 ⁇ m thick, finely matted PC film on a surface (Makrofol® OE from BAYER MATERIALSCIENCE AG), which was applied to the non-matted surface in the multistage screen printing process with the above-mentioned, high-temperature resistant and flexible color prints has been printed.
- the silver-colored ring was applied using an Al-bronze suspension.
- the thus printed flat film pieces were heated in the heating zone to the film surface temperatures given in Table 1 below without prior tempering treatment; the residence time in the heating zone controls the film surface temperature achieved.
- the film surface temperature was measured using the thermal imager on the underside of the film.
- the film tail segments forming the bead were heated to an elevated temperature which exceeded the film surface temperature by about 5 ° C;
- the infrared surface-area radiator pairs associated with these selected foil segments were driven with a higher electrical power consumption.
- the film After reaching the specified film surface temperature, the film was transferred immediately and quickly (within a time less than 1 sec) in the deformation zone and formed there immediately and suddenly.
- the film piece which still had the respective surface temperature of the film, was exposed to about 70 ° C. warm compressed air under a compressed air pressure of 160 bar.
- the high temperature phase from the achievement of the film surface temperature to the completion of the deformation of a given film piece lasted less than 5 seconds.
- tachometer disc has a diameter of 100 mm.
- the plate is black, the lettering including the numbers is white, and the marginal strip segments between the numbers 40 and 60 are red.
- the pictograms grouped around the central opening are translucent and are each visible upon activation of each associated backlight. Striking is the silver-colored, conically rising edge bead, which ends 5 mm above the plane of the plate. At this silver-colored edge bead, the white markings to be shown on the numbers are delimited by very fine black marginal stripes.
- the starting material used was a 250 ⁇ m thick, clear PMMA film (Plexiglas® film "Clear 99524" from Röhm GmbH & Co. KG), which was applied on a surface in several stages with temperature-resistant and flexible colored lacquers according to the graphic design of the tachometer dial Fig. 3 has been printed.
- the silver-colored ring has been applied using an Al-bronze suspension.
- a textured paint layer has been applied to a "matte effect" or the to achieve required feel.
- a hardcoat coating has been applied to this later front, which provided an additional improvement in the scratch resistance of the surface of the deep drawn part.
- Comparative Example 2 210 ° C 197 ° C almost tension-free dial, ie very good flatness after separation; Accurate shaping of all radii and transitions, slight “overblowing” of the edge, slight blistering by outdiffusion of the solvent Structure of the surface is damaged; matt black film content is "greasy" (gloss leveling) Deformation process too hot, film structure becomes plastic, positioning of the symbols changes / does not repeat exactly: color system throws bubbles; Shape OK Appearance Color and texture Nil; * Core temperature has been estimated from various internal observations and experience Deformation of a PMMA film at different temperatures example Surface temperature of the film Core temperature * of the film Verform mit surface finish comment Comparative Example 3 100 ° C 90 ° C negative; Torn / broken film Deformation process too cold, film material too brittle at this temperature; no deformation possible Comparative Example 4 120 ° C 110 ° C Foil not broken; Formation not optimal white break; distinct stresses in the deformation area; Tears within the film material recognizable; Surface not homogen
Landscapes
- Engineering & Computer Science (AREA)
- Mechanical Engineering (AREA)
- Manufacturing & Machinery (AREA)
- Blow-Moulding Or Thermoforming Of Plastics Or The Like (AREA)
- Laminated Bodies (AREA)
- Shaping Of Tube Ends By Bending Or Straightening (AREA)
- Casting Or Compression Moulding Of Plastics Or The Like (AREA)
Description
- Die vorliegende Erfindung betrifft ein Verfahren zur Herstellung eines wenigstens teilweise bedruckten, metallisierten und/oder sonst wie beschichteten, tiefgezogenen Folienteils aus wenigstens einem thermoplastischen Kunststoff, bevorzugt aus Polycarbonat (PC) oder aus Polymethylmethacrylat bzw. Poly(meth)acrylat (PMMA).
- Abhängig von ihrer Anwendung weisen die erfindungsgemäß erhältlichen, (tiefgezogenen Folienteile bzw. Tiefziehteile typischerweise eine, einem vorgegebenen Layout folgende, graphische, funktionale und/oder dekorative Gestaltung mit unterschiedlich gefärbten Abschnitten und gegebenenfalls mit zusätzlich einem oder mehreren transparenten Abschnitt(en) auf. Diese Tiefziehteile können beispielsweise als Leuchtenabdeckungen, als beleuchtete Schilder, als Gehäuseteile, als beleuchtbare Druck-oder Schalter-Tasten, als Display-Einrichtungen, als Skalen-, Armaturen-und/oder Instrumenten-Anzeigetafeln, sowie als Zifferblätter und Signalanzeigen verschiedenster Art eingesetzt werden. Ein wichtiges Anwendungsgebiet bezieht sich auf die Anzeigetafeln oder Anzeigeelemente der Instrumente, Skalen und Anzeigen am Armaturenbrett von Kraftfahrzeugen; hier beispielsweise die Anzeigetafel des Fahrgeschwindigkeits-Anzeigegerätes bzw. Tachometer; diese Tachometer-Anzeigetafeln werden in der Fachwelt auch als "Tachoscheiben" bezeichnet. Ohne dass damit eine Einschränkung der vorliegenden Erfindung beabsichtigt ist, wird das erfindungsgemäße Verfahren nachstehend anhand der Herstellung solcher Tachoscheiben erläutert.
- Das grundlegende Verfahren zur Umformung einer Platte oder Folie aus Kunststoff zu einem meist relativ einfach geformten Formkörper ist das Thermoformen oder "Thermoforming". Hier wird das ebene Ausgangsmaterial auf eine so hohe Formungstemperatur erwärmt, dass es weich und plastisch wird, und in diesem Zustand unter Einwirkung relativ geringer Formkräfte die Kontur eines Formwerkzeugs angeformt werden kann. Diese Formkräfte können beispielsweise aufgebracht werden durch Anlegung von Vakuum (Vakuumverfahren), durch Beaufschlagung mit einem fluiden Druckmittel unter einem Druckmitteldruck bis zu etwa 4 bis 6 bar (Pressluftverfahren) oder durch eine Kombination beider Maßnahmen. Für PMMA-Folien, hier Plexiglas® XT (von RÖHM GMBH) wird herstellerseitig eine Formungstemperatur von 160 bis 170 °C angegeben. Zum Thermoformen von PC-Folien, hier Makrofol® (von BAYER AG) muss die Folie vorher im Wärmeofen wenigstens 8 h lang bei wenigstens 80 °C getempert werden, um Lösemittelreste zu entfernen. Anschließend wird die getemperte Folie auf eine Formungstemperatur oberhalb 220 °C erwärmt, beispielsweise 15 bis 20 sec lang zwischen einer Oberheizung mit einer Strahleroberflächentemperatur von 600 °C und einer Unterheizung mit einer Strahleroberflächentemperatur von 400 °C gehalten. Ohne vorherige Temperbehandlung würden die Lösemittelreste bei der Erwärmung auf die Formungstemperatur und beim nachfolgenden Tiefziehen eine Blasenbildung verursachen. Weil beim Thermoformen nur mit relativ geringen Formkräften gearbeitet wird, muss das Material zur Umformung sehr weich und plastisch sein. Typischerweise werden so relativ einfach geformte Formkörper wie Gehäuse und Behälter erhalten. Eine präzise Wiedergabe einer graphischen Gestaltung und/oder eine echte und genaue Abformung scharfkantiger Strukturen der ebenen Ausgangsfolie je am fertigen Formkörper ist nicht möglich.
- Dem gegenüber bezieht sich die vorliegende Erfindung auf ein Verfahren zur Herstellung eines wenigstens teilweise bedruckten, metallisierten und/oder sonst wie beschichteten, tiefgezogenen Folienteils mit wenigstens nachstehenden Verfahrensschritten:
- es wird ein ebenes, auf einer oder auf beiden Oberfläche(n) wenigstens teilweise bedrucktes oder metallisiertes und/oder sonst wie beschichtetes Folienstück aus wenigstens einem thermoplastischen Kunststoff, in besonders bevorzugten Ausführungsformen aus Polycarbonat (PC) oder aus Polymethylmethacrylat bzw. Poly(meth)acrylat (PMMA) bereitgestellt, das wenigstens einen Folienabschnitt umfasst, der hinsichtlich Größe und Bedruckung, Metallisierung und/oder Beschichtung dem herzustellenden Tiefziehteil entspricht;
- dieses Folienstück wird in definierter Anordnung an einem Rahmen angebracht, wobei lediglich die randseitigen Abschnitte des Folienstücks auf dem Rahmen aufliegen;
- das an dem Rahmen gehaltene Folienstück wird in eine Heizzone eingebracht, und dort wenigstens der Folienabschnitt auf eine vorgegebene Temperatur erwärmt; und
- das so erwärmte Folienstück wird anschließend rasch in eine Verformungszone eingebracht und dort unmittelbar und direkt mit einem fluiden Druckmittel unter einem Druckmitteldruck größer 20 bar beaufschlagt und innerhalb einer Zeitspanne kleiner 5 sec isostatisch zu dem gewünschten Tiefziehteil umgeformt.
- Ein ähnliches Verfahren dieser Art ist aus dem Dokument
EP 0 371 425 B1 bekannt; dieses Verfahren wird in der Fachwelt auch als "Hochdruckverformung bzw. Hochdruckumformung" von Kunststoff-Folien bzw. als "Höchstdruckverfahren" bzw. als "Kaltverformen von Folien nach dem High Pressure Forming" bzw. als HPF-Verfahren (von High Pressure Forming) bezeichnet. Nach diesem bekannten Verfahren wird beispielsweise eine transparente, eine Schichtdicke von 125 µm aufweisende PC-Folie (Makrofol®, bezogen von BAYER AG) mit einer Erweichungstemperatur von etwa 150 °C auf eine Arbeitstemperatur im Bereich von 90 bis 120 °C erwärmt und daraufhin mit Hilfe von Druckluft von 150 bar umgeformt. Diese Arbeitstemperatur bezieht sich auf die gesamte Folie. - Das Dokument
DE 41 13 568 C1 beschreibt eine Vorrichtung zur Hochdruckverformung von Kunststoff-Folien nach diesem HPF-Verfahren. Eine solche automatisch arbeitende Vorrichtung weist wenigstens auf: - einen endlosen Strang verschieblicher, rahmenartiger Paletten, die von einem Förderer schrittweise durch die verschiedenen Arbeitsstationen der Vorrichtung geführt werden;
- eine Auflegestation, in welcher je ein ebenes, zu verformendes Folienstück in definierter Anordnung auf je einer Palette angeordnet wird;
- eine Heizstation, in welcher jedes Folienstück auf eine vorgegebene Temperatur erwärmt wird;
- eine Formstation mit einem Formwerkzeug, an dessen Formhohlraum das Folienstück angeformt wird;
- eine Entnahmestation, in welcher das in der Formstation verformte, tiefgezogene Folienstück von der, dieses haltenden Palette gelöst wird und in einen Sammelbehälter gelangt; und
- eine Quelle für unter erhöhtem Druck gehaltenes fluides Druckmittel, insbesondere Druckluft, mit welcher das im Formwerkzeug angeordnete Folienstück beaufschlagt und verformt wird.
- Eine dort im Einzelnen beschriebene Heizstation weist drei nebeneinander in einer gemeinsamen Ebene ausgerichtete Heizfelder auf, die im Abstand oberhalb der Bewegungsbahn des Palettenstranges angeordnet sind. Jedes Heizfeld weist eine Anzahl Infrarot-Flächenstrahler auf, von denen einige unabhängig ansteuerbar sind. Vorzugsweise sind die randständigen Infrarot-Flächenstrahler unabhängig ansteuerbar. Ein Pilotstrahler ist mit Sensoren zur Erfassung der Umgebungstemperatur und seiner Oberflächentemperatur ausgestattet. Die Oberflächentemperatur des Pilotstrahlers kann in engen Grenzen konstant gehalten werden. Der Pilotstrahler liefert Signale zur Steuerung der unabhängig ansteuerbaren Infrarot-Flächenstrahler, um deren Heizfläche ebenfalls auf einer vorgegeben Temperatur zu halten.
- Während des schrittweisen Vorschubs verbleibt das zu erwärmende Folienstück eine gegebene Zeitspanne lang im Abstand zu diesen Heizfeldem und wird auf die vorgesehene Arbeitstemperatur erwärmt. Mit Hilfe der, eine höhere Temperatur aufweisenden, randständigen Infrarot-Flächenstrahler kann gewährleistet werden, dass auch die Randabschnitte des Folienstücks die gleiche Temperatur, wie der Zentralabschnitt annehmen, so dass das gesamte Folienstück eine einheitliche, bestimmte, vorgegebene Arbeitstemperatur aufweist.
- Eine Besonderheit dieser bekannten Hochdruckverformung von Kunststoff-Folien besteht darin, dass die Verformung bei einer Arbeitstemperatur unterhalb der Kunststoff-Erweichungstemperatur des jeweiligen Folienmaterials vorgenommen wird. Beispielsweise hat das dort verwendete Polycarbonat-Material auf der Basis Bisphenol A (Makrolon® von BAYER AG) eine Erweichungstemperatur, von etwa 150° C; und die Hochdruckumformung. wird bei einer Arbeitstemperatur der gesamten erwärmten Folie von etwa 120 °C durchgeführt.
- Die praktische Erfahrung zeigt, dass an, unter solchen Bedingungen tiefgezogenen Folienteilen häufig noch gewisse Rückstellkräfte auftreten. Die so erzeugten, tiefgezogenen Folienteile sind daher häufig noch mit weiterem transparenten Kunststoff hinterspritzt worden, um formstabile Produkte bereitzustellen. Diese Verfahren werden in der Fachwelt auch als Insert Moulding bezeichnet. Zum Hinterspritzen bzw. Insert Moulding wird das bedruckte und tiefgezogene Folienteil so in ein Spritzgusswerkzeug eingelegt, dass die Bedruckung zur Düsenseitegerichtet ist, und beispielsweise mit einer 0,5 bis 3,0 mm dicken Schicht eines thermoplastischen Kunststoffs hinterspritzt. Gut geeignet ist beispielsweise ein Heißkanal-Werkzeug mit Nadelverschlussanguss. Zum Hinterspritzen eignen sich thermoplastische Kunststoffe wie etwa PC, Mischungen aus PC mit Acrylnitril-Butadien-Styrol-Copolymerisaten (ABS) und PMMA-Materialien. Das zum Hinterspritzen verwendete schmelzflüssige Material trifft mit einer Temperatur von etwa 220 °C bis 300 °C auf die bedruckte Folie. Um hier Schäden am Dekor zu vermeiden, kann die Folie im Bereich der Einspritzkanäle mit einem Schutzelement versehen werden; vgl. hierzu etwa
DE 103 12 610 A1 . - Das Dokument
EP 1 023 150 B1 betrifft u.a. ein Verfahren zur Herstellung eines Formkörpers. Bei diesem Verfahren wird eine ebene, wahlweise gefärbte Folie, die beispielsweise aus PC bestehen kann, über einem Formhohlraum angeordnet. Auf dieser Folie wird schmelzflüssiger Kunststoff angeordnet, beispielsweise ebenfalls PC. Weil die Folie im Kontakt mit der Kunststoffschmelze bereits weich und plastisch wird, kann im Formhohlraum ein mäßiger Gasdruck aufgebaut werden, der das Gewicht von Folie und Kunststoffschmelze abstützt, um ein Durchhängen der Folie unter dem Gewicht des schmelzflüssigen Kunststoffs zu vermeiden. Anschließend wird mit Hilfe eines Gesenks oder Stempels die Kombination aus Folie und Kunststoffschmelze in den Formhohlraum hineingedrückt, und die Folie zur Anlage an der Formhohlraumwand gebracht. Nach der Abkühlung wird ein gegebenenfalls dünnwandiger Formkörper erhalten, dessen Außenschicht aus der gegebenenfalls gefärbten Folie besteht. - Nach einem alternativen Verfahren dieser Art (vgl. das Dokument.
US 6 506 334 B1 ) überdeckt das Folienstück den Formhohlraum in einer Unterform. Auf diesem Folienstück wird ein weiteres, passend zurecht geschnittenes Stück Plastik aufgelegt, das vorher auf eine bestimmte Temperatur erwärmt worden ist. Üblicherweise handelt es sich hierbei um die Schmelztemperatur des Kunststoffs, aus dem das Plastikstück besteht, oder um eine noch höhere Temperatur. Das Plastikstück kann mit Hilfe von Infrarot-Heizung, von Konvektions-Heizung, von Hochfrequenz-Heizung oder mit Hilfe einer sonstigen Erwärmungsmaßnahme auf diese Temperatur erwärmt werden. Anschließend wird die Doppelschichtanordnung aus gegebenenfalls gefärbter Folie und dem heißen Plastikstück mit Hilfe eines Stempels, oder einer Oberform in dem Formhohlraum hinein gedrückt. Diese zuletzt genannten Verfahren werden auch als Compression Moulding bezeichnet. - Die genannten Verfahren, wie etwa Insert Moulding, Compression Moulding und weitere Verfahren dieser Art, liefern mehrschichtige, gegebenenfalls dünnwandige Formkörper, bei denen die Dekorfolie eine Außenschicht bildet, das Dekor selbst sich jedoch innerhalb der Formkörpermasse befindet und damit vor Abrieb geschützt ist. Der Kontakt mit der schmelzflüssigen Kunststoffmasse kann das Dekor an der Dekorschicht beeinträchtigen.
- Mit dem Compression Moulding kann typischerweise eine hohe Abbildungsgenauigkeit in der Größenordnung von ± 0,1 mm nicht erhalten werden, weil die gesamte Folie bei der Umformung bereits weich und plastisch ist. Die wenigstens zwei Arbeitsschritte erfordernde Verfahrensweise ist aufwändig. Die einschlägige Industrie verlangt jedoch zunehmend nach tiefgezogenen, einlagigen und formstabilen Folienteilen dieser Art, um so den weiteren Arbeitsschritt der Hinterspritzung mit Kunststoff zu vermeiden.
- Davon ausgehend, besteht die Aufgabe der vorliegenden Erfindung darin, ein Verfahren der gattungsgemäßen Art (vgl.
EP 0 371 425 B1 ) anzugeben, mit dem einlagige, tiefgezogene und formstabile Folienteile aus wenigstens einem thermoplastischen Kunststoff, in besonders bevorzugten Ausführungsformen aus Polycarbonat (PC) oder aus Polymethylmethacrylat bzw. 'Poly(meth)acrylat (PMMA) erhältlich sind, die praktisch frei von inneren Spannungen und Rückstellkräften sind und die nach der Hochdruckumformung eine unveränderte, extrem genaue Positionierung der ursprünglichen grafischen, funktionalen und/oder dekorativen Gestaltung in einer Größenordnung von vorzugsweise ±0,1 mm aufweisen. - Ausgehend von einem Verfahren zur Herstellung eines wenigstens teilweise bedruckten, metallisierten und/oder sonst wie beschichteten, tiefgezogenen Folienteils, mit wenigstens nachstehenden Verfahrensschritten:
- es wird ein ebenes, auf einer oder auf beiden Oberfläche(n) wenigstens teilweise bedrucktes, metallisiertes und/oder sonst wie beschichtetes Folienstück aus wenigstens einem thermoplastischen Kunststoff bereitgestellt, das wenigstens einen Folienabschnitt umfasst, der hinsichtlich Größe und Bedruckung, Metallisierung und/oder Beschichtung dem herzustellenden Tiefziehteil entspricht;
- dieses Folienstück wird in definierter Anordnung an einem Rahmen angebracht, wobei lediglich die randseitigen Abschnitte des Folienstücks auf dem Rahmen aufliegen;
- das so auf dem Rahmen aufliegende Folienstück wird in eine Heizzone eingebracht und dort wenigstens der Folienabschnitt auf eine vorgegebene Temperatur erwärmt; und
- das so erwärmte Folienstück wird anschließend rasch in eine Verformungszone eingebracht und dort unmittelbar und direkt mit einem fluiden Druckmittel größer 20 bar beaufschlagt und innerhalb einer Zeitspanne kleiner 5 sec isostatisch zu dem gewünschtem Tiefziehteil verformt,
- Bei der Vicat-Erweichungstemperatur B/50 eines thermoplastischen Kunststoffs handelt es sich um die Vicat-Erweichungstemperatur B/50 nach ISO 306 (50 N; 50 °C/h).
- Vorzugsweise können einzelne Folienstücksegmente, vorzugsweise einzelne Segmente des Folienabschnitts, auch noch auf eine erhöhte Temperatur erwärmt werden, welche diese Folienoberflächentemperatur um wenigstens 3°C und um nicht mehr als 10 °C übersteigt, und mit dieser Folientemperatur unter den sonstigen Bedingungen des erfindungsgemäßen Verfahrens umgeformt werden.
- Das erfindungsgemäße Verfahren bietet gegenüber den Verfahren gemäß Stand der Technik den Vorteil, dass mit diesem Verfahren tiefgezogene Folienteile erhältlich sind, in denen die Rückstellkräfte und inneren Spannungen minimiert sind bzw. die praktisch frei von inneren Spannungen und Rückstellkräften sind. Zudem kann in den erfindungsgemäß hergestellten tiefgezogenen Folienteilen eine hohe Abbildungsgenauigkeit in der Größenordnung von vorzugsweise ± 0,1 mm erzielt werden. Dies gelingt überraschend durch die erfindungsgemäße Kombination der einzelnen Verfahrensschritte, ohne dass durch die Erwärmung auf eine Folienoberflächentemperatur im angegebenen Bereich oberhalb der Vicat-Erweichungstemperatur B/50 die Folie fließfähig plastisch und die Abbildungsgenauigkeit beim nachfolgenden Verformungsvorgang beeinträchtigt wird.
- Erfindungsgemäß wird entweder der gesamte Folienabschnitt oder der überwiegende Teil des Folienabschnitts auf die entsprechende Folienoberflächentemperatur erwärmt. Dabei ist unter dem überwiegenden Teil des Folienabschnitts im Rahmen der Erfindung wenigstens 60 %, bevorzugt wenigstens 70 %, besonders bevorzugt wenigstens 80 %, ganz besonders bevorzugt wenigstens 90 % des Folienabschnitts zu verstehen, der hinsichtlich Größe und Bedruckung, Metallisierung und/oder Beschichtung dem herzustellenden Tiefziehteil entspricht.
- Unter raschem Einbringen des Folienstücks in die Verformungszone im Sinne der vorliegenden Erfindung ist zu verstehen, dass das Folienstück nach Erwärmung auf die je vorgesehene Folienoberflächentemperatur innerhalb einer Zeitspanne von kleiner 10 sec, bevorzugt kleiner 5 sec, besonders bevorzugt kleiner 2 sec, ganz besonders bevorzugt kleiner 1 sec in die Verformungszone überführt wird.
- Typischerweise werden Folienstücke im Dickenbereich von 100 µm bis 2.000 µm, vorzugsweise im Dickenbereich von 125 bis 750 µm, besonders bevorzugt im Dickenbereich von 125 bis 600 µm und ganz besonders bevorzugt im Dickenbereich von 200 bis 500 µm in das erfindungsgemäße Verfahren eingesetzt.
- Bei dem thermoplastischen Kunststoff kann es sich bevorzugt um wenigstens einen thermoplastischen Kunststoff ausgewählt aus Polymerisaten von ethylenisch ungesättigten Monomeren und/oder Polykondensaten von bifunktionellen reaktiven Verbindungen und/oder Polyadditionaprodukten von bifunktionellen reaktiven Verbindungen, bevorzugt um wenigstens einen thermoplastischen Kunststoff ausgewählt aus Polymerisaten von ethylenisch ungesättigten Monomeren und/oder Polykondensaten von bifunktionellen reaktiven Verbindungen handeln. Für bestimmte Anwendungen kann es vorteilhaft und demnach bevorzugt sein, einen transparenten thermoplastischen Kunststoff einzusetzen.
- Besonders geeignete thermoplastische Kunststoffe sind Polycarbonate oder Copolycarbonate auf Basis von Diphenolen, Poly- oder Copolyacrylate und Poly- oder Copolymethacrylate wie beispielhaft und vorzugsweise Polymethylmethacrylat bzw. Poly(meth)acrylat (PMMA), Poly- oder Copolymere mit Styrol wie beispielhaft und vorzugsweise Polystyrol oder Polystyrolacrylnitril (SAN), thermoplastische Polyurethane, sowie Polyolefine, wie beispielhaft und vorzugsweise Polypropylentypen oder Polyolefine auf der Basis von cyclischen Olefinen (z.B. TOPAS®, Hoechst), Poly- oder Copolykondensate der Terephthalsäure, wie beispielhaft und vorzugsweise Poly- oder Copolyethylenterephthalat (PET oder CoPET), glycol-modifiziertes PET (PETG), glycol-modifiziertes Poly- oder Copolycyclohexandimethylenterephthalat (PCTG) oder Poly- oder Copolybutylenterephthalat (PBT oder CoPBT) oder Mischungen aus den vorangehend genannten. Polyolefine, wie z.B. Polypropylen, ohne Zusatz anderer vorangehend genannter thermoplastischer Kunststoffe sind allerdings für das erfindungsgemäße Verfahren weniger bevorzugt.
- Bevorzugte thermoplastische Kunststoffe sind Polycarbonate oder Copolycarbonate, Poly- oder Copolyacrylate, Poly- oder Copolymethacrylate oder Blends enthaltend wenigstens einen dieser thermoplastischen Kunststoffe. Besonders bevorzugt sind Polycarbonate oder Copolycarbonate, insbesondere mit mittleren Molekulargewichten Mw von 500 bis 100 000, bevorzugt von 10 000 bis 80 000, besonders bevorzugt von 15 000 bis 40 000 oder deren Blends mit wenigstens einem Poly- oder Copolykondensat der Terephthalsäure mit mittleren Molekulargewichten Mw von 10.000 bis 200.000, bevorzugt von 26.000 bis 120.000 oder Poly- oder Copolyacrylate und Poly- oder Copolymethacrylate mit mittleren Molekulargewichten Mw im Bereich von 30 000 bis 300 000, besonders bevorzugt im Bereich von 80 000 bis 250 000.
- Als Poly- oder Copolykondensate der Terephthalsäure eignen sich in bevorzugten Ausführungsformen der Erfindung Polyalkylenterephthalate. Geeignete Polyalkylenterephthalate sind beispielsweise Reaktionsprodukte aus aromatischen Dicarbonsäuren oder ihren reaktionsfähigen Derivaten (z. B. Dimethylestem oder Anhydriden) und aliphatischen, cylcoaliphatischen oder araliphatischen Diolen und Mischungen dieser Reaktionsprodukte.
- Bevorzugte Polyalkylenterephthalate lassen sich aus Terephthalsäure (oder ihren reaktionsfähigen Derivaten) und aliphatischen oder cycloaliphatischen Diolen mit 2 bis 10 C-Atomen nach bekannten Methoden herstellen (Kunststoff-Handbuch, Bd. VIII, S. 695 ff, Karl-Hanser-Verlag, München 1973).
- Bevorzugte Polyalkylenterephthalate enthalten mindestens 80 Mol-%, vorzugsweise 90 Mol-% Terephthalsäurereste, bezogen auf die Dicarbonsäurekomponente, und mindestens 80 Mol-%, vorzugsweise mindestens 90 Mol-% Ethylenglykol- und/oder Butandiol-1,4- und/oder 1,4-Cyclohexandimethanol-Reste, bezogen auf die Diolkomponente.
- Die bevorzugten Polyalkylenterephthalate können neben Terephthalsäureresten bis zu 20 Mol-% Reste anderer aromatischer Dicarbonsäuren mit 8 bis 14 C-Atomen oder aliphatischer Dicarbonsäuren mit 4 bis 12 C-Atomen enthalten, wie beispielsweise Reste von Phthalsäure, Isophthalsäure, Naphthalin-2,6-dicarbonsäure, 4,4'-Diphenyldicarbonsäure, Bernstein-, Adipin-, Sebacinsäure, Azelainsäure, Cyclohexandiessigsäure.
- Die bevorzugten Polyalkylenterephthalate können neben Ethylen- bzw. Butandiol-1,4-glykol-Resten bis zu 80 Mol% anderer aliphatischer Diole mit 3 bis 12 C-Atomen oder cycloaliphatischer Diole mit 6 bis 21 C-Atomen enthalten, z. B. Reste von Propandiol-1,3, 2-Ethylpropandiol-1,3, Neopentylglykol, Pentan-diol-1,5, Hexandiol-1,6, Cyclohexan-dimethanol-1,4, 3-Methylpentandiol-2,4, 2-Methylpentandiol-2,4, 2,2,4-Trimethylpentandiol-1,3 und 2-Ethylhexandiol-1,6, 2,2-Diethylpropandiol-1,3, Hexandiol-2,5, 1,4-Di-([beta]-hydroxyethoxy)-benzol, 2,2-Bis-(4-hydroxycyclohexyl)-propan, 2,4-Dihydroxy-1,1,3,3-tetramethyl-cyclobutan, 2,2-Bis-(3-[beta]-hydroxyethoxyphenyl)-propan und 2,2-Bis-(4-hydroxypropoxyphenyl)-propan (vgl.
,DE-OS 24 07 674 24 07 776 ,27 15 932 ). - Die Polyalkylenterephthalate können durch Einbau relativ kleiner Mengen 3- oder 4-wertiger Alkohole oder 3- oder 4-basischer Carbonsäuren, wie sie z. B. in der
und derDE-OS 19 00 270 US-PS 3 692 744 beschrieben sind, verzweigt werden. Beispiele bevorzugter Verzweigungsmittel sind Trimesinsäure, Trimellitsäure, Trimethylolethan und -propan und Pentaerythrit. - Vorzugsweise wird nicht mehr als 1 Mol-% des Verzweigungsmittels, bezogen auf die Säurekomponente, verwendet.
- Besonders bevorzugt sind Polyalkylenterephthalate, die allein aus Terephthalsäure und deren reaktionsfähigen Derivaten (z. B. deren Dialkylestern) und Ethylenglykol und/oder Butandiol-1,4 und/oder 1,4-Cyclohexandimethanol-Reste hergestellt worden sind, und Mischungen dieser Polyalkylenterephthalate.
- Bevorzugte Polyalkylenterephthalate sind auch Copolyester, die aus mindestens zwei der obengenannten Säurekomponenten und/oder aus mindestens zwei der obengenannten Alkoholkomponenten hergestellt sind, besonders bevorzugte Copolyester sind Poly-(ethylenglykol/butandiol-1,4)-terephthalate.
- Die als Komponente vorzugsweise verwendeten Polyalkylenterephthalate besitzen bevorzugt eine intrinsische Viskosität von ca. 0,4 bis 1,5 dl/g, vorzugsweise 0,5 bis 1,3 dl/g, jeweils gemessen in Phenol/o-Dichlorbenzol (1:1 Gew.-Teile) bei 25°C.
- In besonders bevorzugten Ausführungsformen der Erfindung handelt es sich bei dem Blend von wenigstens einem Polycarbonat oder Copolycarbonat mit wenigstens einem Poly- oder Copolykondensat der Terephthalsäure um einen Blend aus wenigstens einem Polycarbonat oder Copolycarbonat mit Poly- oder Copolybutylenterephthalat oder glycol-modifiziertem Poly- oder Copolycyclohexandimethylenterephthalat. Bei einem solchen Blend aus Polycarbonat oder Copolycarbonat mit Poly- oder Copolybutylenterephthalat oder glycol-modifiziertem Poly- oder Copolycyclohexandimethylenterephthalat kann es sich bevorzugt um einen solchen mit 1 bis 90 Gew.-% Polycarbonat oder Copolycarbonat und 99 bis 10 Gew.-% Poly- oder Copolybutylenterephthalat oder glycol-modifiziertem Poly- oder Copolycyclohexandimethylenterephthalat, vorzugsweise mit 1 bis 90 Gew.-% Polycarbonat und 99 bis 10 Gew.-% Polybutylenterephthalat oder glycol-modifiziertem Polycyclohexandimethylenterephthalat handeln, wobei sich die Anteile zu 100 Gew.-% addieren. Besonders bevorzugt kann es sich bei einem solchen Blend aus Polycarbonat oder Copolycarbonat mit Poly- oder Copolybutylenterephthalat oder glycol-modifiziertes Poly- oder Copolycyclohexandimethylenterephthalat um einen solchen mit 20 bis 85 Gew.-% Polycarbonat oder Copolycarbonat und 80 bis 15 Gew.-% Poly- oder Copolybutylenterephthalat oder glycol-modifiziertem Poly- oder Copolycyclohexandimethylenterephthalat, vorzugsweise mit 20 bis 85 Gew.-% Polycarbonat und 80 bis 15 Gew.-% Polybutylenterephthalat oder glycol-modifiziertem Polycyclohexandimethylenterephthalat handeln, wobei sich die Anteile zu 100 Gew.-% addieren. Ganz besonders bevorzugt kann es sich bei einem solchen Blend aus Polycarbonat oder Copolycarbonat mit Poly- oder Copolybutylenterephthalat oder glycol-modifiziertem Poly- oder Copolycyclohexandimethylenterephthalat um einen solchen mit 35 bis 80 Gew.-% Polycarbonat oder Copolycarbonat und 65 bis 20 Gew.-% Poly- oder Copolybutylenterephthalat oder glycol-modifiziertem Poly- oder Copolycyclohexandimethylenterephthalat, vorzugsweise mit 35 bis 80 Gew.-% Polycarbonat und 65 bis 20 Gew.-% Polybutylenterephthalat oder glycol-modifiziertem Polycyclohexandimethylenterephthalat handeln, wobei sich die Anteile zu 100 Gew.-% addieren. In ganz besonders bevorzugten Ausführungsformen kann es sich um Blends aus Polycarbonat und glycol-modifiziertem Polycyclohexandimethylenterephthalat in den vorangehend genannten Zusammensetzungen handeln.
- Als Polycarbonate oder Copolycarbonate eignen sich in bevorzugten Ausführungsformen besonders aromatische Polycarbonate oder Copolycarbonate.
- Die Polycarbonate oder Copolycarbonate können in bekannter Weise linear oder verzweigt sein.
- Die Herstellung dieser Polycarbonate kann in bekannter Weise aus Diphenolen, Kohlensäurederivaten, gegebenenfalls Kettenabbrechern und gegebenenfalls Verzweigern erfolgen. Einzelheiten der Herstellung von Polycarbonaten sind in vielen Patentschriften seit etwa 40 Jahren niedergelegt. Beispielhaft sei hier nur auf Schnell, "Chemistry and Physics of Polycarbonates", Polymer Reviews, Volume 9, Interscience Publishers, New York, London, Sydney 1964, auf D. Freitag, U. Grigo, P. R. Müller, H. Nouvertne', BAYER AG, "Polycarbonates" in Encyclopedia of Polymer Science and Engineering, Volume 11, Second Edition, 1988, Seiten 648-718 und schließlich auf Dres. U. Grigo, K. Kirchner und P. R. Müller "Polycarbonate" in Becker/Braun, Kunststoff-Handbuch, Band 3/1, Polycarbonate, Polyacetale, Polyester, Celluloseester, Carl Hanser Verlag München, Wien 1992, Seiten 117-299 verwiesen.
- Geeignete Diphenole können beispielsweise Dihydroxyarylverbindungen der allgemeinen Formel (I) sein,
HO-Z-OH (I)
worin Z ein aromatischer Rest mit 6 bis 34 C-Atomen ist, der einen oder mehrere gegebenenfalls substituierte aromatische Kerne und aliphatische oder cycloaliphatische Reste bzw. Alkylaryle oder Heteroatome als Brückenglieder enthalten kann. - Beispiele für geeignete Dihydroxyarylverbindungen sind: Dihydroxybenzole, Dihydroxydiphenyle, Bis-(hydroxyphenyl)-alkane, Bis-(hydroxyphenyl)-cycloalkane, Bis-(hydroxyphenyl)-aryle, Bis-(hydroxyphenyl)-ether, Bis-(hydroxyphenyl)-ketone, Bis-(hydroxyphenyl)-sulfide, Bis-(hydroxyphenyl)-sulfone, Bis-(hydroxyphenyl)-sulfoxide, 1, 1'-Bis-(hydroxyphenyl)-diisopropylbenzole, sowie deren kemalkylierte und kernhalogenierte Verbindungen.
- Diese und weitere geeignete andere Dihydroxyarylverbindungen sind z.B. in
DE-A 3 832 396 , , in H. Schnell, Chemistry and Physics of Polycarbonates, Interscience Publishers, New York 1964, S. 28 ff.; S.102 ff. und in D.G. Legrand, J.T. Bendler, Handbook of Polycarbonate Science and Technology, Marcel Dekker New York 2000, S. 72 ff. beschrieben.FR-A 1 561 518 - Bevorzugte Dihydroxyarylverbindungen sind beispielsweise Resorcin, 4,4'-Dihydroxydiphenyl, Bis-(4-hydroxyphenyl)-methan, Bis-(3,5-dimethyl-4-hydroxyphenyl)-methan, Bis-(4-hydroxyphenyl)-diphenyl-methan, 1, 1-Bis-(4-hydroxyphenyl)-1-phenyl-ethan, 1, 1-Bis-(4-hydroxyphenyl)-1-(1-naphthyl)-ethan, 1,1-Bis-(4-hydroxyphenyl)-1-(2-naphthyl)-ethan, 2,2-Bis-(4-hydroxyphenyl)-propan, 2,2-Bis-(3-methyl-4-hydroxyphenyl)-propan, 2,2-Bis-(3,5-dimethyl-4-hydroxyphenyl)-propan, 2,2-Bis-(4-hydroxyphenyl)-1-phenyl-propan, 2,2-Bis-(4-hydroxyphenyl)-hexafluor-propan, 2,4-Bis-(4-hydroxyphenyl)-2-methyl-butan, 2,4-Bis-(3,5-dimethyl-4-hydroxyphenyl)-2-methylbutan, 1,1-Bis-(4-hydroxyphenyl)-cyclohexan, 1,1-Bis-(3,5-dimethyl-4-hydroxyphenyl)-cylohexan, 1,1-Bis-(4-hydroxyphenyl)-4-methyl-cylohexan, 1,3-Bis-[2-(4-hydroxyphenyl)-2-propyl]-benzol, 1,1'- Bis-(4-hydroxyphenyl)-3-diisopropyl-benzol, 1,1'-Bis-(4-hydroxyphenyl)-4-diisopropyl-benzol, 1,3-Bis-[2-(3,5-dimethyl-4-hydroxyphenyl)-2-propyl]-benzol, Bis-(4-hydroxyphenyl)-ether, Bis-(4-hydroxyphenyl)-sulfid, Bis-(4-hydroxyphenyl)-sulfon, Bis-(3,5-dimethyl-4-hydroxyphenyl)-sulfon und 2,2',3,3'-Tetrahydro-3,3,3',3'-tetramethyl-1,1'-spirobi-[1H-inden]-5,5'-diol oder
-
- R1 und R2
- unabhängig voneinander Wasserstoff, Halogen, bevorzugt Chlor oder Brom, C1- C8-Alkyl, C5-C6-Cycloalkyl, C6-C10-Aryl, bevorzugt Phenyl, und C7-C12-Aralkyl, bevorzugt Phenyl-C1-C4-Alkyl, insbesondere Benzyl,
- m
- eine ganze Zahl von 4 bis 7, bevorzugt 4 oder 5,
- R3 und R4
- für jedes X individuell wählbar, unabhängig voneinander Wasserstoff oder C1-C6- Alkyl und
- X
- Kohlenstoff bedeuten,
- mit der Massgabe, dass an mindestens einem Atom X, R3 und R4 gleichzeitig Alkyl bedeuten. Bevorzugt sind in der Formel (Ia) an einem oder zwei Atom(en) X, insbesondere nur an einem Atom X R3 und R4 gleichzeitig Alkyl.
- Bevorzugter Alkylrest für die Reste R3 und R4 in Formel (Ia) ist Methyl. Die X-Atome in alpha - Stellung zu dem Diphenylsubstituierten C-Atom (C-1) sind bevorzugt nicht dialkylsubstituiert, dagegen ist die Alkyldisubstitution in beta-Stellung zu C-1 bevorzugt.
-
- Ein ganz besonders bevorzugtes Dihydroxydiphenylcycloalkane der Formenl (Ia) ist 1,1-Bis-(4-hydroxyphenyl)-3,3,5-trimethyl-cyclohexan (Formel (Ia-1) mit R1 und R2 gleich H).
- Solche Polycarbonate können gemäss der
aus Dihydroxydiphenylcycloalkanen der Formel (Ia) hergestellt werden.EP-A 359 953 - Besonders bevorzugte Dihydroxyarylverbindungen sind Resorcin, 4,4'-Dihydroxydiphenyl, Bis-(4-hydroxyphenyl)-diphenyl-methan, 1,1-Bis-(4-hydroxyphenyl)-1-phenyl-ethan, Bis-(4-hydroxyphenyl)-1-(1-naphthyl)-ethan, Bis-(4-hydroxyphenyl)-1-(2-naphthyl)-ethan, 2,2-Bis-(4-hydroxyphenyl)-propan, 2,2-Bis(3,5-dimethyl-4-hydroxyphenyl)-propan, 1,1-Bis-(4-hydroxyphenyl)-cyclohexan, 1,1-Bis-(3,5-dimethyl-4-hydroxyphenyl)-cyclohexan, 1, 1 -Bis-(4-hydroxyphenyl)-3,3,5-trimethyl-cyclohexan, 1,1'-Bis-(4-hydroxyphenyl)-3-diisopropyl-benzol und 1,1'- Bis-(4-hydroxyphenyl)-4-diisopropyl-benzol.
- Ganz besonders bevorzugte Dihydroxyarylverbindungen sind 4,4'-Dihydroxydiphenyl, 2,2-Bis-(4-hydroxyphenyl)-propan und 1,1-Bis-(4-hydroxyphenyl)-3,3,5-trimethyl-cyclohexan.
- Es können sowohl eine Dihydroxyarylverbindung unter Bildung von Homopolycarbonaten als auch verschiedene Dihydroxyarylverbindungen unter Bildung von Copolycarbonaten verwendet werden. Es können sowohl eine Dihydroxyarylverbindung der Formel (I) oder (Ia) unter Bildung von Homopolycarbonaten als auch mehrere eine Dihydroxyarylverbindungen der Formel (I) und/oder (Ia) unter Bildung von Copolycarbonaten verwendet werden. Dabei können die verschiedenen Dihydroxyarylverbindungen sowohl statistisch als auch blockweise miteinander verknüpft sein. Im Falle von Copolycarbonaten aus Dihydroxyarylverbindungen der Formel (I) und (Ia), beträgt das molare Verhältnis von Dihydroxyarylverbindungen der Formel (Ia) zu den gegebenenfalls mitzuverwendenden anderen Dihydroxyarylverbindungen der Formel (I) vorzugsweise zwischen 99 Mol-% (Ia) zu 1 Mol-% (I) und 2 Mol-% (Ia) zu 98 Mol-% (I), vorzugsweise zwischen 99 Mol-% (Ia) zu 1 Mol-% (I) und 10 Mol-% (Ia) zu 90 Mol-% (I) und insbesondere zwischen 99 Mol-% (Ia) zu 1 Mol-% (I) und 30 Mol-% (Ia) zu 70 Mol-% (I).
- Ein ganz besonders bevorzugtes Copolycarbonat kann unter Verwendung von 1,1-Bis-(4-hydroxyphenyl)-3,3,5-trimethyl-cyclohexan und 2,2-Bis-(4-hydroxyphenyl)-propan Dihydroxyarylverbindungen der Formel (Ia) und (I) hergestellt werden.
- Poly- oder Copolycarbonate hergestellt unter Verwendung von Dihydroxyarylverbindung der Formel (Ia) weisen üblicherweise eine höhere Glastemperatur Tg und eine höhere Vicat-Erweichungstemperatur B/50 als Polypolycarbonat auf Basis von 2,2-Bis-(4-hydroxyphenyl)-propan als Dihydroxyarylverbindung auf.
-
- R, R' und R"
- unabhängig voneinander gleich oder verschieden für Wasserstoff, lineares oder verzweigtes C1-C34-Alkyl, C7-C34-Alkylaryl oder C6-C34-Aryl stehen, R weiterhin auch -COO-R"' bedeuten kann, wobei R'" für Wasserstoff, lineares oder verzweigtes C1-C34-Alkyl, C7-C34-Alkylaryl oder C6-C34-Aryl steht.
- Bevorzugte Diarylcarbonate sind beispielsweise Diphenylcarbonat, Methylphenyl-phenylcarbonate und Di-(methylphenyl)-carbonate, 4-Ethylphenyl-phenyl-carbonat, Di-(4-ethylphenyl)-carbonat, 4-n-Propylphenyl-phenyl-carbonat, Di-(4-n-propylphenyl)-carbonat, 4-iso-Propylphenyl-phenyl-carbonat, Di-(4-iso-propylphenyl)-carbonat, 4-n-Butylphenyl-phenyl-carbonat, Di-(4-n-butylphenyl)-carbonat, 4-iso-Butylphenyl-phenyl-carbonat, Di-(4-iso-butylphenyl)-carbonat, 4-tert-Butylphenyl-phenyl-carbonat, Di-(4-tert-butylphenyl)-carbonat, 4-n-Pentylphenyl-phenyl-carbonat, Di-(4-n-pentylphenyl)-carbonat, 4-n-Hexylphenyl-phenyl-carbonat, Di-(4-n-hexylphenyl)-carbonat, 4-iso-Octylphenyl-phenyl-carbonat, Di-(4-iso-octylphenyl)-carbonat, 4-n-Nonylphenylphenyl-carbonat, Di-(4-n-nonylphenyl)-carbonat, 4-Cyclohexylphenyl-phenyl-carbonat, Di-(4-cyclohexylphenyl)-carbonat, 4-(1-Methyl-1-phenylethyl)-phenyl-phenyl-carbonat, Di-[4-(1-methyl-1-phenylethyl)-phenyl]-carbonat, Biphenyl-4-yl-phenyl-carbonat, Di-(biphenyl-4-yl)-carbonat, 4-(1-Naphthyl)-phenyl-phenyl-carbonat, 4-(2-Naphthyl)-phenyl-phenyl-carbonat, Di-[4-(1-naphthyl)-phenyl]-carbonat, Di-[4-(2-naphthyl)phenyl]-carbonat, 4-Phenoxyphenyl-phenyl-carbonat, Di-(4-phenoxyphenyl)-carbonat, 3-Pentadecylphenyl-phenyl-carbonat, Di-(3-pentadecylphenyl)-carbonat, 4-Tritylphenyl-phenyl-carbonat, Di-(4-tritylphenyl)-carbonat, Methylsalicylat-phenyl-carbonat, Di-(methylsalicylat)-carbonat, Ethylsalicylat-phenyl-carbonat, Di-(ethylsalicylat)-carbonat, n-Propylsalicylat-phenyl-carbonat, Di-(n-propylsalicylat)-carbonat, iso-Propylsalicylat-phenyl-carbonat, Di-(iso-propylsalicylat)-carbonat, n-Butylsalicylat-phenyl-carbonat, Di-(n-butylsalicylat)-carbonat, iso-Butylsalicylat-phenyl-carbonat, Di-(iso-butylsalicylat)-carbonat, tert-Butylsalicylat-phenyl-carbonat, Di-(tert-butylsalicylat)-carbonat, Di-(phenylsalicylat)-carbonat und Di-(benzylsalicylat)-carbonat.
- Besonders bevorzugte Diarylverbindungen sind Diphenylcarbonat, 4-tert-Butylphenyl-phenyl-carbonat, Di-(4-tert-butylphenyl)-carbonat, Biphenyl-4-yl-phenyl-carbonat, Di-(biphenyl-4-yl)-carbonat, 4-(1-Methyl-1-phenylethyl)-phenyl-phenyl-carbonat, Di-[4-(1-methyl-1-phenylethyl)-phenyl]-carbonat und Di-(methylsalicylat)-carbonat.
- Ganz besonders bevorzugt ist Diphenylcarbonat.
- Es können sowohl ein Diarylcarbonat als auch verschiedene Diarylcarbonate verwendet werden.
- Zur Steuerung bzw. Veränderung der Endgruppen können zusätzlich beispielsweise eine oder mehrere Monohydroxyarylverbindung(en) als Kettenabbrecher eingesetzt werden, die nicht zur Herstellung des oder der verwendeten Diarylcarbonat(e) verwendet wurde(n). Dabei kann es sich um solche der allgemeinen Formel (III) handeln,
wobei - RA
- für lineares oder verzweigtes C1-C34-Alkyl, C7-C34-Alkylaryl, C6-C34-Aryl oder für -COO- RD steht, wobei RD für Wasserstoff, lineares oder verzweigtes C1-C34-Alkyl, C7-C34- Alkylaryl oder C6-C34-Aryl steht, und
- RB, RC
- unabhängig voneinander gleich oder verschieden für Wasserstoff, lineares oder verzweigtes C1-C34-Alkyl, C7-C34-Alkylaryl oder C6-C34-Aryl stehen.
- Solche Monohydroxyarylverbindungen sind beispielsweise 1-, 2- oder 3-Methylphenol, 2,4-Dimethylphenol 4-Ethylphenol, 4-n-Propylphenol, 4-iso-Propylphenol, 4-n-Butylphenol, 4-isoButylphenol, 4-tert-Butylphenol, 4-n-Pentylphenol, 4-n-Hexylphenol, 4-iso-Octylphenol, 4-n-Nonylphenol, 3-Pentadecylphenol, 4-Cyclohexylphenol, 4-(1-Methyl-1-phenylethyl)-phenol, 4-Phenylphenol, 4-Phenoxyphenol, 4-(1-Naphthyl)-phenol, 4-(2-Naphthyl)-phenol, 4-Tritylphenol, Methylsalicylat, Ethylsalicylat, n-Propylsalicylat, iso-Propylsalicylat, n-Butylsalicylat, iso-Butylsalicylat, tert-Butylsalicylat, Phenylsalicylat und Benzylsalicylat.
- Bevorzugt sind 4-tert-Butylphenol, 4-iso-Octylphenol und 3-Pentadecylphenol.
- Geeignete Verzweiger können Verbindungen mit drei und mehr funktionellen Gruppen, vorzugsweise solche mit drei oder mehr Hydroxylgruppen.
- Geeignete Verbindungen mit drei oder mehr phenolischen Hydroxylgruppen sind beispielsweise Phloroglucin, 4,6-Dimethyl-2,4,6-tri-(4-hydroxyphenyl)-hepten-2, 4,6-Dimethyl-2,4,6-tri-(4-hydroxyphenyl)-heptan, 1,3,5-Tri-(4-hydroxyphenyl)-benzol, 1,1,1-Tri-(4-hydroxyphenyl)-ethan, Tri-(4-hydroxyphenyl)-phenylmethan, 2,2-Bis-(4,4-bis-(4-hydroxyphenyl)-cyclohexyl]-propan, 2,4-Bis-(4-hydroxyphenyl-isopropyl)-phenol und Tetra-(4-hydroxyphenyl)-methan.
- Sonstige geeignete Verbindungen mit drei und mehr funktionellen Gruppen sind beispielsweise 2,4-Dihydroxybenzoesäure, Trimesinsäure(trichlorid), Cyanursäuretrichlorid und 3,3-Bis-(3-methyl-4-hydroxyphenyl)-2-oxo-2,3-dihydroindol.
- Bevorzugte Verzweiger sind 3,3-Bis-(3-methyl-4-hydroxyphenyl)-2-oxo-2,3-dihydroindol und 1,1,1-Tri-(4-hydroxyphenyl)-ethan.
- Als Polymethyl(meth)acrylat können sowohl Polymethyl(meth)acrylat (PMMA) als auch schlagzäh modifiziertes PMMA (sz-PMMA), Blends aus PMMA oder aus sz-PMMA eingesetzt werden. Sie sind unter der Marke Plexiglas bei der Röhm GmbH erhältlich. Unter Polymethyl(meth)acrylat werden sowohl Polymere der Methacrylsäure und ihrer Derivate, beispielsweise ihrer Ester, als auch Polymere der Acrylsäure und ihrer Derivate als auch Mischungen aus beiden vorstehenden Komponenten verstanden.
- Bevorzugt sind Polymethyl(meth)acrylat-Kunststoffe mit einem Methylmethacrylat-Monomeranteil von mindestens 80 Gew.-%, bevorzugt mindestens 90 Gew.-% und gegebenenfalls 0 Gew.-% bis 20 Gew.-%, bevorzugt 0 Gew.-% bis 10 Gew.-% weiterer vinylisch copolymerisierbarer Monomere wie z. B. Cl- bis C8-Alkylestern der Acrylsäure oder der Methacrylsäure, z. B. Methylacrylat, Ethylacrylat, Butylacrylat, Butylmethacrylat, Hexylmethacrylat, Cyclohexylmethacrylat, ferner Styrol und Styrolderivate, wie beispielsweise [alpha]-Methylstyrol oder p-Methylstyrol. Weitere Monomere können sein Acrylsäure, Methacrylsäure, Maleinsäureanhydrid, Hydroxyester der Acrylsäure oder Hydroxyester der Methacrylsäure.
- Die thermoplastischen Kunststoffe können zudem Füllstoffe, gegebenenfalls vorzugsweise in einer Menge von bis zu 30 Gew.-% enthalten. Solche Füllstoffe sind dem Fachmann bekannt. Beispielsweise können anorganische Füllstoffe wie z.B. anorganische Pigmente eingesetzt werden.
- Zu den geeigneten anorganischen Pigmenten zählen beispielsweise Oxide, wie Siliciumdioxid, Titandioxid, Zirkoniumdioxid, Eisenoxid, Zinkoxid und Chrom(III)- oxid, Sulfide, wie Zinksulfide und Cadmiumsulfide, und Salze, wie Bariumsulfat, Cadmiumselenid, Ultramarin und Nickelchromtitanat. Ebenfalls geeignet als Pigmente im vorliegenden Zusammenhang sind Carbonate, wie Calciumcarbonat und Bariumcarbonat, und Russ. Ein ganz besonders bevorzugtes Farbpigment ist Bariumsulfat. Diese Pigmente werden in die Zusammensetzung der Erfindung in einer Menge von 0,1 bis 30 Gew.-%, bevorzugt 2 bis 15 Gew.-%, bezogen auf das Gewicht der Zusammensetzung, eingearbeitet.
- Die thermoplastischen Kunststoffe können zudem Streupigmente als Füllstoffe enthalten, die dem Fachmann gut bekannt sind und beispielsweise in
WO-A 2007/045380 beschrieben sind. - Diese Füllstoffe können vorzugsweise in mittleren Teilchengrößen von 0,01 µm bis 50 µm eingesetzt werden.
- Bei den erfindungsgemäß zu verformenden Folienstücken aus wenigstens einem thermoplastischen Kunststoff kann es sich auch um eine mehrschichtige Koextrusionsfolie aus wenigstens zwei unterschiedlichen thermoplastischen Kunststoffen handeln. Bevorzugt handelt es sich dabei um eine mindestens zweischichtige Koextrusionsfolie, mit einen Schichtaufbau umfassend
- (1) wenigstens eine obere Schicht aus einem thermoplastischen Kunststoff mit einer Vicat-Erweichungstemperatur B/50 (TVicat1) und
- (2) wenigstens eine darunterliegende Schicht aus einem thermoplastischen Kunststoff mit einer Vicat-Erweichungstemperatur B/50 (TVicat2), welche höher ist als die Vicat-Erweichungstemperatur B/50 (TVicat1).
- Besonders bevorzugt handelt es sich bei der mehrschichtigen Koextrusionsfolie um eine mindestens dreischichtige, bevorzugt eine dreischichtige Koextrusionsfolie, mit einem Schichtaufbau umfassend
- (1) wenigstens eine obere und eine untere Schicht aus einem thermoplastischen Kunststoff mit einer Vicat-Erweichungstemperatur B/50 (TVicat1) und
- (2) wenigstens eine, bevorzugt eine dazwischenliegende Schicht aus einem thermoplastischen Kunststoff mit einer Vicat-Erweichungstemperatur B/50 (TVicat2), welche höher ist als die Vicat-Erweichungstemperatur B/50 (TVirat1).
- Im erfindungsgemäßen Verfahren wird vorteilhafterweise die Seite des Folienabschnitts der Koextrusionsfolie aus dem thermoplastischen Kunststoff mit der Vicat-Erweichungstemperatur B/50 (Tvicat1) auf die angegebene Folienoberflächentemperatur erwärmt. Bevorzugt liegt die Temperatur, auf die diese Seite des Folienabschnitts erwärmt wird zwischen TVicat1 und TVicat2.
- Anstelle der vorangehend aufgeführten Koextrusionsfolien kann es sich bei den verwendeten Folien auch um mehrschichtige Laminat-Verbundfolien, im Folgenden auch kurz als Laminat-Folien bezeichnet, handeln, bei denen wenigstens zwei Schichten aus wenigstens zwei unterschiedlichen thermoplastischen Kunststoffen mit TVicat1 und TVicat2 aufeinander laminiert werden.
- In besonders bevorzugten Ausführungsformen handelt es sich bei dem thermoplastischen Kunststoff mit TVicat2 um ein Polycarbonat oder Copolycarbonat und bei dem thermoplastischen Kunststoff mit TVicat1 um ein Poly- oder Copolyacrylate bzw. Poly- oder Copolymethacrylate, wie z.B. Polymethylmethacrylat bzw. Poly(meth)acrylat, oder um einen Blend wenigstens eines Polycarbonats oder Copolycarbonats mit wenigstens einem Poly- oder Copolykondensat der Terephthalsäure. Hierfür kommen die bereits vorangehend genannten Poly- oder Copolyacrylate bzw. Poly- oder Copolymethacrylate, wie z.B. Polymethylmethacrylat bzw. Poly(meth)acrylat, oder Blends wenigstens eines Polycarbonats oder Copolycarbonats mit wenigstens einem Poly- oder Copolykondensat der Terephthalsäurein Frage. Besonders bevorzugte Blends für den thermoplastischen Kunststoff mit TVicat2 sind Blends aus Polycarbonat oder Copolycarbonat mit Poly- oder Copolybutylenterephthalat in den vorangehend bereits genannten Zusammensetzungen.
- Der Einsatz solcher Koextrusionsfolien oder Laminat-Folien in das erfindungsgemäße Verfahren bietet den zusätzlichen Vorteil, dass selbst bei längerer Erwärmung auf die entsprechende Temperatur oberhalb der Vicat-Erweichungstemperatur der oberen Schicht aufgrund der unteren bzw. mittleren Schicht mit höherer Vicat-Erweichungstemperatur die gesamte Folie nicht plastisch wird und die Gefahr des sichtbaren Durchhängens unter dem Eigengewicht der Folie besser vermieden bzw. reduziert werden kann. Insbesondere bei Einsatz der wenigstens dreischichtigen Koextrusionsfolien oder Laminat-Folien bleibt der Kern einer solchen Koextrusionsfolie oder Laminat-Folie im Sinne der dazwischenliegenden Schicht aus einem thermoplastischen Kunststoff mit einer Vicat-Erweichungstemperatur B/50 (TVicat2) bleibt bei Durchführung des erfindungsgemäßen Verfahrens vorteilhafterweise bei Temperaturen unterhalb der Vicat-Erweichungstemperatur (TVicat2).
- In ganz besonders bevorzugten Ausführungsformen des erfindungsgemäßen Verfahren handelt es sich um ein solches Verfahren zur Herstellung eines wenigstens teilweise bedruckten, metallisierten und/oder sonst wie beschichteten, tiefgezogenen Folienteils, mit wenigstens nachstehenden Verfahrensschritten:
- es wird ein, ebenes, auf einer oder auf beiden Oberfläche(n) wenigstens
teilweise bedrucktes, metallisiertes und/oder sonst wie beschichtetes Folienstück aus Polycarbonat (PC), vorzugsweise aus Polycarbonat basierend auf 2,2-Bis-(4-hydroxyphenyl)-propan (Bisphenol A) als Dihydroxyarylverbindung, bereitgestellt, das wenigstens einen Folienabschnitt umfasst, der hinsichtlich Größe und Bedruckung, Metallisierung und/oder Beschichtung dem herzustellenden Tiefziehteil entspricht; - dieses Folienstück wird in definierter Anordnung an einem Rahmen angebracht, wobei lediglich die randseitigen Abschnitte des Folienstücks auf dem Rahmen aufliegen;
- das so auf dem Rahmen aufliegende Folienstück wird in eine Heizzone eingebracht und dort wenigstens der Folienabschnitt auf eine vorgegebene Temperatur erwärmt; und
- das so erwärmte Folienstück wird anschließend rasch in eine Verformungszone eingebracht und dort unmittelbar und direkt mit einem fluiden Druckmittel größer 20 bar beaufschlagt und innerhalb einer Zeitspanne kleiner 5 sec isostatisch zu dem gewünschtem Tiefziehteil verformt,
dadurch gekennzeichnet, dass
eine solche Erwärmung vorgenommen wird, damit wenigstens eine Seite des gesamten Folienabschnitts oder des überwiegenden Teils des Folienabschnitts eine Folienoberflächentemperatur im Bereich von 20 bis 65°C, bevorzugt 30 bis 60 °C oberhalb, besonders bevorzugt 35 bis 60 °C oberhalb der Vicat-Erweichungstemperatur B/50, ganz besonders bevorzugt von 180 °C bis 200 °C aufweist. - Im Rahmen der vorliegenden Erfindung ist es ausreichend, wenn nur eine Seite des gesamten Folienabschnitts oder des überwiegenden Teils des Folienabschnitts auf eine Folienoberflächentemperatur im genannten Bereich erwärmt wird. Die andere, gegenüberliegende Seite des gesamten Folienabschnitts oder des überwiegenden Teils des Folienabschnitts kann bei einer niedrigen Folienoberflächentemperatur verbleiben, beispielsweise bei einer bis zu etwa 10 °C niedrigeren Folienoberflächentemperatur verbleiben.
- Vorzugsweise wird beim erfindungsgemäßen Verfahren eine solche Erwärmung vorgenommen, damit beide Seiten des gesamten Folienabschnitts oder des überwiegenden Teils des Folienabschnitts eine Folienoberflächentemperatur im Bereich von 10 bis 65°C oberhalb der Vicat-Erweichungstemperatur B/50aufweisen.
- Wird diese Erwärmung mit Hilfe einer Oberflächenheizung vorgenommen, beispielsweise mit Hilfe von Heißluft oder mit Hilfe von Heizstrahlern, so wird der Kernbereich des Folienstücks auch bei Erreichung der Folienoberflächentemperatur im genannten Bereich noch eine niedrigere Kernbereichstemperatur aufweisen, als diese Folienoberflächentemperatur; vorzugsweise kann diese Kembereichstemperatur bis zu etwa 30°C, bevorzugt bis zu 20 °C niedriger sein, als diese Folienoberflächentemperatur.
- Der Kernbereich umfasst vorzugsweise etwa 60 bis 80 % des Folienquerschnitts, bzw. im Falle der dreischichtigen Koextrusionsfolien bevorzugt den Bereich der mittleren Schicht.
- Die vorstehenden Ausführungen zur Folienoberflächentemperatur gelten auch für die nachfolgenden Angaben zur Folienoberflächentemperatur in der nachfolgenden Beschreibung und den Ansprüchen.
- Wird nur auf eine Folienoberflächentemperatur unterhalb des genannten Bereiches, in der ganz besonders bevorzugten Ausführungsformen des erfindungsgemäßen Verfahren unter Verwendung von Polycarbonat auf kleiner 180 °C, erwärmt, können am tiefgezogenen Folienteil immer noch Rückstellkräfte und Verspannungen auftreten, welche die Formstabilität eines einlagigen Folienteils beinträchtigen. Wird dagegen der gesamte Folienabschnitt auf eine Folienoberflächentemperatur deutlich oberhalb des genannten Bereiches, in den ganz besonders bevorzugten Ausführungsformen des erfindungsgemäßen Verfahren unter Verwendung von Polycarbonat auf oberhalb 200 °C, erwärmt, so können bereits örtliche Fließvorgänge auftreten, welche die Abbildungsgenauigkeit gefährden.
- Vorzugsweise wird der gesamte Folienabschnitt oder der überwiegende Teil des Folienabschnitts in den ganz besonders bevorzugten Ausführungsformen des erfindungsgemäßen Verfahren unter Verwendung von Polycarbonat auf eine Folienoberflächentemperatur im Bereich von 185 °C bis 195 °C erwärmt. Besonders bevorzugt ist hier eine Folienoberflächentemperatur von etwa 190 °C. Eine Folienoberflächentemperatur von etwa 190 °C ist für die typischen handelsüblich zugänglichen PC-Folien, bevorzugt solchen basierend auf Bisphenol A, ausreichend und liefert gute Ergebnisse.
- Im Falle weiterer ganz besonders bevorzugten Ausführungsformen des erfindungsgemäßen Verfahren unter Verwendung eines Folienstücks aus Polymethylmethacrylat bzw. Poly(meth)acrylat (PMMA) ist eine Folienoberflächentemperatur im Bereich von 20 bis 65°C, bevorzugt 25 bis 50 °C oberhalb der Vicat-Erweichungstemperatur B/50, ganz besonders bevorzugt von 130 bis 150 °C vorgesehen. Wird das PMMA-Folienstück in diesem Fall nur auf eine Folienoberflächentemperatur kleiner 130 °C erwärmt, so können am tiefgezogenen Folienteil immer noch Rückstellkräfte und Verspannungen auftreten, welche die Formstabilität eines einlagigen Folienteils aus PMMA beinträchtigen. Wird dagegen der gesamte Folienabschnitt auf eine Folienoberflächentemperatur deutlich oberhalb 150 °C erwärmt, so können bereits örtliche Fließvorgänge auftreten, welche die Abbildungsgenauigkeit gefährden. Vorzugsweise wird der Folienabschnitt aus PMMA-Material auf Folienoberflächentemperatur im Bereich von 135°C bis 145 °C erwärmt. Besonders bevorzugt ist hier eine Folienoberflächentemperatur von etwa 140 °C. Eine Folienoberflächentemperatur von etwa 140 °C ist für die typischen üblichen PMMA-Folien ausreichend und liefert gute Ergebnisse.
- Vorteilhafte Ausgestaltungen und Weiterbildungen des erfmdungsgemäßen Verfahrens ergeben sich aus den Unteransprüchen und/oder sind vorangehend und im Folgenden beschrieben.
- Der zur vorliegenden Anmeldung benannte Erfinder hat umfangreiche Untersuchungen und Versuche durchgeführt, um die oben genannte Aufgabe zu lösen. Hierbei zeigte sich: Die an den, nach dem bekannten HPF-Verfahren tiefgezogenen, Folienteilen auftretenden, Rückstellkräfte beruhen auf inneren Spannungen, die bei der Herstellung der Folie, durch Extrudieren und beim nachfolgenden Kalandern, erzeugt werden, und die bei der späteren, unterhalb der Erweichungstemperatur erfolgenden Hochdruckumformung nicht ausreichend abgebaut und ausgeglichen wurden. Der Erfinder hat eine ebene unbedruckte, an einem Rahmen gehaltene 300 µm dicke PC-Folie (Makrofol® aus Makrolon® von BAYER MATERIALSCIENCE AG) allmählich über die Vicat-Erweichungstemperatur B/50 von 145°C hinaus erwärmt. Die Messung der Folientemperatur erfolgte anhand der Folienoberflächentemperatur mit Hilfe einer Wärmebildkamera. Es erfolgt eine Flächenzunahme, je in Laufrichtung und in Querrichtung; entsprechend dem linearen thermischen Längenausdehnungs-koeffizienten (etwa 70 x 10-6 K-1). Bei einer Folienoberflächentemperatur von etwa 170 °C wird die vorher ebene Folie sichtbar wellig, vermutlich weil vorher eingefrorene, vom Herstellungsprozess herrührende mechanische Spannungen nunmehr freigesetzt werden und die Folie verformen. Beim weiteren Erwärmen verschwindet diese Welligkeit. Bei Erreichung einer Folienoberflächentemperatur von etwa 190 °C hängt die Folie eben und offensichtlich spannungsfrei an dem Rahmen. Die gesamte Folie ist noch nicht fließfähig plastisch und hängt im nicht vom Rahmen abgestützten Zentrum nicht sichtbar durch. Dieser Zustand bleibt wenigstens etwa 4 bis 5 sec lang unverändert erhalten. Wird die Folie jedoch länger als etwa 10 sec bei dieser Folienoberflächentemperatur von etwa 190 °C gehalten, so beginnt die Folie im nicht vom Rahmen abgestützten Zentrum unter ihrem eigenen Gewicht sichtbar durchzuhängen. Offensichtlich ist nunmehr auch der Kernbereich auf diese Temperatur erwärmt und beginnt plastisch zu werden. Wird beim schnellen Aufheizen mit Hilfe von Heizstrahlern eine Folienoberflächentemperatur von etwa 220 °C erreicht, so beginnt die Folie im nicht vom Rahmen abgestützten Zentrum sichtbar durchzuhängen. Offensichtlich ist der Fließübergangsbereich erreicht, und die Reißfestigkeit hat soweit abgenommen, dass die Struktur und Gestalt der ursprünglichen Folie nicht länger erhalten bleibt. Bei Temperaturen im Fließübergangsbereich nimmt die mechanische Festigkeit, etwa bestimmt am Schubmodul G des Folienmaterials rasch ab, und die Höchstdruckverformung bzw. das High Pressure Forming bzw. HPF-Verfahren ist mangels ausreichender Festigkeit des Folienmaterials nicht länger möglich.
- Aus alledem folgt: Das bekannte High Pressure Forming bzw. HPF-Verfahren kann offensichtlich bei einer wesentlich höheren Folientemperatur durchgeführt werden, als bislang angenommen, nämlich bei einer Folienoberflächentemperatur deutlich höher, als die Vicat-Erweichunqstemperatur B/50 des jeweiligen Folienmaterials. Hierbei erscheint es zweckmäßig, die Verweildauer der Folie bei der erfindungsgemäß vorgesehenen Folienoberflächentemperatur möglichst kurz zu halten, also das Folienstück nach erstmaliger Erreichung der erfindungsgemäß vorgesehenen Folienoberflächentemperatur, innerhalb einer Zeitspanne kleiner als 10 sec, bevorzugt kleiner als 5 sec, besonders bevorzugt kleiner als 2 sec in die Verformungszone zu bringen und dort sofort eine schlagartige Umformung durchzuführen. Hierdurch wird bei der Erwärmung in einer mit Heizstrahlern bestückten Heizzone eine Erwärmung des Folienabschnitts über die vorgesehene Folienoberflächentemperatur hinaus verhindert, und der Kernbereich der Folie verbleibt bei einer Kernbereichstemperatur unterhalb dieser erfindungsgemäß vorgesehenen Folienoberflächentemperatur. Dies verbessert die Abbildungsgenauigkeit irgendeiner graphischen, funktionalen und/oder dekorativen Gestaltung auf der Folienoberfläche bei der nachfolgenden Umformung.
- Auf der Basis dieser Ergebnisse ist das erfindungsgemäße Verfahren entwickelt worden. In ganz besonders bevorzugten Ausführungsformen des erfindungsgemäßen Verfahren werden handelsüblich zugängliche Folien aus PC, wie etwa verschiedene Makrofol®-Varianten, vorzugsweise solchen basierend auf 2,2-Bis-(4-hydroxyphenyl)-propan (Bisphenol A) als Dihydroxyarylverbindung, vorzugsweise auf eine Folienoberflächentemperatur im Bereich von 20 bis 65°C, bevorzugt 30 bis 60 °C oberhalb, besonders bevorzugt 35 bis 60 °C oberhalb der Vicat-Erweichungstemperatur B/50, ganz besonders bevorzugt von 180 °C bis 200 °C erwärmt, wobei einzelne Folienstücksegmente auch noch auf eine erhöhte Temperatur erwärmt werden können, welche diese Folienoberflächentemperatur um wenigstens 3 °C und um nicht mehr als 10 °C übersteigt, und mit dieser Folientemperatur unter den Bedingungen des HPF-Verfahrens umgeformt.
- Hierbei werden formstabile Folientiefziehteile erhalten, die frei von irgendwelchen Rückstellkräften sind. Diese Produkte können in einlagiger, nicht weiter verstärkter Form oder in der Form von hinterspritzten Formkörpern als Display- und Instrumentenabdeckungen verwendet werden.
- In gleicher Weise werden in weiteren ganz besonders bevorzugten Ausführungsformen des erfindungsgemäßen Verfahren handelsüblich zugängliche Folien aus PMMA, wie etwa verschiedene Arten der Plexiglas® Folien und Folien aus anderen PMMA-Varianten auf eine Folienoberflächentemperatur im Bereich von 20 bis 65°C, bevorzugt 25 bis 50 °C oberhalb der Vicat-Erweichungstemperatur B/50, ganz besonders bevorzugt von 130 °C bis 150 °C erwärmt, wobei einzelne Folienstücksegmente auch noch auf eine erhöhte Temperatur erwärmt werden können, welche diese Folienoberflächentemperatur um wenigstens 3°C und um nicht mehr als 10 °C übersteigt, und mit dieser Folientemperatur unter den Bedingungen des HPF-Verfahrens umgeformt. Hierbei werden formstabile Folientiefziehteile erhalten, die frei von irgendwelchen Rückstellkräften sind. Diese Produkte können in einlagiger, nicht weiter verstärkter Form oder in der Form von hinterspritzten Formkörpern als Display-und Instrumentenabdeckungen verwendet werden.
- Nachfolgend wird das erfindungsgemäße Verfahren mehr im Einzelnen erläutert.
- Als Polycarbonate (PC) zur erfindungsgemäßen Herstellung von Folientiefziehteilen kommen die bekannten und handelsüblich zugänglichen PC-Folien in Betracht. Hierbei handelt es sich typischerweise um Polyester der Kohlensäure mit aromatischen Dihydroxykomponenten, insbesondere auf der Basis von Bisphenol A und dessen Derivaten. Gut geeignet sind hier ausgewählte Makrofol®-Folien (aus Makrolon® von BAYER MATERIALSCIENCE AG). Makrolon® auf der Basis von Bisphenol A hat eine Glasübergangstemperatur von 145 °C, eine Vicat-Erweichungstemperatur B/50 (50 N; 50 °C/h; nach ISO 306) von etwa 144 bis 146 °C und weist eine Wärmeformbeständigkeit unter einer Last von 0,45 MPa (nach ISO 75-1, -2) von etwa 137 °C auf. Für die Anwendung in ganz besonders bevorzugten Ausführungsformen des erfindungsgemäßen Verfahren besonders gut geeignet sind die Makrofol®-Folien Makrofol® DE, hier vorzugsweise einseitig mattiert, und die Streulichtfolie Makrofol® BL.
- Typischerweise werden diese Folien im Dickenbereich von 100 µm bis 2.000 µm, vorzugsweise im Dickenbereich von 125 bis 750 µm, besonders bevorzugt im Dickenbereich von 125 bis 600 µm und ganz besonders bevorzugt im Dickenbereich von 200 bis 500 µm eingesetzt.
- Als Polymethylmethacrylate bzw. Poly(meth)acrylate (PMMA) zur erfindungsgemäßen Herstellung von Folientiefziehteilen in weiteren ganz besonders bevorzugten Ausführungsformen des erfindungsgemäßen Verfahren kommen die bekannten und handelsüblich zugänglichen Folien aus PMMA und aus modifizierten, insbesondere schlagzähmodifizierten PMMA-Varianten [Poly(meth)acrylate] in Betracht. Gut geeignet sind hier extrudierte und gewalzte Plexiglas®-Folien (Warenzeichen der Röhm GmbH & Co. KG, Darmstadt, Deutschland), die unter der Handelsbezeichnung Plexiglas® XT (XT steht für extrudiert) vertrieben werden. Plexiglas® XT hat eine Glasübergangstemperatur von 110 °C, eine Vicat-Erweichungstemperatur B/50 (nach ISO 306) von 103 °C und weist unter einer Last von 0,45 MPa eine Wärmeformbeständigkeit B (nach ISO 75 HDT/B) von 100 °C auf. Für die Anwendung beim erfindungsgemäßen Verfahren besonders gut geeignet sind die Plexiglas®-Folien Plexiglas®-Folie 99524 und Plexiglas®-Folie 99526.
- Für PMMA-Folien aus schlagzähmodifiziertem PMMA kommen beispielsweise Poly(meth)acrylate in Betracht, die zu 80 bis 99,9 Gew.-% aus Methylmethacrylat und zu 0,1 bis 20 Gew.-% aus weiteren Comonomere bestehen. Geeignete Comonomere sind z.B. Ester der Methacrylsäure (z.B. Ethylmethacrylat, Butylmethacrylat, Hexylmethacrylat, Cyclohexylmethacrylat), Ester der Acrylsäure (z.B. Methylacrylat, Ethylacrylat, Butylacrylat, Hexylacrylat, Cyclohexylacrylat) oder Styrol und Styrolderivate, wie beispielsweise α-Methylstyrol oder p-Methylstyrol. Schlagzähmodifizierungsmittel für Polymethacrylat-Kunststoffe sind hinlänglich bekannt. Als Schlagzähmodifizierer für die Poly(meth)acrylate können vernetzte ein-oder mehrschalige Emulsionspolymerisate, eingesetzt werden, die z.B. aus vernetzten Polybutylacetat bestehen. Auch derartige schlagzähmodifizierte PMMA-Folien sind handelsüblich zugänglich.
- Typischerweise werden auch diese PMMA-Folien im Dickenbereich von 100 µm bis 2000 µm, vorzugsweise im Dickenbereich von 125 µm bis 600 µm, und besonders bevorzugt im Dickenbereich von 200 µm bis 500 µm eingesetzt.
- Weil nach dem erfindungsgemäßen Verfahren bereits aus einlagigen Folien formstabile Folientiefziehteile erhalten werden, werden vorzugsweise einlagige Folien der vorstehend beschriebenen Art eingesetzt. "Einlagig" bezieht sich hier allein auf die Folie bzw. den Folienkörper und schließt zusätzliche aufgebrachte Schichten und Beläge aus anderen Materialien nicht ein. "Einlagig" umfasst zudem die vorangehend beschriebenen mehrschichtigen Koextrusionsfolien, welche als einlagige hergestellt und in das Verfahren eingesetzt werden, sowie die Laminat-Folien, welche ebenfalls als Gesamtfolie im Sinne von "einlagig" in das Verfahren eingesetzt werden. Eine "einlagige Folie" kann folglich bedruckt, metallisiert und/oder sonst wie beschichtet sein, wobei sonst wie beschichtet beispielsweise auch Aufbringung wenigstens einer weiteren Schicht mittels Verkleben und/oder Laminierung umfasst ohne darauf beschränkt zu sein. Wenigstens eine solche mittels Verkleben und/oder Laminierung aufgebrachte weitere Schicht kann auch eine solche aus einem nicht thermoplastischen Material sein. Diese einlagigen Folien sind wenigstens teilweise bedruckt, metallisiert und/oder sonst wie beschichtet worden, bevor das erfindungsgemäße High Pressure Forming bei erhöhter Folienoberflächentemperatur durchgeführt wird. Die Folien können beispielsweise auch mit einer verformbaren Schutzschicht, wie z.B. einer verformbaren Kratzfestbeschichtung, oder verformbaren haptischen Effektschicht, wie z.B. einer verformbaren Soft-Touch-Beschichtung (vgl.
EP-A 1647399 ), beschichtet worden sein, bevor das erfmdungsgemäße High Pressure Forming bei erhöhter Folienoberflächentemperatur durchgeführt wird. - Das erfindungsgemäß erhältliche, dreidimensional verformte Tiefziehteil ist beispielsweise mit einer, einem vorgegebenem Layout folgenden grafischen, funktionalen und/oder dekorativen Gestaltung versehen, die typischerweise als Hintergrund auf die Rückseite einer transparenten Folie aufgebracht ist, beispielsweise als Bedruckung, Metallisierung und/oder sonstige Beschichtungen und durch die Folienschicht hindurch wahrnehmbar ist. Daher werden vorzugsweise transparente Folienmaterialien eingesetzt. Auch eine transparente Folie kann an der zur Bedruckung, Metallisierung und/oder sonstige Beschichtung gegenüberliegende Oberfläche mit einer Oberflächenmattierung oder mit einer Streulackschicht versehen sein.
- Das erfindungsgemäße Verfahren ist besonders gut geeignet zur Erzeugung der am Armaturenbrett eines Kraftfahrzeugs vorgesehenen, ortsfesten Skalen, Skalenteile und Anzeigemittel der dort vorgesehenen Instrumente und Display-Einrichtungen, sowie weitere Symbole, Bilder und Piktogramme, die im Bedarfsfalle von auftreffendem oder durchscheinendem Licht beleuchtet werden und so eine optisch wahrnehmbare Anzeige liefern. Zu diesen Instrumenten gehört die Fahrzeugsgeschwindigkeitsanzeige, bzw. der Tachometer, dessen Anzeigeelemente häufig eine erhabene, ringförmige Anordnung mit Skalenstrichen aufweist, denen die Geschwindigkeit anzeigende Ziffern zugeordnet sind. Ein zentral angeordneter, verschwenkbarer Zeiger wird anhand der aktuellen Fahrzeuggeschwindigkeit auf einen bestimmten Skalenstrich hin ausgerichtet, um so anhand der zugeordneten Ziffer die aktuelle Fahrzeuggeschwindigkeit (km/h bzw. mph) anzuzeigen. Aufgrund dieser ringförmigen, zifferblattartigen Anordnung wird hier auch von Tachoscheiben gesprochen. In ähnlicher Weise ist das Anzeigeelement zur Anzeige der Umdrehungszahl des Motors ausgebildet; hier erfolgt typischerweise eine Anzeige in Ziffern x 100 pro Min. Ähnlich ausgebildete Anzeigemittel mit erhabener, halbkreisförmiger Ringstruktur dienen zur Anzeige der Tankfüllung und des Öldrucks im Motorraum. Anstelle der erhabenen ringförmigen Strukturen können diese Anzeigeelemente auch an ringförmigen Flächensegmenten angebracht sein, die gegenüber der Hauptebene kegelstumpfförmig (bei großen Kegelwinkeln von 160° und mehr) abfallen. Zusätzlich können häufig erhabene metallisierte Stege und andere Zierelemente vorgesehen sein. Ein beispielhaftes, erfindungsgemäß erzeugtes Produkt ist für ein Kombinationsinstrument vorgesehen und weist mittig einen transparenten Abschnitt für ein Navigationsdisplay, rechts davon eine Tachoscheibe und links davon die Drehzahlanzeige auf.
- Die zu diesen Anzeigeelementen gehörenden Skalenstriche, Ziffern, Beschriftungen, Symbole, Bilder, Piktogramme und dergleichen werden auf einer Oberfläche der anfänglich ebenen Folie aufgebracht; dies kann beispielsweise in einem mehrstufigen Siebdruckverfahren und/oder durch Aufbringung eines Coatings erfolgen, das in mehreren aufeinander folgenden Schritten je in flüssiger Schicht aufgetragen wird. Für diese alternative Aufbringung bietet sich beispielsweise Offsetdruck, Tiefdruck, Transferdruck oder Digitaldruck an. Vorzugsweise wird diese, einen vorgegebenen Layout folgende Bedruckung durch Siebdruck aufgetragen. Beim mehrstufigen Siebdruckverfahren wird häufig anfänglich zuerst eine schwarze Farbschicht aufgetragen, bei der im Negativdruck die später sichtbaren Skalenstricke, Ziffern, Beschriftungen, Symbole, Bilder, Piktogramme und dergleichen ausgespart sind; in späteren Druckschritten werden diese ausgesparten Stellen mit verschieden gefärbten Farbschichten hinterlegt.
- Zum Auftragen dieser Farbschichten dienen typischerweise Farblacke auf der Basis von Polycarbonat oder Polyesterpolyurethan. Hochtemperaturbeständige flexible Druckfarben zum Bedrucken von Kunststoff-Folien, die ausdrücklich den Bedingungen des hier vorgesehenen Höchstdruckverfahrens und gegebenenfalls einem nachfolgenden Insert Moulding standhalten, sind beispielsweise in dem Dokument
DE 198 32 570 C2 beschrieben. Das DokumentDE 101 51 281 A1 beschreibt Farblacke, die besonders gut für die Siebbedruckung von PMMA-Folien geeignet sind, und den Bedingungen der Höchstdruck-Umformung sowie möglicherweise einem nachfolgenden Insert Moulding standhalten. Speziell für diese Anwendungen geeignete flüssige Siebdruckverfahren werden beispielsweise handelsüblich von der Fa. PRÖLL KG, 91781 Weißenburg, Deutschland vertrieben. - Dickere Metallschichten und Metallisierungen können ebenfalls im Siebdruckverfahren aufgebracht werden. Dünnere Metallschichten mit Schichtdicken von 5 nm bis 250 nm, insbesondere von 15 nm bis 60 nm, die einerseits metallischen Glanz verleihen und andererseits lichtdurchlässig sind, können mit Hilfe von Physical Vapor Deposition (PVD) oder Chemical Vapor Deposition (CVD) oder mit Hilfe einer geeigneten Kombination dieser Verfahren aufgebracht werden. Die zur Erzeugung bestimmter Funktionen (etwa elektrische Kontaktierung) oder für bestimmte graphische oder dekorative Gestaltungsmuster nicht gewünschten, überflüssigen Metallschichtabschnitte können durch Laserbehandlung entfernt werden. Zu geeigneten Metallen gehören hier beispielsweise Aluminium, Titan, Chrom, Kupfer, Gold, Silber, Molybdän, Indium und Iridium sowie Metalllegierungen, wie z.B. Indium-, Zinn- oder KupferLegierungen, vorzugsweise Indium-Zinn-Legierungen, besonders bevorzugt Indium-Zinn-KupferLegierungen (vgl. z.B.
US-A 2008/0020210 ). - Auf die Metallschichten kann weiterhin wenigstens eine weitere Schicht aus einer oder mehreren elektrolumineszenten Verbindungen aufgebracht sein. Solche elektrolumineszenten Verbindungen sind dem Fachmann bekannt (vgl. z.B.
EP-A 1 647 399 ). Als elektrolumineszente Verbindung kann beispielsweise Zinksulfid, welches mit Silber oder Kupfer dotiert ist, eingesetzt werden. - Weiterhin können an dem zu verformenden Folienstück auch transparente Abschnitte verbleiben, in denen später das Display irgendwelcher Flüssigkristallanzeigen sichtbar wird. Auf der anderen, zu den Farbschichten gegenüber befindlichen Oberfläche wird häufig ein farbloser Strukturlack aufgetragen, der dem fertigen Produkt eine matte, nicht-spiegelnde Oberfläche verleiht. Nach der für den Einsatzzweck vorgesehenen, bestimmten Anordnung des Tiefziehteils wird sich - je aus der Sicht des Betrachters - die Strukturlackschicht an der Vorderseite des Tiefziehteils befinden, und die Farbschichten der grafischen Gestaltung werden sich an der Rückseite des Tiefziehteils befinden.
- Eine bevorzugte Ausführungsform des erfindungsgemäßen Verfahrens bezieht sich auf die Herstellung von Tachoscheiben und/oder Drehzahlmesserscheiben, welche die vorstehend erläuterte graphische, funktionale und gegebenenfalls dekorative Ausgestaltung aufweisen. Zur Herstellung solcher Tachoscheiben bzw. Drehzahlmesserscheiben werden transparente Folienstücke bereitgestellt und erfindungsgemäß umgeformt, die entsprechend einem vorgegeben Layout für Tachoscheiben bzw. Drehzahlmesserscheiben bedruckt, metallisiert und/oder sonst wie beschichtet worden sind.
- Eine ebene Folie, die auf der einen Oberfläche mit der vorstehend erläuterten, mehrschichtigen grafischen, funktionalen und/oder dekorativen Gestaltung versehen ist, und die auf der anderen Oberfläche eine Schicht aus farblosem Strukturlackaufweisen kann, wird mit Hilfe des erfindungsgemäßen Verfahrens zu einem dauerhaft dreidimensional verformten und formstabilen Tiefziehteil umgeformt. Hierbei verlangen die Abnehmer solcher Tiefziehteile eine extrem genaue Positionierung der grafischen, funktionalen und/oder dekorativen Gestaltung am fertigen Tiefziehteil. Die Abweichungen zwischen dieser Gestaltung an der ursprünglich ebenen Folie und der entsprechenden Gestaltung am fertigen Tiefziehteil betragen vorzugsweise nicht mehr als ± 0,1 mm.
- Die vorstehend genannten, wenigstens teilweise bedruckten, metallisierten und/oder sonst wie beschichteten Folien werden beim erfindungsgemäßen Verfahren in Form einzelner, zurecht geschnittener Folienstücke eingesetzt. Für solche vorzugsweise rechteckigen, kleineren Folienstücke können beispielsweise Abmessungen mit einer Länge von 160 mm bis 450 mm und mit einer Breite von 160 mm bis 305 mm vorgesehen werden. Folienstücke dieser Flächengröße lassen sich besonders leicht mit Hilfe handelsüblich zugänglicher Apparate (etwa Fa. HDVF KUNSTSTOFFMASCHINEN GMBH, 82377 Penzberg, Deutschland) zu den hier angestrebten Folientiefziehteilen verarbeiten. Größere Folienstücke können typischerweise eine Länge bis maximal 1.200 mm und eine Breite bis maximal 700 mm aufweisen.
- Je nach Größe des fertigen Tiefziehteils und dem zur Verfügung stehenden Fertigungsautomaten kann eine Mehr-Nutzen-Arbeitsweise vorgesehen werden. Für hochwertige Tachoscheiben und ähnliche Displayabdeckungen wird vorzugsweise mit Ein-Nutzen-Foliengrößen gearbeitet, weil hier mit der Ein-Nutzen-Arbeitsweise eine höhere Abbildungsgenauigkeit erzielt werden kann.
- Zur erfindungsgemäßen Verarbeitung wird das ebene Folienstück in definierter Anordnung auf einem rahmenartigen Träger, einer rahmenartigen Palette oder dergleichen angebracht, der/die nachstehend kurz als Rahmen bezeichnet wird.. Gut geeignet ist ein Rahmen mit einer Stegbreite von 50 mm bis 100 mm. Die randseitigen Abschnitte des Folienstücks liegen typischerweise mit einer Breite von 20 mm bis 30 mm auf diesen, den Rahmen bildenden Stegen auf. Für die definierte Anordnung sorgen kreisrunde-Positionierstifte, die von den Stegen abstehen und in Langlöcher eingreifen, welche in den Folienstück-Randabschnitten ausgespart sind. Langlöcher tragen der Flächenzunahme des Folienstücks bei der Erwärmung auf die erfindungsgemäß vorgesehene Folienoberflächentemperatur Rechnung.
- Das auf einem solchen Rahmen gehaltene Folienstück wird in eine Heizzone eingebracht und dort auf die Folienoberflächentemperatur erwärmt. Für diese Erwärmung können die üblichen und bekannten Erwärmungsmaßnahmen vorgesehen werden, wie etwa Konvektions-Heizung mit Hilfe von Heißluft oder Heizflüssigkeit bzw. Wärmebad als Wärmequelle oder Strahlungsheizung beispielsweise mit Hilfe von Infrarotstrahlung oder Quarzstrahlern. Erwärmungsmaßnahmen zum berührungslosen Erwärmen sind im Rahmen der Erfindung bevorzugt; Strahlungsheizung mit Hilfe von Infrarotstrahlung ist besonders bevorzugt. Weniger erwünscht ist die Hochfrequenz-Heizung, weil hier auch der Kernbereich auf die Oberflächentemperatur der Folie erwärmt wird. Vorzugsweise ist eine Heizzone vorgesehen, die zwei, flächengleiche, horizontal ausgerichtete und im Abstand zueinander sowie miteinander fluchtend angeordnete Heizfelder aufweist. Das auf dem Rahmen gehaltene Folienstück wird eine Zeit lang mittig zwischen und im gleichen Abstand zu den beiden Heizfeldern gehalten. Typischerweise hat jedes Heizfeld eine größere Fläche, als die miteinander fluchtende Anordnung aus Rahmen und Folienstück. Beispielsweise kann für ein Folienstück mit Abmessungen von 450 mm x 250 mm ein Heizfeld mit Abmessungen von 486 mm x 455 mm vorgesehen werden, um auch die randständigen Bereiche des Folienabschnitts innerhalb des Rahmens, die nicht auf dem Rahmen aufliegen, sicher auf die vorgesehene FolienoberflächenTemperatur zu erwärmen.
- Jedes Heizfeld besteht aus einer Anzahl aneinandergrenzender und individuell ansteuerbarer Infrarot-Flächenstrahler oder Quarzstrahlem. Um eine - nachstehend noch im Einzelnen erläuterte - vorzugsweise vorgesehene, differenzielle Erwärmung einzelner Folienstücksegmente am Folienabschnitt vornehmen zu können, werden vorzugsweise möglichst kleinformatige Infrarot-Flächenstrahler oder Quarzstrahler eingesetzt. Gut geeignet sind hier beispielsweise Vollkeramik-Strahler mit Abmessungen von 60 mm x 60 mm, die bei einer Leistungsaufnahme von 125 W eine Oberflächentemperatur von angenähert 300 °C annehmen. Infrarot-Flächenstrahler dieser Art werden beispielsweise von Fa. FRIEDRICH FREEK GMBH, 58708 Menden, Deutschland angeboten und vertrieben.
- Typischerweise ist ein Abstand zwischen der einen Strahleroberfläche und der anderen, gegenüber befindlichen Strahleroberfläche von etwa 50 mm bis 100 mm vorgesehen. Hier durch wird der von den jeweiligen, aneinander grenzenden Randbereichen benachbarter Infrarot-Flächenstrahler oder Quarzstrahler ausgehenden Wärmestrahlung erreicht. Die Auswirkungen der Flächenstrahlergrenzen werden minimiert, und es wird eine gleichmäßige Temperaturverteilung an der Folienoberfläche erreicht.
- Für das erfindungsgemäße Verfahren gut geeignet und vorzugsweise vorgesehen sind Heizfelder, die in Folienvorschubrichtung eine Anordnung aus 7 Reihen Vollkeramik-Strahlern dieser Art, sowie in Querrichtung eine Anordnung aus 6 Reihen Vollkeramik-Strahlern dieser Art aufweisen. Damit kann ein einzelnes Heizfeld aus 42 Vollkeramik-Strahlern dieser Art aufgebaut sein.
- Die mittlere Heizfeld-Oberflächentemperatur wird bei etwa 300 °C gehalten. Damit kann eine Grobsteuerung der Folienoberflächentemperatur über die Verweildauer eines gegebenen Folienstücks in der Heizzone erfolgen. Typischerweise wird das zu erwärmende Folienstück - je nach Schichtdicke - etwa 4 sec bis 12 sec lang in einer solchen Heizzone gehalten. Beispielsweise wird ein 300 µm dickes, Umgebungstemperatur (etwa 20°C) aufweisendes PC-Folienstück in einer Heizzone der vorstehend beschriebenen Art innerhalb einer Zeitspanne von etwa 6 sec auf die erfindungsgemäß vorgesehene Folienoberflächentemperatur von etwa 190°C aufgeheizt.
- Jeder Infrarot-Flächenstrahler oder Quarzstrahler dieser Art ist individuell ansteuerbar. Die Ansteuerung erfolgt über die elektrische Leistungsaufnahme. Eine höhere Leistungsaufnahme erzeugt eine höhere Oberflächentemperatur an einem gegebenen Infrarot-Flächenstrahler oder Quarzstrahler. Damit kann zusätzlich über die Steuerung der Leistungsaufnahme der einzelnen Infrarot-Flächenstrahler oder Quarzstrahler eine Feinsteuerung der Temperaturverteilung an der Oberfläche einzelner Folienstücksegmente erfolgen, die je einem bestimmten Infrarot-Flächenstrahler oder Quarzstrahler zugeordnet sind. Die Wirkung dieser Feinsteuerung ist umso größer, je niedriger die mittlere Oberflächentemperatur ist. Deshalb wird erfindungsgemäß die Erwärmung des Folienstücks in einer solchen Heizzone durchgeführt, die von zwei, miteinander fluchtenden Heizfeldern begrenzt ist, die je eine mittlere Heizfeld-Oberflächentemperatur von etwa 300 °C aufweisen.
- Um optimale Ergebnisse zu erzielen, erfordert das erfindungsgemäße Verfahren eine vergleichsweise genaue Steuerung und Kontrolle der Folienoberflächentemperatur am Folienabschnitt. Nach einer weiteren bevorzugten Ausführungsform des erfindungsgemäßen Verfahrens ist deshalb eine Erfassung der Oberflächentemperatur vorgesehen, auf welche der Folienabschnitt in der Heizzone erwärmt worden ist.
- Diese weitere, bevorzugte Ausgestaltung des erfindungsgemäßen Verfahrens ist dadurch gekennzeichnet, dass das Folienstück zur Erwärmung der Heizzone eine Zeitspanne lang im Abstand zu wenigstens einem, aus einer Anzahl individuell ansteuerbarer Infrarot-Flächenstrahler oder Quarzstrahler aufgebauten, Heizfeld gehalten wird; und das so erwärmte Folienstück auf dem Weg von der Heizzone zur Verformungszone eine Temperaturmess-Station passiert, in der mit Hilfe einer Wärmebildkammer die Temperaturverteilung an einer Folienoberfläche abgetastet, sichtbar gemacht und/oder auf sonstige Weise dargestellt wird.
- Zudem kann eine differenzielle Erwärmung vorgenommen werden, wozu jeder einzelne Infrarot-Flächenstrahler oder Quarzstrahler individuell so angesteuert wird,
- um die aus der Temperaturverteilung ersichtlichen Temperaturunterschiede am Folienabschnitt zu minimieren, und
- um wenigstens eine Seite des überwiegenden Folienabschnitts auf eine Folienoberflächentemperatur im oben genannten Bereich für das jeweilige Folienmaterial zu erwärmen, und
- um wahlweise einzelne ausgewählte Folienstücksegmente auf eine höhere Temperatur zu erwärmen, welche diese Folienoberflächentemperatur um wenigstens 3 °C und um nicht mehr als 10 °C übersteigt.
- Mit dieser Ausgestaltung des erfindungsgemäßen Verfahrens werden nachstehende Vorteile erzielt:
- Keramikinfrarotstrahler dieser Art emittieren ihre Wärmestrahlung im Wellenlängenbereich von 2,5 bis 10 µm. Die Erwärmung der Folie hängt vom Absorptionsvermögen und vom Reflexionsverhalten in diesem Wellenlängenbereich ab. Insbesondere die auf dem hier maßgeblichen Folienabschnitt befindliche, den späteren Verwendungszweck bestimmende Bedruckung, Metallisierung und/oder sonstige Beschichtung beeinflusst dieses Absorptionsvermögen'und Reflexionsverhalten. Ein dunkler bis schwarzer Beschichtungsabschnitt verstärkt dort die Wärmeaufnahme. Ein transparentes Fenster am Folienabschnitt oder ein heller Beschichtungsabschnitt vermindern die Wärmeaufnahme. Besonders stark vermindert eine metallische Beschichtung, hier etwa Al, Ti oder Cr die Wärmeaufnahme. Die in einer gegebenen Anordnung mit gegebenen Infrarot-Flächenstrahlern erzielbare Folienoberflächentemperatur hängt damit auch von der Art und Größe der Bedruckung, Metallisierung und/oder sonstigen Beschichtung des Folienabschnitts ab. Für eine genaue Steuerung und Kontrolle der Folientemperatur ist es deshalb wünschenswert, die Temperatur an der Folienoberfläche zu erfassen und darzustellen. Dies kann mit dieser bevorzugten Arbeitsweise erreicht werden.
- Für ein gegebenes Tiefziehteil, beispielsweise eine Instrumentenabdeckung mit einem rechts angeordneten Tacho, einem links angeordneten Drehzahlmesser und einem mittig angeordneten Navigationsdisplay müssen unterschiedliche Segmente des Folienabschnitts unterschiedlich stark verformt werden. Typischerweise benötigen stärkere geometrische Verformungen eine höhere Flexibilisierung des jeweiligen Folienstücksegmentes, die mit einer örtlich höheren Erwärmung des oder der betroffenen Folienstücksegmente(s) erzielt werden kann, im vorliegenden Beispiel etwa für die partiellen Außenbereiche für Tacho und Drehzahlmesser. In dem gering zu verformenden Mittenbereichen, etwa für das Navigationsdisplay, kann durch eine geringere Temperierung das Schwindungsverhalten reduziert, und damit die Toleranz des gesamten Zifferblattes verbessert werden. Auch eine exakte Abformung scharfkantiger Konturen und/oder die passgenaue Wiedergabe feiner Prägungen und Ziselierungen, die gegebenenfalls mit kleinen Durchbrüchen versehen sein können, kann eine stärkere Flexibilisierung eines gegebenen Folienstücksegmentes gegenüber dem umgebenden Folienmaterial möglich machen. Folglich kann auch das örtlich unterschiedliche Ausmaß der Verformung einzelner Folienstücksegmente eine örtlich unterschiedliche Erwärmung einzelner Folienstücksegmente erfordern, was mit Hilfe einer Erfassung der Oberflächentemperatur in den einzelnen Folienstücksegmenten und entsprechender Ansteuerung der gerade diese Folienstücksegmente erwärmenden Infrarot-Flächenstrahler gewährleistet werden kann.
- Schließlich kann durch entsprechende Ansteuerung und Einstellung unterschiedlicher Heiztemperaturen an verschiedenen einzelnen Infrarot-Flächenstrahlern ein "Verschieben" des aufgedruckten Musters oder Layouts an dem Folienabschnitt erzielt werden. In solchen Folienstücksegmenten, die auf eine mäßig höhere Temperatur erwärmt werden, als die reguläre, einheitliche Folienoberflächentemperatur, erfolgt eine stärkere Längenausdehnung gegenüber solchen Folienstücksegmenten, die nur auf die reguläre einheitliche Folienoberflächentemperatur erwärmt werden. Die sich stärker ausdehnende Seite (weil höher temperiert) verschiebt das aufgedruckte Muster oder Layout zur geringer ausdehnenden, weil kühleren Seite, Auf diese Weise können druckbedingte Positionsabweichungen zwischen 0,1 mm und 1,5 mm noch während des Verformungsprozesses korrigiert werden. Auch diese Maßnahme erfordert eine genaue Kenntnis der Temperaturverteilung an der Oberfläche des erwärmten Folienabschnitts, um gezielt solche Infrarot-Flächenstrahler ansteuern zu können, die einzelne Folienstücksegmente auf eine höhere Temperatur erwärmen sollen, als die reguläre einheitliche Folienoberflächentemperatur.
- Nach einer weiteren Ausgestaltung des erfindungsgemäßen Verfahrens, erfolgt deshalb eine Erwärmung einzelner Folienstücksegmente auf reine höhere Temperatur, als die reguläre einheitliche Folienoberflächentemperatur in solchen ausgewählten Folienstücksegmenten, in denen eine höhere Flexibilisierung des Folienmaterials erreicht werden soll. Insbesondere können hier solche Folienstücksegmente ausgewählt werden, in denen eine besonders starke Umformung der ursprünglich ebenen Folien erfolgen soll.
- Weiterhin kann diese höhere Flexibilisierung wegen der exakten Abformung scharfkantiger Konturen und/oder wegen der passgenauen Wiedergabe besonders feinteiliger Prägungen und/oder Ziselierungen sowie zur Korrektur druckbedingter Positionsabweichungen wünschenswert sein. In diesem Falle werden solche Folienstücksegmente für die Erwärmung auf die erhöhte Temperatur ausgewählt, in denen eine exakte Abformung scharfkantiger Konturen, eine passgenaue Wiedergabe besonders feinteiliger Prägungen und/oder Ziselierungen, sowie eine Korrektur druckbedingter Positionsabweichungen erreicht werden soll.
- Im Hinblick auf die hier in Frage kommenden Temperaturen im Bereich von 10 bis 65°C oberhalb der Vicat-Erweichungstemperatur B/50, in besonders bevorzugten Ausführungsformen um etwa 140°C für die Tiefziehteile aus Polymethylmethacrylat bzw. Poly(meth)acrylat (PMMA) sowie im Bereich um etwa 190°C für die Tiefziehteile aus Polycarbonat (PC) kommt als Wärmebildkamera typischerweise eine Infrarot-Linienkamera in Betracht, die für den Temperaturbereich 0 °C bis 400 °C ausgelegt ist und Temperaturstrahlung im Wellenbereich von 8 µm bis 14 µm erfasst und auswertet. Die Erfassung der Wärmestrahlung erfolgt mit Hilfe eines Zeilensensors der beispielsweise 128 oder 256 Messelemente aufweisen kann. Infrarot-Linienkameras dieser Art mit entsprechender Auswerteschaltung und Auswertesoftware sind handelsüblich zugänglich. Im Rahmen der vorliegenden Erfindung hat sich hier eine Infrarot-Kamera gut bewährt, die von DIAS INFRARED GMBH, 01217 Dresden, Deutschland unter der Handelsbezeichnung INFRALINE® vertrieben wird.
- Die Infrarot-Kamera INFRALI.NE® dient zur berührungsfreien, quantitativen und weitgehend entfernungsunabhängigen Aufnahme von Temperaturverteilungen an ortsfesten und bewegten Objekten. Sie wurde für den stationären Einsatz an Industrieumgebungen entwickelt und ist für Systemlösungen zur automatisierten Prozesskontrolle und -steuerung sowie der Messdatenverarbeitung an Maschinen und Anlagen einsetzbar.
- Die Kamera besteht aus einem Kamerakopf zum Betrieb notwendigen Baugruppen enthält. Aufgrund der im Allgemeinen abgesetzten Montage in der Nähe des zu überwachenden Prozesses oder zu überwachenden Objekte besitzt die Kamera keine Bedienelemente. Zur Steuerung, Überwachung und Messwertübertragung ist eine Datenschnittstelle in die Kamera integriert. In Verbindung mit einem PC kann die Programmierung und Messwertdatenerfassung erfolgen.
- Zur Darstellung und Auswertung von Messdaten kann zweckmäßigerweise die von MICROSOFT INC. zur Verfügung gestellte, bekannte Visualisierungssoftware PYROSOFT® benutzt werden, die auf PCs mit MS-Windows-Betriebssystem lauffähig ist. Anhand farblicher Kodierung und/oder ziffernmäßiger Angaben kann die gemessene Temperatur mit einer Genauigkeit von 1/10 °K angezeigt werden.
- Anhand der so erlangten Kenntnisse über die tatsächliche, "echte" Temperaturverteilung an der erwärmten Folienoberfläche, vorzugsweise an der Folienunterseite, können gezielt solche Infrarot-Flächenstrahler mit einer höheren elektrischen Leistungsaufnahme angesteuert werden, die solche Folienstücksegmente beheizen, die bislang - beispielsweise wegen der Besonderheiten der dort befindlichen Bedruckung, Metallisierung und/oder sonstigen Beschichtung - noch nicht die vorgesehene Folienoberflächentemperatur erreicht haben, oder die anderen ausgewählten Folienstücksegmente beheizen, in denen eine erhöhte Flexibilisierung des Folienmaterials erreicht werden soll, und die deshalb auf eine höhere Temperatur als die reguläre einheitliche Folienoberflächentemperatur erwärmt werden soll.
- Im Falle der beiden vorstehend erläuterten Heizfelder, die je aus 42 miteinander fluchtenden Infrarot-Flächenstrahlem aufgebaut sind, kann beispielsweise diese PYROSOFT®-Software so programmiert und ausgewertet werden, dass jedem miteinander fluchtenden Infrarot-Flächenstrahler-Paar ein Fenster oder Feld auf dem Bildschirm zugeordnet ist. Das ganze Folienstück wäre dann in 42 Folienstücksegmente aufgeteilt, und ein bestimmtes Folienstücksegment würde maßgeblich von einem bestimmten zugeordneten Infrarot-Flächenstrahler-Paar erwärmt werden. Die Farbkodierung in einem bestimmten Fenster am Bildschirm und/oder die entsprechende ziffemmäßige Temperaturangabe zeigt die Oberflächentemperatur in dem zugeordneten Folienstücksegment an, und im Falle von Korrekturbedarf könnte die elektrische Leistung verändert werden, die dem einen Infrarot-Flächenstrahler oder den beiden Infrarot-Flächenstrahlern dieses, dem bestimmten Folienstücksegment zugeordneten Infrarot-Flächenstrahler-Paares zugeführt wird.
- Je nach Art und Besonderheit des herzustellenden Folientiefziehteils kann die erfindungsgemäß vorgesehene differenzielle Erwärmung des Folienabschnitts in der Weise durchgeführt werden, dass zwingend ein ausgewähltes Folienstücksegment oder mehrere ausgewählte Folienstücksegmente auf die erhöhte Temperatur erwärmt werden, welche die Folienoberflächentemperatur für das jeweilige Folienmaterial um wenigstens 3 °C und um nicht mehr als 10 °C übersteigt.
- Im Rahmen der vorliegenden Erfindung ist typischerweise vorgesehen, dass nicht mehr als 20 % aller Folienstücksegmente auf die erhöhte Temperatur erwärmt werden, welche die für ein bestimmtes Folienmaterial vorgesehene Folienoberflächentemperatur um wenigstens 3 °C und um nicht mehr als 10 °C übersteigt.
- Es ist nicht erforderlich, dass der Verfahrensschritt "Messung und Auswertung der Temperaturverteilung an einer Folienoberfläche" während des gesamten Produktionsverfahren zur Herstellung aller Tiefziehteile einer gegebenen Art durchgeführt wird. Häufig ist es ausreichend, wenn dieser Verfahrensschritt bei Einrichtung einer Produktion durchgeführt wird, und anschließend in regelmäßigen Abständen bzw. nach Erzeugung einer gegebenen Anzahl Tiefziehteile wiederholt wird, um die gleich bleibende einheitliche Qualität dieser Tiefziehteile zu gewährleisten und zu sichern.
- Folglich ist im Rahmen der vorliegenden Erfindung auch eine Ausführungsform des erfindungsgemäßen Verfahrens, zur Herstellung einer Anzahl tiefgezogener Folienteile gleicher Art vorgesehen, bei welcher nur bei der Herstellung eines Teils aller tiefgezogenen Folienteile dieser Art der Verfahrensschritt der Messung und Auswertung der Temperaturverteilung an einer Folienoberfläche durchgeführt wird, und bei der Herstellung des restlichen Anteils der tiefgezogenen Folienteile dieser Art dieser Verfahrensschritt nicht ausgeführt wird. Häufig ist es ausreichend, wenn dieser Verfahrensschritt nur bei der Herstellung von wenigstens 20 % aller tiefgezogenen Folienteile einer gegebenen Art ausgeführt wird. Häufig ist es ausreichend, wenn dieser Verfahrensschritt nur bei der Herstellung von wenigstens 20 % aller tiefgezogenen Folienteile einer gegebenen Art ausgeführt wird.
- Das Folienstück wird nach Erreichung der erfindungsgemäßen vorgesehenen Folienoberflächentemperatur rasch aus der Heizzone in die Verformungszone überführt, ohne dass eine merkliche Abkühlung des Folienstücks erfolgt. Vorzugsweise wird das Folienstück nach Erwärmung auf die je vorgesehene Folienoberflächentemperatur sofort und innerhalb einer Zeitspanne kleiner 2 sec in die Verformungszone überführt und dort sofort und schlagartig verformt. Hier werden zwei Ziele verfolgt und erreicht. Zum einen soll wenigstens eine Seite des Folienabschnitts bei dieser schlagartigen, unter hohem Druckmitteldruck erfolgenden Verformung noch im Wesentlichen die erfindungsgemäß vorgesehene Folienoberflächentemperatur aufweisen. Zum anderen ist es vorteilhaft, wenn der Kernbereich des Folienabschnitts bei dieser schlagartigen Verformung eine Kembereichstemperatur aufweist, die niedriger ist, als diese Folienoberflächentemperatur. Vorzugsweise kann bei dieser schlagartigen Verformung die Kembereichstemperatur um wenigstens 10 °C niedriger sein, als die jeweilige Folienoberflächentemperatur. Noch weiter bevorzugt wird das Folienstück nach Erwärmung auf die je vorgesehene Folienoberflächentemperatur sofort und innerhalb einer Zeitspanne kleiner 5 sec, besonders bevorzugt kleiner 2 sec, ganz besonders bevorzugt kleiner 1 sec in die Verformungszone überführt und dort sofort und schlagartig verformt. Hierdurch lässt sich eine Verbesserung der Abbildungsgenauigkeit bei der schlagartigen Verformung erzielen.
- Auch wenn das erwärmte Folienstück auf dem Weg von der Heizzone zur Verformungszone die Temperaturmess-Station passiert und dabei mit Hilfe der Wärmebildkammer die Temperaturverteilung an der Folienoberfläche abgetastet, sichtbar gemacht und/oder auf sonstige Weise dargestellt wird, wird das Folienstück nach Erwärmung auf die je vorgesehenen Folienoberflächentemperatur sofort und vorzugsweise innerhalb einer Zeitspanne kleiner 5 sec, besonders bevorzugt kleiner 2 sec, ganz besonders bevorzugt innerhalb einer Zeitspanne kleiner 1 sec in die Verformungszone überführt und dort sofort und schlagartig verformt.
- In der Verformungszone wird die bekannte Hochdruckumformung bzw. das bekannte High Pressure Forming an dem so erwärmten Folienstück vorgenommen. Hierzu können die aus dem Dokument
EP 0 371 425 81 bekannten Maßnahmen angewandt sowie die dort beschriebenen Vorrichtungen benutzt werden. Mit dieser ausdrücklichen Bezugnahme soll der hier relevante Inhalt dieses Dokuments - soweit zum Verständnis und zur Durchführung des erfindungsgemäßen Verfahrens hilfreich - auch zum Bestandteil der vorliegenden Unterlagen gemacht werden. - Des Weiteren kann die Hochdruckumformung des so erwärmten Folienstücks auch in einer Formstation mit Hilfe eines Formwerkzeugs durchgeführt werden, die/das in dem Dokument
DE 41 13 568 C1 beschrieben ist. Mit dieser ausdrücklichen Bezugnahme soll auch der hier relevante Inhalt des zuletzt genannten Dokuments - soweit zum Verständnis und zur Durchführung des erfmdungsgemäßen Verfahrens hilfreich - zum Bestandteil der vorliegenden Unterlagen gemacht werden. - In der Verformungszone kann eine Presse entsprechend der aus dem Dokument
DE 41 13 568 C1 bekannten Bauart vorgesehen werden. Der das erwärmte Folienstück haltende Rahmen wird in das geöffnete Formwerkzeug eingesetzt und passgenau an der unteren Werkzeughälfte festgelegt. Der untere Formtisch wird angehoben, bis das Formwerkzeug geschlossen ist. In die, über dem zu verformenden Folienstück befindliche, Formmulde wird fluides Druckmittel, typischerweise Druckluft eingeleitet. Typischerweise wird schlagartig unter einem Druckmitteldruck von 20 bis 300 bar verformt. Vorzugsweise wird mit Hilfe von erwärmter Druckluft verformt, die bei Kontaktierung des Folienstücks eine Temperatur von etwa 60 bis 80 °C aufweist. Anschließend wird die Formmulde entlastet, der untere Formtisch wird abgesenkt, das Formwerkzeug wird geöffnet, die verformte Folie wird vom Werkzeug gelöst bzw. entformt, der weiterhin das abgekühlte und verformte Folienstück haltende Rahmen wird von der unteren Werkzeughälfte gelöst und in die Ausgangsposition zurückgefahren. Dort wird das verformte Folienstück von Hand oder automatisch vom Rahmen gelöst und nach Bedarf zurecht geschnitten, um das gewünschte Tiefziehteil zu erhalten. - Die nachfolgenden Beispiele und Vergleichsbeispiele dienen zur weiteren Erläuterung der vorliegenden Erfindung ohne diese einzuschränken.
- Die Zeichnung zeigen mit
- Fig. 1
- anhand einer schematischen Seitenansicht eine Ausführungsform einer Vorrichtung zur Durchführung des erfindungsgemäßen Verfahrens;
- Fig.2
- ein erfindungsgemäß hergestelltes PC-Tiefziehteil für ein Kombinationsinstrument mit Tachoscheibe und mit Zifferblatt für einen Drehzahlmesser, im Wesentlichen in Originalgröße, wobei die verschiedenen Farben einzelner Symbole und Elemente schriftlich angegeben sind; und
- Fig.3
- ein nach dem erfindungsgemäßen Verfahren hergestelltes PMMA-Zifferblatt für einen Drehzahlmesser bzw. eine "Drehzahlmesserscheibe", im Wesentlichen in Originalgröße, wobei die verschiedenen Farben einzelner Symbole und Elemente schriftlich angegeben sind.
- An der Vorrichtung nach
Fig.1 sind je in an sich bekannter Form eine Be-und Entladezone 10, eine Heizzone 20, eine Temperaturmess-Station 30 und eine Verformungszone 40 ausgebildet. Ein an Schienen 2 geführter Schlitten 3 transportiert einen rechteckigen Rahmen 4 aus der Be- und Entladezone 10 über die Heizzone 20 und die Temperaturmess-Station 30 in die Verformungszone 40 und zurück. Zum Antrieb des Schlittens 3 dient ein - nicht dargestellter - für hohe Beschleunigungen und hohe Vorschubgeschwindigkeit ausgelegter Schrittmotor; beispielsweise kann der Schlitten 3 mit einer Geschwindigkeit von 1.400 mm/sec verstellt werden. - In der Be- und Entladezone 10 wird von Hand oder automatisch ein ebenes, bedrucktes, metallisiertes und/oder sonst wie beschichtetes und zu verformendes Folienstück 5 in definierter Anordnung an dem Rahmen 4 angebracht. Das Folienstück 5 ist lediglich mit seinen randseitigen Abschnitten am Rahmen 4 abgestützt.
- Die Heizzone 20 ist von einem oberen Heizfeld 21 und von einem unteren Heizfeld 22 begrenzt. Seide Heizfelder 21 und 22 sind flächengleich ausgebildet, horizontal ausgerichtet und im Abstand von etwa 100 mm zueinander sowie miteinander fluchtend angeordnet. Jedes Heizfeld 21, 22 weist beispielsweise zweiundvierzig Infrarot-Flächenstrahler 23 auf, die je Abmessungen von 60 x 60 mm haben und je individuell ansteuerbar sind.
- In der Temperaturmess-Station 30 befindet sich eine Wärmebildkamera 31, welche die von der Unterseite des erwärmten Folienstücks 5 abgestrahlte, hier schematisch angedeutete Temperaturstrahlung 32 erfasst und auswertet. Die so gewonnene Temperaturverteilung kann auf einem - nicht dargestellten Bildschirm - dargestellt werden, wobei jedem, miteinander fluchtenden Infrarot-Strahler-Paar 23'/23" je ein Feld auf dem Bildschirm zugeordnet sein kann. Die Temperaturverteilung an der Oberfläche der Folienstück-Unterseite kann anhand einer Farbcodierung und/oder ziffernmäßig angegeben werden.
- Die Verformungszone 40 kann mit einer Presse 41 mit Formwerkzeug 42 ausgerüstet sein, wie im Dokument
DE 41 13 568 C1 beschrieben. An dieses Formwerkzeug 42 ist ein Druckluftbehälter 43 angeschlossen, aus dem Druckluft bereitgestellt wird. Der vom Schlitten 3 in das geöffnete Formwerkzeug 42 eingeführte Rahmen 4 wird innerhalb des Formwerkzeugs 42 passgenau angeordnet. Das Formwerkzeug 42 wird mit Hilfe der Presse 41 geschlossen, und das am Rahmen 4 gehaltene Folienstück 5 wird unmittelbar und direkt mit erwärmter Druckluft unter einem Druckmitteldruck von beispielsweise 160 bar beaufschlagt und schlagartig isostatisch an die Kontur des Formwerkzeugs 42 angeformt. Bei dieser Verformung weist wenigstens eine Seite des Folienabschnitts des am Rahmen 4 gehaltenen Folienstücks 5 die erfindungsgemäß vorgesehene Folienoberflächentemperatur auf. - Nach dieser Verformung wird das Formwerkzeug 42 geöffnet, und der Schlitten 3 transportiert den Rahmen 4 mit dem verformten Folienstück bzw. Tiefziehteil zurück in die Be- und Entladezone 10. Dort kann das Tiefziehteil automatisch oder von Hand vom Rahmen 4 gelöst und aus der Vorrichtung 1 entnommen werden.
- Das in
Fig. 2 dargestellte Tiefziehteil hat eine Länge von 360 mm und eine Höhe von 105 mm. Die Tachoscheibe und die Drehzahlmesserscheibe haben je einen Durchmesser von 113 mm. Die Platte der Scheibe ist schwarz, die Ziffern sind weiß vor einem grauen Hintergrund, und das Randstreifensegment zwischen den Ziffern "5 "und "6" der Drehzahlmesserscheibe ist rot. Die zwischen den beiden Scheiben angeordneten Piktogramme sind durchscheinend und werden je bei Aktivierung einer je zugeordneten Hintergrundbeleuchtung sichtbar. Auffällig ist ein anfänglich stufenförmiger und anschließend kegelförmiger Anstieg von der Plattenebene bis zu einem silberfarbenen Randwulst, der etwa 12 mm oberhalb der Plattenebene endet. An diesem silberfarbenen Randwulst sind die weißen, auf, die Ziffern zu zeigenden Markierungen von sehr feinen schwarzen Randstreifen begrenzt. - Als Ausgangsmaterial diente eine 375 µm dicke, auf einer Oberfläche fein mattierte PC-Folie (Makrofol® OE von BAYER MATERIALSCIENCE AG), die auf der nicht mattierten Oberfläche im mehrstufigen Siebdruckverfahren mit den vorstehend genannten, hochtemperaturbeständigen und flexiblen Farblacken bedruckt worden ist. Der silberfarbene Ring wurde mit Hilfe einer Al-Bronze-Suspension aufgebracht.
- Die so bedruckten, ebenen Folienstücke wurden - ohne vorausgegangene Temperbehandlung - in der Heizzone auf die in der nachstehenden Tabelle 1 angegebenen Folienoberflächentemperaturen erwärmt; die Verweildauer in der Heizzone kontrolliert die erreichte Folienoberflächentemperatur. Die Folienoberflächentemperatur wurde mit Hilfe der Wärmebildkamera an der Folienunterseite gemessen. Beim erfinderischen Beispiel 3 wurden die den Randwulst bildenden Folienstücksegmente auf eine erhöhte Temperatur erwärmt, welche die Folienoberflächentemperatur um etwa 5 °C überstieg; hierzu wurden die, diesen ausgewählten Folienstücksegmenten zugeordneten Infrarot-Flächenstrahler-Paare mit einer höheren elektrischen Leistungsaufnahme angesteuert.
- Nach Erreichung der je angegebenen Folienoberflächentemperatur wurde die Folie sofort und schnell (innerhalb einer Zeitspanne kleiner 1 sec) in die Verformungszone überführt und dort sofort und schlagartig umgeformt. Zur Umformung wurde das weiterhin die jeweilige Folienoberflächentemperatur aufweisende Folienstück mit etwa 70 °C warmer Druckluft unter einem Druckluftdruck von 160 bar beaufschlagt. Die Hochtemperaturphase von Erreichung der Folienoberflächentemperatur bis zum Abschluss der Verformung eines gegebenen Folienstücks dauerte weniger als 5 sec.
- Die Ergebnisse sind in Tabelle 1 dargestellt.
- Die in
Fig. 3 dargestellte Drehzahlmesserscheibe hat einen Durchmesser von 100 mm. Die Platte ist schwarz, die Beschriftung einschließlich der Ziffern ist weiß, und die Randstreifensegmente zwischen den Ziffern 40 und 60 sind rot. Die um die zentrale Öffnung herum gruppierten Piktogramme sind durchscheinend und werden je bei Aktivierung einer je zugeordneten Hintergrundbeleuchtung sichtbar. Auffällig ist der silberfarbene, kegelförmig ansteigende Randwulst, der 5 mm oberhalb der Plattenebene endet. An diesem silberfarbenen Randwulst sind die weißen, auf die Ziffern zu zeigenden Markierungen von sehr feinen schwarzen Randstreifen begrenzt. - Als Ausgangsmaterial diente eine 250 µm dicke, glasklare PMMA-Folie (Plexiglas® Film "Clear 99524" von Röhm GmbH & Co. KG), die auf einer Oberfläche in mehreren Stufen mit temperaturbeständigen und flexiblen Farblacken entsprechend der graphischen Gestaltung des Zifferblattes des Drehzahlmessers nach
Fig. 3 bedruckt worden ist. Der silberfarbene Ring ist mit Hilfe einer Al-Bronze-Suspension aufgebracht worden. Auf der anderen Oberfläche, der späteren Vorderseite, ist eine Strukturlackschicht aufgebracht worden, um einen "Matteffekt" bzw. die geforderte Haptik zu erreichen. Zusätzlich ist auf dieser späteren Vorderseite eine Hardcoat-Beschichtung aufgebracht worden, die eine zusätzliche Verbesserung der Kratzbeständigkeit der Oberfläche des Tiefziehteils bewirkte. - Die Ergebnisse sind in Tabelle 2 dargestellt.
Tabelle 1 Verformung einer PC-Folie bei verschiedenen Temperaturen Beispiel Oberflächentemperatur der Folie Kerntemperatur* der Folie Verformergebnis Oberflächenbeschaffenheit Kommentar Vergleichsbeispiel 1 150 °C 130 °C Zifferblatt in sich verdreht/verspannt; Bodenfläche nicht plan; Farbaufbruch; ungenaue Ausformung Struktur bleibt erhalten; Rissbildung im Material erkennbar; (Schwangerschaftsstreifen) Verformungsprozess zu kalt, Folien-material nicht genügend flexibilisiert erfinderisches Beispiel 1 176 °C 154 °C Reduzierung der Spannungen; Bodenfläche weiterhin nicht plan (Bombage); verbesserte Ausformung Keine Veränderung der Struktur; deutliche Reduzierung der Rissbildung tendenzielle Verbesserung des Verformungsprozesses- ; ungenügende geometrische Stabilität des Zifferblattes erfinderisches Beispiel 2 192 °C 173 °C nahezu spannungsfreies Zifferblatt, d.h. sehr gute Planlage nach Vereinzelung; akkurate Ausformung aller Radien und Übergänge; Keine Beschädigung des Farbsystems erkennbar Struktur unbeschädigt; keine Rissbildung Folie bleibt auch nach dem Stanzen formstabil; rotationssymetrische Anordnung/Positionierung der Symbolik gleichbleibend erfinderisches Beispiel 3 192 °C, einige Folienstück-Segmente 197 °C 174 °C keine Spannungen erkennbar; Zifferblatt liegt absolut plan; Farbsystem in Ordnung; keine Be-Schädigung an Folie oder Farbsystems sichtbar entsprechend der Anforderung; Matteffekt und Haptik in Ordnung optimale Kombination der Oberflächen- und Kerntemperatur; Folie bleibt auch nach dem Stanzen formstabil; rotationssymetrische Anordnung/Positionierung der Symbolik gleich bleibend. Vergleichsbeispiel 2 210 °C 197 °C nahezu spannungsfreies Zifferblatt, d.h. sehr gute Planlage nach Vereinzelung; akkurate Ausformung aller Radien und Übergänge, leichtes "Überwulsten" des Randes, leichte Blasenbildung durch Ausdiffundieren des Lösemittels Struktur der Oberfläche wird Beschädigt; mattschwarzer Folienanteil wirkt "speckig" (Glanzgradbildung) Verformungsprozess zu heiß, Folienstruktur wird plastisch, Positionierung der Symbole verändert sich/nicht wiederhol-genau: Farbsystem wirft Blasen; Ausformung i.O. Erscheinungsbild Farbe und Struktur n.i.O.; * die Kerntemperatur ist anhand verschiedener interner Beobachtungen und Erfahrungswerte geschätzt worden Tabelle 2 Verformung einer PMMA-Folie bei verschiedenen Temperaturen Beispiel Oberflächen temperatur der Folie Kerntemperatur* der Folie Verformergebnis Oberflächenbeschaffenheit Kommentar Vergleichsbeispiel 3 100°C 90 °C negative; Folie gerissen /aufgebrochen Verformungsprozess zu kalt, Folien-material bei dieser Temperatur zu spröde; keine Verformung möglich Vergleichsbeispiel 4 120 °C 110 °C Folie nicht gebrochen; Ausformung nicht optimal-Weissbruch; deutliche Spannungen im Verformbereich; Abrisse innerhalb des Folienmaterials erkennbar; Oberfläche nicht homogen Verformung möglich; Material immer noch zu spröde; ungenügende geometrische Stabilitär des Ziffernblattes; Weissbruch verändert Erscheinungsbild des Farbaufbaus erfinderisches Beispiel 4 140 °C 130 °C Spannungsfreies Ziffernblatt, d.h. sehr gute Planlage nach Vereinzelung; scharfkantige Ausformung aller Radien und Übergänge, partieller Weissbruch; keine Beschädigung des Farbsystems erkennbar keine Abrisse sichtbar; unveränderte Folienerscheinung minimaler partieller Weissbruch erfinderisches Beispiel 5 140 °C, einige Folienstück-Segmente 145 °C 135 °C Spannungsfreies Ziffernblatt, d.h. sehr gute Planlage nach Vereinzelung; scharfkantige Ausformung aller Radien und Übergänge, kein Weissbruch; keine Beschädigung des Farbsystems erkennbar keine Abrisse sichtbar; unveränderte Folienerscheinung optimale Kombination der Oberflächen- und Kerntemperatur; Folie absolut plan; rotationssymetrische Anordnung/Positionierung der Symbolik gleichbleibend; Durch partielle Erwärmung tritt kein Weissbruch auf; gleichbleibende Wiederholbarkeit gewährleistet Vergleichsbeispiel 5 160 °C 150 °C Starkes Schwindungsverhalten der Seitenränder; Ausformung scharfkantig; kein Weissbruch; Farbe Schwarz wirkt bläulich Transparente Bereich der Folie wirken "neblig"; Erscheinungsbild der Folie verändert sich Verformungsprozess zu heiß, Folienstruktur/Transparenz verändert sich; auffällig starke Schwindung; Positionierung der Symbole variiert/nicht wiederholgenau * die Kerntemperatur ist anhand verschiedener interner Beobachtungen und Erfahrungswerte geschätzt worden
dadurch gekennzeichnet, dass
eine solche Erwärmung vorgenommen wird, damit wenigstens eine Seite des gesamten Folienabschnitts oder des überwiegenden Teils des Folienabschnitts eine Folienoberflächentemperatur im Bereich von 10 bis 65 °C, bevorzugt von 15 bis 65°C, besonders bevorzugt von 20 bis 65°C, ganz besonders bevorzugt von 25 bis 60°C oberhalb der Vicat-Erweichungstemperatur B/50 aufweist.
Claims (15)
- Verfahren zur Herstellung eines, wenigstens teilweise bedruckten, metallisierten und/oder sonst wie beschichteten, tiefgezogenen Folienteils, mit wenigstens nachstehenden Verfahrensschritten:- es wird ein, ebenes, auf einer oder auf beiden Oberfläche(n) wenigstens teilweise bedrucktes, metallisiertes und/oder sonst wie beschichtetes Folienstück aus wenigstens einem thermoplastischen Kunststoff bereitgestellt, das wenigstens einen Folienabschnitt umfasst, der hinsichtlich Größe und Bedruckung, Metallisierung und/oder Beschichtung dem herzustellenden Tiefziehteil entspricht;- dieses Folienstück wird in definierter Anordnung an einem Rahmen angebracht, wobei lediglich die randseitigen Abschnitte des Folienstücks auf dem Rahmen aufliegen;- das so auf dem Rahmen aufliegende Folienstück wird in eine Heizzone eingebracht, und dort wenigstens der Folienabschnitt auf eine vorgegebene Temperatur erwärmt; und- das so erwärmte Folienstück wird anschließend rasch in eine Verformungszone eingebracht und dort unmittelbar und direkt mit einem fluiden Druckmittel unter einem Druckmitteldruck größer 20 bar beaufschlagt und innerhalb einer Zeitspanne kleiner 5 Sekunden isostatisch zu dem gewünschten Tiefziehteil verformt,dadurch gekennzeichnet, dass eine solche Erwärmung vorgenommen wird, damit wenigstens eine Seite des gesamten Folienabschnitts oder des überwiegenden Teils des Folienabschnitts eine Folienoberflächentemperatur im Bereich von 10 bis 65 °C oberhalb der Vicat-Erweichungstemperatur B/50 aufweist.
- Verfahren gemäß Anspruch 1, dadurch gekennzeichnet, dass es sich bei dem thermoplastischen Kunststoff um Polycarbonate oder Copolycarbonate auf Basis von Diphenolen, Poly- oder Copolyacrylate, Poly- oder Copolymethacrylate, Poly- oder Copolymere mit Styrol, thermoplastische Polyurethane, Polyolefine, Poly- oder Copolykondensate der Terephthalsäure oder Mischungen aus diesen handelt.
- Verfahren gemäß Anspruch 1 oder 2 zur Herstellung eines, wenigstens teilweise bedruckten, metallisierten und/oder sonst wie beschichteten, tiefgezogenen Folienteils, mit wenigstens nachstehenden Verfahrensschritten:- es wird ein, ebenes, auf einer oder auf beiden Oberfläche(n) wenigstens teilweise bedrucktes, metallisiertes und/oder sonst wie beschichtetes Folienstück aus Polycarbonat bereitgestellt, das wenigstens einen Folienabschnitt umfasst, der hinsichtlich Größe und Bedruckung, Metallisierung und/oder Beschichtung dem herzustellenden Tiefziehteil entspricht;- dieses Folienstück wird in definierter Anordnung an einem Rahmen angebracht, wobei lediglich die randseitigen Abschnitte des Folienstücks auf dem Rahmen aufliegen;- das so auf dem Rahmen aufliegende Folienstück wird in eine Heizzone eingebracht, und dort wenigstens der Folienabschnitt auf eine vorgegebene Temperatur erwärmt; und- das so erwärmte Folienstück wird anschließend rasch in eine Verformungszone eingebracht und dort unmittelbar und direkt mit einem fluiden Druckmittel unter einem Druckmitteldruck größer 20 bar beaufschlagt und innerhalb einer Zeitspanne kleiner 5 Sekunden isostatisch zu dem gewünschten Tiefziehteil verformt,dadurch gekennzeichnet, dass eine solche Erwärmung vorgenommen wird, damit wenigstens eine Seite des gesamten Folienabschnitts oder des überwiegenden Teils des Folienabschnitts eine Folienoberflächentemperatur im Bereich von 180 °C bis 200 °C aufweist.
- Verfahren nach Anspruch 3, dadurch gekennzeichnet, dass das Folienstück zur Erwärmung in der Heizzone eine Zeitspanne lang im Abstand zu wenigstens einem, aus einer Anzahl individuell ansteuerbarer Infrarot-Flächenstrahler aufgebauten, Heizfeld gehalten wird; und das so erwärmte Folienstück auf dem Weg von der Heizzone zur Verformungszone eine Temperaturmess-Station passiert, in der mit Hilfe einer Wärmebildkammer die Temperaturverteilung an einer Folienoberfläche abgetastet, sichtbar gemacht und/oder auf sonstige Weise dargestellt wird;
und dass eine differentielle Erwärmung vorgenommen wird,
wozu jeder einzelne Infrarot-Flächenstrahler individuell so angesteuert wird,- um die aus der Temperaturverteilung ersichtlichen Temperaturunterschiede am Folienabschnitt zu minimieren, und- um wenigstens eine Seite des überwiegenden Folienabschnitts auf eine Folienoberflächentemperatur im Bereich von 180 °C bis 200 °C zu erwärmen, und- um wahlweise einzelne ausgewählte Folienstücksegmente auf eine höhere Temperatur zu erwärmen, welche diese Folienoberflächentemperatur um wenigstens 3 °C und um nicht mehr als 10 °C übersteigt. - Verfahren nach Anspruch 3 oder 4, dadurch gekennzeichnet, dass wenigstens eine Seite des gesamten Folienabschnitts oder des überwiegenden Teils des Folienabschnitts auf eine Folienoberflächentemperatur im Bereich von 185 °C bis 195 °C erwärmt wird.
- Verfahren gemäß Anspruch 1 oder 2 zur Herstellung eines, wenigstens teilweise bedruckten, metallisierten und/oder sonst wie beschichteten, tiefgezogenen Folienteils, mit wenigstens nachstehenden Verfahrensschritten:- es wird ein, ebenes auf einer oder auf beiden Oberflächen, wenigstens teilweise bedrucktes, metallisiertes und/oder sonst wie beschichtetes Folienstück aus Polymethylmethacrylat oder aus Poly(meth)acrylat bereitgestellt, das wenigstens einen Folienabschnitt umfasst, der hinsichtlich Größe und Bedruckung, Metallisierung und/oder Beschichtung dem herzustellenden Tiefziehteil entspricht;- dieses Folienstück wird in definierter Anordnung an einem Rahmen angebracht, wobei lediglich die randseitigen Abschnitte des Folienstücks auf dem Rahmen aufliegen;- das so auf dem Rahmen aufliegende Folienstück wird in eine Heizzone eingebracht, und dort wenigstens der Folienabschnitt auf eine vorgegebene Temperatur erwärmt; und- das so erwärmte Folienstück wird anschließend rasch in eine Verformungszone eingebracht und dort unmittelbar und direkt mit, einem fluiden Druckmittel unter einem Druckmitteldruck größer 20 bar beaufschlagt und innerhalb einer Zeitspanne kleiner 5 Sekunden isostatisch zu dem gewünschten Tiefziehteil verformt,dadurch gekennzeichnet, dass eine solche Erwärmung vorgenommen wird, damit wenigstens eine Seite des gesamten Folienabschnitts oder des überwiegenden Teils des Folienabschnitts eine Folienoberflächentemperatur im Bereich von 130°C bis 150°C aufweist.
- Verfahren nach Anspruch 6, dadurch gekennzeichnet, dass das Folienstück zur Erwärmung in der Heizzone eine Zeitspanne lang im Abstand zu wenigstens einem, aus einer Anzahl individuell ansteuerbarer Infrarot-Flächenstrahler aufgebauten, Heizfeld gehalten wird; und das so erwärmte Folienstück auf dem Weg von der Heizzone zur Verformungszone eine Temperaturmess-Station passiert, in der mit Hilfe einer Wärmebildkammer die Temperaturverteilung an einer Folienoberfläche abgetastet, sichtbar gemacht und/oder auf sonstige Weise dargestellt wird; und
dass eine differenzielle Erwärmung vorgenommen wird,
wozu jeder einzelne Infrarot-Flächenstrahler individuell so angesteuert wird,- um die aus der Temperaturverteilung ersichtlichen Temperaturunterschiede am Folienabschnitt zu minimieren, und- um wenigstens eine Seite des überwiegenden Folienabschnitts auf eine Folienoberflächentemperatur im oben genannten Bereich für das jeweilige Folienmaterial zu erwärmen, und- um wahlweise einzelne ausgewählte Folienstücksegmente auf eine höhere Temperatur zu erwärmen, welche diese Folienoberflächentemperatur um wenigstens 3 °C und um nicht mehr als 10 °C übersteigt. - Verfahren nach Anspruch 4 oder 7, dadurch gekennzeichnet, dass solche Folienstücksegmente ausgewählt werden, in denen eine höhere Flexibilisierung des Folienmaterials erreicht werden soll.
- Verfahren nach Anspruch 8, dadurch gekennzeichnet, dass solche Folienstücksegmente ausgewählt werden, in denen eine besonders starke Umformung der ursprünglich ebenen Folie erfolgen soll oder in denen eine exakte Abformung scharfkantiger Konturen, eine passgenaue Wiedergabe besonders feinteiliger Prägungen und/oder Ziselierungen, sowie eine Korrektur druckbedingter Positionsabweichungen erreicht werden soll.
- Verfahren nach einem der Ansprüche 4 und 7 bis 9, dadurch gekennzeichnet, dass eine Anzahl tiefgezogener Folienteile gleicher Art hergestellt wird; und
nur bei der Herstellung eines Teils aller tiefgezogenen Folienteile dieser Art der Verfahrensschritt der Messung und Auswertung der Temperaturverteilung an einer Folienoberfläche durchgeführt wird; und bei der Herstellung des restlichen Anteils der tiefgezogenen Folienteile dieser Art dieser Verfahrensschritt nicht ausgeführt wird. - Verfahren nach einem der Ansprüche 1 bis 10, dadurch gekennzeichnet, dass das auf dem Rahmen aufliegende Folienstück in eine Heizzone eingebracht wird, die zwei flächengleiche, horizontal ausgerichtete, parallel im Abstand zueinander und miteinander fluchtend angeordnete Heizfelder aufweist; und das Folienstück zur Erwärmung auf die je vorgesehene Folienoberflächentemperatur etwa mittig zwischen diesen beiden Heizfeldem angeordnet und eine Zeit lang gehalten wird.
- Verfahren nach einem der Ansprüche 1 bis 11, dadurch gekennzeichnet, dass das Folienstück nach Erwärmung auf die je vorgesehene Folienoberflächentemperatur innerhalb einer Zeitspanne kleiner 5 sec, bevorzug kleiner 2 sec in die Verformungszone überführt wird.
- Verfahren nach einem der Ansprüche 1 bis 12, dadurch gekennzeichnet, dass transparente Folienstücke verarbeitet werden, die entsprechend einem vorgegebenen Layout bedruckt, metallisiert und/oder sonst wie beschichtet worden sind.
- Verfahren nach einem der Ansprüche 1 bis 13, dadurch gekennzeichnet, dass einlagige Folienstücke verarbeitet werden, die entsprechend einem vorgegebenen Layout bedruckt, metallisiert und/oder sonst wie beschichtet worden sind.
- Verfahren nach einem der Ansprüche 1 bis 14, dadurch gekennzeichnet, dass es sich bei den zu verformenden Folienstücken um eine mehrschichtige Koextrusionsfolie oder Laminat-Folie aus wenigstens zwei unterschiedlichen thermoplastischen Kunststoffen handelt.
Applications Claiming Priority (2)
| Application Number | Priority Date | Filing Date | Title |
|---|---|---|---|
| DE102007046472A DE102007046472B4 (de) | 2007-09-28 | 2007-09-28 | Verfahren zur Herstellung eines tiefgezogenen Folienteils aus Polycarbonat oder aus Polymethylmethacrylat |
| PCT/EP2008/008182 WO2009043539A2 (de) | 2007-09-28 | 2008-09-26 | Verfahren zur herstellung eines tiefgezogenen folienteils aus thermoplastischem kunststoff |
Publications (3)
| Publication Number | Publication Date |
|---|---|
| EP2197656A2 EP2197656A2 (de) | 2010-06-23 |
| EP2197656B1 true EP2197656B1 (de) | 2011-08-24 |
| EP2197656B2 EP2197656B2 (de) | 2018-11-28 |
Family
ID=40417619
Family Applications (1)
| Application Number | Title | Priority Date | Filing Date |
|---|---|---|---|
| EP08802639.8A Active EP2197656B2 (de) | 2007-09-28 | 2008-09-26 | Verfahren zur herstellung eines tiefgezogenen folienteils aus thermoplastischem kunststoff |
Country Status (13)
| Country | Link |
|---|---|
| US (1) | US8168110B2 (de) |
| EP (1) | EP2197656B2 (de) |
| JP (1) | JP5523322B2 (de) |
| KR (1) | KR101497174B1 (de) |
| CN (1) | CN101808803B (de) |
| AT (1) | ATE521469T1 (de) |
| BR (1) | BRPI0817642B1 (de) |
| DE (1) | DE102007046472B4 (de) |
| ES (1) | ES2369729T5 (de) |
| MX (1) | MX2010002744A (de) |
| MY (1) | MY152776A (de) |
| RU (2) | RU2491166C9 (de) |
| WO (1) | WO2009043539A2 (de) |
Cited By (3)
| Publication number | Priority date | Publication date | Assignee | Title |
|---|---|---|---|---|
| DE102016004047A1 (de) | 2016-04-04 | 2017-10-05 | Niebling Gmbh | Verfahren und Formwerkzeug zur Warmumformung eines ebenen thermoplastischen Schichtstoffes |
| WO2018073111A1 (de) | 2016-10-18 | 2018-04-26 | Covestro Deutschland Ag | Verfahren zur herstellung eines kunststoffkörpers, welcher sich als dekorelement eignet |
| WO2023174782A1 (de) | 2022-03-16 | 2023-09-21 | Covestro Deutschland Ag | Durchleuchtbarer mehrschichtkörper mit thermo- oder druckempfindlicher dekorationsschicht |
Families Citing this family (34)
| Publication number | Priority date | Publication date | Assignee | Title |
|---|---|---|---|---|
| DE102008061724B4 (de) * | 2008-01-31 | 2012-04-19 | Johnson Controls Automotive Electronics Gmbh | Anzeigevorrichtung, Folie und Verfahren zu deren Herstellung |
| DE102008050564B4 (de) | 2008-09-22 | 2011-01-20 | Curt Niebling | Formwerkzeug und Verfahren zur Hochdruckumformung eines einlagigen oder mehrlagigen Schichtstoffes |
| DE102009048284B4 (de) * | 2009-10-05 | 2023-06-01 | Bayerische Motoren Werke Aktiengesellschaft | Verfahren zur Herstellung eines Ziffernblattes eines Kraftfahrzeuges sowie Ziffernblatt eines Kraftfahrzeuges |
| DE102009048334A1 (de) | 2009-10-06 | 2011-04-21 | Curt Niebling | 3D-Folienteil und Verfahren zu seiner Herstellung |
| EP2335905A1 (de) | 2009-12-17 | 2011-06-22 | Bayer MaterialScience AG | Verfahren zur Herstellung eines tiefgezogenen Folienteils aus thermoplastischem Kunststoff |
| EP2338664A1 (de) | 2009-12-23 | 2011-06-29 | Bayer MaterialScience AG | Verfahren zur Herstellung eines verformten Folienteils aus thermoplastischem Kunststoff |
| WO2011114484A1 (ja) * | 2010-03-18 | 2011-09-22 | トヨタ自動車株式会社 | 樹脂フィルムの被覆方法及び被覆装置 |
| DE102010021892B4 (de) | 2010-05-28 | 2014-03-20 | Curt Niebling jun. | Verfahren und Vorrichtung zur Kaschierung eines 3D-Trägerteils mit einem Schichtstoff |
| US9457510B2 (en) * | 2010-06-01 | 2016-10-04 | William C. Shanley, Iv | Apparatus and methods for selective thermoforming |
| EP2395572A1 (de) | 2010-06-10 | 2011-12-14 | Bayer MaterialScience AG | Schichtaufbau umfassend elektrotechnische Bauelemente |
| EP2429264A1 (de) | 2010-09-13 | 2012-03-14 | Bayer MaterialScience AG | Schichtaufbau umfassend einen von einer ACPEL-Anordnung beleuchteten Schalter |
| DE102010061963A1 (de) | 2010-11-25 | 2012-05-31 | Bayer Materialscience Aktiengesellschaft | EL-Elemente enthaltend eine Pigmentschicht mit vernetzenden Systemen mit blockierten Isocyanat-Gruppen |
| EP2489492A1 (de) | 2011-02-17 | 2012-08-22 | Bayer MaterialScience AG | Verfahren zum partiellen Schwingungsausgleich bei Kunststoff-Formteilen |
| EP2497637A1 (de) | 2011-03-10 | 2012-09-12 | Bayer MaterialScience AG | Transparente, galvanisierbare Kunststoff-Folie für das partielle Galvanisieren |
| US9610726B1 (en) * | 2012-03-12 | 2017-04-04 | Specialty Manufacturing Inc. | Thermoforming with precision in-lay |
| JP2015521552A (ja) * | 2012-07-04 | 2015-07-30 | エボニック インダストリーズ アクチエンゲゼルシャフトEvonik Industries AG | 熱成形プロセス及び使用 |
| DE102012018447A1 (de) | 2012-09-18 | 2014-03-20 | GM Global Technology Operations, LLC (n.d. Ges. d. Staates Delaware) | Kraftfahrzeugkarosserie |
| AT514454B1 (de) | 2013-07-11 | 2015-03-15 | Engel Austria Gmbh | Heizvorrichtung |
| US11135760B2 (en) | 2013-08-20 | 2021-10-05 | Sabic Global Technologies B.V. | Process for forming articles from extruded polymer sheet |
| DE102015012242B4 (de) * | 2015-09-18 | 2019-06-19 | Leonhard Kurz Stiftung & Co. Kg | Verfahren und Vorrichtung zur Herstellung eines mit einem Schichtstoff kaschierten 3D-Substrates |
| DE102015014219A1 (de) * | 2015-11-04 | 2017-05-04 | Audi Ag | Verfahren zum Herstellen eines Bauelements für ein Kraftfahrzeug |
| DE102016112121A1 (de) * | 2016-07-01 | 2018-01-04 | Brückner Maschinenbau GmbH & Co. KG | Steuerungsvorrichtung zur Herstellung und/oder Behandlung einer Kunststoff-Folie sowie zugehöriges Verfahren |
| EP3541621B1 (de) * | 2016-11-17 | 2020-10-07 | Covestro Intellectual Property GmbH & Co. KG | Transparenter mehrschichtkörper zum wärmemanagement |
| CN108422607B (zh) * | 2018-02-10 | 2020-05-08 | 诸暨市烈火工业设计工作室 | 一种照明灯罩制作设备 |
| TWI671177B (zh) * | 2018-10-01 | 2019-09-11 | 中原大學 | 射出成型設備 |
| KR102307987B1 (ko) * | 2018-11-20 | 2021-09-30 | (주)엘엑스하우시스 | 데코레이션 필름을 진공 열성형하는 방법 |
| US11014029B2 (en) * | 2019-05-24 | 2021-05-25 | Ultra Small Fibers, LLC | Filter media ribbons with nanofibers formed thereon |
| IT201900019001A1 (it) * | 2019-10-16 | 2021-04-16 | Cms Spa | Metodo di controllo e macchina termoformatrice |
| CN112172347B (zh) * | 2020-09-15 | 2021-05-07 | 温州大学 | 一种用于包装盒的印刷烘干镀膜激光加工工艺 |
| US20230311449A1 (en) | 2020-09-18 | 2023-10-05 | Covestro Deutschland Ag | Multi-layer body for diffuse transillumination |
| CN114953403A (zh) * | 2021-02-18 | 2022-08-30 | 中兴通讯股份有限公司 | 柔性电路板的热成型装置及方法 |
| US20240399637A1 (en) * | 2021-09-14 | 2024-12-05 | Trinseo Europe Gmbh | Articles of manufacture produced from acrylic/abs laminated sheet |
| US12496446B2 (en) | 2021-09-24 | 2025-12-16 | Carnegie Mellon University | Method for focused transcranial electrical current stimulation |
| DE202022106307U1 (de) * | 2022-11-10 | 2024-02-14 | Engel Austria Gmbh | Heizanordnung und Anordnung einer Formgebungsmaschine mit einer Heizanordnung |
Family Cites Families (31)
| Publication number | Priority date | Publication date | Assignee | Title |
|---|---|---|---|---|
| US3342915A (en) * | 1965-02-03 | 1967-09-19 | Illinois Tool Works | Undercut molding apparatus and method |
| US3462249A (en) | 1967-03-31 | 1969-08-19 | Exxon Research Engineering Co | Fuel oil compositions containing grafted polymers |
| FR1580834A (de) | 1968-01-04 | 1969-09-12 | ||
| LU66646A1 (de) * | 1972-12-13 | 1974-07-10 | ||
| US4034054A (en) * | 1974-09-20 | 1977-07-05 | National Can Corporation | Process for thermoforming hollow articles |
| DE3530309A1 (de) * | 1985-08-24 | 1987-02-26 | Held Kurt | Verfahren und vorrichtung zum kontinuierlichen herstellen thermoplastischer kunststoffbahnen |
| FR2602174B1 (fr) * | 1986-07-31 | 1988-11-18 | Erca Holding | Procede et dispositif de reglage de l'echauffement d'une bande thermoplastique utilisee dans un poste de thermoformage |
| DE3844633A1 (de) | 1988-08-12 | 1990-04-19 | Bayer Ag | Dihydroxydiphenylcycloalkane, ihre herstellung und ihre verwendung zur herstellung von hochmolekularen polycarbonaten |
| US5275866A (en) * | 1988-08-17 | 1994-01-04 | Atochem Puteaux | Thermoformed poly (methyl methacrylate) sheets with protective film and adhesion layer |
| US5217563A (en) * | 1988-12-01 | 1993-06-08 | Bayer Aktiengesellschaft | Apparatus for producing a deep-drawn formed plastic piece |
| DE58909087D1 (de) * | 1988-12-01 | 1995-04-13 | Bayer Ag | Verfahren zur Herstellung tiefgezogener Kunststoff-Formteile. |
| DE4113568C1 (de) | 1991-04-25 | 1992-05-21 | Curt 8122 Penzberg De Niebling | |
| RU2173471C2 (ru) * | 1996-04-30 | 2001-09-10 | Миннесота Майнинг Энд Мэнюфекчуринг Компани | Формованный сверхгибкий композитный световозвращающий листовой материал с кубическими уголковыми элементами, имеющий заданные оптические характеристики, и способ его изготовления |
| US5763335A (en) * | 1996-05-21 | 1998-06-09 | H.H. Brown Shoe Technologies, Inc. | Composite material for absorbing and dissipating body fluids and moisture |
| US6257866B1 (en) * | 1996-06-18 | 2001-07-10 | Hy-Tech Forming Systems, Inc. | Apparatus for accurately forming plastic sheet |
| US6132669A (en) * | 1997-08-14 | 2000-10-17 | The Elizabeth And Sandor Valyi Foundation, Inc. | Process for preparing a molded article |
| DE19832570C2 (de) | 1998-07-20 | 2002-03-28 | Mcgavigan John Ltd | Hochtemperaturbeständige flexible Druckfarbe und deren Verwendung |
| EP1010514B1 (de) * | 1998-12-14 | 2006-03-08 | Toray Industries, Inc. | Verfahren und Vorrichtung zur Herstellung von Kunststofffolien |
| US6506334B1 (en) * | 2000-09-22 | 2003-01-14 | The University Of Massachusetts | Process and apparatus for preparing a molded article |
| JP3514726B2 (ja) * | 2000-12-26 | 2004-03-31 | 日本写真印刷株式会社 | 光輝性加飾シートおよび該シートを用いた光輝性加飾品の製造方法 |
| JP2003245939A (ja) * | 2002-02-25 | 2003-09-02 | Nissha Printing Co Ltd | キーシート部材の製造方法 |
| US6749794B2 (en) * | 2001-08-13 | 2004-06-15 | R + S Technik Gmbh | Method and apparatus for molding components with molded-in surface texture |
| JP4588996B2 (ja) | 2001-08-27 | 2010-12-01 | エボニック レーム ゲゼルシャフト ミット ベシュレンクテル ハフツング | インサート成形品の内面をスクリーン印刷するための着色ペイント |
| DE10151281A1 (de) | 2001-08-27 | 2003-03-20 | Roehm Gmbh | Farblack für die Siebbedruckung der Innenseite von Insert-Moulding-Teilen |
| JP2003200486A (ja) * | 2001-12-28 | 2003-07-15 | Nissha Printing Co Ltd | 深絞り形状加飾シートの製造方法 |
| DE10312610A1 (de) | 2003-03-21 | 2004-09-30 | Bayer Ag | Verfahren zum Hinterspritzen von dekorierten Folien |
| CN2635343Y (zh) * | 2003-08-04 | 2004-08-25 | 潍坊中云机器有限公司 | 塑料波纹管成型机风冷装置 |
| DE102004049592A1 (de) | 2004-10-12 | 2006-05-04 | Bayer Materialscience Ag | Mit Soft-Touch-Lack beschichtete, verformbare Kunststoffverbundfolien und Kunststoffverbundelemente sowie deren Herstellung |
| JP2006130774A (ja) * | 2004-11-05 | 2006-05-25 | Shin Etsu Polymer Co Ltd | 成形用加飾シートおよび加飾付き成形体 |
| DE102005050072A1 (de) | 2005-10-19 | 2007-04-26 | Bayer Materialscience Ag | Lichtstreuende Folien sowie deren Verwendung in Flachbildschirmen |
| US20080020210A1 (en) | 2006-07-19 | 2008-01-24 | Griffin Patrick J | Metallized multilayered composite |
-
2007
- 2007-09-28 DE DE102007046472A patent/DE102007046472B4/de active Active
-
2008
- 2008-09-26 ES ES08802639T patent/ES2369729T5/es active Active
- 2008-09-26 KR KR1020107006605A patent/KR101497174B1/ko active Active
- 2008-09-26 AT AT08802639T patent/ATE521469T1/de active
- 2008-09-26 RU RU2010116549/05A patent/RU2491166C9/ru active
- 2008-09-26 BR BRPI0817642A patent/BRPI0817642B1/pt not_active IP Right Cessation
- 2008-09-26 MY MYPI20101307 patent/MY152776A/en unknown
- 2008-09-26 MX MX2010002744A patent/MX2010002744A/es active IP Right Grant
- 2008-09-26 JP JP2010526210A patent/JP5523322B2/ja active Active
- 2008-09-26 US US12/680,360 patent/US8168110B2/en active Active
- 2008-09-26 CN CN200880109381XA patent/CN101808803B/zh active Active
- 2008-09-26 WO PCT/EP2008/008182 patent/WO2009043539A2/de not_active Ceased
- 2008-09-26 EP EP08802639.8A patent/EP2197656B2/de active Active
- 2008-09-26 RU RU2013120106A patent/RU2641934C2/ru active
Cited By (5)
| Publication number | Priority date | Publication date | Assignee | Title |
|---|---|---|---|---|
| DE102016004047A1 (de) | 2016-04-04 | 2017-10-05 | Niebling Gmbh | Verfahren und Formwerkzeug zur Warmumformung eines ebenen thermoplastischen Schichtstoffes |
| WO2017174176A1 (de) | 2016-04-04 | 2017-10-12 | Niebling Gmbh | Verfahren und formwerkzeug zur warmumformung eines ebenen thermoplastischen schichtstoffes |
| DE102016004047B4 (de) * | 2016-04-04 | 2017-10-19 | Niebling Gmbh | Verfahren und Formwerkzeug zur Warmumformung eines ebenen thermoplastischen Schichtstoffes |
| WO2018073111A1 (de) | 2016-10-18 | 2018-04-26 | Covestro Deutschland Ag | Verfahren zur herstellung eines kunststoffkörpers, welcher sich als dekorelement eignet |
| WO2023174782A1 (de) | 2022-03-16 | 2023-09-21 | Covestro Deutschland Ag | Durchleuchtbarer mehrschichtkörper mit thermo- oder druckempfindlicher dekorationsschicht |
Also Published As
| Publication number | Publication date |
|---|---|
| EP2197656B2 (de) | 2018-11-28 |
| CN101808803A (zh) | 2010-08-18 |
| MY152776A (en) | 2014-11-28 |
| WO2009043539A2 (de) | 2009-04-09 |
| RU2013120106A (ru) | 2014-11-10 |
| JP2010540272A (ja) | 2010-12-24 |
| WO2009043539A3 (de) | 2009-11-12 |
| RU2491166C2 (ru) | 2013-08-27 |
| US20100237544A1 (en) | 2010-09-23 |
| MX2010002744A (es) | 2010-04-01 |
| JP5523322B2 (ja) | 2014-06-18 |
| CN101808803B (zh) | 2013-03-27 |
| EP2197656A2 (de) | 2010-06-23 |
| DE102007046472A1 (de) | 2009-04-09 |
| RU2641934C2 (ru) | 2018-01-23 |
| ES2369729T5 (es) | 2019-05-23 |
| RU2491166C9 (ru) | 2014-01-27 |
| US8168110B2 (en) | 2012-05-01 |
| BRPI0817642B1 (pt) | 2018-09-18 |
| BRPI0817642A2 (pt) | 2017-05-16 |
| DE102007046472B4 (de) | 2013-12-24 |
| KR20100058602A (ko) | 2010-06-03 |
| RU2010116549A (ru) | 2011-11-10 |
| ATE521469T1 (de) | 2011-09-15 |
| ES2369729T3 (es) | 2011-12-05 |
| KR101497174B1 (ko) | 2015-02-27 |
Similar Documents
| Publication | Publication Date | Title |
|---|---|---|
| EP2197656B1 (de) | Verfahren zur herstellung eines tiefgezogenen folienteils aus thermoplastischem kunststoff | |
| EP3439850B1 (de) | Verfahren und formwerkzeug zur warmumformung eines ebenen thermoplastischen schichtstoffes | |
| US8945704B2 (en) | Multi-layer film, decorative molding film and molded body | |
| WO2014044694A1 (de) | Verfahren zur herstellung eines mit einem uv-gehärteten lack versehenen formteil aus kunststoff sowie selbiges formteil | |
| EP2172336A1 (de) | Fälschungssichere Sicherheitsmerkmale in Sicherheits- oder Wertdokumenten | |
| KR20140036263A (ko) | 카드용 시트 | |
| EP3890971B1 (de) | Kunststofffolien mit hoher vicat-erweichungstemperatur in schichtaufbauten | |
| JP6903569B2 (ja) | 合わせガラス用中間膜、合わせガラス及び合わせガラスの製造方法 | |
| EP2497637A1 (de) | Transparente, galvanisierbare Kunststoff-Folie für das partielle Galvanisieren | |
| EP3727851B1 (de) | Kunststofffolien für id-dokumente mit verbesserter helligkeit von prägehologrammen | |
| KR101786149B1 (ko) | 성형성이 우수한 고광택 인테리어용 장식필름 | |
| EP2489493A2 (de) | Verfahren zum partiellen Schwindungsausgleich bei Kunststoff-Formteilen | |
| EP2335905A1 (de) | Verfahren zur Herstellung eines tiefgezogenen Folienteils aus thermoplastischem Kunststoff | |
| WO2011076717A1 (de) | Verfahren zur herstellung eines verformten folienteils aus thermoplastischem kunststoff | |
| DE102022105839A1 (de) | Verfahren zum Herstellen eines Kunststoff-Formteils | |
| WO2023110961A1 (en) | At least partially biobased layered structure with good favourable properties | |
| DE102015006395B4 (de) | Verfahren zum Herstellen eines Bauteils für ein Kraftfahrzeug, Bauteil und Kraftfahrzeug |
Legal Events
| Date | Code | Title | Description |
|---|---|---|---|
| PUAI | Public reference made under article 153(3) epc to a published international application that has entered the european phase |
Free format text: ORIGINAL CODE: 0009012 |
|
| 17P | Request for examination filed |
Effective date: 20100512 |
|
| AK | Designated contracting states |
Kind code of ref document: A2 Designated state(s): AT BE BG CH CY CZ DE DK EE ES FI FR GB GR HR HU IE IS IT LI LT LU LV MC MT NL NO PL PT RO SE SI SK TR |
|
| AX | Request for extension of the european patent |
Extension state: AL BA MK RS |
|
| DAX | Request for extension of the european patent (deleted) | ||
| GRAP | Despatch of communication of intention to grant a patent |
Free format text: ORIGINAL CODE: EPIDOSNIGR1 |
|
| GRAS | Grant fee paid |
Free format text: ORIGINAL CODE: EPIDOSNIGR3 |
|
| GRAA | (expected) grant |
Free format text: ORIGINAL CODE: 0009210 |
|
| AK | Designated contracting states |
Kind code of ref document: B1 Designated state(s): AT BE BG CH CY CZ DE DK EE ES FI FR GB GR HR HU IE IS IT LI LT LU LV MC MT NL NO PL PT RO SE SI SK TR |
|
| REG | Reference to a national code |
Ref country code: GB Ref legal event code: FG4D Free format text: NOT ENGLISH |
|
| REG | Reference to a national code |
Ref country code: CH Ref legal event code: EP |
|
| REG | Reference to a national code |
Ref country code: IE Ref legal event code: FG4D Free format text: LANGUAGE OF EP DOCUMENT: GERMAN |
|
| REG | Reference to a national code |
Ref country code: DE Ref legal event code: R096 Ref document number: 502008004611 Country of ref document: DE Effective date: 20111027 |
|
| REG | Reference to a national code |
Ref country code: ES Ref legal event code: FG2A Ref document number: 2369729 Country of ref document: ES Kind code of ref document: T3 Effective date: 20111205 |
|
| REG | Reference to a national code |
Ref country code: NL Ref legal event code: T3 |
|
| LTIE | Lt: invalidation of european patent or patent extension |
Effective date: 20110824 |
|
| PG25 | Lapsed in a contracting state [announced via postgrant information from national office to epo] |
Ref country code: SE Free format text: LAPSE BECAUSE OF FAILURE TO SUBMIT A TRANSLATION OF THE DESCRIPTION OR TO PAY THE FEE WITHIN THE PRESCRIBED TIME-LIMIT Effective date: 20110824 Ref country code: PT Free format text: LAPSE BECAUSE OF FAILURE TO SUBMIT A TRANSLATION OF THE DESCRIPTION OR TO PAY THE FEE WITHIN THE PRESCRIBED TIME-LIMIT Effective date: 20111226 Ref country code: LT Free format text: LAPSE BECAUSE OF FAILURE TO SUBMIT A TRANSLATION OF THE DESCRIPTION OR TO PAY THE FEE WITHIN THE PRESCRIBED TIME-LIMIT Effective date: 20110824 Ref country code: NO Free format text: LAPSE BECAUSE OF FAILURE TO SUBMIT A TRANSLATION OF THE DESCRIPTION OR TO PAY THE FEE WITHIN THE PRESCRIBED TIME-LIMIT Effective date: 20111124 Ref country code: IS Free format text: LAPSE BECAUSE OF FAILURE TO SUBMIT A TRANSLATION OF THE DESCRIPTION OR TO PAY THE FEE WITHIN THE PRESCRIBED TIME-LIMIT Effective date: 20111224 Ref country code: HR Free format text: LAPSE BECAUSE OF FAILURE TO SUBMIT A TRANSLATION OF THE DESCRIPTION OR TO PAY THE FEE WITHIN THE PRESCRIBED TIME-LIMIT Effective date: 20110824 |
|
| PG25 | Lapsed in a contracting state [announced via postgrant information from national office to epo] |
Ref country code: LV Free format text: LAPSE BECAUSE OF FAILURE TO SUBMIT A TRANSLATION OF THE DESCRIPTION OR TO PAY THE FEE WITHIN THE PRESCRIBED TIME-LIMIT Effective date: 20110824 Ref country code: PL Free format text: LAPSE BECAUSE OF FAILURE TO SUBMIT A TRANSLATION OF THE DESCRIPTION OR TO PAY THE FEE WITHIN THE PRESCRIBED TIME-LIMIT Effective date: 20110824 Ref country code: GR Free format text: LAPSE BECAUSE OF FAILURE TO SUBMIT A TRANSLATION OF THE DESCRIPTION OR TO PAY THE FEE WITHIN THE PRESCRIBED TIME-LIMIT Effective date: 20111125 Ref country code: CY Free format text: LAPSE BECAUSE OF FAILURE TO SUBMIT A TRANSLATION OF THE DESCRIPTION OR TO PAY THE FEE WITHIN THE PRESCRIBED TIME-LIMIT Effective date: 20110824 Ref country code: SI Free format text: LAPSE BECAUSE OF FAILURE TO SUBMIT A TRANSLATION OF THE DESCRIPTION OR TO PAY THE FEE WITHIN THE PRESCRIBED TIME-LIMIT Effective date: 20110824 |
|
| BERE | Be: lapsed |
Owner name: BAYER MATERIALSCIENCE A.G. Effective date: 20110930 |
|
| PG25 | Lapsed in a contracting state [announced via postgrant information from national office to epo] |
Ref country code: MC Free format text: LAPSE BECAUSE OF NON-PAYMENT OF DUE FEES Effective date: 20110930 Ref country code: SK Free format text: LAPSE BECAUSE OF FAILURE TO SUBMIT A TRANSLATION OF THE DESCRIPTION OR TO PAY THE FEE WITHIN THE PRESCRIBED TIME-LIMIT Effective date: 20110824 |
|
| PLBI | Opposition filed |
Free format text: ORIGINAL CODE: 0009260 |
|
| PG25 | Lapsed in a contracting state [announced via postgrant information from national office to epo] |
Ref country code: EE Free format text: LAPSE BECAUSE OF FAILURE TO SUBMIT A TRANSLATION OF THE DESCRIPTION OR TO PAY THE FEE WITHIN THE PRESCRIBED TIME-LIMIT Effective date: 20110824 Ref country code: RO Free format text: LAPSE BECAUSE OF FAILURE TO SUBMIT A TRANSLATION OF THE DESCRIPTION OR TO PAY THE FEE WITHIN THE PRESCRIBED TIME-LIMIT Effective date: 20110824 |
|
| 26 | Opposition filed |
Opponent name: SABIC INNOVATIVE PLASTICS IP B.V. Effective date: 20120507 |
|
| PLAX | Notice of opposition and request to file observation + time limit sent |
Free format text: ORIGINAL CODE: EPIDOSNOBS2 |
|
| PG25 | Lapsed in a contracting state [announced via postgrant information from national office to epo] |
Ref country code: BE Free format text: LAPSE BECAUSE OF NON-PAYMENT OF DUE FEES Effective date: 20110930 Ref country code: DK Free format text: LAPSE BECAUSE OF FAILURE TO SUBMIT A TRANSLATION OF THE DESCRIPTION OR TO PAY THE FEE WITHIN THE PRESCRIBED TIME-LIMIT Effective date: 20110824 |
|
| REG | Reference to a national code |
Ref country code: DE Ref legal event code: R026 Ref document number: 502008004611 Country of ref document: DE Effective date: 20120507 |
|
| PLBB | Reply of patent proprietor to notice(s) of opposition received |
Free format text: ORIGINAL CODE: EPIDOSNOBS3 |
|
| PG25 | Lapsed in a contracting state [announced via postgrant information from national office to epo] |
Ref country code: MT Free format text: LAPSE BECAUSE OF FAILURE TO SUBMIT A TRANSLATION OF THE DESCRIPTION OR TO PAY THE FEE WITHIN THE PRESCRIBED TIME-LIMIT Effective date: 20110824 |
|
| PG25 | Lapsed in a contracting state [announced via postgrant information from national office to epo] |
Ref country code: LU Free format text: LAPSE BECAUSE OF NON-PAYMENT OF DUE FEES Effective date: 20110926 |
|
| PG25 | Lapsed in a contracting state [announced via postgrant information from national office to epo] |
Ref country code: BG Free format text: LAPSE BECAUSE OF FAILURE TO SUBMIT A TRANSLATION OF THE DESCRIPTION OR TO PAY THE FEE WITHIN THE PRESCRIBED TIME-LIMIT Effective date: 20111124 |
|
| PLAB | Opposition data, opponent's data or that of the opponent's representative modified |
Free format text: ORIGINAL CODE: 0009299OPPO |
|
| PG25 | Lapsed in a contracting state [announced via postgrant information from national office to epo] |
Ref country code: TR Free format text: LAPSE BECAUSE OF FAILURE TO SUBMIT A TRANSLATION OF THE DESCRIPTION OR TO PAY THE FEE WITHIN THE PRESCRIBED TIME-LIMIT Effective date: 20110824 |
|
| R26 | Opposition filed (corrected) |
Opponent name: SABIC INNOVATIVE PLASTICS IP B.V. Effective date: 20120507 |
|
| PG25 | Lapsed in a contracting state [announced via postgrant information from national office to epo] |
Ref country code: HU Free format text: LAPSE BECAUSE OF FAILURE TO SUBMIT A TRANSLATION OF THE DESCRIPTION OR TO PAY THE FEE WITHIN THE PRESCRIBED TIME-LIMIT Effective date: 20110824 |
|
| PLAB | Opposition data, opponent's data or that of the opponent's representative modified |
Free format text: ORIGINAL CODE: 0009299OPPO |
|
| APBM | Appeal reference recorded |
Free format text: ORIGINAL CODE: EPIDOSNREFNO |
|
| APBP | Date of receipt of notice of appeal recorded |
Free format text: ORIGINAL CODE: EPIDOSNNOA2O |
|
| APAH | Appeal reference modified |
Free format text: ORIGINAL CODE: EPIDOSCREFNO |
|
| APBM | Appeal reference recorded |
Free format text: ORIGINAL CODE: EPIDOSNREFNO |
|
| APBP | Date of receipt of notice of appeal recorded |
Free format text: ORIGINAL CODE: EPIDOSNNOA2O |
|
| R26 | Opposition filed (corrected) |
Opponent name: SABIC GLOBAL TECHNOLOGIES B.V. Effective date: 20120507 |
|
| REG | Reference to a national code |
Ref country code: DE Ref legal event code: R081 Ref document number: 502008004611 Country of ref document: DE Owner name: COVESTRO DEUTSCHLAND AG, DE Free format text: FORMER OWNER: BAYER MATERIALSCIENCE AKTIENGESELLSCHAFT, 51373 LEVERKUSEN, DE Effective date: 20140526 Ref country code: DE Ref legal event code: R081 Ref document number: 502008004611 Country of ref document: DE Owner name: BAYER INTELLECTUAL PROPERTY GMBH, DE Free format text: FORMER OWNER: BAYER MATERIALSCIENCE AKTIENGESELLSCHAFT, 51373 LEVERKUSEN, DE Effective date: 20140526 |
|
| APBQ | Date of receipt of statement of grounds of appeal recorded |
Free format text: ORIGINAL CODE: EPIDOSNNOA3O |
|
| REG | Reference to a national code |
Ref country code: FR Ref legal event code: PLFP Year of fee payment: 8 |
|
| RAP2 | Party data changed (patent owner data changed or rights of a patent transferred) |
Owner name: COVESTRO DEUTSCHLAND AG |
|
| REG | Reference to a national code |
Ref country code: DE Ref legal event code: R081 Ref document number: 502008004611 Country of ref document: DE Owner name: COVESTRO DEUTSCHLAND AG, DE Free format text: FORMER OWNER: BAYER INTELLECTUAL PROPERTY GMBH, 40789 MONHEIM, DE |
|
| REG | Reference to a national code |
Ref country code: FR Ref legal event code: PLFP Year of fee payment: 9 |
|
| REG | Reference to a national code |
Ref country code: NL Ref legal event code: HC Owner name: COVESTRO DEUTSCHLAND AG; DE Free format text: DETAILS ASSIGNMENT: VERANDERING VAN EIGENAAR(S), VERANDERING VAN NAAM VAN DE EIGENAAR(S); FORMER OWNER NAME: BAYER MATERIALSCIENCE AG Effective date: 20160810 |
|
| REG | Reference to a national code |
Ref country code: FR Ref legal event code: PLFP Year of fee payment: 10 |
|
| APBU | Appeal procedure closed |
Free format text: ORIGINAL CODE: EPIDOSNNOA9O |
|
| PLAB | Opposition data, opponent's data or that of the opponent's representative modified |
Free format text: ORIGINAL CODE: 0009299OPPO |
|
| R26 | Opposition filed (corrected) |
Opponent name: SABIC GLOBAL TECHNOLOGIES B.V. Effective date: 20120507 |
|
| REG | Reference to a national code |
Ref country code: FR Ref legal event code: PLFP Year of fee payment: 11 |
|
| PUAH | Patent maintained in amended form |
Free format text: ORIGINAL CODE: 0009272 |
|
| STAA | Information on the status of an ep patent application or granted ep patent |
Free format text: STATUS: PATENT MAINTAINED AS AMENDED |
|
| REG | Reference to a national code |
Ref country code: CH Ref legal event code: AELC |
|
| 27A | Patent maintained in amended form |
Effective date: 20181128 |
|
| AK | Designated contracting states |
Kind code of ref document: B2 Designated state(s): AT BE BG CH CY CZ DE DK EE ES FI FR GB GR HR HU IE IS IT LI LT LU LV MC MT NL NO PL PT RO SE SI SK TR |
|
| REG | Reference to a national code |
Ref country code: DE Ref legal event code: R102 Ref document number: 502008004611 Country of ref document: DE |
|
| REG | Reference to a national code |
Ref country code: NL Ref legal event code: FP |
|
| REG | Reference to a national code |
Ref country code: ES Ref legal event code: DC2A Ref document number: 2369729 Country of ref document: ES Kind code of ref document: T5 Effective date: 20190523 |
|
| REG | Reference to a national code |
Ref country code: DE Ref legal event code: R082 Ref document number: 502008004611 Country of ref document: DE |
|
| PGFP | Annual fee paid to national office [announced via postgrant information from national office to epo] |
Ref country code: NL Payment date: 20220826 Year of fee payment: 15 |
|
| PGFP | Annual fee paid to national office [announced via postgrant information from national office to epo] |
Ref country code: IT Payment date: 20220829 Year of fee payment: 15 Ref country code: IE Payment date: 20220824 Year of fee payment: 15 Ref country code: GB Payment date: 20220818 Year of fee payment: 15 Ref country code: FI Payment date: 20220909 Year of fee payment: 15 Ref country code: DE Payment date: 20220609 Year of fee payment: 15 Ref country code: CZ Payment date: 20220915 Year of fee payment: 15 Ref country code: AT Payment date: 20220825 Year of fee payment: 15 |
|
| PGFP | Annual fee paid to national office [announced via postgrant information from national office to epo] |
Ref country code: CH Payment date: 20220901 Year of fee payment: 15 |
|
| REG | Reference to a national code |
Ref country code: DE Ref legal event code: R119 Ref document number: 502008004611 Country of ref document: DE |
|
| PG25 | Lapsed in a contracting state [announced via postgrant information from national office to epo] |
Ref country code: FI Free format text: LAPSE BECAUSE OF NON-PAYMENT OF DUE FEES Effective date: 20230926 Ref country code: CZ Free format text: LAPSE BECAUSE OF NON-PAYMENT OF DUE FEES Effective date: 20230926 |
|
| REG | Reference to a national code |
Ref country code: CH Ref legal event code: PL |
|
| REG | Reference to a national code |
Ref country code: NL Ref legal event code: MM Effective date: 20231001 |
|
| REG | Reference to a national code |
Ref country code: AT Ref legal event code: MM01 Ref document number: 521469 Country of ref document: AT Kind code of ref document: T Effective date: 20230926 |
|
| GBPC | Gb: european patent ceased through non-payment of renewal fee |
Effective date: 20230926 |
|
| PG25 | Lapsed in a contracting state [announced via postgrant information from national office to epo] |
Ref country code: NL Free format text: LAPSE BECAUSE OF NON-PAYMENT OF DUE FEES Effective date: 20231001 |
|
| PG25 | Lapsed in a contracting state [announced via postgrant information from national office to epo] |
Ref country code: NL Free format text: LAPSE BECAUSE OF NON-PAYMENT OF DUE FEES Effective date: 20231001 |
|
| REG | Reference to a national code |
Ref country code: IE Ref legal event code: MM4A |
|
| PG25 | Lapsed in a contracting state [announced via postgrant information from national office to epo] |
Ref country code: IE Free format text: LAPSE BECAUSE OF NON-PAYMENT OF DUE FEES Effective date: 20230926 |
|
| PG25 | Lapsed in a contracting state [announced via postgrant information from national office to epo] |
Ref country code: GB Free format text: LAPSE BECAUSE OF NON-PAYMENT OF DUE FEES Effective date: 20230926 |
|
| PG25 | Lapsed in a contracting state [announced via postgrant information from national office to epo] |
Ref country code: CH Free format text: LAPSE BECAUSE OF NON-PAYMENT OF DUE FEES Effective date: 20230930 |
|
| PG25 | Lapsed in a contracting state [announced via postgrant information from national office to epo] |
Ref country code: AT Free format text: LAPSE BECAUSE OF NON-PAYMENT OF DUE FEES Effective date: 20230926 |
|
| PG25 | Lapsed in a contracting state [announced via postgrant information from national office to epo] |
Ref country code: IE Free format text: LAPSE BECAUSE OF NON-PAYMENT OF DUE FEES Effective date: 20230926 Ref country code: GB Free format text: LAPSE BECAUSE OF NON-PAYMENT OF DUE FEES Effective date: 20230926 Ref country code: DE Free format text: LAPSE BECAUSE OF NON-PAYMENT OF DUE FEES Effective date: 20240403 Ref country code: CH Free format text: LAPSE BECAUSE OF NON-PAYMENT OF DUE FEES Effective date: 20230930 Ref country code: AT Free format text: LAPSE BECAUSE OF NON-PAYMENT OF DUE FEES Effective date: 20230926 |
|
| PG25 | Lapsed in a contracting state [announced via postgrant information from national office to epo] |
Ref country code: IT Free format text: LAPSE BECAUSE OF NON-PAYMENT OF DUE FEES Effective date: 20230926 |
|
| PG25 | Lapsed in a contracting state [announced via postgrant information from national office to epo] |
Ref country code: IT Free format text: LAPSE BECAUSE OF NON-PAYMENT OF DUE FEES Effective date: 20230926 |
|
| PGFP | Annual fee paid to national office [announced via postgrant information from national office to epo] |
Ref country code: ES Payment date: 20241004 Year of fee payment: 17 |
|
| PGFP | Annual fee paid to national office [announced via postgrant information from national office to epo] |
Ref country code: FR Payment date: 20250821 Year of fee payment: 18 |





