EP2148149A2 - Hydraulikventilanordnung für wandmontierte Boiler - Google Patents

Hydraulikventilanordnung für wandmontierte Boiler Download PDF

Info

Publication number
EP2148149A2
EP2148149A2 EP09166063A EP09166063A EP2148149A2 EP 2148149 A2 EP2148149 A2 EP 2148149A2 EP 09166063 A EP09166063 A EP 09166063A EP 09166063 A EP09166063 A EP 09166063A EP 2148149 A2 EP2148149 A2 EP 2148149A2
Authority
EP
European Patent Office
Prior art keywords
assembly
sub
hydraulic valve
pipe
valve assembly
Prior art date
Legal status (The legal status is an assumption and is not a legal conclusion. Google has not performed a legal analysis and makes no representation as to the accuracy of the status listed.)
Granted
Application number
EP09166063A
Other languages
English (en)
French (fr)
Other versions
EP2148149A3 (de
EP2148149B1 (de
EP2148149A8 (de
Inventor
Raffaello Rastelli
Remo Spaggiari
Current Assignee (The listed assignees may be inaccurate. Google has not performed a legal analysis and makes no representation or warranty as to the accuracy of the list.)
Otma SNC Di Spaggiari & C
Original Assignee
Otma SNC Di Spaggiari & C
Priority date (The priority date is an assumption and is not a legal conclusion. Google has not performed a legal analysis and makes no representation as to the accuracy of the date listed.)
Filing date
Publication date
Application filed by Otma SNC Di Spaggiari & C filed Critical Otma SNC Di Spaggiari & C
Publication of EP2148149A2 publication Critical patent/EP2148149A2/de
Publication of EP2148149A8 publication Critical patent/EP2148149A8/de
Publication of EP2148149A3 publication Critical patent/EP2148149A3/de
Application granted granted Critical
Publication of EP2148149B1 publication Critical patent/EP2148149B1/de
Active legal-status Critical Current
Anticipated expiration legal-status Critical

Links

Images

Classifications

    • FMECHANICAL ENGINEERING; LIGHTING; HEATING; WEAPONS; BLASTING
    • F24HEATING; RANGES; VENTILATING
    • F24HFLUID HEATERS, e.g. WATER OR AIR HEATERS, HAVING HEAT-GENERATING MEANS, e.g. HEAT PUMPS, IN GENERAL
    • F24H9/00Details
    • F24H9/14Arrangements for connecting different sections, e.g. in water heaters 
    • FMECHANICAL ENGINEERING; LIGHTING; HEATING; WEAPONS; BLASTING
    • F24HEATING; RANGES; VENTILATING
    • F24HFLUID HEATERS, e.g. WATER OR AIR HEATERS, HAVING HEAT-GENERATING MEANS, e.g. HEAT PUMPS, IN GENERAL
    • F24H9/00Details
    • F24H9/14Arrangements for connecting different sections, e.g. in water heaters 
    • F24H9/142Connecting hydraulic components

Definitions

  • the present invention relates to a multifunction hydraulic assembly for combined wall-mounted boilers.
  • Figure 1 designated as a whole by 10 is a combined autonomous system for heating premises and producing hot water.
  • the system 10 is of a known type and consequently belongs to the prior art.
  • the system 10 comprises a wall-mounted boiler 11, a hydraulic network 12, which connects the wall-mounted boiler 11 hydraulically with the water-using devices, and a hydraulic valve assembly 13, which has the purpose of adjusting the flowrates of water from/to the wall-mounted boiler 11.
  • the system 10 is completed by at least one tap (RB) for delivery of sanitary hot water and by at least one heating element (ER) for heating premises both connected up to the hydraulic network 12.
  • RB tap
  • ER heating element
  • the gas-fired wall-mounted boiler 11 comprises a casing 14 (normally made of sheet metal), housed inside which are a atmospheric gas burner 15, a main heat exchanger 16, and a flue (CHM) for evacuation of the fumes produced by combustion of the gas.
  • the flue (CHM) is provided with a fan (VT).
  • the hydraulic valve assembly 13 comprises, in turn, an inlet pipe 17 for the sanitary cold water (FS) coming from a water mains supply (not shown).
  • FS sanitary cold water
  • the inlet pipe 17 envisages a flowmeter 18 for intake of the sanitary cold water (FS), which is set in a coupling 19 for connection with a secondary heat exchanger 20; in addition, the heat exchanger 20 is advantageously, though not necessarily, of the plate type.
  • FS sanitary cold water
  • Departing from the heat exchanger 20 is a pipe 21 for outlet for the sanitary hot water (CS) sent to the tap (RB).
  • the coupling 19 is provided with a deviation pipe 22, which envisages, in turn, a tap 23 for filling a primary circuit (C1), which, as will be seen, has the purpose of supplying the aforesaid heating element (ER) with hot water.
  • a deviation pipe 22 envisages, in turn, a tap 23 for filling a primary circuit (C1), which, as will be seen, has the purpose of supplying the aforesaid heating element (ER) with hot water.
  • the hydraulic valve assembly 13 further comprises a three-way valve 24 driven by a motor 25 and a pump 26 for recirculation into the main circuit (C1).
  • the three-way valve 24 is used for activating a secondary circuit (C2) (for the sanitary water), which comprises the secondary heat exchanger 20.
  • Said secondary circuit (C2) is activated in the presence of a request for sanitary hot water by a user.
  • a pressure switch 27A of the primary circuit (C1) Installed alongside the pump 26 is a pressure switch 27A of the primary circuit (C1); the pressure switch 27A guarantees the minimum operating pressure of the wall-mounted boiler 11.
  • a safety valve 27B of the primary circuit (C1) Located in the vicinity of the pump 26 an also a safety valve 27B of the primary circuit (C1), a degassing air valve (DG) of the central body of the pump 26, and a pipe tap for a manometer (MN).
  • DG degassing air valve
  • MN manometer
  • the hydraulic valve assembly 13 illustrated in Figure 1 is not compact, and the elements that make it up are arranged in a non-rational way and in such a way that installation by specialized operators is not intuitive and immediate.
  • the hydraulic valve assembly 13 shown in Figure 1 envisages the use of a plurality of connection elements between the various components, all this at the expense of compactness, reliability and cost of the hydraulic valve assembly 13 itself.
  • the main aim of the present invention is to provide a hydraulic valve assembly for wall-mounted boilers that is extremely compact and the constitutive elements of which are arranged in a rational way.
  • FIG. 2 Shown in Figure 2 is a system 10* provided with a newly devised hydraulic valve assembly 13*.
  • the hydraulic valve assembly 13* further comprises a shut-off tap (IR) set in the by-pass pipe 34.
  • IR shut-off tap
  • the pump 26 has been set centrally with respect to the secondary heat exchanger 20.
  • the three-way valve 24 and the corresponding motor 25 are located on a first side (PP) (in this case on the right of the pump 26) with respect to the secondary heat exchanger 20 and to the pump 26.
  • PP first side
  • a second side (opposite to the first side (PP) with respect to the secondary heat exchanger 20 and to the pump 26) are the inlet pipe 17 for the sanitary cold water (FS) and the pipe 21 for outlet for the sanitary hot water (CS) to the tap (RB).
  • the inlets and the outlets of the heating water (FR), (CR) and of the sanitary water (FS), (CS), are divided, respectively, into two distinct groups that do not cross over one another, and are not intertwined.
  • the sanitary hot water (CS) In order for the sanitary hot water (CS) to be on the left with respect to the sanitary cold water (FS), the sanitary water coming from a point (P1) (where the coupling 19 ends) flows into the heat exchanger 20 towards a point (P2), starting from which is the pipe 21 for supply of the tap (RB). In particular, the sanitary water flows towards a point (P3) that is located on the same side as the point (P1).
  • a second vertical portion 21B of the pipe 21 comes to be located to the left of the inlet pipe 17 for the sanitary cold water (FS), thus respecting the conventions adopted in the sector of hydraulic systems, which require the pipe for the sanitary hot water (possibly equipped with a tap) to be to the left of the pipe for delivery of the sanitary cold water.
  • FS sanitary cold water
  • hydraulic valve assembly 13* envisages:
  • the three sub-assemblies (STG1), (STG2), (STG3) comprise fast-coupling hydraulic means for connection to one another and to the rest of the hydraulic network.
  • the sub-assemblies (STG2), (STG3) envisage fast-coupling mechanical means for connection to the secondary heat exchanger 20 (see hereinafter).
  • the three sub-assemblies (STG1), (STG2), (STG3) are made of composite material, they can each be formed in a single enbloc assembly, i.e., with a single moulding operation.
  • all three sub-assemblies (STG1), (STG2), (STG3) can be produced together in a single enbloc assembly, i.e., with a single moulding operation.
  • the secondary heat exchanger 20 represents a plate for assemblage of the three sub-assemblies (STG1), (STG2), (STG3).
  • the three sub-assemblies (STG1), (STG2), (STG3) are fixed to the secondary heat exchanger 20 by means of just two screws (SHR1) and (SHR2).
  • Each screw (SHR1), (SHR2) is first inserted into a corresponding hole (HL1), (HL2) made, respectively, in the second, lateral, sub-assembly (STH2) and in the third, lateral, sub-assembly (STG3) ( Figure 6 ).
  • each screw (SHR1), (SHR2) is screwed in a respective threaded seat (SD1), (SD2), which is located on the secondary heat exchanger 20 ( Figure 5 ).
  • the two lateral hydraulic sub-assemblies (STG2) and (STG3) each envisage a respective pair of headers (CLT1), (CLT2), (CLT3), (CLT4), which are designed to be connected to similar headers (not shown in Figure 6 ) present on the secondary heat exchanger 20.
  • the aforesaid device 40 for crossing of the sanitary waters at inlet to and outlet from the secondary heat exchanger 20.
  • the crossing device 40 from the thermal standpoint, is "zero balance" in the sense that the amount of heat yielded by the sanitary hot water is substantially equal to the amount of heat received by the same sanitary cold water at inlet. In addition, in the device 40 there is no mixing between the sanitary cold water and the sanitary hot water.
  • One of the advantages of the hydraulic valve assembly 13* forming the subject of the present invention consists in having defined a new arrangement of the system connections on the bottom closing plate of the casing 14 of the boiler 11 in order to compact further the overall dimensions of the hydraulic valve assembly 13* and consequently reduce the total number of components, with a consequent marked reduction in production costs.
  • interventions have been made, delimiting a space surrounding the secondary plate heat exchanger and positioning all the components for operation and control in a compact way.
  • the compacting has led to a superposition with crossing of the connections for the sanitary-water circuit of the plate heat exchanger between the inlet for the sanitary cold water and the outlet for the sanitary hot water.
  • composite material is meant a thermoplastic material, also referred to as “technopolymer”, which guarantees a good resistance to high operating temperatures, allied to a low permeability of water absorption (hydrolysis).
  • the volute (VLT) of the pump 26, with corresponding intake header (CLTA) and delivery header (CLTM), a supplementary attachment (ATT) of the three-way valve 24 (useful in the case where it is desired to displace the three-way valve), a tap (PRS) for the manometer (MN) (not shown in Figure 7 ) are integrated in the first, central, sub-assembly (STG1).
  • STG1 the two lateral sub-assemblies
  • STG3 grip between them the first sub-assembly (STG1) comprising the volute (VLT) of the pump 26 and the corresponding elements seen previously connected thereto.
  • the hydraulic assembly 13* also envisages a device 40 for crossing of the sanitary waters at inlet to and outlet from the heat exchanger 20.
  • first horizontal portion 21A of the pipe 21 for outlet of the sanitary hot water Housed in the first pipe (CND1) is a first horizontal portion 21A of the pipe 21 for outlet of the sanitary hot water.
  • the first pipe (CND1) and the horizontal portion 21A are coaxial.
  • the horizontal portion 21A has a diameter smaller than that of the first pipe (CND1).
  • Obtained by plastic deformation on the first portion 21A are two flanges (FLG1) and (FLG2) shaped like an annulus, equipped with respective O-rings.
  • the sanitary hot water (CS) flows in the horizontal portion 21A and heats the sanitary cold water (FS) that enters the inlet pipe 17 and flows around the horizontal portion 21A itself before entering the secondary heat exchanger 20.
  • Crossing between the coupling 19 and the pipe (CND1) defines the crossing device 40.
  • the second, top, pipe (CND2) traverses, in use, the volute (VLT) of the pump 26 and has the purpose of rendering the volute (VLT) itself fixed with respect to the body of the secondary heat exchanger 20.
  • the second, top, pipe (CND2) can be broken down into a number of pieces that can be connected to one another, at least one of which is inserted in the volute (VLT) itself.
  • the hydraulic assembly 13* is also provided with a delivery pipe 50 for delivery to a micro-accumulation tank (MCR) ( Figure 3 ) and a return pipe 60 for return of the hot water contained in the micro-accumulation tank (MCR) to the primary circuit (C1).
  • MCR micro-accumulation tank
  • C1 primary circuit
  • Said two interruptions (INT1), (INT2) are provided at the moment of production of the second sub-assembly (STG2).
  • a plug is provided in the pipe 36, which disconnects the cold water entering the micro-accumulation tank (MCR) from the hot water that flows out.
  • the micro-accumulation tank is a 4-litre or 5-litre tank, kept pre-heated by an electrical resistor (RE) ( Figure 3 ), which enables the instantaneous boiler 11 to reduce drastically the time for waiting for the production of hot water at 50°C when said boiler 11 starts cold. It basically functions as thermal flywheel in the initial step of intake of the sanitary hot water.
  • the pump 26 goes into operation and recalls hot water at 70-80°C (from the pipe 60) present in the micro-accumulation tank (MCR), said hot water being sent to the primary heat exchanger 16 through the pipe 29 so as to bring the hot water of the primary circuit (C1) rapidly into steady-state conditions and, evidently indirectly, heat also up the sanitary water fast by means of the secondary heat exchanger 20.
  • the delivery pipe 50 and the return pipe 60 of the micro-accumulation tank (MCR) are provided, respectively, with an attachment (IAF) for the cold water and an attachment (UAC) for hot water for immediate needs.
  • a peculiarity of the present invention lies in that the two attachments (IAF) and (UAC) are integrated in the second sub-assembly (STG2), hence enabling elimination of inconvenient coupling pipes used in known existing embodiments.
  • Each device 40 and 40* for crossing of the water entering/leaving the secondary heat exchanger 20 enables the connections of the heat exchanger to be rendered reversible, using at will, on the right or on the left, the coupling headers.
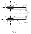
  • FIGS 9 , 10 , and 11 show a particular arrangement, which envisages the use of a header (CLT), integrated in which are two water-crossing devices 40, 40*.
  • CLT header
  • the two water-crossing devices 40, 40* are both on the same side, even though it is possible to provide headers (not shown), in which the two crossing devices 40, 40* are set at the vertices of a diagonal of the heat exchanger 20.
  • the main advantage of the hydraulic valve assembly forming the subject of the present invention consists in providing rational arrangements of the functional elements, with a significant reduction of the overall dimensions and a consequent significant cut in production costs.

Landscapes

  • Engineering & Computer Science (AREA)
  • Physics & Mathematics (AREA)
  • Thermal Sciences (AREA)
  • Chemical & Material Sciences (AREA)
  • Combustion & Propulsion (AREA)
  • Mechanical Engineering (AREA)
  • General Engineering & Computer Science (AREA)
  • Heat-Exchange Devices With Radiators And Conduit Assemblies (AREA)
EP09166063.9A 2008-07-21 2009-07-21 Hydraulikventilanordnung für wandmontierte Boiler Active EP2148149B1 (de)

Applications Claiming Priority (1)

Application Number Priority Date Filing Date Title
IT000456A ITBO20080456A1 (it) 2008-07-21 2008-07-21 Gruppo idraulico valvolare per caldaie murali

Publications (4)

Publication Number Publication Date
EP2148149A2 true EP2148149A2 (de) 2010-01-27
EP2148149A8 EP2148149A8 (de) 2010-05-19
EP2148149A3 EP2148149A3 (de) 2016-08-17
EP2148149B1 EP2148149B1 (de) 2018-10-24

Family

ID=40589622

Family Applications (1)

Application Number Title Priority Date Filing Date
EP09166063.9A Active EP2148149B1 (de) 2008-07-21 2009-07-21 Hydraulikventilanordnung für wandmontierte Boiler

Country Status (4)

Country Link
EP (1) EP2148149B1 (de)
DK (1) DK2148149T3 (de)
ES (1) ES2703009T3 (de)
IT (1) ITBO20080456A1 (de)

Cited By (7)

* Cited by examiner, † Cited by third party
Publication number Priority date Publication date Assignee Title
EP2397777A1 (de) * 2010-06-19 2011-12-21 Grundfos Management A/S Gehäuseeinheit für eine Heizungsanlage
EP2629019A1 (de) * 2012-02-17 2013-08-21 Grundfos Holding A/S Gehäuseeinheit für ein Heizgerät
WO2015091778A1 (en) * 2013-12-20 2015-06-25 Ec Power A/S Heat exchanger apparatus
ITUB20160469A1 (it) * 2016-01-22 2017-07-22 Ivar Spa Dispositivo di regolazione per impianti termici
EP3222929A4 (de) * 2014-11-19 2018-08-08 Kyungdong Navien Co., Ltd. Kessel mit in der wasserohrleitung integriertem rückschlagventil
EP3361182A1 (de) * 2017-02-08 2018-08-15 Grundfos Holding A/S Hydraulische baueinheit für eine heizungs- oder klimaanlage
IT201800000748A1 (it) * 2018-01-11 2019-07-11 Elbi Int Spa Gruppo idraulico per apparecchiatura riscaldante.

Families Citing this family (1)

* Cited by examiner, † Cited by third party
Publication number Priority date Publication date Assignee Title
SK9983Y1 (sk) * 2023-05-02 2024-02-28 Protherm Production S.R.O. Hydraulický modul s voliteľnými doskami a vykurovacie zariadenie vybavené hydraulickým modulom

Family Cites Families (5)

* Cited by examiner, † Cited by third party
Publication number Priority date Publication date Assignee Title
GB2365953B (en) * 2000-07-07 2004-08-25 George Curtis Heating systems
FR2813950B1 (fr) * 2000-09-14 2002-11-15 Chaffoteaux Et Maury Vanne distributrice hydraulique pour systeme de production d'eau chaude de chauffage et d'eau chaude sanitaire
EP1418387B1 (de) * 2002-11-08 2016-01-13 Grundfos A/S Kompaktheizungsanlage mit zwei Heizkreisen
ATE504787T1 (de) * 2003-11-03 2011-04-15 Grundfos As Baueinheit für eine kompaktheizungsanlage
DE502005009452D1 (de) * 2005-03-15 2010-06-02 Grundfos Management As Baueinheit für eine Kompaktheizungsanlage

Cited By (13)

* Cited by examiner, † Cited by third party
Publication number Priority date Publication date Assignee Title
US9612036B2 (en) 2010-06-19 2017-04-04 Grundfos Management A/S Housing unit for a heating system
EP2397777A1 (de) * 2010-06-19 2011-12-21 Grundfos Management A/S Gehäuseeinheit für eine Heizungsanlage
EP2629019A1 (de) * 2012-02-17 2013-08-21 Grundfos Holding A/S Gehäuseeinheit für ein Heizgerät
WO2013120649A1 (de) * 2012-02-17 2013-08-22 Grundfos Holding A/S Gehäuseeinheit für ein heizgerät
CN104114952B (zh) * 2012-02-17 2017-03-15 格兰富控股联合股份公司 用于加热器的壳体单元
WO2015091778A1 (en) * 2013-12-20 2015-06-25 Ec Power A/S Heat exchanger apparatus
EP3222929A4 (de) * 2014-11-19 2018-08-08 Kyungdong Navien Co., Ltd. Kessel mit in der wasserohrleitung integriertem rückschlagventil
ITUB20160469A1 (it) * 2016-01-22 2017-07-22 Ivar Spa Dispositivo di regolazione per impianti termici
EP3361182A1 (de) * 2017-02-08 2018-08-15 Grundfos Holding A/S Hydraulische baueinheit für eine heizungs- oder klimaanlage
WO2018145975A3 (de) * 2017-02-08 2018-10-18 Grundfos Holding A/S Hydraulische baueinheit für eine heizungs- oder klimaanlage
US11555617B2 (en) 2017-02-08 2023-01-17 Grundfos Holding A/S Hydraulic unit for a heating or air-conditioning system
IT201800000748A1 (it) * 2018-01-11 2019-07-11 Elbi Int Spa Gruppo idraulico per apparecchiatura riscaldante.
WO2019138347A1 (en) * 2018-01-11 2019-07-18 Elbi International S.P.A. Hydraulic connection body

Also Published As

Publication number Publication date
ES2703009T3 (es) 2019-03-06
ITBO20080456A1 (it) 2010-01-22
DK2148149T3 (en) 2019-02-11
EP2148149A3 (de) 2016-08-17
EP2148149B1 (de) 2018-10-24
EP2148149A8 (de) 2010-05-19

Similar Documents

Publication Publication Date Title
EP2148149B1 (de) Hydraulikventilanordnung für wandmontierte Boiler
CN102905590A (zh) 用于加热水和产生蒸汽的装置
EP2942583B1 (de) Blockartiger grundkoerper für eine hydraulikbaugruppe zur verwendung in einem wandmontierten boiler
JP4743008B2 (ja) ヒートポンプ式給湯装置
WO2021027234A1 (zh) 水路控制系统和相变热水器
EP1831609B1 (de) Wärmetauscher für einen kombikessel und kombikessel mit diesem wärmetauscher
CN203771666U (zh) 热水器
US12055348B2 (en) Heat exchange apparatus and method of manufacturing the same
CN204153956U (zh) 热水器装置
EP3680574B1 (de) Hydraulikbaugruppe
EP1944554A2 (de) Einheit und Verfahren zur Verteilung von Flüssigkeiten
SK106394A3 (en) Electrical instantaneous water heater
CN111365494A (zh) 一种自动开关阀芯
EP2362154B1 (de) Hohler, monolitischer Verteiler für Heizsysteme
CN205849266U (zh) 一种即热式持续开水机
CN211316578U (zh) 相变热水器的水路控制系统和相变热水器
CN218978626U (zh) 一种带凉白开功能的壁挂式饮水机
KR100690278B1 (ko) 이중관 구조를 갖는 온수 및 난방 겸용 보일러
CN220911793U (zh) 一种台式冷热两用电开水器
EP3879926B1 (de) Heizpatrone für eine ausgabevorrichtung und ausgabevorrichtung mit besagter heizpatrone
GB2266762A (en) Heating domestic water
CN105661985A (zh) 热水器双模式循环水暖椅
CN201005505Y (zh) 具有防窜温功能的快速加热饮水机
CN208296311U (zh) 热水器的热水水箱及具有其的空气源热泵热水器
JPH0328258Y2 (de)

Legal Events

Date Code Title Description
PUAI Public reference made under article 153(3) epc to a published international application that has entered the european phase

Free format text: ORIGINAL CODE: 0009012

AK Designated contracting states

Kind code of ref document: A2

Designated state(s): AT BE BG CH CY CZ DE DK EE ES FI FR GB GR HR HU IE IS IT LI LT LU LV MC MK MT NL NO PL PT RO SE SI SK SM TR

PUAL Search report despatched

Free format text: ORIGINAL CODE: 0009013

AK Designated contracting states

Kind code of ref document: A3

Designated state(s): AT BE BG CH CY CZ DE DK EE ES FI FR GB GR HR HU IE IS IT LI LT LU LV MC MK MT NL NO PL PT RO SE SI SK SM TR

AX Request for extension of the european patent

Extension state: AL BA RS

RIC1 Information provided on ipc code assigned before grant

Ipc: F24H 9/14 20060101AFI20160708BHEP

STAA Information on the status of an ep patent application or granted ep patent

Free format text: STATUS: REQUEST FOR EXAMINATION WAS MADE

17P Request for examination filed

Effective date: 20170217

RBV Designated contracting states (corrected)

Designated state(s): AT BE BG CH CY CZ DE DK EE ES FI FR GB GR HR HU IE IS IT LI LT LU LV MC MK MT NL NO PL PT RO SE SI SK SM TR

GRAP Despatch of communication of intention to grant a patent

Free format text: ORIGINAL CODE: EPIDOSNIGR1

STAA Information on the status of an ep patent application or granted ep patent

Free format text: STATUS: GRANT OF PATENT IS INTENDED

INTG Intention to grant announced

Effective date: 20180516

GRAS Grant fee paid

Free format text: ORIGINAL CODE: EPIDOSNIGR3

GRAA (expected) grant

Free format text: ORIGINAL CODE: 0009210

STAA Information on the status of an ep patent application or granted ep patent

Free format text: STATUS: THE PATENT HAS BEEN GRANTED

AK Designated contracting states

Kind code of ref document: B1

Designated state(s): AT BE BG CH CY CZ DE DK EE ES FI FR GB GR HR HU IE IS IT LI LT LU LV MC MK MT NL NO PL PT RO SE SI SK SM TR

REG Reference to a national code

Ref country code: GB

Ref legal event code: FG4D

REG Reference to a national code

Ref country code: CH

Ref legal event code: EP

REG Reference to a national code

Ref country code: IE

Ref legal event code: FG4D

REG Reference to a national code

Ref country code: AT

Ref legal event code: REF

Ref document number: 1057149

Country of ref document: AT

Kind code of ref document: T

Effective date: 20181115

REG Reference to a national code

Ref country code: DE

Ref legal event code: R096

Ref document number: 602009055216

Country of ref document: DE

REG Reference to a national code

Ref country code: DK

Ref legal event code: T3

Effective date: 20190206

REG Reference to a national code

Ref country code: NL

Ref legal event code: MP

Effective date: 20181024

REG Reference to a national code

Ref country code: ES

Ref legal event code: FG2A

Ref document number: 2703009

Country of ref document: ES

Kind code of ref document: T3

Effective date: 20190306

REG Reference to a national code

Ref country code: LT

Ref legal event code: MG4D

REG Reference to a national code

Ref country code: AT

Ref legal event code: MK05

Ref document number: 1057149

Country of ref document: AT

Kind code of ref document: T

Effective date: 20181024

PG25 Lapsed in a contracting state [announced via postgrant information from national office to epo]

Ref country code: NL

Free format text: LAPSE BECAUSE OF FAILURE TO SUBMIT A TRANSLATION OF THE DESCRIPTION OR TO PAY THE FEE WITHIN THE PRESCRIBED TIME-LIMIT

Effective date: 20181024

PG25 Lapsed in a contracting state [announced via postgrant information from national office to epo]

Ref country code: PL

Free format text: LAPSE BECAUSE OF FAILURE TO SUBMIT A TRANSLATION OF THE DESCRIPTION OR TO PAY THE FEE WITHIN THE PRESCRIBED TIME-LIMIT

Effective date: 20181024

Ref country code: HR

Free format text: LAPSE BECAUSE OF FAILURE TO SUBMIT A TRANSLATION OF THE DESCRIPTION OR TO PAY THE FEE WITHIN THE PRESCRIBED TIME-LIMIT

Effective date: 20181024

Ref country code: AT

Free format text: LAPSE BECAUSE OF FAILURE TO SUBMIT A TRANSLATION OF THE DESCRIPTION OR TO PAY THE FEE WITHIN THE PRESCRIBED TIME-LIMIT

Effective date: 20181024

Ref country code: NO

Free format text: LAPSE BECAUSE OF FAILURE TO SUBMIT A TRANSLATION OF THE DESCRIPTION OR TO PAY THE FEE WITHIN THE PRESCRIBED TIME-LIMIT

Effective date: 20190124

Ref country code: LV

Free format text: LAPSE BECAUSE OF FAILURE TO SUBMIT A TRANSLATION OF THE DESCRIPTION OR TO PAY THE FEE WITHIN THE PRESCRIBED TIME-LIMIT

Effective date: 20181024

Ref country code: IS

Free format text: LAPSE BECAUSE OF FAILURE TO SUBMIT A TRANSLATION OF THE DESCRIPTION OR TO PAY THE FEE WITHIN THE PRESCRIBED TIME-LIMIT

Effective date: 20190224

Ref country code: LT

Free format text: LAPSE BECAUSE OF FAILURE TO SUBMIT A TRANSLATION OF THE DESCRIPTION OR TO PAY THE FEE WITHIN THE PRESCRIBED TIME-LIMIT

Effective date: 20181024

Ref country code: BG

Free format text: LAPSE BECAUSE OF FAILURE TO SUBMIT A TRANSLATION OF THE DESCRIPTION OR TO PAY THE FEE WITHIN THE PRESCRIBED TIME-LIMIT

Effective date: 20190124

Ref country code: FI

Free format text: LAPSE BECAUSE OF FAILURE TO SUBMIT A TRANSLATION OF THE DESCRIPTION OR TO PAY THE FEE WITHIN THE PRESCRIBED TIME-LIMIT

Effective date: 20181024

PG25 Lapsed in a contracting state [announced via postgrant information from national office to epo]

Ref country code: GR

Free format text: LAPSE BECAUSE OF FAILURE TO SUBMIT A TRANSLATION OF THE DESCRIPTION OR TO PAY THE FEE WITHIN THE PRESCRIBED TIME-LIMIT

Effective date: 20190125

Ref country code: PT

Free format text: LAPSE BECAUSE OF FAILURE TO SUBMIT A TRANSLATION OF THE DESCRIPTION OR TO PAY THE FEE WITHIN THE PRESCRIBED TIME-LIMIT

Effective date: 20190224

Ref country code: SE

Free format text: LAPSE BECAUSE OF FAILURE TO SUBMIT A TRANSLATION OF THE DESCRIPTION OR TO PAY THE FEE WITHIN THE PRESCRIBED TIME-LIMIT

Effective date: 20181024

REG Reference to a national code

Ref country code: DE

Ref legal event code: R097

Ref document number: 602009055216

Country of ref document: DE

PG25 Lapsed in a contracting state [announced via postgrant information from national office to epo]

Ref country code: CZ

Free format text: LAPSE BECAUSE OF FAILURE TO SUBMIT A TRANSLATION OF THE DESCRIPTION OR TO PAY THE FEE WITHIN THE PRESCRIBED TIME-LIMIT

Effective date: 20181024

PG25 Lapsed in a contracting state [announced via postgrant information from national office to epo]

Ref country code: RO

Free format text: LAPSE BECAUSE OF FAILURE TO SUBMIT A TRANSLATION OF THE DESCRIPTION OR TO PAY THE FEE WITHIN THE PRESCRIBED TIME-LIMIT

Effective date: 20181024

Ref country code: SK

Free format text: LAPSE BECAUSE OF FAILURE TO SUBMIT A TRANSLATION OF THE DESCRIPTION OR TO PAY THE FEE WITHIN THE PRESCRIBED TIME-LIMIT

Effective date: 20181024

Ref country code: EE

Free format text: LAPSE BECAUSE OF FAILURE TO SUBMIT A TRANSLATION OF THE DESCRIPTION OR TO PAY THE FEE WITHIN THE PRESCRIBED TIME-LIMIT

Effective date: 20181024

Ref country code: SM

Free format text: LAPSE BECAUSE OF FAILURE TO SUBMIT A TRANSLATION OF THE DESCRIPTION OR TO PAY THE FEE WITHIN THE PRESCRIBED TIME-LIMIT

Effective date: 20181024

PLBE No opposition filed within time limit

Free format text: ORIGINAL CODE: 0009261

STAA Information on the status of an ep patent application or granted ep patent

Free format text: STATUS: NO OPPOSITION FILED WITHIN TIME LIMIT

26N No opposition filed

Effective date: 20190725

PG25 Lapsed in a contracting state [announced via postgrant information from national office to epo]

Ref country code: SI

Free format text: LAPSE BECAUSE OF FAILURE TO SUBMIT A TRANSLATION OF THE DESCRIPTION OR TO PAY THE FEE WITHIN THE PRESCRIBED TIME-LIMIT

Effective date: 20181024

PG25 Lapsed in a contracting state [announced via postgrant information from national office to epo]

Ref country code: MC

Free format text: LAPSE BECAUSE OF FAILURE TO SUBMIT A TRANSLATION OF THE DESCRIPTION OR TO PAY THE FEE WITHIN THE PRESCRIBED TIME-LIMIT

Effective date: 20181024

REG Reference to a national code

Ref country code: CH

Ref legal event code: PL

REG Reference to a national code

Ref country code: BE

Ref legal event code: MM

Effective date: 20190731

PG25 Lapsed in a contracting state [announced via postgrant information from national office to epo]

Ref country code: CH

Free format text: LAPSE BECAUSE OF NON-PAYMENT OF DUE FEES

Effective date: 20190731

Ref country code: LI

Free format text: LAPSE BECAUSE OF NON-PAYMENT OF DUE FEES

Effective date: 20190731

Ref country code: LU

Free format text: LAPSE BECAUSE OF NON-PAYMENT OF DUE FEES

Effective date: 20190721

Ref country code: BE

Free format text: LAPSE BECAUSE OF NON-PAYMENT OF DUE FEES

Effective date: 20190731

PG25 Lapsed in a contracting state [announced via postgrant information from national office to epo]

Ref country code: IE

Free format text: LAPSE BECAUSE OF NON-PAYMENT OF DUE FEES

Effective date: 20190721

PG25 Lapsed in a contracting state [announced via postgrant information from national office to epo]

Ref country code: CY

Free format text: LAPSE BECAUSE OF FAILURE TO SUBMIT A TRANSLATION OF THE DESCRIPTION OR TO PAY THE FEE WITHIN THE PRESCRIBED TIME-LIMIT

Effective date: 20181024

PG25 Lapsed in a contracting state [announced via postgrant information from national office to epo]

Ref country code: MT

Free format text: LAPSE BECAUSE OF FAILURE TO SUBMIT A TRANSLATION OF THE DESCRIPTION OR TO PAY THE FEE WITHIN THE PRESCRIBED TIME-LIMIT

Effective date: 20181024

Ref country code: HU

Free format text: LAPSE BECAUSE OF FAILURE TO SUBMIT A TRANSLATION OF THE DESCRIPTION OR TO PAY THE FEE WITHIN THE PRESCRIBED TIME-LIMIT; INVALID AB INITIO

Effective date: 20090721

PG25 Lapsed in a contracting state [announced via postgrant information from national office to epo]

Ref country code: MK

Free format text: LAPSE BECAUSE OF FAILURE TO SUBMIT A TRANSLATION OF THE DESCRIPTION OR TO PAY THE FEE WITHIN THE PRESCRIBED TIME-LIMIT

Effective date: 20181024

P01 Opt-out of the competence of the unified patent court (upc) registered

Effective date: 20230511

PGFP Annual fee paid to national office [announced via postgrant information from national office to epo]

Ref country code: DK

Payment date: 20230626

Year of fee payment: 15

PGFP Annual fee paid to national office [announced via postgrant information from national office to epo]

Ref country code: TR

Payment date: 20230703

Year of fee payment: 15

Ref country code: GB

Payment date: 20230725

Year of fee payment: 15

Ref country code: ES

Payment date: 20230816

Year of fee payment: 15

PGFP Annual fee paid to national office [announced via postgrant information from national office to epo]

Ref country code: FR

Payment date: 20230725

Year of fee payment: 15

Ref country code: DE

Payment date: 20230726

Year of fee payment: 15

REG Reference to a national code

Ref country code: DE

Ref legal event code: R119

Ref document number: 602009055216

Country of ref document: DE

REG Reference to a national code

Ref country code: DK

Ref legal event code: EBP

Effective date: 20240731

GBPC Gb: european patent ceased through non-payment of renewal fee

Effective date: 20240721

PG25 Lapsed in a contracting state [announced via postgrant information from national office to epo]

Ref country code: DE

Free format text: LAPSE BECAUSE OF NON-PAYMENT OF DUE FEES

Effective date: 20250201

PG25 Lapsed in a contracting state [announced via postgrant information from national office to epo]

Ref country code: FR

Free format text: LAPSE BECAUSE OF NON-PAYMENT OF DUE FEES

Effective date: 20240731

PG25 Lapsed in a contracting state [announced via postgrant information from national office to epo]

Ref country code: GB

Free format text: LAPSE BECAUSE OF NON-PAYMENT OF DUE FEES

Effective date: 20240721

PG25 Lapsed in a contracting state [announced via postgrant information from national office to epo]

Ref country code: DK

Free format text: LAPSE BECAUSE OF NON-PAYMENT OF DUE FEES

Effective date: 20240731

REG Reference to a national code

Ref country code: ES

Ref legal event code: FD2A

Effective date: 20250901

PG25 Lapsed in a contracting state [announced via postgrant information from national office to epo]

Ref country code: ES

Free format text: LAPSE BECAUSE OF NON-PAYMENT OF DUE FEES

Effective date: 20240722

PGFP Annual fee paid to national office [announced via postgrant information from national office to epo]

Ref country code: IT

Payment date: 20250626

Year of fee payment: 17