EP1985372B1 - Dust collector of vacuum cleaner - Google Patents
Dust collector of vacuum cleaner Download PDFInfo
- Publication number
- EP1985372B1 EP1985372B1 EP08160033.0A EP08160033A EP1985372B1 EP 1985372 B1 EP1985372 B1 EP 1985372B1 EP 08160033 A EP08160033 A EP 08160033A EP 1985372 B1 EP1985372 B1 EP 1985372B1
- Authority
- EP
- European Patent Office
- Prior art keywords
- dust
- press member
- dust collector
- collector
- storage part
- Prior art date
- Legal status (The legal status is an assumption and is not a legal conclusion. Google has not performed a legal analysis and makes no representation as to the accuracy of the status listed.)
- Not-in-force
Links
Images
Classifications
-
- B—PERFORMING OPERATIONS; TRANSPORTING
- B04—CENTRIFUGAL APPARATUS OR MACHINES FOR CARRYING-OUT PHYSICAL OR CHEMICAL PROCESSES
- B04C—APPARATUS USING FREE VORTEX FLOW, e.g. CYCLONES
- B04C5/00—Apparatus in which the axial direction of the vortex is reversed
- B04C5/14—Construction of the underflow ducting; Apex constructions; Discharge arrangements ; discharge through sidewall provided with a few slits or perforations
- B04C5/185—Dust collectors
-
- A—HUMAN NECESSITIES
- A47—FURNITURE; DOMESTIC ARTICLES OR APPLIANCES; COFFEE MILLS; SPICE MILLS; SUCTION CLEANERS IN GENERAL
- A47L—DOMESTIC WASHING OR CLEANING; SUCTION CLEANERS IN GENERAL
- A47L9/00—Details or accessories of suction cleaners, e.g. mechanical means for controlling the suction or for effecting pulsating action; Storing devices specially adapted to suction cleaners or parts thereof; Carrying-vehicles specially adapted for suction cleaners
- A47L9/10—Filters; Dust separators; Dust removal; Automatic exchange of filters
- A47L9/106—Dust removal
- A47L9/108—Dust compression means
-
- A—HUMAN NECESSITIES
- A47—FURNITURE; DOMESTIC ARTICLES OR APPLIANCES; COFFEE MILLS; SPICE MILLS; SUCTION CLEANERS IN GENERAL
- A47L—DOMESTIC WASHING OR CLEANING; SUCTION CLEANERS IN GENERAL
- A47L9/00—Details or accessories of suction cleaners, e.g. mechanical means for controlling the suction or for effecting pulsating action; Storing devices specially adapted to suction cleaners or parts thereof; Carrying-vehicles specially adapted for suction cleaners
- A47L9/10—Filters; Dust separators; Dust removal; Automatic exchange of filters
- A47L9/16—Arrangement or disposition of cyclones or other devices with centrifugal action
- A47L9/1683—Dust collecting chambers; Dust collecting receptacles
Definitions
- the present invention relates to a dust collector of a vacuum cleaner, and more particularly, to a dust collector of a vacuum cleaner according to the preamble portion of claim 1 that has an increased dust collection capacity.
- a vacuum cleaner is a device that can suction air containing dust using the vacuum pressure generated by a vacuum motor mounted in a main body and filter off the dust in the main body.
- Such a vacuum cleaner includes a suction nozzle for suctioning air containing dust, a main body of the vacuum cleaner that communicates with the suction nozzle, an extension tube for guiding the air suctioned through the suction nozzle to the main body, and a connecting passage for connecting the air that passes through the extension tube to the main body.
- the suction nozzle forms a nozzle suction opening of a predetermined size on a bottom thereof, for suctioning air containing dust collected on the floor.
- a drive unit that generates suctioning force to suction outside air including dust through the suctioning nozzle.
- a dust collector for separating and storing dust is detachably installed in the main body.
- the dust collector separates and stores dust in air that is suctioned through the suction nozzle.
- the dust collector includes a dust collection body, an inlet through which air is suctioned into the dust collection body, a cyclone unit separating dust from air suctioned into the dust collection body, a dust storage part storing the dust separated in the cyclone unit, and an outlet through which the purified air is discharged.
- the dust stored at the bottom of the dust collection body (that is, the dust in the dust storage part) is continuously circulated along an inner circumference of the dust collection body by means of a circulating current within the dust collection body while the vacuum cleaner is operating.
- the dust settles down on the floor of the dust collection body and is stored therein at a low density.
- the dust collector of a related art when more than a predetermined amount of dust are stored in the dust collector while the vacuum cleaner is operating, the dust circulates and rises along an inner wall of the dust collector to invade the cyclone unit formed in an upper space of the dust collection body. Thus, the non-separated dust is discharged together with the air current through the outlet, thus lowering the dust collecting effectiveness of the dust collector.
- the dust settles down on the bottom of the dust collection body and has a low density.
- the dust inside the dust collection body takes up excessive volume in proportion to its weight, necessitating frequent (and therefore, cumbersome) emptying of the dust collection body in order to maintain a level of dust collecting effectiveness.
- EP 1136028 A2 which has been used to form the preamble portion of claim 1, discloses a dust collector for a vacuum cleaner which has a partition plate partitioning a dust separator and a portion of a dust storage part.
- the partition plate is vertically reciprocatingly movable within the dust storage part so as to simultaneously act as a press member for pressing dust stored within the dust storage part.
- the present invention is directed to a dust collector of a vacuum cleaner that substantially obviates one or more problems due to limitations and disadvantages of the related art.
- An object of the present invention is to provide a dust collector of a vacuum cleaner that has an increased dust collection capacity.
- An aspect of the present invention is to provide a dust collector of a vacuum cleaner that have an increased dust collection capacity by automatically compressing dust stored therein.
- a dust collector of vacuum cleaner including: a dust separator separating dust contained in air; a dust container including a dust storage part storing the dust separated by the dust separator; a partition plate partitioning the dust separator and at least a portion of the dust storage part, and at least one press member movably disposed within the dust container to decrease a volume of the dust stored in the dust storage part wherein the press member is a structure that is different from the partition plate.
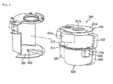
- Fig. 1 is a perspective view illustrating a dust collector separated from a vacuum cleaner according to an embodiment of the present invention
- Fig. 2 is a perspective view illustrating the dust collector separated from a dust collector receiving part applied to the vacuum cleaner
- Fig. 3 is a sectional perspective view of the dust collector
- Fig. 4 is an enlarged view of section "A" in Fig. 3 ;
- Fig. 5 is a perspective view illustrating a coupling relation between a driving apparatus for compressing dust stored in the dust collector and the dust collector;
- Figs. 6 and 7 are plan views illustrating how dust is compressed within the dust collector
- Fig. 8 is a disassembled view of a dust separator and a dust container from the dust collector.
- Fig. 9 is a perspective view of the dust separator illustrated in Fig. 8 as seen from underneath.
- Fig. 1 is a perspective view illustrating a dust collector separated from a vacuum cleaner according to an embodiment of the present invention.
- the vacuum cleaner includes a main body 100 of the vacuum cleaner having a suction generator therein and a dust collector 200 separating and storing dust in the suctioned air.
- the vacuum cleaner further includes a suction nozzle (not shown) suctioning air containing dust and a connecting passage (not shown) connecting the suction nozzle to the main body 100.
- the suction nozzle and the connecting passage have a basic constitution that is the same as the related art, and thus detailed descriptions thereof will be not given.
- a main body inlet 110 is formed at a front, lower portion of the main body 100. Air containing dust is suctioned from the suction nozzle through the main body inlet 110.
- a main body outlet 120 is formed on a side of the main body 100. Air separated from dust is discharged out of the main body 100 through the main body outlet 120.
- the dust collector 200 includes a dust separator 210 for separating dust from suctioned air and a dust container 220 for storing the dust separated in the dust separator 210.
- the dust separator 210 includes a cyclone unit 211 (refer to Fig. 3 ) separating dust from the suctioned air using a difference in centrifugal force between air and dust (a cyclone principle).
- the dust collector 200 is configured to maximize its ability to store dust inside. For this reason, the dust collector 200 further includes a structure for reducing the volume of dust stored inside the dust container 220.
- Fig. 2 is a perspective view illustrating the dust collector separated from a dust collector receiving part applied to the vacuum cleaner.
- Fig. 3 is a sectional perspective view of the dust collector.
- Fig. 4 is an enlarged view of section "A" in Fig. 3 .
- Fig. 5 is a perspective view illustrating a coupling relation between a driving apparatus for compressing dust stored in the dust collector and the dust collector.
- the dust collector 200 according to an embodiment of the present invention is detachably installed on the main body 100.
- the main body 100 includes a dust collector receiving part 130 for receiving the dust collector 200.
- a pair of press members 310 and 320 are provided in the dust collector 200, for decreasing the volume of the dust stored in the dust container 220 to increase the dust collection capacity.
- the pair of press members 310 and 320 interact with each other to compress the dust and reduce its volume, so that the density of the dust stored in the dust container 220 can be increased, thereby increasing the maximum dust collection capacity in the dust container 220.
- the pair of press members 310 and 320 will be referred to as the first press member 310 and the second press member 320, respectively, for the sake of descriptive simplicity.
- At least one of the pair of press members 310 and 320 is movably provided within the dust container 220 to compress the dust stored between the pair of press members 310 and 320.
- both of the first and second press members 310 and 320 are rotatably provided within the dust container 220, the first and second press members 310 and 320 rotate towards each other, so that the space between one side of the first press member 310 and the one side of the second press member 320 facing the one side of the first press member 310 becomes narrower, thus compressing the dust stored between the first and second press members 310 and 320.
- the first press member 310 is rotatably disposed within the dust container 220 and the second press member 320 is fixed within the dust container 220.
- first press member 310 serves as a rotating member and the second press member 320 serves as a fixed member.
- a dust storage part 221 is formed within the dust container 220 to form a space for storing dust.
- the dust storage part 221 is formed so as to enclose a curve traced by a free edge 311 of the first press member 310 as it rotates within the dust storage part 221.
- the second press member 320 may be disposed between an inner circumferential surface of the dust storage part 221 and a rotating shaft 312 serving as a rotation center of the first press member 310.
- the second press member 320 is disposed on a plane connecting the rotating shaft 312 with the inner circumferential surface of the dust storage part 221.
- the second press member 320 entirely or partially blocks a space defined between the inner circumferential surface of the dust storage part 221 and the axis of the rotating shaft 312, so as to compress the dust together with the first press member 310 when the dust is pushed by the first press member 310.
- an end 321 of the second press member 320 may be integrally formed on the inner circumferential surface of the dust storage part 221, and the other end may be integrally formed with a stationary shaft 322 coaxially provided with the rotating shaft 312 of the first press member 310.
- the second press member 320 is fixed to at least one of the inner circumferential surface of the dust storage part 221 and the stationary shaft 322.
- the end 321 of the second press member 320 is not integrally formed with the inner circumferential surface of the dust storage part 221, the end 321 of the second press member 320 may be disposed proximally to the inner circumferential surface of the dust storage part 221.
- the other end of the second press member 320 is not integrally formed with the stationary shaft 322, the other end of the second press member 320 may be disposed proximally to the stationary shaft 322.
- the reason for the above is to minimize the amount of the dust that is pushed by the first press member 310 to leak through gaps formed at a lateral side of the second press member 320.
- the above-structured first and second press members 310 and 320 may be formed of a plate of a rectangular shape. Also, the rotating shaft 312 of the first press member 310 may be disposed on the same axis as the center of the dust storage part 221.
- the stationary shaft 322 may protrude inward from one end of the dust storage part 221.
- a cavity is formed in an axial direction within the stationary shaft 322 to assemble the rotating shaft 312.
- a predetermined portion of the rotating shaft 312 is inserted into the cavity from topside of the stationary shaft 322.
- the vacuum cleaner according to the present invention includes a driving apparatus 400 selectively connected to the rotating shaft 312 of the first press member 310 to rotate the first press member 310.
- the driving apparatus 400 includes a driving motor 430 for generating driving force and driving mechanisms 410 and 420 that transfer driving force of the driving motor 430 to the first press member 310.
- the driving mechanisms 410 and 420 include a driven gear coupled to the rotating shaft 312 of the first press member 310 and a driving gear transferring driving force to the driven gear 410.
- the driving gear 420 is coupled to a rotating shaft of the driving motor 430, and rotates by the driving motor 430.
- the driving gear 420 coupled to the driving motor 430 rotates, and rotating force of the driving motor 430 is transferred to the driven gear 410 through the driving gear 420, thereby rotating the driven gear 410 to rotate the first press member 310.
- the driving motor 430 is disposed under the dust collector receiving part 130, and the driving gear 420 is coupled to a rotating shaft of the driving motor 430 and disposed on the bottom surface of the dust collector receiving part 130.
- An outer circumferential surface of the driving gear 420 is partially exposed from the bottom of the dust collector receiving part 130 to the outside.
- a motor receiving portion (not shown) for installing the driving motor 430 may be formed under the bottom of the dust collector receiving part 130.
- An opening 131 is formed at the approximate center of the bottom of the dust collector receiving part 130, for partially exposing the outer circumferential surface of the driving gear 420.
- the rotating shaft 312 of the first press member 310 is inserted into the cavity of the stationary shaft 322 from a top portion of the stationary shaft 322, and the driven gear 410 is inserted into the cavity of the stationary shaft 322 from a lower end of the dust container 220 and coupled to the rotating shaft 312.
- a width-difference portion 312c is formed in the rotating shaft 312 and supported by an upper end of the stationary shaft 322.
- the width-difference portion 312c divides the rotating shaft 312 into an upper shaft 312a coupled to the first press member 310 and a lower shaft 312b coupled to the driven gear 410.
- the lower shaft 312b includes a groove 312d for receiving a gear shaft of the driven gear 410, so that the lower shaft 312b is coupled to the driven gear 410.
- the groove 312d may be formed of various shapes such as a circular shape and a rectangular shape, and the gear shaft of the driven gear 410 is formed of a shape engaged with the groove 312d.
- the driven gear 410 when the driven gear 410 is coupled to the rotating shaft 312, the driven gear 410 is exposed to the outside of the dust container 220.
- the driven gear 410 Since the driven gear 410 is exposed to the outside of the dust container 220, when the dust collector 200 installed on the dust collector receiving part 130, the driven gear 410 is engaged with the driving gear 420.
- the driving motor 430 may be a motor capable of both forward and reverse operation. In other words, the driving motor 430 is a motor capable of rotating in either direction.
- the driving motor 430 may rotate in both forward and reverse directions.
- the driving motor 430 may be a motor capable of bidirectionally rotating.
- the first press member 310 may rotate in forward/reverse directions, and thus the compressed dust is accumulated in both sides of the second press member 320.
- a synchronous motor may be used as the driving motor 430.
- the synchronous motor is configured to rotate in forward/reverse directions by itself. When a force greater than a set value is applied to the synchronous motor while rotating in one direction, the synchronous motor rotates in a reverse direction.
- the force applied to the synchronous motor is torque that is generated when the first press member 310 compresses the dust.
- the synchronous motor is configured to rotate in a reverse direction when the torque reaches the set value.
- the driving motor 430 rotate in forward/reverse directions by means of the synchronous motor.
- the first press member 310 may continuously compress the dust for a predetermined time.
- the limit point when the first press member 310 cannot rotate any more means that the torque has reached the set value.
- driving force to rotate the first press member 310 that is, power applied to the driving motor 430 is cut off for a predetermined time, maintaining the dust compressed in the state that the first press member 310 does not rotate. After the predetermined time elapses, power is applied to the driving motor 430, so that the first press member 310 can rotate.
- the point of time of cutting off the power being applied to the driving motor 430 is the time when the torque reaches the set value. Therefore, when the driving motor 430 is driven again, the rotating direction of the driving motor 430 will be reverse to the rotating direction before power is cut off.
- the driving motor 430 may rotate the first press member 310 in the forward/reverse directions at a constant angular speed, in order to more easily compress the dust.
- a display unit (not shown) is provided in the main body 100, the dust collector 200 or a handle (not shown).
- the display unit may notify the user that it is time to empty the dust container 220.
- Figs. 6 and 7 are plan views illustrating how dust is compressed within the dust collector.
- the dust separated in the cyclone unit 211 is stored in the dust storage part 221.
- the pair of press members 310 and 320 compress the dust stored in the dust storage part 221.
- the driving gear 420 since the driving gear 420 is engaged with the driven gear 410, when the driving motor 430 rotates in one direction, the driving gear 420 rotates in the same direction as the rotating direction of the driving motor 430, and the driven gear 410 rotates in a reverse direction to the rotating direction of the driving motor 430.
- the rotating direction of the driven gear 410 and the rotating shaft 312 are opposite to the rotating direction of the driving motor 430.
- the first press member 310 When the first press member 310 rotates in the other direction (counterclockwise direction), the first press member 310 pushes the dust collected between the first and second press members 310 and 320 toward one side of the second press member 320, thereby compressing the dust.
- the first press member 310 continuously rotates until the torque generated during the compression of the dust reaches the set value.
- the first press member 310 When the first press member 310 rotates in a clockwise direction, the first press member 310 pushes the dust collected between the first and second press members 310 and 320 toward the other side of the second press member 320, thereby compressing the dust.
- the compressing operation is repeatedly performed until the rotation range of the first press member 310 falls below a predetermined angle.
- Fig. 8 is a disassembled view of a dust separator and a dust container from the dust collector and Fig. 9 is a perspective view of the dust separator illustrated in Fig. 8 as seen from underneath.
- the dust separator 210 is coupled to an upper side of the dust container 220.
- the dust separated in the dust separator 210 moves downward and is stored in the dust container 220.
- an inlet 211a for suctioning air containing dust is disposed in a tangent direction of the dust separator 210 in an upper, outer circumferential surface of the dust separator 210.
- a cover 211d is detachably provided in a top portion of the dust separator 210.
- An outlet 211b is formed at a center portion of the cover 211d.
- the purified air which is separated by the inside of the dust separator 210 (that is, the cyclone unit 211), is discharged through the outlet 211b.
- a filter member 211c of a cavity shape is coupled to the outlet 211b.
- An outer circumferential surface of the filter member 211c has a plurality of through holes formed therein to discharge air that has undergone a dust separating process in the cyclone unit 211.
- a partition plate 230 is formed horizontally at a bottom of the dust separator 210.
- the partition plate 230 divides mutually the dust separator 210 and the dust container 220.
- the partition plate 230 prevents the dust stored inside the dust container 220 from scattering to the dust separator 210 when the dust separator 210 is coupled to the dust container 220.
- the partition plate 230 includes a dust discharge port 231.
- the dust separated in the cyclone unit 211 is discharged to the dust container 220 through the dust discharge port 231.
- the dust discharge port 231 may be located at the side opposite to the second press member 320.
- the reason for the above is that the quantity of the dust compressed on either side of the second press member 320 is maximized to minimize scattering of the dust during the process of storing the dust in the dust container 220, while at the same time, to maximize the dust collection capacity of the dust storage part 221, and to allow the dust separated in the dust separator 210 to easily fall down to the dust container 220.
- the dust separator 210 and the dust container 220 include an upper handle 212 and a lower handle 223, respectively, so as to couple the dust separator 210 and the dust container 220 to each other.
- the dust collector 200 includes a hook fastener such that the dust container 220 is coupled to the dust separator 210 with the dust collector 220 installed on the dust separator 210.
- a hook receptacle 241 is disposed in an outer, lower circumferential surface of the dust separator 210, and a hook 242 is disposed in an upper, outer circumferential surface of the dust container 220, and selectively coupled to the hook receptacle 241.
- the present invention may further include at least one auxiliary cyclone unit 140 provided in the main body 100 of the vacuum cleaner and an auxiliary storage unit 224 provided in the dust collector 200.
- the auxiliary cyclone unit 140 secondarily separates dust from the air discharged from the main cyclone unit 211, and the auxiliary storage part 224 stores the dust separated by the auxiliary cyclone unit 140.
- the auxiliary storage part 224 is provided on an outer circumferential surface of the dust collector 200 with its top surface open.
- the auxiliary storage part 224 is disposed on an outer circumferential surface of the dust container 220, and an auxiliary dust entrance 213 communicating with the auxiliary storage part 224 is disposed on an outer circumferential surface of the dust separator 210.
- auxiliary dust entrance holes 213a that are selectively connected to dust discharge holes 141 of the auxiliary cyclone unit 140 are formed on an outer wall of the auxiliary dust entrance 213, and a bottom surface of the auxiliary dust entrance 213 is opened to communicate with an upper side of the auxiliary storage part 224.
- the auxiliary dust entrance holes 213a are connected to the dust discharge holes 141 of the auxiliary cyclone unit 140.
- the dust separated in the auxiliary cyclone unit 140 passes through the auxiliary dust entrance holes 213a to be stored in the auxiliary storage part 224.
- the suction generator When power is supplied to the vacuum cleaner, the suction generator generates force for suctioning air, and air containing dust is suctioned into the suction nozzle using the force.
- the air that is suctioned through the suction nozzle flows to the inlet 211a of the main cyclone unit 211 through the main body inlet 110.
- the air that passes through the inlet 211a of the main cyclone unit 211 is guided along an inner wall of the main cyclone unit 211 in a tangent direction to flow a spiraling motion, and thus the dust is separated from the air due to a difference in centrifugal force between air and dust, and falls down.
- the dust in the air thus spirals along the inner wall of the main cyclone unit 211 and descends through the dust discharge port 231 of the partition plate 230, and is stored in the main storage part 221.
- the air firstly purified by means of the main cyclone unit 211 passes through the exhaust member 211c and is discharged through the outlet 211b. Then the air flows into the auxiliary cyclone unit 140.
- the dust that is separated from the air using the cyclone principle within the auxiliary cyclone unit 140 is stored in the auxiliary storage part 224, and the air purified in the auxiliary cyclone unit 140 is discharged from the auxiliary cyclone unit 140, flows into the main body 100, and is discharged from the main body 100 through the main body outlet 120.
- the main storage part 221 most of the dust that flows into the vacuum cleaner is stored in the main storage part 221 during a cleaning operation. Also, since the dust stored within the main storage part 221 is compressed by the first and second press members 310 and 320 and is minimized in volume, the large quantity of dust can be stored in the main storage part 221.
- a signal is generated in the display unit, and the signal may notify a user that it is time to empty the dust container 220.
- a canister-type vacuum cleaner has been described above as an example of a vacuum cleaner according to the present invention.
- the present invention is not limited thereto, and may be applied to an upright-type, a robot-type, or other type of vacuum cleaner
- a pair of press members have been described above, but a plurality of press members may be provided or a plurality of rotatable press members may be provided in the present embodiment.
- the dust that is stored in a dust collector can be compressed and minimized in volume by means of a plurality of press members, maximizing a dust collection capacity of the dust collector.
- the compressed dust can be easily discharged from the dust collector when emptying the dust collector.
- a display unit When a quantity of dust exceeding a predetermined amount is collected inside the dust container, a display unit notifies a user that it is time to empty the dust collector, so that a user can easily recognize the time of emptying the dust collector.
Landscapes
- Engineering & Computer Science (AREA)
- Mechanical Engineering (AREA)
- Filters For Electric Vacuum Cleaners (AREA)
- Cleaning In General (AREA)
Applications Claiming Priority (3)
| Application Number | Priority Date | Filing Date | Title |
|---|---|---|---|
| KR1020060018119A KR100871483B1 (ko) | 2006-02-24 | 2006-02-24 | 집진장치 및 이를 가지는 진공 청소기 |
| KR1020060045416A KR100906848B1 (ko) | 2006-05-20 | 2006-05-20 | 진공 청소기 |
| EP07101388A EP1839758B1 (en) | 2006-02-24 | 2007-01-30 | Dust collector and vacuum cleaner |
Related Parent Applications (2)
| Application Number | Title | Priority Date | Filing Date |
|---|---|---|---|
| EP07101388.2 Division | 2007-01-30 | ||
| EP07101388A Division EP1839758B1 (en) | 2006-02-24 | 2007-01-30 | Dust collector and vacuum cleaner |
Publications (3)
| Publication Number | Publication Date |
|---|---|
| EP1985372A2 EP1985372A2 (en) | 2008-10-29 |
| EP1985372A3 EP1985372A3 (en) | 2011-04-27 |
| EP1985372B1 true EP1985372B1 (en) | 2014-09-17 |
Family
ID=38294140
Family Applications (5)
| Application Number | Title | Priority Date | Filing Date |
|---|---|---|---|
| EP08160033.0A Not-in-force EP1985372B1 (en) | 2006-02-24 | 2007-01-30 | Dust collector of vacuum cleaner |
| EP08160045.4A Not-in-force EP1980327B1 (en) | 2006-02-24 | 2007-01-30 | Dust collector and vacuum cleaner |
| EP07101388A Not-in-force EP1839758B1 (en) | 2006-02-24 | 2007-01-30 | Dust collector and vacuum cleaner |
| EP08160041.3A Not-in-force EP1985374B1 (en) | 2006-02-24 | 2007-01-30 | Vacuum cleaner |
| EP08160034.8A Not-in-force EP1985373B1 (en) | 2006-02-24 | 2007-01-30 | Dust collector of vacuum cleaner |
Family Applications After (4)
| Application Number | Title | Priority Date | Filing Date |
|---|---|---|---|
| EP08160045.4A Not-in-force EP1980327B1 (en) | 2006-02-24 | 2007-01-30 | Dust collector and vacuum cleaner |
| EP07101388A Not-in-force EP1839758B1 (en) | 2006-02-24 | 2007-01-30 | Dust collector and vacuum cleaner |
| EP08160041.3A Not-in-force EP1985374B1 (en) | 2006-02-24 | 2007-01-30 | Vacuum cleaner |
| EP08160034.8A Not-in-force EP1985373B1 (en) | 2006-02-24 | 2007-01-30 | Dust collector of vacuum cleaner |
Country Status (6)
| Country | Link |
|---|---|
| EP (5) | EP1985372B1 (enExample) |
| JP (1) | JP4695102B2 (enExample) |
| AT (1) | ATE449646T1 (enExample) |
| AU (1) | AU2007200406B2 (enExample) |
| DE (1) | DE602007003396D1 (enExample) |
| ES (1) | ES2335149T3 (enExample) |
Families Citing this family (29)
| Publication number | Priority date | Publication date | Assignee | Title |
|---|---|---|---|---|
| US8978197B2 (en) | 2009-03-13 | 2015-03-17 | Lg Electronics Inc. | Vacuum cleaner |
| US7987551B2 (en) | 2005-12-10 | 2011-08-02 | Lg Electronics Inc. | Vacuum cleaner |
| US7749295B2 (en) | 2005-12-10 | 2010-07-06 | Lg Electronics Inc. | Vacuum cleaner with removable dust collector, and methods of operating the same |
| US8544143B2 (en) | 2005-12-10 | 2013-10-01 | Lg Electronics Inc. | Vacuum cleaner with removable dust collector, and methods of operating the same |
| US8404034B2 (en) | 2005-12-10 | 2013-03-26 | Lg Electronics Inc. | Vacuum cleaner and method of controlling the same |
| US8281455B2 (en) | 2005-12-10 | 2012-10-09 | Lg Electronics Inc. | Vacuum cleaner |
| US8012250B2 (en) | 2005-12-10 | 2011-09-06 | Lg Electronics Inc. | Vacuum cleaner |
| JP4695102B2 (ja) * | 2006-02-24 | 2011-06-08 | エルジー エレクトロニクス インコーポレイティド | 集塵装置及び真空掃除機 |
| EP1949842B1 (en) | 2007-01-24 | 2015-03-04 | LG Electronics Inc. | Vacuum cleaner |
| US7640625B2 (en) * | 2007-04-30 | 2010-01-05 | Samsung Gwangju Electronics Co., Ltd. | Vacuum cleaner |
| US7836546B2 (en) * | 2007-10-23 | 2010-11-23 | Samsung Gwangiu Electronics Co., Ltd. | Dust collecting unit for vacuum cleaner |
| JP4589989B2 (ja) * | 2008-07-03 | 2010-12-01 | シャープ株式会社 | サイクロン分離装置 |
| ES2610424T3 (es) * | 2008-07-08 | 2017-04-27 | Lg Electronics Inc. | Aspiradora |
| US7992252B2 (en) | 2009-02-12 | 2011-08-09 | Lg Electronics Inc. | Vacuum cleaner |
| US8151409B2 (en) | 2009-02-26 | 2012-04-10 | Lg Electronics Inc. | Vacuum cleaner |
| US8713752B2 (en) | 2009-03-13 | 2014-05-06 | Lg Electronics Inc. | Vacuum cleaner |
| WO2011055861A1 (ko) * | 2009-11-03 | 2011-05-12 | 엘지전자 주식회사 | 진공청소기 |
| KR101749112B1 (ko) | 2010-12-28 | 2017-06-20 | 엘지전자 주식회사 | 진공청소기 |
| GB2487775B (en) * | 2011-02-04 | 2013-03-27 | Dyson Technology Ltd | Autonomous vacuum cleaner |
| JP5770029B2 (ja) | 2011-06-24 | 2015-08-26 | 株式会社東芝 | 電気掃除機 |
| WO2013057542A1 (en) * | 2011-10-19 | 2013-04-25 | Inventarechimere.Com S.A.S. Di Pineschi Massimiliano & C. | A detritus compacting unit for aspiration apparatus |
| KR101520547B1 (ko) * | 2013-10-18 | 2015-05-14 | 엘지전자 주식회사 | 진공 청소기 |
| KR101641261B1 (ko) | 2014-10-28 | 2016-07-20 | 엘지전자 주식회사 | 청소기 |
| CN106175605B (zh) * | 2015-05-07 | 2019-09-06 | 江苏美的清洁电器股份有限公司 | 扫地机器人及其的灰尘压缩控制装置和方法 |
| KR102308661B1 (ko) | 2015-05-26 | 2021-10-05 | 엘지전자 주식회사 | 진공청소기용 집진장치 및 이를 구비하는 진공청소기 |
| KR102071945B1 (ko) * | 2018-08-30 | 2020-01-31 | 삼성전자주식회사 | 청소기 |
| CN112890673B (zh) * | 2021-02-05 | 2022-04-29 | 蚌埠腾意环保科技有限公司 | 一种工业除尘装置用灰尘收集装置 |
| DE102021206912B4 (de) * | 2021-07-01 | 2023-06-15 | BSH Hausgeräte GmbH | Staubsammeleinrichtung |
| WO2024162936A2 (en) * | 2023-02-01 | 2024-08-08 | Senur Elektrik Motorlari San. Ve Tic. A.S. | A multi-use vacuum cleaner |
Family Cites Families (17)
| Publication number | Priority date | Publication date | Assignee | Title |
|---|---|---|---|---|
| JPS5428457A (en) * | 1977-08-08 | 1979-03-03 | Tokyo Electric Co Ltd | Vacuum cleaner |
| JPS5451259A (en) * | 1977-09-30 | 1979-04-21 | Tokyo Electric Co Ltd | Vacuum cleaner |
| JPS5485560A (en) * | 1977-12-20 | 1979-07-07 | Tokyo Electric Co Ltd | Electric cleaner |
| JPS54114366U (enExample) * | 1978-01-31 | 1979-08-11 | ||
| JPS6028377Y2 (ja) * | 1978-01-31 | 1985-08-28 | 東芝テック株式会社 | 電気掃除機の集塵量検出装置 |
| JPS54119272U (enExample) * | 1978-02-10 | 1979-08-21 | ||
| JPS5822684Y2 (ja) * | 1978-11-20 | 1983-05-14 | 三洋電機株式会社 | 電気掃除機 |
| JPS5626044U (enExample) * | 1980-07-16 | 1981-03-10 | ||
| JPS58175532A (ja) * | 1983-03-28 | 1983-10-14 | 東芝テック株式会社 | 電気掃除機 |
| JPS58218934A (ja) * | 1983-05-31 | 1983-12-20 | 松下電器産業株式会社 | 電気掃除機 |
| JPS59125354U (ja) * | 1983-10-12 | 1984-08-23 | 株式会社日立製作所 | 電気掃除機 |
| US6625845B2 (en) * | 2000-03-24 | 2003-09-30 | Sharp Kabushiki Kaisha | Cyclonic vacuum cleaner |
| FR2823091B1 (fr) * | 2001-04-09 | 2003-06-13 | Seb Sa | Dispositif de compactage des dechets dans un aspirateur |
| DE60237744D1 (de) * | 2001-08-08 | 2010-11-04 | Panasonic Corp | Staubsauger mit Staubverdichtungsmitteln |
| JP2005034213A (ja) * | 2003-07-16 | 2005-02-10 | Matsushita Electric Ind Co Ltd | 電気掃除機 |
| CN100512740C (zh) * | 2004-04-07 | 2009-07-15 | 东芝泰格株式会社 | 电动吸尘器 |
| JP4695102B2 (ja) * | 2006-02-24 | 2011-06-08 | エルジー エレクトロニクス インコーポレイティド | 集塵装置及び真空掃除機 |
-
2007
- 2007-01-30 JP JP2007019861A patent/JP4695102B2/ja not_active Expired - Fee Related
- 2007-01-30 ES ES07101388T patent/ES2335149T3/es active Active
- 2007-01-30 EP EP08160033.0A patent/EP1985372B1/en not_active Not-in-force
- 2007-01-30 EP EP08160045.4A patent/EP1980327B1/en not_active Not-in-force
- 2007-01-30 EP EP07101388A patent/EP1839758B1/en not_active Not-in-force
- 2007-01-30 EP EP08160041.3A patent/EP1985374B1/en not_active Not-in-force
- 2007-01-30 DE DE602007003396T patent/DE602007003396D1/de active Active
- 2007-01-30 AT AT07101388T patent/ATE449646T1/de not_active IP Right Cessation
- 2007-01-30 EP EP08160034.8A patent/EP1985373B1/en not_active Not-in-force
- 2007-01-31 AU AU2007200406A patent/AU2007200406B2/en not_active Ceased
Also Published As
| Publication number | Publication date |
|---|---|
| EP1980327A2 (en) | 2008-10-15 |
| ATE449646T1 (de) | 2009-12-15 |
| EP1985374A2 (en) | 2008-10-29 |
| EP1985374A3 (en) | 2011-04-27 |
| JP2007222614A (ja) | 2007-09-06 |
| DE602007003396D1 (de) | 2010-01-07 |
| AU2007200406B2 (en) | 2008-08-21 |
| AU2007200406A1 (en) | 2007-09-13 |
| EP1985372A2 (en) | 2008-10-29 |
| EP1980327A3 (en) | 2013-01-09 |
| EP1985373B1 (en) | 2014-08-13 |
| EP1985372A3 (en) | 2011-04-27 |
| ES2335149T3 (es) | 2010-03-22 |
| EP1985374B1 (en) | 2014-11-26 |
| EP1839758B1 (en) | 2009-11-25 |
| EP1985373A3 (en) | 2011-04-20 |
| EP1839758A1 (en) | 2007-10-03 |
| EP1980327B1 (en) | 2014-08-06 |
| EP1985373A2 (en) | 2008-10-29 |
| JP4695102B2 (ja) | 2011-06-08 |
Similar Documents
| Publication | Publication Date | Title |
|---|---|---|
| EP1985372B1 (en) | Dust collector of vacuum cleaner | |
| RU2332918C1 (ru) | Пылесборное устройство и пылесос (варианты) | |
| AU2006249291B2 (en) | Vacuum cleaner | |
| US7749294B2 (en) | Compact robot vacuum cleaner | |
| KR100800188B1 (ko) | 진공 청소기 및 그의 집진 장치 | |
| KR100846900B1 (ko) | 진공 청소기 | |
| KR100853332B1 (ko) | 진공 청소기, 진공 청소기의 먼지 분리 장치 및 진공청소기의 제어방법 | |
| KR100871485B1 (ko) | 먼지 압축식 집진장치의 운전방법 | |
| AU2007200407B2 (en) | Method of controlling vacuum cleaner | |
| KR100906848B1 (ko) | 진공 청소기 | |
| KR100992221B1 (ko) | 진공 청소기 | |
| KR100842963B1 (ko) | 진공 청소기 | |
| KR101093941B1 (ko) | 진공 청소기 | |
| KR100895145B1 (ko) | 진공 청소기의 제어 방법 | |
| EP2306878B1 (en) | Vacuum cleaner | |
| KR101286853B1 (ko) | 진공 청소기 | |
| KR101136618B1 (ko) | 진공 청소기의 제어방법 | |
| KR100912317B1 (ko) | 진공 청소기 | |
| RU2375951C2 (ru) | Пылесос (варианты) | |
| KR20070111236A (ko) | 진공 청소기 | |
| KR20080006056A (ko) | 이물 분리 기구 및 이를 구비한 진공 청소기 |
Legal Events
| Date | Code | Title | Description |
|---|---|---|---|
| PUAI | Public reference made under article 153(3) epc to a published international application that has entered the european phase |
Free format text: ORIGINAL CODE: 0009012 |
|
| 17P | Request for examination filed |
Effective date: 20080709 |
|
| AC | Divisional application: reference to earlier application |
Ref document number: 1839758 Country of ref document: EP Kind code of ref document: P |
|
| AK | Designated contracting states |
Kind code of ref document: A2 Designated state(s): AT BE BG CH CY CZ DE DK EE ES FI FR GB GR HU IE IS IT LI LT LU LV MC NL PL PT RO SE SI SK TR |
|
| PUAL | Search report despatched |
Free format text: ORIGINAL CODE: 0009013 |
|
| AK | Designated contracting states |
Kind code of ref document: A3 Designated state(s): AT BE BG CH CY CZ DE DK EE ES FI FR GB GR HU IE IS IT LI LT LU LV MC NL PL PT RO SE SI SK TR |
|
| AKX | Designation fees paid |
Designated state(s): AT BE BG CH CY CZ DE DK EE ES FI FR GB GR HU IE IS IT LI LT LU LV MC NL PL PT RO SE SI SK TR |
|
| GRAP | Despatch of communication of intention to grant a patent |
Free format text: ORIGINAL CODE: EPIDOSNIGR1 |
|
| INTG | Intention to grant announced |
Effective date: 20140415 |
|
| GRAS | Grant fee paid |
Free format text: ORIGINAL CODE: EPIDOSNIGR3 |
|
| GRAA | (expected) grant |
Free format text: ORIGINAL CODE: 0009210 |
|
| AC | Divisional application: reference to earlier application |
Ref document number: 1839758 Country of ref document: EP Kind code of ref document: P |
|
| AK | Designated contracting states |
Kind code of ref document: B1 Designated state(s): AT BE BG CH CY CZ DE DK EE ES FI FR GB GR HU IE IS IT LI LT LU LV MC NL PL PT RO SE SI SK TR |
|
| REG | Reference to a national code |
Ref country code: GB Ref legal event code: FG4D |
|
| REG | Reference to a national code |
Ref country code: CH Ref legal event code: EP |
|
| REG | Reference to a national code |
Ref country code: IE Ref legal event code: FG4D |
|
| REG | Reference to a national code |
Ref country code: AT Ref legal event code: REF Ref document number: 687432 Country of ref document: AT Kind code of ref document: T Effective date: 20141015 |
|
| REG | Reference to a national code |
Ref country code: DE Ref legal event code: R096 Ref document number: 602007038622 Country of ref document: DE Effective date: 20141030 |
|
| PG25 | Lapsed in a contracting state [announced via postgrant information from national office to epo] |
Ref country code: LT Free format text: LAPSE BECAUSE OF FAILURE TO SUBMIT A TRANSLATION OF THE DESCRIPTION OR TO PAY THE FEE WITHIN THE PRESCRIBED TIME-LIMIT Effective date: 20140917 Ref country code: SE Free format text: LAPSE BECAUSE OF FAILURE TO SUBMIT A TRANSLATION OF THE DESCRIPTION OR TO PAY THE FEE WITHIN THE PRESCRIBED TIME-LIMIT Effective date: 20140917 Ref country code: FI Free format text: LAPSE BECAUSE OF FAILURE TO SUBMIT A TRANSLATION OF THE DESCRIPTION OR TO PAY THE FEE WITHIN THE PRESCRIBED TIME-LIMIT Effective date: 20140917 Ref country code: GR Free format text: LAPSE BECAUSE OF FAILURE TO SUBMIT A TRANSLATION OF THE DESCRIPTION OR TO PAY THE FEE WITHIN THE PRESCRIBED TIME-LIMIT Effective date: 20141218 |
|
| REG | Reference to a national code |
Ref country code: NL Ref legal event code: VDEP Effective date: 20140917 |
|
| REG | Reference to a national code |
Ref country code: LT Ref legal event code: MG4D |
|
| PG25 | Lapsed in a contracting state [announced via postgrant information from national office to epo] |
Ref country code: LV Free format text: LAPSE BECAUSE OF FAILURE TO SUBMIT A TRANSLATION OF THE DESCRIPTION OR TO PAY THE FEE WITHIN THE PRESCRIBED TIME-LIMIT Effective date: 20140917 Ref country code: CY Free format text: LAPSE BECAUSE OF FAILURE TO SUBMIT A TRANSLATION OF THE DESCRIPTION OR TO PAY THE FEE WITHIN THE PRESCRIBED TIME-LIMIT Effective date: 20140917 |
|
| REG | Reference to a national code |
Ref country code: AT Ref legal event code: MK05 Ref document number: 687432 Country of ref document: AT Kind code of ref document: T Effective date: 20140917 |
|
| PG25 | Lapsed in a contracting state [announced via postgrant information from national office to epo] |
Ref country code: NL Free format text: LAPSE BECAUSE OF FAILURE TO SUBMIT A TRANSLATION OF THE DESCRIPTION OR TO PAY THE FEE WITHIN THE PRESCRIBED TIME-LIMIT Effective date: 20140917 |
|
| PG25 | Lapsed in a contracting state [announced via postgrant information from national office to epo] |
Ref country code: EE Free format text: LAPSE BECAUSE OF FAILURE TO SUBMIT A TRANSLATION OF THE DESCRIPTION OR TO PAY THE FEE WITHIN THE PRESCRIBED TIME-LIMIT Effective date: 20140917 Ref country code: RO Free format text: LAPSE BECAUSE OF FAILURE TO SUBMIT A TRANSLATION OF THE DESCRIPTION OR TO PAY THE FEE WITHIN THE PRESCRIBED TIME-LIMIT Effective date: 20140917 Ref country code: PT Free format text: LAPSE BECAUSE OF FAILURE TO SUBMIT A TRANSLATION OF THE DESCRIPTION OR TO PAY THE FEE WITHIN THE PRESCRIBED TIME-LIMIT Effective date: 20150119 Ref country code: ES Free format text: LAPSE BECAUSE OF FAILURE TO SUBMIT A TRANSLATION OF THE DESCRIPTION OR TO PAY THE FEE WITHIN THE PRESCRIBED TIME-LIMIT Effective date: 20140917 Ref country code: SK Free format text: LAPSE BECAUSE OF FAILURE TO SUBMIT A TRANSLATION OF THE DESCRIPTION OR TO PAY THE FEE WITHIN THE PRESCRIBED TIME-LIMIT Effective date: 20140917 Ref country code: IS Free format text: LAPSE BECAUSE OF FAILURE TO SUBMIT A TRANSLATION OF THE DESCRIPTION OR TO PAY THE FEE WITHIN THE PRESCRIBED TIME-LIMIT Effective date: 20150117 Ref country code: CZ Free format text: LAPSE BECAUSE OF FAILURE TO SUBMIT A TRANSLATION OF THE DESCRIPTION OR TO PAY THE FEE WITHIN THE PRESCRIBED TIME-LIMIT Effective date: 20140917 |
|
| PG25 | Lapsed in a contracting state [announced via postgrant information from national office to epo] |
Ref country code: AT Free format text: LAPSE BECAUSE OF FAILURE TO SUBMIT A TRANSLATION OF THE DESCRIPTION OR TO PAY THE FEE WITHIN THE PRESCRIBED TIME-LIMIT Effective date: 20140917 Ref country code: PL Free format text: LAPSE BECAUSE OF FAILURE TO SUBMIT A TRANSLATION OF THE DESCRIPTION OR TO PAY THE FEE WITHIN THE PRESCRIBED TIME-LIMIT Effective date: 20140917 |
|
| REG | Reference to a national code |
Ref country code: DE Ref legal event code: R097 Ref document number: 602007038622 Country of ref document: DE |
|
| PG25 | Lapsed in a contracting state [announced via postgrant information from national office to epo] |
Ref country code: BE Free format text: LAPSE BECAUSE OF NON-PAYMENT OF DUE FEES Effective date: 20150131 |
|
| PLBE | No opposition filed within time limit |
Free format text: ORIGINAL CODE: 0009261 |
|
| STAA | Information on the status of an ep patent application or granted ep patent |
Free format text: STATUS: NO OPPOSITION FILED WITHIN TIME LIMIT |
|
| PG25 | Lapsed in a contracting state [announced via postgrant information from national office to epo] |
Ref country code: DK Free format text: LAPSE BECAUSE OF FAILURE TO SUBMIT A TRANSLATION OF THE DESCRIPTION OR TO PAY THE FEE WITHIN THE PRESCRIBED TIME-LIMIT Effective date: 20140917 |
|
| 26N | No opposition filed |
Effective date: 20150618 |
|
| REG | Reference to a national code |
Ref country code: CH Ref legal event code: PL |
|
| PG25 | Lapsed in a contracting state [announced via postgrant information from national office to epo] |
Ref country code: IT Free format text: LAPSE BECAUSE OF FAILURE TO SUBMIT A TRANSLATION OF THE DESCRIPTION OR TO PAY THE FEE WITHIN THE PRESCRIBED TIME-LIMIT Effective date: 20140917 Ref country code: LU Free format text: LAPSE BECAUSE OF FAILURE TO SUBMIT A TRANSLATION OF THE DESCRIPTION OR TO PAY THE FEE WITHIN THE PRESCRIBED TIME-LIMIT Effective date: 20150130 |
|
| PG25 | Lapsed in a contracting state [announced via postgrant information from national office to epo] |
Ref country code: MC Free format text: LAPSE BECAUSE OF FAILURE TO SUBMIT A TRANSLATION OF THE DESCRIPTION OR TO PAY THE FEE WITHIN THE PRESCRIBED TIME-LIMIT Effective date: 20140917 |
|
| PG25 | Lapsed in a contracting state [announced via postgrant information from national office to epo] |
Ref country code: CH Free format text: LAPSE BECAUSE OF NON-PAYMENT OF DUE FEES Effective date: 20150131 Ref country code: LI Free format text: LAPSE BECAUSE OF NON-PAYMENT OF DUE FEES Effective date: 20150131 |
|
| REG | Reference to a national code |
Ref country code: IE Ref legal event code: MM4A |
|
| PG25 | Lapsed in a contracting state [announced via postgrant information from national office to epo] |
Ref country code: SI Free format text: LAPSE BECAUSE OF FAILURE TO SUBMIT A TRANSLATION OF THE DESCRIPTION OR TO PAY THE FEE WITHIN THE PRESCRIBED TIME-LIMIT Effective date: 20140917 |
|
| REG | Reference to a national code |
Ref country code: FR Ref legal event code: PLFP Year of fee payment: 10 |
|
| PG25 | Lapsed in a contracting state [announced via postgrant information from national office to epo] |
Ref country code: IE Free format text: LAPSE BECAUSE OF NON-PAYMENT OF DUE FEES Effective date: 20150130 |
|
| REG | Reference to a national code |
Ref country code: FR Ref legal event code: PLFP Year of fee payment: 11 |
|
| PG25 | Lapsed in a contracting state [announced via postgrant information from national office to epo] |
Ref country code: HU Free format text: LAPSE BECAUSE OF FAILURE TO SUBMIT A TRANSLATION OF THE DESCRIPTION OR TO PAY THE FEE WITHIN THE PRESCRIBED TIME-LIMIT; INVALID AB INITIO Effective date: 20070130 Ref country code: BG Free format text: LAPSE BECAUSE OF FAILURE TO SUBMIT A TRANSLATION OF THE DESCRIPTION OR TO PAY THE FEE WITHIN THE PRESCRIBED TIME-LIMIT Effective date: 20140917 |
|
| PG25 | Lapsed in a contracting state [announced via postgrant information from national office to epo] |
Ref country code: TR Free format text: LAPSE BECAUSE OF FAILURE TO SUBMIT A TRANSLATION OF THE DESCRIPTION OR TO PAY THE FEE WITHIN THE PRESCRIBED TIME-LIMIT Effective date: 20140917 |
|
| REG | Reference to a national code |
Ref country code: FR Ref legal event code: PLFP Year of fee payment: 12 |
|
| PGFP | Annual fee paid to national office [announced via postgrant information from national office to epo] |
Ref country code: FR Payment date: 20181207 Year of fee payment: 13 |
|
| PGFP | Annual fee paid to national office [announced via postgrant information from national office to epo] |
Ref country code: GB Payment date: 20191209 Year of fee payment: 14 |
|
| PG25 | Lapsed in a contracting state [announced via postgrant information from national office to epo] |
Ref country code: FR Free format text: LAPSE BECAUSE OF NON-PAYMENT OF DUE FEES Effective date: 20200131 |
|
| GBPC | Gb: european patent ceased through non-payment of renewal fee |
Effective date: 20210130 |
|
| PG25 | Lapsed in a contracting state [announced via postgrant information from national office to epo] |
Ref country code: GB Free format text: LAPSE BECAUSE OF NON-PAYMENT OF DUE FEES Effective date: 20210130 |
|
| PGFP | Annual fee paid to national office [announced via postgrant information from national office to epo] |
Ref country code: DE Payment date: 20211206 Year of fee payment: 16 |
|
| REG | Reference to a national code |
Ref country code: DE Ref legal event code: R119 Ref document number: 602007038622 Country of ref document: DE |
|
| PG25 | Lapsed in a contracting state [announced via postgrant information from national office to epo] |
Ref country code: DE Free format text: LAPSE BECAUSE OF NON-PAYMENT OF DUE FEES Effective date: 20230801 |