EP1936752A2 - Modulare Rundsteckverbindung - Google Patents

Modulare Rundsteckverbindung Download PDF

Info

Publication number
EP1936752A2
EP1936752A2 EP07123335A EP07123335A EP1936752A2 EP 1936752 A2 EP1936752 A2 EP 1936752A2 EP 07123335 A EP07123335 A EP 07123335A EP 07123335 A EP07123335 A EP 07123335A EP 1936752 A2 EP1936752 A2 EP 1936752A2
Authority
EP
European Patent Office
Prior art keywords
circular connector
connector according
sleeve
modular
modular circular
Prior art date
Legal status (The legal status is an assumption and is not a legal conclusion. Google has not performed a legal analysis and makes no representation as to the accuracy of the status listed.)
Granted
Application number
EP07123335A
Other languages
English (en)
French (fr)
Other versions
EP1936752A3 (de
EP1936752B1 (de
Inventor
Wolfgang Pfeiffer
Current Assignee (The listed assignees may be inaccurate. Google has not performed a legal analysis and makes no representation or warranty as to the accuracy of the list.)
LQ MECHATRONIK-SYSTEME GMBH
Original Assignee
Intercontec Produkt GmbH
Intercontec Pfeiffer Industrie Steckverbindungen GmbH
Priority date (The priority date is an assumption and is not a legal conclusion. Google has not performed a legal analysis and makes no representation as to the accuracy of the date listed.)
Filing date
Publication date
Application filed by Intercontec Produkt GmbH, Intercontec Pfeiffer Industrie Steckverbindungen GmbH filed Critical Intercontec Produkt GmbH
Priority to PL07123335T priority Critical patent/PL1936752T3/pl
Publication of EP1936752A2 publication Critical patent/EP1936752A2/de
Publication of EP1936752A3 publication Critical patent/EP1936752A3/de
Application granted granted Critical
Publication of EP1936752B1 publication Critical patent/EP1936752B1/de
Active legal-status Critical Current
Anticipated expiration legal-status Critical

Links

Images

Classifications

    • HELECTRICITY
    • H01ELECTRIC ELEMENTS
    • H01RELECTRICALLY-CONDUCTIVE CONNECTIONS; STRUCTURAL ASSOCIATIONS OF A PLURALITY OF MUTUALLY-INSULATED ELECTRICAL CONNECTING ELEMENTS; COUPLING DEVICES; CURRENT COLLECTORS
    • H01R13/00Details of coupling devices of the kinds covered by groups H01R12/70 or H01R24/00 - H01R33/00
    • H01R13/62Means for facilitating engagement or disengagement of coupling parts or for holding them in engagement
    • H01R13/625Casing or ring with bayonet engagement
    • HELECTRICITY
    • H01ELECTRIC ELEMENTS
    • H01RELECTRICALLY-CONDUCTIVE CONNECTIONS; STRUCTURAL ASSOCIATIONS OF A PLURALITY OF MUTUALLY-INSULATED ELECTRICAL CONNECTING ELEMENTS; COUPLING DEVICES; CURRENT COLLECTORS
    • H01R13/00Details of coupling devices of the kinds covered by groups H01R12/70 or H01R24/00 - H01R33/00
    • H01R13/648Protective earth or shield arrangements on coupling devices, e.g. anti-static shielding  
    • H01R13/658High frequency shielding arrangements, e.g. against EMI [Electro-Magnetic Interference] or EMP [Electro-Magnetic Pulse]
    • H01R13/6591Specific features or arrangements of connection of shield to conductive members
    • H01R13/6592Specific features or arrangements of connection of shield to conductive members the conductive member being a shielded cable
    • HELECTRICITY
    • H01ELECTRIC ELEMENTS
    • H01RELECTRICALLY-CONDUCTIVE CONNECTIONS; STRUCTURAL ASSOCIATIONS OF A PLURALITY OF MUTUALLY-INSULATED ELECTRICAL CONNECTING ELEMENTS; COUPLING DEVICES; CURRENT COLLECTORS
    • H01R13/00Details of coupling devices of the kinds covered by groups H01R12/70 or H01R24/00 - H01R33/00
    • H01R13/62Means for facilitating engagement or disengagement of coupling parts or for holding them in engagement
    • H01R13/639Additional means for holding or locking coupling parts together, after engagement, e.g. separate keylock, retainer strap

Definitions

  • the invention relates to a modular circular connector according to the preamble of claim 1.
  • Connectors are used, for example, in manufacturing plants to manufacture or solve complex cable connections between control units or cabinets and machine tools, where several control and supply lines are combined in a shielded cable.
  • the shields ensure trouble-free operation and must not be impaired at cable transition points such as plugs and sockets. Therefore, it is known to cover the transition points with screw caps so that the shield remains guaranteed, such as in your own DE 20 2005 010 113 U1 described.
  • Out DE 693 26 932 T1 are also known three-part compounds, however, the plug part is fully taken as the first third part rotationally fixed in a shielding sleeve.
  • round plug for the production of electrical line connections are known, for example from the German utility model documents 299 15 382 U1 and 299 15 381 U1 ,
  • the invention has for its object to develop a modular plug-in system that provides connection options for different housing variants of plugs, sockets, couplings or sockets and also allows connection chains. At the same time cost savings should be achieved without quality loss.
  • the general solution to this problem consists of a modular circular connector for connecting different housing variants or for forming connection chains for shielded, multipolar cable connections with different transmission tasks such as power supply and / or Signal transmissions.
  • the coupling parts such as plugs or sockets are shielding metallic hollow bodies which taper according to the invention in an advantageous manner to their contact faces within the sleeve and come into galvanic contact at their contact faces within the sleeve, so as to ensure a shield in each case, even if the sleeve Made of plastic, which is cost effective.
  • Embodiments of the invention are the subject of the dependent claims.
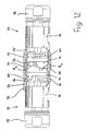
  • the new modular connector can according to a selected here to illustrate the invention example according to FIG. 1 consist of a multi-pin connector 10 and a gleichpoligen socket 12 and a trained as a sleeve Arretierstoff Biology 14.
  • the large-sized pins transmit, for example, a voltage of up to 630 volts and corresponding currents in connections, for example, between work machines and control cabinets. It should be noted that the polar image reproduced here has been chosen only as an example and that other polar patterns in any configuration can also be used within the scope of the invention.
  • plug 10 and socket 12 The construction of plug 10 and socket 12 is mirror images of each other almost equal. Therefore, hereinafter for both parts, plug 10 and socket 12, the modular connector, the same reference numbers in the Figures 2 and 5 used and described. Both parts, plug 10 and socket 12, have the contact side towards a multi-stepped metallic hollow body 16 which shields the entire transition between the plug 10 and socket 12 grounded, and it is also one of the objectives of the invention to ensure this metallic shield over the modular connector without interruption.
  • a metallic screw cap 18 is screwed onto the hollow body 10 with a frontal passage for a not shown, multi-core and shielded cable in a conventional manner, which is clamped and sealed by means of a plastic ring 20.
  • a plastic ring 20 Of the cable only one overhead wire 22 is shown, which ends in the plug 10 at the opposite end in a single pin S and in the socket 12 in a single socket B. Both the individual pins S and the individual sockets B are in them concentrically surrounding and insulating sleeves H, which pass in each hollow body 16 axially inwardly into a solid, substantially cylindrical insulating body 24 made of plastic and form a molded body with this, at the assembly of the cable side into the cylindrical inner shell of the associated metallic hollow body 16 can be inserted.
  • the earth or ground contacts S E and B E are mounted in the plug 10 and in the socket 12. These are not in the insulating body 24, but in a metallic projection 30 inwardly from the most inward stepped edge R S and R B of the metallic hollow body 16. This will both on the plug side and on the socket side, the ground or ground line electrically connected to the metallic hollow bodies 16. at the same time serves the projection 30 for securing the position of the insulating body 24 in the circumferential direction, that is, their position is in the interior of the metallic hollow body 16 by means of projections 30 corresponding recesses positionally secure, and also the exact alignment of the two pole faces to each other also secured.
  • An additional part orientation is effected by a lock pair 25 provided centrally in the insulating body 24.
  • FIGS. 1 . 6 and 7 shown locking center piece 14 in conjunction with the tapered to the contact sides of gradations of the two metallic body 16th
  • the Arretierstoff Anlagen 14 consists of two identical, tightly interconnected by an inner ring 38 rings 32 and 34, which can be rotated along a circumferential parting line 36 against each other by a limited angle. At each outer inner edge of each ring 32, 34 cams 40 are formed. In the example shown here, there are three mutually offset by 120 ° cam 40. In a starting position, which is recognizable from the outside by an equal position of two flattened markings 42 and 44 in the provided with a corrugation 46 outer surface of the Arretierstoff Swisses 14, are located in the Inside the Arretierstoff Swisses 14, the three cams 40 axially aligned with each other. In this position, the locking center piece 14 - as in FIG.
  • the individual sockets S, s and S individual sockets B, aligned with each other it makes sense the only applicable opening 62 clearly mark that on the visible after the complete axial mating outer surfaces of plug 10 and socket 12 each have a mark, for example in the form of a flattening A, which are aligned before mating with the markings 42 and 44 on the Arretierstoff mixes 14 must to allow the mating and fixing.
  • a special feature of the invention is that the Arretierstoff Anlagen 14 can be made of injection molded plastic instead of metallic turned parts and thus much cheaper and easier without losing the shielding effect.
  • the Arretierstoff Anlagen 14 can be made of injection molded plastic instead of metallic turned parts and thus much cheaper and easier without losing the shielding effect.
  • the fully assembled state namely within the locking center piece 14 - even if this is made of an insulating material - the circular edges R S and R B of connector 10 and socket 12 so close to each other that a galvanic connection is formed and a shield remains without gap.
  • a ground connection is ensured with pin S E and socket B E.
  • FIG. 8 It is indicated schematically that various connections between couplings, bushings D, angle plugs or sockets can be secured by means of a Arretierstoff Kunststoffs 14. It is also possible to form connection chains between adapters with alternating polar patterns in order to make various plug-in systems compatible. The connections can be safely used even with the highest levels of contamination, which are often unavoidable in manufacturing companies.
  • FIGS. 9 to 14 show a development of the invention.
  • the plastic insulating body 24 of the plug 10 engages in the assembled state on the insulating body 24 of the bush 12.
  • Both insulators 24 have an in FIG. 12 indicated Montagecodtechnik 46, the socket side from the outer circumference of the insulating 24 projecting cam and plug side formed on the inner circumference of the insulating body 24 incisions into which engage the cams.
  • Montagecodierung 46 and the two metallic hollow body 16 are provided with a mounting coding, which simultaneously forms a positive rotation and relieves the two insulating body 24 made of plastic.
  • the contact end face R s of the hollow body 16 of the plug 10 and the contact end face R b of the hollow body 16 of the bushing 12 are provided with axially aligned steps 52 which engage in one another in the assembled state of the two coupling parts. (see. FIG. 12 ).
  • FIGS. 9 to 14 Another special feature of the further education FIGS. 9 to 14 is that for securing the over the respective locking 60, 62, 64 produced, axial detent position between the plug 10 and sleeve 14 and sleeve 12 and sleeve 14 at least one reverse rotation is provided, which is formed in the embodiment of the sleeve 12.
  • a plastic ring 54 is placed on the metallic hollow body 16 of the bushing 12 and axially fixed by a projection 50. From the plastic ring 54 is a radially elastically deformable nose 56 axially.
  • This nose 56 is in the region of the opposite, open end face of the sleeve 14 associated with a recess 66 with a following in the direction of rotation of the sleeve 14 locking ramp 58.
  • a pushbutton 70 is formed in the region of the nose 56 on the plastic ring 54, which can be pressed radially by hand to push the nose 56 inwardly, so that it can be brought out of engagement with the flank 68.
  • the sleeve 14 can thus be rotated back into the starting position, in which the nose 56 engages in the recess 66, so that the sleeve 14 can be withdrawn from the hollow body 16 of the bush 12.
  • a nearly identical plastic ring 54 ' is also fixed on the hollow body 16 of the plug 10, but here has no push button 70 and no nose 56 and thus does not form a reverse rotation.
  • the two plastic rings 54 and 54 ' here have an additional marking function, which is that they point with different colors on different transfer tasks o. The like., For example, by a red plastic ring 54 indicates another pole number such as a blue plastic ring 54 or indicates whether the circular connector is for power or signal transmission or both.

Landscapes

  • Details Of Connecting Devices For Male And Female Coupling (AREA)
  • Coupling Device And Connection With Printed Circuit (AREA)
  • Pipe Accessories (AREA)
  • Connector Housings Or Holding Contact Members (AREA)

Abstract

Die modulare Rundsteckverbindung dient zum Verbinden von verschiedenen Gehäusevarianten oder zum Bilden von Verbindungsketten für abgeschirmte mehrpolige Kabelanschlüsse mit unterschiedlichen Übertragungsaufgaben wie Starkstromversorgung und/oder Signalübertragungen. Zwischen zwei zu verbindenden Kupplungsteilen (Stecker 10, Buchse 12) ist über den verbundenen Kontakten (S, B, s, b) der Kupplungsteile eine in zwei Richtungen um einen begrenzten Winkel drehbare und an ihren beiden Stirnseiten offene Hülse (14) angeordnet, welche axial beidseitig im Bereich ihre inneren Ränder radial vorstehende Nocken (40) aufweist, wobei bei der einen Drehrichtung die Nocken (40) der einen offenen Stirnseite hinter eine Verriegelung (60, 62, 64) des einen Kupplungsteils (10) und bei der anderen Drehrichtung die Nocken (40) der anderen offenen Stirnseite hinter eine Verriegelung (60, 62, 64) des anderen Kupplungsteils (12) greifen.

Description

  • Die Erfindung betrifft eine modulare Rundsteckverbindung nach dem Oberbegriff des Anspruchs 1.
  • Steckverbindungen werden beispielsweise in Fertigungsanlagen benutzt, um komplexe Kabelverbindungen zwischen Steuergeräten oder Schaltschränken und Werkzeugmaschinen herzustellen oder zu lösen, wobei mehrere Steuer- und Versorgungsleitungen in einem abgeschirmten Kabel zusammengefasst sind. Die Abschirmungen sorgen für einen störungsfreien Betrieb und dürfen an Kabelübergangstellen wie Stecker und Buchsen keine Beeinträchtigungen erfahren. Deshalb ist es bekannt, die Übergangsstellen mit Schraubverschlüssen so zu überdecken, dass die Anschirmung gewährleistet bleibt, wie beispielsweise in der eigenen DE 20 2005 010 113 U1 beschrieben. Aus DE 693 26 932 T1 sind auch dreiteilige Verbindungen bekannt, wobei allerdings der Steckerteil als zunächst drittes Teil drehfest in einer abschirmenden Hülse vollständig aufgenommen wird. Weiterhin sind Rundstecker zur Herstellung elektrischer Leitungsverbindungen bekannt, beispielsweise aus den deutschen Gebrauchsmusterschriften 299 15 382 U1 und 299 15 381 U1 .
  • Der Erfindung liegt die Aufgabe zugrunde, ein modulares Stecksystem zu entwickeln, das für verschiedene Gehäusevarianten von Steckern, Buchsen, Kupplungen oder Muffen Anschlussmöglichkeiten bietet und auch Verbindungsketten ermöglicht. Dabei sollen zugleich ohne Qualitätsverlust Kosteneinsparungen erzielt werden.
  • Die allgemeine Lösung dieser Aufgabe besteht aus einer modularen Rundsteckverbindung zum Verbinden von verschiedenen Gehäusevarianten oder zum Bilden von Verbindungsketten für abgeschirmte, mehrpolige Kabelanschlüsse mit unterschiedlichen Übertragungsaufgaben wie Starkstromversorgung und/oder Signalübertragungen. Zwischen zumindest zwei zu verbindenden Kupplungsteilen befindet sich über den verbundenen Kontakten eine in zwei Richtungen um einen begrenzten Winkel drehbare und an ihren beiden Stirnseiten offene Hülse. Diese weist axial beidseitig an ihren inneren Rändern Vorsprünge auf. Bei der einen Drehrichtung greifen die Vorsprünge der einen offenen Stirnseite hinter eine Verriegelung des einen Kupplungsteils, und bei der anderen Drehrichtung greifen die Vorsprünge der einen offenen Stirnseite hinter eine Verriegelung des anderen Kupplungsteils.
  • Es handelt sich also um eine dreiteilige Rundsteckverbindung, bei der die Hülse als Mittelstück zu ganz verschiedenen Verbindungen benutzt werden kann, da sie nur ein mechanisches Arretierglied ohne besondere elektrische Funktionen ist, sieht man von ihrer Abschirmwirkung bei metallischer Ausführung ab.
  • Die Kupplungsteile wie Stecker oder Buchse sind abschirmende metallische Hohlkörper, die sich erfindungsgemäß in vorteilhafter Weise zu ihren Kontaktstirnflächen innerhalb der Hülse verjüngend abstufen und an ihren Kontaktstirnflächen innerhalb der Hülse in galvanischen Kontakt geraten, um so eine Abschirmung in jedem Fall sicherzustellen, auch wenn die Hülse aus Kunststoff besteht, was kostensparend ist.
  • Ausgestaltungen der Erfindung sind Gegenstand der Unteransprüche.
  • Weitere Einzelheiten und Vorteile ergeben sich aus der folgenden Beschreibung von in der Zeichnung dargestellten Ausführungsbeispielen. Es zeigen:
  • Figur 1
    in schematischer Übersicht eine axiale Zuordnung der Teile der modularen Steckverbindung,
    Figur 2
    eine Längsansicht eines Steckers, teilweise im Schnitt,
    Figur 3
    eine Stirnansicht eines Polbildes des Steckers gemäß Figur 2,
    Figur 4
    eine Stirnansicht eines Polbildes einer Buchse gemäß Figur 5,
    Figur 5
    die Längsansicht der Buchse, teilweise im Schnitt,
    Figur 6
    eine Seitenansicht einer Arretierhülse,
    Figur 7
    eine Frontansicht auf die Arretierhülse gemäß Figur 6,
    Figur 8
    eine schematische Übersicht von verschiedenen Verbindungen,
    Figur 9
    die perspektivische Ansicht einer Variante der Erfindung,
    Figur 10
    die geschnittene Darstellung der Arretierhülse gemäß Figur 9,
    Figur 11
    die perspektische Ansicht der Arretierhülse und des Kunststoffrings,
    Figur 12
    die teilweise geschnittene Längsansicht der Variante der Figur 9,
    Figur 13
    einen im oberen Teil der Figur vollständigem Längsschnitt durch die zusammengebaute Steckverbindung der Figuren 9 und 12 und
    Figur 14
    eine perspektivische Schnittdarstellung dieser Variante.
  • Die neue modulare Steckverbindung kann nach einem hier zur Erläuterung der Erfindung ausgewählten Beispiel gemäß Figur 1 aus einem mehrpoligen Stecker 10 und einer gleichpoligen Buchse 12 sowie einem als Hülse ausgebildeten Arretiermittelstück 14 bestehen. Die Polbilder der groß dimensionierten Stifte S1, S2, S3, S4, S5, S6 - beispielsweise zum Übertragen von starken Strömen - und der klein dimensionierten Stifte S1, S2, S3, S4 - beispielsweise zum Übertragen von schwachen, aber gegebenenfalls hochfrequenten Signalströmen - sowie des Erdungs- (Masse-) Steckers ES des (männlichen) Steckers 10 (Figur 3) liegen polgleich den Einzelbuchsen B1, B2, B3, B4, B5, B6, b1, b2, b3, b4 und der Erdungs- (Masse-) Buchse Be der (weiblichen) Buchse 12 (Figur 4) gegenüber und passen ineinander, wenn Stecker 10 und Buchse 12 axial zusammengesteckt werden. Die groß dimensionierten Stifte übertragen beispielsweise eine Spannung von bis zu 630 Volt und entsprechende Ströme bei Anschlüssen beispielsweise zwischen Arbeitsmaschinen und steuernden Schaltschränken. Hierbei ist anzumerken, dass das hier wiedergegebene Polbild nur beispielhaft gewählt wurde und dass andere Polbilder in beliebiger Konfiguration ebenso im Rahmen der Erfindung genutzt werden können.
  • Der Aufbau von Stecker 10 und Buchse 12 ist spiegelbildlich zueinander fast gleich. Deshalb werden nachstehend für beide Teile, Stecker 10 und Buchse 12, der modularen Steckverbindung die gleichen Bezugszahlen in den Figuren 2 und 5 benutzt und beschrieben. Beide Teile, Stecker 10 und Buchse 12, haben zur Kontaktseite hin einen mehrfach abgestuften metallischen Hohlkörper 16, der den ganzen Übergang zwischen Stecker 10 und Buchse 12 geerdet abschirmt, und es gehört auch zu den Zielen der Erfindung, diese metallische Abschirmung über die modulare Steckverbindung unterbrechungsfrei zu gewährleisten.
  • Kabelseitig ist in üblicher Weise eine metallische Schraubkappe 18 auf den Hohlkörper 10 mit einem stirnseitigen Durchlass für ein nicht dargestelltes, mehradriges und abgeschirmtes Kabel aufgeschraubt, das mittels eines Kunststoffringes 20 geklemmt und abgedichtet wird. Von dem Kabel ist nur eine oben liegende Ader 22 eingezeichnet, die im Stecker 10 am gegenüberliegenden Ende in einem einzelnen Kontaktstift S und in der Buchse 12 in einer Einzelbuchse B endet. Sowohl die einzelnen Stifte S als auch die einzelnen Buchsen B befinden sich in sie konzentrisch umgebenden und isolierenden Hülsen H, die in jedem Hohlkörper 16 axial einwärts in einen massiven, im wesentlichen zylindrischen Isolierkörper 24 aus Kunststoff übergehen und mit diesem einen Formkörper bilden, der bei der Montage von der Kabelseite in den zylindrischen Innenmantel des zugeordneten metallischen Hohlkörpers 16 eingeschoben werden kann. Während in der Buchse 12 der Isolierkörper 24 mit allen von ihm hervorstehenden Isolierhülsen H und den darin liegenden Buchsen B und b bis zum äußeren, am weitesten nach innen abgestuften Rand RB des metallischen Körpers 16 aufragt (Figuren 4 und 5), ragt beim Stecker 10 der Isolierkörper 24 mit den groß dimensionierten Stiften S über den äußeren am weitesten nach innen abgestuften Rand RS des metallischen Hohlkörpers 16 hinaus (Figuren 2 und 3). Lediglich die klein dimensionierten Buchsen , b1, b2, b3, b4, beispielsweise zum Übertragen von schwachen, aber gegebenenfalls hochfrequenten Signalströmen, ragen vom Isolierkörper 24 nur bis zum äußeren und am weitesten nach innen abgestuften Rand RS des metallischen Hohlkörpers 16. Dadurch kontaktieren beim Zusammenstecken von Stecker 10 und Buchse 12 in vorteilhafter Weise die Signalkontakte s erst, wenn über die Stromkontakte S eine Stromversorgung bei angekoppeltem Gerät gesichert ist.
  • In besonderer Weise sind die die Erdungs- oder Massekontakte SE und BE im Stecker 10 und in der Buchse 12 gelagert. Diese befinden sich nicht im Isolierkörper 24, sondern in einem metallischen Vorsprung 30 nach innen vom am weitesten nach innen abgestuften Rand RS bzw. RB des metallischen Hohlkörpers 16. Dadurch wird sowohl auf der Steckerseite als auch auf der Buchsenseite die Erd- oder Masseleitung mit den metallischen Hohlkörpern 16 elektrisch verbunden. Zugleich dient der Vorsprung 30 zur Lagesicherung der Isolierkörper 24 in Umfangsrichtung, das heißt ihre Position wird im Inneren der metallischen Hohlkörper 16 durch mit den Vorsprüngen 30 korrespondierende Ausnehmungen lagesicher, und auch die genaue Ausrichtung der beiden Polgesichter zueinander bleibt ebenfalls gesichert. Eine zusätzliche Teileorientierung erfolgt durch ein zentral im Isolierkörper 24 vorgesehenes Schlosspaar 25.
  • Nach dieser Beschreibung können Stecker 10 und Buchse 12 nunmehr ineinander gesteckt werden. Aber es fehlt noch eine Sicherung gegen ein unbeabsichtigtes Lösen. Hierzu dient das in Figuren 1, 6 und 7 dargestellte Arretiermittelstück 14 in Verbindung mit den sich zu den Kontaktseiten verjüngenden Abstufungen der beiden metallischen Körper 16.
  • Das Arretiermittelstück 14 besteht aus zwei gleichen, dicht miteinander durch einen Innenring 38 verbundenen Ringen 32 und 34, die sich entlang einer umlaufenden Trennlinie 36 gegeneinander um einen begrenzten Winkel verdrehen lassen. Am jeweils äußeren Innenrand jedes Ringes 32, 34 sind Nocken 40 ausgebildet. Im hier dargestellten Beispiel sind es drei zueinander um 120° versetzte Nocken 40. In einer Ausgangsposition, die von außen durch eine Gleichstellung von zwei abgeflachten Markierungen 42 und 44 in der mit einer Riffelung 46 versehenen äußeren Mantelfläche des Arretiermittelstückes 14 erkenntlich ist, befinden sich im Inneren des Arretiermittelstückes 14 die drei Nocken 40 axial je zueinander fluchtend. In dieser Position kann das Arretiermittelstück 14 - wie in Figur 1 dargestellt ist - sowohl auf den Stecker 10 als auch auf die Buchse 12 aufgesteckt werden, bis die beiden äußeren und am weitesten nach innen abgestuften Ränder RS und RB der metallischen Hohlkörper 16 innen in dem Arretiermittelstück 14 etwa unterhalb der Trennlinie 36 aneinanderliegen. Dabei greifen die Nocken 40 durch Öffnungen 62 in einem auf einer Mittelstufe M des jeweiligen Hohlkörpers 16 in Umfangsrichtung aufgebrachten, ringförmigen Vorsprung 60. Werden jetzt die beiden Ringe 32 und 34 des Arretiermittelstückes 14 im Sinne der in Figur 1 eingezeichneten Pfeile P1 und P2 gegeneinander verdreht, geraten die Nocken 40 hinter die ringförmigen Vorsprüngen 60 in eine
  • Ringnut 64 bis zu einem hier nicht eingezeichneten Anschlag und fixieren so bajonettartig die Kupplung zwischen Stecker 10 und Buchse 12.
  • Da die Öffnungen 62 in den ringförmigen Vorsprüngen 60 beim vollständigen Zusammenstecken unter dem Arretiermittelstück 14 nicht mehr sichtbar sind und nur in einer von drei möglichen Stellungen die Einzelstecker S, s und Einzelbuchsen B, b zueinander ausgerichtet sind, ist es sinnvoll, die einzig zutreffende Öffnung 62 dadurch deutlich zu markieren, dass auf den nach dem vollständigen axialen Zusammenstecken sichtbar bleibenden Außenflächen von Stecker 10 und Buchse 12 jeweils eine Markierung beispielsweise in Form einer Abflachung A vorgesehen wird, die vor dem Zusammenstecken mit den Markierungen 42 und 44 auf dem Arretiermittelstück 14 fluchten muss, um das Zusammenstecken und Fixieren zu ermöglichen.
  • Zum Lösen der Verbindung muss durch Rückdrehen der beiden Ringe 32 und 34 in die Ausgangsposition die Öffnung ermöglicht werden.
  • Eine Besonderheit der Erfindung besteht darin, dass sich das Arretiermittelstück 14 statt aus metallischen Drehteilen auch aus spritzgegossenem Kunststoff und damit wesentlich kostengünstiger und leichter herstellen lässt, ohne die Abschirmungswirkung zu verlieren. Im vollständig zusammengesteckten Zustand liegen nämlich innerhalb des Arretiermittelstücks 14 - auch wenn dieses aus einem isolierenden Material besteht - die kreisförmigen Ränder RS und RB von Stecker 10 und Buchse 12 so dicht aneinander, dass eine galvanische Verbindung entsteht und eine Abschirmung ohne Zwischenraum bleibt. Zudem wird mit Stift SE und Buchse BE eine Masseüberleitung gewährleistet.
  • Mit Figur 8 wird schematisch angedeutet, dass verschiedene Verbindungen zwischen Kupplungen, Durchführungen D, Winkelsteckern oder Steckdosen mit Hilfe eines Arretiermittelstücks 14 gesichert werden können. Es lassen sich auch Verbindungsketten zwischen Adaptern mit wechselnden Polbildern bilden, um verschiedene Stecksysteme kompatibel zu machen. Die Verbindungen lassen sich auch bei höchsten Verschmutzungsgraden, wie sie in Fertigungsbetrieben oft unvermeidbar sind, gefahrlos einsetzen.
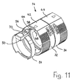
  • Die Figuren 9 bis 14 zeigen eine Weiterbildung der Erfindung. Hier ist zu erkennen, dass der aus Kunststoff bestehende Isolierkörper 24 des Steckers 10 im zusammengesteckten Zustand über den Isolierkörper 24 der Buchse 12 greift. Beide Isolierkörper 24 haben eine in Figur 12 angedeutete Montagecodierung 46, die buchsenseitig aus vom Außenumfang des Isolierkörpers 24 vorstehenden Nocken und steckerseitig aus am Innenumfang des Isolierkörpers 24 ausgebildeten Einschnitten besteht, in die die Nocken eingreifen. Zusätzlich zu dieser Montagecodierung 46 sind auch die beiden metallischen Hohlkörper 16 mit einer Montagecodierung versehen, die gleichzeitig eine formschlüssige Verdrehsicherung bildet und die beiden aus Kunststoff bestehenden Isolierkörper 24 entlastet. Zu diesem Zweck sind die Kontaktstirnfläche Rs des Hohlkörpers 16 des Steckers 10 und die Kontaktstirnfläche Rb des Hohlkörpers 16 der Buchse 12 mit axial ausgerichteten Stufen 52 versehen, die im zusammengesteckten Zustand der beiden Kupplungsteile ineinander eingreifen. (vgl. Figur 12).
  • Eine weitere Besonderheit der Weiterbildung der Figuren 9 bis 14 besteht darin, dass zur Sicherung der über die jeweilige Verriegelung 60, 62, 64 hergestellten, axialen Raststellung zwischen Stecker 10 und Hülse 14 bzw. Buchse 12 und Hülse 14 wenigstens eine Rückdrehsicherung vorgesehen ist, die im Ausführungsbeispiel an der Buchse 12 ausgebildet ist. Zu diesem Zweck ist auf den metallischen Hohlkörper 16 der Buchse 12 ein Kunststoffring 54 aufgesetzt und über einen Vorsprung 50 axial fixiert. Von dem Kunststoffring 54 steht eine radial elastisch verformbare Nase 56 axial ab. Dieser Nase 56 ist im Bereich der gegenüberliegenden, offenen Stirnseite der Hülse 14 eine Aussparung 66 mit einer in Verdrehrichtung der Hülse 14 folgenden Rastrampe 58 zugeordnet. Wenn die Hülse 14 zur Herstellung der axialen Raststellung zwischen den beiden Kupplungsteilen 10 und 12 auf den metallischen Hohlkörper 16 der Buchse 12 aufgesetzt ist und anschließend verdreht wird, überfährt die axial vorstehende Nase 56 die Rastrampe 58 in der Hülse 14 und schnappt danach hinter der Rastrampe 58 in eine Raststellung ein, die durch eine radiale Flanke 68 an der Rückseite der Rastrampe 58 gebildet wird. Damit ist die Hülse 14 auf dem Hohlkörper 16 der Buchse 12 nicht nur axial, sondern auch gegen Rückdrehung gesichert.
  • Um diese Sicherung zu lösen, ist im Bereich der Nase 56 am Kunststoffring 54 eine Drucktaste 70 ausgebildet, die von Hand radial eingedrückt werden kann, um die Nase 56 nach innen zu drücken, damit diese außer Eingriff mit der Flanke 68 gebracht werden kann. Die Hülse 14 kann damit wieder in die Ausgangsstellung zurückgedreht werden, in der die Nase 56 in die Aussparung 66 eingreift, so dass die Hülse 14 vom Hohlkörper 16 der Buchse 12 abgezogen werden kann.
  • Insbesondere in den Figuren 9 und 14 ist zu erkennen, dass ein nahezu identischer Kunststoffring 54' auch auf dem Hohlkörper 16 des Steckers 10 fixiert ist, der hier allerdings keine Drucktaste 70 und keine Nase 56 hat und damit keine Rückdrehsicherung bildet. Die beiden Kunststoffringe 54 und 54' haben hier eine zusätzliche Markierungsfunktion, die darin besteht, dass sie mit unterschiedlicher Farbgebung auf unterschiedliche Übertragungsaufgaben o. dgl. hinweisen, indem beispielsweise ein roter Kunststoffring 54 auf eine andere Polzahl wie ein blauer Kunststoffring 54 hinweist oder angibt, ob die Rundsteckverbindung zur Starkstromversorgung oder zur Signalübertragung oder für beides dient.

Claims (19)

  1. Modulare Rundsteckverbindung zum Verbinden von verschiedenen Gehäusevarianten oder zum Bilden von Verbindungsketten für abgeschirmte mehrpolige Kabelanschlüsse mit Übertragungsaufgaben wie Starkstromversorgung und/oder Signalübertragungen, dadurch gekennzeichnet, dass zwischen zwei zu verbindenden Kupplungsteilen (Stecker 10, Buchse 12) über den verbundenen Kontakten (S, B, s, b) der Kupplungsteile eine in zwei Richtungen um einen begrenzten Winkel drehbare und an ihren beiden Stirnseiten offene Hülse (14) angeordnet ist, welche axial beidseitig im Bereich ihre inneren Ränder radial vorstehende Nocken (40) aufweist, wobei bei der einen Drehrichtung die Nocken (40) der einen offenen Stirnseite hinter eine Verriegelung (60, 62, 64) des einen Kupplungsteils (10) und bei der anderen Drehrichtung die Nocken (40) der anderen offenen Stirnseite hinter eine Verriegelung (60, 62, 64) des anderen Kupplungsteils (12) greifen.
  2. Modulare Rundsteckverbindung nach Anspruch 1, dadurch gekennzeichnet, dass die Kupplungsteile (Stecker 10, Buchse 12) aus metallischen Hohlkörpern (16) bestehen.
  3. Modulare Rundsteckverbindung nach Anspruch 2 , dadurch gekennzeichnet, dass sich die metallischen Hohlkörpern (16) zu ihren Kontaktstirnflächen innerhalb der Hülse (14) verjüngend abstufen.
  4. Modulare Rundsteckverbindung nach Anspruch 2 oder 3, dadurch gekennzeichnet, dass die metallischen Hohlkörper (16) an ihren Kontaktstirnflächen (RS, RB) innerhalb der Hülse (14) in galvanischen Kontakt geraten.
  5. Modulare Rundsteckverbindung nach Anspruch 4, dadurch gekennzeichnet, dass die Kontaktstirnflächen (RS, RB) der beiden Hohlkörper (14) eine Montagecodierung in Form ineinander eingreifender, axial ausgerichteter Stufen (52) haben.
  6. Modulare Rundsteckverbindung nach einem der Ansprüche 3 bis 5, dadurch gekennzeichnet, dass die Abstufung innerhalb der metallischen Hohlkörper (16), welche auf ihrer Umfangsfläche die Verriegelung (60, 62, 64) trägt, einen Durchmesser aufweist, über den der innere Randdurchmesser der an ihren beiden Stirnseiten offenen Hülse (14) passgenau greift.
  7. Modulare Rundsteckverbindung nach einem der vorhergehenden Ansprüche, dadurch gekennzeichnet, dass die Verriegelung (60, 62, 64) aus einem ringförmigen Vorsprung (60) besteht, der eine dahinter befindliche Nut (64) begrenzt und der mit über den Umfang des Vorsprungs (60) verteilten, diesen unterbrechenden Öffnungen (62) versehen ist, durch welche beim Verbinden der Rundsteckverbindung die Nocken (40) hindurchtreten und beim Verdrehen der Hülse (14) bis zu einem Anschlag in die Nut (64) eingreifen.
  8. Modulare Rundsteckverbindung nach Anspruch 7, dadurch gekennzeichnet, dass die Öffnungen (62) und Nocken (40) in ihrem jeweiligen Kreisbogen einen Winkelabstand von 120° haben.
  9. Modulare Rundsteckverbindung nach Anspruch 7 oder 8, dadurch gekennzeichnet, dass die passende Stellung der Nocken (40) zu den zugehörigen Öffnungen (62) auf der Hülse (14) durch Markierungen (42, 44) und auf den metallischen Hohlkörpern (16), durch in gleicher axialer Richtung fluchtende Markierungen (A) angezeigt ist.
  10. Modulare Rundsteckverbindung nach einem der vorhergehenden Ansprüchen, dadurch gekennzeichnet, dass die Hülse (14) für ihre unterschiedliche Drehbewegung längs einer um den Umfang reichenden Trennlinie (36) in zwei eng aneinander liegende Ringe (32, 34) geteilt ist, die im Inneren durch einen schmalen Innenring (38) überbrückt sind.
  11. Modulare Rundsteckverbindung nach Anspruch 10, dadurch gekennzeichnet, dass die unterschiedliche Drehbewegung gerastet ist.
  12. Modulare Rundsteckverbindung nach einem der vorhergehenden Ansprüche, dadurch gekennzeichnet, dass die Hülse (14) aus Kunststoff besteht.
  13. Modulare Rundsteckverbindung nach einem der vorhergehenden Ansprüche, dadurch gekennzeichnet, dass zur Sicherung der über die Verriegelung (60, 62, 64) hergestellten, axialen Raststellung zwischen Kupplungsteil (10, 12) und Hülse (14) wenigstens an einem Kupplungsteil (10, 12) eine Rückdrehsicherung vorgesehen ist.
  14. Modulare Rundsteckverbindung nach Anspruch 13, dadurch gekennzeichnet, dass die Rückdrehsicherung aus einer radial elastisch verformbaren Nase (56) am Kupplungsteil (10, 12) und einer im Bereich der offenen Stirnseite der Hülse (14) ausgebildeten Rastrampe (58) besteht, die bei Verdrehung der Hülse (14) in die Raststellung von der Nase (56) überfahren wird, welche danach hinter der Rastrampe (58) in ihre Raststellung einschnappt.
  15. Modulare Rundsteckverbindung nach Anspruch 14, dadurch gekennzeichnet, dass die Nase (56) von einem auf das Kupplungsteil (10, 12) aufgesetzten und an diesem fixierten Kunststoffring (54) im Bereich einer radial eindrückbaren Drucktaste (70) axial absteht.
  16. Modulare Rundsteckverbindung nach einem vorhergehenden Ansprüche, dadurch gekennzeichnet, dass die Einzelkontakte (S, s, B, b) in einem Isolierkörper (24) angeordnet sind, der sich im Inneren der metallischen Hohlkörper (16) bei dem Buchsenteil (12) bis zum kontaktseitigen Rand (RB) und bei dem Steckerteil (10) über den kontaktseitigen Rand (RS) hinaus axial erstreckt.
  17. Modulare Rundsteckverbindung nach Anspruch 16, dadurch gekennzeichnet, dass am kontaktseitigen Rand (RS, RB) ein radial einwärts gerichteter, metallischer Vorsprung (30) angefügt ist, der einerseits sowohl einen Massestift (SE) als auch eine Massebuchse (BE) aufnimmt und andererseits eine drehfeste Lagefixierung der Isolierkörper (24) bildet.
  18. Modulare Rundsteckverbindung nach einem der vorhergehenden Ansprüche, dadurch gekennzeichnet, dass die Verbindung außer an Stecker (10) und Buchse (12) auch an Kupplungen, Durchführungen (D), Winkelsteckern oder Winkelbuchsen herstellbar ist.
  19. Modulare Rundsteckverbindung nach einem der vorhergehenden Ansprüche, dadurch gekennzeichnet, dass das kabelseitige Ende durch einen abweichend kodierten Stecker oder Buchse ersetzt ist, um einen Adapter zu bilden, dessen weiterer Anschluss gleichfalls mit einer Hülse (14) gesichert werden kann.
EP07123335A 2006-12-19 2007-12-17 Modulare Rundsteckverbindung Active EP1936752B1 (de)

Priority Applications (1)

Application Number Priority Date Filing Date Title
PL07123335T PL1936752T3 (pl) 2006-12-19 2007-12-17 Modułowe złącze wtykowe okrągłe

Applications Claiming Priority (1)

Application Number Priority Date Filing Date Title
DE202006019235U DE202006019235U1 (de) 2006-12-19 2006-12-19 Modulare Rundsteckverbindung

Publications (3)

Publication Number Publication Date
EP1936752A2 true EP1936752A2 (de) 2008-06-25
EP1936752A3 EP1936752A3 (de) 2009-12-16
EP1936752B1 EP1936752B1 (de) 2012-02-22

Family

ID=39226971

Family Applications (1)

Application Number Title Priority Date Filing Date
EP07123335A Active EP1936752B1 (de) 2006-12-19 2007-12-17 Modulare Rundsteckverbindung

Country Status (5)

Country Link
EP (1) EP1936752B1 (de)
AT (1) ATE546862T1 (de)
DE (1) DE202006019235U1 (de)
ES (1) ES2384254T3 (de)
PL (1) PL1936752T3 (de)

Cited By (5)

* Cited by examiner, † Cited by third party
Publication number Priority date Publication date Assignee Title
DE102012203459A1 (de) 2011-11-09 2013-05-16 Lq Mechatronik-Systeme Gmbh Mehrpolige Steckverbindungseinheit für Dreiphasen-Wechselstromsysteme
CN106252958A (zh) * 2016-07-29 2016-12-21 中航光电科技股份有限公司 一种连接器
WO2017133224A1 (en) * 2016-02-04 2017-08-10 Harting (Zhuhai) Manufacturing Co., Ltd. Plug connector with integrated galvanic separation and shielding element
US10424879B2 (en) 2015-11-06 2019-09-24 Beckhoff Automation Gmbh Hybrid plug connector
US20240313472A1 (en) * 2021-01-13 2024-09-19 Interplex Industries, Inc. Connectors with universal components

Families Citing this family (2)

* Cited by examiner, † Cited by third party
Publication number Priority date Publication date Assignee Title
DE102013014290A1 (de) * 2013-08-22 2015-02-26 Sauter Feinmechanik Gmbh Übertragungsvorrichtung für die Übertragung von Energie, wie elektrischen Strom, und/oder von elektrischen Signalen
DE202015105928U1 (de) 2015-11-06 2015-12-07 Beckhoff Automation Gmbh Hybrid-Steckverbinder

Citations (4)

* Cited by examiner, † Cited by third party
Publication number Priority date Publication date Assignee Title
DE69326932T2 (de) 1992-09-19 2000-02-17 Smiths Industries Plc, London Verbinderanordnung
WO2000045469A1 (en) 1999-01-28 2000-08-03 Badger Meter, Inc. Submersible electrical connector and method for quick connection and disconnection including tamper indication
US6454576B1 (en) 2000-08-22 2002-09-24 Bicc General Cable Industries, Inc. Locking electrical receptacle
DE202005010113U1 (de) 2005-06-06 2005-09-08 Intercontec Produkt Gmbh Steckverbinderkupplung

Family Cites Families (7)

* Cited by examiner, † Cited by third party
Publication number Priority date Publication date Assignee Title
US4111514A (en) * 1977-06-23 1978-09-05 International Telephone And Telegraph Corporation Polarizing keying device for electrical connectors
US5066905A (en) * 1988-11-14 1991-11-19 Baton Labs, Inc. Battery cable assembly with in-line switch
US5662488A (en) * 1996-10-31 1997-09-02 Alden; Peter H. Quick connect coupling system for rapidly joining connectors and/or other elongated bodies
FR2756978B1 (fr) * 1996-12-06 1999-01-08 Radiall Sa Connecteur circulaire modulaire
US6113410A (en) * 1998-10-27 2000-09-05 Lucent Technologies Inc. RF connector lock
DE19941518A1 (de) * 1999-08-31 2001-03-01 Interconnectron Ges Fuer Ind S Rundsteckverbinder zur Herstellung elektrischer Leitungsverbindungen
DE19941509A1 (de) * 1999-08-31 2001-03-29 Interconnectron Ges Fuer Ind S Rundsteckverbinder zur Herstellung elektrischer Leitungsverbindungen

Patent Citations (4)

* Cited by examiner, † Cited by third party
Publication number Priority date Publication date Assignee Title
DE69326932T2 (de) 1992-09-19 2000-02-17 Smiths Industries Plc, London Verbinderanordnung
WO2000045469A1 (en) 1999-01-28 2000-08-03 Badger Meter, Inc. Submersible electrical connector and method for quick connection and disconnection including tamper indication
US6454576B1 (en) 2000-08-22 2002-09-24 Bicc General Cable Industries, Inc. Locking electrical receptacle
DE202005010113U1 (de) 2005-06-06 2005-09-08 Intercontec Produkt Gmbh Steckverbinderkupplung

Cited By (15)

* Cited by examiner, † Cited by third party
Publication number Priority date Publication date Assignee Title
EP2777096B1 (de) 2011-11-09 2018-04-04 LQ Mechatronik-Systeme GmbH Mehrpolige steckverbindungseinheit für dreiphasen-wechselstromsysteme
DE102012203459A1 (de) 2011-11-09 2013-05-16 Lq Mechatronik-Systeme Gmbh Mehrpolige Steckverbindungseinheit für Dreiphasen-Wechselstromsysteme
US20140295690A1 (en) * 2011-11-09 2014-10-02 José Quero pacheco Multi-pole plug connection unit for three-phase alternating current systems
CN104170179A (zh) * 2011-11-09 2014-11-26 Lq机电系统有限责任公司 用于三相交流系统的多极插塞连接单元
DE202012013360U1 (de) 2011-11-09 2016-07-15 Lq Mechatronik-Systeme Gmbh Mehrpolige Steckverbindungseinheit für Dreiphasen-Wechselstromsysteme
US9437970B2 (en) 2011-11-09 2016-09-06 Lq Mechatronik-Systeme Gmbh Multi-pole plug connection unit for three-phase alternating current systems
WO2013068509A1 (de) 2011-11-09 2013-05-16 Lq Mechatronik-Systeme Gmbh Mehrpolige steckverbindungseinheit für dreiphasen-wechselstromsysteme
EP2777096B2 (de) 2011-11-09 2021-06-16 LQ Mechatronik-Systeme GmbH Mehrpolige steckverbindungseinheit für dreiphasen-wechselstromsysteme
US10424879B2 (en) 2015-11-06 2019-09-24 Beckhoff Automation Gmbh Hybrid plug connector
KR20180122339A (ko) * 2016-02-04 2018-11-12 하르팅 (주하이) 매뉴팩처링 컴퍼니 리미티드 일체형 갈바닉 분리부를 갖는 플러그 커넥터 그리고 차폐 요소
WO2017133224A1 (en) * 2016-02-04 2017-08-10 Harting (Zhuhai) Manufacturing Co., Ltd. Plug connector with integrated galvanic separation and shielding element
US10418756B2 (en) 2016-02-04 2019-09-17 Harting (Zhuhai) Manufacturing Co., Ltd. Plug connector with integrated galvanic separation and shielding element
WO2017132959A1 (en) * 2016-02-04 2017-08-10 Harting (Zhuhai) Manufacturing Co., Ltd. Plug connector with integrated galvanic separation
CN106252958A (zh) * 2016-07-29 2016-12-21 中航光电科技股份有限公司 一种连接器
US20240313472A1 (en) * 2021-01-13 2024-09-19 Interplex Industries, Inc. Connectors with universal components

Also Published As

Publication number Publication date
EP1936752A3 (de) 2009-12-16
ES2384254T3 (es) 2012-07-03
DE202006019235U1 (de) 2008-05-08
PL1936752T3 (pl) 2012-08-31
ATE546862T1 (de) 2012-03-15
EP1936752B1 (de) 2012-02-22

Similar Documents

Publication Publication Date Title
EP0551302B1 (de) Einrichtung an elektrischen handwerkzeugmaschinen
EP2777096B2 (de) Mehrpolige steckverbindungseinheit für dreiphasen-wechselstromsysteme
DE2549597A1 (de) Kupplungsanordnung fuer verbindbare enden elektrischer leitungen
EP1936752B1 (de) Modulare Rundsteckverbindung
EP2754211B1 (de) Kontaktgeschützter steckverbinder
WO2017076781A1 (de) Hybrid-steckverbinder
DE3026386A1 (de) Steckverbindung mit visueller, tastbarer und hoerbarer anzeige
EP2043202A1 (de) Elektrische oder optische Steckverbindung
EP1570553B1 (de) Steckverbindungsvorrichtung
DE102019114257B4 (de) Steckverbinder mit Verriegelungssystem
EP3787128B1 (de) Steckverbindung
DE2215757A1 (de) Koaxialsteckverbindung
DE2909595A1 (de) Verbindungsstecker
DE2308316A1 (de) Elektrischer steckverbinder
DE102020119321A1 (de) Elektrische Steckverbindung sowie elektrischer Verbinder und Gegenverbinder
DE102006001130A1 (de) Steckvorrichtung nach EN 60 309 mit einem Drehkörper zur Abdichtung und Verriegelung ohne Klappdeckel
DE2359752C3 (de) Explosionssichere Kupplungssteckvorrichtung
DE1475784C3 (de) Unverwechselbare Anschlußkupplung und Werkzeug zu ihrer Einstellung
DE102019114262B3 (de) Steckverbinder mit Verriegelungssystem
DE102008059000B4 (de) Elektrisches Steckverbindersystem
EP2824775A1 (de) Geschirmte Rundsteckverbindereinheit mit symmetrisch angeordneten Steckkontakten
DE29619363U1 (de) Kabelstecker und daraus bestehende zweiteilige Kupplung
EP0253961B1 (de) Rundsteckverbinder
DE7720275U1 (de) Elektrische leitungskupplung
DE19617201A1 (de) Muffensteckverbindung

Legal Events

Date Code Title Description
PUAI Public reference made under article 153(3) epc to a published international application that has entered the european phase

Free format text: ORIGINAL CODE: 0009012

AK Designated contracting states

Kind code of ref document: A2

Designated state(s): AT BE BG CH CY CZ DE DK EE ES FI FR GB GR HU IE IS IT LI LT LU LV MC MT NL PL PT RO SE SI SK TR

AX Request for extension of the european patent

Extension state: AL BA HR MK RS

RAP1 Party data changed (applicant data changed or rights of an application transferred)

Owner name: INTERCONTED PFEIFFER STECKVERBINDUNGEN GMBH

PUAL Search report despatched

Free format text: ORIGINAL CODE: 0009013

AK Designated contracting states

Kind code of ref document: A3

Designated state(s): AT BE BG CH CY CZ DE DK EE ES FI FR GB GR HU IE IS IT LI LT LU LV MC MT NL PL PT RO SE SI SK TR

AX Request for extension of the european patent

Extension state: AL BA HR MK RS

RIC1 Information provided on ipc code assigned before grant

Ipc: H01R 13/625 20060101AFI20091111BHEP

17P Request for examination filed

Effective date: 20100608

AKX Designation fees paid

Designated state(s): AT BE BG CH CY CZ DE DK EE ES FI FR GB GR HU IE IS IT LI LT LU LV MC MT NL PL PT RO SE SI SK TR

GRAP Despatch of communication of intention to grant a patent

Free format text: ORIGINAL CODE: EPIDOSNIGR1

GRAS Grant fee paid

Free format text: ORIGINAL CODE: EPIDOSNIGR3

GRAA (expected) grant

Free format text: ORIGINAL CODE: 0009210

RAP1 Party data changed (applicant data changed or rights of an application transferred)

Owner name: LQ MECHATRONIK-SYSTEME GMBH

AK Designated contracting states

Kind code of ref document: B1

Designated state(s): AT BE BG CH CY CZ DE DK EE ES FI FR GB GR HU IE IS IT LI LT LU LV MC MT NL PL PT RO SE SI SK TR

REG Reference to a national code

Ref country code: GB

Ref legal event code: FG4D

Free format text: NOT ENGLISH

REG Reference to a national code

Ref country code: CH

Ref legal event code: EP

REG Reference to a national code

Ref country code: AT

Ref legal event code: REF

Ref document number: 546862

Country of ref document: AT

Kind code of ref document: T

Effective date: 20120315

REG Reference to a national code

Ref country code: IE

Ref legal event code: FG4D

Free format text: LANGUAGE OF EP DOCUMENT: GERMAN

REG Reference to a national code

Ref country code: DE

Ref legal event code: R096

Ref document number: 502007009314

Country of ref document: DE

Effective date: 20120419

REG Reference to a national code

Ref country code: SE

Ref legal event code: TRGR

REG Reference to a national code

Ref country code: NL

Ref legal event code: T3

REG Reference to a national code

Ref country code: CH

Ref legal event code: NV

Representative=s name: ZIMMERLI, WAGNER & PARTNER AG

REG Reference to a national code

Ref country code: ES

Ref legal event code: FG2A

Ref document number: 2384254

Country of ref document: ES

Kind code of ref document: T3

Effective date: 20120703

LTIE Lt: invalidation of european patent or patent extension

Effective date: 20120222

PG25 Lapsed in a contracting state [announced via postgrant information from national office to epo]

Ref country code: IS

Free format text: LAPSE BECAUSE OF FAILURE TO SUBMIT A TRANSLATION OF THE DESCRIPTION OR TO PAY THE FEE WITHIN THE PRESCRIBED TIME-LIMIT

Effective date: 20120622

Ref country code: LT

Free format text: LAPSE BECAUSE OF FAILURE TO SUBMIT A TRANSLATION OF THE DESCRIPTION OR TO PAY THE FEE WITHIN THE PRESCRIBED TIME-LIMIT

Effective date: 20120222

PG25 Lapsed in a contracting state [announced via postgrant information from national office to epo]

Ref country code: GR

Free format text: LAPSE BECAUSE OF FAILURE TO SUBMIT A TRANSLATION OF THE DESCRIPTION OR TO PAY THE FEE WITHIN THE PRESCRIBED TIME-LIMIT

Effective date: 20120523

Ref country code: LV

Free format text: LAPSE BECAUSE OF FAILURE TO SUBMIT A TRANSLATION OF THE DESCRIPTION OR TO PAY THE FEE WITHIN THE PRESCRIBED TIME-LIMIT

Effective date: 20120222

Ref country code: PT

Free format text: LAPSE BECAUSE OF FAILURE TO SUBMIT A TRANSLATION OF THE DESCRIPTION OR TO PAY THE FEE WITHIN THE PRESCRIBED TIME-LIMIT

Effective date: 20120622

REG Reference to a national code

Ref country code: PL

Ref legal event code: T3

REG Reference to a national code

Ref country code: IE

Ref legal event code: FD4D

PG25 Lapsed in a contracting state [announced via postgrant information from national office to epo]

Ref country code: CY

Free format text: LAPSE BECAUSE OF FAILURE TO SUBMIT A TRANSLATION OF THE DESCRIPTION OR TO PAY THE FEE WITHIN THE PRESCRIBED TIME-LIMIT

Effective date: 20120222

PG25 Lapsed in a contracting state [announced via postgrant information from national office to epo]

Ref country code: IE

Free format text: LAPSE BECAUSE OF FAILURE TO SUBMIT A TRANSLATION OF THE DESCRIPTION OR TO PAY THE FEE WITHIN THE PRESCRIBED TIME-LIMIT

Effective date: 20120222

Ref country code: DK

Free format text: LAPSE BECAUSE OF FAILURE TO SUBMIT A TRANSLATION OF THE DESCRIPTION OR TO PAY THE FEE WITHIN THE PRESCRIBED TIME-LIMIT

Effective date: 20120222

Ref country code: EE

Free format text: LAPSE BECAUSE OF FAILURE TO SUBMIT A TRANSLATION OF THE DESCRIPTION OR TO PAY THE FEE WITHIN THE PRESCRIBED TIME-LIMIT

Effective date: 20120222

Ref country code: SI

Free format text: LAPSE BECAUSE OF FAILURE TO SUBMIT A TRANSLATION OF THE DESCRIPTION OR TO PAY THE FEE WITHIN THE PRESCRIBED TIME-LIMIT

Effective date: 20120222

Ref country code: RO

Free format text: LAPSE BECAUSE OF FAILURE TO SUBMIT A TRANSLATION OF THE DESCRIPTION OR TO PAY THE FEE WITHIN THE PRESCRIBED TIME-LIMIT

Effective date: 20120222

PG25 Lapsed in a contracting state [announced via postgrant information from national office to epo]

Ref country code: SK

Free format text: LAPSE BECAUSE OF FAILURE TO SUBMIT A TRANSLATION OF THE DESCRIPTION OR TO PAY THE FEE WITHIN THE PRESCRIBED TIME-LIMIT

Effective date: 20120222

PLBE No opposition filed within time limit

Free format text: ORIGINAL CODE: 0009261

STAA Information on the status of an ep patent application or granted ep patent

Free format text: STATUS: NO OPPOSITION FILED WITHIN TIME LIMIT

26N No opposition filed

Effective date: 20121123

REG Reference to a national code

Ref country code: DE

Ref legal event code: R097

Ref document number: 502007009314

Country of ref document: DE

Effective date: 20121123

PG25 Lapsed in a contracting state [announced via postgrant information from national office to epo]

Ref country code: MC

Free format text: LAPSE BECAUSE OF NON-PAYMENT OF DUE FEES

Effective date: 20121231

Ref country code: BG

Free format text: LAPSE BECAUSE OF FAILURE TO SUBMIT A TRANSLATION OF THE DESCRIPTION OR TO PAY THE FEE WITHIN THE PRESCRIBED TIME-LIMIT

Effective date: 20120522

PG25 Lapsed in a contracting state [announced via postgrant information from national office to epo]

Ref country code: MT

Free format text: LAPSE BECAUSE OF FAILURE TO SUBMIT A TRANSLATION OF THE DESCRIPTION OR TO PAY THE FEE WITHIN THE PRESCRIBED TIME-LIMIT

Effective date: 20120222

REG Reference to a national code

Ref country code: CH

Ref legal event code: NV

Representative=s name: WAGNER PATENT AG, CH

PG25 Lapsed in a contracting state [announced via postgrant information from national office to epo]

Ref country code: LU

Free format text: LAPSE BECAUSE OF NON-PAYMENT OF DUE FEES

Effective date: 20121217

PG25 Lapsed in a contracting state [announced via postgrant information from national office to epo]

Ref country code: HU

Free format text: LAPSE BECAUSE OF FAILURE TO SUBMIT A TRANSLATION OF THE DESCRIPTION OR TO PAY THE FEE WITHIN THE PRESCRIBED TIME-LIMIT

Effective date: 20071217

REG Reference to a national code

Ref country code: FR

Ref legal event code: PLFP

Year of fee payment: 9

REG Reference to a national code

Ref country code: FR

Ref legal event code: PLFP

Year of fee payment: 10

REG Reference to a national code

Ref country code: FR

Ref legal event code: PLFP

Year of fee payment: 11

PGFP Annual fee paid to national office [announced via postgrant information from national office to epo]

Ref country code: IT

Payment date: 20241216

Year of fee payment: 18

PGFP Annual fee paid to national office [announced via postgrant information from national office to epo]

Ref country code: ES

Payment date: 20250117

Year of fee payment: 18

PGFP Annual fee paid to national office [announced via postgrant information from national office to epo]

Ref country code: CH

Payment date: 20250101

Year of fee payment: 18

REG Reference to a national code

Ref country code: CH

Ref legal event code: U11

Free format text: ST27 STATUS EVENT CODE: U-0-0-U10-U11 (AS PROVIDED BY THE NATIONAL OFFICE)

Effective date: 20260101

PGFP Annual fee paid to national office [announced via postgrant information from national office to epo]

Ref country code: DE

Payment date: 20251217

Year of fee payment: 19

PGFP Annual fee paid to national office [announced via postgrant information from national office to epo]

Ref country code: GB

Payment date: 20251218

Year of fee payment: 19

PGFP Annual fee paid to national office [announced via postgrant information from national office to epo]

Ref country code: AT

Payment date: 20251215

Year of fee payment: 19

PGFP Annual fee paid to national office [announced via postgrant information from national office to epo]

Ref country code: FI

Payment date: 20251216

Year of fee payment: 19

PGFP Annual fee paid to national office [announced via postgrant information from national office to epo]

Ref country code: NL

Payment date: 20251217

Year of fee payment: 19

Ref country code: FR

Payment date: 20251218

Year of fee payment: 19

PGFP Annual fee paid to national office [announced via postgrant information from national office to epo]

Ref country code: BE

Payment date: 20251218

Year of fee payment: 19

Ref country code: TR

Payment date: 20251211

Year of fee payment: 19

PGFP Annual fee paid to national office [announced via postgrant information from national office to epo]

Ref country code: SE

Payment date: 20251217

Year of fee payment: 19

PGFP Annual fee paid to national office [announced via postgrant information from national office to epo]

Ref country code: CZ

Payment date: 20251204

Year of fee payment: 19

PGFP Annual fee paid to national office [announced via postgrant information from national office to epo]

Ref country code: PL

Payment date: 20251112

Year of fee payment: 19