EP1930533A1 - Kraftfahrzeugtürscharnier - Google Patents

Kraftfahrzeugtürscharnier Download PDF

Info

Publication number
EP1930533A1
EP1930533A1 EP07020962A EP07020962A EP1930533A1 EP 1930533 A1 EP1930533 A1 EP 1930533A1 EP 07020962 A EP07020962 A EP 07020962A EP 07020962 A EP07020962 A EP 07020962A EP 1930533 A1 EP1930533 A1 EP 1930533A1
Authority
EP
European Patent Office
Prior art keywords
motor vehicle
vehicle door
door
pin
door hinge
Prior art date
Legal status (The legal status is an assumption and is not a legal conclusion. Google has not performed a legal analysis and makes no representation as to the accuracy of the status listed.)
Withdrawn
Application number
EP07020962A
Other languages
English (en)
French (fr)
Inventor
Dennis Hofacker
Jakob Löwen
Johann Olfert
Current Assignee (The listed assignees may be inaccurate. Google has not performed a legal analysis and makes no representation or warranty as to the accuracy of the list.)
Ise Automotive GmbH
Original Assignee
Ise Automotive GmbH
Automotive Group ISE Innomotive Systems Europe GmbH
Priority date (The priority date is an assumption and is not a legal conclusion. Google has not performed a legal analysis and makes no representation as to the accuracy of the date listed.)
Filing date
Publication date
Application filed by Ise Automotive GmbH, Automotive Group ISE Innomotive Systems Europe GmbH filed Critical Ise Automotive GmbH
Publication of EP1930533A1 publication Critical patent/EP1930533A1/de
Withdrawn legal-status Critical Current

Links

Images

Classifications

    • EFIXED CONSTRUCTIONS
    • E05LOCKS; KEYS; WINDOW OR DOOR FITTINGS; SAFES
    • E05DHINGES OR SUSPENSION DEVICES FOR DOORS, WINDOWS OR WINGS
    • E05D5/00Construction of single parts, e.g. the parts for attachment
    • E05D5/10Pins, sockets or sleeves; Removable pins
    • E05D5/12Securing pins in sockets, movably or not
    • E05D5/121Screw-threaded pins
    • EFIXED CONSTRUCTIONS
    • E05LOCKS; KEYS; WINDOW OR DOOR FITTINGS; SAFES
    • E05DHINGES OR SUSPENSION DEVICES FOR DOORS, WINDOWS OR WINGS
    • E05D11/00Additional features or accessories of hinges
    • EFIXED CONSTRUCTIONS
    • E05LOCKS; KEYS; WINDOW OR DOOR FITTINGS; SAFES
    • E05DHINGES OR SUSPENSION DEVICES FOR DOORS, WINDOWS OR WINGS
    • E05D5/00Construction of single parts, e.g. the parts for attachment
    • E05D5/10Pins, sockets or sleeves; Removable pins
    • E05D5/14Construction of sockets or sleeves
    • E05D5/16Construction of sockets or sleeves to be secured without special attachment parts on the socket or sleeve
    • EFIXED CONSTRUCTIONS
    • E05LOCKS; KEYS; WINDOW OR DOOR FITTINGS; SAFES
    • E05DHINGES OR SUSPENSION DEVICES FOR DOORS, WINDOWS OR WINGS
    • E05D7/00Hinges or pivots of special construction
    • E05D7/10Hinges or pivots of special construction to allow easy separation or connection of the parts at the hinge axis
    • E05D7/1005Hinges or pivots of special construction to allow easy separation or connection of the parts at the hinge axis by axially moving free pins, balls or sockets
    • EFIXED CONSTRUCTIONS
    • E05LOCKS; KEYS; WINDOW OR DOOR FITTINGS; SAFES
    • E05DHINGES OR SUSPENSION DEVICES FOR DOORS, WINDOWS OR WINGS
    • E05D11/00Additional features or accessories of hinges
    • E05D11/06Devices for limiting the opening movement of hinges
    • EFIXED CONSTRUCTIONS
    • E05LOCKS; KEYS; WINDOW OR DOOR FITTINGS; SAFES
    • E05DHINGES OR SUSPENSION DEVICES FOR DOORS, WINDOWS OR WINGS
    • E05D2700/00Hinges or other suspension devices especially for doors or windows
    • E05D2700/04Hinges with one pivot axis and more than one bearing surface
    • EFIXED CONSTRUCTIONS
    • E05LOCKS; KEYS; WINDOW OR DOOR FITTINGS; SAFES
    • E05DHINGES OR SUSPENSION DEVICES FOR DOORS, WINDOWS OR WINGS
    • E05D5/00Construction of single parts, e.g. the parts for attachment
    • E05D5/02Parts for attachment, e.g. flaps
    • E05D5/06Bent flaps
    • E05D5/062Bent flaps specially adapted for vehicles
    • EFIXED CONSTRUCTIONS
    • E05LOCKS; KEYS; WINDOW OR DOOR FITTINGS; SAFES
    • E05YINDEXING SCHEME ASSOCIATED WITH SUBCLASSES E05D AND E05F, RELATING TO CONSTRUCTION ELEMENTS, ELECTRIC CONTROL, POWER SUPPLY, POWER SIGNAL OR TRANSMISSION, USER INTERFACES, MOUNTING OR COUPLING, DETAILS, ACCESSORIES, AUXILIARY OPERATIONS NOT OTHERWISE PROVIDED FOR, APPLICATION THEREOF
    • E05Y2900/00Application of doors, windows, wings or fittings thereof
    • E05Y2900/50Application of doors, windows, wings or fittings thereof for vehicles
    • E05Y2900/53Type of wing
    • E05Y2900/531Doors

Definitions

  • the repeated assembly and disassembly of the door hinges which is usually carried out in the region of the relatively moving parts of the door and column console, involves the risk of damage to the contact surfaces. As a result, there may be a misalignment of the door, a loss of comfort during operation or a complete failure of the door hinge.
  • the invention has for its object to provide a motor vehicle door hinge, in which the mutually engaging surfaces are effectively protected against damage.
  • the pillar bracket and the door panel of the motor vehicle door hinge according to the invention are hinged together at two spaced apart bearing points.
  • the motor vehicle door hinge has at each bearing a sliding bush, which is fastened to the door console or the column console.
  • the two sliding bushes can follow the structural conditions, both only on the column console or only on the door console, but also distributed, d. H. one in the door and one in the column console, be arranged.
  • a bolt is arranged in each case, which extends beyond the sliding bushes at the respective bearing point by the corresponding counterpart, ie the corresponding region of the door and column console, so that the door and column brackets are hinged together at the bearing points ,
  • the contact surfaces are formed by a portion of the bolt and the adjoining inner surface of the sliding bushing.
  • connection between the sliding bush and the bolt arranged in the sliding bush is not released during assembly or disassembly of the door hinge (separation of the door bracket from the column console).
  • the contact surfaces of the sliding bushes and the bolts are thus particularly effectively protected against dirt and damage both in the mounted and in the disassembled state, as well as in the painting process.
  • the bolt can in principle be designed as desired, provided that it is possible to remove the connection for the separation of the motor vehicle door hinge.
  • the bolt has a Gleitbuchsenabêt and a pin for the arrangement of a pin receiving the counterpart of the door or column console on the bolt.
  • the Gleitbuchsenabêt is arranged in the mounted state of the bolt on the sliding bush in the region of the sliding bush and forms with its surface, the contact surface for the inner surface of the sliding bushing.
  • the bolt has a pin which extends beyond the sliding bush portion and which is arranged for mounting the door hinge in a corresponding pin receptacle of the counterpart.
  • the use of a pin makes it possible to disassemble or assemble the door hinge in a particularly simple manner, namely by lifting off the pin or placing it on the pin. A differently designed, complicated attachment of the counterparts to the bolt can thus be effectively avoided.
  • the shape of the pin is basically freely selectable. According to a further embodiment of the invention, however, the pin has a deviating from a circular shape, preferably polygonal cross section and the pin receiving a corresponding cross-section.
  • This configuration of the pin receiving and the pin makes it possible, the counterparts, d. H. to arrange the door or column console in a particularly simple manner rotationally fixed to the bolt. It is conceivable, for example, rectangular cross sections of the pin, but also a profiled shape, whereby a reliable positive connection can be made.
  • the pin is conical and the pin receptacle is correspondingly conical.
  • a corresponding configuration of the pin causes an independent centering of the counterparts on the pin and facilitates the mounting of the counterparts on the pin.
  • the conical design can extend both over the entire journal area and only over partial areas of the journal.
  • conical is understood to mean an embodiment of the pin, which has a curved shape in sections or is designed to be spherical-cap-shaped at the end.
  • the pin has an internal thread for receiving a screw.
  • the internal thread accessible from the end of the bolt opposite the slide bushing section makes it possible to fix the counterparts on the journal in a lift-off manner. For disassembly, it is then absolutely necessary to first loosen the screw, so that the counterparts can be lifted off the pin. Both bearing points and only one bearing point can be provided with a screw.
  • the rotatable arrangement of the bolt with its Gleitbuchsenabrough in the sliding bush basically all conventional fastening methods can be used. It is also conceivable, for example, to manufacture a corresponding welded connection, paying attention to the resulting heat input to the components. According to a particularly advantageous embodiment of the invention, however, the rotatable arrangement of the bolt in the sliding bush is provided that the bolt is rotatably fixed by a riveted joint with the door or column console in the slide bush. The rivet connection is made after the bolt is placed in the slide bushing.
  • the rivet connection which can be produced particularly easily, ensures the position of the bolt in the slide bush receptacle in a particularly reliable manner, it being particularly reliable in the production of the rivet connection to ensure that the bolt is rotatable in the slide bush.
  • a disk can be provided which is arranged between a rivet head and the door or column console.
  • the sliding bush on the corresponding slide bushings on the door and pillar console can be used in principle known ways to attach sliding bushes in components.
  • the sliding bush in the mounted state at its opposite ends on a circumferential, applied to the door or column console collar.
  • the collar secures the position of the slide bush in the slide bushings in a complementary manner and also serves as a contact surface and sliding surface for a Nietkopfunterseite or example.
  • the preparation of the door or column console and the planned journal and Gleitbuchseningn can also be done basically in any way.
  • the pin receptacles and Gleitbuchsenabilityn are produced by punching, particularly advantageously by fine blanking.
  • the embodiment of the motor vehicle door hinge according to the invention makes it possible to produce these recordings with these particularly cost-effective production methods, since the surfaces in engagement are formed by the slide bushing inserted in the slide bush receptacle and the bolt arranged therein. On an increased surface quality of Gleitbuchsenability and pin receiving can therefore be omitted.
  • a sliding bushing in the pillar bracket and at a second bearing point a sliding bush in the door bracket is arranged at a first bearing point and the pins of the bushes arranged in the bushes extend in opposite directions, preferably away from one another.
  • Fig. 1 shows an exploded view of a motor vehicle door hinge 1 with a door bracket 2 and a pillar bracket 3, wherein the door bracket 2 is formed of an upper portion 6 and a lower portion 7, which are connected to each other in the assembled state on a door not shown here via a connecting plate 18.
  • Fig. 1 selected representation of the individual components corresponds to their design in the assembled state and not their configuration prior to the first assembly of the motor vehicle door hinge 1.
  • the door bracket 2 and the pillar bracket 3 of the motor vehicle door hinge 1 are hinged together at two bearings 4, 5.
  • the column console 3 at its first bearing point 4 on a slide bushing 8, which is arranged against rotation in a slide bushing receptacle 14 of the column bracket 3.
  • the sliding bush 8 is arranged in the sliding bush receptacle 14 of the lower portion 7 of the door bracket 2.
  • a pin 9 in the sliding bushes 8 in the region of its sliding bush portion 21 is rotatably arranged in the slide bushing 8.
  • the sliding bushes 8 have at their opposite ends a circumferential flanged collar 27 which bears against the door or column console 2, 3.
  • the pin 9 at its free end of the sliding bush portion 21 a tapered portion 25. This serves to receive a disc 10, and to form a rivet head 20 whose diameter is larger than an opening of the disc 10, so that the pin 9 in the slide bushes 8 safe removal but rotatably fixed.
  • the pin 9 at its end opposite the rivet head 20 a pin 23, extending from a located in the region between the sliding sleeve portion 21 and the pin 23 web 22 to the rivet head 20 opposite end of the bolt 9 extends.
  • the sliding bushes 8 opposite counterparts of the door bracket 2 and column bracket 3, have journal receptacles 15 for receiving the pins 23, so that the door bracket 2 and the column bracket 3 are connected to each other at the two bearings 4, 5.
  • the contact surfaces are formed by a sliding surface 26 and the sliding bush portion 21 of the bolt 9.
  • the pins 23 also have an internal thread 24 which is suitable for receiving a screw 11. The screws 11 are screwed into the pin 23 of the bolt 9 and thus prevent the door bracket 2 and the column bracket 3 unintentionally separate from each other.
  • the door console 2 and the column console 3 provided mounting openings 12, 13, which are provided for receiving mounting screws, not shown here.
  • the pillar bracket 3 has a stop 16, which is formed out of the pillar bracket 3. The stop 16 comes when reaching the maximum opening angle with a stop 17 at the top and lower section 6, 7 of the door 2 to the plant.
  • FIG. 2 illustrated embodiment of the motor vehicle door hinge 1 has been dispensed with a mounting screw 11 at the first bearing 4. A position assurance at this point is unnecessary, since the arranged on the second bearing 5 screw 11 sufficiently secures the door bracket 2 on the pillar bracket 3.
  • Fig. 3 and 4 is the motor vehicle door hinge 1 in the mounted ( Fig. 4 ) and disassembled ( Fig. 3 ) State shown.
  • the door bracket 2 is to be connected to the column bracket 3 so that the pin receptacle 15 at the upper portion 6 on the pin 23 at the first bearing 4 and the pin 23 at the second bearing point 5 in the pin receptacle 15 at the second bearing point 5 of Column bracket 3 is inserted.
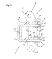
  • FIG. 5 is an illustration of the motor vehicle door hinge 1 of Fig. 1 shown in a different view of the column console 3 opposite the door bracket 2.

Landscapes

  • Engineering & Computer Science (AREA)
  • Mechanical Engineering (AREA)
  • Hinges (AREA)

Abstract

Die Erfindung betrifft ein Kraftfahrzeugtürscharnier mit - einer an einem Türrahmen anordbaren Säulenkonsole und - einer an einer Fahrzeugtür befestigbaren Türkonsole, wobei - die Türkonsole und die Säulenkonsole als Gegenstücke an zwei im Abstand voneinander angeordneten Lagerstellen gelenkig und zur Demontage trennbar miteinander verbunden sind. Um ein Kraftfahrzeugtürscharnier bereitzustellen, bei dem die miteinander in Eingriff stehenden Flächen wirksam gegen Beschädigung geschützt sind, ist vorgesehen, daß an den Lagerstellen die Türkonsole oder Säulenkonsole eine Gleitbuchse aufweisen und die gelenkige Verbindung durch zwei Bolzen gebildet ist, die sich jeweils durch eine Gleitbuchse und das zugeordnete Gegenstück erstrecken, wobei die Gleitbuchsen und die Bolzen derart an der Tür- oder Säulenkonsole sowie aneinander angeordnet sind, daß bei einem Verschwenken der Konsolen relativ zueinander der Bolzen relativ zur Gleitbuchse verdreht wird und bei der Demontage der Säulenkonsole von der Türkonsole der Bolzen in der Gleitbuchse verbleibt.

Description

  • Die Erfindung betrifft ein Kraftfahrzeugtürscharnier mit
    • einer an einem Türrahmen anordbaren Säulenkonsole und
    • einer an einer Fahrzeugtür befestigbaren Türkonsole, wobei
    • die Türkonsole und die Säulenkonsole als Gegenstücke an zwei im Abstand voneinander angeordneten Lagerstellen gelenkig und zur Demontage trennbar miteinander verbunden sind.
  • Zur Anlenkung einer Fahrzeugtür an einer Fahrzeugkarosserie existiert ein breites Angebot an Kraftfahrzeugtürscharnieren, die den jeweils vorgegebenen konstruktiven Vorgaben Rechnung tragen und eine mehr oder minder gute gelenkige Verbindung der Fahrzeugtür an der Karosserie ermöglichen.
  • Im Rahmen der Optimierung der Fahrzeugmontage hat es sich etabliert, die Fahrzeugtüren unter Verwendung von Kraftfahrzeugtürscharnieren vor einem Lackierprozeß an der Fahrzeugkarosserie anzuordnen und diese gemeinsam dann dem Lackierprozeß zu unterziehen. Anschließend werden die Fahrzeugtüren jedoch wieder von der Fahrzeugkarosserie entfernt, um Montagearbeiten im Fahrzeuginnenraum sowie die Ausstattung der Fahrzeugtüren mit dort anzuordnenden Bauteilen zu erleichtern. Ein gattungsgemäßes Kraftfahrzeugtürscharnier der eingangs genannten Art ist bspw. aus der DE 20 2005 017 404 U1 bekannt.
  • Die wiederholte Montage und Demontage der Türscharniere, die üblicherweise im Bereich der sich relativ zueinander bewegenden Bauteile der Tür- und Säulenkonsole vorgenommen wird, birgt das Risiko einer Beschädigung der Kontaktflächen. In der Folge kann es zu einer Fehlstellung der Tür, einem Komfortverlust bei der Bedienung oder zu einem vollständigen Versagen des Türscharniers kommen.
  • Der Erfindung liegt die Aufgabe zugrunde, ein Kraftfahrzeugtürscharnier bereitzustellen, bei dem die miteinander in Eingriff stehenden Flächen wirksam gegen Beschädigung geschützt sind.
  • Die Erfindung löst die Aufgabe durch ein Kraftfahrzeugtürscharnier mit den Merkmalen des Anspruchs 1. Vorteilhafte Weiterbildungen der Erfindung sind in den Unteransprüchen angegeben.
  • Die Säulenkonsole und die Türkonsole des erfindungsgemäßen Kraftfahrzeugtürscharniers sind an zwei im Abstand voneinander angeordneten Lagerstellen gelenkig miteinander verbunden. Das Kraftfahrzeugtürscharnier weist hierzu an jeweils einer Lagerstelle eine Gleitbuchse auf, die an der Türkonsole oder der Säulenkonsole befestigt ist. Dabei können die beiden Gleitbuchsen den konstruktiven Rahmenbedingungen folgend, sowohl nur an der Säulenkonsole oder nur an der Türkonsole, aber auch verteilt, d. h. eine in der Tür- und eine in der Säulenkonsole, angeordnet sein.
  • In den Gleitbuchsen ist jeweils ein Bolzen angeordnet, der sich über die Gleitbuchsen hinaus an der jeweiligen Lagerstelle durch das entsprechende Gegenstück, also den entsprechenden Bereich der Tür- und Säulenkonsole, erstreckt, so daß die Tür- und Säulenkonsole an den Lagerstellen gelenkig miteinander verbunden sind. Die Kontaktflächen werden dabei durch einen Abschnitt des Bolzens und die daran anliegende Innenfläche der Gleitbuchse gebildet. Zur Trennung des Kraftfahrzeugtürscharniers ist es lediglich erforderlich, die Tür- bzw. Säulenkonsole von dem aus den Gleitbuchsen herausragenden Bereich der Bolzen abzuheben.
  • Die Verbindung zwischen der Gleitbuchse und dem in der Gleitbuchse angeordneten Bolzen wird bei der Montage bzw. Demontage des Türscharniers (Trennung der Türkonsole von der Säulenkonsole) nicht aufgehoben. Die Kontaktflächen der Gleitbuchsen und der Bolzen sind somit sowohl im montierten als auch im demontierten Zustand, wie auch im Lackierprozeß gegenüber Verschmutzungen und Beschädigung besonders wirksam geschützt.
  • Zur Verbindung mit dem Gegenstück der Tür- oder Säulenkonsole kann der Bolzen grundsätzlich beliebig ausgestaltet sein, sofern die Möglichkeit besteht, die Verbindung zur Trennung des Kraftfahrzeugtürscharniers aufzuheben. Nach einer vorteilhaften Weiterbildung der Erfindung weist der Bolzen jedoch einen Gleitbuchsenabschnitt sowie einen Zapfen zur Anordnung einer Zapfenaufnahme des Gegenstücks der Tür- oder Säulenkonsole an dem Bolzen auf. Der Gleitbuchsenabschnitt ist im montierten Zustand des Bolzens an der Gleitbuchse im Bereich der Gleitbuchse angeordnet und bildet mit seiner Oberfläche die Kontaktfläche für die Innenfläche der Gleitbuchse. Zur Aufnahme des Gegenstücks der Tür- oder Säulenkonsole weist der Bolzen einen sich über den Gleitbuchsenabschnitt hinaus erstreckenden Zapfen auf, der zur Montage des Türscharniers in einer entsprechenden Zapfenaufnahme des Gegenstücks angeordnet wird. Die Verwendung eines Zapfens ermöglicht es, das Türscharnier in besonders einfacher Weise, nämlich durch Abheben von dem Zapfen, bzw. Aufsetzen auf den Zapfen, zu demontieren bzw. montieren. Eine andersartig gestaltete, komplizierte Befestigung der Gegenstücke an dem Bolzen kann somit wirksam vermieden werden.
  • Die Form des Zapfens ist dabei grundsätzlich frei wählbar. Nach einer weiteren Ausgestaltung der Erfindung weist der Zapfen jedoch einen von einer Kreisform abweichenden, vorzugsweise polygonalen Querschnitt und die Zapfenaufnahme einen entsprechenden Querschnitt auf. Diese Ausgestaltung der Zapfenaufnahme und des Zapfens ermöglicht es, die Gegenstücke, d. h. die Tür- oder Säulenkonsole in besonders einfacher Weise verdrehfest an dem Bolzen anzuordnen. Denkbar sind hierbei bspw. rechteckige Querschnitte des Zapfens, aber auch eine profilierte Form, wodurch ein zuverlässiger Formschluß hergestellt werden kann.
  • Gemäß einer weiteren Ausgestaltung der Erfindung ist der Zapfen konisch und die Zapfenaufnahme entsprechend konisch ausgebildet. Eine dementsprechende Ausgestaltung des Zapfens bewirkt eine selbständige Zentrierung der Gegenstücke auf den Zapfen und erleichtert die Montage der Gegenstücke auf den Zapfen. Die konische Ausbildung kann sich dabei sowohl über den gesamten Zapfenbereich als auch nur über Teilbereiche des Zapfens erstrecken. Unter konisch wird dabei zudem eine Ausgestaltung des Zapfens verstanden, der abschnittsweise eine gewölbte Form aufweist oder zum Ende kugelkalottenförmig ausgebildet ist.
  • Sofern bei der Montage des Kraftfahrzeugtürscharniers die Türkonsole - in der Gebrauchslage von oben - auf die Zapfen aufgesetzt wird, ist aufgrund der bestehenden Gewichtskraft eine zusätzliche Sicherung der Position grundsätzlich entbehrlich. Zur Steigerung der Sicherung des montierten Zustandes des Kraftfahrzeugtürscharniers ist jedoch nach einer weiteren Ausgestaltung der Erfindung vorgesehen, daß der Zapfen ein Innengewinde zur Aufnahme einer Schraube aufweist. Das von dem dem Gleitbuchsenabschnitt gegenüberliegenden Ende des Bolzens zugängliche Innengewinde ermöglicht es, die Gegenstücke abhebesicher auf dem Zapfen zu fixieren. Zur Demontage ist es dann zwingend erforderlich, zuerst die Schraube zu lösen, damit die Gegenstücke von dem Zapfen abgehoben werden können. Es können sowohl beide Lagerstellen als auch nur eine Lagerstelle mit einer Schraube versehen werden.
  • Um eine von der Verschraubung, d. h. von dem Anzugsmoment unabhängige Verbindung zwischen dem Bolzen und der Gleitbuchse zu gewährleisten, sind nach einer weiteren Ausgestaltung der Erfindung der Gleitbuchsenabschnitt und der Zapfen durch einen umlaufenden Steg voneinander getrennt, wobei der Durchmesser des Steges größer ist als der Durchmesser der Zapfenaufnahme. Im Falle einer Verschraubung gewährleistet diese Weiterbildung der Erfindung, daß das Anzugsmoment der Schraube nicht zu Verspannungen im Bereich des Gleitbuchsenabschnitts führt. Durch die Verschraubung wird das Gegenstück lediglich zwischen dem Steg, der einerseits an der Gleitbuchse anliegt und der Schraube fixiert. Auf die Vorgabe eines speziellen Anzugsmoments bei der Montage kann somit verzichtet werden, wodurch sich die Montage ergänzend erleichtert.
  • Zur drehbaren Anordnung des Bolzens mit seinem Gleitbuchsenabschnitt in der Gleitbuchse können grundsätzlich alle herkömmlichen Befestigungsverfahren genutzt werden. Denkbar ist bspw. auch die Herstellung einer entsprechenden Schweißverbindung, wobei auf den dabei entstehenden Wärmeeintrag auf die Bauteile zu achten ist. Nach einer besonders vorteilhaften Ausgestaltung der Erfindung ist zur drehbaren Anordnung des Bolzens in der Gleitbuchse jedoch vorgesehen, daß der Bolzen durch eine Nietverbindung mit der Tür- oder Säulenkonsole in der Gleitbuchse drehbar fixiert ist. Die Nietverbindung wird hergestellt, nachdem der Bolzen in der Gleitbuchse angeordnet ist. Die Nietverbindung, welche sich besonders einfach herstellen läßt, sichert in besonders zuverlässiger Weise die Position des Bolzens in der Gleitbuchsenaufnahme, wobei bei der Herstellung der Nietverbindung besonders zuverlässig gewährleistet werden kann, daß eine Drehbarkeit des Bolzens in der Gleitbuchse vorliegt. Zur ergänzenden Sicherung der Nietverbindung kann überdies gemäß einer weiteren Ausgestaltung der Erfindung eine Scheibe vorgesehen werden, die zwischen einem Nietkopf und der Tür- oder Säulenkonsole angeordnet ist.
  • Hinsichtlich der Anordnung der Gleitbuchsen an den entsprechenden Gleitbuchsenaufnahmen an der Tür- und Säulenkonsole kann auf grundsätzlich bekannte Möglichkeiten zur Befestigung von Gleitbuchsen in Bauteilen zurückgegriffen werden. Nach einer besonders vorteilhaften Ausgestaltung der Erfindung weist die Gleitbuchse jedoch im montierten Zustand an ihren gegenüberliegenden Enden einen umlaufenden, an der Tür- oder Säulenkonsole anliegenden Kragen auf. Der Kragen sichert die Position der Gleitbuchse in den Gleitbuchsenaufnahmen in ergänzender Weise und dient darüber hinaus als Anlagefläche und Gleitfläche für eine Nietkopfunterseite oder bspw. den vorteilhafterweise vorzusehenden umlaufenden Steg an dem Bolzen.
  • Die Herstellung der Tür- oder Säulenkonsole sowie der vorzusehenden Zapfen- und Gleitbuchsenaufnahmen kann ebenfalls grundsätzlich in beliebiger Weise erfolgen. Nach einer besonders vorteilhaften Ausgestaltung der Erfindung sind die Zapfenaufnahmen und die Gleitbuchsenaufnahmen jedoch durch Stanzen, besonders vorteilhafterweise durch Feinstanzen hergestellt. Die erfindungsgemäße Ausgestaltung des Kraftfahrzeugtürscharniers ermöglicht es, diese Aufnahmen mit diesen besonders kostengünstigen Herstellungsverfahren herzustellen, da die in Eingriff befindlichen Flächen durch die in die Gleitbuchsenaufnahme eingesetzte Gleitbuchse sowie den darin angeordneten Bolzen gebildet werden. Auf eine erhöhte Oberflächenqualität der Gleitbuchsenaufnahme und Zapfenaufnahme kann daher verzichtet werden.
  • Wie bereits eingangs dargelegt, liegt es im Belieben des Fachmanns, in Abhängigkeit von den konstruktiven Vorgaben zu entscheiden, wo an den beiden Lagerstellen die Gleitbuchse angeordnet sein soll und in welche Richtung sich der zur Verbindung mit dem Gegenstück vorgesehene Bereich des Bolzens erstrecken soll. Nach einer weiteren Ausgestaltung der Erfindung ist jedoch an einer ersten Lagerstelle eine Gleitbuchse in der Säulenkonsole und an einer zweiten Lagerstelle eine Gleitbuchse in der Türkonsole angeordnet und die Zapfen der in den Gleitbuchsen angeordneten Bolzen erstrecken sich in entgegengesetzte Richtungen, vorzugsweise voneinander weg. Durch diese Ausgestaltung der Erfindung, bei der bei der Montage ein Zapfen aus der Türkonsole herausragt und in das Gegenstück der Säulenkonsole gesteckt wird und ein Zapfen aus der Säulenkonsole herausragt und in das Gegenstück der Türkonsole gesteckt wird, wird gewährleistet, daß eine ggf. vorzusehende Verschraubung von den Außenseiten des Scharniers her zugänglich ist. Diese Ausgestaltung der Erfindung erleichtert somit in besonderer Weise die Montage und Demontage des Kraftfahrzeugtürscharniers.
  • Nachstehend wird ein Ausführungsbeispiel der Erfindung anhand der Zeichnungen näher beschrieben. In den Zeichnungen zeigen:
  • Fig. 1
    eine Explosionsdarstellung eines Kraftfahrzeugtürscharniers;
    Fig. 2
    eine perspektivische Ansicht des Kraftfahrzeugtürscharniers von Fig. 1 mit einer Verschraubung;
    Fig. 3
    eine Seitenansicht des Kraftfahrzeugtürscharniers von Fig. 1 im demontierten Zustand;
    Fig. 4
    eine Seitenansicht des Kraftfahrzeugtürscharniers von Fig. 1 im montierten Zustand und
    Fig. 5
    eine weitere Ansicht des Kraftfahrzeugtürscharniers von Fig. 1 im montierten Zustand.
  • Fig. 1 zeigt eine Explosionsdarstellung eines Kraftfahrzeugtürscharniers 1 mit einer Türkonsole 2 und einer Säulenkonsole 3, wobei die Türkonsole 2 aus einem oberen Teilstück 6 und einem unteren Teilstück 7 gebildet ist, die im montierten Zustand an einer hier nicht dargestellten Tür über ein Verbindungsblech 18 miteinander verbunden sind.
  • Die in Fig. 1 gewählte Darstellung der einzelnen Bauteile entspricht deren Ausgestaltung im montierten Zustand und nicht deren Ausgestaltung vor der Erstmontage des Kraftfahrzeugtürscharniers 1. Die Türkonsole 2 und die Säulenkonsole 3 des Kraftfahrzeugtürscharniers 1 sind an zwei Lagerstellen 4, 5 gelenkig miteinander verbunden. Hierzu weist die Säulenkonsole 3 an ihrer ersten Lagerstelle 4 eine Gleitbuchse 8 auf, die in einer Gleitbuchsenaufnahme 14 der Säulenkonsole 3 verdrehsicher angeordnet ist. An der zweiten Lagerstelle 5 ist die Gleitbuchse 8 in der Gleitbuchsenaufnahme 14 des unteren Teilstücks 7 der Türkonsole 2 angeordnet. Zur gelenkigen Verbindung der Türkonsole 2 mit der Säulenkonsole 3 ist in den Gleitbuchsen 8 ein Bolzen 9 im Bereich seines Gleitbuchsenabschnitts 21 verdrehbar in der Gleitbuchse 8 angeordnet.
  • Die Gleitbuchsen 8 weisen an ihren gegenüberliegenden Enden einen umlaufenden, umgebördelten Kragen 27 auf, der an der Tür- bzw. Säulenkonsole 2, 3 anliegt.
  • Zur Positionssicherung des Bolzens 9 in der Gleitbuchse 8 weist der Bolzen 9 an seinem freien Ende des Gleitbuchsenabschnitts 21 einen verjüngten Bereich 25 auf. Dieser dient zur Aufnahme einer Scheibe 10, und zur Bildung eines Nietkopfs 20, dessen Durchmesser größer ist als eine Öffnung der Scheibe 10, so daß der Bolzen 9 in den Gleitbuchsen 8 entnahmesicher aber drehbar fixiert ist.
  • Zur gelenkigen Verbindung der Türkonsole 2 mit der Säulenkonsole 3 weist der Bolzen 9 an seinem dem Nietkopf 20 gegenüberliegenden Ende einen Zapfen 23 auf, der sich von einem im Bereich zwischen dem Gleitbuchsenabschnitt 21 und dem Zapfen 23 befindlichen Steg 22 bis zum dem Nietkopf 20 gegenüberliegenden Ende des Bolzens 9 erstreckt.
  • Die den Gleitbuchsen 8 gegenüberliegenden Gegenstücke der Türkonsole 2 bzw. Säulenkonsole 3, weisen Zapfenaufnahmen 15 zur Aufnahme der Zapfen 23 auf, so daß die Türkonsole 2 und die Säulenkonsole 3 an den zwei Lagerstellen 4, 5 miteinander verbunden sind.
  • Im montierten Zustand des Kraftfahrzeugtürscharniers 1 werden die Kontaktflächen durch eine Gleitfläche 26 und den Gleitbuchsenabschnitt 21 des Bolzens 9 gebildet. Zur Positionssicherung des montierten Zustandes weisen die Zapfen 23 überdies ein Innengewinde 24 auf, das zur Aufnahme einer Schraube 11 geeignet ist. Die Schrauben 11 sind in die Zapfen 23 der Bolzen 9 einschraubbar und verhindern somit, daß sich die Türkonsole 2 und die Säulenkonsole 3 ungewollt voneinander trennen.
  • Zur Befestigung des Kraftfahrzeugtürscharniers 1 an einer Fahrzeugkarosserie bzw. einer Fahrzeugtür weisen die Türkonsole 2 und die Säulenkonsole 3 vorgesehene Befestigungsöffnungen 12, 13 auf, die zur Aufnahme von hier nicht dargestellten Befestigungsschrauben vorgesehen sind. Zur Begrenzung des Öffnungswinkels, d. h. des Schwenkwinkels der Türkonsole 2 gegenüber der Säulenkonsole 3 weist die Säulenkonsole 3 einen Anschlag 16 auf, der aus der Säulenkonsole 3 herausgebildet ist. Der Anschlag 16 kommt beim Erreichen des maximalen Öffnungswinkels mit einem Anschlag 17 an dem oberen und unteren Teilstück 6, 7 der Türkonsole 2 zur Anlage.
  • Bei dem in Fig. 2 dargestellten Ausführungsbeispiel des Kraftfahrzeugtürscharniers 1 ist auf eine Befestigungsschraube 11 an der ersten Lagerstelle 4 verzichtet worden. Eine Positionssicherung an dieser Stelle ist entbehrlich, da die an der zweiten Lagerstelle 5 angeordnete Schraube 11 in ausreichendem Maße die Türkonsole 2 an der Säulenkonsole 3 sichert.
  • In den Fig. 3 und 4 ist das Kraftfahrzeugtürscharnier 1 im montierten (Fig. 4) und im demontierten (Fig. 3) Zustand dargestellt. Zur Trennung ist es lediglich erforderlich, die Schrauben 11 aus den den Nietköpfen 20 gegenüberliegenden Enden der Bolzen 9 herauszuschrauben und die Türkonsole 2 von der Säulenkonsole 3 abzuheben. Zur Montage muß in umgekehrter Reihenfolge vorgegangen werden. Die Türkonsole 2 ist dabei derart mit der Säulenkonsole 3 zu verbinden, daß die Zapfenaufnahme 15 an dem oberen Teilstück 6 auf den Zapfen 23 an der ersten Lagerstelle 4 und der Zapfen 23 an der zweiten Lagerstelle 5 in die Zapfenaufnahme 15 an der zweiten Lagerstelle 5 der Säulenkonsole 3 gesteckt wird.
  • In Fig. 5 ist eine Darstellung des Kraftfahrzeugtürscharniers 1 von Fig. 1 in einer anderen Ansicht der Säulenkonsole 3 gegenüber der Türkonsole 2 dargestellt.

Claims (11)

  1. Kraftfahrzeugtürscharnier mit
    - einer an einem Türrahmen anordbaren Säulenkonsole und
    - einer an einer Fahrzeugtür befestigbaren Türkonsole, wobei
    - die Türkonsole und die Säulenkonsole als Gegenstücke an zwei im Abstand voneinander angeordneten Lagerstellen gelenkig und zur Demontage trennbar miteinander verbunden sind,
    dadurch gekennzeichnet, daß
    an den Lagerstellen (4, 5) die Türkonsole (2) oder Säulenkonsole (3) eine Gleitbuchse (8) aufweisen und die gelenkige Verbindung durch zwei Bolzen (9) gebildet ist, die sich jeweils durch eine Gleitbuchse (8) und das zugeordnete Gegenstück erstrecken, wobei die Gleitbuchsen (8) und die Bolzen (9) derart an der Tür- oder Säulenkonsole (2, 3) sowie aneinander angeordnet sind, daß bei einem Verschwenken der Konsolen (2, 3) relativ zueinander der Bolzen (9) relativ zur Gleitbuchse (8) verdreht wird und bei der Demontage der Säulenkonsole (2) von der Türkonsole (3) der Bolzen (9) in der Gleitbuchse (8) verbleibt.
  2. Kraftfahrzeugtürscharnier nach Anspruch 1, dadurch gekennzeichnet, daß der Bolzen (9) einen Gleitbuchsenabschnitt (21) und einen Zapfen (23) zur Anordnung einer Zapfenaufnahme (15) des Gegenstücks der Tür- oder Säulenkonsole (2, 3) an dem Bolzen (9) aufweist.
  3. Kraftfahrzeugtürscharnier nach Anspruch 2, dadurch gekennzeichnet, daß der Zapfen (23) einen von einer Kreisform abweichenden, vorzugsweise polygonalen Querschnitt und die Zapfenaufnahme (15) einen entsprechenden Querschnitt aufweist.
  4. Kraftfahrzeugtürscharnier nach Anspruch 2 oder 3, dadurch gekennzeichnet, daß der Zapfen (23) konisch und die Zapfenaufnahme (15) entsprechend konisch ausgebildet ist.
  5. Kraftfahrzeugtürscharnier nach einem der Ansprüche 2 bis 4, dadurch gekennzeichnet, daß der Zapfen (23) ein Innengewinde (24) zur Aufnahme einer Befestigungsschraube (11) aufweist.
  6. Kraftfahrzeugtürscharnier nach einem der Ansprüche 2 bis 5, dadurch gekennzeichnet, daß der Gleitbuchsenabschnitt (21) und der Zapfen (23) durch einen umlaufenden Steg (22) voneinander getrennt sind, wobei der Durchmesser des Stegs (22) größer ist als der Durchmesser der Zapfenaufnahme (15).
  7. Kraftfahrzeugtürscharnier nach einem der vorhergehenden Ansprüche, dadurch gekennzeichnet, daß der Bolzen (9) durch eine Nietverbindung mit der Tür- oder Säulenkonsole (2, 3) in der Gleitbuchse (8) drehbar fixiert ist.
  8. Kraftfahrzeugtürscharnier nach Anspruch 7, dadurch gekennzeichnet, daß zwischen einem Nietkopf (20) und der Tür- oder Säulenkonsole (2, 3) eine Scheibe (10) angeordnet ist.
  9. Kraftfahrzeugtürscharnier nach einem der vorhergehenden Ansprüche, dadurch gekennzeichnet, daß die Gleitbuchse (8) an ihren gegenüberliegenden Enden einen umlaufenden, an der Tür- oder Säulenkonsole (2, 3) anliegenden Kragen (27) aufweist.
  10. Kraftfahrzeugtürscharnier nach einem der Ansprüche 2 bis 9, dadurch gekennzeichnet, daß die Zapfenaufnahme (15) und die Gleitbuchsenaufnahme (14) durch Stanzen, besonders vorteilhafterweise durch Feinstanzen hergestellt sind.
  11. Kraftfahrzeugtürscharnier nach einem der vorhergehenden Ansprüche, dadurch gekennzeichnet, daß an einer ersten Lagerstelle (4) eine Gleitbuchse (8) in der Säulenkonsole (3) und an einer zweiten Lagerstelle (5) eine Gleitbuchse (8) in der Türkonsole (2) angeordnet ist und die Zapfen (23) der in den Gleitbuchsen (8) angeordneten Bolzen (9) sich in entgegengesetzte Richtungen, vorzugsweise voneinander weg gerichtet erstrecken.
EP07020962A 2006-11-29 2007-10-26 Kraftfahrzeugtürscharnier Withdrawn EP1930533A1 (de)

Applications Claiming Priority (1)

Application Number Priority Date Filing Date Title
DE102006056549A DE102006056549B3 (de) 2006-11-29 2006-11-29 Kraftfahrzeugtürscharnier

Publications (1)

Publication Number Publication Date
EP1930533A1 true EP1930533A1 (de) 2008-06-11

Family

ID=38825515

Family Applications (1)

Application Number Title Priority Date Filing Date
EP07020962A Withdrawn EP1930533A1 (de) 2006-11-29 2007-10-26 Kraftfahrzeugtürscharnier

Country Status (3)

Country Link
US (1) US7748768B2 (de)
EP (1) EP1930533A1 (de)
DE (1) DE102006056549B3 (de)

Cited By (2)

* Cited by examiner, † Cited by third party
Publication number Priority date Publication date Assignee Title
DE202011051365U1 (de) 2011-09-20 2011-10-12 Mhtec Ltd. & Co. Kg Vorrichtung zur Demontage einer Fahrzeugtür von einer Fahrzeugkarosserie
CN105386674A (zh) * 2014-09-02 2016-03-09 罗伯特·博世有限公司 用于对机动车中的组件进行调节的驱动装置

Families Citing this family (16)

* Cited by examiner, † Cited by third party
Publication number Priority date Publication date Assignee Title
US8156611B2 (en) * 2008-08-01 2012-04-17 Ford Global Technologies, Llc Lift-off door hinge
DE102010015290A1 (de) * 2010-04-17 2011-10-20 Gm Global Technology Operations Llc (N.D.Ges.D. Staates Delaware) Scharnierverstärkung für ein Kraftfahrzeug-Türscharnier
JP5700876B2 (ja) * 2011-04-19 2015-04-15 本田技研工業株式会社 車体後部構造
JP6238332B2 (ja) * 2013-02-05 2017-11-29 理研化機工業株式会社 自動車用のドアヒンジ及びその第1ブラケットの製造方法
JP6198707B2 (ja) * 2014-11-07 2017-09-20 スガツネ工業株式会社 ヒンジ
KR101714196B1 (ko) * 2015-08-24 2017-03-08 현대자동차주식회사 차량 도어용 공용 도어 힌지
US10184280B2 (en) 2016-06-02 2019-01-22 Flex-N-Gate Advanced Product Development, Llc. Automotive door hinge
JP2020530548A (ja) * 2017-08-11 2020-10-22 ザ コンフォート カンパニーズ, エルエルシー 車椅子構成要素のためのヒンジアセンブリ
CN107575109B (zh) * 2017-10-24 2023-04-28 深圳怡化电脑股份有限公司 一种合页组件及其组装方法
US10890022B2 (en) * 2018-10-10 2021-01-12 Ford Global Technologies, Llc. Ice-breaking hinge assemblies for vehicle closure members
US20220042362A1 (en) * 2019-01-18 2022-02-10 Warren Industries Ltd. Vehicular door hinge with folded sheet metal component
EP3771791B1 (de) * 2019-07-29 2022-01-19 C.R.F. Società Consortile per Azioni Scharnier eines mobilen teils eines kraftfahrzeugs
US11365578B2 (en) * 2019-08-29 2022-06-21 Ford Global Technologies, Llc Powered hinge assembly for vehicle doors
US10688377B1 (en) * 2019-10-07 2020-06-23 Tedy Fugel Systems for mounting accessories on skateboards
CN115698456B (zh) * 2020-06-17 2023-05-09 多媒体股份有限公司 具有集成式门限位件的汽车提离式铰链
DE102023114591A1 (de) * 2023-06-02 2024-12-05 Bayerische Motoren Werke Aktiengesellschaft Türscharnier für eine Fahrzeugtür, Fahrzeugtür und Kraftfahrzeug

Citations (4)

* Cited by examiner, † Cited by third party
Publication number Priority date Publication date Assignee Title
GB2199072A (en) * 1986-12-27 1988-06-29 Scharwaechter Gmbh Co Kg Separable door hinge
DE9416246U1 (de) * 1994-10-08 1996-02-08 Lunke & Sohn AG, 58455 Witten Scharnier mit Exzenterbolzen
DE19960432A1 (de) * 1999-12-15 2001-07-05 Daimler Chrysler Ag Scharnier, insbesondere für eine Fahrzeugtür
DE10052764A1 (de) * 2000-10-25 2002-05-08 Bayerische Motoren Werke Ag Türscharnier für ein Kraftfahrzeug

Family Cites Families (5)

* Cited by examiner, † Cited by third party
Publication number Priority date Publication date Assignee Title
DE202005017404U1 (de) * 2004-05-28 2006-01-05 Edscha Ag Scharnier und Aufhängevorrichtung für eine Kraftfahrzeugtür
DE102005017404A1 (de) 2005-04-15 2006-10-19 Krones Ag Vorrichtung und Verfahren zur Sterilisation von Flüssigkeiten
US20060273621A1 (en) * 2005-06-06 2006-12-07 Ventra Group, Inc. Lift-off door hinge
DE102006050662B3 (de) * 2006-10-24 2008-01-31 Automotive Group Ise Innomotive Systems Europe Gmbh Kraftfahrzeugtürscharnier
DE102006053197B3 (de) * 2006-11-09 2008-02-07 Automotive Group Ise Industries Hainichen Gmbh Kraftfahrzeugtürscharnier

Patent Citations (4)

* Cited by examiner, † Cited by third party
Publication number Priority date Publication date Assignee Title
GB2199072A (en) * 1986-12-27 1988-06-29 Scharwaechter Gmbh Co Kg Separable door hinge
DE9416246U1 (de) * 1994-10-08 1996-02-08 Lunke & Sohn AG, 58455 Witten Scharnier mit Exzenterbolzen
DE19960432A1 (de) * 1999-12-15 2001-07-05 Daimler Chrysler Ag Scharnier, insbesondere für eine Fahrzeugtür
DE10052764A1 (de) * 2000-10-25 2002-05-08 Bayerische Motoren Werke Ag Türscharnier für ein Kraftfahrzeug

Cited By (4)

* Cited by examiner, † Cited by third party
Publication number Priority date Publication date Assignee Title
DE202011051365U1 (de) 2011-09-20 2011-10-12 Mhtec Ltd. & Co. Kg Vorrichtung zur Demontage einer Fahrzeugtür von einer Fahrzeugkarosserie
CN105386674A (zh) * 2014-09-02 2016-03-09 罗伯特·博世有限公司 用于对机动车中的组件进行调节的驱动装置
CN105386674B (zh) * 2014-09-02 2019-03-29 罗伯特·博世有限公司 用于对机动车中的组件进行调节的驱动装置
US10407966B2 (en) 2014-09-02 2019-09-10 Robert Bosch Gmbh Drive arrangement for adjusting a component in a motor vehicle

Also Published As

Publication number Publication date
US20080150320A1 (en) 2008-06-26
US7748768B2 (en) 2010-07-06
DE102006056549B3 (de) 2008-01-17

Similar Documents

Publication Publication Date Title
EP1930533A1 (de) Kraftfahrzeugtürscharnier
DE4131098C2 (de)
EP2815681B1 (de) Verstellmechanik zur verstellung von beweglichen möbelteilen
EP0601286B1 (de) Tür für ein Kraftfahrzeug
DE10013726C2 (de) Klappenscharnier
DE9409285U1 (de) Scharnierstiftloses wartungsfrei gelagertes Blechscharnier für Kraftwagentüren
DE3504921A1 (de) Scharnierband fuer tueren, insbesondere scharnierband mit drei bandgliedern
DE69014873T2 (de) Autoscharnier.
DE102011100048A1 (de) Scharnier für Fahrzeugklappe
EP0221242B1 (de) Türscharnier für eine Kraftfahrzeugtür
DE69900610T2 (de) Scharnier für KFZ-Türe, insbesondere für eine Heckklappe
EP2169163B1 (de) Höhenverstellbares Band
EP0776811A1 (de) Lenkradbefestigung
DE4011909C2 (de)
EP3150786A1 (de) Gelenkverbindung
DE3137112C2 (de)
DE102015012641B3 (de) Gelenkverbindung
DE19915718C2 (de) Türscharnier für Kraftfahrzeuge
EP0600227B1 (de) Raumgelenkiges Kraftwagentürscharnier
CH690451A5 (de) Scharnier.
EP0882865B1 (de) Aushängbares Kraftwagentürscharnier
EP0509355B1 (de) Montagesatz für Kraftwagentürscharniere
EP2581536A2 (de) Ecklager
DE8716621U1 (de) Türscharnierteil
DE19900839B4 (de) Riegelelement

Legal Events

Date Code Title Description
PUAI Public reference made under article 153(3) epc to a published international application that has entered the european phase

Free format text: ORIGINAL CODE: 0009012

AK Designated contracting states

Kind code of ref document: A1

Designated state(s): AT BE BG CH CY CZ DE DK EE ES FI FR GB GR HU IE IS IT LI LT LU LV MC MT NL PL PT RO SE SI SK TR

AX Request for extension of the european patent

Extension state: AL BA HR MK RS

RAP1 Party data changed (applicant data changed or rights of an application transferred)

Owner name: ISE AUTOMOTIVE GMBH

17P Request for examination filed

Effective date: 20081117

AKX Designation fees paid

Designated state(s): DE FR

STAA Information on the status of an ep patent application or granted ep patent

Free format text: STATUS: THE APPLICATION IS DEEMED TO BE WITHDRAWN

18D Application deemed to be withdrawn

Effective date: 20100504