EP1643033B2 - Pressvorrichtung in einer Pressenpartie einer Maschine zur Herstellung einer Faserstoffbahn - Google Patents

Pressvorrichtung in einer Pressenpartie einer Maschine zur Herstellung einer Faserstoffbahn Download PDF

Info

Publication number
EP1643033B2
EP1643033B2 EP05107510A EP05107510A EP1643033B2 EP 1643033 B2 EP1643033 B2 EP 1643033B2 EP 05107510 A EP05107510 A EP 05107510A EP 05107510 A EP05107510 A EP 05107510A EP 1643033 B2 EP1643033 B2 EP 1643033B2
Authority
EP
European Patent Office
Prior art keywords
press
shoe
roll
section according
shell
Prior art date
Legal status (The legal status is an assumption and is not a legal conclusion. Google has not performed a legal analysis and makes no representation as to the accuracy of the status listed.)
Expired - Lifetime
Application number
EP05107510A
Other languages
German (de)
English (en)
French (fr)
Other versions
EP1643033A3 (de
EP1643033A2 (de
EP1643033B1 (de
Inventor
Andreas SCHÜTTE
Christoph Strempfl
Current Assignee (The listed assignees may be inaccurate. Google has not performed a legal analysis and makes no representation or warranty as to the accuracy of the list.)
Voith Patent GmbH
Original Assignee
Voith Patent GmbH
Priority date (The priority date is an assumption and is not a legal conclusion. Google has not performed a legal analysis and makes no representation as to the accuracy of the date listed.)
Filing date
Publication date
Family has litigation
First worldwide family litigation filed litigation Critical https://patents.darts-ip.com/?family=35229654&utm_source=google_patent&utm_medium=platform_link&utm_campaign=public_patent_search&patent=EP1643033(B2) "Global patent litigation dataset” by Darts-ip is licensed under a Creative Commons Attribution 4.0 International License.
Application filed by Voith Patent GmbH filed Critical Voith Patent GmbH
Priority to PL05107510T priority Critical patent/PL1643033T5/pl
Publication of EP1643033A2 publication Critical patent/EP1643033A2/de
Publication of EP1643033A3 publication Critical patent/EP1643033A3/de
Publication of EP1643033B1 publication Critical patent/EP1643033B1/de
Application granted granted Critical
Publication of EP1643033B2 publication Critical patent/EP1643033B2/de
Anticipated expiration legal-status Critical
Expired - Lifetime legal-status Critical Current

Links

Images

Classifications

    • DTEXTILES; PAPER
    • D21PAPER-MAKING; PRODUCTION OF CELLULOSE
    • D21FPAPER-MAKING MACHINES; METHODS OF PRODUCING PAPER THEREON
    • D21F3/00Press section of machines for making continuous webs of paper
    • D21F3/02Wet presses
    • D21F3/0209Wet presses with extended press nip
    • D21F3/0218Shoe presses

Definitions

  • the invention relates to a press section of a machine for producing a paper, cardboard, tissue or other fibrous web with a pressing device comprising a press shoe comprising a shoe press roll and, with this a press nip forming counter roll, wherein on the shoe press roll a roll shell of end caps on the press shoe is led around.
  • Such a press section is for example from the EP-A-0 389 675 known.
  • a press section for a paper machine which has two press points, each formed by a press roll cooperating with a shoe press roll.
  • a first upper felt, the paper web coming from a forming wire, an underfelt and a press jacket of a first shoe press roll pass through the first press point.
  • the underfelt continues with the paper web to the second press site. Together with a second top felt and a press jacket of a second press site, the paper web then passes through the second press site.
  • the paper web follows the underfelt further up to a take-off roll, through which it is transferred to a first dryer wire which transfers the paper web to the dryer section.
  • a shoe press roll 1 ( Fig. 1a ) provided with a rotating jacket 2 and a fixed press shoe 3. This forms together with a counter-roller 4 a press nip, through which the fibrous web is passed in the direction of an arrow P to withdraw their water.
  • a shoe press roll 1 and the counter roll 4 are shown in the operating position in cross section.
  • the press shoe 3 is opposite the contour formed by the jacket 2 in the remaining area of the shoe press roll 1 at a position A at its front edge by an amount y A and at positions designated B, C and D respectively by amounts y B , y C and y D set back relative to the circular contour of the shoe press roll 1, ie, the press shoe 3 is set back over its entire length in the web running direction relative to the circular contour formed by the end disks.
  • a distance s (extending in the axial direction of the shoe press roll 1) Fig.
  • edge region of the shell of the shoe press roll is deformed differently when passing through the area of the press shoe, since it is rigidly guided on a circular path through the face plate on the one hand, on the other hand pushed by the counter roll in the facing this shoe contour.
  • the deformation and the stresses resulting therefrom in the roll shell result in alternating stresses which limit the life of the shell and reduce it especially with increasing paper machine speeds.
  • the load on the roll shell is reduced as a result of the deflection or deformation when passing through the press shoe, since the expansion or stress in the direction of the longitudinal axis of the shoe press roll distributed over a greater length of the roll shell.
  • the press shoe is preferably set back with its front end and / or with its rear end with a closed press nip at most 5 mm in relation to the circular contour of the roll mantle corresponding to the contour of the end cover.
  • the deflection or deformation of the roll shell is greatly reduced. This applies regardless of the length of the press shoe in the machine direction.
  • a press shoe with a long length, of more than 300 mm, as used for example for producing wood-free paper, for example cardboard and packaging paper in order to produce a broad press nip, so that there is no such strong surface pressure and the volume of the paper is not reduced too much to use the invention with advantage.
  • the press section is formed in this case, for example by a tandem Nipcoflex press with two press nips and can also be used at higher operating speeds according to the invention.
  • the press shoe extends beyond the circular contour by up to 50 mm at its front and / or rear end.
  • the press shoe in the web running direction of the fibrous web has a length of 300 mm or more, in particular of more than 350 mm, in particular of more than 400 mm.
  • the effect of the length of the press shoe on the deflection or deformation of the roll shell is also reduced by the fact that the largest possible diameter of the shoe press roll and the counterpressure roll are used in relation to the length of the press shoe in the web running direction.
  • the ratio of the diameter of the shoe press roll to the length of the press shoe in the direction of rotation is 4.0 or more, and the ratio of the diameter of the backing roll to the length of the press shoe is 3.9 or more. According to the invention, such a ratio can generally be used in press devices in a machine for producing a fibrous web.
  • y 1 is the smallest deviation
  • y 2 denotes the value by which the press shoe in its central region relative to the circular contour the shoe press roll is set back (maximum insertion dimension)
  • s denotes the respective lateral spacing of the end cover from the press shoe in the axial direction and that the value (K 3 ) is less than 1.07, in particular less than 1.02, very particularly less than 1.007 , is.
  • a support strip is used within the shoe press roll in the direction of rotation in front of the press shoe, which preferably extends over the entire width of the shoe press roll.
  • the press shoe on the inlet side is provided with a bead, in which the means, in particular in the form of arranged over the entire width of the press shoe holes, is integrated.
  • the oil lines may preferably end in lubrication pockets or communicate with protrusions in the interior of the press shoe in which the oil collects.
  • the inlet-side contour forms a convergent wedge between the lateral surface of the roll shell and the inlet side, the shell-facing surface of the press shoe.
  • the diameter of the counter roll is preferably at least 0.975 times the diameter of the shoe press roll. This has for example a diameter of 1200 mm.
  • the counter roll in this case has at least a diameter of 1170 mm.
  • a shoe press roll 10 ( Fig. 2a ) is a press shoe 11 with an inlet-side bead 12 arranged such that the bead 12 via a fictitious in the area of the press shoe 11 circular contour 13, the contour of a roll shell 14 entraining (not shown here) end plates of the shoe press roll 10 protrudes (position A) (this is in Fig. 2b defined as negative direction y), while the press shoe 11 is set back in its central region (positions B and C) and at its outlet end (position D) with respect to the contour of the roll mantle 14 (positive y values for the positions B, C, D).
  • A is the beginning of the press nip.
  • the distance between the centers of the shoe press roll 10 and the counter roll 15 by an amount R 1 ie, the in Fig. 2a shown displacement
  • R 1 the in Fig. 2a shown displacement
  • the run of the roll mantle 14 at the press shoe edge of the press shoe 11 is characterized.
  • the illustration shows the deformation of the roll mantle 14 over the region between the side edge 16 of the press shoe 11 and the inner edge 17 of the end disk in the direction of the longitudinal axis of the shoe press roll 10 by amounts y A , y B , y C and y D, respectively.
  • the shoe press roll 10 is mounted substantially above the counter roll 15. Compared to the vertical their center is usually offset by an amount e relative to the center of the counter-roller 15.
  • Fig. 3b It is shown how between the edge 23 of the press shoe 21 and the inner edge 24, an elongation of the roll shell 22 over the existing between the edge 23 and the inner edge 24 distance s, wherein z A , Z B , Z C and Z D respectively Designate offset of the press shoe 21 relative to the circular contour 13. If the distance between the edges 23 and 24 is doubled to the amount of 2 s (at a distance between the edge 23 and an edge 24 '), the stretch of the roll mantle 22 will be distributed twice as long, and therefore will experience only one about half as much stretching or bending. For the purposes of the invention, therefore, the aim is to choose the distance between the edge of the press shoe and the inner edge of the end disk as large as possible.
  • Fig. 4 To reduce the surface pressure between the press shoe 11 and the roll shell 14 according to Fig. 2a (or the roll shell 22 according to Fig. 3a ) is in one embodiment of the invention ( Fig. 4 ) provided that the input-side bead 12 of the press shoe 11 forms a convergent wedge between the roll shell 14 and the shoe inlet surface. This prevents the squeezing of the oil film.
  • the bead radii of curvature R 2 and R 1 which shrink in the direction of the roll shell 14. It is understood that the value of the radius of curvature R 2 can also be continuous or via a plurality of intermediate values in the radius of curvature R 1 . In this way, a convergent inlet gap 25 is formed between the roll shell 14 and the press shoe 11. The friction between the press shoe 11 and the roll shell 14 is reduced by the use of an oil film 26 applied to the roll shell 14.
  • a further embodiment are provided within the input-side bead 12 of the press shoe 11 holes 27, through the oil or other lubricant in the area between the press shoe eleventh and the roll shell 14 is fed to reduce the friction.
  • the holes 27 are arranged distributed over the entire width of the press shoe 11 and communicate with oil pressure lines, which ensure forced lubrication.
  • the bores 27 may optionally terminate in pockets in which reservoirs for the lubricant are formed.
  • the dashed line 14 ' shows the circular contour or the course, the roll shell 14 would take without the introduced into the interior of the shoe press roll 10 press shoe 11.
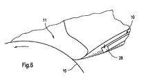
  • a support bar 28 which serves to stabilize the roll shell 14.
  • Such support strips 28 may be distributed within the shoe press roll 10 at several points over the circumference.
  • On the support strips 28 also nozzles for spraying an oil film can be arranged on the inside of the roll shell 14.
  • the support strip can also extend continuously over the entire width of the shoe press roll 10 in the axial direction. The support strip causes a smooth inlet of the oil film between the roll shell 14 and the press shoe 11 is achieved.
  • oil can also be sprayed by means of an oil spray pipe in the direction of the inlet of the press shoe and / or the support bar.

Landscapes

  • Paper (AREA)
  • Treatment Of Fiber Materials (AREA)
  • Preliminary Treatment Of Fibers (AREA)
EP05107510A 2004-10-02 2005-08-16 Pressvorrichtung in einer Pressenpartie einer Maschine zur Herstellung einer Faserstoffbahn Expired - Lifetime EP1643033B2 (de)

Priority Applications (1)

Application Number Priority Date Filing Date Title
PL05107510T PL1643033T5 (pl) 2004-10-02 2005-08-16 Urządzenie prasujące w części prasowej maszyny do wytwarzania pasma włóknistego

Applications Claiming Priority (1)

Application Number Priority Date Filing Date Title
DE102004048156A DE102004048156A1 (de) 2004-10-02 2004-10-02 Pressvorrichtung in einer Pressenpartie einer Maschine zur Herstellung einer Faserstoffbahn

Publications (4)

Publication Number Publication Date
EP1643033A2 EP1643033A2 (de) 2006-04-05
EP1643033A3 EP1643033A3 (de) 2006-10-18
EP1643033B1 EP1643033B1 (de) 2008-01-23
EP1643033B2 true EP1643033B2 (de) 2011-09-14

Family

ID=35229654

Family Applications (1)

Application Number Title Priority Date Filing Date
EP05107510A Expired - Lifetime EP1643033B2 (de) 2004-10-02 2005-08-16 Pressvorrichtung in einer Pressenpartie einer Maschine zur Herstellung einer Faserstoffbahn

Country Status (5)

Country Link
EP (1) EP1643033B2 (pl)
AT (1) ATE384823T1 (pl)
DE (2) DE102004048156A1 (pl)
ES (1) ES2298944T3 (pl)
PL (1) PL1643033T5 (pl)

Family Cites Families (11)

* Cited by examiner, † Cited by third party
Publication number Priority date Publication date Assignee Title
DE3909936A1 (de) * 1989-03-25 1990-09-27 Oberdorfer Fa F Verfahren und vorrichtung zum herstellen eines undurchlaessigen und biegsamen bandes oder schlauches
DE19615654A1 (de) * 1996-04-19 1997-10-23 Voith Sulzer Papiermasch Gmbh Pressenanordnung
US5643416A (en) * 1996-06-07 1997-07-01 Beloit Technologies, Inc. Extended nip press with oscillating blanket for extended wear
DE19642046A1 (de) * 1996-10-11 1998-04-16 Voith Sulzer Papiermasch Gmbh Pressenpartie
DE19802853A1 (de) * 1998-01-26 1999-07-29 Voith Sulzer Papiertech Patent Pressenanordnung
DE19934875A1 (de) * 1999-07-24 2001-01-25 Voith Paper Patent Gmbh Papiermaschine
DE19962706A1 (de) * 1999-12-23 2001-06-28 Voith Paper Patent Gmbh Pressenpartie
DE10042906A1 (de) * 2000-08-31 2002-03-14 Voith Paper Patent Gmbh Pressenanordnung
FI116734B (fi) * 2001-10-25 2006-02-15 Metso Paper Inc Menetelmä paperi- tai kartonkirainan käsittelemiseksi ja paperi- tai kartonkirainan käsittelylaite
DE10259232A1 (de) * 2002-12-17 2004-07-15 Eduard Küsters Maschinenfabrik GmbH & Co. KG Vorrichtung zum Bilden eines Langspalts
DE10259442C5 (de) * 2002-12-19 2008-01-03 Voith Patent Gmbh Breitnip-Kalander

Also Published As

Publication number Publication date
DE502005002629D1 (de) 2008-03-13
EP1643033A3 (de) 2006-10-18
PL1643033T5 (pl) 2012-02-29
ES2298944T3 (es) 2008-05-16
PL1643033T3 (pl) 2008-06-30
DE102004048156A1 (de) 2006-04-06
EP1643033A2 (de) 2006-04-05
EP1643033B1 (de) 2008-01-23
ATE384823T1 (de) 2008-02-15

Similar Documents

Publication Publication Date Title
DE69129788T2 (de) Verfahren und Vorrichtung zur Entwässerung einer Papierbahn durch Pressen
AT392100B (de) Elastisch verformbarer pressmantel einer presse zur entwaesserung bahnfoermigen gutes, insbesondere einer entwaesserungspresse fuer papierherstellungs- maschinen od. dgl.
DE4102356C1 (pl)
EP1314817A1 (de) Verfahren und Vorrichtung zur Herstellung einer Faserstoffbahn
EP2678471B1 (de) Pressenpartie einer maschine zur herstellung einer faserstoffbahn
EP0309530B1 (de) Maschine zur herstellung von faserstoffbahnen
EP0837181B1 (de) Pressenpartie
EP1111126B1 (de) Pressenpartie
DE19654197A1 (de) Maschine zur Herstellung einer Faserstoffbahn
WO2007057322A2 (de) Tissuemaschine
EP1643033B2 (de) Pressvorrichtung in einer Pressenpartie einer Maschine zur Herstellung einer Faserstoffbahn
EP0839952B1 (de) Schuhpresse
EP2391769B1 (de) Vorrichtung zur herstellung einer materialbahn
EP1333121B1 (de) Kalander und Verfahren zum Betreiben eines Kalanders
EP0745725A2 (de) Walzenpresse
DE19740512A1 (de) Einrichtung zur Herstellung von Wellpappe
DE20100509U1 (de) Schuhpresse
DE19645408B4 (de) Verfahren zur Herstellung einer Faserstoffbahn
EP1992736B1 (de) Pressanordnung
DE4443875C2 (de) Langspaltpresse
EP1496152A1 (de) Presswalze oder Walzenmantel
DE8717279U1 (de) Maschine zur Herstellung von Faserstoffbahnen
DE1807759C (de) Walzenpresse zum Entwässern einer Filz bahn in einer Papiermaschine
DE29911781U1 (de) Vorrichtung zum Auftragen eines flüssigen oder pastösen Auftragsmediums auf einen laufenden Untergrund
DE1807759A1 (de) Walzenpresse,insbesondere Waschpresse fuer einen Papiermaschinenfilz

Legal Events

Date Code Title Description
PUAI Public reference made under article 153(3) epc to a published international application that has entered the european phase

Free format text: ORIGINAL CODE: 0009012

AK Designated contracting states

Kind code of ref document: A2

Designated state(s): AT BE BG CH CY CZ DE DK EE ES FI FR GB GR HU IE IS IT LI LT LU LV MC NL PL PT RO SE SI SK TR

AX Request for extension of the european patent

Extension state: AL BA HR MK YU

RAP1 Party data changed (applicant data changed or rights of an application transferred)

Owner name: VOITH PATENT GMBH

PUAL Search report despatched

Free format text: ORIGINAL CODE: 0009013

AK Designated contracting states

Kind code of ref document: A3

Designated state(s): AT BE BG CH CY CZ DE DK EE ES FI FR GB GR HU IE IS IT LI LT LU LV MC NL PL PT RO SE SI SK TR

AX Request for extension of the european patent

Extension state: AL BA HR MK YU

17P Request for examination filed

Effective date: 20070418

AKX Designation fees paid

Designated state(s): AT BE BG CH CY CZ DE DK EE ES FI FR GB GR HU IE IS IT LI LT LU LV MC NL PL PT RO SE SI SK TR

GRAP Despatch of communication of intention to grant a patent

Free format text: ORIGINAL CODE: EPIDOSNIGR1

RIN1 Information on inventor provided before grant (corrected)

Inventor name: SCHUETTE, ANDREAS

Inventor name: STREMPFL, CHRISTOPH

GRAS Grant fee paid

Free format text: ORIGINAL CODE: EPIDOSNIGR3

GRAA (expected) grant

Free format text: ORIGINAL CODE: 0009210

AK Designated contracting states

Kind code of ref document: B1

Designated state(s): AT BE BG CH CY CZ DE DK EE ES FI FR GB GR HU IE IS IT LI LT LU LV MC NL PL PT RO SE SI SK TR

REG Reference to a national code

Ref country code: GB

Ref legal event code: FG4D

Free format text: NOT ENGLISH

REG Reference to a national code

Ref country code: CH

Ref legal event code: EP

REG Reference to a national code

Ref country code: IE

Ref legal event code: FG4D

Free format text: LANGUAGE OF EP DOCUMENT: GERMAN

REF Corresponds to:

Ref document number: 502005002629

Country of ref document: DE

Date of ref document: 20080313

Kind code of ref document: P

REG Reference to a national code

Ref country code: SE

Ref legal event code: TRGR

REG Reference to a national code

Ref country code: ES

Ref legal event code: FG2A

Ref document number: 2298944

Country of ref document: ES

Kind code of ref document: T3

REG Reference to a national code

Ref country code: PL

Ref legal event code: T3

NLV1 Nl: lapsed or annulled due to failure to fulfill the requirements of art. 29p and 29m of the patents act
PG25 Lapsed in a contracting state [announced via postgrant information from national office to epo]

Ref country code: IS

Free format text: LAPSE BECAUSE OF FAILURE TO SUBMIT A TRANSLATION OF THE DESCRIPTION OR TO PAY THE FEE WITHIN THE PRESCRIBED TIME-LIMIT

Effective date: 20080523

GBV Gb: ep patent (uk) treated as always having been void in accordance with gb section 77(7)/1977 [no translation filed]
ET Fr: translation filed
PG25 Lapsed in a contracting state [announced via postgrant information from national office to epo]

Ref country code: BG

Free format text: LAPSE BECAUSE OF FAILURE TO SUBMIT A TRANSLATION OF THE DESCRIPTION OR TO PAY THE FEE WITHIN THE PRESCRIBED TIME-LIMIT

Effective date: 20080423

PG25 Lapsed in a contracting state [announced via postgrant information from national office to epo]

Ref country code: SI

Free format text: LAPSE BECAUSE OF FAILURE TO SUBMIT A TRANSLATION OF THE DESCRIPTION OR TO PAY THE FEE WITHIN THE PRESCRIBED TIME-LIMIT

Effective date: 20080123

Ref country code: PT

Free format text: LAPSE BECAUSE OF FAILURE TO SUBMIT A TRANSLATION OF THE DESCRIPTION OR TO PAY THE FEE WITHIN THE PRESCRIBED TIME-LIMIT

Effective date: 20080623

Ref country code: LV

Free format text: LAPSE BECAUSE OF FAILURE TO SUBMIT A TRANSLATION OF THE DESCRIPTION OR TO PAY THE FEE WITHIN THE PRESCRIBED TIME-LIMIT

Effective date: 20080123

REG Reference to a national code

Ref country code: IE

Ref legal event code: FD4D

PG25 Lapsed in a contracting state [announced via postgrant information from national office to epo]

Ref country code: DK

Free format text: LAPSE BECAUSE OF FAILURE TO SUBMIT A TRANSLATION OF THE DESCRIPTION OR TO PAY THE FEE WITHIN THE PRESCRIBED TIME-LIMIT

Effective date: 20080123

Ref country code: IE

Free format text: LAPSE BECAUSE OF FAILURE TO SUBMIT A TRANSLATION OF THE DESCRIPTION OR TO PAY THE FEE WITHIN THE PRESCRIBED TIME-LIMIT

Effective date: 20080123

Ref country code: SK

Free format text: LAPSE BECAUSE OF FAILURE TO SUBMIT A TRANSLATION OF THE DESCRIPTION OR TO PAY THE FEE WITHIN THE PRESCRIBED TIME-LIMIT

Effective date: 20080123

Ref country code: NL

Free format text: LAPSE BECAUSE OF FAILURE TO SUBMIT A TRANSLATION OF THE DESCRIPTION OR TO PAY THE FEE WITHIN THE PRESCRIBED TIME-LIMIT

Effective date: 20080123

Ref country code: CZ

Free format text: LAPSE BECAUSE OF FAILURE TO SUBMIT A TRANSLATION OF THE DESCRIPTION OR TO PAY THE FEE WITHIN THE PRESCRIBED TIME-LIMIT

Effective date: 20080123

PLBI Opposition filed

Free format text: ORIGINAL CODE: 0009260

PLAX Notice of opposition and request to file observation + time limit sent

Free format text: ORIGINAL CODE: EPIDOSNOBS2

PG25 Lapsed in a contracting state [announced via postgrant information from national office to epo]

Ref country code: RO

Free format text: LAPSE BECAUSE OF FAILURE TO SUBMIT A TRANSLATION OF THE DESCRIPTION OR TO PAY THE FEE WITHIN THE PRESCRIBED TIME-LIMIT

Effective date: 20080123

26 Opposition filed

Opponent name: ANDRITZ KUESTERS GMBH

Effective date: 20081023

PG25 Lapsed in a contracting state [announced via postgrant information from national office to epo]

Ref country code: GB

Free format text: LAPSE BECAUSE OF FAILURE TO SUBMIT A TRANSLATION OF THE DESCRIPTION OR TO PAY THE FEE WITHIN THE PRESCRIBED TIME-LIMIT

Effective date: 20080123

PG25 Lapsed in a contracting state [announced via postgrant information from national office to epo]

Ref country code: LT

Free format text: LAPSE BECAUSE OF FAILURE TO SUBMIT A TRANSLATION OF THE DESCRIPTION OR TO PAY THE FEE WITHIN THE PRESCRIBED TIME-LIMIT

Effective date: 20080123

PG25 Lapsed in a contracting state [announced via postgrant information from national office to epo]

Ref country code: MC

Free format text: LAPSE BECAUSE OF NON-PAYMENT OF DUE FEES

Effective date: 20080831

PLAF Information modified related to communication of a notice of opposition and request to file observations + time limit

Free format text: ORIGINAL CODE: EPIDOSCOBS2

PG25 Lapsed in a contracting state [announced via postgrant information from national office to epo]

Ref country code: EE

Free format text: LAPSE BECAUSE OF FAILURE TO SUBMIT A TRANSLATION OF THE DESCRIPTION OR TO PAY THE FEE WITHIN THE PRESCRIBED TIME-LIMIT

Effective date: 20080123

PLBB Reply of patent proprietor to notice(s) of opposition received

Free format text: ORIGINAL CODE: EPIDOSNOBS3

PG25 Lapsed in a contracting state [announced via postgrant information from national office to epo]

Ref country code: BE

Free format text: LAPSE BECAUSE OF NON-PAYMENT OF DUE FEES

Effective date: 20080831

Ref country code: CY

Free format text: LAPSE BECAUSE OF FAILURE TO SUBMIT A TRANSLATION OF THE DESCRIPTION OR TO PAY THE FEE WITHIN THE PRESCRIBED TIME-LIMIT

Effective date: 20080123

PGFP Annual fee paid to national office [announced via postgrant information from national office to epo]

Ref country code: ES

Payment date: 20090821

Year of fee payment: 5

PGFP Annual fee paid to national office [announced via postgrant information from national office to epo]

Ref country code: AT

Payment date: 20090814

Year of fee payment: 5

REG Reference to a national code

Ref country code: CH

Ref legal event code: PL

PG25 Lapsed in a contracting state [announced via postgrant information from national office to epo]

Ref country code: CH

Free format text: LAPSE BECAUSE OF NON-PAYMENT OF DUE FEES

Effective date: 20090831

Ref country code: LI

Free format text: LAPSE BECAUSE OF NON-PAYMENT OF DUE FEES

Effective date: 20090831

PG25 Lapsed in a contracting state [announced via postgrant information from national office to epo]

Ref country code: LU

Free format text: LAPSE BECAUSE OF NON-PAYMENT OF DUE FEES

Effective date: 20080816

Ref country code: HU

Free format text: LAPSE BECAUSE OF FAILURE TO SUBMIT A TRANSLATION OF THE DESCRIPTION OR TO PAY THE FEE WITHIN THE PRESCRIBED TIME-LIMIT

Effective date: 20080724

PG25 Lapsed in a contracting state [announced via postgrant information from national office to epo]

Ref country code: TR

Free format text: LAPSE BECAUSE OF FAILURE TO SUBMIT A TRANSLATION OF THE DESCRIPTION OR TO PAY THE FEE WITHIN THE PRESCRIBED TIME-LIMIT

Effective date: 20080123

PG25 Lapsed in a contracting state [announced via postgrant information from national office to epo]

Ref country code: GR

Free format text: LAPSE BECAUSE OF FAILURE TO SUBMIT A TRANSLATION OF THE DESCRIPTION OR TO PAY THE FEE WITHIN THE PRESCRIBED TIME-LIMIT

Effective date: 20080424

PG25 Lapsed in a contracting state [announced via postgrant information from national office to epo]

Ref country code: AT

Free format text: LAPSE BECAUSE OF NON-PAYMENT OF DUE FEES

Effective date: 20100816

PUAH Patent maintained in amended form

Free format text: ORIGINAL CODE: 0009272

STAA Information on the status of an ep patent application or granted ep patent

Free format text: STATUS: PATENT MAINTAINED AS AMENDED

27A Patent maintained in amended form

Effective date: 20110914

AK Designated contracting states

Kind code of ref document: B2

Designated state(s): AT BE BG CH CY CZ DE DK EE ES FI FR GB GR HU IE IS IT LI LT LU LV MC NL PL PT RO SE SI SK TR

REG Reference to a national code

Ref country code: DE

Ref legal event code: R102

Ref document number: 502005002629

Country of ref document: DE

Effective date: 20110914

REG Reference to a national code

Ref country code: SE

Ref legal event code: RPEO

PGFP Annual fee paid to national office [announced via postgrant information from national office to epo]

Ref country code: FR

Payment date: 20110901

Year of fee payment: 7

Ref country code: SE

Payment date: 20110824

Year of fee payment: 7

Ref country code: PL

Payment date: 20110727

Year of fee payment: 7

REG Reference to a national code

Ref country code: PL

Ref legal event code: T5

PGFP Annual fee paid to national office [announced via postgrant information from national office to epo]

Ref country code: FI

Payment date: 20120813

Year of fee payment: 8

PGFP Annual fee paid to national office [announced via postgrant information from national office to epo]

Ref country code: DE

Payment date: 20120822

Year of fee payment: 8

Ref country code: IT

Payment date: 20120821

Year of fee payment: 8

REG Reference to a national code

Ref country code: SE

Ref legal event code: EUG

PG25 Lapsed in a contracting state [announced via postgrant information from national office to epo]

Ref country code: SE

Free format text: LAPSE BECAUSE OF NON-PAYMENT OF DUE FEES

Effective date: 20120817

Ref country code: ES

Free format text: LAPSE BECAUSE OF FAILURE TO SUBMIT A TRANSLATION OF THE DESCRIPTION OR TO PAY THE FEE WITHIN THE PRESCRIBED TIME-LIMIT

Effective date: 20080504

REG Reference to a national code

Ref country code: FR

Ref legal event code: ST

Effective date: 20130430

PG25 Lapsed in a contracting state [announced via postgrant information from national office to epo]

Ref country code: ES

Free format text: LAPSE BECAUSE OF FAILURE TO SUBMIT A TRANSLATION OF THE DESCRIPTION OR TO PAY THE FEE WITHIN THE PRESCRIBED TIME-LIMIT

Effective date: 20111225

PG25 Lapsed in a contracting state [announced via postgrant information from national office to epo]

Ref country code: FR

Free format text: LAPSE BECAUSE OF NON-PAYMENT OF DUE FEES

Effective date: 20120831

PG25 Lapsed in a contracting state [announced via postgrant information from national office to epo]

Ref country code: PL

Free format text: LAPSE BECAUSE OF NON-PAYMENT OF DUE FEES

Effective date: 20120816

REG Reference to a national code

Ref country code: PL

Ref legal event code: LAPE

PG25 Lapsed in a contracting state [announced via postgrant information from national office to epo]

Ref country code: FI

Free format text: LAPSE BECAUSE OF NON-PAYMENT OF DUE FEES

Effective date: 20130816

Ref country code: DE

Free format text: LAPSE BECAUSE OF NON-PAYMENT OF DUE FEES

Effective date: 20140301

REG Reference to a national code

Ref country code: DE

Ref legal event code: R119

Ref document number: 502005002629

Country of ref document: DE

Effective date: 20140301

PG25 Lapsed in a contracting state [announced via postgrant information from national office to epo]

Ref country code: IT

Free format text: LAPSE BECAUSE OF NON-PAYMENT OF DUE FEES

Effective date: 20130816

REG Reference to a national code

Ref country code: ES

Ref legal event code: FD2A

Effective date: 20150709

PG25 Lapsed in a contracting state [announced via postgrant information from national office to epo]

Ref country code: ES

Free format text: LAPSE BECAUSE OF FAILURE TO SUBMIT A TRANSLATION OF THE DESCRIPTION OR TO PAY THE FEE WITHIN THE PRESCRIBED TIME-LIMIT

Effective date: 20100817