EP1604053B1 - Auflösewalze für rotorspinnmaschinen - Google Patents
Auflösewalze für rotorspinnmaschinen Download PDFInfo
- Publication number
- EP1604053B1 EP1604053B1 EP04710356A EP04710356A EP1604053B1 EP 1604053 B1 EP1604053 B1 EP 1604053B1 EP 04710356 A EP04710356 A EP 04710356A EP 04710356 A EP04710356 A EP 04710356A EP 1604053 B1 EP1604053 B1 EP 1604053B1
- Authority
- EP
- European Patent Office
- Prior art keywords
- teeth
- tooth
- opening cylinder
- opening
- wire
- Prior art date
- Legal status (The legal status is an assumption and is not a legal conclusion. Google has not performed a legal analysis and makes no representation as to the accuracy of the status listed.)
- Expired - Lifetime
Links
- 238000007383 open-end spinning Methods 0.000 title claims description 6
- 230000001154 acute effect Effects 0.000 claims description 6
- 239000000463 material Substances 0.000 claims description 2
- 238000007493 shaping process Methods 0.000 claims 1
- 238000009966 trimming Methods 0.000 claims 1
- 239000000835 fiber Substances 0.000 description 43
- 238000009987 spinning Methods 0.000 description 10
- 238000011109 contamination Methods 0.000 description 3
- 230000000694 effects Effects 0.000 description 3
- 239000002657 fibrous material Substances 0.000 description 3
- 230000015572 biosynthetic process Effects 0.000 description 2
- 239000000428 dust Substances 0.000 description 2
- 238000004804 winding Methods 0.000 description 2
- 238000005299 abrasion Methods 0.000 description 1
- 230000001133 acceleration Effects 0.000 description 1
- 230000002411 adverse Effects 0.000 description 1
- 238000005352 clarification Methods 0.000 description 1
- 230000001419 dependent effect Effects 0.000 description 1
- 238000010586 diagram Methods 0.000 description 1
- 238000004090 dissolution Methods 0.000 description 1
- 238000005516 engineering process Methods 0.000 description 1
- 230000009760 functional impairment Effects 0.000 description 1
- 230000003993 interaction Effects 0.000 description 1
- 239000002245 particle Substances 0.000 description 1
- 238000004080 punching Methods 0.000 description 1
- 238000000926 separation method Methods 0.000 description 1
- 230000003746 surface roughness Effects 0.000 description 1
Images
Classifications
-
- D—TEXTILES; PAPER
- D01—NATURAL OR MAN-MADE THREADS OR FIBRES; SPINNING
- D01H—SPINNING OR TWISTING
- D01H4/00—Open-end spinning machines or arrangements for imparting twist to independently moving fibres separated from slivers; Piecing arrangements therefor; Covering endless core threads with fibres by open-end spinning techniques
- D01H4/30—Arrangements for separating slivers into fibres; Orienting or straightening fibres, e.g. using guide-rolls
- D01H4/32—Arrangements for separating slivers into fibres; Orienting or straightening fibres, e.g. using guide-rolls using opening rollers
Definitions
- the invention relates to an opening roller for rotor spinning machines according to the preamble of claim 1 and a sawtooth wire according to the preamble of claim 7.
- opening rollers serve to dissolve a presented sliver in individual fibers.
- the individual fibers are then fed from the opening roller through a fiber guide channel to the spinning rotor of the rotor spinning machine and spun into a thread.
- the DE 41 24 714 A1 describes that a fiber stretching takes place as long as the fibers of the sliver presented are still held by the feed roller.
- the single fiber is released from the fiber tuft by the opening roller, accelerated and transported further.
- the tooth flanks should not be too smooth, but have a certain roughness. In the release zone of the opening roller, however, this roughness is undesirable and hinders the detachment of the fibers from the opening roller.
- To overcome this disadvantage and to improve the entrainment and detachment of the individual fibers has in the DE 41 24 714 A1 described opening roller openings, through which is sucked in the dissolving air and blown air in the separation area.
- These opening rollers with air-assisted function are structurally complex and expensive. Because of the debris always present in the area of the opening roller, such as, for example, dust particles and fiber parts, there is a high risk of contamination of the openings and the associated functional impairment.
- the DE 195 09 743 A1 shows an opening roller, in which the entrainment of the individual fibers is to be improved by the teeth of the opening roller, characterized in that the surface of the tooth flanks is increased by certain formation of the tooth back.
- the larger surface is intended to increase the friction between the tooth flanks and the fibers, thus improving the entrainment of the fibers from the tooth flanks.
- the detachment of the taken after combing fibers from the clothing is not hindered by the stronger inclination of the tooth back. It should be achieved in this way a good compromise between the spinning technology desired effects of combing, take away and detachment of the fibers.
- a whip roll according to the preamble of claim 1 is characterized by US-A-5 555 714 disclosed.
- the object is achieved with an opening roller with the features of claim 1 and with a sawtooth wire with the features of claim 7.
- angle ⁇ was apparently attributed no importance.
- the angle ⁇ is usually about 0.5 ° in the case of a spiral-running row of teeth.
- the small change of the angle ⁇ according to the invention leads to a surprisingly significant improvement in the function of the opening roller.
- the inventive design of the opening roller causes an improvement in the entrainment of the fibers at the Auskmmstelle, without this leads to a poorer detachment of the individual fibers from the opening roller in the region of the mouth of the Faserleitkanals as in a same purpose serving increase the roughness.
- the tooth flanks may be made smoother than the surface roughness of the prior art, whereby the individual fibers are easier to release from the opening roller, without the entrainment of the fibers is insufficient at the Ausurammstelle.
- a smoother surface of the tooth flanks advantageously counteracts fiber damage and a high occurrence of dust and fiber parts in the area of the spinning rotor.
- An embodiment according to claim 3 results in a dense distribution of the teeth on the circumference of the fitting ring, whereby a sufficiently large number of tooth operations in the submitted fiber material and thus the required dissolution effect is ensured.
- the teeth are subject to heavy wear during the spinning operation, which reduces their effect when combing out the sliver presented.
- the toothed set In order to maintain the required yarn quality, the toothed set must be replaced.
- the replacement can be made very quickly and easily.
- the teeth wear only the sawtooth wire needs to be replaced.
- the value of the angle K can be reached or increased in order to achieve a value according to the invention without the direction of the rows formed by the teeth having to be changed.
- Producing the angular position of the advancing tooth flank of the teeth can advantageously take place together with the punching out of the tooth form by deformation or by material removal.
- an opening roller according to the invention at a spinning position causes improved entrainment and detachment of the individual fibers and a reduction of contamination and leads to an increase in the quality of the yarn which is produced at this spinning station.
- Opening device 1 shown comprises a rotating in a housing 2 in the direction of arrow 3 opening roller 4.
- a feed device 5 is arranged, by means of the opening rollers 4, a sliver 6 is fed.
- the feed device 5 comprises a feed roller 8 which rotates very slowly in the direction of the arrow 7 relative to the opening roller 4 and which cooperates with a feed table 29 and together with the latter forms a clamping point 9 for the sliver 6.
- the feed roller 8 rotates continuously and feeds the fibers of the sliver 6 to the opening roller 4.
- the opening roller 4 has a plurality of outwardly directed teeth 10 on the circumference. This can be generated, for example, by winding a sawtooth wire on the base body 36 of the opening roller 4.
- the fiber material of the sliver 6 reaches the effective region of the teeth 10, a so-called fiber tuft 19 is formed, in which the fiber material is combed or its fibers are parallelized.
- the feed roller 8 and the resulting further transport of the sliver 6 are constantly released individual fibers from the nip 9 and detected by the teeth 10 of the opening roller 4.
- the individual fibers are carried by the opening roller 4 into the mouth region 11 of the fiber guide channel 12.
- the individual fibers are released by the interaction of centrifugal force and a suction force applied by the fiber guide 12 of the opening roller 4 and transported through the fiber guide 12 in the spinning rotor 13.
- the suction force is created by negative pressure, which is generated in the region of the spinning rotor 13 by means of a vacuum source, not shown.
- the fibers are withdrawn through a fiber take-off tube 14 as a finished yarn 15.
- opening rollers at spinning stations of rotor spinning machines are, for example, the DE 41 24 714 A1 or the DE 195 09 743 A1 removable.
- FIG. 2 shows a fitting ring 16 which is laterally bordered by annular collars 17, 18 and having a plurality of teeth 10 on its periphery.
- the direction of rotation of the fitting ring 16 is indicated by the directional arrow 27.
- the teeth 10 are arranged in rows 20, which rotate around the circumference of the fitting ring 16.
- the rows 20 of the teeth 10 are shown only in sections for reasons of simplification.
- the teeth 10 of the rows 20 are each formed symmetrically to a plane of symmetry along the center line 21. Further rows are represented by dash-dotted sections of centerlines 21. Centerlines 21 adjacent, formed by the teeth 10 rows 20, have a distance D to each other, which is 2 mm.
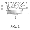
- the shape of the teeth 10 is in FIG. 3 shown.
- the essential surfaces of the teeth 10 are tooth face 22, tooth back 23 and tooth flanks 24, 25, wherein in the illustration of FIG. 3 only one of the two tooth flanks 24, 25, namely the tooth flank 25 is visible.
- the surface of the tooth face 22 extends transversely to the center line 21.
- the direction of rotation in which the teeth 10 move is indicated by the directional arrow 26. Due to the contact with the tooth flank 25, the in FIG. 3 exemplified individual fibers 28 taken from the teeth 10 and accelerated.
- the tooth flanks 24 and 25 are parallel to each other and parallel to the center line 21 of the row 20.
- the tooth flanks 24 and 25 and the center line 21 of the row 20 form with the indicated by the directional arrow 27 direction of rotation of the opening roller 4 an acute angle ⁇ , in FIG. 2 with 1.7 ° is executed. Due to the oblique position at the angle ⁇ to the direction of rotation, the tooth flank 25 of the tooth flank 24 leads in each case slightly offset in advance.
- the inventive alignment of the teeth 10 at an angle ⁇ improves the detachment of the individual fibers 28 from the tuft 19, the acceleration and transport of the individual fibers 28 through the clothing ring 16 of the opening roller 4 to the mouth region 11 of the fiber guide 12.
- the detachment of the individual fibers 28 of the teeth 10 of the fitting ring 16 is not hindered.
- FIG. 4 shows a portion of a wound on the opening roller 4 sawtooth wire 30.
- the sawtooth wire 30 is wound in such a way that the running in its longitudinal direction of the center line 31 with the rotational direction of the teeth 32 forms an acute angle ⁇ .
- the direction of rotation is indicated by the directional arrow 33.
- the design and the arrangement of the teeth 32 is such that their leading tooth flanks 34 form an angle ⁇ with the center line 31 extending in the longitudinal direction of the sawtooth wire 30 and the angle ⁇ with the direction of rotation of the teeth 32.
- FIG. 4 has been omitted in favor of a better clarification of the angular positions on a scale representation.
- the subject invention is not limited to the embodiment shown in the figures.
- the tooth form may alternatively be formed.
Landscapes
- Engineering & Computer Science (AREA)
- Mechanical Engineering (AREA)
- Textile Engineering (AREA)
- Spinning Or Twisting Of Yarns (AREA)
- Preliminary Treatment Of Fibers (AREA)
Description
- Die Erfindung betrifft eine Auflösewalze für Rotorspinnmaschinen nach dem Oberbegriff des Anspruchs 1 sowie einen Sägezahndraht nach dem Oberbegriff des Anspruchs 7.
- Derartige Auflösewalzen dienen dazu, ein vorgelegtes Faserband in Einzelfasern aufzulösen. Die Einzelfasern werden anschließend von der Auflösewalze durch einen Faserleitkanal dem Spinnrotor der Rotorspinnmaschine zugeführt und zu einem Faden gesponnen. Für die Funktion der mit hoher Drehzahl rotierenden Auflösewalze ist es wichtig, daß die Mitnahme der Einzelfasern durch die Auflösewalze in ausreichendem Maße erfolgt und das Ablösen der Einzelfasern von der Auflösewalze, das infolge der Zentrifugalkraft und des an der Mündung des Faserleitkanals herrschenden Unterdrucks bewirkt wird, nicht behindert ist.
- Die
DE 41 24 714 A1 beschreibt, daß eine Faserstreckung stattfindet, solange die Fasern des vorgelegten Faserbandes noch von der Einzugswalze festgehalten werden. Die Einzelfaser wird von der Auflösewalze aus dem Faserbart gelöst, beschleunigt und weitertransportiert. Um die Mitnahme zu fördern, sollen die Zahnflanken nicht zu glatt sein, sondern eine gewisse Rauhigkeit aufweisen. In der Ablösezone der Auflösewalze ist jedoch diese Rauhigkeit unerwünscht und behindert das Ablösen der Fasern von der Auflösewalze. Zur Überwindung dieses Nachteils und zur Verbesserung der Mitnahme und des Ablösens der Einzelfasern weist die in derDE 41 24 714 A1 beschriebene Auflösewalze Öffnungen auf, durch die im Auflösebereich Luft angesogen und im Ablösebereich Luft ausgeblasen wird. Diese Auflösewalzen mit luftunterstützter Funktion sind baulich aufwendig und kostspielig. Wegen der im Bereich der Auflösewalze stets vorhandenen Schmutzteile, wie zum Beispiel Flugstaub und Faserteile, besteht eine hohe Gefahr der Verschmutzung der Öffnungen und damit verbundener Funktionsbeeinträchtigung. - Die
DE 195 09 743 A1 zeigt eine Auflösewalze, bei der die Mitnahme der Einzelfasern durch die Zähne der Auflösewalze dadurch verbessert werden soll, daß durch bestimmte Ausbildung des Zahnrückens die Fläche der Zahnflanken vergrößert wird. Durch die größere Fläche soll die Reibung zwischen Zahnflanken und Fasern verstärkt und somit eine Mitnahme der Fasern von den Zahnflanken verbessert werden. Das Ablösen der nach dem Auskämmen mitgenommenen Fasern aus der Garnitur werde durch die stärkere Neigung des Zahnrückens nicht behindert. Es soll auf diese Weise ein guter Kompromiß zwischen den spinntechnisch erwünschten Wirkungen des Auskämmens, Mitnehmens und Ablösens der Fasern erreicht worden sein. - Rauhigkeit, insbesondere hohe Rauhigkeit, der Zahnflanken der Zähne, wie sie in der
DE 41 24 714 A1 und derDE 195 09 743 A1 angesprochen wird, führt zu nachteiligen Faserschädigungen und zu erhöhter Verschmutzungsgefahr durch den Faserabrieb. Das Ablösen der Fasern wird durch die Rauhigkeit in unerwünschte Ausmaß behindert. - Eine Auflüsewalze gemäß den Oberbegriff des Anspruchs 1 wird durch
US-A-5 555 714 offenbart. - Es ist Aufgabe der Erfindung, die Funktion der Auflösewalze zu verbessern.
- Die Aufgabe wird mit einer Auflösewalze mit den Merkmalen des Anspruchs 1 sowie mit einem Sägezahndraht mit den Merkmalen des Anspruchs 7 gelöst.
- Vorteilhafte Ausgestaltungen der Erfindung sind Gegenstand der Unteransprüche.
- Während, wie beispielsweise aus der
DE 195 09 743 A1 ersichtlich, eine Vielzahl von Winkeln bei der Ausbildung der Zahnform optimiert wird, wurde dem Winkel κ offenbar keine Bedeutung beigemessen. Üblicherweise beträgt der Winkel κ bei einer spiralförmig verlaufenden Zahnreihe etwa 0,5°. Die geringe erfindungsgemäße Veränderung des Winkels κ führt zu einer überraschend deutlichen Verbesserung der Funktion der Auflösewalze. - Die erfindungsgemäße Ausbildung der Auflösewalze bewirkt eine Verbesserung der Mitnahme der Fasern an der Auskämmstelle, ohne daß diese wie bei einer dem gleichen Ziel dienenden Erhöhung der Rauhigkeit zu einem schlechteren Ablösen der Einzelfasern von der Auflösewalze im Bereich der Mündung des Faserleitkanals führt. Die Zahnflanken können glatter gegenüber der Oberflächenrauhigkeit nach dem bekannten Stand der Technik ausgebildet sein, wodurch sich die Einzelfasern leichter von der Auflösewalze lösen, ohne daß die Mitnahme der Fasern an der Auskämmstelle unzureichend wird. Eine glattere Oberfläche der Zahnflanken wirkt vorteilhaft einer Faserschädigung und einem starken Auftreten von Staub und Faserteilen im Bereich des Spinnrotors entgegen.
- Eine Ausbildung nach Anspruch 3 führt zu einer dichten Verteilung der Zähne auf dem Umfang des Garniturrings, wodurch eine ausreichend große Zahl von Zahneingriffen in das vorgelegte Fasermaterial und damit die erforderliche Auflösewirkung sichergestellt ist.
- Die Zähne unterliegen während des Spinnbetriebs starkem Verschleiß, der ihre Wirkung beim Auskämmen des vorgelegten Faserbandes mindert. Um die erforderliche Garnqualität beibehalten zu können, muß die Zahngarnitur ausgewechselt werden. Bei Verwendung eines einstückigen Garniturringes gemäß. Anspruch 5 läßt sich die Auswechslung besonders schnell und einfach vornehmen. Bei einer Ausbildung gemäß Anspruch 6 braucht bei Verschleiß der Zähne lediglich der Sägezahndraht ausgetauscht zu werden.
- Mit einer Ausbildung nach Anspruch 4 oder Anspruch 7 kann der Wert des Winkels K erreicht oder vergrößert werden, um einen erfindungsgemäßen Wert zu erreichen, ohne daß die Richtung der von den Zähnen gebildeten Reihen verändert werden muß. Ein Herstellen der Winkelstellung der vorauseilenden Zahnflanke des Zähne kann vorteilhaft zusammen mit dem Ausstanzen der Zahnform durch Verformung oder durch Materialabtragung erfolgen.
- Der Einsatz einer erfindungsgemäßen Auflösewalze an einer Spinnstelle bewirkt eine verbesserte Mitnahme und Ablösung der Einzelfasern sowie eine Verminderung der Verschmutzung und führt zu einer Steigerung der Qualität des Garns, das an dieser Spinnstelle hergestellt wird.
- Die Erfindung wird anhand eines in den Figuren dargestellten Ausführungsbeispiels erläutert.
- Es zeigen:
- Fig. 1
- eine vereinfachte Prinzipdarstellung einer Rotorspinnvorrichtung, teilweise im Schnitt,
- Fig. 2
- eine vergrößerte schematische Darstellung eines mit Zähnen bestückten Garniturringes in Teilansicht,
- Fig. 3
- eine Seitenansicht A eines Abschnitts einer Zahnreihe der
Figur 2 , teilweise im Schnitt, - Fig. 4
- eine vereinfachte Darstellung eines Abschnittes eines Sägezahndrahtes in Draufsicht.
- Die in
Figur 1 gezeigte Auflöseeinrichtung 1 umfaßt eine in einem Gehäuse 2 in Richtung des Pfeils 3 rotierende Auflösewalze 4. Vor der Auflöseeinrichtung 1 ist eine Speiseeinrichtung 5 angeordnet, mittels der der Auflösewalzen 4 ein Faserband 6 zugeführt wird. Die Speiseeinrichtung 5 umfaßt eine in Richtung des Pfeils 7 gegenüber der Auflösewalze 4 sehr langsam rotierende Speisewalze 8, die mit einem Speisetisch 29 zusammenwirkt und gemeinsam mit diesem eine Klemmstelle 9 für das Faserband 6 bildet. Die Speisewalze 8 rotiert kontinuierlich und führt die Fasern des Faserbandes 6 der Auflösewalze 4 zu. Die Auflösewalze 4 weist auf dem Umfang eine Vielzahl von nach außen gerichteten Zähnen 10 auf. Dies kann beispielsweise durch Aufwickeln eines Sägezahndrahtes auf den Grundkörper 36 der Auflösewalze 4 erzeugt werden. Gelangt das Fasermaterial des Faserbandes 6 in den Wirkbereich der Zähne 10, bildet sich ein sogenannter Faserbart 19, in dem das Fasermaterial gekämmt beziehungsweise dessen Fasern parallelisiert werden. Durch die kontinuierliche Drehbewegung der Speisewalze 8 und den damit bewirkten Weitertransport des Faserbandes 6 werden ständig Einzelfasern aus der Klemmstelle 9 freigegeben und von den Zähnen 10 der Auflösewalze 4 erfaßt. Die Einzelfasern werden von der Auflösewalze 4 bis in den Mündungsbereich 11 des Faserleitkanals 12 mitgeführt. - Im Mündungsbereich 11 werden die Einzelfasern durch das Zusammenwirken von Zentrifugalkraft und einer durch den Faserleitkanal 12 aufgebrachten Saugkraft von der Auflösewalze 4 gelöst und durch den Faserleitkanal 12 in den Spinnrotor 13 transportiert. Die Saugkraft entsteht durch Unterdruck, der im Bereich des Spinnrotors 13 mittels einer nicht dargestellten Unterdruckquelle erzeugt wird. Aus dem Spinnrotor 13 werden die Fasern durch ein Faserabzugsröhrchen 14 als fertiges Garn 15 abgezogen.
- Weitere Einzelheiten von Auflösewalzen an Spinnstellen von Rotorspinnmaschinen sind zum Beispiel der
DE 41 24 714 A1 oder derDE 195 09 743 A1 entnehmbar. -
Figur 2 zeigt einen Garniturring 16, der seitlich von Ringbunden 17, 18 eingefaßt ist und auf seinem Umfang eine Vielzahl von Zähnen 10 aufweist. Die Rotationsrichtung des Garniturrings 16 ist durch den Richtungspfeil 27 angedeutet. Die Zähne 10 sind in Reihen 20 angeordnet, die um den Umfang des Garniturrings 16 umlaufen. Die Reihen 20 der Zähne 10 sind aus Vereinfachungsgründen nur abschnittsweise dargestellt. Die Zähne 10 der Reihen 20 sind jeweils symmetrisch zu einer Symmetrieebene längs der Mittellinie 21 ausgebildet. Weitere Reihen sind durch strichpunktiert dargestellte Abschnitte von Mittellinien 21 repräsentiert. Mittellinien 21 benachbarter, von den Zähnen 10 gebildeter Reihen 20, weisen einen Abstand D zueinander auf, der 2 mm beträgt. - Die Form der Zähne 10 ist in
Figur 3 dargestellt. Die wesentlichen Flächen der Zähne 10 sind Zahnbrust 22, Zahnrücken 23 und Zahnflanken 24, 25, wobei in der Darstellung derFigur 3 nur jeweils eine der beiden Zahnflanken 24, 25, nämlich die Zahnflanke 25 sichtbar ist. Die Fläche der Zahnbrust 22 verläuft quer zur Mittellinie 21. Die Rotationsrichtung, in der sich die Zähne 10 bewegen, ist durch den Richtungspfeil 26 angezeigt. Durch den Kontakt mit der Zahnflanke 25 werden die inFigur 3 beispielhaft dargestellten Einzelfasern 28 von den Zähnen 10 mitgenommen und beschleunigt. - In der Darstellung der
Figur 2 sind die Zahnflanken 24 und 25 parallel zueinander und parallel zur Mittellinie 21 der Reihe 20. Die Zahnflanken 24 und 25 sowie die Mittellinie 21 der Reihe 20 bilden mit der durch den Richtungspfeil 27 angezeigten Rotationsrichtung der Auflösewalze 4 einen spitzen Winkel κ, der inFigur 2 mit 1,7° ausgeführt ist. Durch die Schrägstellung unter dem Winkel κ zur Rotationsrichtung eilt die Zahnflanke 25 der Zahnflanke 24 jeweils etwas versetzt voraus. - Die erfindungsgemäße Ausrichtung der, Zähne 10 im Winkel κ verbessert das Herauslösen der Einzelfasern 28 aus dem Faserbart 19, das Beschleunigen und den Transport der Einzelfasern 28 durch den Garniturring 16 der Auflösewalze 4 bis zum Mündungsbereich 11 des Faserleitkanals 12. Das Ablösen der Einzelfasern 28 von den Zähnen 10 des Garniturrings 16 wird nicht behindert.
-
Figur 4 zeigt einen Abschnitt eines auf die Auflösewalze 4 aufgewickelten Sägezahndrahtes 30. Der Sägezahndraht 30 ist derart aufgewickelt, daß die in seiner Längsrichtung verlaufende Mittellinie 31 mit der Rotationsrichtung der Zähne 32 einen spitzen Winkel ε bildet. Die Rotationsrichtung ist durch den Richtungspfeil 33 angezeigt. Die Ausführung sowie die Anordung der Zähne 32 ist derart, daß ihre voreilenden Zahnflanken 34 mit der in Längsrichtung des Sägezahndrahtes 30 verlaufenden Mittellinie 31 einen Winkel λ und mit der Rotationsrichtung der Zähne 32 den Winkel κ bilden. Zu der durch das Aufwickeln auf die Auflösewalze 4 gewählten Ausrichtung der in Reihen 35 angeordneten Zähne 32 kommt eine Winkelstellung der Zahnflanke 34 zur Längsrichtung des Sägezahndrahtes 30 hinzu. Dabei gilt - Bei
Figur 4 ist zu Gunsten einer besseren Verdeutlichung der Winkelstellungen auf eine maßstabsgerechte Darstellung verzichtet worden. - Der Erfindungsgegenstand ist nicht auf das in den Figuren dargestellte Ausführungsbeispiel beschränkt. Insbesondere kann die Zahnform alternativ ausgebildet sein.
Claims (9)
- Auflösewalze für Rotorspinnmaschinen, die auf ihrem Umfang eine Vielzahl von in Reihe stetig spiralförmig verlaufend angeordneten Zähnen (10) aufweist, die so ausgerichtet sind, daß deren vorauseilende Zahnflanken (24, 25) jeweils in Rotationsrichtung mit einem durch die Umlaufbahn des Zahnes beschriebenen Kreis der Auflösewalze einen spitzen Winkel bilden,
dadurch gekennzeichnet,
daß der spitze Winkel κ mindestens 1° und höchstens 2,5° zur Rotationsrichtung der Auflösewalze (4) beträgt. - Auflösewalze nach Anspruch 1, dadurch gekennzeichnet, daß der Winkel κ mindestens 1,5° und höchstens 2° beträgt.
- Auflösewalze nach einem der Ansprüche 1 bis 2, dadurch gekennzeichnet, daß die Zähne (10) so in Reihen (20) angeordnet sind, daß ein konstanter Abstand D, der zwischen 1 mm und 2 mm beträgt, zwischen den Zähnen (10) benachbarter Reihen (20) bei gleichbleibender Winkelstellung der Zahnflanken (24, 25) gebildet wird und die Winkelstellung der Zähne (10) mit der Richtung der Reihen (20) übereinstimmt.
- Auflösewalze nach Anspruch 1 oder 2, dadurch gekennzeichnet, daß die Auflösewalze (4) so ausgebildet ist, daß die vorauseilenden Zahnflanken (34) ihrer Zähne (32) jeweils einen spitzen Winkel λ mit der Richtung der Reihen (35) der Zähne (32) bilden.
- Auflösewalze nach einem der Ansprüche 1 bis 4, dadurch gekennzeichnet, daß die Zähne (32) Teil eines einstückigen Garniturringes (16) sind.
- Auflösewalze nach einem der Ansprüche 1 bis 4, dadurch gekennzeichnet, daß die Zähe (32) Teil eines Sägezahndrahtes (30) sind, der auf den Grundkörper der Auflösewalze (4) aufgebracht ist.
- Sägezahndraht für Auflösewalzen gemäß Anspruch 6, dadurch gekennzeichnet, daß eine Zahnflanke (34) der Zähne (32) des Sägezahndrahtes (30) jeweils einen spitzen Winkel λ von mindestens 0,5° und höchstens 2,5° mit der Längsrichtung des Sägezahndrahtes (30) bildet.
- Sägezahndraht nach Anspruch 7, dadurch gekennzeichnet, daß die Winkelstellung der Zahnflanke (34) des Zahnes (32) durch Verformung des Sägezahndrahtes (30) hergestellt ist.
- Sägezahndraht nach Anspruch 7, dadurch gekennzeichnet, daß die Winkelstellung der Zahnflanke (34) des Zahnes (32) durch Materialabtragung hergestellt ist.
Applications Claiming Priority (5)
| Application Number | Priority Date | Filing Date | Title |
|---|---|---|---|
| DE10309926 | 2003-03-07 | ||
| DE10309926 | 2003-03-07 | ||
| DE10335275 | 2003-08-01 | ||
| DE10335275A DE10335275B4 (de) | 2003-03-07 | 2003-08-01 | Auflösewalze für Rotorspinnmaschinen |
| PCT/EP2004/001298 WO2004079063A1 (de) | 2003-03-07 | 2004-02-12 | Auflösewalze für rotorspinnmaschinen |
Publications (2)
| Publication Number | Publication Date |
|---|---|
| EP1604053A1 EP1604053A1 (de) | 2005-12-14 |
| EP1604053B1 true EP1604053B1 (de) | 2010-06-09 |
Family
ID=32963514
Family Applications (1)
| Application Number | Title | Priority Date | Filing Date |
|---|---|---|---|
| EP04710356A Expired - Lifetime EP1604053B1 (de) | 2003-03-07 | 2004-02-12 | Auflösewalze für rotorspinnmaschinen |
Country Status (3)
| Country | Link |
|---|---|
| EP (1) | EP1604053B1 (de) |
| BR (1) | BRPI0406478A (de) |
| WO (1) | WO2004079063A1 (de) |
Families Citing this family (1)
| Publication number | Priority date | Publication date | Assignee | Title |
|---|---|---|---|---|
| DE102016117614A1 (de) | 2016-09-19 | 2018-03-22 | Saurer Germany Gmbh & Co. Kg | Rotorspinnvorrichtung |
Family Cites Families (3)
| Publication number | Priority date | Publication date | Assignee | Title |
|---|---|---|---|---|
| EP0013169B1 (de) * | 1978-12-26 | 1984-07-04 | Kabushiki Kaisha Toyoda Jidoshokki Seisakusho | Verbesserung an der Auflösewalze für eine Offenend-Spinnmaschine |
| CZ279649B6 (cs) * | 1993-06-03 | 1995-05-17 | Rieter Elitex A.S. | Vyčesávací váleček ojednocovacího ústrojí bezvřetenového dopřádacího stroje a způsob jeho výroby |
| DE10209008A1 (de) * | 2002-02-26 | 2003-09-04 | Stahlecker Gmbh Wilhelm | Garniturträger für eine Auflösewalze |
-
2004
- 2004-02-12 WO PCT/EP2004/001298 patent/WO2004079063A1/de not_active Ceased
- 2004-02-12 EP EP04710356A patent/EP1604053B1/de not_active Expired - Lifetime
- 2004-02-12 BR BR0406478-0A patent/BRPI0406478A/pt not_active IP Right Cessation
Also Published As
| Publication number | Publication date |
|---|---|
| EP1604053A1 (de) | 2005-12-14 |
| BRPI0406478A (pt) | 2005-12-06 |
| WO2004079063A1 (de) | 2004-09-16 |
Similar Documents
| Publication | Publication Date | Title |
|---|---|---|
| EP0310890A1 (de) | Verfahren und Vorrichtung zum kontinuierlichen Kräuseln von thermoplastischen Fäden | |
| DE3402566A1 (de) | Vorrichtung zum oe-friktionsspinnen | |
| DE19903113A1 (de) | Vorrichtung zum Verdichten eines verstreckten Faserverbandes | |
| EP1604053B1 (de) | Auflösewalze für rotorspinnmaschinen | |
| DE3501876C3 (de) | Garnitur einer Auflösewalze | |
| DE19509743A1 (de) | Garnitur für eine Auflösewalze | |
| DE10335275B4 (de) | Auflösewalze für Rotorspinnmaschinen | |
| EP4273310A2 (de) | Ringspinnmaschine und verfahren zur herstellung eines core-garns | |
| DE4323364A1 (de) | Auflösewalze für eine OE-Spinnvorrichtung | |
| DE3300636A1 (de) | Oe-friktionsspinnvorrichtung | |
| EP0770571A2 (de) | Vorrichtung zum vorübergehenden Führen aufeinanderfolgender Bogen | |
| EP3577261B1 (de) | Kreiskamm mit kämmsegment und ausrichtsegment | |
| DE19608828A1 (de) | Vorrichtung zum Auflösen von Fasermaterial zu Einzelfasern | |
| DE2127050A1 (en) | Adjustable feed for an open-end spinner- to separate staple fibres fr | |
| EP1386986B1 (de) | Vorrichtung zur Abnahme eines Faservlieses von einer Karde, mit einer Absaugwalze | |
| EP0726340A1 (de) | Faserbandzuführvorrichtung für OE-Spinnmaschinen | |
| EP3693498B1 (de) | Deckelgarnitur für einen wanderdeckel einer karde | |
| EP1682703A1 (de) | Speisemulde für eine faserbandauflöseeinrichtung einer offenend-spinnvorrichtung | |
| DE10249905A1 (de) | Garniturring für eine Auflösewalze einer Offenend-Spinnvorrichtung | |
| DE10224188A1 (de) | Auflösewalzeneinheit eines Offenend-Spinnaggregats | |
| DE10142488A1 (de) | Auflöseeinrichtung für eine Offenend-Spinnvorrichtung | |
| EP3889327B1 (de) | Arbeitsstelle einer luftspinnmaschine | |
| DE19917181B4 (de) | Spinnmaschine mit Verdichtungseinrichtung | |
| EP3336227A1 (de) | Auflösewalze für eine rotorspinnmaschine | |
| DE10209008A1 (de) | Garniturträger für eine Auflösewalze |
Legal Events
| Date | Code | Title | Description |
|---|---|---|---|
| PUAI | Public reference made under article 153(3) epc to a published international application that has entered the european phase |
Free format text: ORIGINAL CODE: 0009012 |
|
| 17P | Request for examination filed |
Effective date: 20051007 |
|
| AK | Designated contracting states |
Kind code of ref document: A1 Designated state(s): AT BE BG CH CY CZ DE DK EE ES FI FR GB GR HU IE IT LI LU MC NL PT RO SE SI SK TR |
|
| AX | Request for extension of the european patent |
Extension state: AL LT LV MK |
|
| DAX | Request for extension of the european patent (deleted) | ||
| RBV | Designated contracting states (corrected) |
Designated state(s): CH CZ IT LI TR |
|
| REG | Reference to a national code |
Ref country code: DE Ref legal event code: 8566 |
|
| RAP1 | Party data changed (applicant data changed or rights of an application transferred) |
Owner name: OERLIKON TEXTILE GMBH & CO. KG |
|
| RAP1 | Party data changed (applicant data changed or rights of an application transferred) |
Owner name: OERLIKON TEXTILE GMBH & CO. KG |
|
| GRAP | Despatch of communication of intention to grant a patent |
Free format text: ORIGINAL CODE: EPIDOSNIGR1 |
|
| GRAS | Grant fee paid |
Free format text: ORIGINAL CODE: EPIDOSNIGR3 |
|
| GRAA | (expected) grant |
Free format text: ORIGINAL CODE: 0009210 |
|
| AK | Designated contracting states |
Kind code of ref document: B1 Designated state(s): CH CZ IT LI TR |
|
| REG | Reference to a national code |
Ref country code: CH Ref legal event code: EP |
|
| PLBE | No opposition filed within time limit |
Free format text: ORIGINAL CODE: 0009261 |
|
| STAA | Information on the status of an ep patent application or granted ep patent |
Free format text: STATUS: NO OPPOSITION FILED WITHIN TIME LIMIT |
|
| 26N | No opposition filed |
Effective date: 20110310 |
|
| PGFP | Annual fee paid to national office [announced via postgrant information from national office to epo] |
Ref country code: CH Payment date: 20110225 Year of fee payment: 8 |
|
| REG | Reference to a national code |
Ref country code: CH Ref legal event code: PL |
|
| PG25 | Lapsed in a contracting state [announced via postgrant information from national office to epo] |
Ref country code: CH Free format text: LAPSE BECAUSE OF NON-PAYMENT OF DUE FEES Effective date: 20120229 Ref country code: LI Free format text: LAPSE BECAUSE OF NON-PAYMENT OF DUE FEES Effective date: 20120229 |
|
| PGFP | Annual fee paid to national office [announced via postgrant information from national office to epo] |
Ref country code: CZ Payment date: 20210125 Year of fee payment: 18 Ref country code: IT Payment date: 20210226 Year of fee payment: 18 |
|
| PGFP | Annual fee paid to national office [announced via postgrant information from national office to epo] |
Ref country code: TR Payment date: 20210210 Year of fee payment: 18 |
|
| PG25 | Lapsed in a contracting state [announced via postgrant information from national office to epo] |
Ref country code: CZ Free format text: LAPSE BECAUSE OF NON-PAYMENT OF DUE FEES Effective date: 20220212 |
|
| PG25 | Lapsed in a contracting state [announced via postgrant information from national office to epo] |
Ref country code: IT Free format text: LAPSE BECAUSE OF NON-PAYMENT OF DUE FEES Effective date: 20220212 |
|
| PG25 | Lapsed in a contracting state [announced via postgrant information from national office to epo] |
Ref country code: TR Free format text: LAPSE BECAUSE OF NON-PAYMENT OF DUE FEES Effective date: 20220212 |