EP1598601A2 - Dispositif de réglage de l'humidité à moyen dessicative - Google Patents
Dispositif de réglage de l'humidité à moyen dessicative Download PDFInfo
- Publication number
- EP1598601A2 EP1598601A2 EP05102996A EP05102996A EP1598601A2 EP 1598601 A2 EP1598601 A2 EP 1598601A2 EP 05102996 A EP05102996 A EP 05102996A EP 05102996 A EP05102996 A EP 05102996A EP 1598601 A2 EP1598601 A2 EP 1598601A2
- Authority
- EP
- European Patent Office
- Prior art keywords
- desiccant
- adjusting apparatus
- humidity adjusting
- plate
- desiccant plate
- Prior art date
- Legal status (The legal status is an assumption and is not a legal conclusion. Google has not performed a legal analysis and makes no representation as to the accuracy of the status listed.)
- Withdrawn
Links
- 239000002274 desiccant Substances 0.000 title claims abstract description 150
- 238000010438 heat treatment Methods 0.000 claims abstract description 3
- 239000003570 air Substances 0.000 description 55
- XLYOFNOQVPJJNP-UHFFFAOYSA-N water Substances O XLYOFNOQVPJJNP-UHFFFAOYSA-N 0.000 description 3
- 238000010521 absorption reaction Methods 0.000 description 2
- 239000012080 ambient air Substances 0.000 description 2
- 230000004888 barrier function Effects 0.000 description 2
- 230000004048 modification Effects 0.000 description 2
- 238000012986 modification Methods 0.000 description 2
- 230000003247 decreasing effect Effects 0.000 description 1
- 238000007599 discharging Methods 0.000 description 1
- 238000006073 displacement reaction Methods 0.000 description 1
- 230000000694 effects Effects 0.000 description 1
- 238000000034 method Methods 0.000 description 1
- 230000008569 process Effects 0.000 description 1
- 239000000126 substance Substances 0.000 description 1
Images
Classifications
-
- F—MECHANICAL ENGINEERING; LIGHTING; HEATING; WEAPONS; BLASTING
- F24—HEATING; RANGES; VENTILATING
- F24F—AIR-CONDITIONING; AIR-HUMIDIFICATION; VENTILATION; USE OF AIR CURRENTS FOR SCREENING
- F24F3/00—Air-conditioning systems in which conditioned primary air is supplied from one or more central stations to distributing units in the rooms or spaces where it may receive secondary treatment; Apparatus specially designed for such systems
- F24F3/12—Air-conditioning systems in which conditioned primary air is supplied from one or more central stations to distributing units in the rooms or spaces where it may receive secondary treatment; Apparatus specially designed for such systems characterised by the treatment of the air otherwise than by heating and cooling
- F24F3/14—Air-conditioning systems in which conditioned primary air is supplied from one or more central stations to distributing units in the rooms or spaces where it may receive secondary treatment; Apparatus specially designed for such systems characterised by the treatment of the air otherwise than by heating and cooling by humidification; by dehumidification
-
- F—MECHANICAL ENGINEERING; LIGHTING; HEATING; WEAPONS; BLASTING
- F24—HEATING; RANGES; VENTILATING
- F24F—AIR-CONDITIONING; AIR-HUMIDIFICATION; VENTILATION; USE OF AIR CURRENTS FOR SCREENING
- F24F3/00—Air-conditioning systems in which conditioned primary air is supplied from one or more central stations to distributing units in the rooms or spaces where it may receive secondary treatment; Apparatus specially designed for such systems
- F24F3/12—Air-conditioning systems in which conditioned primary air is supplied from one or more central stations to distributing units in the rooms or spaces where it may receive secondary treatment; Apparatus specially designed for such systems characterised by the treatment of the air otherwise than by heating and cooling
- F24F3/14—Air-conditioning systems in which conditioned primary air is supplied from one or more central stations to distributing units in the rooms or spaces where it may receive secondary treatment; Apparatus specially designed for such systems characterised by the treatment of the air otherwise than by heating and cooling by humidification; by dehumidification
- F24F3/1411—Air-conditioning systems in which conditioned primary air is supplied from one or more central stations to distributing units in the rooms or spaces where it may receive secondary treatment; Apparatus specially designed for such systems characterised by the treatment of the air otherwise than by heating and cooling by humidification; by dehumidification by absorbing or adsorbing water, e.g. using an hygroscopic desiccant
- F24F3/1423—Air-conditioning systems in which conditioned primary air is supplied from one or more central stations to distributing units in the rooms or spaces where it may receive secondary treatment; Apparatus specially designed for such systems characterised by the treatment of the air otherwise than by heating and cooling by humidification; by dehumidification by absorbing or adsorbing water, e.g. using an hygroscopic desiccant with a moving bed of solid desiccants, e.g. a rotary wheel supporting solid desiccants
-
- F—MECHANICAL ENGINEERING; LIGHTING; HEATING; WEAPONS; BLASTING
- F24—HEATING; RANGES; VENTILATING
- F24F—AIR-CONDITIONING; AIR-HUMIDIFICATION; VENTILATION; USE OF AIR CURRENTS FOR SCREENING
- F24F2203/00—Devices or apparatus used for air treatment
- F24F2203/10—Rotary wheel
- F24F2203/1052—Rotary wheel comprising a non-axial air flow
-
- F—MECHANICAL ENGINEERING; LIGHTING; HEATING; WEAPONS; BLASTING
- F24—HEATING; RANGES; VENTILATING
- F24F—AIR-CONDITIONING; AIR-HUMIDIFICATION; VENTILATION; USE OF AIR CURRENTS FOR SCREENING
- F24F2203/00—Devices or apparatus used for air treatment
- F24F2203/10—Rotary wheel
- F24F2203/1056—Rotary wheel comprising a reheater
-
- F—MECHANICAL ENGINEERING; LIGHTING; HEATING; WEAPONS; BLASTING
- F24—HEATING; RANGES; VENTILATING
- F24F—AIR-CONDITIONING; AIR-HUMIDIFICATION; VENTILATION; USE OF AIR CURRENTS FOR SCREENING
- F24F2203/00—Devices or apparatus used for air treatment
- F24F2203/10—Rotary wheel
- F24F2203/1068—Rotary wheel comprising one rotor
-
- F—MECHANICAL ENGINEERING; LIGHTING; HEATING; WEAPONS; BLASTING
- F24—HEATING; RANGES; VENTILATING
- F24F—AIR-CONDITIONING; AIR-HUMIDIFICATION; VENTILATION; USE OF AIR CURRENTS FOR SCREENING
- F24F2203/00—Devices or apparatus used for air treatment
- F24F2203/10—Rotary wheel
- F24F2203/1084—Rotary wheel comprising two flow rotor segments
Definitions
- the present invention relates to a humidity adjusting apparatus using a desiccant, which can easily adjust humidifying and dehumidifying volumes, and more par ticularly, to a humidity adjusting apparatus that can easily increase an amount of a desiccant used for increasing or decreasing the humidity in a limited space.
- a humidity adjusting apparatus uses a desiccant to increase or decrease the humidity in a room or other enclosure.
- the desiccant is a substance that has a high affinity for water and is used as a drying agent. When the desiccant absorbing water is heated, the affinity for water is restored. Therefore, the desiccant can be reused.
- the desiccant is designed to absorb moisture in air when surface vapor pressure is less than partial pressure of ambient air and to discharge moisture when the surface vapor pressure is less than the partial pressure of the ambient air.
- U.S. Patent No. 5,148,374 discloses such a humidity adjusting apparatus using a desiccant.
- the humidity adjusting apparatus disclosed in the patent has a desiccant wheel in which the desiccant is received.
- the desiccant wheel is designed to periodically rotate to absorb and discharge moisture from and to air being introduced.
- the desiccant wheel is formed of a tow - dimensional circular or semi-circular flat plate that two - dimensionally rotates.
- the humidity adjusting apparatus In order to use the humidity adjusting apparatus in a high humid region, the humidifying or dehumidifying capability should be enhanced. Therefore, to enhance the capability, the size of the desiccant wheel should be increased. In this case, since the desiccant wheel is formed in a two-dimensional plate, an area occupied by the desiccant wheel is enlarged, increasing a whole size of the dehumidifier.
- the present invention is directed to a desiccant humidifier that substantially obviates one or more problems due to limitations and disadvantages of the related art.
- An object of the present invention is to provide a humidity adjusting apparatus that is enhanced in a humidifying/dehumidifying volume variation.
- Another object of the present invention is to provide a humidity adjusting apparatus that can easily vary the volume without varying an overall size and a shape.
- Still another object of the present invention is to provide a humidity adjusting apparatus that is enhanced in its humidifying and dehumidifying capability without increasing the size thereof.
- a humidity adjusting apparatus including: a fan for forcedly generating airflow; a heater for heating introduced air to a predetermined temperature; a driving unit for generating driving force ; and a desiccant unit having a rotational shaft driven by the driving unit and a plurality of desiccant plates supported on the rotational shaft in a radial direction, an orientation of each desiccant plate and airflow direction being periodically varied.
- a humidity adjusting apparatus including: a driving unit for generating driving force; a rotational shaft driven by the driving unit and inclined at a predetermined angle with respect to an airflow direction in the apparatus; and at least one desiccant plate supported on the rotational shaft in a radial direction.
- a humidity adjusting apparatus including: a rotational shaft inclined with respect to an airflow direction; and at least one desiccant plate extending from the rotational shaft in a radial direction, an angle between the desiccant plate and the airflow direction being periodically varied.
- the desiccant plates are disposed on the rotational shaft in a radial direction, a number of desiccant plates can be received in a limited space, thereby increasing the volume of the desiccant.
- Fig. 1 is a perspective view of a humidity adjusting apparatus according to a first embodiment of the present invention
- Fig. 2 is a plane sectional view of a desiccant unit depicted in Fig. 1;
- Fig. 3 is a plane sectional view of a desic cant unit of a humidity adjusting apparatus according to a second embodiment of the present invention
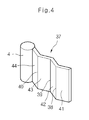
- Fig. 4 is a perspective view of a desiccant plate depicted in Fig. 3;
- Fig. 5 is a plane sectional view of a desiccant unit of a humidity adjusting apparatus according to a third embodiment of the present invention.
- Fig. 6 is a perspective view of a desiccant plate depicted in Fig. 5;
- Fig. 7 is a perspective view of a humidity adjusting apparatus according to a fourth embodiment of the present invention.
- Fig. 8 is a perspective view of a humidity adjusting apparatus according to a fifth embodiment of the present invention.
- Fig. 1 shows a perspective view of a humidity adjusting apparatus according to a first embodiment of the present invention.
- a humidity adjusting apparatus 1 includes a desiccant unit 2 for absorbing or discharging moisture from or to air.
- the humidity adjusting apparatus 1 includes a rotational shaft 3, a desiccant extending portion 4, and a driving unit mounting portion 6 where the rotational shaft 3 is coupled to a driving unit 6.
- the desiccant unit 2 periodically rotates by the driving unit 6.
- the rotational shaft 3 is disposed having a predetermined angle with respect to an airflow passage defined in the apparatus 1 such that an area of a desiccant contacting the air can be increased in a limited space. Therefore, it becomes possible to increase a volume of the desiccant without increasing the size of the apparatus 1. To realize this effect, it is preferable that the rotational shaft 3 is disposed to be perpendicular to the airflow passage.
- the desiccant unit 2 further includes first, second, third, and fourth desiccant plates 7, 10, 13 and 16 in which the desiccant is received.
- the first desiccant plate 7 has first front and rear surfaces 8 and 9
- the second desiccant plate 10 has second front and rear surfaces 11 and 12
- the third desiccant plate 13 has third front and rear surfaces 14 and 15
- the fourth desiccant plate 16 has fourth front and rear surfaces 17 and 18.
- Each of the first through fourth desiccant plates 7, 10, 13, and 16 can be formed of more than one layer.
- the first and third desiccant plates 7 and 13 are symmetrically disposed while the second and fourth desiccant plates 10 and 16 are symmetrically disposed.
- the present invention is not limited to this case. That is, the number of desiccant plates can be varied in accordance with the required dehumidifying/humidifying volume/
- a projected shape of each desiccant plate in a normal direction of the desiccant plate can be formed in a variety of shapes such as a rectangular shape, a circular shape, and the like. However, in the light of an object of the present invention for easily increasing the humidifying/dehumidifying volume, it may be preferable that the projected shape is the rectangular shape.
- each desiccant plate is designed having a predetermined area to receive much more desiccant in the limited space.
- the humidity adjusting apparatus 1 further includes an intake fan for introducing the air into the apparatus 1 and an exhaust fan 32 for exhausting the air out of the apparatus 1.
- the intake and exhaust fans are disposed at opposite sides with reference to the desiccant unit 2.
- the intake fan 27 is provided with an air inlet 28 for introducing air and an air outlet 29 for exhausting the introduced air passing through the desiccant unit 2.
- the exhaust fan 32 is also provided with an air inlet 33 and an air outlet 34.
- An air intake passage is defined between the desiccant unit 2 and the intake fan 27, and an air dry passage 31 is defined between the desiccant unit 2 and the air exhaust fan 32.
- the humidity adjusting apparatus 1 further includes a heater 19 and an intake/exhaust fan 23 disposed at an opposite side of the heater 19 with reference to the desiccant unit 2.
- the heater 19 heats air introduced through the intake/exhaust fan 23 to a predetermined temperature.
- the heater 19 includes a heater case 20, a heat source formed in the heater case 20 and a grill 21.
- the intake/exhaust fan 23 is provided with an air inlet 24 and an air outlet 25.
- a high temperature air passage 22 is defined between the desiccant unit 2 and the heater 19, and a wet air passage 26 is defined between the desiccant unit 2 and the intake/exhaust fan 23.
- the intake and/or exhaust fan(s) 27 and/or 32 may be formed of a Sirocco fan or a turbo fan.
- the intake fan 27 When the apparatus is turned on, the intake fan 27 is operated to introduce air through the air inlet 28 and the air outlet 29.
- the intake fan 27 is formed of one of the Sirocco and turbo fans, the introduced air changes its flow direction to reach the desiccant unit 2 along the air intake passage 30.
- the air directed to the desiccant unit 2 comes in the third desiccant plate 13 through the third front surface 14 and comes out of the same through the third rear surface 15.
- the third desiccant plate 13 is in a dry state, the moisture contained in the introduced air is absorbed in the third desiccant plate 13. Then, the introduced air is altered into dry air.
- the airflow passage is formed such that the air passes the third desiccant plate 13 in a perpendicular direction while rotating the desiccant plate 13. This feature is identically applied to other desiccant plates.
- the dry air reaches the exhaust fan 32 along the dry air passage 31. Then, the dry air is exhausted out of the apparatus 1 through the air outlet 34 of the exhaust fan 32.
- the third desiccant plate 13 absorbing the moisture rotates by the driving unit 6 by a predetermined angle (about 180°) so that the third desiccant plate 13 can be replaced to a location where the first desiccant plate 7 has been located, which is to be displaced to a location where the third desiccant plate 7 has been located. That is, the locations of the first and third desiccant plates 7 and 13 are exchanged with each other.
- an angle between a disposing direction of the desiccant plate, i.e., a normal direction of the desiccant plate, and an airflow direction in the apparatus is periodically varied. Namely, since the rotational shaft 3 periodically rotates, the location of the desiccant plates coupled to the rotational shaft is varied within a range of 0-180°.
- the high temperature air passes through the third desiccant plate 13 containing the moisture, during which the moisture contained in the third desiccant plate 13 is vaporized to make the air wet air.
- the wet air is directed to the intake/exhaust fan 23 through the wet air passage 26 and exhausted through the air outlet 25.
- the humidity adjusting apparatus 1 functions as a dehumidifier.
- the humidity adjusting apparatus 1 functions as a humidifier.
- the location displacement of the desiccant plates of the desiccant unit 2 is continuously realized at a predetermined period.
- the third desiccant plate 13 is displaced to a location where the second desiccant plate 10 has been located after absorbing the moisture. Then, the fourth desiccant plate 16 is located between the air intake passage 30 and the dry air passage 3 1 to function to absorb the moisture contained in the air.
- the third desiccant plate 13 is located between the high temperature passage 22 and the wet air passage 26 to release the moisture, after which the fourth desiccant plate 16 containing the moisture is displaced to the location between the high temperature passage and the wet air passage 26 to discharge the moisture.
- the third desiccant plate 13 is again displaced to the location between the intake passage 30 and the dry air passage 31 to absorb the moisture.
- Fig. 2 shows the desiccant unit depicted in Fig. 1.
- the first through fou rth desiccant plates 7, 10, 13, and 16 are coupled to desiccant extending portion 4 of the rotational shaft 3 to rotate against the airflow direction.
- the intake passage 30 and the wet air passage 26 are separated by a barrier wall 36 while the dry air passage and the high temperature passage 22 are separated by a barrier wall 35.
- At least one of the first through fourth desiccant plates 7, 10, 13, and 16 linearly extends from the desiccant extending portion 4 in a radial direction so that the introduced airflow direction can be perpendicular to thereof. Accordingly, the moisture absorption/discharge efficiency for the introduced air can be enhanced.
- the occupying space can be saved while effectively increasing the volume of the apparatus 1.
- Figs. 3 and 4 show a desiccant unit of a humidity adjusting apparatus according to a second embodiment of the present invention.
- each of first to fourth desiccant plates 37, 45, 46, and 47 extends from the desiccant extending portion 4, having at least one bent portion.
- each desiccant plate has first, second and third bent portions 38, 39 and 40 and first to fourth bent surfaces 41, 42, 43, and 44 formed between the bent portions 38, 39 and 40.
- each of the first to fourth desiccant plates 37, 45, 46, and 47 is provided with at least one bent portion, an amount of the desiccant can be increased in a limited space.
- Figs. 5 and 6 show a desiccant unit of a humidity adjusting apparatus according to a third embodiment of the present invention.
- first to fourth desiccant plates 48, 51, 52, and 53 extends from the desiccant extending portion 4, each being formed in a non -planar plate having a plurality of valleys and ridges defining at least one wave.
- each desiccant plate has first and second waves 49 and 50, thereby increasing an amount of desiccant in a limited space.
- Fig. 7 shows a humidity adjusting apparatus according to a fourth embodiment of the present invention.
- a humidity adjusting apparatus includes an axial fan 54.
- an airflow direction in the apparatus becomes identical to that of airflow generated by the axial fan 54.
- Fig. 8 shows a humidity adjusting apparatus according to a fifth embodiment of the present invention.
- a humidity adjusting apparatus includes a cross flow fan 55.
- an airflow direction in the apparatus is inclined to that of airflow generated by the cross flow fan 54 at a predetermined angle.
- the fourth and fifth embodiment show that the humidity adjusting apparatus can provide a variety of air passages by employing a variety of fans in accordance with a variety of conditions such as an install location and the like.
- the desiccant plates may be designed having an identical thickness to each other to provide an identical dehumidifying/humidifying volume.
- the present invention is not limited to this case. That is, if required, the thickness of the desiccant plates can be different from each other.
- the thickness of the desiccant plates can be varied according to the airflow rate difference to optimize the humidifying/dehumidifying efficiency.
- the shape of the desiccant plate is not limited to the above-described embodiments.
- the shape of the desiccant plate can be varied according to a variety of ambient conditions.
- the desiccant plates are disposed on the rotational shaft in a radial direction, a number of desiccant plates can be received in a limited space, thereby increasing the volume of the desiccant.
- an amount of the desiccant can be further increased, thereby increasing the humidifying/dehumidifying volume of the apparatus.
- the humidity adjusting apparatus can provide a variety of air passages by employing a variety of fans in accordance with a variety of conditions such as an install location and the like.
Landscapes
- Engineering & Computer Science (AREA)
- Chemical & Material Sciences (AREA)
- Combustion & Propulsion (AREA)
- Mechanical Engineering (AREA)
- General Engineering & Computer Science (AREA)
- Central Air Conditioning (AREA)
- Drying Of Gases (AREA)
Applications Claiming Priority (2)
| Application Number | Priority Date | Filing Date | Title |
|---|---|---|---|
| KR2004036422 | 2004-05-21 | ||
| KR1020040036422A KR100584308B1 (ko) | 2004-05-21 | 2004-05-21 | 가습 및 제습장치 |
Publications (2)
| Publication Number | Publication Date |
|---|---|
| EP1598601A2 true EP1598601A2 (fr) | 2005-11-23 |
| EP1598601A3 EP1598601A3 (fr) | 2006-05-31 |
Family
ID=34939306
Family Applications (1)
| Application Number | Title | Priority Date | Filing Date |
|---|---|---|---|
| EP05102996A Withdrawn EP1598601A3 (fr) | 2004-05-21 | 2005-04-15 | Dispositif de réglage de l'humidité à moyen dessicative |
Country Status (3)
| Country | Link |
|---|---|
| US (1) | US20050268634A1 (fr) |
| EP (1) | EP1598601A3 (fr) |
| KR (1) | KR100584308B1 (fr) |
Families Citing this family (4)
| Publication number | Priority date | Publication date | Assignee | Title |
|---|---|---|---|---|
| US20120118143A1 (en) * | 2010-11-17 | 2012-05-17 | Foreman Ronald E | Apparatus and method for dehumidifying air |
| JP5452565B2 (ja) * | 2011-10-27 | 2014-03-26 | 三菱電機株式会社 | 除湿装置 |
| CN108092366B (zh) * | 2018-01-22 | 2024-03-08 | 深圳市慧新能源科技有限公司 | 一种可控列尾锂电池 |
| CN114992726B (zh) * | 2022-08-04 | 2022-11-11 | 自然资源部第二海洋研究所 | 一种水汽平衡器自动干燥装置 |
Family Cites Families (12)
| Publication number | Priority date | Publication date | Assignee | Title |
|---|---|---|---|---|
| US2946201A (en) * | 1960-07-26 | Method for avoiding frost deposits on cooling members | ||
| US2662607A (en) * | 1950-07-22 | 1953-12-15 | Milton J Guiberteau | Rotating bed adsorber |
| US2680492A (en) * | 1951-06-22 | 1954-06-08 | Roger S Kopp | Air dehydration unit |
| US2925880A (en) * | 1954-02-03 | 1960-02-23 | Munters Carl Georg | Moisture exchanger for gaseous mediums |
| US2890024A (en) * | 1955-12-05 | 1959-06-09 | Gen Motors Corp | Regenerative heat exchanger |
| US4012206A (en) * | 1972-12-02 | 1977-03-15 | Gas Developments Corporation | Air cleaning adsorption process |
| JPS5977295A (ja) * | 1982-10-26 | 1984-05-02 | Seibu Giken:Kk | 対向流型遠心送風式熱交換器 |
| SE458714B (sv) * | 1986-02-24 | 1989-04-24 | Gisip Utvecklings Ab | Kassettavfuktare |
| US5148374A (en) * | 1990-06-19 | 1992-09-15 | Icc Technologies, Inc. | Desiccant space conditioning control system and method |
| US5212956A (en) * | 1991-01-18 | 1993-05-25 | Ari-Tec Marketing, Inc. | Method and apparatus for gas cooling |
| JP3482409B1 (ja) * | 2002-05-30 | 2003-12-22 | 東京エレクトロン株式会社 | 減湿装置及び減湿方法 |
| KR100504503B1 (ko) * | 2003-01-14 | 2005-08-01 | 엘지전자 주식회사 | 공기조화시스템 |
-
2004
- 2004-05-21 KR KR1020040036422A patent/KR100584308B1/ko not_active Expired - Fee Related
- 2004-08-10 US US10/914,106 patent/US20050268634A1/en not_active Abandoned
-
2005
- 2005-04-15 EP EP05102996A patent/EP1598601A3/fr not_active Withdrawn
Also Published As
| Publication number | Publication date |
|---|---|
| EP1598601A3 (fr) | 2006-05-31 |
| KR100584308B1 (ko) | 2006-05-26 |
| US20050268634A1 (en) | 2005-12-08 |
| KR20050111207A (ko) | 2005-11-24 |
Similar Documents
| Publication | Publication Date | Title |
|---|---|---|
| JP3276156B2 (ja) | 除湿装置 | |
| US6478855B1 (en) | Method of dehumidifying and dehumidifier with heat exchanger having first and second passages and moisture cooling in the second passages | |
| FI120218B (fi) | Menetelmä ja laite ilmankuivatusprosessin tuoton lisäämiseksi | |
| EP1598601A2 (fr) | Dispositif de réglage de l'humidité à moyen dessicative | |
| KR100707082B1 (ko) | 히터 유닛 및 이를 구비한 공기조화장치 | |
| JP4677658B2 (ja) | 空気調和機 | |
| JPH11169644A (ja) | 除湿装置 | |
| JP2007098261A (ja) | 除湿機 | |
| KR101515530B1 (ko) | 제습 유닛 및 그를 갖는 공기조화기 | |
| JP4329584B2 (ja) | 除湿装置 | |
| JP2005095807A (ja) | 除湿機 | |
| JP3638834B2 (ja) | 除加湿装置 | |
| JP5135673B2 (ja) | 除湿機 | |
| JP7148815B2 (ja) | 空調回転体及び空気処理装置 | |
| JP7674828B2 (ja) | 除湿機 | |
| EP2159498A2 (fr) | Déshumidificateur | |
| JP2002355526A (ja) | 電気除湿機 | |
| JP5374989B2 (ja) | 除湿装置 | |
| JP7113205B2 (ja) | 除湿装置 | |
| JP2022151382A (ja) | 除湿装置 | |
| JP7674863B2 (ja) | 調湿装置 | |
| JP3147981U (ja) | 空気加熱装置、及び該空気加熱装置を備えたデシカント除湿機 | |
| CN220541245U (zh) | 一种除湿转轮脱附模块及除湿设备 | |
| JP2010188320A (ja) | 除湿機 | |
| JP2021090898A (ja) | 除湿装置 |
Legal Events
| Date | Code | Title | Description |
|---|---|---|---|
| PUAI | Public reference made under article 153(3) epc to a published international application that has entered the european phase |
Free format text: ORIGINAL CODE: 0009012 |
|
| AK | Designated contracting states |
Kind code of ref document: A2 Designated state(s): AT BE BG CH CY CZ DE DK EE ES FI FR GB GR HU IE IS IT LI LT LU MC NL PL PT RO SE SI SK TR |
|
| AX | Request for extension of the european patent |
Extension state: AL BA HR LV MK YU |
|
| PUAL | Search report despatched |
Free format text: ORIGINAL CODE: 0009013 |
|
| AK | Designated contracting states |
Kind code of ref document: A3 Designated state(s): AT BE BG CH CY CZ DE DK EE ES FI FR GB GR HU IE IS IT LI LT LU MC NL PL PT RO SE SI SK TR |
|
| AX | Request for extension of the european patent |
Extension state: AL BA HR LV MK YU |
|
| 17P | Request for examination filed |
Effective date: 20061122 |
|
| AKX | Designation fees paid |
Designated state(s): DE FR GB |
|
| 17Q | First examination report despatched |
Effective date: 20110627 |
|
| STAA | Information on the status of an ep patent application or granted ep patent |
Free format text: STATUS: THE APPLICATION IS DEEMED TO BE WITHDRAWN |
|
| 18D | Application deemed to be withdrawn |
Effective date: 20111105 |