EP1589232A2 - Hydraulische Steuereinrichtung - Google Patents

Hydraulische Steuereinrichtung Download PDF

Info

Publication number
EP1589232A2
EP1589232A2 EP05008582A EP05008582A EP1589232A2 EP 1589232 A2 EP1589232 A2 EP 1589232A2 EP 05008582 A EP05008582 A EP 05008582A EP 05008582 A EP05008582 A EP 05008582A EP 1589232 A2 EP1589232 A2 EP 1589232A2
Authority
EP
European Patent Office
Prior art keywords
valve
seat
valves
control device
hydraulic control
Prior art date
Legal status (The legal status is an assumption and is not a legal conclusion. Google has not performed a legal analysis and makes no representation as to the accuracy of the status listed.)
Withdrawn
Application number
EP05008582A
Other languages
English (en)
French (fr)
Other versions
EP1589232A3 (de
Inventor
Dieter Knopff
Current Assignee (The listed assignees may be inaccurate. Google has not performed a legal analysis and makes no representation or warranty as to the accuracy of the list.)
BOTSCHAFTER KNOPFF IISE
Original Assignee
BOTSCHAFTER KNOPFF IISE
Priority date (The priority date is an assumption and is not a legal conclusion. Google has not performed a legal analysis and makes no representation as to the accuracy of the date listed.)
Filing date
Publication date
Application filed by BOTSCHAFTER KNOPFF IISE filed Critical BOTSCHAFTER KNOPFF IISE
Priority to EP07017554A priority Critical patent/EP1890044A1/de
Publication of EP1589232A2 publication Critical patent/EP1589232A2/de
Publication of EP1589232A3 publication Critical patent/EP1589232A3/de
Withdrawn legal-status Critical Current

Links

Images

Classifications

    • EFIXED CONSTRUCTIONS
    • E02HYDRAULIC ENGINEERING; FOUNDATIONS; SOIL SHIFTING
    • E02FDREDGING; SOIL-SHIFTING
    • E02F9/00Component parts of dredgers or soil-shifting machines, not restricted to one of the kinds covered by groups E02F3/00 - E02F7/00
    • E02F9/20Drives; Control devices
    • E02F9/22Hydraulic or pneumatic drives
    • E02F9/2264Arrangements or adaptations of elements for hydraulic drives
    • E02F9/2267Valves or distributors
    • EFIXED CONSTRUCTIONS
    • E02HYDRAULIC ENGINEERING; FOUNDATIONS; SOIL SHIFTING
    • E02FDREDGING; SOIL-SHIFTING
    • E02F9/00Component parts of dredgers or soil-shifting machines, not restricted to one of the kinds covered by groups E02F3/00 - E02F7/00
    • E02F9/20Drives; Control devices
    • E02F9/22Hydraulic or pneumatic drives
    • E02F9/226Safety arrangements, e.g. hydraulic driven fans, preventing cavitation, leakage, overheating
    • EFIXED CONSTRUCTIONS
    • E02HYDRAULIC ENGINEERING; FOUNDATIONS; SOIL SHIFTING
    • E02FDREDGING; SOIL-SHIFTING
    • E02F9/00Component parts of dredgers or soil-shifting machines, not restricted to one of the kinds covered by groups E02F3/00 - E02F7/00
    • E02F9/20Drives; Control devices
    • E02F9/22Hydraulic or pneumatic drives
    • E02F9/2264Arrangements or adaptations of elements for hydraulic drives
    • E02F9/2271Actuators and supports therefor and protection therefor
    • FMECHANICAL ENGINEERING; LIGHTING; HEATING; WEAPONS; BLASTING
    • F15FLUID-PRESSURE ACTUATORS; HYDRAULICS OR PNEUMATICS IN GENERAL
    • F15BSYSTEMS ACTING BY MEANS OF FLUIDS IN GENERAL; FLUID-PRESSURE ACTUATORS, e.g. SERVOMOTORS; DETAILS OF FLUID-PRESSURE SYSTEMS, NOT OTHERWISE PROVIDED FOR
    • F15B11/00Servomotor systems without provision for follow-up action; Circuits therefor
    • F15B11/003Systems with load-holding valves
    • FMECHANICAL ENGINEERING; LIGHTING; HEATING; WEAPONS; BLASTING
    • F15FLUID-PRESSURE ACTUATORS; HYDRAULICS OR PNEUMATICS IN GENERAL
    • F15BSYSTEMS ACTING BY MEANS OF FLUIDS IN GENERAL; FLUID-PRESSURE ACTUATORS, e.g. SERVOMOTORS; DETAILS OF FLUID-PRESSURE SYSTEMS, NOT OTHERWISE PROVIDED FOR
    • F15B11/00Servomotor systems without provision for follow-up action; Circuits therefor
    • F15B11/02Systems essentially incorporating special features for controlling the speed or actuating force of an output member
    • F15B11/024Systems essentially incorporating special features for controlling the speed or actuating force of an output member by means of differential connection of the servomotor lines, e.g. regenerative circuits
    • FMECHANICAL ENGINEERING; LIGHTING; HEATING; WEAPONS; BLASTING
    • F15FLUID-PRESSURE ACTUATORS; HYDRAULICS OR PNEUMATICS IN GENERAL
    • F15BSYSTEMS ACTING BY MEANS OF FLUIDS IN GENERAL; FLUID-PRESSURE ACTUATORS, e.g. SERVOMOTORS; DETAILS OF FLUID-PRESSURE SYSTEMS, NOT OTHERWISE PROVIDED FOR
    • F15B20/00Safety arrangements for fluid actuator systems; Applications of safety devices in fluid actuator systems; Emergency measures for fluid actuator systems
    • F15B20/005Leakage; Spillage; Hose burst
    • FMECHANICAL ENGINEERING; LIGHTING; HEATING; WEAPONS; BLASTING
    • F15FLUID-PRESSURE ACTUATORS; HYDRAULICS OR PNEUMATICS IN GENERAL
    • F15BSYSTEMS ACTING BY MEANS OF FLUIDS IN GENERAL; FLUID-PRESSURE ACTUATORS, e.g. SERVOMOTORS; DETAILS OF FLUID-PRESSURE SYSTEMS, NOT OTHERWISE PROVIDED FOR
    • F15B2211/00Circuits for servomotor systems
    • F15B2211/30Directional control
    • F15B2211/305Directional control characterised by the type of valves
    • F15B2211/30525Directional control valves, e.g. 4/3-directional control valve
    • FMECHANICAL ENGINEERING; LIGHTING; HEATING; WEAPONS; BLASTING
    • F15FLUID-PRESSURE ACTUATORS; HYDRAULICS OR PNEUMATICS IN GENERAL
    • F15BSYSTEMS ACTING BY MEANS OF FLUIDS IN GENERAL; FLUID-PRESSURE ACTUATORS, e.g. SERVOMOTORS; DETAILS OF FLUID-PRESSURE SYSTEMS, NOT OTHERWISE PROVIDED FOR
    • F15B2211/00Circuits for servomotor systems
    • F15B2211/30Directional control
    • F15B2211/305Directional control characterised by the type of valves
    • F15B2211/3056Assemblies of multiple valves
    • F15B2211/30565Assemblies of multiple valves having multiple valves for a single output member, e.g. for creating higher valve function by use of multiple valves like two 2/2-valves replacing a 5/3-valve
    • F15B2211/3058Assemblies of multiple valves having multiple valves for a single output member, e.g. for creating higher valve function by use of multiple valves like two 2/2-valves replacing a 5/3-valve having additional valves for interconnecting the fluid chambers of a double-acting actuator, e.g. for regeneration mode or for floating mode
    • FMECHANICAL ENGINEERING; LIGHTING; HEATING; WEAPONS; BLASTING
    • F15FLUID-PRESSURE ACTUATORS; HYDRAULICS OR PNEUMATICS IN GENERAL
    • F15BSYSTEMS ACTING BY MEANS OF FLUIDS IN GENERAL; FLUID-PRESSURE ACTUATORS, e.g. SERVOMOTORS; DETAILS OF FLUID-PRESSURE SYSTEMS, NOT OTHERWISE PROVIDED FOR
    • F15B2211/00Circuits for servomotor systems
    • F15B2211/30Directional control
    • F15B2211/31Directional control characterised by the positions of the valve element
    • F15B2211/3105Neutral or centre positions
    • F15B2211/3116Neutral or centre positions the pump port being open in the centre position, e.g. so-called open centre
    • FMECHANICAL ENGINEERING; LIGHTING; HEATING; WEAPONS; BLASTING
    • F15FLUID-PRESSURE ACTUATORS; HYDRAULICS OR PNEUMATICS IN GENERAL
    • F15BSYSTEMS ACTING BY MEANS OF FLUIDS IN GENERAL; FLUID-PRESSURE ACTUATORS, e.g. SERVOMOTORS; DETAILS OF FLUID-PRESSURE SYSTEMS, NOT OTHERWISE PROVIDED FOR
    • F15B2211/00Circuits for servomotor systems
    • F15B2211/30Directional control
    • F15B2211/315Directional control characterised by the connections of the valve or valves in the circuit
    • F15B2211/3157Directional control characterised by the connections of the valve or valves in the circuit being connected to a pressure source, an output member and a return line
    • F15B2211/31576Directional control characterised by the connections of the valve or valves in the circuit being connected to a pressure source, an output member and a return line having a single pressure source and a single output member
    • FMECHANICAL ENGINEERING; LIGHTING; HEATING; WEAPONS; BLASTING
    • F15FLUID-PRESSURE ACTUATORS; HYDRAULICS OR PNEUMATICS IN GENERAL
    • F15BSYSTEMS ACTING BY MEANS OF FLUIDS IN GENERAL; FLUID-PRESSURE ACTUATORS, e.g. SERVOMOTORS; DETAILS OF FLUID-PRESSURE SYSTEMS, NOT OTHERWISE PROVIDED FOR
    • F15B2211/00Circuits for servomotor systems
    • F15B2211/30Directional control
    • F15B2211/32Directional control characterised by the type of actuation
    • F15B2211/321Directional control characterised by the type of actuation mechanically
    • F15B2211/324Directional control characterised by the type of actuation mechanically manually, e.g. by using a lever or pedal
    • FMECHANICAL ENGINEERING; LIGHTING; HEATING; WEAPONS; BLASTING
    • F15FLUID-PRESSURE ACTUATORS; HYDRAULICS OR PNEUMATICS IN GENERAL
    • F15BSYSTEMS ACTING BY MEANS OF FLUIDS IN GENERAL; FLUID-PRESSURE ACTUATORS, e.g. SERVOMOTORS; DETAILS OF FLUID-PRESSURE SYSTEMS, NOT OTHERWISE PROVIDED FOR
    • F15B2211/00Circuits for servomotor systems
    • F15B2211/70Output members, e.g. hydraulic motors or cylinders or control therefor
    • F15B2211/71Multiple output members, e.g. multiple hydraulic motors or cylinders
    • F15B2211/7114Multiple output members, e.g. multiple hydraulic motors or cylinders with direct connection between the chambers of different actuators
    • F15B2211/7128Multiple output members, e.g. multiple hydraulic motors or cylinders with direct connection between the chambers of different actuators the chambers being connected in parallel
    • FMECHANICAL ENGINEERING; LIGHTING; HEATING; WEAPONS; BLASTING
    • F15FLUID-PRESSURE ACTUATORS; HYDRAULICS OR PNEUMATICS IN GENERAL
    • F15BSYSTEMS ACTING BY MEANS OF FLUIDS IN GENERAL; FLUID-PRESSURE ACTUATORS, e.g. SERVOMOTORS; DETAILS OF FLUID-PRESSURE SYSTEMS, NOT OTHERWISE PROVIDED FOR
    • F15B2211/00Circuits for servomotor systems
    • F15B2211/70Output members, e.g. hydraulic motors or cylinders or control therefor
    • F15B2211/71Multiple output members, e.g. multiple hydraulic motors or cylinders
    • F15B2211/7142Multiple output members, e.g. multiple hydraulic motors or cylinders the output members being arranged in multiple groups

Definitions

  • the invention relates to a hydraulic control device for hydraulically over a controlled or controllable oil path operated, double-acting cylinder having front loader.
  • Front loaders are known to contain boom like Oscillators or telescopes and portable work tools of various kinds Versions.
  • Such hydraulic valve devices are, for example, in Plant construction, used in the construction and agricultural machinery hydraulics.
  • double-acting valves serve to control the flow direction of the Hydraulic oil for adjustment or adjustment of connected devices in To control both directions and on the other hand, the flow of hydraulic oil make multiple devices or device parts distributable.
  • main way valve by additional hydraulic switches be supplemented, for example, the commonly used, so-called 6/2-way valve turnouts.
  • 6/2-way valve turnouts With a double-acting main way valve and one or several double-acting hydraulic switches in the manner of the 6/2 way valve is it possible to have a convenient pre-selection control for almost anything to create many consumers.
  • electric lifting magnet or one manual control of valves in sliding piston design, below Called control piston many settings can be direct, automatic or in Area code to be made.
  • a spool in main directional valves or multipath valve switches already has at first use an unavoidable Passungsleckage. It has showed that the fit leakage increases with age.
  • the hydraulic oil flows in de-energized Position of the electromagnetic control to the main consumer with the usual initial designation A1 or B1. Will the switch activated, the hydraulic oil flows to the additional consumer (outputs A2, B2 Return line). So that the hydraulic oil in multiway valves always to the selected outlet flows, the spool must always be correctly positioned. Even a slight leakage on the control piston in the control housing or in Multiway valve worsens this correct positioning. That could do it lead that in a parked with a raised rocker front loader the Swing slowly slowly from the high altitude into a low altitude overnight. Under the swingarm arranged objects like other vehicles could then be damaged.
  • a leakage between the spool and the control housing for a Tilting cylinder also has an unfavorable effect on functional processes in connection with so-called rapid traverse valves.
  • Rapid valves used to automatically or on electrical command through the Piston movement of the tilt cylinder on the rod side evasive Do not give amounts of oil in the return, but the amount of pump on the Add bottom side. In practical operation tilts the tilting cylinder the shovel he operated faster. A leak would be here Slow down the desired express function again.
  • the known device uses a proportional control and Proportional valves by means of a microprocessor system to the hydraulic flow to control the timing and size of the hydraulic flow.
  • the invention is based on the object, the influence of leaks in Hydraulic valve devices without the use of complicated microprocessor circuits to avoid. This object is defined by the in claim 1 Invention solved. Further developments of the invention are in the dependent Claims marked.
  • the invention consists in a hydraulic control device for a or more, hydraulically via a controlled or controllable oil path operated, double-acting cylinder having jib and working tools like lifting rockers and tilting devices in that into the oil path or more, manually, controlled or automatically by electrically controlled Solenoid valves actuated poppet valves (4, 25, 26, 27) are inserted, the each activated simultaneously and in the same direction with the cylinder become.
  • the thrust piston can not change its position in the cylinder, if only one of the two separated or formed by the thrust piston cylinder chambers is completely sealed for the passage of hydraulic oil. A such perfect locking can be achieved by a controlled seat valve become.
  • a double-acting hydraulic valve device with one in one Control housing movably arranged control piston and with two by the Control piston separate control housing chambers, in each of which an input for hydraulic oil with one of two outputs to the implement and an outlet for the return of the hydraulic oil with one of two inputs is connectable to the working device for this return, should at least in an output to the implement a controlled activatable seat valve inserted be.
  • Control piston and seat valve are controlled so that at a Oil path opening control piston and the seat valve is open. Will the Controlled control piston in a position blocking the oil path, is also the Seat valve locked. This ensures that the control piston even with a more or less large leakage in connection with the precise blocking the poppet valve can fulfill its control function.
  • the poppet valve is in the hydraulic path between the Output of the multi-way valve switch and the additional consumer arranged.
  • This seat valve is used together with the control piston of the Multi-way valve switch controlled, especially for this hydraulic path closed together with the corresponding path through the switch or open.
  • the poppet valve is in the outlet of the multi-way valve switch screwed in, so firmly connected to this switch.
  • At a 6/2-way valve switch are two inputs for the hydraulic oil (out and Return flow) from the oil reservoir or from the main directional valve switch four outlets opposite, namely a pair connected to the main consumer (outward and forward Return line) and a pair connected to the additional consumer (outward and forward Return).
  • the associated with the additional consumer output pair is preferably only provided on the output for the forward line with the seat valve.
  • the seat valve has the advantage that it closes tightly in the closed position and no Passungsleckage has. So close the switch by appropriate Activation in sequence Displacement of the control piston the way to Additional consumers, so at the same time locks the seat valve this way tight and thus prevents a slow backflow of the hydraulic oil along the passage.
  • a tilt cylinder In a tilt cylinder is the main way valve or another the Tilting cylinder controlling valve controlled so that in one position an output with the rod side of the tilt cylinder and the other outlet with the bottom side connected is. Thereby, the operated by the tilt cylinder blade is in a moved predetermined position. In the other position of the main way valve the two outputs are interchanged and the bucket in accordingly moves the opposite position.
  • the rapid traverse valve is inserted. In this rapid-action valve are evasive oil quantities instead of the piston movement in the tilt cylinder Return immediately added to the pump quantity.
  • a seat valve Between the Rapid valve and the tilt cylinder is inserted a seat valve. As soon as the Movement of the thrust piston stops in the tilt cylinder, for example by the Control is stopped, the seat valve is closed and a leakage return prevented.
  • the rapid traverse valve is the Rapid valve provided with two seat valves.
  • a control piston in the rapid-action valve can be omitted.
  • One of the seat valves is open when no electricity is flowing and closed when electricity is flowing.
  • the other seat valve is open when power is on flows and closes when no current flows. Since in this case always one Cylinder chamber of the tilt cylinder is hermetically closed, the remains Push piston and thus the implement in position.
  • At rapid traverse expresses that displaced oil directly through the seat valve or a valve that opens in case of overpressure in the oil flow coming from the controlling valve, such as the main directional control valve to the tilt valve, so adds the amount of both lines.
  • the thrust piston can be omitted and controlled by two Poppet valves are replaced.
  • These seat valves for example, connect without Power supply the respective input or output, each with a connection and with power supply, each with a different connection.
  • Such a 6/2-way seat valve comes with a block of paths and connections and connections for the interchangeable seat valves formed.
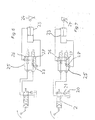
  • Figure 1 shows in the form of a substitute or symbolic diagram of the schematic diagram of a hydraulic valve device 1 with a main way valve 2, a multi-way valve switch 3 with inputs A, B, outputs A1, B1 and A2, B2 to a first consumer 7 and a seat valve 4 at the output
  • An electrically actuated solenoid valve 8 is used to adjust a control piston 9 in the control housing 10 of the valve 3.
  • the multi-way valve switch shows in Figure 1 in the usual representation in the right part of the Symbol is the switching from A, B to A1, B1, in the left part of the switching from A, B to A2, B2, as it is then performed in the middle part accordingly.
  • a double-acting main-way valve 2 with two controllable outputs A, B (return line) and one Oil supply from an oil reservoir 20 indicated by a pump 21, the for precise hydraulic actuation and control of consumers, for example, construction machines or the like.
  • Such main way valves 2 are expensive. In practice, therefore, these main way valves 2 by a or several cheaper multiway valve 3 supplements.
  • 612-way valve switch 3 are two of the Main way valve 2 served inputs A, B, for example, four outputs, namely A1, B1 (return flow) for the first consumer 7 and A2, B2 (Return flow) for the second consumer 6 opposite.
  • control for the multi-way valve switch 3 a predetermined position of the Control piston and thus a predetermined pressure of the hydraulic for the 6 causes the same control in effect via an electromagnetic control 13 on the seat valve 4 that this fixed and safely closes and thus a backflow of the hydraulic oil through the leakage the control piston 9 and thus an undesirable adjustment of the control piston 9 definitely prevented.
  • two inputs A, B are four outputs opposite, namely an input pair (forward and return line), one with the Main consumers connected pair A1, B1 (forward and return line) and a with the additional consumer 6 connected pair A2, B2 (return line).
  • the output pair A2, B2 connected to the additional consumer 6 is preferably only on the output A2 for the forward line with the seat valve. 4 Mistake.
  • the seat valve 4 has the advantage that it is tight in the closed position closes and has no Passungsleckage. So close the switch corresponding control in consequence displacement of the piston the way to Additional consumers, so locks the seat valve 4 at the same time this way tight and prevents slow flow of hydraulic oil along the leak. The Adjustment of the consumer 6 remains so long.
  • Figure 2 shows a sectional view of a practically executed 6/2-way valve manifold 3 with a horizontally displaceable within a control housing 10 control piston 9, the control housing 10 in two chambers 11, 12 shares.
  • the chamber 11 has two outlets A1, B1 and the chamber 12 has two outlets A2, B2.
  • the control piston 9 can be adjusted so that the inputs A, B of the control housing 10 are selectively connected to the outputs A1, B1 or A2, B2.
  • the seat valve 4 and thus the hydraulic path 5 to the additional consumer 6 by control 8 and 13 open, so permeable switched.
  • Figure 3 shows the sectional view of Figure 2, a 6/2-way valve 3 with seat valve 4, in which the control piston 9 is set so that the inputs A, B connected to the outputs A1, B1 and the hydraulic path 5 to the additional consumer 6 both is closed by the switch 3 and by controlling the seat valve 4.
  • Figure 4 shows a sectional view through a rapid traverse valve 22 with input A and two outputs FO and FR and built in the output FR seat valve 4.
  • the output FR of the seat valve leads to the rod side of a tilting cylinder, not shown, the output FO to the bottom side of this tilting cylinder.
  • the control piston 9 of the rapid traverse valve 22 is adjustable so that the input A of the valve 22 is connectable to the output FR and at the same time the seat valve 4 is connected permeable and there is no connection to FO. In this case the rapid traverse function is switched off.
  • the bottom-side outlet of the tilting cylinder 23 is directly connected to the outlet of a controlling valve, for example a main directional control valve 2, and guides the hydraulic oil, which subsequently delays piston movement, into the return of this main directional control valve.
  • FIG. 5 shows the symbol representation of a valve device according to FIG. 4.
  • the main directional valve 2 with hydraulic reservoir 20 and pump 21 forms the basis of the valve system.
  • the output A of the main route valve 2 is not connected here with a switch 3, but with the input A of the rapid traverse valve 22.
  • the output FR of this rapid traverse valve 22 is connected to a controllable by a solenoid control valve seat valve 13, whose output to the input FR of the tilt cylinder 23 is connected.
  • the input FR of the tilting cylinder 23 is arranged, for example, on the rod side 14 of this cylinder 23.
  • An output FO of the tilting cylinder 23 is connected to the output B of the main directional control valve 2, thus directs without rapid traverse the evasive by the displacement of the piston 16 in the tilting cylinder 23 from the bottom side 15 hydraulic oil directly into the return port B of the main directional control valve 2.
  • the connection FO of the tilting cylinder on the bottom side 15 of the cylinder 23 is also connected to the terminal FO of the rapid traverse valve 22.
  • the rapid traverse valve is so controlled that the displaced hydraulic oil from the input FR to the output FO and to the input FR of the tilting cylinder 23 and there increases the amount of oil.
  • the control can also be done so that the displaced oil quantity is not added to the amount of oil supplied, the rapid traverse So put out of order.
  • FIG. 6 shows the basic representation of a rapid traverse valve 25 without a displaceable control piston. It includes two poppet valves 26, 27 and a check valve 28.
  • the poppet valve 26 is connected at its port A to the corresponding port A of the main directional valve 2.
  • the other seat valve 27 is connected with its port B to the corresponding port B of the main route valve 2.
  • the other two ports of the poppet valves 26, 27 are connected to each other and to the port FR on the rod side 14 of the tilt cylinder 23.
  • the connection FO of the tilting cylinder 23 on its bottom side 15 is connected to the connection B of the main directional control valve 2 facing the connection of the second seat valve 27.
  • FIG 7 shows the schematic diagram of the rapid traverse valve 25 shown in Figure 6 with the two seat valves 26, 27 at effectively controlled rapid traverse,
  • the seat valve 27 is normally open and the seat valve 26 is closed under power (x-position).
  • a check valve 28 at the outlet of the poppet valve 27 indicates that when the poppet valve 27 is open, the oil displaced from the cylinder 23 can only flow or push in the direction of the main directional control valve 2 and, together with the oil coming from the main directional valve, into the bottom side 15 of the cylinder 23 is pressed.
  • the rapid traverse valve 25 shown in FIGS. 6 and 7 does not contain a control piston for distributing the hydraulic currents.
  • the paths become exclusive steered or deflected by controlling the poppet valves.
  • Figure 8 shows a detailed representation of a hydraulic plan for the control of the rocker 29 for lifting and lowering on the one hand and the implement scoop 24 with scooping and shedding on the other hand.
  • the rapid-action valve 25 according to FIGS. 6 and 7 for the bulk curtain is associated with the tilting cylinder 23.
  • a parallel guidance of the blade 24 is provided for the loader. This means that the bucket is controlled parallel to the vehicle's longitudinal axis.
  • the cylinder 23 for the blade 24 and 17 are executed twice for the rocker 29, each on both sides of the rocker 29.
  • the control device of Figure 8 contains the essential for such a parallel guide links the control means for the rocker 29 and the blade 24th ,
  • a shut-off valve 40 In the oil path lifting / lowering a shut-off valve 40 is inserted, the for stopping the oil path B-A opens parallel to this shut-off valve 40 is a Load holding valve 41 connected from the line G of the seat valve 36 from is controlled. This valve 41 is therefore in line by the working pressure G is open or closed and allows the raise / lower or lock function this function.
  • a pilot operated load holding valve 42 In the oil path between the rod side 14 of the tilt cylinder 23rd via the seat valve 26 to the line C in the oil path exit of the main route valve 34th Scooping / dumping is a pilot operated load holding valve 42 inserted from the second output of the main directional control valve 35 via the line D with possible little pressure is controlled. This is due to the area ratio of the Load holding valve 42 achieved.
  • Line D is so in Figure 8 as a control path for the Load holding valve 42 used, and as the oil path F for the cylinder 23.
  • the case Pouring effective return from the bottom side 15 of the cylinder 23 is over the Line E and the seat valve 36/37 via the line C in the output of Main way valve 34 connected to the tank 20.
  • the oil quantity is controlled by the Poppet valves switched only to raise and lower the swingarm.
  • a control of the implement scoop-pouring is not in this case required.
  • Figure 9 shows a detailed sectional view of a block 50 for a Control of the movements of the arrangement according to the figures 6, 7 or 8 as well for a hydraulically controlled parallel guidance by using a Combination of poppet valves 36, 37, 38, 26, 27, 43.
  • Figure 9 thus shows a prefabricated block with predetermined lines and connections for usable on the one hand controlled and on the other hand the load holding serving poppets and connections to implements.
  • This block is a compact, leak-free control device for a front loader with parallel guidance and rapid traverse.
  • FIG. 10 shows the schematic diagram of a 6/2 multiport valve switch 60 with two controlled poppet valves 61, 62.
  • Each valve 61, 62 is assigned a solenoid valve 63, 64.
  • the two seat valves are controlled so that an input 2a to one of two outputs 1 a, 3 a and an input (possibly return) 2 b is switched through to one of two outputs 1 b, 3 b.
  • Figure 11 shows a section through a block 65 with the prefabricated therein lines 66 and terminals 1 a, 1 b for the leads for the outer oil path and 68, 69 for the controlled seat valves 61, 62.
  • the dimensions of the block and possibly also the control of the poppet valves can be designed so that the thus produced leak-free 6/2-way valve switch with poppet valves, which can replace the usual on the market 6/2-way valve switches with control piston. In this way, previously used switches in case of damage can be easily replaced by the leak-free points.
  • Figure 12 shows another section through block 65 shown in Figure 11 (indicated by arrows therein). In FIG. 12, the two outputs 2a, 3a and 2b, 3b are visible.

Landscapes

  • Engineering & Computer Science (AREA)
  • General Engineering & Computer Science (AREA)
  • Fluid Mechanics (AREA)
  • Civil Engineering (AREA)
  • Structural Engineering (AREA)
  • Physics & Mathematics (AREA)
  • Mining & Mineral Resources (AREA)
  • Mechanical Engineering (AREA)
  • Chemical & Material Sciences (AREA)
  • Analytical Chemistry (AREA)
  • Fluid-Pressure Circuits (AREA)
  • Operation Control Of Excavators (AREA)
  • Fluid-Driven Valves (AREA)

Abstract

Bei einer Hydraulik-Ventileinrichtung mit einem einen Schiebekolben aufweisenden doppeltwirkenden Zylinder mit zwei Ein- oder Ausgängen für das der Steuerung des Schiebekolbens im Zylinder dienende Hydraulikmedium wie ein Hydrauliköl ist wenigstens einem Ein- oder Ausgang ein manuell, gesteuert oder automatisch einstellbares Sitzventil zugeordnet. Dadurch werden Nachteile auf Grund Leckage des Schubkolbens vermieden. Durch diese Maßnahme kann die Lebensdauer von Hydraulik-Ventil-Einrichtungen auch bei Alterung und Verschleiß verlängert werden. <IMAGE>

Description

Die Erfindung betrifft eine Hydraulische Steuereinrichtung für hydraulisch über einen gesteuerten oder steuerbaren Ölweg betriebene, doppelt wirkende Zylinder aufweisende Frontlader. Frontlader enthalten bekanntlich Ausleger wie Schwinger oder Teleskope und bewegliche Arbeitswerkzeuge verschiedener Ausführungen. Solche Hydraulik- Ventileinrichtungen werden beispielsweise im Anlagenbau, bei der Bau- und Landmaschinenhydraulik verwendet.
Es ist bekannt (DE 28 34 480 C2), Schiebekolben von Kipp- und/oder Hubzylindern über doppeltwirkende Haupt- oder Mehrwegeventile zu steuern, denen das Hydrauliköl aus einem Behälter über Pumpen zugeführt wird und bei denen ein Rücklauf des Hydrauliköls zu diesem Behälter vorgesehen ist. Durch steuerbare Hubmagnete sind Schiebekolben in diesen Ventilen so verschiebbar, dass das Hydrauliköl einem der beiden Eingänge der Zylinder zugeführt wird, wobei der jeweils andere Eingang zum Ausgang für das durch die Bewegung des Schiebekolbens verdrängte Hydrauliköl gemacht wird. Das verdrängte Hydrauliköl wird beispielsweise dem Rücklauf zugeführt.
Doppeltwirkende Ventile dienen einerseits dazu, die Flussrichtung des Hydrauliköls zur Einstellung oder Verstellung von angeschlossenen Geräten in beiden Richtungen zu steuern und andrerseits, den Fluss des Hydrauliköls auf mehrere Geräte oder Geräteteile verteilbar zu gestalten. Zu diesem Zweck kann ein sogenanntes Hauptwegeventil durch zusätzliche hydraulische Weichen ergänzt werden, beispielsweise die häufig verwendeten, sogenannten 6/2-Wegeventilweichen. Mit einem doppeltwirkenden Hauptwegeventil und ein oder mehreren doppeltwirkenden hydraulischen Weichen nach Art des 6/2-Wegeventils ist es möglich, eine bequeme Vorwahlsteuerung für fast beliebig viele Verbraucher zu schaffen. Mit elektrischen Hubmagneten oder einer manuellen Steuerung von Ventilen in Schiebekolbenausführung, im Folgenden Steuerkolben genannt, können viele Einstellungen direkt, automatisch oder in Vorwahl getätigt werden.
Ein Steuerkolben in Hauptwegeventilen oder Mehrwegeventilweichen hat bereits bei erstmaliger Benutzung eine nicht vermeidbare Passungsleckage. Es hat sich gezeigt, dass sich die Passungsleckage mit zunehmendem Alter steigert. Bei einem 6/2-Wegeventil mit Steuerkolben fließt das Hydrauliköl in stromloser Stellung der elektromagnetischen Steuerung zum Hauptverbraucher mit der üblichen Ausgangsbezeichnung A1 beziehungsweise B1. Wird die Weiche aktiviert, fließt das Hydrauliköl zum zusätzlichen Verbraucher (Ausgänge A2, B2 Hin- und Rückleitung). Damit das Hydrauliköl bei Mehrwegeventilen immer zum gewählten Ausgang fließt, muss der Steuerkolben stets richtig positioniert sein. Eine auch nur geringe Leckage am Steuerkolben im Steuergehäuse oder im Mehrwegeventil verschlechtert diese richtige Positionierung. Das könnte dazu führen, dass bei einem mit hochgestellter Schwinge abgestellten Frontlader die Schwinge über Nacht langsam von der Hochlage in eine Tieflage absinkt. Unter der Schwinge angeordnete Gegenstände wie andere Fahrzeuge könnten dann beschädigt sein.
Eine Leckage zwischen dem Steuerkolben und dem Steuergehäuse für einen Kippzylinder wirkt sich auch ungünstig auf Funktionsabläufe in Verbindung mit sogenannten Eilgangventilen aus. In der Frontladertechnik werden bekanntlich Eilgangventile eingesetzt, um automatisch oder auf elektrischen Befehl durch die Kolbenbewegung des Kippzylinders auf der Stangenseite ausweichende Ölmengen nicht in den Rücklauf zu geben, sondern der Pumpenmenge auf der Bodenseite hinzuzufügen. Im praktischen Betrieb kippt dadurch der Kippzylinder die von ihm betätigte Schaufel schneller aus. Eine Leckage würde hier die gewünschte Eilfunktion wieder verlangsamen.
Eine wichtige Steuerfunktion ist die sogenannte Parallelführung des Arbeitsgerätes, insbesondere der gefüllten Schaufel. Bei einer solchen Funktion soll die Schaufel auch bei Fahrten über welliges Gelände immer die gewünschte, eingestellte Position behalten (DE 28 34 480 C2). Leckagen können auch diese Funktion beeinträchtigen.
Es ist bekannt (DE 692 15 898 T2) in den Hydraulikweg zwischen ein Kolben-Steuerventil und die Betätigungskammern eines Hydraulikmotors Sitzventile einzuschalten, mit denen der Hydraulikfluss blockierbar oder gesteuert einstellbar ist.
Die bekannte Einrichtung verwendet eine Proportionalsteuerung und Proportionalventile mittels eines Mikroprozessorsystems, um den Hydraulikfluss nach zeitlichem Einsatz und Größe des Hydraulikflusses zu steuern.
Der Erfindung liegt die Aufgabe zugrunde, den Einfluss von Leckagen bei Hydraulik- Ventileinrichtungen ohne Einsatz komplizierter Mikroprozessorschaltungen zu vermeiden. Diese Aufgabe wird durch die im Anspruch 1 definierte Erfindung gelöst. Weiterbildungen der Erfindung sind in den abhängigen Ansprüchen gekennzeichnet.
Im Prinzip besteht die Erfindung bei einer hydraulischen Steuereinrichtung für ein oder mehrere, hydraulisch über einen gesteuerten oder steuerbaren Ölweg betriebene, doppelt wirkende Zylinder aufweisende Ausleger und Arbeitswerkzeuge wie Hubschwingen und Kippeinrichtungen darin, dass in den Ölweg ein oder mehrere, manuell, gesteuert oder automatisch durch elektrisch angesteuerte Magnetventile betätigbare Sitzventile (4, 25, 26, 27) eingefügt sind, die jeweils zusammen gleichzeitig und gleichsinnig mit dem Zylinder aktiviert werden.
Es ist zwar bekannt (DE 84 16 495.6 U1), bei Ventilblöcken mit inneren Ölwegen und außen anschließbaren steuerbaren Steuerkolbenventilen Sitzventile vorzusehen, doch dienen solche Sitzventile dort nur der Lasthaltung in den Ölwegen, nicht aber einer Steuerung.
Bei Arbeitswerkzeugen mit einem doppelt wirkenden Zylinder mit Schubkolben kann der Schubkolben seine Lage im Zylinder nicht mehr ändern, wenn auch nur eine der beiden durch den Schubkolben getrennten oder gebildeten Zylinderkammern für den Durchlass von Hydrauliköl vollkommen dicht gesperrt ist. Eine solche vollkommene Sperrung kann durch ein gesteuertes Sitzventil erreicht werden.
Bei einer doppeltwirkenden Hydraulik-Ventileinrichtung mit einem in einem Steuergehäuse bewegbar angeordneten Steuerkolben und mit zwei durch den Steuerkolben voneinander getrennten Steuergehäusekammern, in denen jeweils ein Eingang für Hydrauliköl mit einem von zwei Ausgängen zum Arbeitsgerät und ein Ausgang für die Rückleitung des Hydrauliköls mit einem von zwei Eingängen von dem Arbeitsgerät für diese Rückleitung verbindbar ist, soll wenigstens in einen Ausgang zum Arbeitsgerät ein gesteuert aktivierbares Sitzventil eingefügt sein. Steuerkolben und Sitzventil werden dabei so gesteuert, dass bei einem den Ölweg öffnenden Steuerkolben auch das Sitzventil offen ist. Wird der Steuerkolben in eine den Ölweg sperrende Position gesteuert, wird auch das Sitzventil gesperrt. Dadurch wird erreicht, dass der Steuerkolben auch bei einer mehr oder weniger großen Leckage in Verbindung mit der präzisen Sperrung des Sitzventils seine Steuerfunktion erfüllen kann.
Bei einer Mehrwegeventilweiche ist das Sitzventil im Hydraulikweg zwischen dem Ausgang der Mehrwegeventilweiche und dem zusätzlichen Verbraucher angeordnet. Dieses Sitzventil wird zusammen mit dem Steuerkolben der Mehrwegeventilweiche gesteuert, insbesondere für diesen Hydraulikweg zusammen mit dem entsprechenden Weg durch die Weiche geschlossen oder geöffnet. Vorzugsweise ist das Sitzventil in den Ausgang der Mehrwegeventilweiche eingeschraubt, also fest mit dieser Weiche verbunden. Bei einer 6/2-Wegeventilweiche stehen zwei Eingängen für das Hydrauliköl (Hin- und Rücklauf) vom Ölreservoir oder von der Hauptwegeventilweiche vier Ausgänge gegenüber, nämlich ein mit dem Hauptverbraucher verbundenes Paar (Hin- und Rückleitung) sowie ein mit dem Zusatzverbraucher verbundenes Paar (Hin- und Rückleitung).
Das mit dem Zusatzverbraucher verbundene Ausgangspaar ist vorzugsweise nur auf dem Ausgang für die Hinleitung mit dem Sitzventil versehen. Das Sitzventil hat den Vorteil, dass es in der Schließstellung dicht schließt und keine Passungsleckage aufweist. Schließt also die Weiche durch entsprechende Ansteuerung in Folge Verschiebung des Steuerkolbens den Weg zum Zusatzverbraucher, so sperrt zugleich das Sitzventil diesen Weg dicht ab und verhindert so ein langsames Rückfließen des Hydrauliköls entlang der Passage.
Bei einem Kippzylinder wird das Hauptwegeventil oder ein anderes den Kippzylinder steuerndes Ventil so gesteuert, dass in einer Stellung ein Ausgang mit der Stangenseite des Kippzylinders und der andere Ausgang mit der Bodenseite verbunden ist. Dadurch wird die vom Kippzylinder betätigte Schaufel in eine vorbestimmte Stellung bewegt. In der anderen Stellung des Hauptwegeventils werden die beiden Ausgänge vertauscht und dementsprechend die Schaufel in die entgegengesetzte Lage bewegt. Zwischen dem mit der Stangenseite verbundenen Ausgang des steuernden Ventils, beispielsweise des Hauptwegeventils und den Kippzylinder wird das Eilgangventil eingefügt. Bei diesem Eilgangventil werden bei Kolbenbewegung im Kippzylinder ausweichende Ölmengen statt dem Rücklauf unmittelbar der Pumpenmenge hinzugefügt. Zwischen dem Eilgangventil und dem Kippzylinder ist ein Sitzventil eingefügt. Sobald die Bewegung des Schubkolbens im Kippzylinder aufhört, beispielsweise durch die Steuerung gestoppt wird, wird das Sitzventil geschlossen und ein Leckagerückfluss unterbunden.
Bei einer Weiterbildung der das Eilgangventil betreffenden Erfindung ist das Eilgangventil mit zwei Sitzventilen versehen. Ein Steuerkolben im Eilgangventil kann entfallen. Eines der Sitzventile ist offen, wenn kein Strom fließt und geschlossen, wenn Strom fließt. Das andere Sitzventil ist offen, wenn Strom fließt und geschlossen, wenn kein Strom fließt. Da in diesem Fall immer eine Zylinderkammer des Kippzylinders hermetisch geschlossen ist, bleibt der Schubkolben und damit das Arbeitsgerät in Position. Bei Eilgang drückt das verdrängte Öl durch das Sitzventil oder ein bei Überdruck öffnendes Ventil direkt in den vom steuernden Ventil wie dem Hauptwegeventil kommenden Ölstrom zum Kippventil, addiert also die Menge beider Leitungen.
Bei Geräten mit Parallelführung und Eilgangfunktion ist es vorteilhaft, mehrere Sitzventile zu kombinieren. Zu diesem Zweck werden in einen Block mit inneren Ölwegen Sitzventile eingefügt oder angeschlossen, von denen bei einer Funktion einige durchlässig und andere gesperrt gesteuert werden und von denen bei einer anderen Funktion einige gesperrt und andere durchlässig gesteuert werden. Zur Lasthaltung oder zur Festlegung eines Arbeitsdruckes im Ölweg können einem solchen Ventilblock auch Lasthalteventile mit vorbestimmten Flächenverhältnissen eingesetzt werden.
Bei 6/2-Wegeventilen kann der Schubkolben entfallen und durch zwei gesteuerte Sitzventile ersetzt werden. Diese Sitzventile verbinden beispielsweise ohne Stromzuführung den jeweiligen Ein- oder Ausgang mit jeweils einem Anschluss und bei Stromzuführung mit jeweils einem anderen Anschluss. Ein solches 6/2-Wege-Sitzventil wird mit einem die Wege und Anschlüsse aufweisenden Block und Anschlüssen für die auswechselbaren Sitzventile ausgebildet.
Zur näheren Erläuterung der Erfindung werden im Folgenden mehrere Ausführungsbeispiele anhand der Zeichnungen beschrieben. Diese zeigen in:
Figur 1
eine Prinzipdarstellung einer Steuerkolben-Ventileinrichtung mit Hauptwegeventil, Mehrwegeventilweiche und gesondertem Sitzventil am Ausgang für den Zusatzverbraucher,
Figur 2
einen Schnitt durch eine 6/2-Mehrwegeventilweiche mit Steuerkolben und angebautem Sitzventil, bei der der Ölweg zum Zusatzverbraucher durch Ansteuerung offen ist,
Figur 3
eine 6/2-Mehrwegeventilweiche gemäß Figur 2, bei der der Ölweg zum Zusatzverbraucher geschlossen ist,
Figur 4
ein Eilgangventil mit Steuerkolben und Sitzventil im Ausgang FR,
Figur 5
eine Eilgangventileinrichtung mit Sitzventil gemäß Figur 4,
Figur 6
eine Eilgangventileinrichtung mit zwei Sitzventilen bei wirksam gesteuertem Eilgang,
Figur 7
eine Einrichtung gemäß Figur 6 mit unwirksam gesteuerten Eilgang,
Figur 8
eine Steuereinrichtung mit Sitzventilen für Schaufellader mit Schwinge und Schaufel mit Parallelführung und Eilgang,
Figur 9
einen Schnitt durch eine blockförmig ausgebildete Anordnung der Steuereinrichtung nach Figur 8,
Figur 10
ein 6/2- Wege-Ventil mit zwei Sitzventilen statt Steuerkolben,
Figur 11, 12
zwei Schnitte durch ein blockförmig ausgebildetes 6/2-WegeSitzventil nach Figur 10.
Figur 1 zeigt in Form eines Ersatz- oder Sinnschaltbildes die Prinzipdarstellung einer Hydraulik-Ventileinrichtung 1 mit einem Hauptwegeventil 2, einer Mehrwegeventilweiche 3 mit Eingängen A, B, Ausgängen A1, B1 und A2, B2 zu einem ersten Verbraucher 7 und einem Sitzventil 4 am Ausgang A2 der Mehnivegeventilweiche 3 mit einer Hydraulikleitung 5 vom Ausgang A2 des Sitzventils 4 zu einem Zusatzverbraucher 6. Ein elektrisch angesteuertes Magnetventil 8 dient der Verstellung eines Steuerkolbens 9 im Steuergehäuse 10 des Ventils 3. Die Mehrwegeventilweiche zeigt in Figur 1 in üblicher Darstellung im rechten Teil des Sinnbildes die Durchschaltung von A, B nach A1, B1, im linken Teil die Durchschaltung von A, B nach A2, B2, wie sie dann im mittleren Teil entsprechend tatsächlich durchgeführt wird.
In der Hydraulik-Ventileinrichtung 1 ist ein doppeltwirkendes Hauptwegeventil 2 mit zwei ansteuerbaren Ausgängen A, B (Hin- und Rückleitung) und einer Ölversorgung aus einem Ölreservoir 20 mittels einer Pumpe 21 angedeutet, das zur präzisen hydraulischen Betätigung und Steuerung von Verbrauchern dient, beispielsweise Baumaschinen oder dergleichen. Solche Hauptwegeventile 2 sind teuer. In der Praxis werden daher diese Hauptwegeventile 2 durch ein oder mehrere preiswertere Mehrwegeventilweichen 3 ergänzt. Bei der in Figur 1 als Sinnbild dargestellten 612-Wegeventilweiche 3 stehen zwei von dem Hauptwegeventil 2 bedienten Eingängen A, B beispielsweise vier Ausgänge, nämlich A1, B1 (Hin- und Rücklauf) für den ersten Verbraucher 7 und A2, B2 (Hin- und Rücklauf) für den zweiten Verbraucher 6 gegenüber. Die Ausgänge A1, B1 führen beispielsweise direkt zum ersten Verbraucher 7, der Ausgang A2 führt über das Sitzventil 4 und eine Leitung 5 von dort zum zusätzlichen Verbraucher 6. Der Ausgang B2 ist als Rückleitung direkt, also nicht über ein Sitzventil mit dem Verbraucher 6 verbunden. Mit solchen hydraulischen Weichen 3 kann man eine bequeme Vorwahlsteuerung für fast beliebig viele Verbraucher bauen. Für derartige Vorwahlsteuerungen ist die elektrische Magnetventilvariante 8 in Verbindung mit dem Steuerkolben 9 vorgesehen, der in Figur 2 detailliert dargestellt ist. Solche Steuerkolben 9 haben wie alle bewegten Bauteile eine immer vorhandene Passungsleckage zwischen Kolben und Steuergehäusewandung.
Mit zunehmendem Alter der ganzen Anlage steigert sich diese Leckage des Steuerkolbens 9. Die Folge ist eine Veränderung der Einstellung des jeweiligen Verbrauchers. Handelt es sich bei dem Verbraucher 6 beispielsweise um einen Frontlader mit durch die Steuerung hochgestreckter Schwinge, so kann diese Schwinge in Folge der Leckage im Laufe der Zeit heruntersinken und darunter befindliche Gegenstände beschädigen. Zur Vermeidung dieses Nachteils ist im Hydraulikweg zwischen dem Ausgang A2 der Mehrwegeventilweiche 3 und dem zusätzlichen Verbraucher 6 das Sitzventil 4 angeordnet, das zusammen und zugleich mit der Mehrwegeventilweiche 3 gesteuert wird, insbesondere für diesen Hydraulikweg zusammen mit der Weiche 3 geschlossen oder geöffnet wird. Vorzugsweise ist das Sitzventil 4 in den Ausgang der Mehrwegeventilweiche 3 eingeschraubt, also fest mit dieser Weiche verbunden. Wenn also die Ansteuerung für die Mehrwegeventilweiche 3 eine vorbestimmte Position des Steuerkolbens und damit einen vorbestimmten Druck der Hydraulik für den Verbraucher 6 bewirkt, so bewirkt die gleiche Ansteuerung in der Auswirkung über eine elektromagnetische Steuerung 13 auf das Sitzventil 4, dass dieses fest und sicher schließt und damit ein Rückfließen des Hydrauliköls über die Leckage des Steuerkolbens 9 und damit eine unerwünschte Verstellung des Steuerkolbens 9 mit Sicherheit unterbindet.
Bei einem 6/2-Wegeventil stehen zwei Eingängen A, B vier Ausgänge gegenüber, nämlich ein Eingangspaar (Hin- und Rückleitung), ein mit dem Hauptverbraucher verbundenes Paar A1, B1 (Hin- und Rückleitung) sowie ein mit dem Zusatzverbraucher 6 verbundenes Paar A2, B2 (Hin- und Rückleitung). Das mit dem Zusatzverbraucher 6 verbundene Ausgangspaar A2, B2 ist vorzugsweise nur auf dem Ausgang A2 für die Hinleitung mit dem Sitzventil 4 versehen. Das Sitzventil 4 hat den Vorteil, dass es in der Schließstellung dicht schließt und keinerlei Passungsleckage aufweist. Schließt also die Weiche durch entsprechende Ansteuerung in Folge Verschiebung des Kolbens den Weg zum Zusatzverbraucher, so sperrt zugleich das Sitzventil 4 diesen Weg dicht ab und verhindert so ein langsames Fließen des Hydrauliköls entlang der Leckage. Die Einstellung des Verbrauchers 6 bleibt also lange erhalten.
Figur 2 zeigt eine Schnittdarstellung einer praktisch ausgeführten 6/2-Mehrwegeventilweiche 3 mit einem in waagerechter Richtung innerhalb eines Steuergehäuse 10 verschiebbaren Steuerkolbens 9, der des Steuergehäuses 10 in zwei Kammern 11, 12 teilt. Die Kammer 11 hat zwei Ausgänge A1, B1 und die Kammer 12 zwei Ausgänge A2, B2. Der Steuerkolben 9 kann so eingestellt werden, dass die Eingänge A, B des Steuergehäuses 10 wahlweise mit den Ausgängen A1, B1 oder A2, B2 verbunden werden. Bei Verbindung von A nach A2 ist das Sitzventil 4 und damit der Hydraulikweg 5 zum Zusatzverbraucher 6 durch Ansteuerung 8 und 13 offen, also durchlässig geschaltet.
Figur 3 zeigt die Schnittdarstellung der Figur 2, eine 6/2-Mehrwegeventilweiche 3 mit Sitzventil 4, bei der der Steuerkolben 9 so eingestellt ist, dass die Eingänge A, B mit den Ausgängen A1, B1 verbunden und der Hydraulikweg 5 zum Zusatzverbraucher 6 sowohl durch die Weiche 3 als auch durch Ansteuerung des Sitzventils 4 geschlossen ist.
Figur 4 zeigt eine Schnittdarstellung durch ein Eilgangventil 22 mit Eingang A und zwei Ausgängen FO und FR und einem in den Ausgang FR eingebauten Sitzventil 4. Der Ausgang FR des Sitzventils führt zur Stangenseite eines nicht dargestellten Kippzylinders, der Ausgang FO zur Bodenseite dieses Kippzylinders. Der Steuerkolben 9 des Eilgangventils 22 ist so einstellbar, dass der Eingang A des Ventils 22 mit dem Ausgang FR verbindbar ist und zugleich das Sitzventil 4 durchlässig geschaltet wird und keine Verbindung zu FO besteht. In diesem Fall ist die Eilgangfunktion ausgeschaltet. In diesem Fall ist der bodenseitige Ausgang des Kippzylinders 23 direkt mit dem Ausgang eines steuernden Ventils, beispielsweise eines Hauptwegeventils 2, verbunden und führt das in Folge Kolbenbewegung weichende Hydrauliköl in den Rücklauf dieses Hauptwegeventils.
Figur 5 zeigt die Sinnbilddarstellung einer Ventileinrichtung nach Figur 4. Wie in Figur 1 bildet das Hauptwegeventil 2 mit Hydraulikreservoir 20 und Pumpe 21 die Grundlage des Ventilsystems. Der Ausgang A des Hauptwegeventils 2 ist hier nicht mit einer Weiche 3 verbunden, sondern mit dem Eingang A des Eilgangventils 22. Der Ausgang FR dieses Eilgangventils 22 ist mit einem durch eine Magnetsteuerung 13 steuerbaren Sitzventil 4 verbunden, dessen Ausgang mit dem Eingang FR des Kippzylinders 23 verbunden ist. Der Eingang FR des Kippzylinders 23 ist beispielsweise auf der Stangenseite 14 dieses Zylinders 23 angeordnet. Ein Ausgang FO des Kippzylinders 23 ist mit dem Ausgang B des Hauptwegeventils 2 verbunden, leitet also ohne Eilgangfunktion das durch die Verschiebung des Kolbens 16 im Kippzylinder 23 aus der Bodenseite 15 ausweichende Hydrauliköl direkt in den Rücklaufanschluss B des Hauptwegeventils 2. Der Anschluss FO des Kippzylinders auf der Bodenseite 15 des Zylinders 23 ist außerdem mit dem Anschluss FO des Eilgangventils 22 verbunden.
Bei durchlässig geschaltetem Ölweg vom Ausgang A des Hauptwegeventils A über das Eilgangventil 22 und das Sitzventil 4 zum Eingang FR des Kippzylinders 23 wird das aus dem Ausgang FR weichende oder gedrückte Hydrauliköl zunächst direkt in den Eingang FO des Eilgangventils gedrückt. Wegen der erhöhten Ölmenge am Eingang FR des Kippzylinders beschleunigt sich die Verschiebung des Arbeitskolbens 16 und damit der Kippvorgang der vom Kippzylinder 23 betätigten Schaufel 24. Bei entsprechender Steuerung des Hauptwegeventils 2 drückt die Pumpe 21 das Hydrauliköl durch den Ausgang B zum Eingang FO des Kippzylinders 23. Das verdrängte Hydrauliköl gelangt nun durch das wiederum geöffnete Sitzventil 4 und das Eilgangventil zum Aus- bzw. Eingang A des Hauptwegeventils 2. In diesem Fall wird das Eilgangventil so gesteuert, dass das verdrängte Hydrauliköl vom Eingang FR zum Ausgang FO und zum Eingang FR des Kippzylinders 23 gelangt und dort die Ölmenge erhöht. Dadurch wird auch in dieser Richtung die Bewegung des Arbeitskolbens 16 und damit der Schaufel 24 beschleunigt. Die Steuerung kann auch so erfolgen, dass die verdrängte Ölmenge nicht der zugeführten Ölmenge addiert wird, der Eilgang also außer Betrieb gesetzt wird.
Bei Stillsetzung einer der Bewegungen schließt auch das Sitzventil 4 und verhindert so den Einfluss irgendeiner Leckage des Kolbens 16 im Kippzylinder 23 oder im Hauptwegeventil 2 auf die Schaufelstellung oder die Stellung irgendeines anderen vom Zylinder 23 gesteuerten Gerätes.
Bei den soweit beschriebenen Figuren dienen die gesteuerten Sitzventile 4 im wesentlichen der Verhinderung der Leckage bei Steuerkolben-Ventileinrichtungen oder Weichen. In den Figur 6-12 werden Sitzventile so angeordnet und gesteuert, dass die Leckageanfälligen Steuerkolben 9 entfallen können.
Figur 6 zeigt die Prinzipdarstellung eines Eilgangventils 25 ohne verschiebbaren Steuerkolben. Es beinhaltet zwei Sitzventile 26, 27 und ein Rückschlagventil 28. Das Sitzventil 26 ist mit seinem Anschluss A mit dem entsprechenden Anschluss A des Hauptwegeventils 2 verbunden. Das andere Sitzventil 27 ist mit seinem Anschluss B mit dem entsprechenden Anschluss B des Hauptwegeventils 2 verbunden. Die beiden anderen Anschlüsse der Sitzventile 26, 27 sind miteinander und mit dem Anschluss FR auf der Stangenseite 14 des Kippzylinders 23 verbunden. Der Anschluss FO des Kippzylinders 23 auf seiner Bodenseite 15 ist mit dem dem Anschluss B des Hauptwegeventils 2 zugewandten Anschluss des zweiten Sitzventils 27 verbunden. Es gibt nun sowohl Sitzventile, die stromlos offen und unter Strom geschlossen sind, als auch Sitzventile, die stromlos geschlossen und unter Strom offen sind. Man kann gleichartige Sitzventile kombinieren, aber auch unterschiedliche Typen. In Figur 6 ist das Sitzventil 27 unter Strom geschlossen (durch x gekennzeichnet) und stromlos offen und das Sitzventil 26 stromlos offen und unter Strom geschlossen (x). Damit wird der Kippzylinder 23 in Figur 6 ohne Eilgang betätigt.
Figur 7 zeigt die in Figur 6 dargestellte Prinzipdarstellung des Eilgangventils 25 mit den beiden Sitzventilen 26, 27 bei wirksam gesteuertem Eilgang, In diesem Fall ist das Sitzventil 27 stromlos offen und das Sitzventil 26 unter Strom geschlossen (x-Stellung). Das bedeutet, dass das auf der Stangenseite 14 des Zylinders 23 verdrängte Hydrauliköl einerseits nicht durch das gesperrte Sitzventil 26 in den Rücklaufweg zum Hauptwegeventil 2 fließen kann, andrerseits aber durch das geöffnete Sitzventil 27 gedrückt wird und an dieser Stelle zusammen mit dem vom Ausgang A kommenden Öl die Menge auf der Bodenseite des Zylinders 23 erhöht und somit den Eilgang auslöst. Ein Rückschlagventil 28 am Ausgang des Sitzventils 27 deutet an, dass bei geöffneten Sitzventil 27 das aus dem Zylinder 23 verdrängte Öl nur in Richtung auf das Hauptwegeventil 2 hin fließen oder drücken kann und damit zusammen mit dem vom Hauptwegeventil kommenden Öl in die Bodenseite 15 des Zylinders 23 gedrückt wird.
Das in den Figuren 6 und 7 dargestellte Eilgangventil 25 enthält keinen Steuerkolben zur Verteilung der Hydraulikströme. Die Wege werden ausschließlich durch Steuerung der Sitzventile gelenkt oder umgelenkt.
Figur 8 zeigt eine detaillierte Darstellung eines Hydraulikplans für die Steuerung der Schwinge 29 für Heben und Senken einerseits und des Arbeitsgerätes Schaufel 24 mit Schöpfen und Schütten andrerseits. Für die Schaufel 24 ist dem Kippzylinder 23 das Eilgangventil 25 gemäß Figuren 6 und 7 für den Schüttvorhang zugeordnet. Vorzugsweise ist für Schaufellader eine Parallelführung der Schaufel 24 vorgesehen. Das bedeutet, dass die Schaufel parallel zur Fahrzeuglängsachse gesteuert wird. Vorzugsweise werden bei solchen Geräten die Zylinder 23 für die Schaufel 24 und 17 für die Schwinge 29 doppelt ausgeführt, jeweils beidseitig der Schwinge 29. Die Steuereinrichtung gemäß Figur 8 enthält die für eine solche Parallelführung wesentlichen Verknüpfungen der Steuereinrichtungen für die Schwinge 29 und die Schaufel 24.
In Figur 8 sind Parallelführung Ein- und Eilgang aus mit "Kommando" zu erreichen. Dann ist die Funktion Eilgang durch den geschlossenen Schalter 32 (verbindet S1-S1 mit Betriebsspannung) eingeschaltet (x am Sitzventil 27) und die Funktion Parallelführung durch den geschlossenen Schalter 33 (verbindet S2- S2 mit Betriebsspannung) ausgeschaltet. In Grundstellung ist daher stets die Parallelführung ein und der Eilgang aus. Für die Steuerung der Schwinge 29 sind die Sitzventile 36, 37 über die Leitung G und H durchlässig gesteuert, der Öldruck geht also direkt von der Pumpe 21 über das Hauptwegeventil 30 und die durchlässigen Sitzventile 36, 37 zu den Zylindern der Schwinge 29. In dieser Position ist das dritte Sitzventil 38 gesperrt, die Parallelführung also eingeschaltet. In den Ölweg Heben/Senken ist ein Abstellventil 40 eingefügt, das für das Abstellen den Ölweg B-A öffnet Parallel zu diesem Abstellventil 40 ist ein Lasthalteventil 41 geschaltet, das von der Leitung G des Sitzventils 36 aus angesteuert wird. Dieses Ventil 41 wird daher durch den Arbeitsdruck in Leitung G geöffnet oder geschlossen und erlaubt die Funktion Heben/Senken oder sperrt diese Funktion. Im Ölweg zwischen der Stangenseite 14 des Kippzylinders 23 über das Sitzventil 26 zur Leitung C im Ölwegausgang des Hauptwegeventils 34 Schöpfen/Schütten ist ein vorgesteuertes Lasthalteventil 42 eingefügt, das vom zweiten Ausgang des Hauptwegeventils 35 über die Leitung D mit möglichst wenig Druck gesteuert wird. Das wird durch das Flächenverhältnis des Lasthalteventils 42 erreicht. Leitung D wird in Figur 8 also als Steuerweg für das Lasthalteventil 42 genutzt, und als Ölweg F für den Zylinder 23. Der im Falle Schütten wirksame Rücklauf von der Bodenseite 15 des Zylinders 23 ist über die Leitung E und über das Sitzventil 36/37 über die Leitung C im Ausgang des Hauptwegeventils 34 verbunden zum Tank 20.
Bei eingeschalteter Parallelführung und offenem Schalter 33 werden die Sitzventile 36, 37 in gesperrter Ausführung an den Leitungen G, H liegen (x Stellung). Das dritte Sitzventil 38 ist dann durchlässig (offen). Zweckmäßig ist die Art der Sitzventile 36, 37, 38 so gewählt, dass die Parallelführung dann eingeschaltet wird, wenn die Sitzventile 36, 37 stromlos offen und das Ventil 38 stromlos zu ist. Dadurch wird erreicht, dass ohne Kommando die Parallelführung wirksam und der Eilgang unwirksam ist. Für die Steuerung Heben und Senken der Schwinge 29 ist ein Hauptwegeventil 30 in Kolbenausführung vorgesehen. Ein Magnetventil 31 steuert die Funktion Heben oder Senken. Ein Magnetventil 34 stellt die Funktion schöpfen oder schütten am zweiten Hauptwegeventil 35 ein. Die Pumpe 21 für die Erzeugung des erforderlichen Öldrucks kann beiden Hauptwegeventilen 30, 35 gemeinsam sein. Die Pfeile im Sinnbild der Ventile 30, 35 geben die jeweilige Flussrichtung an.
Für die Schaltstellung Parallel-aus wird die Ölmenge durch Steuerung der Sitzventile ausschließlich auf Heben und Senken der Schwinge umgeschaltet. Eine Steuerung des Arbeitsgerätes Schöpfen-Schütten ist in diesem Fall nicht erforderlich.
Wenn kein Eilgang wirksam sein soll, sind die entsprechenden Sitzventile in Figur 8 stromlos. Wenn der Eilgang wirksam sein soll, werden die Sitzventile durch S1 mit Strom umgeschaltet. Bei Ausschaltung des Schalters 39 für die Stromzuführung bleibt die Hydraulik in ihren Grundfunktionen.
In die Ölleitung zwischen den Bodenseiten 15 der Zylinder 23, 29 und den Anschlüssen F und AF der Sitzventile sind zwei Sitzventile 70, 71 eingefügt, die durch Magnetventile 72, 73 von der Betriebsbereitschaft des Frontladers steuerbar sind. Die Steuerung ist so beschaffen, dass die Sitzventile gesperrt sind, wenn die Betriebsbereitschaft des Frontladers abgeschaltet ist (Zündung aus). Bei Einschaltung der Zündung wurden beide Sitzventile (23, 29) geöffnet (voller Durchlass).
Figur 9 zeigt eine detaillierte Schnittdarstellung eines Blocks 50 für eine Steuerung der Bewegungen der Anordnung nach den Figuren 6, 7 oder 8 sowie für eine hydraulisch gesteuerte Parallelführung durch Verwendung einer Kombination von Sitzventilen 36, 37, 38, 26, 27, 43.
Der Block 50 kann einstückig sein, wird aber aus Fertigungsgründen aus Teilblöcken 51, 52, 53 zusammengesetzt. Im Block 50 oder den Teilblöcken 51, 52, 53 sind Leitungen 54 des Ölwegs vorgesehen, bereits vorbestimmt bei der Herstellung des oder der Blöcke oder nachträglich beispielsweise gedreht. Weiterhin sind Anschlussbohrungen 55 für die Zuführung des Arbeitsmediums Öl zu erkennen, die hier mit den üblichen Kennungen bezeichnet sind. Schließlich sind Öffnungen 56 für die Aufnahme der gesteuerten Sitzventile 26, 27, 36, 37, 38 für die Steuerung des Ölflusses in den Ölwegen und Sitzventile 57 für die Lasthaltung in den Ölwegen, Die der Steuerung dienenden Sitzventile sind wie folgt geschaltet:
  • Für die Ein- oder Ausschaltung des Eilgangs: Ventile 26, 27 stromlos aus
       Ventile 26, 27 unter Strom ein.
  • Für die Ein- oder Ausschaltung der Parallelführung
       Ventile 36, 37, 43 stromlos ein
       Ventile 36, 37, 43 unter Strom aus
  • Von den Ventilen sind 26, 36, 38 stromlos offen und 27, 37 zu.
    Figur 9 zeigt somit einen vorgefertigten Block mit vorbestimmten Leitungen und Anschlüssen für einsetzbare einerseits gesteuerte und andrerseits der Lasthaltung dienende Sitzventile und Verbindungen zu Arbeitsgeräten. Dieser Block ist eine kompakte, leckagefreie Steuereinrichtung für einen Frontlader mit Parallelführung und Eilgang.
    Figur 10 zeigt das schematische Diagramm einer 6/2-Mehrwegeventilweiche 60 mit zwei gesteuerten Sitzventilen 61, 62. Jedem Ventil 61, 62 ist ein Magnetventil 63, 64 zugeordnet. Die beiden Sitzventile werden so gesteuert, dass ein Eingang 2a zu einem von zwei Ausgängen 1 a, 3a und ein Eingang (ggf. Rücklauf) 2b zu einem von zwei Ausgängen 1 b, 3b durchgeschaltet wird.
    Figur 11 zeigt einen Schnitt durch einen Block 65 mit den darin vorgefertigten Leitungen 66 und Anschlüssen 1 a, 1 b für die Zuleitungen für den äußeren Ölweg sowie 68, 69 für die gesteuerten Sitzventile 61, 62. Die Abmessungen des Blocks und gegebenenfalls auch die Ansteuerung des Sitzventile kann so bemessen sein, dass die so gefertigte leckagefreie 6/2-Mehrwegeventilweiche mit Sitzventilen, die bisher auf dem Markt üblichen 6/2-Mehrwegeventilweichen mit Steuerkolben ersetzen können. Auf diese Weise können bisher eingesetzte Weichen im Schadensfall problemlos durch die leckagefreien Weichen ersetzt werden.
    Figur 12 zeigt einen anderen Schnitt durch den in Figur 11 dargestellten Block 65 (dort durch Pfeile angedeutet). In Figur 12 sind die beiden Ausgänge 2a, 3a beziehungsweise 2b, 3b sichtbar.
    Bezugszeichenliste
    1
    Ventileinrichtung
    1 a
    Anschluss in Fig. 11 und 12
    1 b
    Anschluss in Fig. 11 und 12
    2
    Hauptwegeventil
    2a
    Anschluss in Fig. 11 und 12
    2b
    Anschluss in Fig. 11 und 12
    3
    Mehrwegeventilweiche
    3a
    Anschluss in Fig. 11 und 12
    3b
    Anschluss in Fig. 11 und 12
    4
    Sitzventil
    5
    Ausgang von Mehrwegventilweiche 3
    6
    Zusatzverbraucher
    7
    erster Verbraucher
    8
    Magnetventil
    9
    Steuerkolben
    10
    Steuergehäuse
    11
    erste Zylinderkammer
    12
    zweite Zylinderkammer
    13
    Steuerung von Sitzventil 4
    14
    Stangenseite von Kippzylinder 23
    15
    Bodenseite von Kippzylinder 23
    16
    Kolben von Kippzylinder 23
    20
    Ölreservoir
    21
    Pumpe
    22
    Eilgangventil in Fig. 4 und 5
    23
    Kippzylinder
    24
    Schaufel
    25
    Eilgangventil in Fig. 6 und 7
    26
    erstes Sitzventil bei einem Eilgangventil
    27
    zweites Sitzventil bei einem Eilgangventil
    28
    Druckventil (Rückschlagventil) an zweitem Sitzventil 27
    29
    Schwinge
    30
    Hauptwegeventil Schwinge
    31
    Magnetventil
    32
    Schalter Eilgang
    33
    Schalter Parallelführung
    34
    Magnetventil Schaufel
    35
    Hauptwegeventil Schaufel
    36
    Sitzventil Heben/Senken
    37
    Sitzventil Heben/Senken
    38
    Sitzventil Heben/Senken
    39
    Schalter für Stromzuführung
    40
    Abstelleinrichtung
    41
    Lasthalteventil
    42
    Lasthalteventil
    43
    Sitzventil im Block 65
    50
    Block
    51
    Teilblock
    52
    Teilblock
    53
    Teilblock
    54
    innere Leitungen
    55
    Anschlüsse
    56
    Öffnungen
    57
    Sitzventile Lasthaltung
    60
    6/2 Mehrwegventilweiche
    61
    Sitzventil
    62
    Sitzventil
    63
    Magnetventil
    64
    Magnetventil
    65
    Block
    66
    innere Leitungen
    68
    Anschluss für Sitzventile
    69
    Anschluss für Sitzventile
    70, 71
    Sitzventile
    72, 73
    Sitzventile (von Zündung gesteuert)
    S1
    Schalter für Eilgang bzw. Parallelführung
    S2
    Schalter für Eilgang bzw. Parallelführung
    A
    Eingang zum Hauptwegeventil
    A1
    Ausgang zum ersten Verbraucher
    A2
    Ausgang zum zusätzlichen Verbraucher
    B
    Eingang zum Hauptwegeventil
    B1
    Ausgang zum ersten Verbraucher
    B2
    Ausgang zum zusätzlichen Verbraucher
    FR
    Ausgang für Eilgangventil
    FO
    Ausgang für Eilgangventil

    Claims (16)

    1. Hydraulische Steuereinrichtung mit hydraulisch über einen gesteuerten oder steuerbaren Ölweg (5) betriebene, doppelt wirkende Zylinder (23, 24) aufweisende Frontlader, bei der dem Ein- und/oder Ausgang des Zylinders (23, 24) ein manuell, gesteuert oder automatisch einstellbares Sitzventil (4, 25, 26, 27, 36, 37, 38) so zugeordnet ist, dass der gesteuerte Ölweg (5) durch das oder die Sitzventile (4, 25, 26, 27, 36, 37, 38) willkürlich schließbar und/oder zu öffnen ist,
      dadurch gekennzeichnet, dass die Öffnung oder Schließung des Sitzventils (4, 25, 26, 27, 36, 37, 43) im Hydraulikweg (5) zusammen, gleichzeitig und gleichsinnig mit der des Steuerventils (2, 3) erfolgt, wobei die Größe des Hydraulikflusses nur über das Steuerventil (2, 3) bestimmt wird.
    2. Hydraulische Steuereinrichtung (1) nach Anspruch 1,
      dadurch gekennzeichnet, dass bei einer Eilgangventileinrichtung jedem der beiden Ausgänge (A2, B2, FO, FR) ein Sitzventil (26, 27) zugeordnet ist.
    3. Hydraulische Steuereinrichtung (1) nach Anspruch 1, 2 oder 3,
      dadurch gekennzeichnet, dass das Sitzventil oder die Sitzventile (4, 25, 26, 27, 36, 37, 38) fest mit dem Ausgang oder den Ausgängen (A2, B2) verbunden ist (sind).
    4. Hydraulische Steuereinrichtung nach Anspruch 1, 2, 3 oder 4,
      dadurch gekennzeichnet, dass das Sitzventil (4, 25, 26, 27, 36, 37, 38) in den Ausgang (A2) eingeschraubt ist.
    5. Hydraulische Steuereinrichtung (1) nach Anspruch 1, 2, 3, 4 oder 5,
      dadurch gekennzeichnet, dass bei einer 6/2-Wegeventilweiche mit einem in einem doppeltwirkenden Steuergehäuse (10) bewegbar angeordneten Steuerkolben (9), der im Steuergehäuse (10) zwei Steuergehäusekammern (11, 12) mit je einem Ausgang (A1, B1, A2, B2) bildet, denen zwei Eingänge (A, B) zugeordnet sind (Hin- und Rückleitung), das mit einem Zusatzverbraucher (6) verbundene Paar (Hin- und Rückleitung A2, B2) nur auf dem Ausgang (A2) für die Hinleitung mit dem Sitzventil (4, 25, 26, 27) versehen ist.
    6. Hydraulische Steuereinrichtung (1) nach einem der Ansprüche 1 bis 5,
      dadurch gekennzeichnet, dass von zwei Sitzventilen (26, 27) ein Sitzventil stromlos offen und das andere Sitzventil stromlos geschlossen ist.
    7. Hydraulische Steuereinrichtung (1) nach einem der Ansprüche 1 bis 5,
      dadurch gekennzeichnet, dass von zwei Sitzventilen (26, 27) eines unter Strom offen und das andere unter Strom geschlossen ist.
    8. Hydraulische Steuereinrichtung (1) nach einem der Ansprüche 1 bis 7,
      dadurch gekennzeichnet, dass beide Sitzventile (41, 42) eine Einheit bilden.
    9. Hydraulische Steuereinrichtung (1) nach einem der Ansprüche 1 bis 8,
      dadurch gekennzeichnet, dass die beiden Sitzventile (26, 27) einen gemeinsamen Ein beziehungsweise Ausgang und zwei getrennte Ein beziehungsweise Ausgänge haben.
    10. Hydraulische Steuereinrichtung (1) nach einem der vorstehenden Ansprüche,
      dadurch gekennzeichnet, dass das eine Sitzventil stromlos offen und unter Strom geschlossen und das andere Sitzventil stromlos geschlossen und unter Strom offen ist.
    11. Hydraulische Steuereinrichtung (1) nach einem der vorstehenden Ansprüche für die Steuerung eines Werkzeugs (24), insbesondere der Schaufel eines Frontladers oder dergleichen,
      dadurch gekennzeichnet, dass zwei Sitzventile (26, 27) mit einem gemeinsamen Ausgang und zwei getrennten Eingängen vorgesehen sind, von denen der eine Eingang mit dem einen Ausgang eines den Öldruck bereitstellenden Hauptwegeventils (2) und der andere Eingang mit dem anderen Ausgang des Hauptwegeventils verbindbar ist,
      dass beide Ausgänge Hin- oder Rückleitung bilden,
      dass für das Hauptwegeventil (2) Umschaltmittel zur Vertauschung (Schütten, Schöpfen) der Hin- und Rückleitung vorgesehen sind, dass für die beiden Sitzventile eine erste Schaltstellung (0 oder 1) einstellbar ist, in der das eine Sitzventil stromlos offen und das andere Sitzventil stromlos geschlossen ist,
      dass für die beiden Sitzventile eine zweite Schaltstellung (1 oder 0) einstellbar ist, in der das eine Sitzventil unter Strom geschlossen und das andere Sitzventil unter Strom offen ist,
      dass der gemeinsame Ausgang der beiden Sitzventile mit einer Kammer eines das Werkzeug antreibenden Kippzylinders (23) und der Eingang eines vor den Eingang eines der beiden Sitzventile geschalteten Druckventils (28) mit der anderen Kammer des Kippzylinders (23) verbunden ist, und
      dass eine der beiden Schaltstellungen für die Sitzventile dem normalen Schöpf- und Schüttvorgang zugeordnet ist und die andere dem Schüttvorgang im Eilgangbetrieb.
    12. Hydraulische Steuereinrichtung (1) nach einem der Ansprüche 1 bis 10 für die Steuerung der Schwinge (29) eines Frontladers oder dergleichen,
      dadurch gekennzeichnet, dass drei Sitzventile (36, 37, 38) vorgesehen sind, von denen das eine (36) mit dem einen Ausgang eines den Öldruck bereitstellenden Hauptwegeventils (2, 30) und das andere (37) mit dem anderen Ausgang des Hauptwegeventils (2, 30) in den Ölweg eingefügt verbindbar ist, dass beide Ausgänge des Hauptwegeventils Hin- oder Rückleitung bilden, dass für das Hauptwegeventil (2, 30) Umschaltmittel (31) zur Vertauschung (Heben, Senken) der Hin- und Rückleitung vorgesehen sind,
      dass für die drei Sitzventile (36, 37, 38) eine erste Schaltstellung (0 oder 1) einstellbar ist, in der zwei Sitzventile (36, 37) offen oder geschlossen und das dritte Sitzventil (38) geschlossen oder offen sind,
      dass für die drei Sitzventile (36, 37, 38) eine zweite Schaltstellung (1 oder 0) einstellbar ist, in der zwei Sitzventile geschlossen oder offen und das dritte Sitzventil (38) offen oder geschlossen sind,
      dass die drei Sitzventile (36, 37, 38) dem mit dem Schwingenzylinder (23) verbundenen Ölweg so zugeordnet sind, dass in der ersten Schaltung (0) die Parallelführung eingeschaltet und in der zweiten Schaltung die Parallelführung ausgeschaltet ist,
      dass in beiden Schaltstellungen (0, 1) die Sitzventile (36, 37) der Einstellung Hebevorgang oder Senkvorgang des Hauptwegeventils dienen, und
      dass in der zweiten Schaltstellung (1) das dritte Sitzventil (38) die Hinleitung des Ölwegs zum Schwingenzylinder durchschaltet und die Lasthalteventile überbrückt.
    13. Hydraulische Steuereinrichtung (1) nach einem der Ansprüche 1 bis 12,
      dadurch gekennzeichnet, dass das Sitzventil (4, 25, 26, 27, 36, 37, 43) im Hydraulikweg (5) zwischen dem Ausgang (A2) eines der Umsteuerung des Ölstroms dienenden Ventils (3), insbesondere einer Mehrwegeventilweiche (3) und einem Verbraucher (6) angeordnet ist, und
      dass das Sitzventil (4, 25, 26, 27) zusammen, gleichzeitig und gleichsinnig mit dem Ventil (3) angesteuert wird, insbesondere für diesen Hydraulikweg (5) zusammen mit dem Ventil (3) geschlossen oder geöffnet wird.
    14. Hydraulische Steuereinrichtung (1) nach einem der Ansprüche 1 bis 13,
      dadurch gekennzeichnet, dass ein Block mit eingearbeiteten Leitungen und Anschlüssen für Sitzventile vorgesehen ist.
    15. Hydraulische Steuereinrichtung (1) nach einem der Ansprüche 1 bis 14,
      dadurch gekennzeichnet, dass ein Block mit eingearbeiteten Leitungen und Anschlüssen für Sitzventile vorgesehen ist, von denen zwei Sitzventile (26, 27) für die Steuerung der Schaufel und drei Sitzventile (36, 37, 38) für die Steuerung der Schwinge vorgesehen sind.
    16. Hydraulische Steuereinrichtung (1) nach einem der Ansprüche 1 bis 15,
      dadurch gekennzeichnet, dass in die Ölleitung zwischen den Bodenseiten (15) der Schwingenzylinder (29) und Kippzylinder (23) oder dergleichen und den Anschlüssen F, AF Sitzventile (70, 71) eingefügt sind,
      deren Magnete (72, 73) mit der Betriebsbereitschaft (Zündung 39) verbunden sind, wobei
      die Sitzventile (70, 71) stromlos (bei ausgeschalteter Zündung 39) geschlossen und bei eingeschalteter Zündung (39) offen sind.
    EP05008582A 2004-04-23 2005-04-20 Hydraulische Steuereinrichtung Withdrawn EP1589232A3 (de)

    Priority Applications (1)

    Application Number Priority Date Filing Date Title
    EP07017554A EP1890044A1 (de) 2004-04-23 2005-04-20 Hydraulische Steuereinrichtung

    Applications Claiming Priority (2)

    Application Number Priority Date Filing Date Title
    DE200410020371 DE102004020371A1 (de) 2004-04-23 2004-04-23 Hydraulische Steuereinrichtung
    DE102004020371 2004-04-23

    Related Child Applications (1)

    Application Number Title Priority Date Filing Date
    EP07017554A Division EP1890044A1 (de) 2004-04-23 2005-04-20 Hydraulische Steuereinrichtung

    Publications (2)

    Publication Number Publication Date
    EP1589232A2 true EP1589232A2 (de) 2005-10-26
    EP1589232A3 EP1589232A3 (de) 2006-03-29

    Family

    ID=34935420

    Family Applications (2)

    Application Number Title Priority Date Filing Date
    EP07017554A Withdrawn EP1890044A1 (de) 2004-04-23 2005-04-20 Hydraulische Steuereinrichtung
    EP05008582A Withdrawn EP1589232A3 (de) 2004-04-23 2005-04-20 Hydraulische Steuereinrichtung

    Family Applications Before (1)

    Application Number Title Priority Date Filing Date
    EP07017554A Withdrawn EP1890044A1 (de) 2004-04-23 2005-04-20 Hydraulische Steuereinrichtung

    Country Status (2)

    Country Link
    EP (2) EP1890044A1 (de)
    DE (1) DE102004020371A1 (de)

    Cited By (2)

    * Cited by examiner, † Cited by third party
    Publication number Priority date Publication date Assignee Title
    CN112010238A (zh) * 2020-09-28 2020-12-01 安庆联动属具股份有限公司 一种带有液压控制回路系统的快速倾倒翻箱器
    CN113970008A (zh) * 2021-10-16 2022-01-25 山东锐凯工程机械有限公司 一种液压挖掘机用多路阀自动控制方法及系统

    Families Citing this family (1)

    * Cited by examiner, † Cited by third party
    Publication number Priority date Publication date Assignee Title
    EP2837833A3 (de) * 2013-08-05 2015-05-27 Tries GmbH & CO. KG Handsteuergeber für eine hydraulische Steuerung

    Family Cites Families (21)

    * Cited by examiner, † Cited by third party
    Publication number Priority date Publication date Assignee Title
    DE8416495U1 (de) * 1984-08-23 Knopff, Dieter, 3330 Helmstedt Steuerungsvorrichtung für hydraulische Arbeitsglieder
    US2754018A (en) * 1953-07-13 1956-07-10 Yale & Towne Mfg Co Hydraulic power lines for industrial truck
    US3512453A (en) * 1968-05-22 1970-05-19 Caterpillar Tractor Co System for actuation of hydraulic motors on tractor powered implements
    DE2536106A1 (de) * 1975-08-13 1977-02-24 Hubert Odenthal Lastabsicherungsventil
    DE2834480C2 (de) * 1978-08-05 1986-01-02 Baas Technik GmbH, 2000 Wedel Steuereinrichtung eines Schaufelladers od.dgl.
    DE8029716U1 (de) * 1980-11-07 1982-04-15 Robert Bosch Gmbh, 7000 Stuttgart Hydraulische Steuereinrichtung für zwei Arbeitszylinder
    US4359931A (en) * 1981-01-19 1982-11-23 The Warner & Swasey Company Regenerative and anticavitation hydraulic system for an excavator
    DE3705170C1 (de) * 1987-02-18 1988-08-18 Heilmeier & Weinlein Hydraulische Steuervorrichtung
    US5207059A (en) * 1992-01-15 1993-05-04 Caterpillar Inc. Hydraulic control system having poppet and spool type valves
    EP0620370B2 (de) * 1992-10-29 2000-12-06 Hitachi Construction Machinery Co., Ltd. Hydraulische Steuerventilvorrichtung und hydraulisches Antriebssystem
    US5331882A (en) * 1993-04-05 1994-07-26 Deere & Company Control valve system with float valve
    DE4436548C2 (de) * 1994-10-13 2000-12-21 Mannesmann Rexroth Ag Ventilanordnung zur Betätigung eines hydraulischen Verbrauchers
    JP3084549B2 (ja) * 1995-02-16 2000-09-04 新キャタピラー三菱株式会社 チルト式ツーウェイドーザの油圧回路
    JP3691593B2 (ja) * 1996-07-05 2005-09-07 株式会社豊田自動織機 荷役用油圧装置
    DE29716082U1 (de) * 1997-09-06 1997-11-27 Hans Sauter GmbH Landtechnik - Stahlbau, 87778 Stetten 413-Wege-Kugelhahnkombination zum Einbau in die Zuleitung von doppeltwirkenden Zylindern
    DE19834955B4 (de) * 1998-08-03 2008-02-07 Linde Material Handling Gmbh Hydrostatisches Antriebssystem
    JP3839633B2 (ja) * 2000-02-07 2006-11-01 三陽機器株式会社 油圧制御装置
    DE10006908A1 (de) * 2000-02-16 2001-08-23 Caterpillar Sarl Genf Geneva Hydraulische Kolbenzylindereinheit für landwirtschaftliche Arbeitsmaschinen
    DE10034931B4 (de) * 2000-07-18 2011-03-10 Linde Material Handling Gmbh Steuerventileinrichtung
    DE10150993A1 (de) * 2001-10-12 2003-04-17 Weidemann Gmbh & Co Kg Schnellauskippventil
    JP2005098455A (ja) * 2003-09-26 2005-04-14 Mitsubishi Heavy Ind Ltd 産業機械の油圧制御装置

    Non-Patent Citations (1)

    * Cited by examiner, † Cited by third party
    Title
    None *

    Cited By (3)

    * Cited by examiner, † Cited by third party
    Publication number Priority date Publication date Assignee Title
    CN112010238A (zh) * 2020-09-28 2020-12-01 安庆联动属具股份有限公司 一种带有液压控制回路系统的快速倾倒翻箱器
    CN113970008A (zh) * 2021-10-16 2022-01-25 山东锐凯工程机械有限公司 一种液压挖掘机用多路阀自动控制方法及系统
    CN113970008B (zh) * 2021-10-16 2024-02-27 山东锐凯工程机械有限公司 一种液压挖掘机用多路阀自动控制方法及系统

    Also Published As

    Publication number Publication date
    EP1589232A3 (de) 2006-03-29
    DE102004020371A1 (de) 2005-11-10
    EP1890044A1 (de) 2008-02-20

    Similar Documents

    Publication Publication Date Title
    EP0620371B1 (de) Hydrauliksystem zur Versorgung offener oder geschlossener Hydraulikfunktionen
    DE102007054137A1 (de) Hydraulische Ventilvorrichtung
    DE112020004605T5 (de) Ein hydrauliksystem für regenerative steuerung
    DE69803100T2 (de) Druckbegrenzungsmechanismus und hydraulischer Schaltkreis mit Druckbegrenzungsmechanismus
    DE10310314B4 (de) Antriebsanordnung, insbesondere Hebevorrichtung eines Arbeitsfahrzeugs
    EP1589232A2 (de) Hydraulische Steuereinrichtung
    EP0965763B1 (de) Hydraulische Steuervorrichtung
    EP2360380B1 (de) Hydraulisches Steuerventil für einen einseitig arbeitenden Differentialzylinder mit fünf Steuerkanten
    DE102009034286B3 (de) Hydraulische Schaltungsanordnung zum Steuern eines doppelt wirkenden Arbeitszylinders mittels eine fünf Anschlüsse aufweisenden Steuerventils
    DE3534387A1 (de) Vorgesteuertes 3/2-wegesitzventil
    DE2735558C2 (de)
    DE2904293C2 (de)
    DE4030950A1 (de) Hydraulische steuereinrichtung
    DE3431103C2 (de)
    EP1574720A1 (de) Elektrohydraulische Steuervorrichtung
    DE3629471A1 (de) Hydraulische steuereinrichtung
    DE19930101A1 (de) Schaltvorrichtung für eine Arbeitsmaschine
    DE2244445B2 (de) Hydraulische Einrichtung zum Steuern der Druckmittelwege in einer Anlage mit wenigstens einem doppeltwirkenden Servomotor
    DE3731297C1 (de) Schaltventilanordnung
    DE19646425A1 (de) Ventilanordnung
    DE1776176C3 (de) Hydraulische Steuerventileinrichtung
    EP1419910A2 (de) Hydropneumatische Federung
    DE19749639A1 (de) Hydraulische Schaltung
    DE19630798A1 (de) Vorsteuerung für zwei hydraulisch betätigbare Wegeventile
    CH649651A5 (en) Hydraulic-oil drive device for power circuit breakers

    Legal Events

    Date Code Title Description
    PUAI Public reference made under article 153(3) epc to a published international application that has entered the european phase

    Free format text: ORIGINAL CODE: 0009012

    AK Designated contracting states

    Kind code of ref document: A2

    Designated state(s): AT BE BG CH CY CZ DE DK EE ES FI FR GB GR HU IE IS IT LI LT LU MC NL PL PT RO SE SI SK TR

    AX Request for extension of the european patent

    Extension state: AL BA HR LV MK YU

    RIC1 Information provided on ipc code assigned before grant

    Ipc: 7F 15B 13/00 B

    Ipc: 7F 15B 11/16 B

    Ipc: 7F 15B 11/024 B

    Ipc: 7E 02F 3/65 B

    Ipc: 7E 02F 9/22 B

    Ipc: 7F 15B 13/01 B

    Ipc: 7F 15B 11/00 A

    PUAL Search report despatched

    Free format text: ORIGINAL CODE: 0009013

    AK Designated contracting states

    Kind code of ref document: A3

    Designated state(s): AT BE BG CH CY CZ DE DK EE ES FI FR GB GR HU IE IS IT LI LT LU MC NL PL PT RO SE SI SK TR

    AX Request for extension of the european patent

    Extension state: AL BA HR LV MK YU

    17P Request for examination filed

    Effective date: 20060922

    AKX Designation fees paid

    Designated state(s): AT BE BG CH CY CZ DE DK EE ES FI FR GB GR HU IE IS IT LI LT LU MC NL PL PT RO SE SI SK TR

    17Q First examination report despatched

    Effective date: 20070205

    STAA Information on the status of an ep patent application or granted ep patent

    Free format text: STATUS: THE APPLICATION IS DEEMED TO BE WITHDRAWN

    18D Application deemed to be withdrawn

    Effective date: 20071101