EP1569321A2 - Schwingmotor - Google Patents
Schwingmotor Download PDFInfo
- Publication number
- EP1569321A2 EP1569321A2 EP04026583A EP04026583A EP1569321A2 EP 1569321 A2 EP1569321 A2 EP 1569321A2 EP 04026583 A EP04026583 A EP 04026583A EP 04026583 A EP04026583 A EP 04026583A EP 1569321 A2 EP1569321 A2 EP 1569321A2
- Authority
- EP
- European Patent Office
- Prior art keywords
- swing motor
- opening
- stator
- rotor
- salient poles
- Prior art date
- Legal status (The legal status is an assumption and is not a legal conclusion. Google has not performed a legal analysis and makes no representation as to the accuracy of the status listed.)
- Granted
Links
Images
Classifications
-
- E—FIXED CONSTRUCTIONS
- E03—WATER SUPPLY; SEWERAGE
- E03D—WATER-CLOSETS OR URINALS WITH FLUSHING DEVICES; FLUSHING VALVES THEREFOR
- E03D13/00—Urinals ; Means for connecting the urinal to the flushing pipe and the wastepipe; Splashing shields for urinals
- E03D13/005—Accessories specially adapted for urinals
-
- H—ELECTRICITY
- H02—GENERATION; CONVERSION OR DISTRIBUTION OF ELECTRIC POWER
- H02K—DYNAMO-ELECTRIC MACHINES
- H02K33/00—Motors with reciprocating, oscillating or vibrating magnet, armature or coil system
- H02K33/12—Motors with reciprocating, oscillating or vibrating magnet, armature or coil system with armatures moving in alternate directions by alternate energisation of two coil systems
-
- H—ELECTRICITY
- H02—GENERATION; CONVERSION OR DISTRIBUTION OF ELECTRIC POWER
- H02K—DYNAMO-ELECTRIC MACHINES
- H02K33/00—Motors with reciprocating, oscillating or vibrating magnet, armature or coil system
- H02K33/02—Motors with reciprocating, oscillating or vibrating magnet, armature or coil system with armatures moved one way by energisation of a single coil system and returned by mechanical force, e.g. by springs
Definitions
- the present invention relates to a swing motor reciprocated within a predetermined interval, and more particularly to a swing motor adapted to an appliance restricted in height by designing a motor structure with an asymmetric opening, preferably a semicircular opening formed inside a stator of a swing motor so as to accomplish reciprocation as well as to reduce the height of the swing motor.
- the conventional swing motor as shown in Fig. 1, includes a stator 1, a rotor 2, and a spiral spring 3.
- the rotor 2 is installed inside the stator 1 in a state of being spaced apart from the stator 1, and is moved reciprocally by a magnetic field generated when an electric current is applied to the stator 1.
- the spiral spring 3 is connected to the rotor 2 to move the rotor 2 reciprocally.
- the rotor 2 moves reciprocally within a predetermined interval by using a resonant system of the spiral spring 3 like a linear motor.
- the swing motor is formed with a space, called an opening, for disposing the rotor 2 inside the stator 1 in a state of being spaced apart from the stator 1.
- the opening is formed with salient poles facing the rotor 2.
- Fig. 2 is a cross sectional view of the stator 1 of the swing motor. As shown in Fig. 2, the stator 1 is formed with a circular opening thereinside. The opening is formed with salient poles a, b, c, and d protruding toward the rotor 2.
- the salient poles a, b, c, and d are wound with coils to connect the salient pole a with the salient pole c, and to connect the salient pole b with the salient pole d.
- the salient pole b When an electric current is applied to the coil of the salient poles b and d, a magnetic flux is generated in the direction B-B'. At that time, the salient pole b is magnetized to have an S-pole, and the salient pole d is magnetized to have an N-pole.
- the rotor 2 in the case of applying electric current to the coils wound around the stator 1, the rotor 2 does not rotate, but moves in the directions A-A' and B-B' of the magnetic field generated by the applied electric current.
- the rotor 2 rotates clockwise by a predetermined angle when the magnetic flux is generated in the direction A-A'. After this, the rotor 2 returns to the initial position. The rotor 2 rotates counterclockwise by a predetermined angle when the magnetic flux is generated in the direction B-B'.
- the swing motor moves reciprocally within the predetermined angle without a mechanical device for transforming a rotational movement into a reciprocating movement.
- the conventional swing motor is provided with the salient poles, which are formed in the opening in the stator, facing the rotor.
- the salient poles have a symmetrical structure such as a circular shape.
- the stator of the swing motor must have a predetermined height. If not, the symmetric salient poles may not be formed. For this reason, the volume of the swing motor is increased, and the miniaturization of the products installed with the swing motor has reached its limits.
- the present invention has been made in view of the above and/or other problems, and it is an object of the present invention to provide a swing motor formed with an asymmetric opening such as a semicircular opening inside a stator so as to provide reciprocal movement to a rotor within a magnetic field and to reduce the height of the stator.
- a swing motor including a rotor being rotated by a magnetic field, a stator being formed with an asymmetric opening to rotate the rotor in right or left directions at a predetermined angle, and provided with a plurality of salient poles at the opening, coils, wound around the salient poles, for generating the magnetic field when an electric current flows, and a spiral spring, connected to the rotor, for returning the rotor to an initial position.
- the asymmetric opening in the stator has a shape formed by cutting a lower part of a polygonal shape or a semicircular shape.
- opening is provided with a plurality of salient poles, which preferably protrude toward the rotor.
- the salient poles are wound with coils, respectively. If electric current alternately flows through the coils wound around the salient poles, magnetic field is generated at the stator. At this time, the magnetic field is alternately generated at the salient poles in accordance with change of the electric current so that the rotor can reciprocally move at a predetermined angle.
- the rotor By simply forming two salient poles, the rotor can reciprocally move.
- two coils are wound around respective salient poles.
- the coils may be electrically connected to an electric power source by disposing a switching device such as a diode so as to apply electric power alternately to the coils.
- the switching device such as a diode, connected to the electric power source, conducts electric current to the coils alternately when the alternating current electric power is positive or negative.
- the coils conduct so that the magnetic field is generated at one of the salient poles wound with the coils.
- the opening may be formed with slits at lower and upper central positions of the opening.
- the magnetic field is generated only at a part of the salient pole of the semicircular opening by the slit, the other salient pole is not affected and leakage of magnetic flux can be prevented.
- Fig. 3 is a perspective view showing a swing motor according to the present invention
- Fig. 4 is a cross sectional view of a stator of the swing motor according to a first embodiment of the present invention
- Fig. 5 is a cross sectional view of the stator of the swing motor according to a second embodiment of the present invention.
- Fig. 6 is a circuit diagram illustrating the connection of coils wound around salient poles of the swing motor according to the present invention.
- Figs. 7a, 7b, and 7c are cross sectional views of the stator of the swing motor according to the present invention illustrating motions of a rotor in accordance with the application of electric current to the coils.
- the swing motor according to the present invention includes a stator 10, a rotor 20, and a spiral spring 30.
- the rotor 20 is rotated by a magnetic field generated from the stator 10.
- the spiral spring 30 restores the rotor 20 to an initial position and is connected with the rotor 20.
- the stator 10 is formed with an asymmetric opening thereinside, and the opening is provided with a plurality of salient poles 11 and 12.
- the height of the swing motor can be reduced by forming the opening inside the stator 10 asymmetrically.
- the opening may be formed in a semicircular shape as a first embodiment for forming the opening asymmetrically.
- a part of a lower side of a polygonal opening is cut horizontally, and thus the opening has an asymmetric shape.
- the plurality of salient poles 11 and 12 protrude toward the rotor 20.
- the opening is preferably formed with two salient poles 11 and 12 for the reciprocal movement of the rotor 20.
- the number of the salient poles is two, i.e., a first salient pole 11 and a second salient pole 12.
- the first and second salient poles 11 and 12 are wound with first and second coils 11a and 12a, respectively, and electric current flows in the coils 11a and 12a by an electric power applied to the swing motor.
- the electric power source is connected to a switching device. Therefore, if the electric power is alternating current, the two coils 11a and 12a alternately conduct in accordance with the change between a positive polarity and a negative polarity of the electric power source so that magnetic flux is generated.
- Fig. 4 is a cross sectional view of the stator 10 of the swing motor according to the first embodiment of the present invention. As shown in the drawing, the opening has a semicircular shape, and is formed with the first and second salient poles 11 and 12. The first and second coils 11a and 12a are wound around the salient poles 11 and 12.
- the stator 10 is formed with recess-shaped slits 18 and 19 at an upper central position of the opening inside the stator 10.
- the slits 18 and 19 serve to prevent leakage of the magnetic flux when the magnetic field is generated at the stator 10 by applying electric current to the first and second coils 11a and 12a wound around the first and second salient poles 11 and 12.
- Fig. 5 is a cross sectional view of the stator 10 of the swing motor according to the second embodiment of the present invention.
- the stator 10 according to the second embodiment of the present invention has a structure identical to that of the stator 10 according to the first embodiment of the present invention, except that the opening has a cross section formed by cutting a part of a polygonal shape.
- Fig. 6 is a circuit diagram illustrating a circuit in which an alternating current electric power E is applied to the first and second coils 11a and 12a wound around the first and second salient poles 11 and 12 in the opening. Since the circuit is provided with diodes D1 and D2, the first and second coils 11a and 12a are alternately conducted by the electric current, respectively.
- the diode D1 which is connected to the first coil 11a wound around the first salient pole 11, conducts when the alternating current electric power E is positive. At that time, electric current flows through the first coil 11a so as to generate the magnetic field at the first salient pole 11. On the contrary, if the alternating current electric power E is negative, electric current flows through the second coil 12a wound around the second salient pole 12. Therefore, the magnetic field is generated at the second salient pole 12. By doing this, rotational torque is generated to rotate the rotor 12.
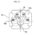
- Figs. 7a, 7b, and 7c are cross sectional views illustrating the motions of a rotor of a swing motor according to the present invention.
- Figs. 7a, 7b, and 7c are cross sectional views of a swing motor including a stator 10 and a rotor 20, and illustrate that a semicircular opening is formed inside the stator 10.
- the above drawings show cross sectional views in the case of forming the opening in the semicircular shape.
- the cross sectional views are depicted by placing a planar surface of the opening on the ground and cutting the swing motor in a direction vertical to the ground.
- the vertical lengths in the cross sectional views represent the height of the swing motor.
- Fig. 7a is a cross sectional view of the swing motor illustrating that the alternating current flows through a first coil 11a wound around the first salient pole 11. At this time, a magnetic field generated at a first salient pole 11 is depicted by a dotted line.
- the swing motor depicted in the cross sectional views, as described above, include the stator 10 and the rotor 20.
- the stator 10 is formed with the opening thereinside, and the above drawings depict the opening in a semicircular shape.
- the opening is provided with first and second salient poles 11 and 12.
- the first and second salient poles 11 and 12 are wound with the first and second coils 11a and 12a, respectively, and alternately conduct in accordance with the polarity of the alternating current power source E to be applied thereto.
- the opening is provided with slits 18 and 19 at lower and upper central positions thereof. If the electric current flows through the first and second coils 11a and 12a, the magnetic field is generated only at a part of the semicircular opening.
- Figs. 7a and 7b are cross sectional views of the swing motor taken in the same direction as shown in Fig. 7a.
- the structure of the swing motor shown in Figs. 7a and 7b is identical to the structure of the swing motor shown in Fig. 7a.
- a zero-crossing region is a region near where the polarity of the electric power source E, applied to the first and second coils 11a and 12a, is changed from a positive polarity to a negative polarity or from a negative polarity to a positive polarity, that is, a place where the polarity of the electric power source becomes 0 (zero) (zero-crossing).
- Fig. 7b shows that the rotor 20 is returned to the initial position by elastic force of a spiral spring 30 due to the resonance force at the zero-crossing region.
- the swing motor according to the present invention is formed with the asymmetric-shaped opening inside the stator 10.
- the asymmetric-shaped opening is formed in a semicircular shape as an embodiment.
- the opening of the stator 10 is installed with the rotor 20 in a state of being spaced apart from the stator 10. If the magnetic field is generated at the stator 10, the rotor 20 rotates in a right direction or a left direction due to the rotational torque caused by the magnetic field.
- the opening of the stator 10 is provided with a plurality of salient poles 11 and 12.
- the salient poles 11 and 12 protrude toward the rotor 20.
- the number of the salient poles is usually two, that is, the first salient pole 11 and the second salient pole 12 are usually provided.
- the salient poles 11 and 12 are wound with the first and second coils 11a and 12a, respectively. If electric current flows through the coils 11a and 12a, the coils 11a and 12a alternately conduct so that the rotor 20 is reciprocally moved by the rotation in the right-side direction and the left-side direction.
- the coils 11a and 12a are wound in the opposite directions, respectively.
- the coils 11a and 12a wound in the opposite directions are connected to each other via a switching device for alternately applying electric current to the first and second coils 11a and 12a.
- the coils 11a and 12a are connected to each other via the diodes D1 and D2 disposed between the power source E and the first and second coils 11a and 12a.
- the electric current flowing through the first coil 11a flows in a direction from a center of the opening to a right lower side as seen in the cross sectional view of the stator 10.
- the magnetic field caused by the electric current flowing through the first coil 11a is generated in a direction represented by a dotted line in Fig. 7a.
- the N-pole is generated at the salient pole 11.
- the second diode D2 conducts. At that time, the electric current caused by the applied alternating current electric power E flows through the second coil 12a wound around the second salient pole 12.
- the electric current flows through the second coil 12a in a direction from the center of the opening to a left lower side. This direction is opposite to the direction of the electric current when the alternating current electric power E is positive.
- the magnetic field is generated at the second salient pole 12 and the direction of the magnetic field is identical to the direction of a dotted line shown in Fig. 7c, so that the second salient pole 12 has an S-pole.
- the alternating electric current electric power E is changed from positive to negative and from negative to positive alternately according to a predetermined frequency.
- a rotational torque is generated to rotate the rotor 20 right at a predetermined angle in accordance with the magnetic field generated at the first salient pole 11 when the alternating current electric power E is positive.
- the magnetic field is generated at the second salient pole 12 so that a rotational torque is generated to rotate the rotor 20 left at a predetermined angle.
- the rotor 20 rotates right or left at a predetermined angle which ranges 0 degree to 180 degree. Due to this, the rotor 20 reciprocally moves.
- the predetermined angle has a large value or a small value in accordance with the magnitude of the applied alternating current electric power E and turns of the coils.
- the rotor 20 is returned to the initial position by the elastic force of the spiral spring 30 due to the resonance force at the zero-crossing region where the polarity of the applied alternating current electric power E is changed from positive to negative or from negative to positive. Thereby, the reciprocation of the rotor 20 is accelerated when the direction of the movement of the rotor 20 is changed.
- the semicircular opening formed inside the stator 10 may be formed with the slits 18 and 19 at the lower and upper central positions of the opening.
- the magnetic field generated by the electric current flowing through the first and second coils 11a and 12a, is prevented from leaking, so that the rotational torque caused by the magnetic field is increased and the rotational force of the rotor 20 is also increased.
- the swing motor has an asymmetric structure such as a semicircular shape, or the like, by cutting parts of the symmetrical stator and opening.
- the swing motor can be simply constructed to reciprocally move. Therefore, the manufacturing costs as well as the height of the swing motor can be reduced so that it is possible to minimize the size of the product in which the swing motor is installed.
Landscapes
- Engineering & Computer Science (AREA)
- Power Engineering (AREA)
- Health & Medical Sciences (AREA)
- Life Sciences & Earth Sciences (AREA)
- Hydrology & Water Resources (AREA)
- Public Health (AREA)
- Water Supply & Treatment (AREA)
- Reciprocating, Oscillating Or Vibrating Motors (AREA)
- Iron Core Of Rotating Electric Machines (AREA)
- Synchronous Machinery (AREA)
Applications Claiming Priority (2)
| Application Number | Priority Date | Filing Date | Title |
|---|---|---|---|
| KR2004005685 | 2004-01-29 | ||
| KR10-2004-0005685A KR100529946B1 (ko) | 2004-01-29 | 2004-01-29 | 회전공진형 모터 |
Publications (3)
| Publication Number | Publication Date |
|---|---|
| EP1569321A2 true EP1569321A2 (de) | 2005-08-31 |
| EP1569321A3 EP1569321A3 (de) | 2012-02-29 |
| EP1569321B1 EP1569321B1 (de) | 2013-09-25 |
Family
ID=34747921
Family Applications (1)
| Application Number | Title | Priority Date | Filing Date |
|---|---|---|---|
| EP04026583.7A Expired - Lifetime EP1569321B1 (de) | 2004-01-29 | 2004-11-09 | Schwingmotor |
Country Status (5)
| Country | Link |
|---|---|
| US (1) | US7279815B2 (de) |
| EP (1) | EP1569321B1 (de) |
| JP (1) | JP4041120B2 (de) |
| KR (1) | KR100529946B1 (de) |
| CN (1) | CN100588089C (de) |
Cited By (2)
| Publication number | Priority date | Publication date | Assignee | Title |
|---|---|---|---|---|
| RU2440660C2 (ru) * | 2008-09-24 | 2012-01-20 | Магомед Хабибович Магомедов | Возбудитель механических колебаний |
| WO2011069897A3 (de) * | 2009-12-07 | 2012-03-01 | Robert Bosch Gmbh | Elektromagnet zum verstellen eines stellglieds und korrespondierendes crashboxsystem |
Families Citing this family (14)
| Publication number | Priority date | Publication date | Assignee | Title |
|---|---|---|---|---|
| JP3887343B2 (ja) * | 2003-04-03 | 2007-02-28 | ミネベア株式会社 | ロータリーアクチュエータ |
| WO2009044429A1 (ja) * | 2007-10-03 | 2009-04-09 | Mitsubishi Electric Corporation | 電磁操作装置およびそれを用いた開閉器 |
| CN101911449B (zh) * | 2008-01-17 | 2013-07-17 | 三菱电机株式会社 | 三稳定型摆动电磁促动器 |
| JP2010265805A (ja) * | 2009-05-14 | 2010-11-25 | Kaneko Fumiko | 磁力増強電磁式駆動装置 |
| KR101698088B1 (ko) * | 2010-07-01 | 2017-02-01 | 엘지전자 주식회사 | 진공청소기용 브러쉬 모터 |
| TW201621162A (zh) * | 2014-12-09 | 2016-06-16 | ren-li Liao | 車用輪壓式發電裝置 |
| KR101661921B1 (ko) * | 2015-03-24 | 2016-10-10 | (주)파트론 | 진동모터 |
| CN105449965B (zh) * | 2015-11-30 | 2018-04-13 | 杨斌堂 | 能在较高温度环境下实施转动驱动装置 |
| CN105598797B (zh) * | 2016-02-19 | 2018-09-07 | 胡建坤 | 电动磨削器 |
| EP3419151B1 (de) * | 2016-02-19 | 2020-08-26 | Hu, Jiankun | Schwingankermotor und elektrische haarschneidemaschine |
| KR101681900B1 (ko) * | 2016-07-25 | 2016-12-02 | (주)파트론 | 진동모터 |
| CN109936270A (zh) * | 2017-12-18 | 2019-06-25 | 深圳市明优佳电子科技有限公司 | 往复式电机及其制造方法 |
| KR200491581Y1 (ko) * | 2018-05-08 | 2020-04-29 | (주)파트론 | 각운동 진동모터 |
| CN120566843A (zh) * | 2025-05-20 | 2025-08-29 | 深圳市密姆科技有限公司 | 一种小角度摆动的电磁驱动模组 |
Family Cites Families (11)
| Publication number | Priority date | Publication date | Assignee | Title |
|---|---|---|---|---|
| US4041429A (en) * | 1976-04-20 | 1977-08-09 | Woodward Governor Company | Electromagnetic actuator |
| US4164722A (en) * | 1978-01-09 | 1979-08-14 | Woodward Governor Company | Electromagnetic actuator with torque-compensating poles |
| JPS569883A (en) | 1979-07-03 | 1981-01-31 | Fujitsu Ltd | Information input unit |
| JPH01500796A (ja) * | 1986-09-16 | 1989-03-16 | グルジンスキ セルスコホジャイストヴェンニ インスチテュート | 電磁振動モーター |
| US4850955A (en) | 1986-12-02 | 1989-07-25 | Codman & Shurtleff | Body fluid transfer device |
| NL8802471A (nl) * | 1988-10-10 | 1990-05-01 | Philips Nv | Motor-compressor eenheid. |
| JP3666669B2 (ja) | 1994-11-07 | 2005-06-29 | 株式会社ミクニ | 感温アクチュエータ |
| JP3280536B2 (ja) | 1995-02-21 | 2002-05-13 | 株式会社ミクニ | アクチュエータ |
| JP3571686B2 (ja) | 2000-12-27 | 2004-09-29 | エルジー電子株式会社 | 往復揺動式モーター及び該往復揺動式モーターを利用したガス圧縮装置 |
| US6870295B2 (en) * | 2001-01-22 | 2005-03-22 | Lg Electronics Inc. | Oscillating motor and motor control apparatus and method |
| KR100429989B1 (ko) * | 2001-05-26 | 2004-05-03 | 엘지전자 주식회사 | 스켈리턴 타입 무정류자 전동기 |
-
2004
- 2004-01-29 KR KR10-2004-0005685A patent/KR100529946B1/ko not_active Expired - Fee Related
- 2004-11-02 US US10/978,724 patent/US7279815B2/en not_active Expired - Fee Related
- 2004-11-09 EP EP04026583.7A patent/EP1569321B1/de not_active Expired - Lifetime
- 2004-11-25 CN CN200410096223A patent/CN100588089C/zh not_active Expired - Fee Related
- 2004-12-06 JP JP2004352794A patent/JP4041120B2/ja not_active Expired - Fee Related
Cited By (2)
| Publication number | Priority date | Publication date | Assignee | Title |
|---|---|---|---|---|
| RU2440660C2 (ru) * | 2008-09-24 | 2012-01-20 | Магомед Хабибович Магомедов | Возбудитель механических колебаний |
| WO2011069897A3 (de) * | 2009-12-07 | 2012-03-01 | Robert Bosch Gmbh | Elektromagnet zum verstellen eines stellglieds und korrespondierendes crashboxsystem |
Also Published As
| Publication number | Publication date |
|---|---|
| EP1569321B1 (de) | 2013-09-25 |
| EP1569321A3 (de) | 2012-02-29 |
| JP4041120B2 (ja) | 2008-01-30 |
| KR20050078303A (ko) | 2005-08-05 |
| US20050168092A1 (en) | 2005-08-04 |
| US7279815B2 (en) | 2007-10-09 |
| KR100529946B1 (ko) | 2005-11-22 |
| JP2005218296A (ja) | 2005-08-11 |
| CN1649243A (zh) | 2005-08-03 |
| CN100588089C (zh) | 2010-02-03 |
Similar Documents
| Publication | Publication Date | Title |
|---|---|---|
| EP1569321B1 (de) | Schwingmotor | |
| US10603149B2 (en) | Drive system for personal-care appliance and method of operation thereof | |
| US9419507B2 (en) | Actuator and electric beauty appliance | |
| EP3136572B1 (de) | Aktuator, luftpumpe, schönheitsbehandlungsvorrichtung und laserabtastungsvorrichtung | |
| US6774521B2 (en) | Brushless DC motor | |
| CN102792578A (zh) | 触觉致动器系统及其方法 | |
| US6958554B2 (en) | Reciprocating linear actuator | |
| JP2004088884A (ja) | リニア振動電機 | |
| US10277104B2 (en) | Electromagnetic converter, actuator, and pump | |
| JP2002209371A (ja) | リニアモータ | |
| US5637937A (en) | Super-miniature motor | |
| AU2016303732B2 (en) | Actuator and electric beauty device | |
| US5126605A (en) | Oscillating stepper motor | |
| WO2003107515A1 (ja) | リニアアクチュエータ、それを用いたポンプ装置並びにコンプレッサー装置 | |
| EP1912588B1 (de) | Pendelantriebssystem für körperpflegegeräte | |
| KR102042633B1 (ko) | 자기력이 집중되는 수평 진동 디바이스 | |
| US20210066998A1 (en) | Vibration motor | |
| KR101431779B1 (ko) | 진동모터 | |
| WO2003017451A1 (en) | Magneto-electric machine of linear type | |
| JP6359747B1 (ja) | 回転電機 | |
| JP5742860B2 (ja) | 振動発電機 | |
| JP4692712B2 (ja) | リニアアクチュエータ | |
| JP2008228418A (ja) | 動力変換方法 | |
| JP3726075B2 (ja) | ステッピングモータの駆動方法 | |
| JP5237784B2 (ja) | アクチュエータ |
Legal Events
| Date | Code | Title | Description |
|---|---|---|---|
| PUAI | Public reference made under article 153(3) epc to a published international application that has entered the european phase |
Free format text: ORIGINAL CODE: 0009012 |
|
| 17P | Request for examination filed |
Effective date: 20041109 |
|
| AK | Designated contracting states |
Kind code of ref document: A2 Designated state(s): AT BE BG CH CY CZ DE DK EE ES FI FR GB GR HU IE IS IT LI LU MC NL PL PT RO SE SI SK TR |
|
| AX | Request for extension of the european patent |
Extension state: AL HR LT LV MK YU |
|
| PUAL | Search report despatched |
Free format text: ORIGINAL CODE: 0009013 |
|
| AK | Designated contracting states |
Kind code of ref document: A3 Designated state(s): AT BE BG CH CY CZ DE DK EE ES FI FR GB GR HU IE IS IT LI LU MC NL PL PT RO SE SI SK TR |
|
| AX | Request for extension of the european patent |
Extension state: AL HR LT LV MK YU |
|
| RIC1 | Information provided on ipc code assigned before grant |
Ipc: H02K 33/02 20060101AFI20120124BHEP |
|
| AKX | Designation fees paid |
Designated state(s): DE GB SE |
|
| GRAP | Despatch of communication of intention to grant a patent |
Free format text: ORIGINAL CODE: EPIDOSNIGR1 |
|
| INTG | Intention to grant announced |
Effective date: 20130419 |
|
| RAP1 | Party data changed (applicant data changed or rights of an application transferred) |
Owner name: LG ELECTRONICS INC. |
|
| GRAS | Grant fee paid |
Free format text: ORIGINAL CODE: EPIDOSNIGR3 |
|
| GRAA | (expected) grant |
Free format text: ORIGINAL CODE: 0009210 |
|
| AK | Designated contracting states |
Kind code of ref document: B1 Designated state(s): DE GB SE |
|
| REG | Reference to a national code |
Ref country code: GB Ref legal event code: FG4D |
|
| REG | Reference to a national code |
Ref country code: DE Ref legal event code: R096 Ref document number: 602004043401 Country of ref document: DE Effective date: 20131121 |
|
| PG25 | Lapsed in a contracting state [announced via postgrant information from national office to epo] |
Ref country code: SE Free format text: LAPSE BECAUSE OF FAILURE TO SUBMIT A TRANSLATION OF THE DESCRIPTION OR TO PAY THE FEE WITHIN THE PRESCRIBED TIME-LIMIT Effective date: 20130925 |
|
| REG | Reference to a national code |
Ref country code: DE Ref legal event code: R097 Ref document number: 602004043401 Country of ref document: DE |
|
| PLBE | No opposition filed within time limit |
Free format text: ORIGINAL CODE: 0009261 |
|
| STAA | Information on the status of an ep patent application or granted ep patent |
Free format text: STATUS: NO OPPOSITION FILED WITHIN TIME LIMIT |
|
| GBPC | Gb: european patent ceased through non-payment of renewal fee |
Effective date: 20131225 |
|
| 26N | No opposition filed |
Effective date: 20140626 |
|
| REG | Reference to a national code |
Ref country code: DE Ref legal event code: R097 Ref document number: 602004043401 Country of ref document: DE Effective date: 20140626 |
|
| PG25 | Lapsed in a contracting state [announced via postgrant information from national office to epo] |
Ref country code: GB Free format text: LAPSE BECAUSE OF NON-PAYMENT OF DUE FEES Effective date: 20131225 |
|
| PGFP | Annual fee paid to national office [announced via postgrant information from national office to epo] |
Ref country code: DE Payment date: 20171002 Year of fee payment: 14 |
|
| REG | Reference to a national code |
Ref country code: DE Ref legal event code: R119 Ref document number: 602004043401 Country of ref document: DE |
|
| PG25 | Lapsed in a contracting state [announced via postgrant information from national office to epo] |
Ref country code: DE Free format text: LAPSE BECAUSE OF NON-PAYMENT OF DUE FEES Effective date: 20190601 |