EP1564402A2 - Maschine mit einem Brennkraftmotor und einer pneumatischen Anlasservorrichtung - Google Patents

Maschine mit einem Brennkraftmotor und einer pneumatischen Anlasservorrichtung Download PDF

Info

Publication number
EP1564402A2
EP1564402A2 EP05002809A EP05002809A EP1564402A2 EP 1564402 A2 EP1564402 A2 EP 1564402A2 EP 05002809 A EP05002809 A EP 05002809A EP 05002809 A EP05002809 A EP 05002809A EP 1564402 A2 EP1564402 A2 EP 1564402A2
Authority
EP
European Patent Office
Prior art keywords
internal combustion
combustion engine
pressure
machine according
pneumatic
Prior art date
Legal status (The legal status is an assumption and is not a legal conclusion. Google has not performed a legal analysis and makes no representation as to the accuracy of the status listed.)
Withdrawn
Application number
EP05002809A
Other languages
English (en)
French (fr)
Other versions
EP1564402A3 (de
Inventor
Erfindernennung liegt noch nicht vor Die
Current Assignee (The listed assignees may be inaccurate. Google has not performed a legal analysis and makes no representation or warranty as to the accuracy of the list.)
Individual
Original Assignee
Individual
Priority date (The priority date is an assumption and is not a legal conclusion. Google has not performed a legal analysis and makes no representation as to the accuracy of the date listed.)
Filing date
Publication date
Application filed by Individual filed Critical Individual
Publication of EP1564402A2 publication Critical patent/EP1564402A2/de
Publication of EP1564402A3 publication Critical patent/EP1564402A3/de
Withdrawn legal-status Critical Current

Links

Images

Classifications

    • FMECHANICAL ENGINEERING; LIGHTING; HEATING; WEAPONS; BLASTING
    • F02COMBUSTION ENGINES; HOT-GAS OR COMBUSTION-PRODUCT ENGINE PLANTS
    • F02NSTARTING OF COMBUSTION ENGINES; STARTING AIDS FOR SUCH ENGINES, NOT OTHERWISE PROVIDED FOR
    • F02N7/00Starting apparatus having fluid-driven auxiliary engines or apparatus
    • FMECHANICAL ENGINEERING; LIGHTING; HEATING; WEAPONS; BLASTING
    • F02COMBUSTION ENGINES; HOT-GAS OR COMBUSTION-PRODUCT ENGINE PLANTS
    • F02NSTARTING OF COMBUSTION ENGINES; STARTING AIDS FOR SUCH ENGINES, NOT OTHERWISE PROVIDED FOR
    • F02N5/00Starting apparatus having mechanical power storage
    • FMECHANICAL ENGINEERING; LIGHTING; HEATING; WEAPONS; BLASTING
    • F02COMBUSTION ENGINES; HOT-GAS OR COMBUSTION-PRODUCT ENGINE PLANTS
    • F02NSTARTING OF COMBUSTION ENGINES; STARTING AIDS FOR SUCH ENGINES, NOT OTHERWISE PROVIDED FOR
    • F02N9/00Starting of engines by supplying auxiliary pressure fluid to their working chambers
    • F02N9/04Starting of engines by supplying auxiliary pressure fluid to their working chambers the pressure fluid being generated otherwise, e.g. by compressing air

Definitions

  • the present invention relates to a machine with an internal combustion engine and a pneumatic starter device according to the preamble of claim 1.
  • the machine is a vibrator device for compacting a subsoil.
  • the internal combustion engine is known Hinttler devices around a diesel engine with a so-called electric starter is equipped by a Battery is energized and on the flywheel of the internal combustion engine acts.
  • a Battery is energized and on the flywheel of the internal combustion engine acts.
  • the object of the present invention is therefore to a machine equipped with an internal combustion engine, in particular a croquttlervorraum to improve so that the Starter device against the vibrations of Trottlervortechnik is relatively insensitive and a long life having.
  • This task is performed by a machine with an internal combustion engine and a starter device having the features of claim 1 solved.
  • the main advantage of the present machine, in particular the present vibrator device is that their Starting device is relatively simple and also has a long life, because they are opposite insensitive to the vibrations and vibrations of the vibrator device is.
  • Another particular advantage of the invention is that the engine of the Hintterlvorraum essentially only once, for example with a crank drive must be started, with one with the engine connected compressor in a pressure reservoir Pressure is generated for the pneumatic starter device, so that subsequent starts directly with the pneumatic Starter device can be executed.
  • Favorable Way are in the context of the present invention further Changes to the engine are not required.
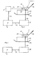
  • FIG. 1 shows a schematic diagram of a block diagram the present machine, which is preferably is a Haittlervoriques 1 whose worktop 12 in a conventional manner via a vibration device 13 is placed in vibration or vibrations.
  • the Vibration device 13 is thereby by the internal combustion engine 11, which is preferably a diesel engine, driven.
  • the flywheel 17 of the internal combustion engine 11th is, as shown schematically, a pneumatic Starting device 3 with a pneumatic motor via a Shaft 32 mechanically connectable.
  • the pneumatic starter device 3 is connected via a pressure line 31 to a pressure reservoir 4 in connection, via a further pressure line 51 is connected to a compressor 5, for example via the schematically illustrated mechanical shaft 52 with a Output of the internal combustion engine 11 is in communication.
  • the compressor 5 other than mechanical, for example, hydraulically or electrically by the internal combustion engine 11 to drive, with a corresponding output of the Internal combustion engine 11 then via a hydraulic line or a electrical line is connected to the compressor 5, the the mechanical shaft 52 replaced.
  • the pneumatic starter device 3, the pressure reservoir 4 and the compressor 5 and the corresponding pressure lines 31, 51 and the line 52 are part of the Rüttlervoruze 1 and arranged at this.
  • the mechanical connection between the shaft 32 of the engine the pneumatic starter device 3 with the flywheel 17 of the internal combustion engine 11 is preferably carried out via a known pinion / gear unit, not in the figure is shown and for starting the internal combustion engine 11 for Intervention is broken. After a successful startup operation the said pinion / gear unit is disconnected again.
  • the internal combustion engine 11 also a known manual starter, preferably in the form of a crank drive, as needed is mechanically connected to the starter shaft 14 and its function will be explained in more detail below.
  • a known manual starter preferably in the form of a crank drive

Landscapes

  • Engineering & Computer Science (AREA)
  • Chemical & Material Sciences (AREA)
  • Combustion & Propulsion (AREA)
  • Mechanical Engineering (AREA)
  • General Engineering & Computer Science (AREA)
  • Road Paving Machines (AREA)
  • Apparatuses For Generation Of Mechanical Vibrations (AREA)
  • Supercharger (AREA)

Abstract

Die Erfindung betrifft eine Maschine mit einem Brennkraftmotor (11) und einer Anlasservorrichtung (3), insbesondere eine Rüttlervorrichtung zur Verdichtung eines Untergrundes, bei der eine Arbeitsplatte (12) durch eine Vibrationseinrichtung (13), die durch den Brennkraftmotor (11) angetrieben wird, in Vibrationen versetzt wird. Es ist eine pneumatische Anlasservorrichtung (3) zum Anlassen des Brennkraftmotors (11) mit dem Schwungrad (17) desselben verbindbar. Ferner ist ein Druckreservoir (4) zur Erzeugung des Druckes (P) zum Antrieb der pneumatischen Anlasservorrichtung (3) vorgesehen.

Description

Die vorliegende Erfindung bezieht sich auf eine Maschine mit einem Brennkraftmotor und einer pneumatischen Anlasservorrichtung gemäss dem Oberbegriff des Patentanspruchs 1.
Insbesondere handelt es sich bei der Maschine um eine Rüttlervorrichtung zur Verdichtung eines Untergrundes.
Bekannter Weise besitzen derartige Rüttlervorrichtungen eine Arbeitsplatte mit einer darauf angeordneten Vibrationseinrichtung, die wenigstens ein Paar von Unwuchtkörpern aufweist. Die Vibratorvorrichtung wird durch einen Brennkraftmotor angetrieben. Die Rüttlervorrichtung weist eine Lenkeinrichtung auf, mit der sie von einer Bedienungsperson über den zu verdichtenden Untergrund verschiebbar ist.
Üblicherweise handelt es sich bei dem Brennkraftmotor bekannter Rüttlervorrichtungen um einen Dieselmotor, der mit einem sogenannten Elektrostarter ausgerüstet ist, der durch eine Batterie erregt wird und auf die Schwungscheibe des Brennkraftmotors einwirkt. Ein Problem besteht dabei darin, dass die Batterien derartiger Rüttlervorrichtungen sehr häufig, d. h. alle drei bis sechs Monate, ausgewechselt werden müssen, da sie insbesondere auch wegen der Vibrationen und Erschütterungen der Rüttlervorrichtungen fehlerhaft werden.
Die Aufgabe der vorliegenden Erfindung besteht daher darin, eine mit einem Brennkraftmotor ausgerüstete Maschine, insbesondere eine Rüttlervorrichtung, so zu verbessern, dass die Startervorrichtung gegenüber den Vibrationen der Rüttlervorrichtung relativ unempfindlich ist und eine hohe Lebensdauer aufweist.
Diese Aufgabe wird durch eine Maschine mit einem Brennkraftmotor und einer Anlasservorrichtung mit den Merkmalen des Patentanspruches 1 gelöst.
Der wesentliche Vorteil der vorliegenden Maschine, insbesondere der vorliegenden Rüttlervorrichtung besteht darin, dass ihre Anlasservorrichtung verhältnismäßig einfach aufgebaut ist und zudem eine hohe Lebensdauer besitzt, weil sie gegenüber den Vibrationen und Erschütterungen der Rüttlervorrichtung unempfindlich ist. Ein weiterer besonderer Vorteil der Erfindung besteht darin, dass der Brennkraftmotor der Rütterlvorrichtung im wesentlichen nur einmal, beispielsweise mit einem Kurbelantrieb gestartet werden muss, wobei über einen mit dem Brennkraftmotor verbundenen Kompressor in einem Druckreservoir ein Druck für die pneumatische Anlasservorrichtung erzeugt wird, sodass nachfolgende Startvorgänge direkt mit der pneumatischen Anlasservorrichtung ausgeführt werden können. Vorteilhafter Weise sind im Rahmen der vorliegenden Erfindung weitergehende Änderungen an dem Brennkraftmotor nicht erforderlich.
Weitere vorteilhafte Ausgestaltungen der Erfindung gehen aus den Unteransprüchen hervor.
Im folgenden werden die Erfindung und deren Ausgestaltungen im Zusammenhang mit den Figuren näher erläutert. Es zeigen:
  • Figur 1 eine bevorzugte Ausführungsform der erfindungsgemäßen Maschine und
  • Figur 2 eine besonders einfache Ausführungsform der erfindungsgemäßen Maschine.
  • Die Figur 1 zeigt in schematischer Darstellung ein Blockschaltbild der vorliegenden Maschine, bei der es sich vorzugsweise um eine Rüttlervorrichtung 1 handelt, deren Arbeitsplatte 12 in an sich bekannter Weise über eine Vibrationseinrichtung 13 in Vibrationen bzw. Schwingungen versetzt wird. Die Vibrationseinrichtung 13 wird dabei durch den Brennkraftmotor 11, bei dem es sich vorzugsweise um einen Dieselmotor handelt, angetrieben. Mit dem Schwungrad 17 des Brennkraftmotors 11 ist, wie dies schematisch dargestellt ist, eine pneumatische Anlasservorrichtung 3 mit einem pneumatischen Motor über eine Welle 32 mechanisch verbindbar. Die pneumatische Anlasservorrichtung 3 steht über eine Druckleitung 31 mit einem Druckreservoir 4 in Verbindung, das über eine weitere Druckleitung 51 mit einem Kompressor 5 verbunden ist, der beispielsweise über die schematisch dargestellte mechanische Welle 52 mit einem Abtrieb des Brennkraftmotors 11 in Verbindung steht.
    Es ist auch denkbar, den Kompressor 5 anders als mechanisch, zum Beispiel hydraulisch oder elektrisch durch den Brennkraftmotor 11 anzutreiben, wobei ein entsprechender Ausgang des Brennkraftmotors 11 dann über eine Hydraulikleitung oder eine elektrische Leitung mit dem Kompressor 5 verbunden ist, die die mechanische Welle 52 ersetzt.
    Die pneumatische Anlasservorrichtung 3, das Druckreservoir 4 und der Kompressor 5 sowie die entsprechenden Druckleitungen 31, 51 und die Leitung 52 sind Bestandteil der Rüttlervorrichtung 1 und an dieser angeordnet.
    Die mechanische Verbindung zwischen der Welle 32 des Motors der pneumatischen Anlasservorrichtung 3 mit der Schwungscheibe 17 des Brennkraftmotors 11 erfolgt vorzugsweise über eine an sich bekannte Ritzel/Zahnradeinheit, die in der Figur nicht dargestellt ist und zum Starten des Brennkraftmotors 11 zum Eingriff gebrach wird. Nach einer erfolgreichen Startoperation wird die genannte Ritzel/Zahnradeinheit wieder getrennt.
    Wie dies schematisch dargestellt ist, weist der Brennkraftmotor 11 ferner einen an sich bekannten manuellen Anlasser, vorzugsweise in der Form eines Kurbelantriebs auf, der bedarfsweise mit der Anlasserwelle 14 mechanisch verbindbar ist und dessen Funktion nachfolgend näher erläutert werden wird. Ein Handgriff zum Bewegen der Rüttlervorrichtung 1 über einen zu verdichtenden Untergrund ist mit 16 bezeichnet.
    Bei einer Erstinbetriebnahme der Rüttlervorrichtung 1 wird der Brennkraftmotor 11 zunächst einmalig mit dem zuvor erwähnten Kurbelantrieb gestartet, wobei der Brennkraftmotor 11 dann neben der Vibrationseinrichtung 13 über die Leitung 52 auch den Kompressor 5 antreibt, der Druckluft erzeugt, die über die Druckluftleitung 51 dem Druckreservoir 4 zugeführt wird. Der in dem Druckreservoir 4 aufgebaute Druck P steht über die Druckleitung 31 der pneumatischen Anlasservorrichtung 3 zur Verfügung, deren Motor in der bereits erwähnten Weise mechanisch mit der Schwungscheibe 17 des Brennkraftmotors 11 verbindbar ist.
    Wenn nun bei weiteren nachfolgenden Inbetriebnahmen der Rüttlervorrichtung 1 eine Startoperation ausgeführt werden soll, werden die pneumatische Anlasservorrichtung 3 und die Schwungscheibe 17 des Brennkraftmotors 11 mechanisch gekoppelt und wird die Schwungscheibe 17 durch die pneumatische Anlasservorrichtung 3 zum Starten des Brennkraftmotors 11 in Drehung versetzt.
    Im Zusammenhang mit der Figur 2 wird nun eine besonders einfache Ausführungsform der vorliegenden Maschine erläutert, bei der der Kompressor 5 der Figur 1 entfallen kann, wobei der Motor der pneumatischen Anlasservorrichtung 30 gleichzeitig sowohl als Anlasser als auch als Kompressor dient. Einzelheiten der Figur 2, die bereits im Zusammenhang mit der Figur 1 erläutert wurden, sind in der entsprechenden Weise bezeichnet. Dabei wird nach einer jeweiligen Anlassoperation die mechanische Verbindung zwischen der Schwungscheibe 17 und dem pneumatischen Motor der Anlasservorrichtung 30 nicht unterbrochen. Dies hat zur Folge, dass die Welle 32 dann nach dem Starten des Brennkraftmotors 11 von diesem bei gleichbleibender Drehrichtung weiter gedreht wird und dann den Motor der Anlasservorrichtung 30 antreibt, so dass dieser einen Druck erzeugt. Über die Druckleitung 31 wird daher in dem Druckreservoir 4 der Druck P aufgebaut, der dann für nachfolgende Startoperationen zur Verfügung steht. Anders ausgedrückt, wird bei der Ausführungsform der Figur 2 der Motor der Anlasservorrichtung 3 bei den Start- bzw. Anlassoperationen zum Antrieb der Schwungscheibe 17 über die Welle 32 und danach als Druckgenerator zur Erzeugung des Druckes P im Druckreservoir 5 verwendet.

    Claims (9)

    1. Maschine mit einem Brennkraftmotor (11) und einer Anlasservorrichtung (3), insbesondere Rüttlervorrichtung zur Verdichtung eines Untergrundes, bei der eine Arbeitsplatte (12) durch eine Vibrationseinrichtung (13), die durch den Brennkraftmotor (11) angetrieben wird, in Schwingungen versetzbar ist,
      dadurch gekennzeichnet, dass
      eine pneumatische Anlasservorrichtung (3) vorgesehen und zum Anlassen des Brennkraftmotors (11) mit dem Schwungrad (17) desselben verbindbar ist und dass ein Druckreservoir (4) für einen Druck (P) zum Antrieb der pneumatischen Anlasservorrichtung (3) vorgesehen und mit dieser verbindbar ist, wobei der Brennkraftmotor (11) zur Erzeugung des Druckes (P) in dem Druckreservoir (4) dient.
    2. Maschine nach Anspruch 1,
      dadurch gekennzeichnet, dass
      der Brennkraftmotor (11) einen Kompressor (5) antreibt, der den Druck (P) in dem Druckreservoir (4) aufbaut.
    3. Maschine nach Anspruch 2,
      dadurch gekennzeichnet, dass
      die Brennkraftmaschine (11) den Kompressor (5) mechanisch, hydraulisch oder elektrisch antreibt.
    4. Maschine nach einem der Ansprüche 1 bis 3,
      dadurch gekennzeichnet, dass
      die pneumatische Anlasservorrichtung (3) mit der Hilfe einer Kupplungseinrichtung mit der Schwungscheibe (17) des Brennkraftmotors (11) verbindbar ist.
    5. Maschine nach Anspruch 4,
      dadurch gekennzeichnet, dass
      die Kupplungseinrichtung eine Ritzel/Zahnradeinheit ist.
    6. Maschine nach Anspruch 1,
      dadurch gekennzeichnet, dass
      die pneumatische Anlasservorrichtung (30) permanent mit der Schwungscheibe (17) des Brennkraftmotors (11) verbunden ist und nach einer Anlassoperation dadurch als Druckgenerator wirkt, dass ihr pneumatischer Motor den Druck (P) im Druckreservoir (4) erzeugt.
    7. Maschine nach einem der Ansprüche 1 bis 6,
      dadurch gekennzeichnet, dass
      die Brennkraftmaschine (11) ein Dieselmotor ist.
    8. Maschine nach einem der Ansprüche 1 bis 7,
      dadurch gekennzeichnet, dass
      der Brennkraftmotor (11) zum manuellen Starten des Brennkraftmotors (11) einen mit der Anlasserwelle (14) des Brennkraftmotors (11) mechanisch verbindbaren Kurbelantrieb aufweist.
    9. Verfahren zum Starten einer Maschine nach Anspruch 8,
      dadurch gekennzeichnet, dass
      ein erster Startvorgang manuell durch Betätigen des Kurbelantriebes ausgeführt wird, wobei der Brennkraftmotor (11) nach dem erstmaligen Startvorgang in dem Druckreservoir (4) den Druck (P) erzeugt, der für nachfolgende Startvorgänge zum Antrieb der pneumatischen Anlasservorrichtung (30) erforderlich ist.
    EP05002809A 2004-02-11 2005-02-10 Maschine mit einem Brennkraftmotor und einer pneumatischen Anlasservorrichtung Withdrawn EP1564402A3 (de)

    Applications Claiming Priority (2)

    Application Number Priority Date Filing Date Title
    DE200410006715 DE102004006715A1 (de) 2004-02-11 2004-02-11 Maschine mit einem Brennkraftmotor und einer pneumatischen Anlasservorrichtung
    DE102004006715 2004-02-11

    Publications (2)

    Publication Number Publication Date
    EP1564402A2 true EP1564402A2 (de) 2005-08-17
    EP1564402A3 EP1564402A3 (de) 2006-11-22

    Family

    ID=34684003

    Family Applications (1)

    Application Number Title Priority Date Filing Date
    EP05002809A Withdrawn EP1564402A3 (de) 2004-02-11 2005-02-10 Maschine mit einem Brennkraftmotor und einer pneumatischen Anlasservorrichtung

    Country Status (2)

    Country Link
    EP (1) EP1564402A3 (de)
    DE (1) DE102004006715A1 (de)

    Family Cites Families (3)

    * Cited by examiner, † Cited by third party
    Publication number Priority date Publication date Assignee Title
    US1066649A (en) * 1912-04-22 1913-07-08 Harry Parker Starting device for automobiles.
    US1593810A (en) * 1922-11-28 1926-07-27 Leroy F Hammond Compressed-air automobile starter
    CH361542A (de) * 1958-01-21 1962-04-15 Wacker Hermann Als Stampfgerät oder Rüttelgerät oder Schlaggerät ausgebildete Arbeitsvorrichtung mit Antriebsmotor

    Also Published As

    Publication number Publication date
    EP1564402A3 (de) 2006-11-22
    DE102004006715A1 (de) 2005-08-25

    Similar Documents

    Publication Publication Date Title
    EP4196647B1 (de) Autobetonpumpe
    EP2216151B1 (de) Trommelantrieb für einen Fahrmischer
    DE1780018A1 (de) Pumpe fuer Beton oder andere dickfluessige,breiige Massen
    DE102012024452A1 (de) Baumaschine oder Landmaschine mit einer rotierenden Arbeitseinrichtung und Verfahren zum Antreiben der rotierenden Arbeitseinrchtung
    DE102008028547A1 (de) Hydraulischer Abtriebswellengenerator
    EP1120557A2 (de) Betriebseinrichtung für eine Brennkraftmaschine eines Kraftfahrzeuges mit einem Starter
    DE102016221311A1 (de) Landwirtschaftliches Nutzfahrzeug mit Zapfwelle und Verfahren zum Antrieb der Zapfwelle
    DE102005039868A1 (de) Doppelantriebpumpe mit zwei Ketten und Rollenkupplung und Verfahren
    WO2018036730A1 (de) Pumpstation für eine pipeline und verfahren zum starten eines verbrennungsmotors in einer pumpstation
    DE10360855A1 (de) Einen Elektromotor verwendende Hydraulikantriebsvorrichtung
    DE3041867A1 (de) Kraftfahrzeug, insbesondere personenkraftfahrzeug
    DE102007010343A1 (de) Hybridfahrzeug mit Splitmotor
    EP1355062A2 (de) Starteinrichtung
    DE2826298A1 (de) Anordnung in einer arbeitsmaschine
    DE102018217849A1 (de) Getriebe und Antriebssystem eines Kraftfahrzeugs
    EP1564402A2 (de) Maschine mit einem Brennkraftmotor und einer pneumatischen Anlasservorrichtung
    WO2010052047A1 (de) Starteranordnung mit nebenaggregateantrieb
    DE3245663A1 (de) Elektrische anlaufsteuerung
    DE10141740B4 (de) Kraftfahrzeug mit einem Brennstoffzellensystem
    DE2402834A1 (de) Hydraulikbagger mit antrieb durch mehr als eine energieart
    DE102012020821B4 (de) Notantrieb für ein Baugerät und Verfahren zum Betrieb des Notantriebs
    EP3550083B1 (de) Baumaschine
    DE102020126490A1 (de) Verfahren und Vorrichtung zur Ansteuerung einer elektrischen Maschine
    DE102013006861A1 (de) Kompressorsystem mit Kupplung
    DE102019133856A1 (de) Antriebseinheit und Verfahren zum Betrieb der Antriebseinheit

    Legal Events

    Date Code Title Description
    PUAI Public reference made under article 153(3) epc to a published international application that has entered the european phase

    Free format text: ORIGINAL CODE: 0009012

    AK Designated contracting states

    Kind code of ref document: A2

    Designated state(s): AT BE BG CH CY CZ DE DK EE ES FI FR GB GR HU IE IS IT LI LT LU MC NL PL PT RO SE SI SK TR

    AX Request for extension of the european patent

    Extension state: AL BA HR LV MK YU

    RIN1 Information on inventor provided before grant (corrected)

    Inventor name: STOLL, MARKUS

    PUAL Search report despatched

    Free format text: ORIGINAL CODE: 0009013

    AK Designated contracting states

    Kind code of ref document: A3

    Designated state(s): AT BE BG CH CY CZ DE DK EE ES FI FR GB GR HU IE IS IT LI LT LU MC NL PL PT RO SE SI SK TR

    AX Request for extension of the european patent

    Extension state: AL BA HR LV MK YU

    AKX Designation fees paid
    STAA Information on the status of an ep patent application or granted ep patent

    Free format text: STATUS: THE APPLICATION IS DEEMED TO BE WITHDRAWN

    18D Application deemed to be withdrawn

    Effective date: 20070523

    REG Reference to a national code

    Ref country code: DE

    Ref legal event code: 8566