EP1303003B1 - Schutzverkleidung für funktechnische Anlagen, Bauteile dafür, sowie jeweilige Herstellungsverfahren - Google Patents
Schutzverkleidung für funktechnische Anlagen, Bauteile dafür, sowie jeweilige Herstellungsverfahren Download PDFInfo
- Publication number
- EP1303003B1 EP1303003B1 EP01124547A EP01124547A EP1303003B1 EP 1303003 B1 EP1303003 B1 EP 1303003B1 EP 01124547 A EP01124547 A EP 01124547A EP 01124547 A EP01124547 A EP 01124547A EP 1303003 B1 EP1303003 B1 EP 1303003B1
- Authority
- EP
- European Patent Office
- Prior art keywords
- components
- support element
- protective covering
- insulation layer
- component
- Prior art date
- Legal status (The legal status is an assumption and is not a legal conclusion. Google has not performed a legal analysis and makes no representation as to the accuracy of the status listed.)
- Expired - Lifetime
Links
- 230000001681 protective effect Effects 0.000 title claims abstract description 108
- 238000000034 method Methods 0.000 title claims description 28
- 238000004519 manufacturing process Methods 0.000 title claims description 23
- 238000009413 insulation Methods 0.000 claims abstract description 38
- 229920002430 Fibre-reinforced plastic Polymers 0.000 claims abstract 3
- 239000000463 material Substances 0.000 claims description 59
- 239000006260 foam Substances 0.000 claims description 11
- 239000002131 composite material Substances 0.000 claims description 7
- 239000002245 particle Substances 0.000 claims description 6
- 239000000843 powder Substances 0.000 claims description 6
- 238000005520 cutting process Methods 0.000 claims description 5
- 230000009467 reduction Effects 0.000 claims description 4
- 239000011151 fibre-reinforced plastic Substances 0.000 claims 2
- 239000011521 glass Substances 0.000 claims 2
- 239000003365 glass fiber Substances 0.000 abstract description 6
- 238000005253 cladding Methods 0.000 abstract 1
- 239000006261 foam material Substances 0.000 abstract 1
- 239000010410 layer Substances 0.000 description 97
- 238000010521 absorption reaction Methods 0.000 description 16
- 230000005670 electromagnetic radiation Effects 0.000 description 13
- 239000011152 fibreglass Substances 0.000 description 12
- 229920002635 polyurethane Polymers 0.000 description 7
- 239000004814 polyurethane Substances 0.000 description 7
- 229920005830 Polyurethane Foam Polymers 0.000 description 5
- 230000001070 adhesive effect Effects 0.000 description 5
- 230000008901 benefit Effects 0.000 description 5
- 229920003023 plastic Polymers 0.000 description 5
- 239000004033 plastic Substances 0.000 description 5
- 239000011496 polyurethane foam Substances 0.000 description 5
- 239000000088 plastic resin Substances 0.000 description 4
- 239000011253 protective coating Substances 0.000 description 4
- 239000011810 insulating material Substances 0.000 description 3
- 238000003801 milling Methods 0.000 description 3
- 238000012545 processing Methods 0.000 description 3
- 230000009471 action Effects 0.000 description 2
- 239000000853 adhesive Substances 0.000 description 2
- 238000004026 adhesive bonding Methods 0.000 description 2
- 238000004378 air conditioning Methods 0.000 description 2
- 239000011324 bead Substances 0.000 description 2
- 230000015572 biosynthetic process Effects 0.000 description 2
- 230000008859 change Effects 0.000 description 2
- 230000001427 coherent effect Effects 0.000 description 2
- 238000001816 cooling Methods 0.000 description 2
- 230000001419 dependent effect Effects 0.000 description 2
- 239000004744 fabric Substances 0.000 description 2
- 238000009415 formwork Methods 0.000 description 2
- 238000010438 heat treatment Methods 0.000 description 2
- 239000012774 insulation material Substances 0.000 description 2
- 238000005304 joining Methods 0.000 description 2
- 229920000728 polyester Polymers 0.000 description 2
- 230000003716 rejuvenation Effects 0.000 description 2
- 239000011800 void material Substances 0.000 description 2
- 229920000049 Carbon (fiber) Polymers 0.000 description 1
- 229920006328 Styrofoam Polymers 0.000 description 1
- 241000826860 Trapezium Species 0.000 description 1
- 239000012790 adhesive layer Substances 0.000 description 1
- 238000005452 bending Methods 0.000 description 1
- 230000005540 biological transmission Effects 0.000 description 1
- 239000004917 carbon fiber Substances 0.000 description 1
- 239000003086 colorant Substances 0.000 description 1
- 238000001035 drying Methods 0.000 description 1
- 238000005516 engineering process Methods 0.000 description 1
- 230000007613 environmental effect Effects 0.000 description 1
- 238000011049 filling Methods 0.000 description 1
- 239000007789 gas Substances 0.000 description 1
- 239000003292 glue Substances 0.000 description 1
- 238000009434 installation Methods 0.000 description 1
- 238000002955 isolation Methods 0.000 description 1
- 239000007788 liquid Substances 0.000 description 1
- 238000003754 machining Methods 0.000 description 1
- 239000002184 metal Substances 0.000 description 1
- 239000003973 paint Substances 0.000 description 1
- 230000035699 permeability Effects 0.000 description 1
- 238000012805 post-processing Methods 0.000 description 1
- 238000002360 preparation method Methods 0.000 description 1
- 230000005855 radiation Effects 0.000 description 1
- 229910052704 radon Inorganic materials 0.000 description 1
- SYUHGPGVQRZVTB-UHFFFAOYSA-N radon atom Chemical compound [Rn] SYUHGPGVQRZVTB-UHFFFAOYSA-N 0.000 description 1
- 230000008439 repair process Effects 0.000 description 1
- 238000007789 sealing Methods 0.000 description 1
- 239000003566 sealing material Substances 0.000 description 1
- 239000008261 styrofoam Substances 0.000 description 1
- 239000000057 synthetic resin Substances 0.000 description 1
- 229920003002 synthetic resin Polymers 0.000 description 1
- 229920001187 thermosetting polymer Polymers 0.000 description 1
Images
Classifications
-
- E—FIXED CONSTRUCTIONS
- E04—BUILDING
- E04C—STRUCTURAL ELEMENTS; BUILDING MATERIALS
- E04C2/00—Building elements of relatively thin form for the construction of parts of buildings, e.g. sheet materials, slabs, or panels
- E04C2/02—Building elements of relatively thin form for the construction of parts of buildings, e.g. sheet materials, slabs, or panels characterised by specified materials
- E04C2/26—Building elements of relatively thin form for the construction of parts of buildings, e.g. sheet materials, slabs, or panels characterised by specified materials composed of materials covered by two or more of groups E04C2/04, E04C2/08, E04C2/10 or of materials covered by one of these groups with a material not specified in one of the groups
- E04C2/284—Building elements of relatively thin form for the construction of parts of buildings, e.g. sheet materials, slabs, or panels characterised by specified materials composed of materials covered by two or more of groups E04C2/04, E04C2/08, E04C2/10 or of materials covered by one of these groups with a material not specified in one of the groups at least one of the materials being insulating
- E04C2/296—Building elements of relatively thin form for the construction of parts of buildings, e.g. sheet materials, slabs, or panels characterised by specified materials composed of materials covered by two or more of groups E04C2/04, E04C2/08, E04C2/10 or of materials covered by one of these groups with a material not specified in one of the groups at least one of the materials being insulating composed of insulating material and non-metallic or unspecified sheet-material
-
- E—FIXED CONSTRUCTIONS
- E04—BUILDING
- E04C—STRUCTURAL ELEMENTS; BUILDING MATERIALS
- E04C2/00—Building elements of relatively thin form for the construction of parts of buildings, e.g. sheet materials, slabs, or panels
- E04C2/02—Building elements of relatively thin form for the construction of parts of buildings, e.g. sheet materials, slabs, or panels characterised by specified materials
- E04C2/10—Building elements of relatively thin form for the construction of parts of buildings, e.g. sheet materials, slabs, or panels characterised by specified materials of wood, fibres, chips, vegetable stems, or the like; of plastics; of foamed products
- E04C2/24—Building elements of relatively thin form for the construction of parts of buildings, e.g. sheet materials, slabs, or panels characterised by specified materials of wood, fibres, chips, vegetable stems, or the like; of plastics; of foamed products laminated and composed of materials covered by two or more of groups E04C2/12, E04C2/16, E04C2/20
- E04C2/246—Building elements of relatively thin form for the construction of parts of buildings, e.g. sheet materials, slabs, or panels characterised by specified materials of wood, fibres, chips, vegetable stems, or the like; of plastics; of foamed products laminated and composed of materials covered by two or more of groups E04C2/12, E04C2/16, E04C2/20 combinations of materials fully covered by E04C2/16 and E04C2/20
-
- E—FIXED CONSTRUCTIONS
- E04—BUILDING
- E04C—STRUCTURAL ELEMENTS; BUILDING MATERIALS
- E04C2/00—Building elements of relatively thin form for the construction of parts of buildings, e.g. sheet materials, slabs, or panels
- E04C2/30—Building elements of relatively thin form for the construction of parts of buildings, e.g. sheet materials, slabs, or panels characterised by the shape or structure
- E04C2/32—Building elements of relatively thin form for the construction of parts of buildings, e.g. sheet materials, slabs, or panels characterised by the shape or structure formed of corrugated or otherwise indented sheet-like material; composed of such layers with or without layers of flat sheet-like material
- E04C2/328—Building elements of relatively thin form for the construction of parts of buildings, e.g. sheet materials, slabs, or panels characterised by the shape or structure formed of corrugated or otherwise indented sheet-like material; composed of such layers with or without layers of flat sheet-like material slightly bowed or folded panels not otherwise provided for
-
- H—ELECTRICITY
- H01—ELECTRIC ELEMENTS
- H01Q—ANTENNAS, i.e. RADIO AERIALS
- H01Q1/00—Details of, or arrangements associated with, antennas
- H01Q1/42—Housings not intimately mechanically associated with radiating elements, e.g. radome
Definitions
- the invention relates to protective coatings for radio systems, methods for producing such protective coverings, components for such protective coatings, wherein the components comprise an insulating layer, and to methods for producing such components.
- Protective covers for radio systems are used to protect the radio or transmitter systems on transmission towers or radar systems from environmental and weather influences.
- radar systems such protective coverings often have the shape of a dome and are referred to as radomes.
- Such protective coverings should generally have a low absorption behavior for the electromagnetic radiation of the respective radio or radar system. As a result, the attenuation of the signal intensity of the electromagnetic radiation through the protective covering is only slight.
- FIG. 11 It is known to produce protective coverings of this type from a rigid polyurethane (PUR) foam.
- PUR polyurethane
- FIG. 11 Such a known protective cover is in FIG. 11 shown.
- the radio system is inside the in FIG. 11 arranged cylinder arranged.
- the individual components 21,22 of the protective cover 20 are produced as curved components 21,22 in molds and arranged side by side during assembly on site via a Jardinnfalz.
- the resulting joints 24 are foamed with the aid of formwork 23 with hardening foam so as to connect the components 21,22 together. Since the components 21, 22 are self-supporting, they must have a certain stability so that the material of which they are made typically has a density of 200 kg / m 3 to 250 kg / m 3 .
- a disadvantage of such protective coverings is that they tend to crack formation under strong temperature fluctuations and easily accumulates on the surface of the protective covering ice and snow. The weight of the ice and snow can pose a certain risk of collapse for the fairing.
- the object of the present invention is therefore to provide a component and a protective covering as well as the respective production methods with which a simple assembly of the components to form a protective lining is possible.
- the object is achieved by a protective covering according to claim 1 and a method for producing a protective lining according to claim 17.
- the component according to the invention has a support element which is provided on one side of the hard foam layer.
- the support element essentially assumes the supporting or self-supporting task of the component, so that the insulation layer can be optimized with respect to other criteria than the supporting function. For example, it is possible to optimize the insulation layer with respect to the insulating property. This makes it possible to improve the insulation properties so that can be largely dispensed within the protective cover on air conditioning, heating or cooling. Furthermore, it is possible to provide the insulating layer with a low density, so that overall the weight of the components kept as low as possible who can. The low weight is a great advantage for the assembly because it eliminates the need for cranes.
- the insulation layer may be made of a rigid foam, for example.
- An example of this is polyurethane (PUR) foam.
- PUR polyurethane
- any other insulation material is conceivable.
- PUR polyurethane
- An example of such a material is about Styrofoam.
- the support element is made of a composite material and in this case preferably made of a glass fiber reinforced plastic (GRP).
- Composite materials are materials that are made up of two different ones Composing materials, wherein a material is usually fibrous. For example, glass or carbon fibers are known.
- the second fabric is typically a cured plastic, such as polyester-derived polyester or the like.
- Composite materials can be produced in any shape and are resistant to bending and torsion, as well as being break-resistant, even with thin material thicknesses.
- the support element is in direct contact with the insulating layer. While between the support member and the insulating layer various other materials may be provided, such. As adhesive layers or layers that affect the permeability of certain liquids or gases, it is advantageous if the support element is provided in direct contact with the insulating layer.
- the as yet uncured foam has good adhesiveness, so that the insulating layer can be made in a very stable contact with the supporting element.
- a later detachment of the insulating layer from the support element is very unlikely.
- the support element during its manufacture or processing at least temporarily has strong adhesive properties, so that the support element has a good relationship with the insulation layer.
- a particularly advantageous embodiment of the component according to the invention results from the fact that the support element in the form of a layer is preferably provided on the entire surface of at least one side of the insulating layer.
- the protective cover absorbs the electromagnetic waves as homogeneously as possible in all spatial directions, if at all, only weakly. Characterized in that the support element over the entire surface of the insulating layer is provided, thus results in a homogeneous absorption of the in / out of the protective cover / exiting electromagnetic radiation. Furthermore, it is advantageous for the stability of the component when the support element extends over the entire surface of one side of the insulation layer.
- a particularly advantageous embodiment of the component according to the invention results from the fact that the component and / or the support element and / or the insulation layer tapers towards the ends of the component.
- the taper By the taper, it is possible to connect the components together so that no bead or such forms after connecting two adjacent components at the junction.
- the space obtained by the taper can thus be used to connect the components.
- This makes it possible to have a smooth, i. To obtain a bead-free surface, on the ice and snow on the surface can slip well, so that the protective cover is not loaded.
- the taper of the component can be realized both by a taper of the support element, as well as by a taper of the insulating layer or a combination of the two.
- the component is curved flat or in one direction.
- the planar embodiment of the component can be produced inexpensively, since components of different sizes can be produced on a single predetermined level.
- a component that is curved is particularly well suited if the entire protective covering is curved as a whole.
- the component according to the invention advantageously has blunt ends.
- the blunt ends can be easily glued together by insulation material, such as polyurethane foam.
- the insulating layer material preferably has a density in the range of 40 kg / m 3 to 160 kg / m 3 , in particular a density in the range of 80 kg / m 3 , both for the insulating properties, as well as for the weight of the component taking into account the stability requirements optimal.
- a further particularly advantageous embodiment of the invention consists in that the component has slots on one side, wherein the side is preferably the side opposite the support element.
- the slots may extend into the insulating layer and also form slots in the support member.
- the slitting of the component on one side results in the component being able to be curved by the action of an external force, so that even with a component that was flat prior to the slitting, it can be used to produce curved protective coatings.
- the slots advantageously have a depth of max. half the thickness of the component, however, the depth may also be much larger or substantially smaller.
- At least two slots or at least two groups of essentially parallel slots are provided which have different directions.
- a fan-shaped arrangement of the slots it is possible to bend the component to a conical shell part.
- the curvature at one end of the component is thus greater than the curvature at another end of the component.
- a particularly advantageous embodiment of the invention consists in that the support element comprises color particles in powder form.
- a later coat or other repair paints, which lead to further costs, can be avoided.
- An inventive method for producing a component according to the invention comprises the production of an insulating layer and a supporting element connected thereto.
- a component according to the invention there are several possibilities to produce the various components of the component and to connect them together. It is for example possible according to the invention to manufacture the support element and the insulating layer separately from each other and then to connect to each other, for example, to bond together.
- Particularly advantageous in this case is the production of the support element or the insulating layer in a component form.
- This smooth surface is of great advantage for the protective covering which is produced with such a component, since ice and snow can thereby slide down on the surface of the component and thus on the surface of the protective covering and do not remain exposed on the surface.
- a component form is advantageous in order to predetermine the outer shape of the component during manufacture.
- a subsequent aftertreatment for example by cutting or sawing, in order to achieve a desired outer geometry of the component is therefore not necessary.
- such a component form is advantageous in which the taper of the component results towards its ends. If, for example, a component tapering towards its ends is produced, then a corresponding component shape would have a deviation from the flat structure toward the ends of the component form, for example in the form of a bead or a bevel, so that the component is tapered.
- the support element can be made equal with a corresponding taper towards the ends.
- a post-processing is possible, so that a rejuvenation results from a mechanical processing.
- a component form is advantageous in which slots are already formed by the component shape in the finished manufactured component. It is also possible in the method according to the invention to produce the slots by mechanical means by sawing, milling or cutting or the like.
- connection means in which the individual components are connected to one another by means of a connection means, the connection preferably being gluing includes.
- the connecting means used for joining is advantageously the same material from which the insulating layer of the component was made.
- the components it is advantageous to connect the components to one another on the inside and / or outside of the protective covering with connecting material.
- the material is used, which is also the material of the support member of the components.
- This is of particular advantage for the homogeneity of the absorption of the electromagnetic radiation by the protective covering.
- it is possible to create a coherent surface on the outside of the protective covering, which consists entirely of the material of the support element or the support elements. It can be as a whole produce a very smooth surface on the ice and snow can easily slide down, so that the risk of collapse of such a protective cover is almost zero by the weight of ice and snow.
- fiberglass-reinforced plastic is used as the material for the support element, it is possible, for example, to apply one or more layers of glass fibers in the tapers of the components at their ends and then to apply a corresponding plastic resin in the region of the tapers of the ends of the components.
- a taper of the components has been realized by a taper of the support element, it is thus possible to ensure a uniform layer thickness of the material of the support element over the junction of two components.
- the layer thickness may in this case be equal to the layer thickness of the support element of the components.
- the protective covering according to the invention in which the entire protective covering consists exclusively of the material of the supporting element and the insulating layer material.
- the absorption behavior with respect to the electromagnetic radiation of the protective covering is very homogeneous or very low overall.
- Metal connecting parts or connecting parts protruding from the protective lining would greatly disturb this homogeneity.
- Embodiments of the component according to the invention for a protective covering of radio systems, the method according to the invention for producing a component for a protective covering of radio systems, a protective covering of radio systems according to the invention, and the method for producing a protective covering for radio systems will be explained below with reference to the attached figures.
- a component 1 according to the invention which comprises an insulating layer 3 and a supporting element 2.
- the layer thickness of the support element 2 will generally be in the range of a few mm and that of the insulating layer 3 in the range of a few cm.
- the outer shape of the component 1 in Fig. 1a is rectangular in plan view.
- the dimensions along the longitudinal sides of the component 1 are typically between a few decimeters and a few meters.
- Fig. 1b an inventive component 1 is shown, in which at the ends tapers 7 of the support element 2 are provided and arranged on its upper side parallel, similar slots 14 in the region of the insulating layer 3 has. Because of the slots 14, the component 1 can be curved. As a result of the taper 7, the components 1, as described further below, can be connected to one another in a particularly advantageous manner to form a protective lining. Even if the rejuvenation 7 in Fig. 1b can be seen only on the right and left sides, it can also be provided according to the invention at the front and / or rear.
- a component 1 according to the invention which has the outer shape of a curvilinear trapezium in plan view.
- Such shapes are advantageous, for example, in the formation of domes for a radome.
- Such forms arise, for example, between latitude and longitude circles on the globe, or on maps of the globe.
- Fig. 1a to Fig. 1c shown rectangular or curvilinear trapezoidal shapes also round, triangular, hexagonal or interlocking forms of components 1 may be possible.
- the outer shape is arbitrary.
- the support element 2 in Fig. 1a to Fig. 1c is made of single or multi-layer glass fiber reinforced plastic and the insulation layer 3 made of PUR foam.
- the glass fiber reinforced plastic can be colored with color particles.
- the support element 2 is in the in Fig. 1a to Fig. 1c illustrated embodiment provided only on one side of the insulating layer 3. Furthermore, the support element 2 is provided in the form of a layer which extends over the entire side of the insulation layer 3. However, the support member 2 may also have the shape of one or more ribs or frames provided on the insulating layer 3.
- Fig. 2 a sectional drawing of the end of a component 1 according to the invention is shown.
- the insulating layer 3 is provided with the thickness 6.
- a support member 2 In the embodiment in FIG Fig. 2 is provided on both sides of the insulating layer 3, a support member 2.
- the thickness 4 and the thickness 5 of the support elements 2 on the top and bottom of the insulating layer 3 are generally different, but may be the same. As a rule, the thickness 4 and 5 is significantly smaller than the thickness 6 of the insulating layer 3.
- a taper 7 of the component 1 is provided towards its end. This is the case in the embodiment which is in Fig. 2 is achieved, characterized in that the thickness 4 of the upper support member 2 is reduced to the left to a thickness 8.
- the thickness 8 can also be zero.
- the layer thickness 6 of the insulating layer 3 between the tapers 7 remains unchanged.
- a further embodiment of a component 1 according to the invention is shown in which are also provided on the top and bottom tapers of the component 1 at the left end of the component 1.
- the layer thickness 6 of the insulating layer 3 is reduced to the left end of the component 1 out to a layer thickness 10, whereby the taper of the component 1 results towards its end.
- the layer thicknesses 4 and 5 of the support elements 2 can change to the left end in each case to the layer thicknesses 11 and 12.
- a stronger or less pronounced taper of the component 1 towards the left end can be achieved, in comparison to the sole tapering of the component 1 by the tapering of the layer thickness 6 to the layer thickness 10 of the insulation layer 3.
- the reduction of the layer thickness must be 4.5 , 6 on each of the layer thickness 11,12,10 non-linear, but may also be stepped or curvilinear.
- support elements 2 on both sides of the insulating layer 3 in the Fig. 2 and Fig. 3 is optional. According to the invention, it is also possible to provide the support element 2 only on one side.
- FIG. 4 various steps of an embodiment according to the invention of the method for producing a component 1 for a radio system are shown.
- a plane 13 is shown on which the component 1 is produced.
- the plane 13 here is the component form 13.
- At the right and left end of the plane 13 can also be provided upwardly extending walls that can limit the component 1 side.
- a layer of a material for the support member 2 is applied.
- a thin layer of a plastic powder provided with color powder is applied to the plane 13.
- glass fibers in the form of mats or mesh are placed and impregnated with the plastic resin.
- the application of synthetic resin and fiberglass material can be done alternately, which can be started both with fiberglass and plastic material.
- One or more layers of the plastic material used to make the support member 2 may be provided with colorant particles.
- an insulating layer 3 is connected to the support member 2.
- This insulating layer 3 can be produced, for example, by applying a polyurethane foam material to the support element 2 and curing it there. Before curing, the polyurethane foam is usually very sticky, so that there is a good connection with the support element 2 after curing. A rough top of the support member 2 is for a good connection with the insulating layer 3 is advantageous because so interlock both materials.
- the insulation layer 3 separately and then to apply it to the support element 2 with a connection step.
- This may include, for example, a gluing.
- Fig. 4d an optional step in the manufacture of a component 1 according to the invention is shown.
- one or more slots 14 are provided on the upper side of the component 1. These slots 14 can be made by cutting, milling, sawing, etc., ie generally by machining, in particular mechanical.
- the component 1 does not necessarily have to lie on the mold 13.
- the depth of the slots 14 may extend to close to the plane 13, but is advantageously not deeper than half the thickness of the component 1.
- a manufacturing step is shown, which is based on the in Fig. 4c can follow the step shown.
- a further support member 2 is applied to the top of the insulating layer 3.
- This further support element 2 can be made similar to the insulating layer 3, as the support element 2 in Fig. 4 b at level 13, as described above.
- the support element 2 shown in FIG. 2 above on the insulating layer 3 Fig. 5a manufacture separately and then connect with a connection step with the insulating layer 3.
- the bonding can be, for example, bonding with polyurethane foam or other suitable adhesives. It is also possible to apply the separately prepared, further top support element 2 prior to curing of the material of the insulating layer 3 and thus also exploit the adhesive properties of the insulating material 3 before curing.
- the illustrated process step can be adapted to the in Fig. 4d and to the in Fig. 5a Connect the step shown.
- Starting from the state in Fig. 4d is applied to the top of the insulating layer 3 in the areas in which no slot 14 is provided, a further layer of the material of the support member 2 so as to form a plurality of support elements 2 between the slots 14.
- Fig. 5a is again made by mechanical processing, ie milling, cutting, sawing, etc., one or more slots 14 on the top of the component 1. Again, the depth of the slots 14 is advantageously max. half the thickness of the component 1.
- Fig. 4d and Fig. 5b can be adapted to any requirements.
- the width is in Fig. 4d and 5b for the sake of clarity shown exaggerated.
- FIG. 6 Another possible embodiment of the method according to the invention is based on Fig. 6 explained.
- Fig. 6a a mold 13 is shown in which the top is curved is.
- the curvature can be from semicircular to almost flat.
- Fig. 4b, 4c and Fig. 5a be in the process steps that in Fig. 6b, 6c and 6d are shown, an inventive component 1 produced.
- the step in Fig. 6d is shown, ie the application of a further support member 2, is optional.
- the ends of the component 1 can be configured, for example, by borders of the component form 13 'at their upper ends so that they terminate perpendicular to the course of the surfaces of the component 1.
- a slit 14, which allows the components 1 to bend, is not absolutely necessary in the case of the curved components 1, but may also be provided according to the invention.
- Fig. 4c, 4d, 5a, 5b . 6c and 6d shown components 1 can be edited at a further process step at their ends. In this case, for example, by tapering the ends tapers 7 are attached. It is also possible to change the angle which the end surface encloses with the side surfaces of the component 1. In the embodiments as they are in Fig. 4c, 4d, 5a, 5b . 6c and 6d are shown, the angle is 90 °, but other angles are possible.
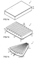
- Fig. 7a and 7b is a perspective and a sectional drawing of a protective panel 17 according to the invention shown.
- the protective cover 17 in Fig. 7a is cylindrical and consists of two rows of 6 components 1 together.
- the radio system to be protected is arranged inside the cylinder, but not shown here.
- the upper and lower ends are closed by appropriate documents or coverings.
- the pad or the cover must meet any special requirements regarding the absorption of electromagnetic radiation and therefore may be arbitrary.
- the components 1 are connected to one another along straight-line connecting lines. However, the connecting lines do not necessarily have to be straight, but can also be curvilinear.
- For producing a protective cover 17, as in Fig. 7a can be shown, for example, in Fig. 1b . 4d . 5b .
- FIG. 7b the possibility is shown in which a slotted component 1, for example as in Fig. 1b . 4d or 5b shown is used.
- the slotted components 1 are curved for assembly, the curvature being made possible by the slots 14 on one side of the components 1.
- FIG. 8a and 8b Another embodiment of a protective cover 18 according to the invention is in the Fig. 8a and 8b shown.
- the angle between the end surface and the lateral surface of the components 1 is not 90 °, but the end surface is slightly bevelled in comparison.
- the protective cover 18 is composed of three rows of 6 components 1 each.
- shown protective cover 17 and 18 is not limited to six. There are also significantly more components 1 in each row possible, for example, several 10 to several 100. However, in principle, a single component 1 for the protective cover 17, which forms a curved cylinder, according to the invention possible.
- a further embodiment of a protective covering 19 according to the invention is shown.
- the protective cover 19 here has the overall shape of a dome 19, as used for example in a radon.
- the radio system such as a radar can be arranged under the dome.
- the dome 19 will be placed on a suitable surface.
- the components 1 have no rectangular shape, but are substantially trapezoidal. There are provided here 3 rows of components 1, wherein the lower two rows have the same number of components 1. However, the rows can also have different number of components 1. For example, the third and top row has a smaller number of components 1 than the two bottom rows.
- the top row of components 1 can taper at its upper end, so that Seen from the outside, they have the overall shape of a curvilinear triangle, but the upper end of the dome 19 can also be formed by a type of closing element, as in FIG FIG. 9 shown.
- a protective cover 19 in the form of a dome, as in Fig. 9 can also be created by assembling planar components 1 without slots 14. The result is a polygon surface similar to the one in FIG. 8 , but closed up. A large number of components 1 is advantageous in this case, since then the angles at which the components 1 abut one another become approximately 180 °.
- the support member 2 of the components 1 on the outside of the protective cover.
- the outside can be very smooth, resulting in a very smooth outer surface of the protective covering. This allows ice and snow to slip well on the fairing and the weight that the protective fairing 17, 18, 19 must hold is not very large.
- FIG Fig. 10 The manner in which it is possible according to the invention to join the various components 1 to the protective coverings 17, 18 or 19 is shown in FIG Fig. 10 shown.
- the components 1 comprise the insulating layer 3 and, in the in Fig. 10 shown embodiment, respectively, an upper and an optional lower support element 2.
- the two workpieces 1 are each provided with a taper 7 at the ends facing each other.
- the taper 7 is realized here by the taper 7 of the support element 2, but can also, as shown above, additionally or exclusively by tapering 7 of the insulation layer 3 can be achieved.
- the components 1 are shown slightly spaced. However, the components 1 can also completely meet, so that the connecting means 16 is present only in the resulting cavities between the two components 1.
- the connecting means 16 may, for. B. be the same material from which the insulation layer 3 was made. Particularly suitable is the PUR foam, which is available for on-site assembly in pressure cans.
- the extension of the connecting means 16 upwards or downwards is preferably equal to the layer thickness of the insulating layer 3, but may also include the thickness of the insulating layer 3 plus the thickness of the supporting element (s) 2 at the ends. Other dimensions are possible according to the invention.
- the connecting means 16 In the event that the material of the connecting means 16 is equal to the insulating layer 3, and also in the case that the extension of the connecting means 16 along the thickness of the components 1 is equal to the thickness of the insulating layer 3, thus results in a continuous area, which is made of one and the same material with one and the same layer thickness and thus a completely homogeneous absorption with respect to the electromagnetic radiation of the radio system.
- other connecting means 16 than the material of the insulating layer 3 and other dimensions along the thickness of the component 1 of the connecting means 16 can also be selected.
- the connecting means 16 may also be omitted according to the invention, since the components can also be connected to one another at their outer / inner side.
- this empty space 15 can now be filled with connecting material in order to establish the connection between the components 1.
- the empty space 15 is preferably filled with the material from which the support element 2 of the components 1 was produced. This has the advantage that the absorption of the electromagnetic radiation in the region of the connection is the same as in the region of the components 1.
- the thickness of the material in the region 15 may be greater / smaller than the layer thickness of the support element 2 of the components 1.
- a protective covering 17,18,19 for a radio system as in Fig. 7a is shown, already curved components 1, as in Fig. 6c and 6d shown used. It is also possible slotted components 1, as in Fig. 1b, 1c . 4d and 5b shown to use.
- the slotted components 1 are curved by the action of an external force, in one direction, so that the slits 14 lie on the curvature inside and thus at least partially close.
- the components 1 are assembled with a connection technique which will be described later. It is advantageous here to assemble the protective covering 17, 18, 19 from a plurality of individual components 1. Thereby, the weight of the components 1 can be kept in a range which makes it possible to mount the components 1 solely with human power, ie in particular without cranes. Thus, protective coverings with several meters or several tens of meters can be built.
- a protective cover 18 for a radio system as in Fig. 8a and 8b can be shown, planar components 1, as shown in Fig. 4c and 5a are shown used.
- the ends of the components 1 will be provided obliquely angled.
- FIG. 9 For protective panels 19 in the form of a dome, as in FIG. 9 can be shown, advantageously components 1 of the type Fig. 1c be used, since a curvature in different directions at different points of the component 1 is possible.
- the other components 1 from the FIGS. 1a, 1b . 4c, 4d . 5a, 5b . 6c, 6d can be used.
- the components 1 of a protective cover 17, 18, 19 are assembled with the connection technique described below to form a protective cover 17, 18, 19.
- the components 1 are supported and held by appropriate devices or by hand at their predetermined place.
- a connecting means 16, e.g. PUR foam is injected into the space between the blunt ends of the components 1. It glues there with the ends of the components 1 and connects them firmly after curing.
- connection means 16 it is also possible according to the invention to first provide a surface, which abuts a component 1 to be assembled, with the connection means 16, then to insert the component 1 to be mounted and to let the connection means 16 dry or harden.
- the components 1 can thereby abut each other directly or even slightly spaced apart from each other.
- the connecting means 16 is optional, since the components 1 are also connected to one another by the step described below.
- the connecting material is applied, from which the support member 2 of the components 1 has been prepared. If tapers 7 are provided at the ends of the components 1, the application takes place in the space 15 created by the taper 7. If the support element 2 of the components 1 is made of fiberglass, the connecting material will advantageously also be fiberglass.
- the GRP is applied by applying thermosetting plastic resin and glass fibers in the form of mats or fabric. The plastic resin is advantageously colored with color particles, so that after joining the components 1, a uniform outer color or color scheme of the protective panel 17,18,19 results.
- the GRP material adheres to the components 1 outside and / or inside, hardens and connects the components 1 with each other so. On the outside, a smooth coherent layer of the material from which the support elements 2 of the components 1 are made is ideally obtained.
- connection of the components 1 can also take place on the inside of the protective covering 17,18,19. This is particularly useful if support elements 2 of the components 1 are also provided on the inside.
- connection with the connecting material in the voids 15 need not necessarily occur. However, it would then be advantageous to seal the joints between the support elements 2 of the various components 1, at least on the outside of the protective cover 17, 18, 19.
- the sealing can be done with suitable sealing materials or with a material from which the support elements 2 of the components 1, eg GRP or even just e.g. Polyestherharz are made.
- the components 1 according to the invention and the connection technology according to the invention it is possible to provide a protective covering 17, 18, 19 according to the invention whose absorption in the region of the connection points is virtually identical to the absorption of the components 1 in a region outside the connection points.
- the finished protective cover 17,18,19 may have a smooth surface on the ice and snow slip well. Due to the good insulation properties are special heating, cooling, or air conditioning systems for the interior of the protective cover 17,18,19 in which the radio system is located, not or only with very low power necessary.
Landscapes
- Engineering & Computer Science (AREA)
- Architecture (AREA)
- Civil Engineering (AREA)
- Structural Engineering (AREA)
- Life Sciences & Earth Sciences (AREA)
- Wood Science & Technology (AREA)
- Laminated Bodies (AREA)
- Details Of Garments (AREA)
- Professional, Industrial, Or Sporting Protective Garments (AREA)
- Details Of Aerials (AREA)
- Shielding Devices Or Components To Electric Or Magnetic Fields (AREA)
- Burglar Alarm Systems (AREA)
- Telephone Set Structure (AREA)
Description
- Die Erfindung betrifft Schutzverkleidungen für funktechnische Anlagen, Verfahren zur Herstellung solcher Schutzverkleidungen, Bauteile für solche Schutzverkleidungen, wobei die Bauteile eine Isolationsschicht umfassen, sowie Verfahren zur Herstellung für derartige Bauteile.
- Schutzverkleidungen für funktechnische Anlagen dienen dazu, die Funk- bzw. Sendeanlagen auf Sendemasten oder Radarsysteme vor Umwelt- und Wettereinflüssen zu schützen. Bei Radarsystemen haben solche Schutzverkleidungen oft die Form einer Kuppel und werden als Radom bezeichnet.
- Derartige Schutzverkleidungen sollten in der Regel ein niedriges Absorptionsverhalten für die elektromagnetische Strahlung der jeweiligen Funk- oder Radaranlage haben. Dadurch ist die Schwächung der Signalintensität der elektromagnetische Strahlung durch die Schutzverkleidung nur gering.
- Bekannt ist es, Schutzverkleidungen dieser Art aus einem Polyurethan(PUR)-Hartschaum herzustellen. Eine solche bekannte Schutzverkleidung ist in
Figur 11 dargestellt. Die funktechnische Anlage ist im Inneren des inFigur 11 dargestellten Zylinders angeordnet. Die einzelnen Bauteile 21,22 der Schutzverkleidung 20 werden als gewölbte Bauteile 21,22 in Hohlformen hergestellt und bei der Montage vor Ort über eine Stufenfalz nebeneinander angeordnet. Die hierbei entstehenden Fugen 24 werden mit Hilfe von Einschalungen 23 mit aushärtendem Schaum ausgeschäumt, um so die Bauteile 21,22 miteinander zu verbinden. Da die Bauteile 21,22 selbsttragend sind, müssen sie eine gewisse Stabilität aufweisen, so dass das Material, aus dem sie hergestellt sind, typischerweise eine Dichte von 200 kg/m3 bis 250 kg/m3 hat. - Nachteilig bei derartigen Schutzverkleidungen ist, dass sie bei starken Temperaturschwankungen zu Rissbildungen neigen und sich auf der Oberfläche der Schutzverkleidung leicht Eis und Schnee ansammelt. Das Gewicht des Eis und Schnees kann eine gewisse Einsturzgefahr für die Verkleidung darstellen.
- Weiterhin sind, bedingt durch das große Gewicht der Bauteile, bei der Montage Hilfsmittel, wie z. B. ein Kran, notwendig, wodurch die Kosten der Montage stark erhöht werden. Die Anordnung von Verschalungen ist hierbei sehr zeit- und kostenaufwendig.
- Aus der
DE 30 37 727 ist ein Fassadenelement zum Schutz funktechnischer Anlagen bekannt. Aus derDE 26 16 294 ist eine Mehrschichtplatte oder -schale aus Kunststoff bekannt. Ferner ist aus derUS-A-3 427 626 eine Schutzverkleidung für funktechnische Anlagen gemäß dem Oberbegriff des Anspruchs 1 bekannt. - Aufgabe der vorliegenden Erfindung ist es daher, ein Bauteil und eine Schutzverkleidung sowie die jeweiligen Herstellungsverfahren dazu zu schaffen, mit denen eine einfache Montage der Bauteile zu einer Schutzverkleidung möglich ist.
- Die Aufgabe wird durch eine Schutzverkleidung nach Anspruch 1 sowie einem Verfahren zur Herstellung einer Schutzverkleidung nach Anspruch 17 gelöst.
- Das erfindungsgemäße Bauteil weist ein Stützelement auf, das auf einer Seite der Hartschaumschicht vorgesehen ist. Das Stützelement übernimmt hierbei zu einem wesentlichen Teil die tragende bzw. selbsttragende Aufgabe des Bauteils, so dass die Isolationsschicht in Bezug auf andere Kriterien als die tragende Funktion, optimiert werden kann. So ist es beispielsweise möglich, die Isolationsschicht in Bezug auf die Isolationseigenschaft hin zu optimieren. Dadurch wird es möglich, die Isolationseigenschaften so zu verbessern, dass innerhalb der Schutzverkleidung auf Klimanalagen, Heizung oder Kühlung weitgehend verzichtet werden kann. Weiterhin ist es möglich die Isolationsschicht mit einer geringen Dichte vorzusehen, so dass insgesamt das Gewicht der Bauteile möglichst niedrig gehalten wer den kann. Das niedrige Gewicht ist für die Montage von großen Vorteil, da so auf Kräne verzichtet werden kann.
- Die Isolationsschicht kann beispielsweise aus einem Hartschaum hergestellt sein. Ein Beispiel hierfür ist Polyurethan(PUR)-Schaum. Jedoch ist auch jedes andere Isolationsmaterial denkbar. Für die Stabilität ist zumindest ein Mindestmass an Verformungssteifheit des Materials der Isolationsschicht von Vorteil. Ein Beispiel für ein solches Material ist etwa Styropor.
- Eine vorteilhafte Ausführungsform der Erfindung ist dadurch gegeben, dass das Stützelement aus einem Verbundwerkstoff gefertigt ist und hierbei vorzugsweise aus einem glasfaserverstärkten Kunststoff (GFK). Verbundwerkstoffe sind Werkstoffe, die sich aus zwei verschiedenen Materialien zusammensetzen, wobei ein Material in der Regel faserförmig ist. Bekannt sind hierbei beispielsweise Glas- oder Kohlefasern. Der zweite Stoff ist in der Regel ein ausgehärteter Kunststoff, wie aus Polyestherharz gewonnenes Polyester oder ähnliches.
- Verbundwerkstoffe können in beliebigen Formen hergestellt werden und sind auch bei dünnen Materialstärken verbiegungs- und verwindungssteif sowie bruchfest.
- Der Vorteil derartiger Verbundwerkstoffe für Schutzverkleidungen für funktechnische Anlagen ist, dass die Materialstärke dünn gehalten werden kann, so dass die Absorption relativ niedrig ist und trotzdem noch eine insgesamt ausreichende Stabilität der Schutzverkleidung vorliegt.
- Eine weitere besondere Ausführungsform besteht darin, dass sich das Stützelement in direkten Kontakt mit der Isolationsschicht befindet. Während zwischen dem Stützelement und der Isolationsschicht verschiedene weitere Materialien vorgesehen sein können, wie z. B. Klebeschichten oder Schichten, die die Durchlässigkeit bestimmter Flüssigkeiten oder Gase beeinflussen, ist es von Vorteil, wenn das Stützelement in direkten Kontakt zu der Isolationsschicht vorgesehen ist.
- Wird beispielsweise die Isolationsschicht aus Polyurethanschaum hergestellt, so weist der noch nicht ausgehärtete Schaum ein gutes Klebevermögen auf, so dass die Isolationsschicht in einem sehr stabilen Kontakt zu dem Stützelement hergestellt werden kann. Dadurch ist eine spätere Ablösung der Isolationsschicht von dem Stützelement sehr unwahrscheinlich. Dasselbe gilt, falls das Stützelement bei seiner Herstellung oder Verarbeitung zumindest zeitweise stark klebende Eigenschaften hat, so dass auch das Stützelement einen guten Zusammenhang mit der Isolationsschicht aufweist.
- Eine besonders vorteilhafte Ausführungsform des erfindungsgemäßen Bauteils ergibt sich dadurch, dass das Stützelement in Form einer Schicht vorzugsweise auf der gesamten Fläche mindestens einer Seite der Isolationsschicht vorgesehen ist. Für die Funktion der funktechnischen Anlage ist es von großer Wichtigkeit, dass die Schutzverkleidung die elektromagnetischen Wellen möglichst homogen in alle Raumrichtungen, wenn überhaupt, nur schwach absorbiert. Dadurch, dass das Stützelement über die gesamte Fläche der Isolationsschicht vorgesehen ist, ergibt sich somit eine homogene Absorption der in/aus der Schutzverkleidung ein/austretenden elektromagnetischen Strahlung. Weiterhin ist es für die Stabilität des Bauteils von Vorteil, wenn sich das Stützelement über die gesamte Fläche einer Seite der Isolationsschicht erstreckt.
- Weiterhin ist es für die Stabilität von Vorteil, wenn zwei Stützelemente auf zwei gegenüberliegenden Seiten der Isolationsschicht vorgesehen sind.
- Eine besonders vorteilhafte Ausführungsform des erfindungsgemäßen Bauteils ergibt sich dadurch, dass sich das Bauteil und/oder das Stützelement und/oder die Isolationsschicht zu den Enden des Bauteils hin verjüngt. Durch die Verjüngung ist es möglich, die Bauteile so miteinander zu verbinden, dass sich nach Verbinden von zwei benachbarten Bauteilen an der Verbindungsstelle kein Wulst oder derartiges ausbildet. Der Raum, der durch die Verjüngung gewonnen wird, kann somit zum Verbinden der Bauteile verwendet werden. Damit ist es möglich eine glatte, d.h. wulstfreie Oberfläche zu erhalten, auf der Eis und Schnee auf der Oberfläche gut abrutschen kann, so dass die Schutzverkleidung nicht belastet wird. Weiterhin ist es möglich die Dicke der Schutzverkleidung im Bereich der Verbindungsstellen gleich der im Bereich der Bauteile entfernt von Verbindungsstelle zu gestalten, so dass die Absorption der elektromagnetischen Strahlung homogen über den Schutzverkleidungsbereich ist.
- Die Verjüngung des Bauteils kann sowohl durch eine Verjüngung des Stützelements, als auch durch eine Verjüngung der Isolationsschicht oder auch einer Kombination der beiden realisiert werden. Besonders vorteilhaft ist jedoch, die Verjüngung durch die Verjüngung des Stützelements vorzusehen, da somit bei anschliessender Montage der Bauteile zu einer Schutzverkleidung durch Aufbringen von weiteren Material des Stützelements im Bereich der Verjüngung die gleiche Werkstoffdicke, wie in dem restlichen Bauteil erreicht werden kann, so dass wiederum die Absorption der elektromagnetischen Strahlung der funktechnischen Anlage durch die Schutzverkleidung in verschiedenen Abstrahl- oder Einfallrichtungen völlig homogen ist.
- Vorteilhaft ist eine Ausführungsform des erfindungsgemäßen Bauteils, bei dem die Isolationsschichtsdicke eine Dicke von 30 mm bis 120 mm, vorzugsweise von 60 mm aufweist.
- Durch eine derartige Dicke wird ein ausreichendes Isolationsverhalten, sowie eine ausreichende Stabilität des Gesamtbauteils erreicht.
- Weiterhin vorteilhaft ist eine Ausführungsform des erfindungsgemäßen Bauteils, bei dem das Bauteil eben oder in eine Richtung gekrümmt ist. Die ebene Ausführungsform des Bauteils läßt sich kostengünstig herstellen, da auf einer einzelnen vorgegebenen Ebene Bauteile verschiedener Größe hergestellt werden können. Ein Bauteil, das gekrümmt ist, ist besonders gut geeignet, falls die gesamte Schutzverkleidung insgesamt gekrümmt ist.
- Das erfindungsgemäße Bauteil hat vorteilhafterweise stumpfe Enden. Die stumpfen Enden lassen sich sehr leicht durch Isolationsmaterial, wie beispielsweise Polyurethanschaum miteinander verkleben.
- Das Isolationsschichtmaterial hat bevorzugterweise eine Dichte im Bereich von 40 kg/m3 bis 160 kg/m3, wobei insbesondere eine Dichte im Bereich um 80 kg/m3, sowohl für die Isolationseigenschaften, als auch für das Gewicht des Bauteils unter Berücksichtigung der Stabilitätsbedürfnisse optimal ist.
- Eine weitere besonders vorteilhafte Ausführungsform der Erfindung besteht darin, dass das Bauteil auf einer Seite Schlitze aufweist, wobei die Seite bervorzugterweise die dem Stützelement gegenüberliegende Seite ist. Die Schlitze können sich in die Isolationsschicht herein erstrecken und auch Schlitze in dem Stützelement bilden. Die Schlitzung des Bauteils auf einer Seite führt dazu, dass das Bauteil durch Einwirkung einer äußeren Kraft gekrümmt werden kann, so dass auch mit einem Bauteil, das vor der Schlitzung eben war, zur Herstellung von gekrümmten Schutzverkleidungen verwendet werden kann. Die Schlitze haben vorteilhafterweise eine Tiefe von max. der Hälfte der Dicke des Bauteils, jedoch kann die Tiefe auch wesentlich größer oder wesentlich kleiner sein.
- Vorteilhaft ist hierbei insbesondere, wenn mindestens zwei Schlitze oder mindestens zwei Gruppen von im Wesentlichen parallelen Schlitzen vorgesehen sind, die verschiedene Richtungen aufweisen. Durch beispielsweise eine fächerförmige Anordnung der Schlitze ist es möglich, dass Bauteil zu einem Kegelmantelteil zu krümmen. Die Krümmung an einem Ende des Bauteils ist somit größer als die Krümmung an einem anderen Ende des Bauteils. Das vergrößert die Möglichkeit Bauteile für viele verschiedene Formen von möglichen Schutzverkleidungen zu schaffen. Bauteile mit Kegelmantelform sind auch für Kuppelförmige Schutzverkleidungen vorteilhaft einsatzbar.
- Eine besonders vorteilhafte Ausführungsform der Erfindung besteht darin, dass das Stützelement Farbpartikel in Pulverform umfasst. Durch derartige Pulver wird die mechanische Stabilität des Stützelements, wenn überhaupt, nur geringfügig beeinträchtigt, wenn nicht sogar noch erhöht, jedoch erhält das Stützelement damit gleich seine Farbe. Damit kann ein späterer Anstrich oder weitere Ausbesserungsanstriche, die zu weiteren Kosten führen, vermieden werden.
- Ein erfindungsgemäßes Verfahren zum Herstellen eines erfindungsgemäßen Bauteils umfasst die Herstellung einer Isolationsschicht und einem damit verbundenen Stützelement. Für die Herstellung des erfindungsgemäßen Bauteils gibt es mehrere Möglichkeiten die verschiedenen Komponenten des Bauteils herzustellen und miteinander zu verbinden. Es ist beispielsweise erfindungsgemäß möglich, das Stützelement und die Isolationsschicht getrennt voneinander zu fertigen und anschließend miteinander zu verbinden, beispielsweise miteinander zu verkleben.
- Auch ist es erfindungsgemäß möglich, zuerst die Isolationsschicht herzustellen und auf der Isolationsschicht das Stützelement herzustellen, so dass sich das Stützelement gleich mit der Isolationsschicht verbindet und sich seiner Form anpasst.
- Jedoch ist es auch umgekehrt möglich, zunächst das Stützelement herzustellen und dann die Isolationsschicht so anzufertigen, dass sich diese durch vorübergehende klebende Eigenschaften des Isolationsschichtmaterials gleich mit dem Stützelement verbindet und sich seiner Form eventuell anpasst.
- Auch ist es beispielsweise möglich, eine fertige oder noch trocknende Isolationsschicht mit dem Material für das Stützelement, das eventuell selber noch am aushärten ist und somit noch klebend ist, miteinander zu verbinden.
- Vorteilhafte Ausführungsformen des Verfahrens sind in den abhängigen Verfahrensansprüchen offenbart.
- Besonders vorteilhaft ist hierbei die Herstellung des Stützelements oder der Isolationsschicht in einer Bauteilform. Dadurch ist es zum einen möglich eine glatte Oberfläche, beispielsweise des Stützelements, herzustellen. Diese glatte Oberfläche ist für die Schutzverkleidung, die mit einem solchen Bauteil hergestellt wird von großem Vorteil, da dadurch Eis und Schnee auf der Oberfläche des Bauteils und somit auf der Oberfläche der Schutzverkleidung herabrutschen können und nicht auf der Oberfläche belastend liegen bleiben.
- Weiterhin ist die Verwendung einer Bauteilform vorteilhaft, um gleich die äußere Form des Bauteils bei der Herstellung vorzugeben. Eine spätere Nachbehandlung, beispielsweise durch Schneiden oder Sägen, um eine gewünschte äußere Geometrie des Bauteils zu erreichen, ist somit nicht nötig.
- Vorteilhaft ist insbesondere eine solche Bauteilform, bei der sich die Verjüngung des Bauteils zu seinen Enden hin ergibt. Wird beispielsweise ein sich zu seinen Enden hin verjüngendes Bauteil hergestellt, so hätte eine entsprechende Bauteilform zu den Enden der Bauteilform hin eine Abweichung von der ebenen Struktur, beispielsweise in der Form eines Wulst oder einer Schräge, so dass sich die Verjüngung des Bauteils ergibt.
- Um die Verjüngung des Bauteils erfindungsgemäß zu erreichen, kann das Stützelement gleich mit einer entsprechenden Verjüngung zu den Enden hin hergestellt werden. Es ist jedoch auch eine Nachbearbeitung möglich, so dass sich eine Verjüngung durch eine mechanische Bearbeitung ergibt.
- Weiterhin ist eine Bauteilform vorteilhaft, bei der bereits durch die Bauteilform Schlitze in dem fertig hergestellten Bauteil ausgeformt sind. Auch ist es bei dem erfindungsgemäßen Verfahren möglich, die Schlitze auf mechanischem Wege durch Sägen, Fräsen oder Schneiden oder ähnliches herzustellen.
- Mit den oben beschriebenen erfindungsgemäßen Bauteilen oder den nach dem erfindungsgemäßen Verfahren hergestellten Bauteilen ist es nun möglich, Schutzverkleidungen für funktechnische Anlagen zu schaffen.
- Vorteilhaft ist hierbei eine Schutzverkleidung, bei der die einzelnen Bauteile mit einem Verbindungsmittel miteinander verbunden sind, wobei das Verbinden vorzugsweise ein Verkleben umfasst. Das Verbindungsmittel, das zum Verbinden verwendet wird, ist vorteilhafterweise das gleiche Material aus dem die Isolationsschicht des Bauteils hergestellt wurde. Durch Verbinden der Bauteile mit einem solchen Verbindungsmittel wird eine besonders gute Homogenität der Schutzverkleidung in Bezug auf die Absorption der elektromagnetischen Strahlung erreicht. Dadurch, dass die Bauteile selber zu einem gewissen Anteil aus Isolationsmaterial bestehen, kann die Verbindung der Bauteile mit dem Isolationsmaterial dazu führen, dass die Absorption der elektromagnetischen Strahlung, beispielsweise im Bereich in der Mitte eines Bauteils, dieselbe ist, wie an einer Verbindungsstelle von zwei Bauteilen.
- Weiterhin ist es vorteilhaft, die Bauteile auf der Innen- und/oder Außenseite der Schutzverkleidung mit Verbindungsmaterial miteinander zu verbinden. Vorteilhafterweise wird hierbei das Material verwendet, das auch das Material des Stützelements der Bauteile ist. Dies ist für die Homogenität der Absorption der elektromagnetischen Strahlung durch die Schutzverkleidung von besonderem Vorteil. Weiterhin ist es so möglich, außen auf der Schutzverkleidung eine zusammenhängende Oberfläche zu schaffen, die insgesamt aus dem Material des Stützelements bzw. der Stützelemente besteht. Es läßt sich so insgesamt eine sehr glatte Oberfläche fertigen, auf der Eis und Schnee leicht herabrutschen kann, so dass durch das Gewicht von Eis und Schnee die Einsturzgefahr einer solchen Schutzverkleidung nahezu null ist.
- Falls als Material für das Stützelement glasfaserverstärkter Kunststoff verwendet wird, ist es beispielsweise möglich, in den Verjüngungen der Bauteile an ihren Enden eine oder mehrere Schichten von Glasfasern aufzubringen und anschließend einen entsprechendes Kunststoffharz in den Bereich der Verjüngungen der Enden der Bauteile aufzubringen. Vorausgesetzt, dass eine Verjüngung der Bauteile durch eine Verjüngung des Stützelements realisiert wurde, wird es so möglich eine einheitliche Schichtdicke des Materials des Stützelements über die Verbindungsstelle von zwei Bauteilen hinweg zu gewährleisten. Die Schichtdicke kann hierbei gleich der Schichtdicke des Stützelements der Bauteile sein.
- Vorteilhaft ist eine Ausführungsform, bei der die Bauteile gekrümmt sind. Dadurch können die Enden der Bauteile stumpf aufeinander stoßen, sich insgesamt jedoch eine gekrümmte Form der Schutzverkleidung ergeben. Schlitze, die auf der Innenseite der Krümmung angeordnet sind, können sich durch die Krümmung des Bauteils ganz oder teilweise schließen.
- Besonders vorteilhaft ist hierbei eine Ausführungsform der erfindungsgemäßen Schutzverkleidung, bei der die gesamte Schutzverkleidung ausschließlich aus dem Material des Stützelements und dem Isolationsschichtmaterial besteht. Durch eine derartige Schutzverkleidung ist das Absorptionsverhalten bezüglich der elektromagnetischen Strahlung der Schutzverkleidung insgesamt sehr homogen bzw. sehr niedrig. Verbindungsteile aus Metall oder Verbindungsteile, die aus der Schutzverkleidung hervorragen, würden diese Homogenität stark stören.
- Vorteilhafte Ausführungsformen des erfindungsgemäßen Verfahrens zum Herstellen einer Schutzverkleidung sind in den abhängigen Ansprüchen des Anspruchs 33 offenbart.
- Im Folgenden werden Ausführungsformen des erfindungsgemäßen Bauteils für eine Schutzverkleidung funktechnischer Anlagen, das erfindungsgemäßen Verfahren zur Herstellung eines Bauteils für eine Schutzverkleidung funktechnischer Anlagen, eine erfindungsgemäße Schutzverkleidung funktechnischer Anlagen, sowie das Verfahren zur Herstellung einer Schutzverkleidung für funktechnische Anlagen anhand der beiliegenden Figuren erläutert.
- Dabei zeigt:
-
Fig.1a, 1b, 1c perspektivische Ansichten verschiedener Ausführungsformen erfindungsgemäßer Bauteile, -
Fig. 2 eine Schnittzeichnung des Endes eines erfindungsgemäßen Bauteils, -
Fig. 3 eine Schnittzeichnung des Endes eines erfingungsgemäßen Bauteils, -
Fig. 4 Schnittzeichnungen von verschiedenen Herstellungsschritten bei der Herstellung eines erfingungsgemäßen Bauteils, -
Fig. 5 Schnittzeichnungen von optionalen Schritten bei der Herstellung eines erfindungsgemäßen Bauteils, -
Fig. 6 Schnitte einer Bauteilform und verschiedene Prozessschritte bei der Herstellung eines erfindungsgemäßen Bauteils. -
Fig. 7a perspektivische Darstellung einer erfindungsgemäßen Schutzverkleidung, -
Fig. 7b Schnittzeichnung einer erfindungsgemäßen Schutzverkleidung, -
Fig. 8a perspektivische Darstellung einer erfindungsgemäßen Schutzverkleidung, -
Fig. 8b Schnittzeichnung einer erfindungsgemäßen Schutzverkleidung, -
Fig. 9 perspektivische Darstellung einer erfindungsgemäßen Schutzverkleidung, -
Fig. 10 eine Schnittzeichnung einer Verbindungsstelle von zwei erfindungsgemäßen Bauteilen einer erfindungsgemäßen Schutzverkleidung, -
Fig. 11 Bauteile einer Schutzverkleidung gemäß dem Stand der Technik, - In
Fig. 1a ist ein erfindungsgemäßes Bauteil 1 gezeigt, das eine Isolationsschicht 3 und ein Stützelement 2 umfasst. Die Schichtdicke des Stützelements 2 wird in der Regel im Bereich von wenigen mm liegen und die der Isolationsschicht 3 im Bereich von einigen cm. - Die äußere Form des Bauteils 1 in
Fig. 1a ist bei Draufsicht rechteckig. Die Abmessungen entlang der Längsseiten des Bauteils 1 betragen typischerweise zwischen einigen Dezimetern und einigen Metern. - In
Fig. 1b ist ein erfindungsgemäßes Bauteil 1 dargestellt, bei dem an den Enden Verjüngungen 7 des Stützelementes 2 vorgesehen sind und das auf seiner Oberseite parallel angeordnete, gleichartige Schlitze 14 im Bereich der Isolationsschicht 3 aufweist. Wegen der Schlitze 14 kann das Bauteil 1 gekrümmt werden. Durch die Verjüngung 7 können die Bauteile 1, wie weiter unter beschrieben, besonders vorteilhaft miteinander zu einer Schutzverkleidung verbunden werden. Auch wenn die Verjüngung 7 inFig. 1b nur an der rechten und linken Seite zu erkennen ist, kann sie auch an der Vorder- und/oder Rückseite erfindungsgemäß vorgesehen sein. - In
Fig. 1c ist eine Ausführungsform eines erfindungsgemäßen Bauteils 1 dargestellt, das bei Draufsicht die äußere Form eines krummlinigen Trapezes hat. Solche Formen sind beispielsweise bei der Bildung von Kuppeln für ein Radom vorteilhaft. Derartige Formen ergeben sich beispielsweise zwischen Längen- und Breitenkreisen auf der Erdkugel, bzw. auf Karten der Erdkugel. - Auch bei dem Bauteil 1 in
Fig. 1c sind die Verjüngungen 7 an den Enden des Bauteils 1 dargestellt. - Statt der in
Fig. 1a bis Fig. 1c gezeigten rechteckigen oder krummlinig trapezförmigen Formen können auch runde, dreieckige, sechseckige oder ineinander verzahnende Formen von Bauteilen 1 möglich sein. Die äußere Form ist beliebig wählbar. - Das Stützelement 2 in
Fig. 1a bis Fig. 1c ist aus ein- oder mehrlagigem glasfaserverstärkem Kunststoff hergestellt und die Isolationsschicht 3 aus PUR-Schaum. Der glasfaserverstärkte Kunststoff kann mit Farbpartikeln eingefärbt sein. - Das Stützelement 2 ist bei der in
Fig. 1a bis Fig. 1c dargestellten Ausführungsform nur auf einer Seite der Isolationschicht 3 vorgesehen. Weiterhin ist das Stützelement 2 in Form einer Schicht vorgesehen, die sich über die gesamte Seite der Isolationsschicht 3 erstreckt. Das Stützelement 2 kann jedoch auch die Form einer oder mehrerer Rippen oder Rahmen haben, die auf der Isolationsschicht 3 vorgesehen sind. - Entlang der Längsseiten der erfindungsgemäßen Bauteile 1 der
Figuren 1a,1b und 1c sind stumpfe Enden ausgebildet. - In
Fig. 2 ist eine Schnittzeichnung des Endes eines erfindungsgemäßen Bauteils 1 gezeigt. Die Isolationsschicht 3 ist mit der Dicke 6 vorgesehen. In der Ausführungsform inFig. 2 ist auf beiden Seiten der Isolationsschicht 3 ein Stützelement 2 vorgesehen. Die Dicke 4 und die Dicke 5 der Stützelemente 2 auf der Ober- und Unterseite der Isolationsschicht 3 sind im Allgemeinen verschieden, können jedoch auch gleich sein. In der Regel ist die Dicke 4 und 5 deutlich kleiner als die Dicke 6 der Isolationsschicht 3. - Bei der Ausführungsform des in
Fig. 2 dargestellten erfindungsgemäßen Bauteils 1 ist eine Verjüngung 7 des Bauteils 1 zu seinem Ende hin vorgesehen. Dies wird bei der Ausführungsform, die inFig. 2 dargestellt ist, dadurch erreicht, dass sich die Dicke 4 des oberen Stützelements 2 nach links hin auf eine Dicke 8 reduziert. Die Dicke 8 kann auch null sein. Auch an der Unterseite kann eine derartige Verjüngung 7 der Schichtdicke 5 auf eine Schichtdicke 9, die auch null sein kann, vorhanden sein. Die Reduzierung der Dicken 4 und 5 auf jeweils die Dicken 8 und 9 muss nicht, wie inFig. 2 dargestellt, linear erfolgen, sondern kann auch gestuft oder gekrümmt vorgesehen sein. Bei dem Ausführungsbeispiel inFig. 2 bleibt die Schichtdicke 6 der Isolationsschicht 3 zwischen den Verjüngungen 7 unverändert. - In
Fig. 3 ist eine weitere Ausführungsform eines erfindungsgemäßen Bauteils 1 gezeigt, bei dem auch an der Ober- und Unterseite Verjüngungen des Bauteils 1 am linken Ende des Bauteils 1 vorgesehen sind. Hierbei wird die Schichtdicke 6 der Isolationsschicht 3 zum linken Ende des Bauteils 1 hin auf eine Schichtdicke 10 reduziert, wodurch sich die Verjüngung des Bauteils 1 zu seinem Ende hin ergibt. Auch die Schichtdicken 4 und 5 der Stützelemente 2 können sich zum linken Ende hin jeweils auf die Schichtdicken 11 und 12 verändern. Dadurch kann eine stärkere oder weniger starke Verjüngung des Bauteils 1 zum linken Ende hin erreicht werden, im Vergleich zur alleinigen Verjüngung des Bauteils 1 durch die Verjüngung der Schichtdicke 6 auf die Schichtdicke 10 der Isolationsschicht 3. Auch hier muss die Reduzierung der Schichtdicke 4,5,6 auf jeweils die Schichtdicke 11,12,10 nicht linear erfolgen, sondern kann auch gestuft oder krummlinig sein. - Das Vorsehen von Stützelementen 2 auf beiden Seiten der Isolationsschicht 3 in den
Fig. 2 und Fig. 3 ist optional. Erfindungsgemäß ist es auch möglich, nur auf einer Seite das Stützelement 2 vorzusehen. - In
Fig. 4 werden verschiedene Schritte einer erfindungsgemäßen Ausführungsform des Verfahrens zum Herstellen eines Bauteiles 1 für eine funktechnische Anlage gezeigt. - In
Fig. 4a ist eine Ebene 13 gezeigt, auf der das Bauteil 1 hergestellt wird. Die Ebene 13 ist hierbei die Bauteilform 13. Am rechten und linken Ende der Ebene 13 können auch sich nach oben erstreckende Wände vorgesehen sein, die das Bauteil 1 seitlich begrenzen können. - In
Fig. 4b ist dargestellt, wie auf der Ebene 13 eine Schicht eines Materials für das Stützelement 2 aufgebracht ist. Hierzu wird beispielsweise eine dünne Schicht eines mit Farbpulver versehenen Kunststoffharzes auf die Ebene 13 aufgebracht. Anschließend werden Glasfasern in Form von Matten oder Geflecht aufgelegt und mit dem Kunststoffharz getränkt. Es können durch Aufbringen von mehreren Lagen Glasfasermaterials auch mehrlagige Verbundwerkstoffe hergestellt werden. Hierbei kann das Aufbringen von Kunstharz und Glasfasermaterial abwechselnd geschehen, wobei sowohl mit Glasfaser als auch mit Kunststoffmaterial begonnen werden kann. - Eine oder mehrere Lagen des Kunststoffmaterials, das zur Herstellung des Stützelements 2 verwendet wird, kann hierbei mit Farbpartikeln versehen sein.
- Wie in
Fig. 4c dargestellt, ist eine Isolationsschicht 3 mit dem Stützelement 2 verbunden. Diese Isolationsschicht 3 kann beispielsweise dadurch hergestellt werden, dass ein Polyurethanschaummaterial auf dem Stützelement 2 aufgebracht wird und dort aushärtet. Vor dem Aushärten ist der Polyurethanschaum in der Regel sehr klebrig, so dass sich eine gute Verbindung mit dem Stützelement 2 nach dem Aushärten ergibt. Eine rauhe Oberseite des Stützelements 2 ist für eine gute Verbindung mit der Isolationsschicht 3 von Vorteil, da sich so beide Materialien ineinander verhaken. - Es ist erfindungsgemäß jedoch auch möglich, die Isolationsschicht 3 separat herzustellen und anschließend mit einem Verbindungsschritt auf dem Stützelement 2 aufzubringen. Dies kann beispielsweise auch ein Verkleben umfassen.
- In
Fig. 4d ist ein optionaler Schritt bei der Herstellung eines erfindungsgemäßen Bauteils 1 gezeigt. In die auf der Ebene 13 aufgebrachten Materialien wird auf der Oberseite des Bauteils 1 ein oder mehrere Schlitze 14 vorgesehen. Diese Schlitze 14 können durch Schneiden, Fräsen, Sägen etc., d. h. allgemein durch Bearbeitung, insbesonders mechanische, hergestellt werden. Das Bauteil 1 muss dazu nicht notwendigerweise auf der Form 13 liegen. - Die Tiefe der Schlitze 14 kann sich bis nahe an die Ebene 13 erstrecken, ist jedoch vorteilhafterweise nicht tiefer als die Hälfte der Dicke des Bauteils 1. Dadurch, dass die Schlitze 14 nicht zu tief in die Isolationsschicht 3 hineingearbeitet werden, bleibt die Stabilität des Bauteils 1 in einem hohen Maße erhalten.
- In
Fig. 5a ist ein Herstellungsschritt gezeigt, der auf den inFig. 4c gezeigten Schritt folgen kann. Wie inFig. 5a dargestellt, ist auf der Oberseite der Isolationsschicht 3 ein weiteres Stützelement 2 aufgebracht. Dieses weitere Stützelement 2 kann auf der Isolationsschicht 3 ähnlich hergestellt werden, wie das Stützelement 2 inFig. 4 b auf der Ebene 13, wie weiter oben beschrieben. - Auch ist es möglich, das oben auf der Isolationsschicht 3 dargestellte Stützelement 2 in
Fig. 5a separat herzustellen und anschließend mit einem Verbindungsschritt mit der Isolationsschicht 3 zu verbinden. Das Verbinden kann beispielsweise ein Verkleben mit Polyurethanschaum oder sonstigen geeigneten Klebern sein. Auch ist es möglich, das separat hergestellte, weitere oben aufliegende Stützelement 2 vor dem Aushärten des Materials der Isolationsschicht 3 aufzubringen und so auch die klebenden Eigenschaften des Isolationsmaterials 3 vor dem Aushärten auszunutzen. - Der in
Fig. 5b dargestellte Prozessschritt kann sich an den inFig. 4d und an den inFig. 5a dargestellten Schritt anschließen. Ausgehend von dem Zustand inFig. 4d wird auf der Oberseite der Isolationsschicht 3 in den Bereichen in denen kein Schlitz 14 vorgesehen ist, eine weitere Lage des Materials des Stützelements 2 aufgebracht, um so mehrere Stützelemente 2 zwischen den Schlitzen 14 zu bilden. - Ausgehend von
Fig. 5a wird wieder durch mechanische Bearbeitung, d. h. Fräsen, Schneide, Sägen etc. ein oder mehrere Schlitze 14 auf der Oberseite des Bauteils 1 gefertigt. Auch hier ist die Tiefe der Schlitze 14 vorteilhafterweise max. die Hälfte der Dicke des Bauteils 1. - Die Breite und Anzahl der Schlitze in
Fig. 4d und Fig. 5b kann beliebig den Bedürfnissen angepasst werden. Die Breite ist inFig. 4d und 5b der Anschaulichkeit halber überhöht dargestellt. - Eine weitere mögliche Ausführungsform des erfindungsgemäßen Verfahrens wird anhand von
Fig. 6 erläutert. InFig. 6a ist eine Form 13 dargestellt, bei der die Oberseite gekrümmt ist. Die Krümmung kann von halbrund bis nahezu eben sein. Entsprechend zuFig. 4b, 4c und Fig. 5a werden in den Prozesschritten, die inFig. 6b, 6c und 6d dargestellt sind, ein erfindungsgemäßes Bauteil 1 hergestellt. Der Schritt, der inFig. 6d dargestellt ist, d. h. das Aufbringen eines weiteren Stützelements 2, ist optional. Durch die Ausgestaltungsform der Bauteilform 13', wie sie inFig. 6 dargestellt ist, ergibt sich ein gekrümmtes Bauteil 1. Die Enden des Bauteils 1 können beispielsweise durch Umrandungen der Bauteilform 13' an ihren oberen Enden so ausgestaltet sein, dass sie senkrecht zu dem Verlauf der Oberflächen des Bauteils 1 abschließen. Eine Schlitzung 14, die es ermöglicht die Bauteile 1 zu Krümmen, ist bei den gekrümmt hergestellten Bauteilen 1 nicht unbedingt notwendig, kann jedoch erfindungsgemäß auch vorgesehen sein. - Die in
Fig. 4c, 4d, 5a, 5b ,6c und 6d dargestellten Bauteile 1, können bei einem weiteren Verfahrensschritt an ihren Enden bearbeitet werden. Dabei können beispielsweise durch mechanisches Bearbeiten der Enden Verjüngungen 7 angebracht werden. Auch ist es möglich, den Winkel, den die Endoberfläche mit den Seitenflächen des Bauteils 1 einschließt, zu verändern. In den Ausführungsformen, wie sie inFig. 4c, 4d, 5a, 5b ,6c und 6d dargestellt sind, ist der Winkel 90°, jedoch sind auch andere Winkel möglich. - In
Fig. 7a und 7b ist eine perspektivische und eine Schnittzeichnung einer erfindungsgemäßen Schutzverkleidung 17 dargestellt. Die Schutzverkleidung 17 inFig. 7a ist zylinderförmig und setzt sich aus zwei Reihen von jeweils 6 Bauteilen 1 zusammen. Die zu schützende funktechnische Anlage ist im Inneren des Zylinders angeordnet, jedoch hier nicht dargestellt. Das obere und untere Ende wird durch entsprechende Unterlagen bzw. Abdekkungen geschlossen. Die Unterlage bzw. die Abdeckung muss keine besonderen Anforderungen bezüglich der Absorption der elektromagnetischen Strahlung erfüllen und kann daher beliebig sein. Die Bauteile 1 sind jeweils entlang gradliniger Verbindungslinien miteinander verbunden. Die Verbindungslinien müssen jedoch nicht zwangsläufig gerade sein, sondern können auch krummlinig sein. Zur Herstellung einer Schutzverkleidung 17, wie sie inFig. 7a dargestellt ist, können beispielsweise die inFig. 1b ,4d ,5b ,6c und 6d dargestellten Bauteile 1 verwendet werden. InFig. 7b ist die Möglichkeit gezeigt, bei der ein geschlitztes Bauteil 1, beispielsweise wie inFig. 1b ,4d oder 5b dargestellt, verwendet wird. Die geschlitzten Bauteile 1 werden für den Zusammenbau gekrümmt, wobei die Krümmung durch die Schlitze 14 auf einer Seite der Bauteile 1 ermöglicht wird. - Wie in
Fig. 7b zu erkennen, schließen sich die Schlitze 14 der Bauteile 1 bei dem Krümmen zumindest teilweise oder auch ganz zu geschlossenen Schlitzen 14'. Auf diese Weise ist es möglich, eine zylinderförmige Schutzverkleidung 17 herzustellen. Stoßen beim Schließen der Schlitze 14 die Stützelemente 2 zwischen den Schlitzen 14 eines Bauteils 1, beispielsweise ausFig. 5b , zusammen, ergibt sich eine Art Anschlag für die Krümmung. Das bedeutet eine weitere Krümmung ist nicht möglich. Dadurch ergibt sich in diesem Zustand eine besonders gute Stabilität des Bauteils 1. - Eine weitere Ausführungsform einer erfindungsgemäßen Schutzverkleidung 18 ist in den
Fig. 8a und 8b dargestellt. Bei den inFig. 8a und 8b dargestellten Bauteilen 1 ist der Winkel zwischen der Endoberfläche und der seitlichen Oberfläche der Bauteile 1 nicht 90°, sondern die Endoberfläche ist im Vergleich leicht angeschrägt. - Wie in
Fig. 8a dargestellt, ist die Schutzverkleidung 18 aus drei Reihen zu jeweils 6 Bauteilen 1 zusammengesetzt. - Die Anzahl der Bauteile 1 in einer Reihe der in
Fig. 7 und8 dargestellten Schutzverkleidung 17 und 18 ist jedoch nicht auf sechs begrenzt. Es sind auch wesentlich mehr Bauteile 1 in jeder Reihe möglich, beispielsweise mehrere 10 bis zu mehrere 100. Jedoch ist prinzipiell auch ein einzelnes Bauteil 1 für die Schutzverkleidung 17, das gekrümmt einen Zylinder bildet, erfindungsgemäß möglich. - In
Fig. 9 ist eine weitere Ausführungsform einer erfindungsgemäßen Schutzverkleidung 19 dargestellt. Die Schutzverkleidung 19 hat hier insgesamt die Form einer Kuppel 19, wie sie beispielsweise in einem Radon verwendet wird. Unter der Kuppel kann die funktechnische Anlage, z.B. ein Radar angeordnet sein. Die Kuppel 19 wird auf einer geeigneten Unterlage aufgesetzt sein. - Wie in
Fig. 9 zu erkennen, haben die Bauteile 1 keine rechteckige Form, sondern sind im wesentlichen trapezförmig. Es sind hier 3 Reihen von Bauteilen 1 vorgesehen, wobei die unteren beiden Reihen dieselbe Anzahl von Bauteilen 1 aufweisen. Die Reihen können jedoch auch verschiede Anzahl von Bauteilen 1 haben. Die dritte und oberste Reihe hat beispielsweise eine geringere Anzahl von Bauteilen 1, als die beiden unteren Reihen. Die oberste Reihe von Bauteilen 1 kann an ihrem oberen Ende spitzförmig zulaufen, so dass sie von außen betrachtet insgesamt die Form eines krummlinigen Dreiecks haben, jedoch kann auch durch eine Art Schlussbauteil das obere Ende der Kuppel 19 gebildet werden, wie inFigur 9 dargestellt. - Eine Schutzverkleidung 19 in Form einer Kuppel, wie in
Fig. 9 dargestellt, kann auch durch Zusammensetzen von ebenen Bauteilen 1 ohne Schlitze 14 erstellt werden. Es ergibt sich eine Polygonfläche ähnlich der inFigur 8 , jedoch nach oben geschlossen. Eine große Anzahl von Bauteilen 1 ist hierbei von Vorteil, da dann die Winkel, mit denen die Bauteile1 aufeinander stoßen, näherungsweise 180° werden. - Bei den erfindungsgemäßen Schutzverkleidungen, von denen drei Ausführungsformen 17,18,19 in der
Fig. 7 ,Fig. 8 undFig. 9 dargestellt sind, ist es vorteilhaft, das Stützelement 2 der Bauteile 1 auf der Außenseite der Schutzverkleidung vorzusehen. Durch Herstellung des Stützelements 2 in einer Bauteilform 13,13' kann die Außenseite sehr glatt sein, wodurch sich eine sehr glatte äußere Oberfläche der Schutzverkleidung ergibt. Dadurch kann Eis und Schnee auf der Verkleidung gut abrutschen und das Gewicht, dass die Schutzverkleidung 17,18,19 halten muss, ist nicht sehr groß. - Die Art und Weise mit der es erfindungsgemäß möglich ist, die verschiedenen Bauteile 1 zu den Schutzverkleidungen 17, 18 oder 19 zusammenzufügen, ist in
Fig. 10 gezeigt. In einer Schnittansicht sind zwei Bauteile 1 jeweils rechts und links dargestellt. Die Bauteile 1 umfassen die Isolationsschicht 3 und, in der inFig. 10 gezeigten Ausführungsform, jeweils ein oberes und ein optionales unteres Stützelement 2. Die beiden Werkstücke 1 sind an den Enden, die zueinander zeigen, jeweils mit einer Verjüngung 7 versehen. Die Verjüngung 7 ist hier durch die Verjüngung 7 des Stützelements 2 realisiert, kann jedoch auch, wie weiter oben dargestellt, zusätzlich oder ausschließlich durch Verjüngung 7 der Isolationsschicht 3 erreicht werden. - Die Bauteile 1 sind leicht beabstandet dargestellt. Zwischen den Bauteilen 1 befindet sich ein Verbindungsmittel 16. Die Bauteile 1 können jedoch auch ganz aufeinanderstoßen, so dass das Verbindungsmittel 16 lediglich in den sich dabei ergebenden Hohlräumen zwischen den beiden Bauteilen 1 vorliegt.
- Das Verbindungsmittel 16 kann z. B. dasselbe Material sein, aus dem die Isolationsschicht 3 hergestellt wurde. Besonders geeignet ist der PUR-Schaum, der für Vorortmontage in Druckdosen verfügbar ist. Die Ausdehnung des Verbindungsmittels 16 nach oben oder unten ist vorzugsweise gleich der Schichtdicke der Isolationsschicht 3, kann jedoch auch die Dicke der Isoaltionsschicht 3 plus der Dicke des/der Stützelements/Stützelemente 2 an den Enden umfassen. Auch andere Ausdehnungen sind erfindungsgemäß möglich.
- Für den Fall, dass das Material des Verbindungsmittels 16 gleich dem der Isolationsschicht 3 ist, und auch für den Fall, dass die Ausdehnung des Verbindungsmittels 16 entlang der Dicke der Bauelemente 1 gleich der Dicke der Isolationsschicht 3 ist, ergibt sich somit ein durchgehender Bereich, der aus ein und demselben Material mit ein und derselben Schichtdicke und somit einer völlig homogenen Absorption bezüglich der elektromagnetischen Strahlung der funktechnischen Anlage ist. Es können jedoch erfindungsgemäß auch andere Verbindungsmittel 16 als das Material der Isolationsschicht 3 und andere Ausdehnungen entlang der Dicke des Bauteils 1 des Verbindungsmittels 16 gewählt werden. Das Verbindungsmittel 16 kann erfindungsgemäß auch weggelassen werden, da die Bauteile auch an ihrer Außen- /Innenseite miteinander verbunden werden können.
- Durch die Verjüngung 7 ergibt sich am oberen und unteren Teil der Verbindungsstelle ein Bereich 15 der, solange er nicht gefüllt ist, ein Leerraum 15 ist.
- In einer vorteilhaften Ausführungsform der Erfindung kann dieser Leerraum 15 nun mit Verbindungsmaterial gefüllt werden, um die Verbindung zwischen den Bauteilen 1 herzustellen.
- Der Leerraum 15 wird vorzugsweise mit demjenigen Material gefüllt, aus dem das Stützelement 2 der Bauteile 1 hergestellt wurde. Dies hat den Vorteil, dass die Absorption der elektromagnetischen Strahlung im Bereich der Verbindung dieselbe ist, wie in dem Bereich der Bauteile 1.
- Sollte der Leerraum 15 mit einem Verbindungsmaterial gefüllt werden, das beispielsweise eine niedrigere/höhere Absorption hat als das Material des Stützelements 2, so kann die Dicke des Materials in dem Bereich 15 größer/kleiner sein, als die Schichtdicke des Stützelements 2 der Bauteile 1.
- Durch die Verbindung der Bauteile 1 mit dem Verbindungsmittel 16 und/oder durch Füllen der Räume 15 ober- oder unterhalb der Bauteile 1 mit Verbindungsmaterial kann eine stabile Verbindung zu den Bauteilen 1 erreicht werden, wobei die Möglichkeit besteht, lediglich Materialien zu verwenden, die auch zur Herstellung der Bauteile 1 selber verwendet wurde. Dies ist für die dielektrischen Eigenschaften der Schutzverkleidung 17,18,19 besonders vorteilhaft, da sich somit nur eine geringe Störung bzw. Absorption der elektromagnetischen Strahlung der funktechnischen Anlage ergibt.
- Im Folgenden werden Ausgestaltungen des erfindungsgemäßen Verfahrens zur Herstellung der Schutzverkleidung 18,19,20 für funktechnische Anlagen anhand der Figuren erläutert.
- Zur Herstellung einer Schutzverkleidung 17,18,19 für eine funktechnische Anlage, wie sie in
Fig. 7a dargestellt ist, können bereits gekrümmte Bauteile 1, wie inFig. 6c und 6d dargestellt, verwendet werden. Ebenso ist es möglich, geschlitzte Bauteile 1, wie inFig. 1b, 1c ,4d und 5b dargestellt, zu verwenden. Die geschlitzten Bauteile 1 werden durch Einwirkung einer äußeren Kraft gekrümmt, und zwar in einer Richtung, so dass die Schlitze 14 auf der Krümmungsinnenseite liegen und sich damit mindestens teilweise schließen. Die Bauteile 1 werden mit einer Verbindungstechnik, die weiter unten beschrieben wird, zusammengesetzt. Hierbei ist es vorteilhaft, die Schutzverkleidung 17,18,19 aus mehreren einzelnen Bauteilen 1 zusammenzusetzen. Dadurch kann das Gewicht der Bauteile 1 in einem Bereich gehalten werden, der es ermöglicht, die Bauteile 1 allein mit menschlicher Kraft, d. h. also insbesondere ohne Kräne, zu montieren. So können Schutzverkleidungen mit mehreren Metern oder mehreren zehn Metern aufgebaut werden. - Für eine Schutzverkleidung 18 für eine funktechnische Anlage, wie sie in
Fig. 8a und 8b dargestellt ist, können ebene Bauteile 1, wie sie inFig. 4c und 5a dargestellt sind, verwendet werden. Hier werden die Enden der Bauteile 1 schräg gewinkelt vorgesehen sein. - Für Schutzverkleidungen 19 in Form einer Kuppel, wie sie in
Figur 9 dargestellt sind, können vorteilhaft Bauteile 1 des Typs ausFig. 1c verwendet werden, da eine Krümmung in verschiedene Richtungen an verschiedenen Stellen des Bauteils 1 möglich ist. Auch die anderen Bauteile 1 aus denFiguren 1a, 1b ,4c, 4d ,5a, 5b ,6c, 6d können eingesetzt werden. - Die Bauteile 1 einer Schutzverkleidung 17,18,19 werden mit der im Folgenden beschriebenen Verbindungstechnik zu einer Schutzverkleidung 17,18,19 zusammengesetzt.
- Die Bauteile 1 werden durch entsprechende Vorrichtungen oder per Hand an ihrem vorbestimmten Platz abgestützt und gehalten. Ein Verbindungsmittel 16, z.B. PUR-Schaum, wird in den Raum zwischen den stumpfen Enden der Bauteile 1 eingespritzt. Er verklebt dort mit den Enden der Bauteile 1 und verbindet diese fest nach Aushärten.
- Es ist erfindungsgemäß auch möglich, zuerst eine Fläche, die an ein zu montierendes Bauteil 1 stößt, mit dem Verbindungsmittel 16 zu versehen, anschließend das zu montierende Bauteil 1 einzusetzen und das Verbindungsmittel 16 trocknen bzw. aushärten zu lassen. Die Bauteile 1 können dabei direkt aufeinander stoßen oder auch etwas beabstandet voneinander zusammengesetzt werden. Das Verbindungsmittel 16 ist jedoch optional, da auch mit dem im Folgenden beschriebenen Schritt die Bauteile 1 miteinander verbunden werden.
- Auf der Außenseite der Schutzverkleidung 17,18,19 wird das Verbindungsmaterial aufgebracht, aus dem das Stützelement 2 der Bauteile 1 hergestellt wurde. Sind Verjüngungen 7 an den Enden der Bauteile 1 vorgesehen, so findet der Auftrag in dem durch die Verjüngung 7 entstandenen Raum 15 statt. Falls das Stützelement 2 der Bauteile 1 aus GFK gefertigt ist, so wird das Verbindungsmaterial vorteilhafterweise auch GFK sein. Das GFK wird durch Auftragen von aushärtendem Kunststoffharz und Glasfasern in Form von Matten oder Gewebe aufgebracht. Das Kunstoffharz ist vorteilhafterweise mit Farbpartikeln eingefärbt, so dass sich nach Verbinden der Bauteile 1 eine einheitliche äußere Farbe oder Farbgestaltung der Schutzverkleidung 17,18,19 ergibt. Das GFK-Material haftet an den Bauteilen 1 außen und/oder innen fest, härtet aus und verbindet die Bauteile 1 so miteinenander. Auf der Außenseite ergibt sich idealerweise eine glatte zusammenhängene Schicht aus dem Material, aus dem die Stützelemente 2 der Bauteile 1 gefertigt wurden.
- Das Verbinden der Bauteile 1 kann auch auf der Innenseite der Schutzverkleidung 17,18,19 stattfinden. Dies ist insbesondere dann sinnvoll, wenn auch auf der Innenseite Stützelemente 2 der Bauteile 1 vorgesehen sind.
- Werden die Bauteile 1 durch ein Verbindungsmittel 16 miteinander verbunden, muss die Verbindung mit dem Verbindungsmaterial in den Leerräumen 15 nicht unbedingt erfolgen. Vorteilhaft wäre dann jedoch ein Abdichten der Fugen zwischen den Stützelementen 2 der verschiedenen Bauteile 1, wenigstens auf der Außenseite der Schutzverkleidung 17, 18, 19. Das Abdichten kann mit geeigneten Abdichtmaterialien geschehen oder auch mit einem Material aus dem die Stützelemente 2 der Bauteile 1, also z.B. GFK oder auch nur z.B. Polyestherharz, gefertigt sind.
- Durch die erfindungsgemäßen Bauteile 1 und die erfindungsgemäße Verbindungstechnik ist es möglich, eine erfindungsgemäße Schutzverkleidung 17, 18, 19 zu schaffen, deren Absorption im Bereich der Verbindungsstellen praktisch identisch ist zu der Absorption der Bauteile 1 in einem Bereich außerhalb der Verbindungsstellen. Weiterhin kann die fertige Schutzverkleidung 17,18,19 eine glatte Oberfläche haben, auf der Eis und Schnee gut abrutschen. Durch die guten Isolationseigenschaften sind besondere Heiz-, Kühl, oder Klimanalagen für das Innere der Schutzverkleidung 17,18,19, in der sich die funktechnische Anlage befindet, nicht oder nur mit sehr geringen Leistungen notwendig.
Claims (27)
- Schutzverkleidung (17,18,19) für funktechnische Anlagen, mit Bauteilen die jeweils eine Isolationsschicht (3) umfassen, wobei auf mindestens einer Seite der Isolationsschicht (3) zumindest teilweise jeweils ein mit der Isolationsschicht verbundenes Stützelement (2) vorgesehen ist,
wobei
an den Enden der Bauteile (1) Verjüngungen (7) der Dicke des jeweiligen Stützelements (2) vorgesehen sind,
dadurch gekennzeichnet, dass der Raumbereich, der durch die verjüngengen (7) entsteht, mit dem Material des Stützelements (2) auf gefüllt ist und dieses Material benachbarte Bauteile (1) verbindet. - Schutzverkleidung nach Anspruch 1, dadurch gekennzeichnet, dass das jeweiligen Stützelement (2) aus einem Verbundwerkstoff und vorzugsweise glasfaserverstärkter Kunststoff gefertigt ist und/oder die Isolationsschicht (3) eine Hartschaumschicht (3) ist.
- Schutzverkleidung nach Anspruch 1 oder 2, dadurch gekennzeichnet, dass das jeweilige Stützelement (2) in direkten Kontakt zu der jeweiligen Isolationsschicht (3) vorgesehen ist.
- Schutzverkleidung nach einem der Ansprüche 1 bis 3, dadurch gekennzeichnet, dass das jeweilige Stutzelement (2) in Form einer Schicht vorzugsweise auf der gesamten Fläche mindestens einer Seite der jeweiligen Isolationsschicht (3) vorgesehen ist.
- Schutzverkleidung nach einem der Ansprüche 1 bis 4, dadurch gekennzeichnet, dass Stützelemente (2) auf zwei gegenüberliegenden Seiten der jeweiligen Isolationsschicht (3) vorgesehen sind.
- Schutzverkleidung nach einem der Ansprüche 1 bis 5, dadurch gekennzeichnet, dass die jeweilige Isolationsschicht (3) eine Dicke von 30 bis 120 mm, vorzugsweise von 60 mm aufweist.
- Schutzverkleidung nach einem der Ansprüche 1 bis 6, dadurch gekennzeichnet, dass die Bauteile (1) eben oder in eine Richtung gekrümmt sind.
- Schutzverkleidung nach einem der Ansprüche 1 bis 7, dadurch gekennzeichnet, dass die Bauteile (1) stumpfe Enden aufweisen.
- Schutzverkleidung nach einem der Ansprüche 1 bis 8, dadurch gekennzeichnet, dass das Isolationsschichtmaterial eine Dichte im Bereich von 40 kg/m3 bis 160 kg/m3 bevorzugt im Bereich von 80 kg/m3 aufweist
- Schutzverkleidung nach einem der Ansprüche 1 bis 9, dadurch gekennzeichnet, dass die Bauteile (1) auf einer Seite Schlitze (14) aufweisen, wobei die Seite bevorzugterweise die dem jeweiligen Stützelement (2) gegenüberliegende Seite ist und sich die Schlitze (14) bevorzugterweise in Richtung der Dicke der Schicht maximal bis zur Hälfte der Dicke der Bauteile (1) erstrecken.
- Schutzverkleidung Anspruch 10, dadurch gekennzeichnet, dass die Bauteile (1) mindestens zwei Schlitze (14) in verschiedenen Richtungen aufweisen.
- Schutzverkleider nach einem der Ansprüche 1 bis 11, dadurch gekennzeichnet, dass das jeweilige Stützelement (2) Farbpartikel in Pulverform umfasst
- Schutzverkleidung (17,18,19) nach einem der Ansprüche 1 bis 12, dadurch gekennzeichnet, dass die Bauteile (1) zusätzlich mit einem Verbindungsmittel (16) verbunden, vorzugsweise verklebt sind, wobei das Verbindungsmittel (16) vorzugsweise das gleiche Material ist, mit dem die Isolationsschicht (3) der Bauteile (1) hergestellt wurde.
- Schutzverkleidung (17,18,19) nach einem der Ansprüche 1 bis 13, dadurch gekennzeichnet, dass die Bauteile (1) innen und außen mit dem Material des jeweiligen Stützelements (2) der Bauteile (1) verbunden sind.
- Schutzverkleidung (17,18,19) nach einem der Ansprüche 1 bis 14, dadurch gekennzeichnet, dass die Bauteile (1) gekrümmt sind, wobei sich auf der Innenseite der Krümmung Schlitze (14) befinden.
- Schutzverkleidung (17,18,19) nach einem der Ansprüche 1 bis 15, dadurch gekennzeichnet, dass die Schutzverkleidung (17,18,19) ausschließlich aus dem Material des jeweiligen Stützelements (2) und dem Isolationsschichtmaterial besteht.
- Verfahren zur Herstellung einen Schutzverkleidung (17,18,19) für funktechnische Anlagen, bei dem Bauteile zusammengesetzt werden, die jeweils eine Isolationsschicht (3) und auf mindestens einer Seite der Isolationsschicht (3) jeweils ein damit verbundenes Stützelement (2), aufweisen,
wobei
das jeweilige Stützelement (2) wenigstens zu einem Ende des jeweiligen Bauteils (1) hin verjüngend hergestellt wird
dadurch gekennzeichnet, dass
das Material des Stützelements in dem Raumbereich (15) aufgebracht wird, der durch die Verjüngung (7) der Dicke des jeweiligen Stützelements entsteht und so benachbarte Bauteile miteinander verbunden werden. - Verfahren nach Anspruch 17, dadurch gekennzeichnet, dass das jeweilige Stützelement (2) einen Verbundwerkstoff, vorzugsweise einen glasfaserverstärkten Kunststoff (2) umfasst, und/oder die Isolationsschicht (3) eine Hartschaumschicht ist.
- Verfahren nach Anspruch 17 oder 18, dadurch gekennzeichnet, dass die jeweilige Isolationsschicht (3) und das jeweilige Stützelement (2) bei oder nach der Herstellung des Stützelements (2) und/oder der jeweiligen Isolationsschicht (3) miteinander verbunden werden.
- Verfahren nach einem der Ansprüche 17 bis 19, dadurch gekennzeichnet, dass das jeweilige Stützelement (2) in Form einer Schicht und/oder die jeweilige Isolationsschicht (3) in oder auf einer Bauteilform (13,13') hergestellt wird.
- Verfahren nach einem der Ansprüche 17 bis 20, dadurch gekennzeichnet, dass das jeweilige Stützelement (2) in Form einer Schicht auf der jeweiligen Isolationsschicht (3) hergestellt wird.
- Verfahren nach einem der Ansprüche 17 bis 21, dadurch gekennzeichnet, dass durch die Bauteilform (13,13') und/oderdurch Abschneiden von Rändern des jeweiligen Bauteils (1), jeweils ein Bauteil (1) mit stumpfen Enden hergestellt wird.
- Verfahren nach einem der Ansprüche 17 bis 22, dadurch gekennzeichnet, dass, vorgegeben durch die Bauteilform (13,13') oder durch Schlitzen (14) der jeweiligen Isolationsschicht (3) und/oder des jeweiligen Stützelements (2), ein jeweilige Bauteil (1) hergestellt wird, das auf einer Seite Schlitze (14) aufweist, die sich bevorzugterweise in Richtung der Dicke der jeweiligen Isolationsschicht (3) maximal bis zur Hälfte der Dicke des jeweiligen Bauteils (1) erstrecken.
- Verfahren nach einem der Ansprüche 17 bis 23, dadurch gekennzeichnet, dass das jeweilige Bauteil (1) auf einer ebenen und/oder gekrümmten Fläche (13,13') hergestellt wird.
- Verfahren nach einem der Ansprüche 17 bis 24, dadurch gekennzeichnet, dass das jeweilige Stützelement (2) bei seiner Herstellung mit Farbpartikeln in Pulverform eingefärbt wird.
- Verfahren nach einem der Ansprüche 17 bis 25 dadurch gekennzeichnet, dass das Zusammensetzen der jeweiligen Bauteile (1), das Verbinden der jeweiligen Bauteile (1) an ihrer Innen- und Außenseite der Schutzverkleidung (17,18,19) mit dem Material des jeweiligen Stützelements (2) des jeweiligen Bauteiles (1) umfasst.
- Verfahren nach einem der Ansprüche 17 bis 26, dadurch gekennzeichnet, dass jeweils geschlitzte Bauteile (1) verwendet werden, die gekrümmt werden.
Priority Applications (10)
| Application Number | Priority Date | Filing Date | Title |
|---|---|---|---|
| SI200130837T SI1303003T1 (sl) | 2001-10-12 | 2001-10-12 | Zaĺ äśitni plaĺ äś za radijske sisteme, njegovi sestavni deli in postopki njihove izdelave |
| DE50113914T DE50113914D1 (de) | 2001-10-12 | 2001-10-12 | Schutzverkleidung für funktechnische Anlagen, Bauteile dafür, sowie jeweilige Herstellungsverfahren |
| ES01124547T ES2305021T3 (es) | 2001-10-12 | 2001-10-12 | Revestimiento protector para instalaciones rediotecnicas,componentes para el mismo asi como metodos de produccion correspondientes. |
| PT01124547T PT1303003E (pt) | 2001-10-12 | 2001-10-12 | Cobertura de protecção para sistemas de rádio, componentes para a mesma, assim como o respectivo processo de produção |
| DK01124547T DK1303003T3 (da) | 2001-10-12 | 2001-10-12 | Beskyttelsesbeklædning til radiotekniske anlæg, komponenter dertil samt respektive fremstillingsfremgangsmåder |
| EP01124547A EP1303003B1 (de) | 2001-10-12 | 2001-10-12 | Schutzverkleidung für funktechnische Anlagen, Bauteile dafür, sowie jeweilige Herstellungsverfahren |
| AT01124547T ATE393972T1 (de) | 2001-10-12 | 2001-10-12 | Schutzverkleidung für funktechnische anlagen, bauteile dafür, sowie jeweilige herstellungsverfahren |
| DE20210131U DE20210131U1 (de) | 2001-10-12 | 2002-07-01 | Schutzverkleidung für funktechnische Anlagen und Bauteile dafür |
| PCT/EP2002/007650 WO2003034540A1 (de) | 2001-10-12 | 2002-07-09 | Schutzverkleidung für funktechnische anlagen, bauteile dafür, sowie jeweilige herstellungsverfahren |
| NO20032624A NO326676B1 (no) | 2001-10-12 | 2003-06-10 | Beskyttelseskledning for radiotekniske anlegg, fremstillingsfremgangsmate for denne |
Applications Claiming Priority (1)
| Application Number | Priority Date | Filing Date | Title |
|---|---|---|---|
| EP01124547A EP1303003B1 (de) | 2001-10-12 | 2001-10-12 | Schutzverkleidung für funktechnische Anlagen, Bauteile dafür, sowie jeweilige Herstellungsverfahren |
Publications (2)
| Publication Number | Publication Date |
|---|---|
| EP1303003A1 EP1303003A1 (de) | 2003-04-16 |
| EP1303003B1 true EP1303003B1 (de) | 2008-04-30 |
Family
ID=8178960
Family Applications (1)
| Application Number | Title | Priority Date | Filing Date |
|---|---|---|---|
| EP01124547A Expired - Lifetime EP1303003B1 (de) | 2001-10-12 | 2001-10-12 | Schutzverkleidung für funktechnische Anlagen, Bauteile dafür, sowie jeweilige Herstellungsverfahren |
Country Status (9)
| Country | Link |
|---|---|
| EP (1) | EP1303003B1 (de) |
| AT (1) | ATE393972T1 (de) |
| DE (2) | DE50113914D1 (de) |
| DK (1) | DK1303003T3 (de) |
| ES (1) | ES2305021T3 (de) |
| NO (1) | NO326676B1 (de) |
| PT (1) | PT1303003E (de) |
| SI (1) | SI1303003T1 (de) |
| WO (1) | WO2003034540A1 (de) |
Families Citing this family (4)
| Publication number | Priority date | Publication date | Assignee | Title |
|---|---|---|---|---|
| DE20311428U1 (de) | 2003-07-24 | 2003-11-06 | FIBER-TECH Products GmbH, 09116 Chemnitz | Anordnung mit verbesserten elektromagnetischen Eigenschaften zur Verkleidung von großräumigen Antennenanlagen |
| DE20311442U1 (de) | 2003-07-24 | 2003-11-06 | MUGLER AG, 09353 Oberlungwitz | Verkleidungselement mit verbesserten elektromagnetischen Eigenschaften für Verkleidungen von Antennen und Antennenanlagen |
| EP2137363A1 (de) * | 2007-03-15 | 2009-12-30 | Tache d'Or | Verfahren zur herstellung eines aus schaumstoffplatten bestehenden wandteils |
| GB2543025A (en) * | 2015-08-27 | 2017-04-12 | Hunter Ian | Composite sheet structure |
Family Cites Families (4)
| Publication number | Priority date | Publication date | Assignee | Title |
|---|---|---|---|---|
| US3427626A (en) * | 1965-11-12 | 1969-02-11 | Whittaker Corp | Rigid sectional radome and method for erecting |
| DE2616294C3 (de) * | 1976-04-13 | 1981-10-29 | Großkopf, Peter Volker, Dipl.-Ing., 4300 Essen | Verfahren zum Herstellen einer selbsttragenden Mehrschichtenplatte oder -schale |
| DE3037727A1 (de) * | 1980-10-06 | 1982-05-19 | G + H Montage Gmbh, 6700 Ludwigshafen | Fassadenelement zum schutz funktechnischer anlagen |
| US6107976A (en) * | 1999-03-25 | 2000-08-22 | Bradley B. Teel | Hybrid core sandwich radome |
-
2001
- 2001-10-12 AT AT01124547T patent/ATE393972T1/de active
- 2001-10-12 SI SI200130837T patent/SI1303003T1/sl unknown
- 2001-10-12 PT PT01124547T patent/PT1303003E/pt unknown
- 2001-10-12 DE DE50113914T patent/DE50113914D1/de not_active Expired - Lifetime
- 2001-10-12 ES ES01124547T patent/ES2305021T3/es not_active Expired - Lifetime
- 2001-10-12 EP EP01124547A patent/EP1303003B1/de not_active Expired - Lifetime
- 2001-10-12 DK DK01124547T patent/DK1303003T3/da active
-
2002
- 2002-07-01 DE DE20210131U patent/DE20210131U1/de not_active Expired - Lifetime
- 2002-07-09 WO PCT/EP2002/007650 patent/WO2003034540A1/de not_active Ceased
-
2003
- 2003-06-10 NO NO20032624A patent/NO326676B1/no not_active IP Right Cessation
Also Published As
| Publication number | Publication date |
|---|---|
| WO2003034540A1 (de) | 2003-04-24 |
| NO20032624D0 (no) | 2003-06-10 |
| PT1303003E (pt) | 2008-06-23 |
| EP1303003A1 (de) | 2003-04-16 |
| DE20210131U1 (de) | 2002-10-24 |
| SI1303003T1 (sl) | 2008-08-31 |
| NO326676B1 (no) | 2009-01-26 |
| DE50113914D1 (de) | 2008-06-12 |
| NO20032624L (no) | 2003-08-01 |
| ES2305021T3 (es) | 2008-11-01 |
| DK1303003T3 (da) | 2008-08-25 |
| ATE393972T1 (de) | 2008-05-15 |
Similar Documents
| Publication | Publication Date | Title |
|---|---|---|
| EP1288077B1 (de) | Innenschale für ein Dachmodul in Sandwich-Bauweise sowie Verfahren zu ihrer Herstellung | |
| DE3412846A1 (de) | Flaechenfoermiger sandwichformkoerper | |
| DE3223246A1 (de) | Mehrschicht-daemmplatte und verfahren zu ihrer herstellung | |
| EP1815969A1 (de) | Flugzeugbauteil sowie Verfahren zur Herstellung eines Flugzeugbauteiles | |
| DE4133416C3 (de) | Verfahren zum Herstellen von Formkörpern, insbesondere von Dämmplatten | |
| DE19828607A1 (de) | Verfahren zum Verstärken von Stahl- und Spannbetonbauteilen | |
| EP1136636B1 (de) | Holzpartikelplatte, insbesondere Schalungsplatte | |
| DE202012007340U1 (de) | Kernelement sowie Kernschicht für ein Sandwichverbundbauteil, Sandwichverbundbauteil | |
| DE102007003273A1 (de) | Lokalisierte Bearbeitung von verstärkten Schaumwerkstoffen sowie Kernverbundbauteil | |
| EP1303003B1 (de) | Schutzverkleidung für funktechnische Anlagen, Bauteile dafür, sowie jeweilige Herstellungsverfahren | |
| DE2339796A1 (de) | Aus einem nicht steigfaehigen gemisch von faserstoffen und bindemitteln gepressten profilkoerpern zusammengesetztes bauelement | |
| DE60008841T2 (de) | Verbundverbindung zur Montage mindestens eines Aussenelementes auf einer Sandwichplatte | |
| DE2718002C3 (de) | Mehrschichtiger plattenförmiger Verbundwerkstoff | |
| DE3013223B1 (de) | Nichtbrennbares Mineralfaserprodukt mit einer Kaschierung | |
| WO1993009947A1 (de) | Leichte sandwichplatte | |
| DE102018207761B3 (de) | Segment für ein Bauwerk, Verfahren zu dessen Herstellung, Bauwerk und Verfahren zu dessen Herstellung | |
| DE20015725U1 (de) | Holzpartikelplatte, insbesondere Schalungsplatte | |
| DE3508888A1 (de) | Duennschichtabsorber fuer elektromagnetische wellen | |
| DE1907683A1 (de) | Tragfaehiges Wand- und Deckenelement fuer Fertighaeuser | |
| DE202020102332U1 (de) | Plattenförmiges Bauelement | |
| DE3804311A1 (de) | Grossflaechige platte aus keramik, steinzeug, naturstein und/oder kunststein | |
| EP3873711A1 (de) | Bambuseinheit, verfahren zur herstellung einer bambuseinheit und anwendung | |
| EP1247916A1 (de) | Dämmformkörper, insbesondere Dämmplatte, aus Holzfaserstoff sowie dessen Herstellung und Verwendung | |
| EP0076943A1 (de) | Verbundelement sowie ein Verfahren zur Herstellung desselben | |
| DE3010141A1 (de) | Bauelement, insbesondere platte, brett, balken o.dgl. |
Legal Events
| Date | Code | Title | Description |
|---|---|---|---|
| PUAI | Public reference made under article 153(3) epc to a published international application that has entered the european phase |
Free format text: ORIGINAL CODE: 0009012 |
|
| 17P | Request for examination filed |
Effective date: 20011012 |
|
| AK | Designated contracting states |
Designated state(s): AT BE CH CY DE DK ES FI FR GB GR IE IT LI LU MC NL PT SE TR |
|
| AX | Request for extension of the european patent |
Extension state: AL LT LV MK RO SI |
|
| AKX | Designation fees paid |
Designated state(s): AT BE CH CY DE DK ES FI FR GB GR IE IT LI LU MC NL PT SE TR |
|
| AXX | Extension fees paid |
Extension state: MK Payment date: 20020702 Extension state: LT Payment date: 20020702 Extension state: LV Payment date: 20020702 Extension state: AL Payment date: 20020702 Extension state: RO Payment date: 20020702 Extension state: SI Payment date: 20020702 |
|
| 17Q | First examination report despatched |
Effective date: 20040715 |
|
| RAP1 | Party data changed (applicant data changed or rights of an application transferred) |
Owner name: G+H KUEHLLAGER- UND INDUSTRIEBAU GMBH |
|
| GRAP | Despatch of communication of intention to grant a patent |
Free format text: ORIGINAL CODE: EPIDOSNIGR1 |
|
| GRAS | Grant fee paid |
Free format text: ORIGINAL CODE: EPIDOSNIGR3 |
|
| GRAA | (expected) grant |
Free format text: ORIGINAL CODE: 0009210 |
|
| AK | Designated contracting states |
Kind code of ref document: B1 Designated state(s): AT BE CH CY DE DK ES FI FR GB GR IE IT LI LU MC NL PT SE TR |
|
| AX | Request for extension of the european patent |
Extension state: AL LT LV MK RO SI |
|
| REG | Reference to a national code |
Ref country code: GB Ref legal event code: FG4D Free format text: NOT ENGLISH |
|
| REG | Reference to a national code |
Ref country code: CH Ref legal event code: EP Ref country code: CH Ref legal event code: NV Representative=s name: MICHELI & CIE SA |
|
| REG | Reference to a national code |
Ref country code: IE Ref legal event code: FG4D Free format text: LANGUAGE OF EP DOCUMENT: GERMAN |
|
| REF | Corresponds to: |
Ref document number: 50113914 Country of ref document: DE Date of ref document: 20080612 Kind code of ref document: P |
|
| REG | Reference to a national code |
Ref country code: PT Ref legal event code: SC4A Free format text: AVAILABILITY OF NATIONAL TRANSLATION Effective date: 20080611 |
|
| REG | Reference to a national code |
Ref country code: GR Ref legal event code: EP Ref document number: 20080401517 Country of ref document: GR |
|
| REG | Reference to a national code |
Ref country code: DK Ref legal event code: T3 |
|
| NLV1 | Nl: lapsed or annulled due to failure to fulfill the requirements of art. 29p and 29m of the patents act | ||
| PG25 | Lapsed in a contracting state [announced via postgrant information from national office to epo] |
Ref country code: FI Free format text: LAPSE BECAUSE OF FAILURE TO SUBMIT A TRANSLATION OF THE DESCRIPTION OR TO PAY THE FEE WITHIN THE PRESCRIBED TIME-LIMIT Effective date: 20080430 Ref country code: NL Free format text: LAPSE BECAUSE OF FAILURE TO SUBMIT A TRANSLATION OF THE DESCRIPTION OR TO PAY THE FEE WITHIN THE PRESCRIBED TIME-LIMIT Effective date: 20080430 |
|
| REG | Reference to a national code |
Ref country code: ES Ref legal event code: FG2A Ref document number: 2305021 Country of ref document: ES Kind code of ref document: T3 |
|
| ET | Fr: translation filed | ||
| REG | Reference to a national code |
Ref country code: IE Ref legal event code: FD4D |
|
| PG25 | Lapsed in a contracting state [announced via postgrant information from national office to epo] |
Ref country code: SE Free format text: LAPSE BECAUSE OF FAILURE TO SUBMIT A TRANSLATION OF THE DESCRIPTION OR TO PAY THE FEE WITHIN THE PRESCRIBED TIME-LIMIT Effective date: 20080731 Ref country code: IE Free format text: LAPSE BECAUSE OF FAILURE TO SUBMIT A TRANSLATION OF THE DESCRIPTION OR TO PAY THE FEE WITHIN THE PRESCRIBED TIME-LIMIT Effective date: 20080430 |
|
| PLBE | No opposition filed within time limit |
Free format text: ORIGINAL CODE: 0009261 |
|
| STAA | Information on the status of an ep patent application or granted ep patent |
Free format text: STATUS: NO OPPOSITION FILED WITHIN TIME LIMIT |
|
| 26N | No opposition filed |
Effective date: 20090202 |
|
| PG25 | Lapsed in a contracting state [announced via postgrant information from national office to epo] |
Ref country code: MC Free format text: LAPSE BECAUSE OF NON-PAYMENT OF DUE FEES Effective date: 20081031 |
|
| PG25 | Lapsed in a contracting state [announced via postgrant information from national office to epo] |
Ref country code: CY Free format text: LAPSE BECAUSE OF FAILURE TO SUBMIT A TRANSLATION OF THE DESCRIPTION OR TO PAY THE FEE WITHIN THE PRESCRIBED TIME-LIMIT Effective date: 20080430 Ref country code: LU Free format text: LAPSE BECAUSE OF NON-PAYMENT OF DUE FEES Effective date: 20081012 |
|
| PGFP | Annual fee paid to national office [announced via postgrant information from national office to epo] |
Ref country code: TR Payment date: 20101012 Year of fee payment: 10 |
|
| PG25 | Lapsed in a contracting state [announced via postgrant information from national office to epo] |
Ref country code: TR Free format text: LAPSE BECAUSE OF NON-PAYMENT OF DUE FEES Effective date: 20111012 |
|
| REG | Reference to a national code |
Ref country code: FR Ref legal event code: PLFP Year of fee payment: 15 |
|
| REG | Reference to a national code |
Ref country code: FR Ref legal event code: PLFP Year of fee payment: 16 |
|
| REG | Reference to a national code |
Ref country code: FR Ref legal event code: PLFP Year of fee payment: 17 |
|
| REG | Reference to a national code |
Ref country code: FR Ref legal event code: PLFP Year of fee payment: 18 |
|
| PGFP | Annual fee paid to national office [announced via postgrant information from national office to epo] |
Ref country code: PT Payment date: 20181002 Year of fee payment: 18 Ref country code: GR Payment date: 20181029 Year of fee payment: 18 Ref country code: DK Payment date: 20181025 Year of fee payment: 18 |
|
| PGFP | Annual fee paid to national office [announced via postgrant information from national office to epo] |
Ref country code: BE Payment date: 20181019 Year of fee payment: 18 Ref country code: FR Payment date: 20181026 Year of fee payment: 18 Ref country code: GB Payment date: 20181024 Year of fee payment: 18 Ref country code: CH Payment date: 20181025 Year of fee payment: 18 Ref country code: IT Payment date: 20181031 Year of fee payment: 18 Ref country code: ES Payment date: 20181115 Year of fee payment: 18 |
|
| REG | Reference to a national code |
Ref country code: DK Ref legal event code: EBP Effective date: 20191031 |
|
| REG | Reference to a national code |
Ref country code: CH Ref legal event code: PL |
|
| REG | Reference to a national code |
Ref country code: LT Ref legal event code: MM9D Effective date: 20191012 |
|
| PG25 | Lapsed in a contracting state [announced via postgrant information from national office to epo] |
Ref country code: CH Free format text: LAPSE BECAUSE OF NON-PAYMENT OF DUE FEES Effective date: 20191031 Ref country code: LI Free format text: LAPSE BECAUSE OF NON-PAYMENT OF DUE FEES Effective date: 20191031 Ref country code: GR Free format text: LAPSE BECAUSE OF NON-PAYMENT OF DUE FEES Effective date: 20200506 Ref country code: PT Free format text: LAPSE BECAUSE OF NON-PAYMENT OF DUE FEES Effective date: 20200515 |
|
| REG | Reference to a national code |
Ref country code: BE Ref legal event code: MM Effective date: 20191031 |
|
| PG25 | Lapsed in a contracting state [announced via postgrant information from national office to epo] |
Ref country code: BE Free format text: LAPSE BECAUSE OF NON-PAYMENT OF DUE FEES Effective date: 20191031 |
|
| GBPC | Gb: european patent ceased through non-payment of renewal fee |
Effective date: 20191012 |
|
| PG25 | Lapsed in a contracting state [announced via postgrant information from national office to epo] |
Ref country code: FR Free format text: LAPSE BECAUSE OF NON-PAYMENT OF DUE FEES Effective date: 20191031 Ref country code: IT Free format text: LAPSE BECAUSE OF NON-PAYMENT OF DUE FEES Effective date: 20191012 Ref country code: DK Free format text: LAPSE BECAUSE OF NON-PAYMENT OF DUE FEES Effective date: 20191031 Ref country code: GB Free format text: LAPSE BECAUSE OF NON-PAYMENT OF DUE FEES Effective date: 20191012 |
|
| REG | Reference to a national code |
Ref country code: SI Ref legal event code: KO00 Effective date: 20201030 |
|
| PGFP | Annual fee paid to national office [announced via postgrant information from national office to epo] |
Ref country code: DE Payment date: 20201022 Year of fee payment: 20 Ref country code: AT Payment date: 20201027 Year of fee payment: 20 |
|
| PG25 | Lapsed in a contracting state [announced via postgrant information from national office to epo] |
Ref country code: ES Free format text: LAPSE BECAUSE OF NON-PAYMENT OF DUE FEES Effective date: 20191013 |
|
| REG | Reference to a national code |
Ref country code: DE Ref legal event code: R071 Ref document number: 50113914 Country of ref document: DE |
|
| REG | Reference to a national code |
Ref country code: AT Ref legal event code: MK07 Ref document number: 393972 Country of ref document: AT Kind code of ref document: T Effective date: 20211012 |