EP1268213B2 - Datenträger mit gedrucktem sicherheitselement und stichtiefdruckherstellungsverfahren dafür - Google Patents
Datenträger mit gedrucktem sicherheitselement und stichtiefdruckherstellungsverfahren dafür Download PDFInfo
- Publication number
- EP1268213B2 EP1268213B2 EP00991275.9A EP00991275A EP1268213B2 EP 1268213 B2 EP1268213 B2 EP 1268213B2 EP 00991275 A EP00991275 A EP 00991275A EP 1268213 B2 EP1268213 B2 EP 1268213B2
- Authority
- EP
- European Patent Office
- Prior art keywords
- structural elements
- data carrier
- information item
- tactile
- relieflike
- Prior art date
- Legal status (The legal status is an assumption and is not a legal conclusion. Google has not performed a legal analysis and makes no representation as to the accuracy of the status listed.)
- Expired - Lifetime
Links
Images
Classifications
-
- B—PERFORMING OPERATIONS; TRANSPORTING
- B41—PRINTING; LINING MACHINES; TYPEWRITERS; STAMPS
- B41M—PRINTING, DUPLICATING, MARKING, OR COPYING PROCESSES; COLOUR PRINTING
- B41M3/00—Printing processes to produce particular kinds of printed work, e.g. patterns
- B41M3/14—Security printing
-
- B—PERFORMING OPERATIONS; TRANSPORTING
- B41—PRINTING; LINING MACHINES; TYPEWRITERS; STAMPS
- B41M—PRINTING, DUPLICATING, MARKING, OR COPYING PROCESSES; COLOUR PRINTING
- B41M1/00—Inking and printing with a printer's forme
- B41M1/10—Intaglio printing ; Gravure printing
-
- B—PERFORMING OPERATIONS; TRANSPORTING
- B42—BOOKBINDING; ALBUMS; FILES; SPECIAL PRINTED MATTER
- B42D—BOOKS; BOOK COVERS; LOOSE LEAVES; PRINTED MATTER CHARACTERISED BY IDENTIFICATION OR SECURITY FEATURES; PRINTED MATTER OF SPECIAL FORMAT OR STYLE NOT OTHERWISE PROVIDED FOR; DEVICES FOR USE THEREWITH AND NOT OTHERWISE PROVIDED FOR; MOVABLE-STRIP WRITING OR READING APPARATUS
- B42D25/00—Information-bearing cards or sheet-like structures characterised by identification or security features; Manufacture thereof
- B42D25/20—Information-bearing cards or sheet-like structures characterised by identification or security features; Manufacture thereof characterised by a particular use or purpose
- B42D25/29—Securities; Bank notes
Definitions
- the invention relates to a data carrier with a security printing image and a printing plate for producing such a printed image.
- the intaglio is often used the intaglio printing, since the printing plate is very complex and expensive and can be generated with this method, a very characteristic print image that is not imitated by other printing methods ,
- two-dimensional representations are produced by closely spaced engraving lines, the individual engraving lines generally being fractions of a mm wide and separated from one another by ungravelled webs.
- the engraving lines of the printing plate are filled with paint.
- the excess ink is removed from the printing plate with the help of a wiping cylinder or a doctor blade so that only the engraving lines are filled with ink. By this wiping so all color components are removed on the printing plate surface.
- lithographic printing inks are used in intaglio printing, a light color tone is obtained when printing on a white data medium with low ink layer thicknesses, while darker color tones are obtained when printing with thick layers of ink.
- the intaglio printing process can produce print images with very large ink layer thicknesses. The resulting printed images are even manually felt when using correspondingly deep engravings. By using correspondingly fine engravings, extremely fine, extremely sharp printing lines are possible.
- the invention is based on the object to propose a data carrier with a printed image produced in intaglio printing, which has a very high security against counterfeiting.
- the invention is based on composing the printing image provided on the data carrier from a plurality of contrasting structural elements, wherein these structural elements are arranged in exact register with each other, and at least a part of these structural elements can be felt in relief and tactile, and part of the structural elements can be felt flat and not tactile is performed.
- These structural elements are produced in a printing process in intaglio printing on the data carrier.
- Passer referred to within the meaning of the invention, the exact connecting or abutting boundaries of large-scale and filigree or the relief-like and flat structural elements in the transition region in which large-scale and filigree or relief-like and flat structures abut each other.
- the reference plane By “relief-like” an elevation of the structural elements relative to the data carrier surface is referred to as the reference plane, which is more than about 30 microns, preferably about 40 microns to about 100 microns.
- "flat” ideally denotes a structural element lying in the data carrier surface as a reference plane, but which may be at most about 25 ⁇ m to 30 ⁇ m over the reference plane, but preferably not more than 25 ⁇ m.
- the engraving depth of the pressure plate for relief-like structural elements is in the range of about 40 ⁇ m to 200 ⁇ m, preferably in the range of about 55 ⁇ m to 150 ⁇ m, and for flat structural elements in the range of about 5 ⁇ m to 50 ⁇ m, preferably in the range of approx. 10 ⁇ m to 25 ⁇ m.
- the brightness impression of the hue depends on the printed layer thickness, the type, composition and concentration of the pigment. Layer thicknesses between about 2 microns and 5 microns produce a lighter, more transparent shade, with imprints with such layer thicknesses tactile are not felt. In the layer thickness range between about 5 microns and 10 microns, the hue is darker, the print image but still not felt. Only at layer thicknesses of about 10 .mu.m to 30 .mu.m, the print image, which now appears much darker, can be felt tactilely. A visually recognizable contrast between the structural elements according to the invention can thus be generated via the ink layer thickness. Since the tactile perception is a subjective sensation, a value from which a relief is perceived tactilely can only be determined within rough limits. The tactile perceptibility of a printed relief depends not only on the absolute relief height and the individual sensitivity, but also on the areal extent of the printed structure and on whether the printed structure to be touched is free-standing or integrated into a printed environment.
- the security against forgery of the security element or security print image according to the invention can finally be further increased by a frequent change takes place between the various structural elements.
- the structural elements differ in terms of their areal extent and / or their light / dark contrast and / or their tactility.
- the exact registration between the various structural elements and the associated special visual impression of the security print image can only be achieved by intaglio printing, i. using a printing plate in which the security print image is engraved completely and with the required register.
- the structural elements can additionally be combined with negative elements.
- Negative element here refers to a non-inked area of any shape in an inked environment.
- Such negative elements may be included within a structural element as unprinted pictorial or alphanumeric information, e.g. a logo, the denomination of a currency or a lettering, are present, so that a structural element is not completely covered with ink.
- the negative elements may also be formed as a dividing line between the individual structural elements, which is not the subject of the invention. In this case, the negative elements are preferably in the form of complicated line patterns, e.g. Guilloche on.
- a part of the structural elements according to the invention over a large area and a part of the structural elements made filigree.
- “Large area” means that the structural elements are not generated in the raster print, but actually consist of sheet-like elements with a certain width> about 1 mm.
- Filigree on the other hand, means that they are thin lines that may intersect and intertwine, such as guilloches.
- the line width of these filigree structures is ⁇ 1 mm and is preferably less than 0.5 mm.
- the structural elements are selected and arranged in register with one another in such a way that at least two visually recognizable, preferably overlapping, information arise.
- a first information composed of relief-like and tactile structural elements
- a second information consists at least for the most part of flat, non-tactile structural elements.
- the information can for example be composed as follows: All filigree structural elements and part of the large-scale structural elements of the security element according to the invention are carried out relief-like and tactile feel and form a first visually recognizable information. At the same time, part of these tactile structural elements belongs to a second piece of information which, in addition to the tactile feel, also has flat, non-tactile structural elements. Preferably, the flat structural elements of the second information occupy a larger area so that the visual impression of the second information is determined primarily by the flat structural elements.
- the tactile structural elements form only a kind of superimposed, preferably darker, pattern with regard to the second information.
- filigree structural elements encloses passerhaltig to the second information.
- these filigree structural elements continue the contour lines of the relief-like structural elements common to both pieces of information.
- This security element may according to a further preferred embodiment have negative elements.
- the structural elements of the first and second information may be separated by a narrow non-printed contour line, which is not the subject of the invention. In this case, the structural elements belonging only to the first information can also continue this non-printed contour line.
- the printing plate with which this printed image is produced has the corresponding structural elements in the form of depressions, wherein these structural elements are arranged here in exact register to each other.
- the engraving depth of the individual structural elements is chosen so that a first part of these structural elements is felt like a relief and tactile after printing and the second part of the structural elements has a lower engraving depth, so that the structural elements are flat and not tactile felt after printing.
- the engraving depth of the first part of the structural elements is preferably about 40 ⁇ m to 200 ⁇ m, preferably about 55 ⁇ m to 150 ⁇ m, and that of the second part is about 5 ⁇ m to 50 ⁇ m, preferably about 15 ⁇ m to 40 ⁇ m.
- the relief height achieved in the print result depends not only on the engraving depth of the printing plate, but also on the properties of the substrate and the ink, in extreme cases, an engraving depth of 40 microns already lead to a relief-like print image, while in other material and printing parameters an engraving depth of 50 microns can still lead to a flat print image. In any specific application, however, the engravings leading to relief-like print image areas are always deeper than those which produce so-called flat, tactile non-tactile image areas.
- the structural elements are designed such that the area in which the two overlap information either remains unprinted or is rendered in a tone that is visually distinct from both the relief and tactile sensible and the flat and non-tactile Structural elements clearly different.
- the relief-like and the flat structural elements as well as the unprinted or in the hue contrasting overlapping area are in turn in exact register to each other.
- Fig. 1 shows a first embodiment of the security element according to the invention 1.
- the security element 1 is composed of a plurality of structural elements, which are arranged in exact register to each other. Some of these structural elements, shown in black in the figure, can be felt in a relief-like and tactile manner; the other part of the structural elements, shown gray in the figure, is flat and can not be tactilely felt. All these structural elements are produced in a printing process by intaglio printing on an arbitrary substrate. In the example shown, the individual structural elements are arranged relative to one another such that two visually recognizable information is produced. This is the number "2000", which is overlaid by the words "Banknote".
- the number “2" is composed of the large-area, flat and non-tactile structural elements 2, the likewise large-area, but relief-like and tactile felted structural elements 3 and the filigree and relief-like tactile structural elements 4, 7 together.
- the structural elements 4 in this case form the contour line of the number "2". All structural elements and in particular the structural elements 4 and 7 as well as 3 and 4 are arranged within the meaning of the invention passerhaltig each other. Furthermore, the different structural elements, e.g. the structural elements 2, 4 or 2, 3 directly to each other.
- the structural elements 3, 7 are at the same time part of a second piece of information which, together with the filigree, relief-like and tactile structurally executed structural elements 5, form the letter "B".
- the structural elements 5 are formed in this case as filigree lines, which are arranged passerhaltig to the structural elements 3 and 7. They include the unprinted surfaces 6.
- Fig. 2 shows another embodiment of the inventive security element 1. Again, two information overlapping each other are shown.
- the first information the number "2000” also consists of flat, tactile not palpable Structural elements 2, filigree, relief-like and tactile felt structural elements 7 and large, tactile felt structural elements 3 together.
- the flat, non-tactile structural elements are gray and the relief-like, tactile structural elements are highlighted in black.
- Both the in Fig. 1 as well as in Fig. 2 shown security element 1 is generated in a printing operation.
- a translucent printing ink is used for this, so that the flat structural elements 2 appear in a lighter shade, while the relief-like structural elements 3, 4, 5, 7 are reproduced in a dark hue.
- the color differences arise due to different color layer thicknesses. Accordingly, the printing forme used for printing on different depth engravings.
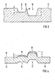
- Fig. 3 shows the detail of a printing plate according to the invention in cross section.
- the intaglio printing plate 8 has recessed engraving areas 9, 10 relative to the printing plate surface 11.
- the first engraving area 9 is engraved with an engraving depth a, the second engraving area 10 with an engraving depth b.
- the two engraving areas 9, 10 directly adjoin one another at the level of the printing plate surface 11 and are separated from one another by a separating edge 12, the upper edge 13 of which tapers to a point at the level of the printing plate surface 11.
- the intaglio printing plate 8 can also be designed so that the upper edge 13 is slightly, ie a few microns below the level of the printing plate surface 11. This separating edge ensures that contiguous color surfaces have sharp contours.
- the production and design variants of such printing plates with separating edges are described in the German patent application P 198 45 436.8 explained in detail, to which explicit reference is made here.
- the engraving area 9 generates a brighter hue during the printing process than the deeper engraving area 10. If non-tactile structural elements are produced with the engraving area 9, the engraving depth a is between 10 ⁇ m and 40 ⁇ m. For light shades which have a translucent effect, engraving depths of 10 ⁇ m to 25 ⁇ m are preferably used.
- the relief-like, tactile-feeling structural elements can be produced, for example, with the engraving area 10.
- the engraving depth b is in this case between 40 microns and 200 microns.
- Fig. 4 schematically shows the section of a substrate 14, such as paper, with a gravure printing plate 8 according to Fig. 3 was printed by intaglio printing.
- the substrate 14 is pressed into the engraving areas 9, 10, wherein corresponding depressions 16, 17 may remain on the underside of the substrate 15, depending on how much pressure is exerted on the substrate during the printing process.
- the substrate top 18 has corresponding elevations in the areas in which lie on the bottom of the recesses 16,17. These elevations are covered by ink layers 19, 20, which were taken during the printing process from the substrate surface 18 of the engraving areas 9, 10.
- the level difference between the non-printed substrate surface and the surfaces of the respective color surfaces 19, 20 is defined as the height of the printed image relief x, y.
- the ink layer thicknesses x, y decrease continuously up to a borderline, which is defined by the upper edge 13 of the separating edge 12 of the intaglio printing plate 8.
- a borderline which is defined by the upper edge 13 of the separating edge 12 of the intaglio printing plate 8.
- the separating edge 12 results in a more or less wide boundary area, which ensures a clean separation between the pressure areas of different hues.
- Fig. 5a shows the enlarged section A from Fig. 2 , from which it is clear that the individual structural elements are arranged exactly passerhaltig each other.
- the structural elements 7 are flush with the structural elements 2. Passerhaltig this, the structural elements 5 are arranged. They border passerhaltig to the structural elements 2 and go virtually seamlessly into the contour line of the structural elements 7.
- Fig. 5b and 5c show the critical border areas after such a counterfeiting attempt.
- the structural elements 2 protrude beyond the structural elements 7, so that a part of the areas 6 bordered by the structural elements 5 is also filled with color.
- the structural elements 7 terminate outside the structural elements 2. Since such offsets greatly affect the overall impression of the printed image, counterfeiting attempts of the security element according to the invention are very obvious.
- a further embodiment of the security element 1 according to the invention is in the Fig. 6 and 7 shown.
- the letter "B” is reproduced, which has relief-like, tactile feelable structural elements 3, 7 in the areas shown in black.
- the second information in the present example is the number "2", which is reproduced essentially by gray, large-area and flat, non-tactile structural elements 2.
- the area 21 in which overlap the two information, according to the embodiment of the Fig. 6 unprinted, but is enclosed by printed areas and is therefore visually clearly visible in their extent.
- the corners of the relief-like structural elements 3 and the flat structural elements 2 abut each other with exact register, which is not attainable in this way with conventional methods.
- Fig. 7 is the area 22 in which the two characters "B" and "2" overlap, printed. Unlike the variants of Fig. 1 and 2 However, the overlap region 22 is reproduced here in such a way that its contrast or tone value differs visually clearly from that of the immediately adjacent, relief-like structural elements 3 and that of the flat structural elements 2. In Fig. 7 the overlapping area 22 is lighter than the relief-like areas 3, 7 and the flat areas 2 of the printed image. That is, the color layer is the thinnest in the region 22 and the surface 22 therefore flat and tactile not felt.
- ink layer thickness in the overlapping region 22 via a corresponding engraving of the associated printing plate so that it appears darker than the adjacent flat structural elements 2, which represent the number "2”, and brighter than the tactile structural elements 3, 7, which represent the letter "B".
- the register between the individual structural elements can be excellently checked, especially at the corners and edges where they adjoin one another.
- the security element according to the invention can be printed on any substrates. Preferably, these are data carriers made of paper. But also foil substrates can be provided with the security element according to the invention.
- the security element can be installed anywhere where high demands are made on the protection against counterfeiting, such as securities, banknotes, identity cards, passports but also for documents or higher-value tickets.
Landscapes
- Business, Economics & Management (AREA)
- Accounting & Taxation (AREA)
- Finance (AREA)
- Printing Methods (AREA)
- Manufacture Or Reproduction Of Printing Formes (AREA)
- Details Of Garments (AREA)
- Treatment Of Fiber Materials (AREA)
- Measurement Of The Respiration, Hearing Ability, Form, And Blood Characteristics Of Living Organisms (AREA)
Applications Claiming Priority (3)
| Application Number | Priority Date | Filing Date | Title |
|---|---|---|---|
| DE19963849 | 1999-12-30 | ||
| DE19963849A DE19963849A1 (de) | 1999-12-30 | 1999-12-30 | Datenträger mit gedrucktem Sicherheitselement |
| PCT/EP2000/013309 WO2001049505A1 (de) | 1999-12-30 | 2000-12-28 | Datenträger mit gedrucktem sicherheitselement und stichtiefdruckherstellungs-verfahren dafür |
Publications (3)
| Publication Number | Publication Date |
|---|---|
| EP1268213A1 EP1268213A1 (de) | 2003-01-02 |
| EP1268213B1 EP1268213B1 (de) | 2007-12-12 |
| EP1268213B2 true EP1268213B2 (de) | 2019-04-03 |
Family
ID=7935046
Family Applications (1)
| Application Number | Title | Priority Date | Filing Date |
|---|---|---|---|
| EP00991275.9A Expired - Lifetime EP1268213B2 (de) | 1999-12-30 | 2000-12-28 | Datenträger mit gedrucktem sicherheitselement und stichtiefdruckherstellungsverfahren dafür |
Country Status (15)
| Country | Link |
|---|---|
| US (1) | US7311043B2 (enExample) |
| EP (1) | EP1268213B2 (enExample) |
| JP (1) | JP2003519034A (enExample) |
| CN (1) | CN1197712C (enExample) |
| AT (1) | ATE380674T1 (enExample) |
| AU (1) | AU772672B2 (enExample) |
| BR (1) | BR0016887B1 (enExample) |
| CA (1) | CA2395964C (enExample) |
| DE (2) | DE19963849A1 (enExample) |
| ES (1) | ES2298170T3 (enExample) |
| MX (1) | MXPA02006507A (enExample) |
| PL (1) | PL196059B1 (enExample) |
| RU (1) | RU2258612C2 (enExample) |
| WO (1) | WO2001049505A1 (enExample) |
| ZA (1) | ZA200204748B (enExample) |
Families Citing this family (27)
| Publication number | Priority date | Publication date | Assignee | Title |
|---|---|---|---|---|
| US7313253B2 (en) | 1998-09-11 | 2007-12-25 | Digimarc Corporation | Methods and tangible objects employing machine readable data in photo-reactive materials |
| US6608919B1 (en) | 1999-11-10 | 2003-08-19 | Digimarc Corporation | Method and apparatus for encoding paper with information |
| DE10044711A1 (de) * | 2000-09-08 | 2002-03-21 | Giesecke & Devrient Gmbh | Wertdokument |
| DE10146912A1 (de) | 2001-09-24 | 2003-04-10 | Giesecke & Devrient Gmbh | Verfahren zur Individualisierung von Sicherheitsdokumenten und entsprechendes Sicherheitsdokument |
| DE10162050A1 (de) * | 2001-12-17 | 2003-07-03 | Giesecke & Devrient Gmbh | Wertdokument |
| DE10216562C1 (de) * | 2002-04-05 | 2003-12-11 | Ovd Kinegram Ag Zug | Sicherheitselement mit Mikro- und Makrostrukturen |
| DE10243863A1 (de) * | 2002-08-13 | 2004-02-26 | Giesecke & Devrient Gmbh | Datenträger mit einem optisch variablen Element |
| DE10248868A1 (de) * | 2002-10-18 | 2004-07-08 | Giesecke & Devrient Gmbh | Wertdokument |
| GB0225290D0 (en) * | 2002-10-30 | 2002-12-11 | Secretary Trade Ind Brit | Anti-counterfeiting apparatus and method |
| DE10305288B4 (de) | 2003-02-10 | 2005-06-30 | Leonhard Kurz Gmbh & Co. Kg | Sicherheitsdokument mit wenigstens einem Sicherheitselement |
| AT504185B1 (de) | 2003-07-03 | 2009-06-15 | Oebs Gmbh | Verfahren zur herstellung einer druckplatte |
| GB0401370D0 (en) * | 2004-01-21 | 2004-02-25 | Rue De Int Ltd | Security device |
| GB0403845D0 (en) * | 2004-02-20 | 2004-03-24 | Rue De Int Ltd | Security device |
| DE102004059305A1 (de) * | 2004-12-09 | 2006-08-17 | Hueck Folien Gmbh & Co. Kg | Kupferstiche in Tiefdruckzylindern |
| EP1859416A1 (en) * | 2005-03-16 | 2007-11-28 | Alpvision S.A. | Multimodal security feature for counterfeit detection of banknotes and security documents |
| RU2314208C2 (ru) * | 2006-01-11 | 2008-01-10 | Негосударственное некоммерческое образовательное учреждение "Институт управления" | Способ изготовления средства создания оттиска с элементом защиты оттиска от подделки |
| US7949148B2 (en) | 2006-01-23 | 2011-05-24 | Digimarc Corporation | Object processing employing movement |
| US8224018B2 (en) | 2006-01-23 | 2012-07-17 | Digimarc Corporation | Sensing data from physical objects |
| US10343436B2 (en) | 2006-02-27 | 2019-07-09 | Viavi Solutions Inc. | Security device formed by printing with special effect inks |
| EP1842665A1 (en) * | 2006-04-04 | 2007-10-10 | Kba-Giori S.A. | Process for producing security papers, intaglio printing press for implementing said process, and security paper produced according to said process |
| RU2322356C1 (ru) * | 2006-06-28 | 2008-04-20 | Федеральное государственное унитарное предприятие "Гознак"(ФГУП "Гознак") | Носитель информации, защищенный от подделки, и способ его изготовления |
| FR2932116B1 (fr) * | 2008-06-05 | 2010-07-30 | Oberthur Technologies | Document fiduciaire ou assimile comportant des motifs sous forme d'a-plats ainsi qu'une impression en taille douce, et son procede de fabrication |
| DE102008030409A1 (de) † | 2008-06-27 | 2009-12-31 | Giesecke & Devrient Gmbh | Sicherheitselement mit Aussparung und Verfahren zur Herstellung desselben |
| SG172984A1 (en) * | 2009-01-15 | 2011-08-29 | Lab Corp America Holdings | Methods of determining patient response by measurement of her-2 expression |
| DE102011107154A1 (de) * | 2011-07-14 | 2013-01-17 | Giesecke & Devrient Gmbh | Optisch variables Element, insbesondere Sicherheitselement für einen Datenträger |
| DE102011108239A1 (de) | 2011-07-21 | 2013-01-24 | Giesecke & Devrient Gmbh | Datenträger mit taktilem Sicherheitsmerkmal |
| DE102011121566A1 (de) | 2011-12-20 | 2013-06-20 | Giesecke & Devrient Gmbh | Unterstützung eines Benutzers bei einer Echtheitsüberprüfung einer Banknote |
Citations (20)
| Publication number | Priority date | Publication date | Assignee | Title |
|---|---|---|---|---|
| BE648863A (enExample) † | 1963-12-06 | 1964-10-01 | ||
| FR1595894A (enExample) † | 1967-12-19 | 1970-06-15 | ||
| US3599153A (en) † | 1969-05-23 | 1971-08-10 | United States Banknote Corp | Magnetic authentication of security documents having varying ink level coding |
| US3980018A (en) † | 1970-07-03 | 1976-09-14 | Director General, Printing Bureau, Ministry Of Finance | Special intaglio printing process for preventing forgery of securities |
| US4033059A (en) † | 1972-07-06 | 1977-07-05 | American Bank Note Company | Documents of value including intaglio printed transitory images |
| EP0091709A1 (fr) † | 1982-04-07 | 1983-10-19 | De La Rue Giori S.A. | Machine taille-douce pour l'impression des papiers valeurs |
| EP0146151A1 (fr) † | 1983-11-16 | 1985-06-26 | De La Rue Giori S.A. | Papier valeur |
| US4715623A (en) † | 1984-09-28 | 1987-12-29 | American Bank Note Company | Documents having a revealable concealed identifier and the method of making such documents |
| EP0406157A1 (fr) † | 1989-06-29 | 1991-01-02 | De La Rue Giori S.A. | Machine taille-douce pour l'impression des papiers valeurs |
| JPH0433878A (ja) † | 1990-05-31 | 1992-02-05 | Ookurashiyou Insatsu Kyokucho | 連続的な階調を有する凹版画線内に微小な文字等を有する印刷物及びその印刷方法 |
| US5106125A (en) † | 1989-12-01 | 1992-04-21 | Landis & Gyr Betriebs Ag | Arrangement to improve forgery protection of credit documents |
| US5178418A (en) † | 1991-06-25 | 1993-01-12 | Canadian Bank Note Co., Ltd. | Latent images comprising phase shifted micro printing |
| US5199744A (en) † | 1988-09-09 | 1993-04-06 | De La Rue Plc | Security device |
| WO1994029119A1 (en) † | 1993-06-08 | 1994-12-22 | Reserve Bank Of Australia | Embossing of banknotes or the like with security devices |
| US5435247A (en) † | 1993-04-05 | 1995-07-25 | De La Rue Giori S.A. | Printing plate with raised etched image |
| US5487567A (en) † | 1992-04-24 | 1996-01-30 | Francois-Charles Oberthur Group | Printing method and copy-evident secure document |
| WO1997048555A1 (de) † | 1996-06-17 | 1997-12-24 | Giesecke & Devrient Gmbh | Verfahren zur herstellung von prägeplatten |
| GB2316909A (en) † | 1996-09-06 | 1998-03-11 | De La Rue Thomas & Co Ltd | A banknote for the visually impaired |
| WO2000020216A1 (de) † | 1998-10-02 | 2000-04-13 | Giesecke & Devrient Gmbh | Stichtiefdruckverfahren zum drucken von aneinander grenzenden farbflächen unterschiedlicher farbschichtdicke |
| WO2001072525A1 (de) † | 2000-03-28 | 2001-10-04 | Giesecke & Devrient Gmbh | Im stichtiefdruck bedruckter datenträger |
Family Cites Families (27)
| Publication number | Priority date | Publication date | Assignee | Title |
|---|---|---|---|---|
| US4112189A (en) * | 1974-10-10 | 1978-09-05 | Gaf Corporation | Process for multi-color valley printing and embossing of flooring material and the like and flooring material made by said process |
| US4023971A (en) * | 1974-11-21 | 1977-05-17 | Vested Harry S | Film and method for forming intaglio printing plates |
| JPS54143302A (en) * | 1978-04-25 | 1979-11-08 | Nissha Printing | Method and plate for printing seamless band pattern on peripheral part of tridimensional body |
| DE3314327C1 (de) * | 1983-04-20 | 1984-07-26 | GAO Gesellschaft für Automation und Organisation mbH, 8000 München | Ausweiskarte und Verfahren zur Herstellung derselben |
| US4968064A (en) * | 1987-01-13 | 1990-11-06 | Mancuso Robert J | Variable color print |
| DE3741179A1 (de) * | 1987-12-04 | 1989-06-15 | Gao Ges Automation Org | Dokument mit faelschungssicherem oberflaechenrelief und verfahren zur herstellung desselben |
| JPH0353970A (ja) | 1989-07-21 | 1991-03-07 | Ookurashiyou Insatsu Kyokucho | 凹版印刷物及びその印刷方法 |
| DE3932505C2 (de) * | 1989-09-28 | 2001-03-15 | Gao Ges Automation Org | Datenträger mit einem optisch variablen Element |
| JP3141506B2 (ja) * | 1992-03-06 | 2001-03-05 | ソニー株式会社 | 凹版印刷用版材 |
| US6347480B1 (en) * | 1997-07-07 | 2002-02-19 | Southpac Trust International, Inc. | Method for wrapping a floral grouping with a sheet of material constructed of paper and having printed and embossed patterns thereon |
| JP2600094B2 (ja) * | 1992-06-04 | 1997-04-16 | 大蔵省印刷局長 | 偽造防止用潜像印刷物及びその印刷方法 |
| JP2615401B2 (ja) * | 1992-06-04 | 1997-05-28 | 大蔵省印刷局長 | 偽造防止用潜像模様形成体及びその作製方法 |
| US5396839A (en) * | 1992-09-23 | 1995-03-14 | Col1Or | Apparatus and method for printing color images |
| US5735547A (en) * | 1992-10-01 | 1998-04-07 | Morelle; Fredric T. | Anti-photographic/photocopy imaging process and product made by same |
| JPH06234086A (ja) * | 1993-02-10 | 1994-08-23 | Sony Corp | レーザ製版装置 |
| US6176522B1 (en) * | 1993-06-08 | 2001-01-23 | Securency Pty Ltd | Embossing of bank notes or the like with security devices |
| US5972545A (en) * | 1993-11-03 | 1999-10-26 | Corning Incorporated | Method of printing a color filter |
| US5675420A (en) * | 1995-01-23 | 1997-10-07 | Ohio Electronic Engravers, Inc. | Intaglio engraving method and apparatus |
| DE19541064A1 (de) * | 1995-11-03 | 1997-05-07 | Giesecke & Devrient Gmbh | Datenträger mit einem optisch variablen Element |
| US5722693A (en) * | 1996-10-03 | 1998-03-03 | Wicker; Kenneth M. | Embossed document protection methods and products |
| AUPO484797A0 (en) | 1997-01-29 | 1997-02-20 | Securency Pty Ltd | Printed matter producing reflective intaglio effect |
| NL1006401C2 (nl) * | 1997-06-25 | 1998-12-29 | Karel Johan Schell | Werkwijze en inrichting voor het door plaatdruktechnologie bedrukken van een vel of baan. Werkwijze en inrichting voor het vervaardigen van waardepapieren, in het bijzonder bankbiljetten, door het door plaatdruktechnologie bedrukken van een vel of baan. |
| WO1999038679A1 (en) * | 1998-01-30 | 1999-08-05 | Springs Window Fashions Division, Inc. | Apparatus and method for embossing and printing elongated substrates |
| DE19808562A1 (de) * | 1998-02-28 | 1999-09-02 | Huebner | Gedrucktes Tonprofil |
| US6142618A (en) * | 1998-04-29 | 2000-11-07 | Xerox Corporation | System for depositing image enhancing fluid and ink jet printing process employing said system |
| DE19845552A1 (de) * | 1998-10-02 | 2000-04-06 | Giesecke & Devrient Gmbh | Datenträger |
| US6227572B1 (en) * | 1999-03-01 | 2001-05-08 | Eric A. Lyen | Durable tactile indicia for banknotes/documents and method of making same |
-
1999
- 1999-12-30 DE DE19963849A patent/DE19963849A1/de not_active Withdrawn
-
2000
- 2000-12-28 EP EP00991275.9A patent/EP1268213B2/de not_active Expired - Lifetime
- 2000-12-28 PL PL00358721A patent/PL196059B1/pl unknown
- 2000-12-28 CN CNB008179905A patent/CN1197712C/zh not_active Expired - Fee Related
- 2000-12-28 AU AU31649/01A patent/AU772672B2/en not_active Ceased
- 2000-12-28 ES ES00991275T patent/ES2298170T3/es not_active Expired - Lifetime
- 2000-12-28 CA CA002395964A patent/CA2395964C/en not_active Expired - Fee Related
- 2000-12-28 DE DE50014854T patent/DE50014854D1/de not_active Expired - Lifetime
- 2000-12-28 WO PCT/EP2000/013309 patent/WO2001049505A1/de not_active Ceased
- 2000-12-28 BR BRPI0016887-4A patent/BR0016887B1/pt not_active IP Right Cessation
- 2000-12-28 RU RU2002120472/12A patent/RU2258612C2/ru not_active IP Right Cessation
- 2000-12-28 JP JP2001549851A patent/JP2003519034A/ja active Pending
- 2000-12-28 US US10/168,534 patent/US7311043B2/en not_active Expired - Fee Related
- 2000-12-28 AT AT00991275T patent/ATE380674T1/de active
- 2000-12-28 MX MXPA02006507A patent/MXPA02006507A/es active IP Right Grant
-
2002
- 2002-06-13 ZA ZA200204748A patent/ZA200204748B/xx unknown
Patent Citations (23)
| Publication number | Priority date | Publication date | Assignee | Title |
|---|---|---|---|---|
| BE648863A (enExample) † | 1963-12-06 | 1964-10-01 | ||
| FR1595894A (enExample) † | 1967-12-19 | 1970-06-15 | ||
| US3599153A (en) † | 1969-05-23 | 1971-08-10 | United States Banknote Corp | Magnetic authentication of security documents having varying ink level coding |
| US3980018A (en) † | 1970-07-03 | 1976-09-14 | Director General, Printing Bureau, Ministry Of Finance | Special intaglio printing process for preventing forgery of securities |
| US4033059A (en) † | 1972-07-06 | 1977-07-05 | American Bank Note Company | Documents of value including intaglio printed transitory images |
| EP0091709A1 (fr) † | 1982-04-07 | 1983-10-19 | De La Rue Giori S.A. | Machine taille-douce pour l'impression des papiers valeurs |
| US4516496A (en) † | 1982-04-07 | 1985-05-14 | De La Rue Giori S.A. | Copperplate engraving machine for printing paper currency |
| EP0146151A1 (fr) † | 1983-11-16 | 1985-06-26 | De La Rue Giori S.A. | Papier valeur |
| US4588212A (en) † | 1983-11-16 | 1986-05-13 | De La Rue Giori S.A. | Document of value |
| US4715623A (en) † | 1984-09-28 | 1987-12-29 | American Bank Note Company | Documents having a revealable concealed identifier and the method of making such documents |
| US5199744A (en) † | 1988-09-09 | 1993-04-06 | De La Rue Plc | Security device |
| EP0406157A1 (fr) † | 1989-06-29 | 1991-01-02 | De La Rue Giori S.A. | Machine taille-douce pour l'impression des papiers valeurs |
| US5106125A (en) † | 1989-12-01 | 1992-04-21 | Landis & Gyr Betriebs Ag | Arrangement to improve forgery protection of credit documents |
| JPH0433878A (ja) † | 1990-05-31 | 1992-02-05 | Ookurashiyou Insatsu Kyokucho | 連続的な階調を有する凹版画線内に微小な文字等を有する印刷物及びその印刷方法 |
| US5178418A (en) † | 1991-06-25 | 1993-01-12 | Canadian Bank Note Co., Ltd. | Latent images comprising phase shifted micro printing |
| US5487567A (en) † | 1992-04-24 | 1996-01-30 | Francois-Charles Oberthur Group | Printing method and copy-evident secure document |
| US5435247A (en) † | 1993-04-05 | 1995-07-25 | De La Rue Giori S.A. | Printing plate with raised etched image |
| WO1994029119A1 (en) † | 1993-06-08 | 1994-12-22 | Reserve Bank Of Australia | Embossing of banknotes or the like with security devices |
| WO1997048555A1 (de) † | 1996-06-17 | 1997-12-24 | Giesecke & Devrient Gmbh | Verfahren zur herstellung von prägeplatten |
| GB2316909A (en) † | 1996-09-06 | 1998-03-11 | De La Rue Thomas & Co Ltd | A banknote for the visually impaired |
| WO2000020216A1 (de) † | 1998-10-02 | 2000-04-13 | Giesecke & Devrient Gmbh | Stichtiefdruckverfahren zum drucken von aneinander grenzenden farbflächen unterschiedlicher farbschichtdicke |
| WO2001072525A1 (de) † | 2000-03-28 | 2001-10-04 | Giesecke & Devrient Gmbh | Im stichtiefdruck bedruckter datenträger |
| DE10015097A1 (de) † | 2000-03-28 | 2001-10-04 | Giesecke & Devrient Gmbh | Im Stichtiefdruck bedruckter Datenträger |
Non-Patent Citations (2)
| Title |
|---|
| CHRIS H. WILLIAMS: "The Printer's Ink Handbook", 1992, MACLEAN HUNTER LTD., pages: 131 - 132 † |
| RUDOLF L. VAN RENESSE: "Optical Document Security", 1998, ARTECH HOUSE, Boston/London, ISBN: 0-89006-982-4, 2nd Ed † |
Also Published As
| Publication number | Publication date |
|---|---|
| EP1268213A1 (de) | 2003-01-02 |
| PL196059B1 (pl) | 2007-11-30 |
| BR0016887A (pt) | 2002-10-01 |
| CN1414912A (zh) | 2003-04-30 |
| JP2003519034A (ja) | 2003-06-17 |
| CN1197712C (zh) | 2005-04-20 |
| PL358721A1 (en) | 2004-08-09 |
| US20030145747A1 (en) | 2003-08-07 |
| CA2395964C (en) | 2008-12-02 |
| EP1268213B1 (de) | 2007-12-12 |
| US7311043B2 (en) | 2007-12-25 |
| RU2002120472A (ru) | 2004-02-20 |
| RU2258612C2 (ru) | 2005-08-20 |
| AU772672B2 (en) | 2004-05-06 |
| DE19963849A1 (de) | 2001-07-12 |
| ZA200204748B (en) | 2004-04-08 |
| BR0016887B1 (pt) | 2008-11-18 |
| ATE380674T1 (de) | 2007-12-15 |
| CA2395964A1 (en) | 2001-07-12 |
| ES2298170T3 (es) | 2008-05-16 |
| WO2001049505A1 (de) | 2001-07-12 |
| MXPA02006507A (es) | 2003-02-12 |
| AU3164901A (en) | 2001-07-16 |
| DE50014854D1 (de) | 2008-01-24 |
Similar Documents
| Publication | Publication Date | Title |
|---|---|---|
| EP1268213B2 (de) | Datenträger mit gedrucktem sicherheitselement und stichtiefdruckherstellungsverfahren dafür | |
| EP1272352B2 (de) | Im stichtiefdruck bedruckter datenträger | |
| DE10044464B4 (de) | Datenträger sowie ein Verfahren zu seiner Herstellung | |
| EP1117537B2 (de) | Stichtiefdruckverfahren zum drucken von aneinander grenzenden farbflächen unterschiedlicher farbschichtdicke sowie datenträger, druckplatte und verfahren zum herstellen einer druckplatte | |
| DE69429266T3 (de) | Prägen von wertscheinbogen mit echtheitsmerkmalen | |
| EP1459268B1 (de) | Wertdokument | |
| EP1317349B1 (de) | Stichtiefdruckplatte und damit hergestelltes wertdokument | |
| EP1317351B1 (de) | Datenträger mit einem optisch variablen element | |
| EP2323852B1 (de) | Sicherheitselement mit auf- und durchlicht-informationen | |
| DE10243863A1 (de) | Datenträger mit einem optisch variablen Element | |
| EP1534535A2 (de) | Datenträger mit einer optisch variablen struktur | |
| EP1119457A1 (de) | Stichtiefdruckverfahren zum vollflächigen bedrucken grosser flächen | |
| DE102006016342A1 (de) | Sicherheitselement | |
| EP1945466A2 (de) | Sicherheitselement und verfahren zu seiner herstellung | |
| EP1558448B1 (de) | Wertdokument | |
| EP1853433B1 (de) | Datenträger mit halbtonbild |
Legal Events
| Date | Code | Title | Description |
|---|---|---|---|
| PUAI | Public reference made under article 153(3) epc to a published international application that has entered the european phase |
Free format text: ORIGINAL CODE: 0009012 |
|
| 17P | Request for examination filed |
Effective date: 20020730 |
|
| AK | Designated contracting states |
Kind code of ref document: A1 Designated state(s): AT BE CH CY DE DK ES FI FR GB GR IE IT LI LU MC NL PT SE TR |
|
| AX | Request for extension of the european patent |
Free format text: AL PAYMENT 20020730;LT PAYMENT 20020730;LV PAYMENT 20020730;MK PAYMENT 20020730;RO PAYMENT 20020730;SI PAYMENT 20020730 |
|
| 17Q | First examination report despatched |
Effective date: 20060929 |
|
| GRAP | Despatch of communication of intention to grant a patent |
Free format text: ORIGINAL CODE: EPIDOSNIGR1 |
|
| GRAS | Grant fee paid |
Free format text: ORIGINAL CODE: EPIDOSNIGR3 |
|
| GRAA | (expected) grant |
Free format text: ORIGINAL CODE: 0009210 |
|
| AK | Designated contracting states |
Kind code of ref document: B1 Designated state(s): AT BE CH CY DE DK ES FI FR GB GR IE IT LI LU MC NL PT SE TR |
|
| AX | Request for extension of the european patent |
Extension state: AL LT LV MK RO SI |
|
| REG | Reference to a national code |
Ref country code: GB Ref legal event code: FG4D Free format text: NOT ENGLISH |
|
| REG | Reference to a national code |
Ref country code: CH Ref legal event code: EP |
|
| REG | Reference to a national code |
Ref country code: IE Ref legal event code: FG4D Free format text: LANGUAGE OF EP DOCUMENT: GERMAN |
|
| REF | Corresponds to: |
Ref document number: 50014854 Country of ref document: DE Date of ref document: 20080124 Kind code of ref document: P |
|
| REG | Reference to a national code |
Ref country code: SE Ref legal event code: TRGR |
|
| REG | Reference to a national code |
Ref country code: CH Ref legal event code: NV Representative=s name: PATENTANWAELTE SCHAAD, BALASS, MENZL & PARTNER AG |
|
| GBT | Gb: translation of ep patent filed (gb section 77(6)(a)/1977) |
Effective date: 20080319 |
|
| REG | Reference to a national code |
Ref country code: ES Ref legal event code: FG2A Ref document number: 2298170 Country of ref document: ES Kind code of ref document: T3 |
|
| LTIE | Lt: invalidation of european patent or patent extension |
Effective date: 20071212 |
|
| PG25 | Lapsed in a contracting state [announced via postgrant information from national office to epo] |
Ref country code: FI Free format text: LAPSE BECAUSE OF FAILURE TO SUBMIT A TRANSLATION OF THE DESCRIPTION OR TO PAY THE FEE WITHIN THE PRESCRIBED TIME-LIMIT Effective date: 20071212 |
|
| ET | Fr: translation filed | ||
| PG25 | Lapsed in a contracting state [announced via postgrant information from national office to epo] |
Ref country code: MC Free format text: LAPSE BECAUSE OF NON-PAYMENT OF DUE FEES Effective date: 20071231 |
|
| PLBI | Opposition filed |
Free format text: ORIGINAL CODE: 0009260 |
|
| PG25 | Lapsed in a contracting state [announced via postgrant information from national office to epo] |
Ref country code: PT Free format text: LAPSE BECAUSE OF FAILURE TO SUBMIT A TRANSLATION OF THE DESCRIPTION OR TO PAY THE FEE WITHIN THE PRESCRIBED TIME-LIMIT Effective date: 20080512 |
|
| PLAX | Notice of opposition and request to file observation + time limit sent |
Free format text: ORIGINAL CODE: EPIDOSNOBS2 |
|
| 26 | Opposition filed |
Opponent name: DE LA RUE INTERNATIONAL LIMITED Effective date: 20080911 Opponent name: KBA-GIORI S.A. Effective date: 20080911 |
|
| PG25 | Lapsed in a contracting state [announced via postgrant information from national office to epo] |
Ref country code: IE Free format text: LAPSE BECAUSE OF NON-PAYMENT OF DUE FEES Effective date: 20071228 Ref country code: DK Free format text: LAPSE BECAUSE OF FAILURE TO SUBMIT A TRANSLATION OF THE DESCRIPTION OR TO PAY THE FEE WITHIN THE PRESCRIBED TIME-LIMIT Effective date: 20071212 |
|
| NLR1 | Nl: opposition has been filed with the epo |
Opponent name: DE LA RUE INTERNATIONAL LIMITED Opponent name: KBA-GIORI S.A. |
|
| PG25 | Lapsed in a contracting state [announced via postgrant information from national office to epo] |
Ref country code: GR Free format text: LAPSE BECAUSE OF FAILURE TO SUBMIT A TRANSLATION OF THE DESCRIPTION OR TO PAY THE FEE WITHIN THE PRESCRIBED TIME-LIMIT Effective date: 20080313 |
|
| PLAF | Information modified related to communication of a notice of opposition and request to file observations + time limit |
Free format text: ORIGINAL CODE: EPIDOSCOBS2 |
|
| PLAF | Information modified related to communication of a notice of opposition and request to file observations + time limit |
Free format text: ORIGINAL CODE: EPIDOSCOBS2 |
|
| PLBB | Reply of patent proprietor to notice(s) of opposition received |
Free format text: ORIGINAL CODE: EPIDOSNOBS3 |
|
| PG25 | Lapsed in a contracting state [announced via postgrant information from national office to epo] |
Ref country code: CY Free format text: LAPSE BECAUSE OF FAILURE TO SUBMIT A TRANSLATION OF THE DESCRIPTION OR TO PAY THE FEE WITHIN THE PRESCRIBED TIME-LIMIT Effective date: 20071212 |
|
| PG25 | Lapsed in a contracting state [announced via postgrant information from national office to epo] |
Ref country code: IT Free format text: LAPSE BECAUSE OF NON-PAYMENT OF DUE FEES Effective date: 20071228 Ref country code: LU Free format text: LAPSE BECAUSE OF NON-PAYMENT OF DUE FEES Effective date: 20071228 |
|
| PLAB | Opposition data, opponent's data or that of the opponent's representative modified |
Free format text: ORIGINAL CODE: 0009299OPPO |
|
| R26 | Opposition filed (corrected) |
Opponent name: DE LA RUE INTERNATIONAL LIMITED Effective date: 20080911 Opponent name: KBA-GIORI S.A. Effective date: 20080911 |
|
| PGRI | Patent reinstated in contracting state [announced from national office to epo] |
Ref country code: IT Effective date: 20110616 |
|
| PGFP | Annual fee paid to national office [announced via postgrant information from national office to epo] |
Ref country code: ES Payment date: 20111219 Year of fee payment: 12 |
|
| PGFP | Annual fee paid to national office [announced via postgrant information from national office to epo] |
Ref country code: IT Payment date: 20111228 Year of fee payment: 12 |
|
| PGFP | Annual fee paid to national office [announced via postgrant information from national office to epo] |
Ref country code: TR Payment date: 20121225 Year of fee payment: 13 |
|
| PGFP | Annual fee paid to national office [announced via postgrant information from national office to epo] |
Ref country code: AT Payment date: 20121214 Year of fee payment: 13 |
|
| PGFP | Annual fee paid to national office [announced via postgrant information from national office to epo] |
Ref country code: BE Payment date: 20121217 Year of fee payment: 13 |
|
| PLBP | Opposition withdrawn |
Free format text: ORIGINAL CODE: 0009264 |
|
| PG25 | Lapsed in a contracting state [announced via postgrant information from national office to epo] |
Ref country code: IT Free format text: LAPSE BECAUSE OF NON-PAYMENT OF DUE FEES Effective date: 20121228 |
|
| PLAB | Opposition data, opponent's data or that of the opponent's representative modified |
Free format text: ORIGINAL CODE: 0009299OPPO |
|
| R26 | Opposition filed (corrected) |
Opponent name: KBA-NOTASYS SA Effective date: 20080911 |
|
| APAH | Appeal reference modified |
Free format text: ORIGINAL CODE: EPIDOSCREFNO |
|
| APBM | Appeal reference recorded |
Free format text: ORIGINAL CODE: EPIDOSNREFNO |
|
| APBP | Date of receipt of notice of appeal recorded |
Free format text: ORIGINAL CODE: EPIDOSNNOA2O |
|
| APBM | Appeal reference recorded |
Free format text: ORIGINAL CODE: EPIDOSNREFNO |
|
| APBP | Date of receipt of notice of appeal recorded |
Free format text: ORIGINAL CODE: EPIDOSNNOA2O |
|
| REG | Reference to a national code |
Ref country code: DE Ref legal event code: R082 Ref document number: 50014854 Country of ref document: DE |
|
| REG | Reference to a national code |
Ref country code: ES Ref legal event code: FD2A Effective date: 20140519 |
|
| PG25 | Lapsed in a contracting state [announced via postgrant information from national office to epo] |
Ref country code: ES Free format text: LAPSE BECAUSE OF NON-PAYMENT OF DUE FEES Effective date: 20121229 |
|
| APBQ | Date of receipt of statement of grounds of appeal recorded |
Free format text: ORIGINAL CODE: EPIDOSNNOA3O |
|
| BERE | Be: lapsed |
Owner name: GIESECKE & DEVRIENT G.M.B.H. Effective date: 20131231 |
|
| APBQ | Date of receipt of statement of grounds of appeal recorded |
Free format text: ORIGINAL CODE: EPIDOSNNOA3O |
|
| REG | Reference to a national code |
Ref country code: AT Ref legal event code: MM01 Ref document number: 380674 Country of ref document: AT Kind code of ref document: T Effective date: 20131228 |
|
| PG25 | Lapsed in a contracting state [announced via postgrant information from national office to epo] |
Ref country code: BE Free format text: LAPSE BECAUSE OF NON-PAYMENT OF DUE FEES Effective date: 20131231 |
|
| PG25 | Lapsed in a contracting state [announced via postgrant information from national office to epo] |
Ref country code: AT Free format text: LAPSE BECAUSE OF NON-PAYMENT OF DUE FEES Effective date: 20131228 |
|
| REG | Reference to a national code |
Ref country code: FR Ref legal event code: PLFP Year of fee payment: 16 |
|
| PLAB | Opposition data, opponent's data or that of the opponent's representative modified |
Free format text: ORIGINAL CODE: 0009299OPPO |
|
| REG | Reference to a national code |
Ref country code: FR Ref legal event code: PLFP Year of fee payment: 17 |
|
| PGFP | Annual fee paid to national office [announced via postgrant information from national office to epo] |
Ref country code: GB Payment date: 20161222 Year of fee payment: 17 |
|
| PG25 | Lapsed in a contracting state [announced via postgrant information from national office to epo] |
Ref country code: TR Free format text: LAPSE BECAUSE OF NON-PAYMENT OF DUE FEES Effective date: 20141228 |
|
| REG | Reference to a national code |
Ref country code: DE Ref legal event code: R081 Ref document number: 50014854 Country of ref document: DE Owner name: GIESECKE+DEVRIENT CURRENCY TECHNOLOGY GMBH, DE Free format text: FORMER OWNER: GIESECKE & DEVRIENT GMBH, 81677 MUENCHEN, DE |
|
| REG | Reference to a national code |
Ref country code: CH Ref legal event code: PUE Owner name: GIESECKE+DEVRIENT CURRENCY TECHNOLOGY GMBH, DE Free format text: FORMER OWNER: GIESECKE AND DEVRIENT GMBH, DE |
|
| REG | Reference to a national code |
Ref country code: FR Ref legal event code: PLFP Year of fee payment: 18 |
|
| RAP2 | Party data changed (patent owner data changed or rights of a patent transferred) |
Owner name: GIESECKE+DEVRIENT CURRENCY TECHNOLOGY GMBH |
|
| PGFP | Annual fee paid to national office [announced via postgrant information from national office to epo] |
Ref country code: NL Payment date: 20171219 Year of fee payment: 18 |
|
| REG | Reference to a national code |
Ref country code: NL Ref legal event code: PD Owner name: GIESECKE+DEVRIENT CURRENCY TECHNOLOGY GMBH; DE Free format text: DETAILS ASSIGNMENT: CHANGE OF OWNER(S), ASSIGNMENT; FORMER OWNER NAME: GIESECKE & DEVRIENT GMBH Effective date: 20171205 |
|
| PGFP | Annual fee paid to national office [announced via postgrant information from national office to epo] |
Ref country code: SE Payment date: 20171221 Year of fee payment: 18 |
|
| REG | Reference to a national code |
Ref country code: DE Ref legal event code: R084 Ref document number: 50014854 Country of ref document: DE |
|
| REG | Reference to a national code |
Ref country code: FR Ref legal event code: TP Owner name: GIESECKE+DEVRIENT CURRENCY TECHNOLOGY GMBH, DE Effective date: 20180530 |
|
| GBPC | Gb: european patent ceased through non-payment of renewal fee |
Effective date: 20171228 |
|
| APBU | Appeal procedure closed |
Free format text: ORIGINAL CODE: EPIDOSNNOA9O |
|
| PG25 | Lapsed in a contracting state [announced via postgrant information from national office to epo] |
Ref country code: GB Free format text: LAPSE BECAUSE OF NON-PAYMENT OF DUE FEES Effective date: 20171228 |
|
| PGFP | Annual fee paid to national office [announced via postgrant information from national office to epo] |
Ref country code: NL Payment date: 20180926 Year of fee payment: 18 |
|
| PUAH | Patent maintained in amended form |
Free format text: ORIGINAL CODE: 0009272 |
|
| STAA | Information on the status of an ep patent application or granted ep patent |
Free format text: STATUS: PATENT MAINTAINED AS AMENDED |
|
| REG | Reference to a national code |
Ref country code: CH Ref legal event code: AELC |
|
| 27A | Patent maintained in amended form |
Effective date: 20190403 |
|
| AK | Designated contracting states |
Kind code of ref document: B2 Designated state(s): AT BE CH CY DE DK ES FI FR GB GR IE IT LI LU MC NL PT SE TR |
|
| AX | Request for extension of the european patent |
Extension state: AL LT LV MK RO SI |
|
| REG | Reference to a national code |
Ref country code: DE Ref legal event code: R102 Ref document number: 50014854 Country of ref document: DE |
|
| PGFP | Annual fee paid to national office [announced via postgrant information from national office to epo] |
Ref country code: DE Payment date: 20181231 Year of fee payment: 19 |
|
| REG | Reference to a national code |
Ref country code: NL Ref legal event code: MP Effective date: 20071212 |
|
| REG | Reference to a national code |
Ref country code: SE Ref legal event code: EUG |
|
| PG25 | Lapsed in a contracting state [announced via postgrant information from national office to epo] |
Ref country code: SE Free format text: LAPSE BECAUSE OF NON-PAYMENT OF DUE FEES Effective date: 20181229 |
|
| PG25 | Lapsed in a contracting state [announced via postgrant information from national office to epo] |
Ref country code: NL Free format text: LAPSE BECAUSE OF FAILURE TO SUBMIT A TRANSLATION OF THE DESCRIPTION OR TO PAY THE FEE WITHIN THE PRESCRIBED TIME-LIMIT Effective date: 20071212 |
|
| PG25 | Lapsed in a contracting state [announced via postgrant information from national office to epo] |
Ref country code: NL Free format text: LAPSE BECAUSE OF NON-PAYMENT OF DUE FEES Effective date: 20071212 |
|
| PGFP | Annual fee paid to national office [announced via postgrant information from national office to epo] |
Ref country code: FR Payment date: 20191218 Year of fee payment: 20 |
|
| REG | Reference to a national code |
Ref country code: DE Ref legal event code: R119 Ref document number: 50014854 Country of ref document: DE |
|
| REG | Reference to a national code |
Ref country code: CH Ref legal event code: PL |
|
| PG25 | Lapsed in a contracting state [announced via postgrant information from national office to epo] |
Ref country code: DE Free format text: LAPSE BECAUSE OF NON-PAYMENT OF DUE FEES Effective date: 20200701 |
|
| PG25 | Lapsed in a contracting state [announced via postgrant information from national office to epo] |
Ref country code: LI Free format text: LAPSE BECAUSE OF NON-PAYMENT OF DUE FEES Effective date: 20191231 Ref country code: CH Free format text: LAPSE BECAUSE OF NON-PAYMENT OF DUE FEES Effective date: 20191231 |