EP0959453A2 - Aktive Geräuschunterdrückung für lärmabstrahlende Flächen - Google Patents

Aktive Geräuschunterdrückung für lärmabstrahlende Flächen Download PDF

Info

Publication number
EP0959453A2
EP0959453A2 EP99109724A EP99109724A EP0959453A2 EP 0959453 A2 EP0959453 A2 EP 0959453A2 EP 99109724 A EP99109724 A EP 99109724A EP 99109724 A EP99109724 A EP 99109724A EP 0959453 A2 EP0959453 A2 EP 0959453A2
Authority
EP
European Patent Office
Prior art keywords
active noise
noise suppression
axis
sensors
noise
Prior art date
Legal status (The legal status is an assumption and is not a legal conclusion. Google has not performed a legal analysis and makes no representation as to the accuracy of the status listed.)
Granted
Application number
EP99109724A
Other languages
English (en)
French (fr)
Other versions
EP0959453B1 (de
EP0959453A3 (de
Inventor
Marius Bebesel
Rudolf Maier
Klaus Schmidts
Current Assignee (The listed assignees may be inaccurate. Google has not performed a legal analysis and makes no representation or warranty as to the accuracy of the list.)
Airbus Defence and Space GmbH
Original Assignee
DaimlerChrysler AG
EADS Deutschland GmbH
Priority date (The priority date is an assumption and is not a legal conclusion. Google has not performed a legal analysis and makes no representation as to the accuracy of the date listed.)
Filing date
Publication date
Application filed by DaimlerChrysler AG, EADS Deutschland GmbH filed Critical DaimlerChrysler AG
Publication of EP0959453A2 publication Critical patent/EP0959453A2/de
Publication of EP0959453A3 publication Critical patent/EP0959453A3/de
Application granted granted Critical
Publication of EP0959453B1 publication Critical patent/EP0959453B1/de
Anticipated expiration legal-status Critical
Expired - Lifetime legal-status Critical Current

Links

Images

Classifications

    • GPHYSICS
    • G10MUSICAL INSTRUMENTS; ACOUSTICS
    • G10KSOUND-PRODUCING DEVICES; METHODS OR DEVICES FOR PROTECTING AGAINST, OR FOR DAMPING, NOISE OR OTHER ACOUSTIC WAVES IN GENERAL; ACOUSTICS NOT OTHERWISE PROVIDED FOR
    • G10K11/00Methods or devices for transmitting, conducting or directing sound in general; Methods or devices for protecting against, or for damping, noise or other acoustic waves in general
    • G10K11/16Methods or devices for protecting against, or for damping, noise or other acoustic waves in general
    • G10K11/175Methods or devices for protecting against, or for damping, noise or other acoustic waves in general using interference effects; Masking sound
    • G10K11/178Methods or devices for protecting against, or for damping, noise or other acoustic waves in general using interference effects; Masking sound by electro-acoustically regenerating the original acoustic waves in anti-phase
    • G10K11/1785Methods, e.g. algorithms; Devices
    • G10K11/17857Geometric disposition, e.g. placement of microphones
    • GPHYSICS
    • G10MUSICAL INSTRUMENTS; ACOUSTICS
    • G10KSOUND-PRODUCING DEVICES; METHODS OR DEVICES FOR PROTECTING AGAINST, OR FOR DAMPING, NOISE OR OTHER ACOUSTIC WAVES IN GENERAL; ACOUSTICS NOT OTHERWISE PROVIDED FOR
    • G10K11/00Methods or devices for transmitting, conducting or directing sound in general; Methods or devices for protecting against, or for damping, noise or other acoustic waves in general
    • G10K11/16Methods or devices for protecting against, or for damping, noise or other acoustic waves in general
    • G10K11/175Methods or devices for protecting against, or for damping, noise or other acoustic waves in general using interference effects; Masking sound
    • G10K11/178Methods or devices for protecting against, or for damping, noise or other acoustic waves in general using interference effects; Masking sound by electro-acoustically regenerating the original acoustic waves in anti-phase
    • G10K11/1785Methods, e.g. algorithms; Devices
    • GPHYSICS
    • G10MUSICAL INSTRUMENTS; ACOUSTICS
    • G10KSOUND-PRODUCING DEVICES; METHODS OR DEVICES FOR PROTECTING AGAINST, OR FOR DAMPING, NOISE OR OTHER ACOUSTIC WAVES IN GENERAL; ACOUSTICS NOT OTHERWISE PROVIDED FOR
    • G10K11/00Methods or devices for transmitting, conducting or directing sound in general; Methods or devices for protecting against, or for damping, noise or other acoustic waves in general
    • G10K11/16Methods or devices for protecting against, or for damping, noise or other acoustic waves in general
    • G10K11/175Methods or devices for protecting against, or for damping, noise or other acoustic waves in general using interference effects; Masking sound
    • G10K11/178Methods or devices for protecting against, or for damping, noise or other acoustic waves in general using interference effects; Masking sound by electro-acoustically regenerating the original acoustic waves in anti-phase
    • G10K11/1787General system configurations
    • G10K11/17879General system configurations using both a reference signal and an error signal
    • GPHYSICS
    • G10MUSICAL INSTRUMENTS; ACOUSTICS
    • G10KSOUND-PRODUCING DEVICES; METHODS OR DEVICES FOR PROTECTING AGAINST, OR FOR DAMPING, NOISE OR OTHER ACOUSTIC WAVES IN GENERAL; ACOUSTICS NOT OTHERWISE PROVIDED FOR
    • G10K2210/00Details of active noise control [ANC] covered by G10K11/178 but not provided for in any of its subgroups
    • G10K2210/10Applications
    • G10K2210/128Vehicles
    • GPHYSICS
    • G10MUSICAL INSTRUMENTS; ACOUSTICS
    • G10KSOUND-PRODUCING DEVICES; METHODS OR DEVICES FOR PROTECTING AGAINST, OR FOR DAMPING, NOISE OR OTHER ACOUSTIC WAVES IN GENERAL; ACOUSTICS NOT OTHERWISE PROVIDED FOR
    • G10K2210/00Details of active noise control [ANC] covered by G10K11/178 but not provided for in any of its subgroups
    • G10K2210/10Applications
    • G10K2210/129Vibration, e.g. instead of, or in addition to, acoustic noise
    • G10K2210/1291Anti-Vibration-Control, e.g. reducing vibrations in panels or beams
    • GPHYSICS
    • G10MUSICAL INSTRUMENTS; ACOUSTICS
    • G10KSOUND-PRODUCING DEVICES; METHODS OR DEVICES FOR PROTECTING AGAINST, OR FOR DAMPING, NOISE OR OTHER ACOUSTIC WAVES IN GENERAL; ACOUSTICS NOT OTHERWISE PROVIDED FOR
    • G10K2210/00Details of active noise control [ANC] covered by G10K11/178 but not provided for in any of its subgroups
    • G10K2210/30Means
    • G10K2210/321Physical
    • G10K2210/3229Transducers
    • G10K2210/32291Plates or thin films, e.g. PVDF

Definitions

  • the invention relates to active noise suppression for a noise-emitting Surface with at least one fast sensor connected to the surface and at least one that can be controlled by the signal of the fast sensor, actuator acting on the surface.
  • Such a system for reducing the sound radiation from a flat surface is described, for example, by ME Johnson and SJ Elliott in Journal of Acoustic Society of America, 98 (4), Oct. 1995 under the title Active Control of Sound Radiation Using Volume Velocity Cancellation ".
  • a fast sensor is used which, like the actuator, extends over the entire surface and only detects odd-numbered vibration modes, in particular the basic mode (1,1) and these vibrations by means of the actuator If the noise-radiating surface vibrates with higher vibration modes in which even one component is an even number, for example, (1,2), (2,3), etc. modes, such a surface-integrating sensor does not provide any Output signal more, since the integration over all oscillation peaks and valleys results in the sum signal 0.
  • the invention uses axis-selective integrating fast sensors, which in the simplest case consist of strip-shaped Piezo foils are made. As soon as one along one axis such a sensor occupies a vibration mode with a odd component occurs, is the sum signal at this sensor no longer 0, so that an appropriately controlled actuator of this vibration mode can counteract.
  • a plate 1 which can be, for example, a structural or body part and which are a source of interference 2, e.g. B. an internal combustion engine excited to vibrate is applied two piezoelectric foils 3 and 4 one above the other.
  • the piezoelectric For example, slides 3 and 4 consist of stretched PVDF, which due to their manufacturing process is unidirectional piezoelectric Have properties.
  • the two foils 3 and 4 are arranged one above the other that their preferred piezoelectric directions represented by arrows are oriented perpendicular to each other in the plate plane.
  • the embodiment is thus the film 3 for deflections of the plate surface sensitive in the x direction and the film 4 for deflections in y direction.
  • the voltage signals generated by the foils 3 and 4 are fed to a controller 5, which processes the signals according to known methods and controls an actuator 6.
  • the actuator 6 can act on the plate 1 either in a punctiform or area-like manner and in such a way that vibration-induced deflections of the plate are counteracted.
  • Feed Forward control, the vibration signals of the interference source 2 can be detected and fed to the controller.
  • the speed of a plate 31 is detected point by point by means of individual sensors 32 which are distributed in a matrix over the surface of the plate 31.
  • acceleration sensors which are glued to the surface of the plate 31 and which are electrically connected to one another in rows and columns are suitable.
  • the sensors in the upper line then deliver, for example, a first sum signal S 1x , those in the second line the signal S 2x and so on;
  • the sensors of the left column supply the sum signal S 1y , those of the next column the sum signal S 2y etc.
  • the row or column spacing of the measuring grid constructed from the acceleration sensors 32 must be adapted to the structure and to the frequency range in which noise reduction is desired. In order to resolve the highest possible mode orders, the distance d should be less than a quarter of the structure wavelength ⁇ of the highest mode.
  • appropriately small-sized strain gauges, piezoceramics or piezofilms can also be used.
  • each attachment element consists of a hard one Shell 42.1, which is provided with side walls 42.2, which in turn on the Place plate 41 and, together with shell 42.1, a cavity 43 form.
  • the shell 42.1 is in accordance with the exemplary embodiments 1, 2 or 3 are equipped with axis-selective fast sensors 44 and 45, whose signals are fed to a controller 46. This controls an actuator 47, which acts centrally on the shell 42.1.
  • Such attachment elements are particularly suitable for noise suppression of complex sound-emitting structures in which the vibration and radiation behavior can only be determined with difficulty.
  • the vibrations and attachment elements the emitted sound of the actually vibrating structure (plate 41) in turn stimulated.
  • the active system integrated in the front elements reduces their noise radiation and thus the sound radiation of the structure self.

Landscapes

  • Physics & Mathematics (AREA)
  • Engineering & Computer Science (AREA)
  • Acoustics & Sound (AREA)
  • Multimedia (AREA)
  • Soundproofing, Sound Blocking, And Sound Damping (AREA)
  • Measurement Of Mechanical Vibrations Or Ultrasonic Waves (AREA)
  • Exhaust Silencers (AREA)

Abstract

Die aktive Geräuschunterdrückung für eine lärmabstrahlende Fläche weist mindestens zwei achsenselektiv integrierende Schnellesensoren auf, welche Schwingungen der Fläche in mindestens zwei, im wesentlichen orthogonale Richtungen erfassen und über eine Regelung einen auf die Fläche wirkenden Aktuator ansteuern, derart, daß den Auslenkungen der Fläche entgegengewirkt wird.

Description

Die Erfindung betrifft eine aktive Geräuschunterdrückung für eine lärmabstrahlende Fläche mit mindestens einem mit der Fläche verbundenen Schnellesensor und mindestens einem durch das Signal des Schnellesensors ansteuerbaren, auf die Fläche wirkenden Aktuator.
Ein derartiges System zur Reduktion der Schallabstrahlung einer ebenen Fläche wird beispielsweise von M. E. Johnson und S. J. Elliott in Journal of Acoustic Society of America, 98 (4), Oct. 1995 unter dem Titel
Figure 00010001
Active Control of Sound Radiation Using Volume Velocity Cancellation" beschrieben. Hierbei kommt ein Schnellesensor zur Anwendung, der sich ebenso wie der Aktuator über die gesamte Fläche erstreckt und nur ungeradzählige Schwingungsmoden, insbesondere die Grundmode (1,1) erfaßt und diesen Schwingungen mittels des Aktuators entgegenwirkt. Schwingt die lärmabstrahlende Fläche mit höheren Schwingungsmoden, bei denen auch nur eine Komponente geradzahlig ist,also z. B. (1,2)-, (2,3)-, usw. -Moden, so liefert ein derartiger flächenintegrierender Sensor kein Ausgangssignal mehr, da die Integration über alle Schwingungsberge und -täler das Summensignal 0 ergibt. Es hat sich jedoch gezeigt, daß sich bei steigender Anregungsfrequenz einer schwingenden Platte auch der Abstrahlungsgrad von solchen Schwingungsmoden erhöht, welche zumindest eine ungeradzahlige Komponente aufweisen, z. B. (1,2)-, (1,3)-, (21,3)-, (3,3)-,... usw. -Moden.
Es ist daher Aufgabe der vorliegenden Erfindung eine Vorrichtung zur aktiven Geräuschunterdrückung zu schaffen, mittels welcher Schwingungsmoden mit zumindest einer ungeradzahligen Komponente erfaßt und unterdrückt werden können.
Diese Aufgabe wird durch eine aktive Geräuschunterdrückung mit den Merkmalen des Patentanspruchs 1 gelöst.
Die Erfindung verwendet im Gegensatz zum Stand der Technik achsenselektiv integrierende Schnellesensoren, welche im einfachsten Fall aus streifenförmigen Piezofolien hergestellt sind. Sobald längs einer Achse einer mit einem derartigen Sensor belegten Fläche eine Schwingungsmode mit einer ungeradzahligen Komponente auftritt, ist das Summensignal an diesem Sensor nicht mehr 0, so daß ein entsprechend angesteuerter Aktuator dieser Schwingungsmode entgegenwirken kann.
Die Erfindung wird im folgenden anhand der in den Figuren teilweise schematisch dargestellten Ausführungsbeispiele näher beschrieben. Es zeigen:
Fig. 1
ein aktives System zur Geräuschunterdrückung mit zwei achsenselektiven Schnellesensoren
Fig. 2
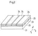
streifenförmige, achsenselektive Schnellesensoren auf einer Struktur
Fig. 3
matrixförmig angeordnete Schnellesensoren auf einer Struktur und
Fig. 4a und 4b
aktive Vorsatzelemente zur Geräuschunterdrückung.
Bei dem in Fig. 1 dargestellten Ausführungsbeispiel sind auf einer Platte 1, die beispielsweise ein Struktur- oder Karosserieteil sein kann und die durch eine Störquelle 2, z. B. ein Verbrennungsmotor, zu Schwingungen angeregt wird, zwei piezoelektrische Folien 3 und 4 übereinander aufgebracht. Die piezoelektrischen Folien 3 und 4 bestehen beispielsweise aus gerecktem PVDF, welche aufgrund ihres Herstellungsprozesses unidirektionale piezoelektrische Eigenschaften haben. Die beiden Folien 3 und 4 sind so übereinander angeordnet, daß ihre durch Pfeile dargestellten piezoelektrischen Vorzugsrichtungen in der Plattenebene senkrecht zueinander orientiert sind. In dem gezeigten Ausführungsbeispiel ist somit die Folie 3 für Auslenkungen der Plattenoberfläche in x-Richtung empfindlich und die Folie 4 für Auslenkungen in y-Richtung.
Die durch die Folien 3 und 4 erzeugten Spannungssignale werden einem Regler 5 zugeführt, der die Signale nach bekannten Verfahren verarbeitet und einen Aktuator 6 ansteuert. Der Aktuator 6 kann entweder punkt- oder flächenförmig auf die Platte 1 einwirken und zwar derart, daß schwingungsbedingten Auslenkungen der Platte entgegengewirkt wird. Für eine sogenannte Feed Forward"-Regelung können auch die Schwingungssignale der Störquelle 2 erfaßt und dem Regler zugeführt werden.
Aufgrund der achsenselektiven integrierenden Wirkung der beiden Folien 3 und 4 wird nicht nur die Grundmode der schwingenden Platte erfaßt sondern auch solche Moden, die entweder in der x- oder y-Richtung eine ungerade Modenzahl aufweisen. Nur bei geraden Modenzahlen ist in der jeweiligen Richtung das Summensignal auf der dieser Richtung zugeordneten Folie 0.
Anstelle von großflächigen, gereckten PVDF-Folien können die achsenselektiv integrierenden Schnellesensoren auch aus streifenförmigen Folien gemäß Fig. 2 hergestellt sein. Dies hat den Vorteil, daß auch stark gekrümmte Flächen problemlos belegt werden können. Hierzu sind aufeiner Platte 21 zwei Schichten von piezoelektrischen Folienstreifen kreuzweise übereinander aufgeklebt, wobei die Folienstreifen 23 der ersten Schicht die Schnelle in x-Richtung erfassen und integrieren und die darüberliegenden Streifen 24 der zweiten Schicht der y-Richtung zugeordnet sind. Die Streifen 23 bzw. 24 jeweils einer Schicht sind untereinander elektrisch verbunden, so daß an den jeweiligen Ausgangsleitungen das Summensignal aller piezoelektrischer Streifen einer Schicht anliegt.
Bei dem im Fig. 3 dargestellten Ausführungsbeispiel wird die Schnelle einer Platte 31 punktförmig mittels einzelner Sensoren 32 erfaßt, welche matrixförmig über die Oberfläche der Platte 31 verteilt sind. Hierzu eignen sich auf der Oberfläche der Platte 31 aufgeklebte Beschleunigungssensoren, welche zeilen- und spaltenweise untereinander elektrisch verbunden sind. Die Sensoren der oberen Zeile liefern dann beispielsweise ein erstes Summensignal S1x, die der zweiten Zeile das Signal S2x usw; entsprechend liefern die Sensoren der linken Spalte das Summensignal S1y, die der nächsten Spalte das Summensignal S2y usw. Da sich lokale Schnellewerte mit unterschiedlichen Vorzeichen im Summensignal gegenseitig aufheben bzw. nur als Differenzwert in Erscheinung treten, liefert das über alle Zeilen bzw. Spalten zusammengefaßte Summensignal Sx bzw Sy jeweils eine Aussage darüber, ob auf der Platte Schwingungsmoden aufgetreten sind, die insgesamt eine lärmabstrahlende Wirkung haben. Der Zeilen- bzw. Spaltenabstand des aus den Beschleunigungssensoren 32 aufgebauten Meßgitters muß an die Struktur und an den Frequenzbereich angepaßt werden, in dem Schallreduktion erwünscht ist. Um möglichst hohe Modenordnungen aufzulösen, sollte der Abstand d kleiner als ein Viertel der Strukturwellenlänge λ der höchsten Mode betragen. Anstelle von Beschleunigungssensoren können auch entsprechend kleindimensionierte Dehnmeßstreifen, Piezokeramiken oder Piezofolien verwendet werden.
Das in den Figuren 4 a und b gezeigte Ausführungsbeispiel besteht aus einzelnen Vorsatzelementen 42, die aufeiner Platte 41 möglichst flächendeckend angeordnet sind. Jedes Vorsatzelement besteht gemäß Fig. 4b aus einer harten Schale 42.1, welche mit Seitenwänden 42.2 versehen ist, die ihrerseits auf der Platte 41 aufliegen und zusammen mit der Schale 42.1 einen Hohlraum 43 bilden. Die Schale 42.1 ist entsprechend den Ausführungsbeispielen gemäß Figuren 1, 2 oder 3 mit achsenselektiven Schnellesensoren 44 bzw. 45 belegt, deren Signale einer Regelung 46 zugeführt werden. Diese steuert einen Aktuator 47, der zentral aufdie Schale 42.1 einwirkt.
Derartige Vorsatzelemente eignen sich zur Geräuschunterdrückung insbesondere von komplex schallabstrahlenden Strukturen, bei denen das Schwingungs- und Abstrahlverhalten nur schwer bestimmt werden kann. In diesen Fällen werden die gezeigten Vorsatzelemente durch die Schwingungen und den abgestrahlten Schall der eigentlich schwingenden Struktur (Platte 41) ihrerseits angeregt. Das in den Vorsatzelementen integrierte aktive System reduziert deren Lärmabstrahlung und somit die Schallabstrahlung der Struktur selbst.

Claims (6)

  1. Aktive Geräuschunterdrückung für eine lärmabstrahlende Fläche mit mindestens einem mit der Fläche verbundenen Schnellesensor und mindestens einem, durch das Signal des Schnellesensors ansteuerbaren, auf die Fläche wirkenden Aktuator, gekennzeichnet durch mindestens zwei achsenselektiv integrierende Schnellesensoren (3, 4), welche Schwingungen der Fläche (1) in mindestens zwei, im wesentlichen orthogonale Richtungen (x, y) erfassen.
  2. Aktive Geräuschunterdrückung nach Anspruch 1, dadurch gekennzeichnet, daß der achsenselektiv integrierende Schnellesensor (23, 24) mindestens ein streifenförmiges Piezoelement aufweist.
  3. Aktive Geräuschunterdrückung nach Anspruch 1 oder 2, dadurch gekennzeichnet, daß der achsenselektiv integrierende Schnellesensor (23, 24) mehrere parallel nebeneinander angeordnete und elektrisch parallel geschaltete streifenförmige Piezoelemente aufweist.
  4. Aktive Geräuschunterdrückung nach einem der Ansprüche 1 bis 3, dadurch gekennzeichnet, daß der achsenselektiv integrierende Schnellesensor mehrere punktförmige, matrixförmig sowohl auf der Fläche (31) angeordnete, als auch elektrisch verschaltete Beschleunigungs- oder Deformationsaufnehmer (32) aufweist, wobei zumindest für je eine Zeile und je eine Spalte mittels der Beschleunigungs- oder Deformationsaufnehmer ein Summensignal (S1x, S2x, ...; S1y, S2y, ...) gebildet wird.
  5. Aktive Geräuschunterdrückung nach einem der Ansprüche 1 bis 4, dadurch gekennzeichnet, daß die Schnellesensoren (44, 45) und der Aktuator (47) auf einer harten Schale (42.1) angeordnet sind, welche über Seitenwände (42.2)unter Bildung eines Hohlraumes (43) mit der lärmabstrahlenden Fläche (41) verbindbar ist.
  6. Aktive Geräuschunterdrückung nach Anspruch 5, dadurch gekennzeichnet, daß mehrere nebeneinander angeordnete Schalen (42.1) ein flächen deckendes Muster bilden.
EP99109724A 1998-05-20 1999-05-18 Aktives Geräuschunterdrückungssystem für lärmabstrahlende Flächen Expired - Lifetime EP0959453B1 (de)

Applications Claiming Priority (2)

Application Number Priority Date Filing Date Title
DE19822582A DE19822582B4 (de) 1998-05-20 1998-05-20 Aktive Geräuschunterdrückung für lärmabstrahlende Flächen
DE19822582 1998-05-20

Publications (3)

Publication Number Publication Date
EP0959453A2 true EP0959453A2 (de) 1999-11-24
EP0959453A3 EP0959453A3 (de) 2001-11-21
EP0959453B1 EP0959453B1 (de) 2004-01-07

Family

ID=7868372

Family Applications (1)

Application Number Title Priority Date Filing Date
EP99109724A Expired - Lifetime EP0959453B1 (de) 1998-05-20 1999-05-18 Aktives Geräuschunterdrückungssystem für lärmabstrahlende Flächen

Country Status (3)

Country Link
US (1) US6178246B1 (de)
EP (1) EP0959453B1 (de)
DE (2) DE19822582B4 (de)

Cited By (2)

* Cited by examiner, † Cited by third party
Publication number Priority date Publication date Assignee Title
WO2008046815A3 (de) * 2006-10-16 2009-10-29 BSH Bosch und Siemens Hausgeräte GmbH Geräuschveränderungsvorrichtung
CN115064083A (zh) * 2018-09-20 2022-09-16 乐金显示有限公司 显示设备和包括该显示设备的计算设备

Families Citing this family (22)

* Cited by examiner, † Cited by third party
Publication number Priority date Publication date Assignee Title
DE10117704C2 (de) * 2001-04-09 2002-08-01 Hoergeraete Kind Gmbh U Co Kg Kapselgehörschützer mit aktiver Schalldruckkompensation
US20030047395A1 (en) 2001-09-11 2003-03-13 Patton Mark E. Control system for vibration employing piezoelectric strain actuators
US6609985B2 (en) 2001-11-07 2003-08-26 Borgwarner Inc. Tensioner with vibrational damping
SE524284C2 (sv) * 2002-04-18 2004-07-20 A2 Acoustics Ab Anordning för att driva ett membran inrättat i en öppning till ett utrymme samt fordon innefattande en anordning för att driva ett membran inrättat i en öppning hos fordonet
US7330583B2 (en) * 2002-08-19 2008-02-12 Photon Dynamics, Inc. Integrated visual imaging and electronic sensing inspection systems
NL1022647C2 (nl) * 2003-02-11 2004-08-12 Tno Inrichting voor het actief reduceren van geluidstransmissie, alsmede een paneel omvattende een dergelijke inrichting.
DE102004019592A1 (de) * 2004-04-22 2005-09-01 Siemens Ag Schalldämmungsvorrichtung
US8054984B2 (en) * 2006-10-16 2011-11-08 Bsh Home Appliances Corporation Sound altering apparatus
US8059827B2 (en) * 2006-10-16 2011-11-15 Bsh Home Appliances Corporation Noise reduction apparatus
US7854295B2 (en) * 2008-06-03 2010-12-21 Panasonic Corporation Active noise control system
FR2960587B1 (fr) 2010-05-31 2017-12-01 Somfy Sas Dispositif de rigidification et caisson de store equipe d'un tel dispositif
DE102010043108A1 (de) * 2010-10-29 2012-05-03 Robert Bosch Gmbh Piezoelektrischer Teilflächen-Schallwandler
US9462994B2 (en) 2012-05-11 2016-10-11 3M Innovative Properties Company Bioacoustic sensor with active noise correction
SG10201608433QA (en) * 2012-09-24 2016-12-29 Sekisui Chemical Co Ltd Leakage detector, leakage detection method, and pipe network monitoring apparatus
DE102013007481B4 (de) 2013-04-29 2014-12-04 DELUXE MCB UG (haftungsbeschränkt) Vorrichtung zur Schallreduzierung in Gasträumen
US9200943B2 (en) 2013-07-17 2015-12-01 GM Global Technology Operations LLC Acoustic sensing system for a motor vehicle
US11335312B2 (en) 2016-11-08 2022-05-17 Andersen Corporation Active noise cancellation systems and methods
EP3788619A1 (de) 2018-05-04 2021-03-10 Andersen Corporation Anvisierung von mehrbandfrequenz zur geräuschdämpfung
DE102018219644A1 (de) * 2018-11-16 2020-05-20 Zf Friedrichshafen Ag Aktive Reduktion von Schallemissionen an einem Kraftfahrzeug
CN112987508B (zh) * 2021-03-04 2022-09-30 长鑫存储技术有限公司 振动衰减结构及曝光装置
DE102021206170A1 (de) 2021-06-16 2022-12-22 Volkswagen Aktiengesellschaft Gehäusekomponente eines Leistungselektronikgehäuses mit Schwingungsaktor
DE102021126180A1 (de) 2021-10-08 2023-04-13 BH Holding GmbH Verfahren zur aktiven Geräuschunterdrückung in Innenräumen

Family Cites Families (8)

* Cited by examiner, † Cited by third party
Publication number Priority date Publication date Assignee Title
DE3236098A1 (de) * 1982-09-29 1984-03-29 Siemens AG, 1000 Berlin und 8000 München Druckwandleranordnung, insbesondere fuer industrieroboter
US5115472A (en) * 1988-10-07 1992-05-19 Park Kyung T Electroacoustic novelties
DE3834853C2 (de) * 1988-10-13 1999-12-02 Bayerische Motoren Werke Ag Anordnung zur Verminderung des Geräuschpegels im Innenraum eines Kraftfahrzeugs
JP3320842B2 (ja) * 1992-07-06 2002-09-03 マツダ株式会社 車両の振動低減装置
US5410607A (en) * 1993-09-24 1995-04-25 Sri International Method and apparatus for reducing noise radiated from a complex vibrating surface
US5415522A (en) * 1993-11-01 1995-05-16 General Electric Company Active noise control using noise source having adaptive resonant frequency tuning through stress variation
US5812684A (en) * 1995-07-05 1998-09-22 Ford Global Technologies, Inc. Passenger compartment noise attenuation apparatus for use in a motor vehicle
US6031917A (en) * 1997-06-06 2000-02-29 Mcdonnell Douglas Corporation Active noise control using blocked mode approach

Cited By (3)

* Cited by examiner, † Cited by third party
Publication number Priority date Publication date Assignee Title
WO2008046815A3 (de) * 2006-10-16 2009-10-29 BSH Bosch und Siemens Hausgeräte GmbH Geräuschveränderungsvorrichtung
CN115064083A (zh) * 2018-09-20 2022-09-16 乐金显示有限公司 显示设备和包括该显示设备的计算设备
CN115064083B (zh) * 2018-09-20 2024-03-26 乐金显示有限公司 显示设备和包括该显示设备的计算设备

Also Published As

Publication number Publication date
DE19822582A1 (de) 1999-11-25
DE19822582B4 (de) 2004-02-12
DE59908223D1 (de) 2004-02-12
US6178246B1 (en) 2001-01-23
EP0959453B1 (de) 2004-01-07
EP0959453A3 (de) 2001-11-21

Similar Documents

Publication Publication Date Title
DE19822582B4 (de) Aktive Geräuschunterdrückung für lärmabstrahlende Flächen
DE3731196C2 (de)
DE102006005048B4 (de) Ultraschallsensor mit Sendeeinrichtung und Empfangseinrichtung für Ultraschallwellen
DE3344910C2 (de) Anordnung zum aktiven Dämpfen von Schallwellen
DE3733776A1 (de) Ultraschallsonde
DE19735155B4 (de) Beschleunigungssensor
DE102012215239B4 (de) Bauteil und Verfahren zum Prüfen eines solchen Bauteils
DE102008040911A1 (de) Verfahren zum Senden einer Ultraschallwelle und Vorrichtung zum Senden einer Ultraschallwelle
DE69712471T2 (de) Akustisches element und verfahren zur tonverarbeitung
DE68907189T2 (de) Verfahren zum Testen von Bauteilen eines impulsgesteuerten Tröpfchenaufzeichnungsgerätes.
EP1059620B1 (de) Piezo-Effekt-basiertes Sicherheitsmerkmal an Wert- und Sicherheitsdokumenten und dazugehöriges Nachweisverfahren
DE102014225010B4 (de) Mikrofon und Verfahren zur Herstellung desselben
DE10139160B4 (de) Sensorarray und Sende-Empfangs-Gerät
DE69421503T2 (de) Piezoelektrischer Sensor und Koordinateneingabegerät
DE69821074T2 (de) Composite ultrasound transducer
EP2657645A1 (de) Vorrichtung zum Detektieren einer Kante einer Materialbahn
DE10150505B4 (de) Beschleunigungssensor
DE112020002082T5 (de) Ultraschallsensor
EP3329473B1 (de) Einrichtung und verfahren zur untersuchung von wertdokumenten und / oder des transports von wertdokumenten mittels ultraschall
DE3215242A1 (de) Ultraschallkopf
EP4107543B1 (de) Wasserschallwandler
DE102008011285A1 (de) Aktiver Schallblocker
DE3709533C2 (de)
DE4208043A1 (de) Verfahren zur messung einer beschleunigung, beschleunigungssensor und verfahren zu dessen herstellung
DE102020132623A1 (de) Ultraschallsensoranordnung für ein kraftfahrzeug und kraftfahrzeug

Legal Events

Date Code Title Description
PUAI Public reference made under article 153(3) epc to a published international application that has entered the european phase

Free format text: ORIGINAL CODE: 0009012

AK Designated contracting states

Kind code of ref document: A2

Designated state(s): AT BE CH CY DE DK ES FI FR GB GR IE IT LI LU MC NL PT SE

Kind code of ref document: A2

Designated state(s): DE FR GB IT

AX Request for extension of the european patent

Free format text: AL;LT;LV;MK;RO;SI

RIN1 Information on inventor provided before grant (corrected)

Inventor name: SCHMIDTS, KLAUS

Inventor name: MAIER, RUDOLF

Inventor name: BEBESEL, MARIUS

PUAL Search report despatched

Free format text: ORIGINAL CODE: 0009013

AK Designated contracting states

Kind code of ref document: A3

Designated state(s): AT BE CH CY DE DK ES FI FR GB GR IE IT LI LU MC NL PT SE

AX Request for extension of the european patent

Free format text: AL;LT;LV;MK;RO;SI

17P Request for examination filed

Effective date: 20011116

RAP1 Party data changed (applicant data changed or rights of an application transferred)

Owner name: EADS DEUTSCHLAND GMBH

17Q First examination report despatched

Effective date: 20020417

AKX Designation fees paid

Free format text: DE FR GB IT

GRAP Despatch of communication of intention to grant a patent

Free format text: ORIGINAL CODE: EPIDOSNIGR1

RAP1 Party data changed (applicant data changed or rights of an application transferred)

Owner name: EADS DEUTSCHLAND GMBH

GRAS Grant fee paid

Free format text: ORIGINAL CODE: EPIDOSNIGR3

GRAA (expected) grant

Free format text: ORIGINAL CODE: 0009210

AK Designated contracting states

Kind code of ref document: B1

Designated state(s): DE FR GB IT

REG Reference to a national code

Ref country code: GB

Ref legal event code: FG4D

Free format text: NOT ENGLISH

REF Corresponds to:

Ref document number: 59908223

Country of ref document: DE

Date of ref document: 20040212

Kind code of ref document: P

GBT Gb: translation of ep patent filed (gb section 77(6)(a)/1977)

Effective date: 20040129

ET Fr: translation filed
PLBE No opposition filed within time limit

Free format text: ORIGINAL CODE: 0009261

STAA Information on the status of an ep patent application or granted ep patent

Free format text: STATUS: NO OPPOSITION FILED WITHIN TIME LIMIT

26N No opposition filed

Effective date: 20041008

REG Reference to a national code

Ref country code: FR

Ref legal event code: TP

Owner name: AIRBUS OPERATIONS GMBH, DE

Effective date: 20130417

PGFP Annual fee paid to national office [announced via postgrant information from national office to epo]

Ref country code: DE

Payment date: 20130522

Year of fee payment: 15

Ref country code: GB

Payment date: 20130521

Year of fee payment: 15

PGFP Annual fee paid to national office [announced via postgrant information from national office to epo]

Ref country code: IT

Payment date: 20130527

Year of fee payment: 15

Ref country code: FR

Payment date: 20130603

Year of fee payment: 15

REG Reference to a national code

Ref country code: DE

Ref legal event code: R119

Ref document number: 59908223

Country of ref document: DE

GBPC Gb: european patent ceased through non-payment of renewal fee

Effective date: 20140518

REG Reference to a national code

Ref country code: FR

Ref legal event code: ST

Effective date: 20150130

REG Reference to a national code

Ref country code: DE

Ref legal event code: R119

Ref document number: 59908223

Country of ref document: DE

Effective date: 20141202

PG25 Lapsed in a contracting state [announced via postgrant information from national office to epo]

Ref country code: IT

Free format text: LAPSE BECAUSE OF NON-PAYMENT OF DUE FEES

Effective date: 20140518

Ref country code: DE

Free format text: LAPSE BECAUSE OF NON-PAYMENT OF DUE FEES

Effective date: 20141202

PG25 Lapsed in a contracting state [announced via postgrant information from national office to epo]

Ref country code: FR

Free format text: LAPSE BECAUSE OF NON-PAYMENT OF DUE FEES

Effective date: 20140602

Ref country code: GB

Free format text: LAPSE BECAUSE OF NON-PAYMENT OF DUE FEES

Effective date: 20140518