EP0959453B1 - Aktives Geräuschunterdrückungssystem für lärmabstrahlende Flächen - Google Patents

Aktives Geräuschunterdrückungssystem für lärmabstrahlende Flächen Download PDF

Info

Publication number
EP0959453B1
EP0959453B1 EP99109724A EP99109724A EP0959453B1 EP 0959453 B1 EP0959453 B1 EP 0959453B1 EP 99109724 A EP99109724 A EP 99109724A EP 99109724 A EP99109724 A EP 99109724A EP 0959453 B1 EP0959453 B1 EP 0959453B1
Authority
EP
European Patent Office
Prior art keywords
noise
velocity sensors
signals
actuator
sensors
Prior art date
Legal status (The legal status is an assumption and is not a legal conclusion. Google has not performed a legal analysis and makes no representation as to the accuracy of the status listed.)
Expired - Lifetime
Application number
EP99109724A
Other languages
English (en)
French (fr)
Other versions
EP0959453A3 (de
EP0959453A2 (de
Inventor
Marius Bebesel
Rudolf Maier
Klaus Schmidts
Current Assignee (The listed assignees may be inaccurate. Google has not performed a legal analysis and makes no representation or warranty as to the accuracy of the list.)
Airbus Defence and Space GmbH
Original Assignee
EADS Deutschland GmbH
Priority date (The priority date is an assumption and is not a legal conclusion. Google has not performed a legal analysis and makes no representation as to the accuracy of the date listed.)
Filing date
Publication date
Application filed by EADS Deutschland GmbH filed Critical EADS Deutschland GmbH
Publication of EP0959453A2 publication Critical patent/EP0959453A2/de
Publication of EP0959453A3 publication Critical patent/EP0959453A3/de
Application granted granted Critical
Publication of EP0959453B1 publication Critical patent/EP0959453B1/de
Anticipated expiration legal-status Critical
Expired - Lifetime legal-status Critical Current

Links

Images

Classifications

    • GPHYSICS
    • G10MUSICAL INSTRUMENTS; ACOUSTICS
    • G10KSOUND-PRODUCING DEVICES; METHODS OR DEVICES FOR PROTECTING AGAINST, OR FOR DAMPING, NOISE OR OTHER ACOUSTIC WAVES IN GENERAL; ACOUSTICS NOT OTHERWISE PROVIDED FOR
    • G10K11/00Methods or devices for transmitting, conducting or directing sound in general; Methods or devices for protecting against, or for damping, noise or other acoustic waves in general
    • G10K11/16Methods or devices for protecting against, or for damping, noise or other acoustic waves in general
    • G10K11/175Methods or devices for protecting against, or for damping, noise or other acoustic waves in general using interference effects; Masking sound
    • G10K11/178Methods or devices for protecting against, or for damping, noise or other acoustic waves in general using interference effects; Masking sound by electro-acoustically regenerating the original acoustic waves in anti-phase
    • G10K11/1785Methods, e.g. algorithms; Devices
    • G10K11/17857Geometric disposition, e.g. placement of microphones
    • GPHYSICS
    • G10MUSICAL INSTRUMENTS; ACOUSTICS
    • G10KSOUND-PRODUCING DEVICES; METHODS OR DEVICES FOR PROTECTING AGAINST, OR FOR DAMPING, NOISE OR OTHER ACOUSTIC WAVES IN GENERAL; ACOUSTICS NOT OTHERWISE PROVIDED FOR
    • G10K11/00Methods or devices for transmitting, conducting or directing sound in general; Methods or devices for protecting against, or for damping, noise or other acoustic waves in general
    • G10K11/16Methods or devices for protecting against, or for damping, noise or other acoustic waves in general
    • G10K11/175Methods or devices for protecting against, or for damping, noise or other acoustic waves in general using interference effects; Masking sound
    • G10K11/178Methods or devices for protecting against, or for damping, noise or other acoustic waves in general using interference effects; Masking sound by electro-acoustically regenerating the original acoustic waves in anti-phase
    • G10K11/1785Methods, e.g. algorithms; Devices
    • GPHYSICS
    • G10MUSICAL INSTRUMENTS; ACOUSTICS
    • G10KSOUND-PRODUCING DEVICES; METHODS OR DEVICES FOR PROTECTING AGAINST, OR FOR DAMPING, NOISE OR OTHER ACOUSTIC WAVES IN GENERAL; ACOUSTICS NOT OTHERWISE PROVIDED FOR
    • G10K11/00Methods or devices for transmitting, conducting or directing sound in general; Methods or devices for protecting against, or for damping, noise or other acoustic waves in general
    • G10K11/16Methods or devices for protecting against, or for damping, noise or other acoustic waves in general
    • G10K11/175Methods or devices for protecting against, or for damping, noise or other acoustic waves in general using interference effects; Masking sound
    • G10K11/178Methods or devices for protecting against, or for damping, noise or other acoustic waves in general using interference effects; Masking sound by electro-acoustically regenerating the original acoustic waves in anti-phase
    • G10K11/1787General system configurations
    • G10K11/17879General system configurations using both a reference signal and an error signal
    • GPHYSICS
    • G10MUSICAL INSTRUMENTS; ACOUSTICS
    • G10KSOUND-PRODUCING DEVICES; METHODS OR DEVICES FOR PROTECTING AGAINST, OR FOR DAMPING, NOISE OR OTHER ACOUSTIC WAVES IN GENERAL; ACOUSTICS NOT OTHERWISE PROVIDED FOR
    • G10K2210/00Details of active noise control [ANC] covered by G10K11/178 but not provided for in any of its subgroups
    • G10K2210/10Applications
    • G10K2210/128Vehicles
    • GPHYSICS
    • G10MUSICAL INSTRUMENTS; ACOUSTICS
    • G10KSOUND-PRODUCING DEVICES; METHODS OR DEVICES FOR PROTECTING AGAINST, OR FOR DAMPING, NOISE OR OTHER ACOUSTIC WAVES IN GENERAL; ACOUSTICS NOT OTHERWISE PROVIDED FOR
    • G10K2210/00Details of active noise control [ANC] covered by G10K11/178 but not provided for in any of its subgroups
    • G10K2210/10Applications
    • G10K2210/129Vibration, e.g. instead of, or in addition to, acoustic noise
    • G10K2210/1291Anti-Vibration-Control, e.g. reducing vibrations in panels or beams
    • GPHYSICS
    • G10MUSICAL INSTRUMENTS; ACOUSTICS
    • G10KSOUND-PRODUCING DEVICES; METHODS OR DEVICES FOR PROTECTING AGAINST, OR FOR DAMPING, NOISE OR OTHER ACOUSTIC WAVES IN GENERAL; ACOUSTICS NOT OTHERWISE PROVIDED FOR
    • G10K2210/00Details of active noise control [ANC] covered by G10K11/178 but not provided for in any of its subgroups
    • G10K2210/30Means
    • G10K2210/321Physical
    • G10K2210/3229Transducers
    • G10K2210/32291Plates or thin films, e.g. PVDF

Definitions

  • the invention relates to a device for active noise cancellation Noise-radiating surface according to the preamble of patent claim 1.
  • U.S. Patent No. 5,415,522 shows active noise control with sound sources to generate a secondary field.
  • a noise-radiating element held by clips over an inner wall section.
  • the object of the present invention is therefore a device for active noise suppression to create, by means of which vibration modes with at least an odd-numbered component can be detected and suppressed.
  • a plate 1 for example can be a structural or body part and which is caused by a source of interference 2, e.g. an internal combustion engine that is excited to vibrate, two piezoelectric Slides 3 and 4 applied one above the other.
  • the piezoelectric foils 3 and 4 consist for example of stretched PVDF, which due to their manufacturing process have unidirectional piezoelectric properties.
  • the two Slides 3 and 4 are arranged one above the other so that their are represented by arrows preferred piezoelectric directions in the plate plane perpendicular to each other are oriented.
  • the film 3 is thus for Deflections of the plate surface in the x direction are sensitive and the film 4 for Deflections in the y direction.
  • the voltage signals generated by the foils 3 and 4 are a controller 5 supplied, which processes the signals according to known methods and an actuator 6 controls.
  • the actuator 6 can either point or area on the Plate 1 act in such a way that vibration-related deflections of the Plate is counteracted. For a so-called "feed forward" regulation the vibration signals from the interference source 2 are also detected and fed to the controller become.
  • the speed of a plate 31 is detected point by point by means of individual sensors 32, which are distributed in a matrix over the surface of the plate 31.
  • acceleration sensors which are glued to the surface of the plate 31 and which are electrically connected to one another in rows and columns are suitable.
  • the sensors in the upper line then deliver, for example, a first sum signal S 1x , those in the second line the signal S 2x and so on;
  • the sensors in the left column supply the sum signal S 1y , those in the next column the sum signal S 2y etc.
  • each attachment element consists of a hard one Shell 42.1, which is provided with side walls 42.2, which in turn on the Rest plate 41 and, together with the shell 42.1, a cavity 43 form.
  • the shell 42.1 is in accordance with the exemplary embodiments 1, 2 or 3 are equipped with axis-selective fast sensors 44 and 45, whose signals are fed to a controller 46. This controls an actuator 47, which acts centrally on the shell 42.1.
  • Such attachment elements are particularly suitable for noise suppression of complex sound-emitting structures in which the vibration and radiation behavior can be determined only with difficulty.
  • the vibrations and attachment elements the radiated sound of the actually vibrating structure (plate 41) in turn stimulated.
  • the active system integrated in the front elements reduces their noise radiation and thus the sound radiation of the structure self.

Landscapes

  • Physics & Mathematics (AREA)
  • Engineering & Computer Science (AREA)
  • Acoustics & Sound (AREA)
  • Multimedia (AREA)
  • Soundproofing, Sound Blocking, And Sound Damping (AREA)
  • Measurement Of Mechanical Vibrations Or Ultrasonic Waves (AREA)
  • Exhaust Silencers (AREA)

Description

Die Erfindung betrifft eine Vorrichtung zur aktiven Geräuschunterdrückung einer lärmabstrahlenden Fläche gemäß dem Oberbegriff von Patentanspruch 1.
In dem Dokument Charette et al, 'Active Control of Sound Radiation from a Plate Using a Polyvinylidene Fluoride Volume Displacement Sensor', JOURNAL OF THE ACCOUSTICAL SOCIETY OF AMERICA, AMERICAN INSTITUTE OF PHYSICS, New York, US, Bd. 103, Nr. 3, 1. März 1998 (1998-03-01), Seiten 1493 - 1503, XP000774830, ISSN: 0001-4966, wird eine Vorrichtung zur aktiven Geräuschunterdrückung beschrieben, bei der mehrere Sensoren in Form von PVDF-Folienstreifen auf einer lärmabstrahlenden Fläche angeordnet sind. Dabei sind die Folienstreifen senkrecht zueinander ausgerichtet, um Schwingungen über die Fläche achsenselektiv zu erfassen. Die Sensoren sind an einen piezoelektrischen Aktuatur gekoppelt, der von den Sensoren angesteuert wird.
In dem Dokument Varadan V V et al, 'Active Control of Sound Radiation from a Vibrating Structure', PROCEEDINGS OF THE ULTRASONICS SYMPOSIUM; LAKE BUENA VISTA, Dec. 8 - 11, 1991, New York, IEEE, US, Bd. 2, 8. Dezember 1991 (1991-12-08), Seiten 991 - 994, XP000393517, wird eine Vorrichtung zur aktiven Steuerung der Geräuschabstrahlung einer Struktur beschrieben, bei der mehrere piezoelektrische Sensoren und Aktuatoren auf einer Platte angeordnet sind. Im Betrieb werden die Signale von zwei nebeneinander liegenden Sensoren addiert.
Das US-Patent Nr. 5,415,522 zeigt eine aktive Geräuschsteuerung mit Schallquellen zur Erzeugung eines Sekundärfeldes. Ein lärmabstrahlendes Element wird durch Klammern über einen inneren Wandabschnitt gehalten.
Ein weiteres System zur Reduktion der Schallabstrahlung einer ebenen Fläche wird beispielsweise von M.E. Johnson und S.J. Elliott in Journal of Acoustic Society of America, 98 (4), Oct. 1995 unter dem Titel "Active Control of Sound Radiation Using Volume Velocity Cancellation" beschrieben.Hierbei kommt ein Schnellesensor zur Anwendung, der sich ebenso wie der Aktuator über die gesamte Fläche erstreckt und nur ungeradzählige Schwingungsmoden, insbesondere die Grundmode (1,1) erfasst und diesen Schwingungen mittels des Aktuators entgegenwirkt. Schwingt die lärmabstrahlende Fläche mit höheren Schwingungsmoden, bei denen auch nur eine Komponente geradzahlig ist, also z.B. (1,2)-, (2,3)-, usw.-Moden, so liefert ein derartiger flächenintegrierender Sensor kein Ausgangssignal mehr, da die Integration über alle Schwingungsberge und ―täler das Summensignal 0 ergibt. Es hat sich jedoch gezeigt, dass sich bei steigender Anregungsfrequenz einer schwingenden Platte auch der Abstrahlungsgrad von solchen Schwingungsmoden erhöht, welche zumindest eine ungeradzahlige Komponente aufweisen, z.B. (1,2)-, (1,3)-, (2,3)-, (3,3)-,... usw. -Moden.
Es ist daher Aufgabe der vorliegenden Erfindung eine Vorrichtung zur aktiven Geräuschunterdrückung zu schaffen, mittels welcher Schwingungsmoden mit zumindest einer ungeradzahligen Komponente erfasst und unterdrückt werden können.
Diese Aufgabe wird durch die Vorrichtung zur aktiven Geräuschunterdrückung mit den Merkmalen des Patentanspruchs 1 gelöst.
Die Erfindung verwendet zum Beispiel achsenselektiv integrierende Schnellesensoren, welche im einfachsten Fall aus streifenförmigen Piezofolien hergestellt sind. Sobald längs einer Achse einer mit einem derartigen Sensor belegten Fläche eine Schwingungsmode mit einer ungeradzahligen Komponente auftrifft, ist das Summensignal an diesem Sensor nicht mehr 0, so dass ein entsprechend angesteuerter Aktuator dieser Schwingungsmode entgegenwirken kann.
Die Erfindung wird im Folgenden anhand der Figuren näher beschrieben. Es zeigen:
Fig. 1
ein aktives System zur Geräuschunterdrückung mit zwei achsenselektiven Schnellesensoren;
Fig. 2
streifenförmige, achsenselektive Schnellesensoren auf einer Struktur;
Fig. 3
matrixförmig angeordnete Schnellesensoren auf einer Struktur gemäß einer bevorzugten Ausführungsform der Erfindung; und
Fig. 4a und 4b
aktive Vorsatzelemente zur Geräuschunterdrückung.
Bei der in Fig. 1 dargestellten Vorrichtung sind auf einer Platte 1, die beispielsweise ein Struktur- oder Karosserieteil sein kann und die durch eine Störquelle 2, z.B. ein Verbrennungsmotor, zu Schwingungen angeregt wird, zwei piezoelektrische Folien 3 und 4 übereinander aufgebracht. Die piezoelektrischen Folien 3 und 4 bestehen beispielsweise aus gerecktem PVDF, welche aufgrund ihres Herstellungsprozesses unidirektionale piezoelektrische Eigenschaften haben. Die beiden Folien 3 und 4 sind so übereinander angeordnet, dass ihre durch Pfeile dargestellten piezoelektrischen Vorzugsrichtungen in der Plattenebene senkrecht zueinander orientiert sind. In dem gezeigten Ausführungsbeispiel ist somit die Folie 3 für Auslenkungen der Plattenoberfläche in x-Richtung empfindlich und die Folie 4 für Auslenkungen in y-Richtung.
Die durch die Folien 3 und 4 erzeugten Spannungssignale werden einem Regler 5 zugeführt, der die Signale nach bekannten Verfahren verarbeitet und einen Aktuator 6 ansteuert. Der Aktuator 6 kann entweder punkt- oder flächenförmig auf die Platte 1 einwirken und zwar derart, dass schwingungsbedingten Auslenkungen der Platte entgegengewirkt wird. Für eine sogenannte "Feed Forward"-Regelung können auch die Schwingungssignale der Störquelle 2 erfasst und dem Regler zugeführt werden.
Aufgrund der achsenselektiven integrierenden Wirkung der beiden Folien 3 und 4 wird nicht nur die Grundmode der schwingenden Platte erfasst sondern auch solche Moden, die entweder in der x- oder y-Richtung eine ungerade Modenzahl aufweisen. Nur bei geraden Modenzahlen ist in der jeweiligen Richtung das Summensignal auf der dieser Richtung zugeordneten Folie 0.
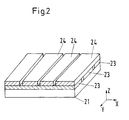
Anstelle von großflächigen, gereckten PVDF-Folien können die achsenselektiv integrierenden Schnellesensoren auch aus streifenförmigen Folien gemäß Fig. 2 hergestellt sein. Dies hat den Vorteil, daß auch stark gekrümmte Flächen problemlos belegt werden können. Hierzu sind auf einer Platte 21 zwei Schichten von piezoelektrischen Folienstreifen kreuzweise übereinander aufgeklebt, wobei die Folienstreifen 23 der ersten Schicht die Schnelle in x-Richtung erfassen und integrieren und die darüberliegenden Streifen 24 der zweiten Schicht der y-Richtung zugeordnet sind. Die Streifen 23 bzw. 24 jeweils einer Schicht sind untereinander elektrisch verbunden, so daß an den jeweiligen Ausgangsleitungen das Summensignal aller piezoelektrischer Streifen einer Schicht anliegt.
Bei dem im Fig. 3 dargestellten Ausführungsbeispiel wird die Schnelle einer Platte 31 punktförmig mittels einzelner Sensoren 32 erfaßt, welche matrixförmig über die Oberfläche der Platte 31 verteilt sind. Hierzu eignen sich auf der Oberfläche der Platte 31 aufgeklebte Beschleunigungssensoren, welche zeilen- und spaltenweise untereinander elektrisch verbunden sind. Die Sensoren der oberen Zeile liefern dann beispielsweise ein erstes Summensignal S1x, die der zweiten Zeile das Signal S2x usw; entsprechend liefern die Sensoren der linken Spalte das Summensignal S1y, die der nächsten Spalte das Summensignal S2y usw. Da sich lokale Schnellewerte mit unterschiedlichen Vorzeichen im Summensignal gegenseitig aufheben bzw. nur als Differenzwert in Erscheinung treten, liefert das über alle Zeilen bzw. Spalten zusammengefaßte Summensignal Sx bzw Sy jeweils eine Aussage darüber, ob auf der Platte Schwingungsmoden aufgetreten sind, die insgesamt eine lärmabstrahlende Wirkung haben. Der Zeilen- bzw. Spaltenabstand des aus den Beschleunigungssensoren 32 aufgebauten Meßgitters muß an die Struktur und an den Frequenzbereich angepaßt werden, in dem Schallreduktion erwünscht ist. Um möglichst hohe Modenordnungen aufzulösen, sollte der Abstand d kleiner als ein Viertel der Strukturwellenlänge λ der höchsten Mode betragen. Anstelle von Beschleunigungssensoren können auch entsprechend kleindimensionierte Dehnmeßstreifen, Piezokeramiken oder Piezofolien verwendet werden.
Das in den Figuren 4 a und b gezeigte Ausführungsbeispiel besteht aus einzelnen Vorsatzelementen 42, die auf einer Platte 41 möglichst flächendeckend angeordnet sind. Jedes Vorsatzelement besteht gemäß Fig. 4b aus einer harten Schale 42.1, welche mit Seitenwänden 42.2 versehen ist, die ihrerseits auf der Platte 41 aufliegen und zusammen mit der Schale 42.1 einen Hohlraum 43 bilden. Die Schale 42.1 ist entsprechend den Ausführungsbeispielen gemäß Figuren 1, 2 oder 3 mit achsenselektiven Schnellesensoren 44 bzw. 45 belegt, deren Signale einer Regelung 46 zugeführt werden. Diese steuert einen Aktuator 47, der zentral auf die Schale 42.1 einwirkt.
Derartige Vorsatzelemente eignen sich zur Geräuschunterdrückung insbesondere von komplex schallabstrahlenden Strukturen, bei denen das Schwingungs- und Abstrahlverhalten nur schwer bestimmt werden kann. In diesen Fällen werden die gezeigten Vorsatzelemente durch die Schwingungen und den abgestrahlten Schall der eigentlich schwingenden Struktur (Platte 41) ihrerseits angeregt. Das in den Vorsatzelementen integrierte aktive System reduziert deren Lärmabstrahlung und somit die Schallabstrahlung der Struktur selbst.

Claims (4)

  1. Vorrichtung zur aktiven Geräuschunterdrückung einer lärmabstrahlenden Fläche (31; 41), mit
    mehreren Schnellesensoren (32), die in Form einer Matrix auf der Fläche (31; 41) angeordnet sind, um Schwingungen der Fläche in zwei orthogonalen Richtungen (x, y) zu erfassen, und mindestens einem, durch Signale der Schnellesensoren ansteuerbaren Aktuator (6, 47) zur Einwirkung auf die Fläche (31; 41),
    wobei die Matrix mindestens zwei Zeilen und mindestens zwei Spalten von Schnellesensoren (32) umfasst, dadurch gekennzeichnet, dass die Schnellesensoren (32) derart elektrisch geschaltet sind, dass aus den Signalen (S1x, S2x, S3x, S4x) aller Zeilen der Matrix ein zusammengefasstes Summensignal (Sx) für die erste Richtung (x) gebildet wird, und aus den Signalen (S1y, S2y, S3y, S4y) aller Spalten der Matrix ein zusammengefasstes Summensignal (Sy) für die zweite Richtung (y) gebildet wird, wobei die jeweils über alle Zeilen und Spalten zusammengefassten Summensignale (Sx, Sy) den Aktuator (6; 47) ansteuern.
  2. Vorrichtung nach Anspruch 1, dadurch gekennzeichnet, dass die Schnellesensoren (32) durch mehrere punktförmige Beschleunigungs- oder Deformationsaufnehmer gebildet werden.
  3. Vorrichtung nach Anspruch 1 oder 2, dadurch gekennzeichnet, dass die Schnellesensoren (44, 45) und der Aktuator (47) auf einer harten Schale (42.1) angeordnet sind, welche über Seitenwände (42.2) unter Bildung eines Hohlraumes (43) mit der lärmabstrahlenden Fläche (41) verbindbar sind.
  4. Vorrichtung nach Anspruch 3, dadurch gekennzeichnet, dass mehrere nebeneinander angeordnete Schalen (42.1) ein flächendeckendes Muster bilden.
EP99109724A 1998-05-20 1999-05-18 Aktives Geräuschunterdrückungssystem für lärmabstrahlende Flächen Expired - Lifetime EP0959453B1 (de)

Applications Claiming Priority (2)

Application Number Priority Date Filing Date Title
DE19822582 1998-05-20
DE19822582A DE19822582B4 (de) 1998-05-20 1998-05-20 Aktive Geräuschunterdrückung für lärmabstrahlende Flächen

Publications (3)

Publication Number Publication Date
EP0959453A2 EP0959453A2 (de) 1999-11-24
EP0959453A3 EP0959453A3 (de) 2001-11-21
EP0959453B1 true EP0959453B1 (de) 2004-01-07

Family

ID=7868372

Family Applications (1)

Application Number Title Priority Date Filing Date
EP99109724A Expired - Lifetime EP0959453B1 (de) 1998-05-20 1999-05-18 Aktives Geräuschunterdrückungssystem für lärmabstrahlende Flächen

Country Status (3)

Country Link
US (1) US6178246B1 (de)
EP (1) EP0959453B1 (de)
DE (2) DE19822582B4 (de)

Families Citing this family (24)

* Cited by examiner, † Cited by third party
Publication number Priority date Publication date Assignee Title
DE10117704C2 (de) * 2001-04-09 2002-08-01 Hoergeraete Kind Gmbh U Co Kg Kapselgehörschützer mit aktiver Schalldruckkompensation
US20030047395A1 (en) * 2001-09-11 2003-03-13 Patton Mark E. Control system for vibration employing piezoelectric strain actuators
US6609985B2 (en) 2001-11-07 2003-08-26 Borgwarner Inc. Tensioner with vibrational damping
SE524284C2 (sv) * 2002-04-18 2004-07-20 A2 Acoustics Ab Anordning för att driva ett membran inrättat i en öppning till ett utrymme samt fordon innefattande en anordning för att driva ett membran inrättat i en öppning hos fordonet
US7330583B2 (en) * 2002-08-19 2008-02-12 Photon Dynamics, Inc. Integrated visual imaging and electronic sensing inspection systems
NL1022647C2 (nl) * 2003-02-11 2004-08-12 Tno Inrichting voor het actief reduceren van geluidstransmissie, alsmede een paneel omvattende een dergelijke inrichting.
DE102004019592A1 (de) * 2004-04-22 2005-09-01 Siemens Ag Schalldämmungsvorrichtung
US8059827B2 (en) * 2006-10-16 2011-11-15 Bsh Home Appliances Corporation Noise reduction apparatus
US8054984B2 (en) * 2006-10-16 2011-11-08 Bsh Home Appliances Corporation Sound altering apparatus
CA2606442A1 (en) * 2006-10-16 2008-04-16 Bsh Home Appliances Corporation Sound altering apparatus
JP5227263B2 (ja) * 2008-06-03 2013-07-03 パナソニック株式会社 能動騒音低減装置及びシステム
FR2960587B1 (fr) 2010-05-31 2017-12-01 Somfy Sas Dispositif de rigidification et caisson de store equipe d'un tel dispositif
DE102010043108A1 (de) * 2010-10-29 2012-05-03 Robert Bosch Gmbh Piezoelektrischer Teilflächen-Schallwandler
JP2015521062A (ja) 2012-05-11 2015-07-27 スリーエム イノベイティブ プロパティズ カンパニー 雑音振動制御機能を有する生体音響センサ
AU2013318975B2 (en) * 2012-09-24 2017-02-02 Sekisui Chemical Co., Ltd. Leakage detector, leakage detection method, and pipe network monitoring apparatus
DE102013007481B4 (de) 2013-04-29 2014-12-04 DELUXE MCB UG (haftungsbeschränkt) Vorrichtung zur Schallreduzierung in Gasträumen
US9200943B2 (en) 2013-07-17 2015-12-01 GM Global Technology Operations LLC Acoustic sensing system for a motor vehicle
WO2018089345A1 (en) 2016-11-08 2018-05-17 Andersen Corporation Active noise cancellation systems and methods
JP7378426B2 (ja) 2018-05-04 2023-11-13 アンダーセン・コーポレーション ノイズ減衰のためのマルチバンド周波数ターゲティング
KR102530589B1 (ko) * 2018-09-20 2023-05-08 엘지디스플레이 주식회사 디스플레이 장치 및 이를 이용한 컴퓨팅 장치
DE102018219644A1 (de) * 2018-11-16 2020-05-20 Zf Friedrichshafen Ag Aktive Reduktion von Schallemissionen an einem Kraftfahrzeug
CN112987508B (zh) * 2021-03-04 2022-09-30 长鑫存储技术有限公司 振动衰减结构及曝光装置
DE102021206170A1 (de) 2021-06-16 2022-12-22 Volkswagen Aktiengesellschaft Gehäusekomponente eines Leistungselektronikgehäuses mit Schwingungsaktor
DE102021126180A1 (de) 2021-10-08 2023-04-13 BH Holding GmbH Verfahren zur aktiven Geräuschunterdrückung in Innenräumen

Family Cites Families (8)

* Cited by examiner, † Cited by third party
Publication number Priority date Publication date Assignee Title
DE3236098A1 (de) * 1982-09-29 1984-03-29 Siemens AG, 1000 Berlin und 8000 München Druckwandleranordnung, insbesondere fuer industrieroboter
US5115472A (en) * 1988-10-07 1992-05-19 Park Kyung T Electroacoustic novelties
DE3834853C2 (de) * 1988-10-13 1999-12-02 Bayerische Motoren Werke Ag Anordnung zur Verminderung des Geräuschpegels im Innenraum eines Kraftfahrzeugs
JP3320842B2 (ja) * 1992-07-06 2002-09-03 マツダ株式会社 車両の振動低減装置
US5410607A (en) * 1993-09-24 1995-04-25 Sri International Method and apparatus for reducing noise radiated from a complex vibrating surface
US5415522A (en) * 1993-11-01 1995-05-16 General Electric Company Active noise control using noise source having adaptive resonant frequency tuning through stress variation
US5812684A (en) * 1995-07-05 1998-09-22 Ford Global Technologies, Inc. Passenger compartment noise attenuation apparatus for use in a motor vehicle
US6031917A (en) * 1997-06-06 2000-02-29 Mcdonnell Douglas Corporation Active noise control using blocked mode approach

Also Published As

Publication number Publication date
DE19822582B4 (de) 2004-02-12
EP0959453A3 (de) 2001-11-21
DE59908223D1 (de) 2004-02-12
DE19822582A1 (de) 1999-11-25
EP0959453A2 (de) 1999-11-24
US6178246B1 (en) 2001-01-23

Similar Documents

Publication Publication Date Title
EP0959453B1 (de) Aktives Geräuschunterdrückungssystem für lärmabstrahlende Flächen
DE3344910C2 (de) Anordnung zum aktiven Dämpfen von Schallwellen
EP0025092B1 (de) Ultraschallwandleranordnung und Verfahren zu ihrer Herstellung
EP0648607B1 (de) Tintenstrahldruckkopfmodul für einen Face-Shooter-Tintenstrahldruckkopf und Verfahren zu seiner Herstellung
DE69607666T2 (de) Laminiertes piezoelektrisches Element und Vibrationswellenantrieb
DE19735155B4 (de) Beschleunigungssensor
DE60107598T2 (de) Smart-skin strukturen
DE3939822C2 (de) Aktives schwingungsdämpfendes System für ein Kraftfahrzeug
DE68907189T2 (de) Verfahren zum Testen von Bauteilen eines impulsgesteuerten Tröpfchenaufzeichnungsgerätes.
EP1059620B1 (de) Piezo-Effekt-basiertes Sicherheitsmerkmal an Wert- und Sicherheitsdokumenten und dazugehöriges Nachweisverfahren
DE102008040911A1 (de) Verfahren zum Senden einer Ultraschallwelle und Vorrichtung zum Senden einer Ultraschallwelle
DE69712471T2 (de) Akustisches element und verfahren zur tonverarbeitung
DE3443869A1 (de) Wandleranordnung fuer hydrophone
DE19523984C2 (de) Piezoelektrisches Element und Verfahren zum Herstellen desselben
EP2657645B1 (de) Vorrichtung zum Detektieren einer Kante einer Materialbahn
DE10139160A1 (de) Sensorarray und Sende-Empfangs-Gerät
DE102014225010A1 (de) Mikrofon und Verfahren zur Herstellung desselben
DE10322979A1 (de) Beschleunigungssensor
DE19512417C2 (de) Piezoelektrischer Ultraschallwandler
EP1086606B1 (de) Plattenlautsprecher
DE102004051638A1 (de) Verfahren zum Betreiben eines Sensors in einem Sicherheitssystem
EP3329473B1 (de) Einrichtung und verfahren zur untersuchung von wertdokumenten und / oder des transports von wertdokumenten mittels ultraschall
EP1145772B1 (de) Ultraschallwandler und Verfahren zur Herstellung eines Ultraschallwandlers
DE102013222076A1 (de) Schallwandler und Herstellungsverfahren für einen Schallwandler
DE102008011285A1 (de) Aktiver Schallblocker

Legal Events

Date Code Title Description
PUAI Public reference made under article 153(3) epc to a published international application that has entered the european phase

Free format text: ORIGINAL CODE: 0009012

AK Designated contracting states

Kind code of ref document: A2

Designated state(s): AT BE CH CY DE DK ES FI FR GB GR IE IT LI LU MC NL PT SE

Kind code of ref document: A2

Designated state(s): DE FR GB IT

AX Request for extension of the european patent

Free format text: AL;LT;LV;MK;RO;SI

RIN1 Information on inventor provided before grant (corrected)

Inventor name: SCHMIDTS, KLAUS

Inventor name: MAIER, RUDOLF

Inventor name: BEBESEL, MARIUS

PUAL Search report despatched

Free format text: ORIGINAL CODE: 0009013

AK Designated contracting states

Kind code of ref document: A3

Designated state(s): AT BE CH CY DE DK ES FI FR GB GR IE IT LI LU MC NL PT SE

AX Request for extension of the european patent

Free format text: AL;LT;LV;MK;RO;SI

17P Request for examination filed

Effective date: 20011116

RAP1 Party data changed (applicant data changed or rights of an application transferred)

Owner name: EADS DEUTSCHLAND GMBH

17Q First examination report despatched

Effective date: 20020417

AKX Designation fees paid

Free format text: DE FR GB IT

GRAP Despatch of communication of intention to grant a patent

Free format text: ORIGINAL CODE: EPIDOSNIGR1

RAP1 Party data changed (applicant data changed or rights of an application transferred)

Owner name: EADS DEUTSCHLAND GMBH

GRAS Grant fee paid

Free format text: ORIGINAL CODE: EPIDOSNIGR3

GRAA (expected) grant

Free format text: ORIGINAL CODE: 0009210

AK Designated contracting states

Kind code of ref document: B1

Designated state(s): DE FR GB IT

REG Reference to a national code

Ref country code: GB

Ref legal event code: FG4D

Free format text: NOT ENGLISH

REF Corresponds to:

Ref document number: 59908223

Country of ref document: DE

Date of ref document: 20040212

Kind code of ref document: P

GBT Gb: translation of ep patent filed (gb section 77(6)(a)/1977)

Effective date: 20040129

ET Fr: translation filed
PLBE No opposition filed within time limit

Free format text: ORIGINAL CODE: 0009261

STAA Information on the status of an ep patent application or granted ep patent

Free format text: STATUS: NO OPPOSITION FILED WITHIN TIME LIMIT

26N No opposition filed

Effective date: 20041008

REG Reference to a national code

Ref country code: FR

Ref legal event code: TP

Owner name: AIRBUS OPERATIONS GMBH, DE

Effective date: 20130417

PGFP Annual fee paid to national office [announced via postgrant information from national office to epo]

Ref country code: DE

Payment date: 20130522

Year of fee payment: 15

Ref country code: GB

Payment date: 20130521

Year of fee payment: 15

PGFP Annual fee paid to national office [announced via postgrant information from national office to epo]

Ref country code: IT

Payment date: 20130527

Year of fee payment: 15

Ref country code: FR

Payment date: 20130603

Year of fee payment: 15

REG Reference to a national code

Ref country code: DE

Ref legal event code: R119

Ref document number: 59908223

Country of ref document: DE

GBPC Gb: european patent ceased through non-payment of renewal fee

Effective date: 20140518

REG Reference to a national code

Ref country code: FR

Ref legal event code: ST

Effective date: 20150130

REG Reference to a national code

Ref country code: DE

Ref legal event code: R119

Ref document number: 59908223

Country of ref document: DE

Effective date: 20141202

PG25 Lapsed in a contracting state [announced via postgrant information from national office to epo]

Ref country code: IT

Free format text: LAPSE BECAUSE OF NON-PAYMENT OF DUE FEES

Effective date: 20140518

Ref country code: DE

Free format text: LAPSE BECAUSE OF NON-PAYMENT OF DUE FEES

Effective date: 20141202

PG25 Lapsed in a contracting state [announced via postgrant information from national office to epo]

Ref country code: FR

Free format text: LAPSE BECAUSE OF NON-PAYMENT OF DUE FEES

Effective date: 20140602

Ref country code: GB

Free format text: LAPSE BECAUSE OF NON-PAYMENT OF DUE FEES

Effective date: 20140518