EP0930093A2 - Vorrichtung zum Rühren eines Rührgutes sowie Anwendung der Rührvorrichtung - Google Patents

Vorrichtung zum Rühren eines Rührgutes sowie Anwendung der Rührvorrichtung Download PDF

Info

Publication number
EP0930093A2
EP0930093A2 EP99810014A EP99810014A EP0930093A2 EP 0930093 A2 EP0930093 A2 EP 0930093A2 EP 99810014 A EP99810014 A EP 99810014A EP 99810014 A EP99810014 A EP 99810014A EP 0930093 A2 EP0930093 A2 EP 0930093A2
Authority
EP
European Patent Office
Prior art keywords
container
sword
stirring device
stirring
wall
Prior art date
Legal status (The legal status is an assumption and is not a legal conclusion. Google has not performed a legal analysis and makes no representation as to the accuracy of the status listed.)
Withdrawn
Application number
EP99810014A
Other languages
English (en)
French (fr)
Other versions
EP0930093A3 (de
Inventor
Ernst Cathrein
Current Assignee (The listed assignees may be inaccurate. Google has not performed a legal analysis and makes no representation or warranty as to the accuracy of the list.)
Guedu SA
Original Assignee
Guedu SA
Priority date (The priority date is an assumption and is not a legal conclusion. Google has not performed a legal analysis and makes no representation as to the accuracy of the date listed.)
Filing date
Publication date
Application filed by Guedu SA filed Critical Guedu SA
Publication of EP0930093A2 publication Critical patent/EP0930093A2/de
Publication of EP0930093A3 publication Critical patent/EP0930093A3/de
Withdrawn legal-status Critical Current

Links

Images

Classifications

    • BPERFORMING OPERATIONS; TRANSPORTING
    • B01PHYSICAL OR CHEMICAL PROCESSES OR APPARATUS IN GENERAL
    • B01FMIXING, e.g. DISSOLVING, EMULSIFYING OR DISPERSING
    • B01F27/00Mixers with rotary stirring devices in fixed receptacles; Kneaders
    • B01F27/05Stirrers
    • B01F27/11Stirrers characterised by the configuration of the stirrers
    • B01F27/112Stirrers characterised by the configuration of the stirrers with arms, paddles, vanes or blades
    • B01F27/1125Stirrers characterised by the configuration of the stirrers with arms, paddles, vanes or blades with vanes or blades extending parallel or oblique to the stirrer axis
    • BPERFORMING OPERATIONS; TRANSPORTING
    • B01PHYSICAL OR CHEMICAL PROCESSES OR APPARATUS IN GENERAL
    • B01FMIXING, e.g. DISSOLVING, EMULSIFYING OR DISPERSING
    • B01F27/00Mixers with rotary stirring devices in fixed receptacles; Kneaders
    • B01F27/80Mixers with rotary stirring devices in fixed receptacles; Kneaders with stirrers rotating about a substantially vertical axis
    • B01F27/82Pan-type mixers, i.e. mixers in which the stirring elements move along the bottom of a pan-shaped receptacle
    • BPERFORMING OPERATIONS; TRANSPORTING
    • B01PHYSICAL OR CHEMICAL PROCESSES OR APPARATUS IN GENERAL
    • B01FMIXING, e.g. DISSOLVING, EMULSIFYING OR DISPERSING
    • B01F27/00Mixers with rotary stirring devices in fixed receptacles; Kneaders
    • B01F27/80Mixers with rotary stirring devices in fixed receptacles; Kneaders with stirrers rotating about a substantially vertical axis
    • B01F27/90Mixers with rotary stirring devices in fixed receptacles; Kneaders with stirrers rotating about a substantially vertical axis with paddles or arms 

Definitions

  • the present invention relates to the field of process engineering.
  • she relates to a device for stirring a material to be stirred, comprising a container to hold the mix and one in the container around a vertical axis rotatably arranged stirring tool, which the material to be stirred during the stirring process transported up the inside wall of the container.
  • a stirring device is e.g. as a screw cone mixer or dryer from the prior art Technology known and is from the company Hosokawa Micron B.V., Doetinchem, Holland, available on the market under the brand name Vrieco-Nauta.
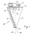
  • the known screw cone mixer 10 shown in FIG. 1, however, has several Disadvantages resulting from its constructive structure:
  • Drive of the swivel arm 17 is a through the lid 14 of the container 11
  • Shaft 18 guided via a gear unit arranged above the cover 14 19 is driven by a drive motor 20.
  • the shaft 18 is as Hollow shaft executed.
  • the swivel arm 17 is hollow. Inside the Shaft 18 and the swivel arm 17 is the drive train for the mixing screw 15 housed for driving a separate drive motor 21 on the gear unit 19 is flanged.
  • the necessary redirection in the drive train from the shaft 18 to the swivel arm 17 and from the swivel arm 17 to the mixing screw 15 (in the reversing gear 16) is usually done via gears, the one Lubricate with oil or grease. Because the mix in most cases (e.g. in the pharmaceutical or food sector under no circumstances the lubricant may be contaminated, are on the seal of the inside Drive train for the mixing screw 15 the highest demands put. This leads to high expenditure in the design and manufacture of the Mixer. Nevertheless, there remains a not negligible residual risk that is not in can be tolerated in all applications.
  • the Mixing screw 15 extends in a straight line and with a constant screw diameter along its axis of rotation 46. Since the screw as close as possible to the This has to be done along the inner wall of the container 11 necessarily a shape of the container with a straight wall contour, in particular in the form of a cone. Other container shapes, e.g. at the same Base area and height can enclose more volume than the pure cone are practically not used, which considerably increases the flexibility of the mixing principle restricted.
  • the stirring tool along the inner wall of the container Includes blades which are rigid with at least one rotatable about the axis Swivel arm are connected.
  • the essence of the invention is therefore that Rotary movement of the stirring tool around the container axis not only to be used to extend the stirring process over the entire container, but also at the same time by means of the blades the material to be stirred on the inner wall of the container to convey upwards.
  • This eliminates the need for a separate drive train for an independent conveyor, as in the prior art by the Mixing screw is represented.
  • the only remaining seal, namely the sealing of the shaft leading to the outside, on which the swivel arm is attached is simple and unproblematic.
  • the shovels can be flexible in many different ways and adapted to different Container shapes can be arranged within the container.
  • a first preferred embodiment of the stirring device is characterized in that the stirring tool at least one parallel to Inner wall of the container and with the at least one swivel arm rigidly connected sword, on which the blades laterally and in Longitudinal direction of the sword are arranged one above the other that the least a sword is spaced from the inner wall of the container, and that the blades are arranged between the sword and the inner wall of the container are.
  • the design of the stirring tool as equipped with the blades Sword is particularly simple and stable and can be changed the sword shape can be flexibly adapted to different container geometries. If the sword is oriented parallel to the direction of rotation, it sets the rotary movement in Mixture comparatively little resistance. Number and distance of Blades lying one above the other are preferably selected such that the desired upward movement of the mix on the inside wall of the container results.
  • the sword can be made from a flat profile made of coated (e.g. enamelled) steel or stainless steel to which the blades, which are also made of steel or stainless steel sheets, welded on or screwed or otherwise attached. But it is just as good it is also conceivable for the sword to be made in one piece together with the laterally formed blades train and manufacture as a forging or casting. Should that Mixed material not only be transported upwards on the container wall, but also it can also generate an additional mixing movement inwards be advantageous if according to a development of the embodiment on the side of the sword facing away from the inner wall of the container Inner blades are arranged. The inner blades also ensure that the sword is not one-sided due to the agitated material acting on the blades Bend is loaded.
  • a second preferred embodiment of the stirring device according to the invention is characterized by the fact that several swords shoveled the axis is evenly distributed around and with associated swivel arms are rigidly connected, and that the swords on their by the swivel arms opposite ends are interconnected and a rigid cage form.
  • the blades are formed as sheets at an angle to the axis.
  • the angle of attack of the Sheet metal scoops are chosen so that the mix depends on the Speed of rotation of the sword or swords in the necessary upward movement is moved without excessively blocking the stirrer.
  • the blades along the inside wall of the container are different the mixing screw of the well-known screw cone mixer over a longer one Line lie against the inner wall of the container, it is advantageous if according to a further embodiment of these blades on their facing the inner wall Edge have an edge contour that matches the contour of the inner wall is. This allows the distance between the entire blade length Minimize the bucket rim and inner wall so that, especially if the Stirring device is used as a dryer with heated container walls, the Contact of the agitated or mixed material with the container wall is particularly long and is intense.
  • the shovel-carrying sword are specially designed and arranged to to influence the mixing or stirring process in a certain way.
  • a sword is used which is curved coaxially to the axis, the effective cross section of the Sword in the direction of rotation and thus further reduce the resistance.
  • the resistance, which the mix opposes to the rotation of the stirring tool, can also be reduced if, according to another embodiment, the in Edge of the sword lying in the direction of rotation is designed as a cutting edge.
  • the sword is inclined relative to the direction of rotation, each result Different effects depending on the type of inclination: Is the inclination like this that the material to be stirred is transported outside by the rotating sword is the result of the result between the sword and the container wall
  • Cross-sectional narrowing is a nozzle effect, which is particularly evident when stirring Liquids in a dryer or stirred tank is beneficial; the liquid is accelerated in the nozzle, which reduces the boundary layer and the heat transfer between liquid and (heated or cooled) container wall is increased. The flow breaks off behind the mixing tool and the heat transfer is increased again.
  • the inclination is selected so that the material to be stirred is rotated by the Sword transported inwards results between the sword and Container wall a cross-sectional expansion.
  • the container can be made by the inventive design of the stirring tool flexible in its form.
  • the stirring device according to the invention is therefore characterized in that the container into an overhead cylindrical container part and one thereon downward-tapering container part is divided, and that the Stirring tool or the at least one sword divided into two sections which are adapted to the inner walls of the respective container part.
  • the container into an overhead cylindrical container part and one thereon downward-tapering container part is divided, and that the Stirring tool or the at least one sword divided into two sections which are adapted to the inner walls of the respective container part.
  • the stirring device is used as a mixer used.
  • the Stirring device used as a contact dryer.
  • the stirring device is used as a stirred tank.
  • FIG. 2 shows a first preferred exemplary embodiment that is comparable to FIG. 1 a stirring device according to the invention in side view with cut Container shown.
  • the stirring device 22 has a comparable to FIG. 1 simply conical container 23, the top through a lid 26 and the bottom through a container bottom 25 is limited.
  • Inside the container 23 (in the interior 24) rotates a plurality of inclined ones arranged one above the other Scoops 28 (Fig. 4) which are attached to a sword 27 and over the Sword 27 rigidly connected to a swivel arm 29 rotatable about axis 47 are.
  • the swivel arm 29 is via a shaft guided through the cover 26 30 and a gear unit 31 arranged above the cover 26 with a Drive motor 32 connected and is driven by the drive motor.
  • the on the sword 27 seated blades 28 are close to the inner wall of the Container 23 guided around in a circle.
  • the inclination of the blades 28 4 is chosen such that when the sword moves 27 in Direction of rotation (arrow in Fig. 4) the material to be stirred from the blades 28 on the inner wall of the container is successively transported upwards and in the central part of the container 23 sinks down again.
  • the swivel arm 29 can for example be designed as a tube.
  • a sword 27 is preferred a flat profile (e.g. made of stainless steel) is used, the thickness of which is large enough is grown to the mechanical loads during the stirring process be small enough to avoid unnecessary resistance when moving through to cause the mix.
  • a further stabilization and improvement of the synchronism can be achieved if three (or more) swords 27a, b, c on corresponding swivel arms 29a, b, c can be arranged in a star shape (Fig. 5 (d)). Because with each additional Sword also increases the number of blades 28 and thus the stirring power the mixing time (mixing time, Drying time). The geometry of the sword arrangement for one or two and three swords can be seen in Figs. 5 (b) - (c).
  • Swivel arms 29 and 29a, b, c also one in the center of the circle with the shaft 30 connected circular disc can be used on which the swords 27th and 27a, b, c are attached.
  • the blades 28 are preferred according to FIG. 4 formed as a simple, flat sheet metal parts, which are welded to the sword 27 or screwed on.
  • the blades 28 can also be curved in themselves or be rotated about an axis, as is the case, for example, with turbine blades the case is.
  • the swords 27 and 27a, b, c can - unlike the mixing screw in the known Screw cone mixer - by bending or folding or by angled Easily connect straight sections to different container shapes be adjusted. Preferred examples of those from the simple cone deviating container shapes are shown in FIGS. 6, 7 and 8.
  • At 6 is the container 23 of the stirring device 22 in an overhead cylindrical container part 33 and one thereon downwards adjoining conical container part 34 divided.
  • the stirring tool accordingly has a sword 27 which is divided into two sections 35 and 36 is divided.
  • the section 35 is on the wall of the cylindrical container part 35 adjusted, i.e. it is vertical.
  • the section 36 is on the conical Adjusted container part 34, i.e. it runs obliquely.
  • the shape of the container has the advantage that the container 23 has the same base area and Height compared to the purely conical container of FIG. 2, an increased capacity having. Assuming that the container parts 33 and 34, respectively take up half of the total height of the container 23, results in opposite the purely conical container by an increase in capacity the factor 2.
  • the container 23 the stirring device 22 has a purely cylindrical shape. It is different in both Cases the formation of the container bottom: In FIG. 7 the container bottom is 39 just. In Fig. 8 the container bottom 42 is curved. In both cases the sword is 27 into a vertical section 37 or 40 and a parallel to Container bottom 39 and 42 extending section 38 and 41 divided and with correspondingly adapted blades 28 or 28a and 28b.
  • Fig. 2, 6, 7 and 8 shown possible.
  • the drive of the stirring tool can not only be done from above through the lid, such as this is the case in the exemplary embodiments explained here, but just as well also from below through the tank bottom. Especially with the containers 7 or 8, this drive alternative can be used with advantage.
  • the blades 28 promote the material to be stirred along the tank wall in the vertical direction while the blades 28a the material to be stirred in the horizontal direction over the container bottom 39 of Transport inside out, where it is then used as a supply for the bottom of the Blades 28 acts.
  • Such horizontally operating feed blades can also with other, in particular conical, container geometries (e.g. according to Fig. 2 or 3) favorably influence the wake and thus the overall efficiency increase.
  • the stirring device according to the invention is used in particular as a stirrer (stirred tank) for liquids (crystallization, viscous liquids, drying of Liquids until dry) or fluid powder is used
  • Fig. 9 embodiment shown is advantageous.
  • the container is 23 in divides a cylindrical container part 33 and a conical container part 34.
  • the stirring tool is equipped with swords 27a, b, the shape of the container adapted and each divided into corresponding sections that are related 6 have already been described.
  • the swords 27a, b are in this case attached (welded) with their lower end to a shaft 43, which is passed from above through the cover 26 and through the interior 24 of the container 23 extends almost to the container bottom 25.
  • blades 28 can also according to FIG. 10 (c) on the inside of the sword 27 inner blades 48 are provided.
  • the inner blades 48 result in an additional stirring effect and at least partially compensate for the from the blades 28 originating and acting on the sword 27 one-sided Bending forces.
  • the Formation of the sword 27 itself has an influence on the operating behavior. Is the sword 27 formed as a straight flat profile, results from the Width of the sword and the rotating movement an effective cross section, which is larger than the actual cross section (thickness x length) of the sword 27. The effective cross section can be reduced to the actual cross section, if the sword 27 is curved coaxially to the axis of rotation according to FIG. 10 (d). A further influence on the stirring characteristics results when the sword is inclined relative to the direction of rotation (tangent to the turning circle).
  • the sword 27 points to the direction of travel (direction of rotation) related very small cross section. It can therefore be beneficial 10, if the edge of the sword lying in the direction of rotation according to FIG. 10 (g) 27 is designed as a cutting edge 49. This ensures that the resistance of the (especially powdery) mix does not become too large. The same applies the blades 28, which also have the smallest possible cross-section in the direction of movement should have. The goal is to move the mix upwards promote and thrust as little as possible. By not quite avoiding resistance always results in a promotion of Mix in the direction of rotation of the swords. Should this entrainment in the direction of rotation however, to increase the mixing strengthened and made usable 10, it is advantageous to have a take-along element on the sword 27 according to FIG. 10 (h) 50 e.g. in the form of a longitudinally extending sword 27 welded sheet metal strip. Other forms of Driving elements are of course also conceivable.
  • the size and performance of the inventive can be in a wide range can be selected and are comparable to the size and performance of the known Screw cone mixer.
  • the well-known screw cone mixer or dryer 1 with cantilevered mixing screw is used with container sizes, the a diameter of the base of about 1.45 m to about 2.60 m and have a height of about 1.70 m to about 3.55 m and depending on the container size have a useful volume of about 450 liters to 4000 liters.
  • containers are used that a diameter of the base of about 2.10 m to about 4.80 m and one Have a height of about 2.80 m to about 7.00 m and one depending on the container size Have useful contents of about 1700 liters to 32000 liters.
  • Comparable container sizes and useful contents are also in the stirring device according to the invention accessible and provided.
  • a stirring tool can be used in which three swords acc. Fig. 5 (d) are arranged on a rotating circle with a diameter of 1800 mm, which rotate at a speed of 30 rpm around the container axis and are equipped with blades which have a length ( ⁇ spacing of the sword-container inner wall) of 100 mm and one Have an angle of attack of 15 °.
  • the angle of attack of the blades (delivery angle) be between 1 ° and 45 ° and also over the length of the respective Sword vary.
  • the speed for the swords can be between 5 and 300 Rpm.
  • the number of swords is preferably between 1 and 20, the number of blades between 3 and 100.
  • the blade length can be between 5 and 500 mm, the bucket width between 2 and 500 mm.
  • the stirring device according to the invention can in principle be used in all methods use where a mix has to be stirred.
  • the stirring device in the same way and in the same applications as more robust and inexpensive mixer can be used, as in the known Cone screw mixer is the case.
  • the rigidly fixed and rotating around the container axis Shovels take on the function of the mixing screw. Against Above the mixing screw, they have the main advantage of a greatly simplified one and robust mechanics, in which the risk of contamination of the Mix is practically eliminated.

Landscapes

  • Chemical & Material Sciences (AREA)
  • Chemical Kinetics & Catalysis (AREA)
  • Mixers Of The Rotary Stirring Type (AREA)

Abstract

Vorrichtung (22) zum Rühren eines Rührgutes, umfassend einen Behälter (23) zur Aufnahme des Rührgutes und ein im Behälter (23) um eine senkrechte Achse (47) drehbar angeordnetes Rührwerkzeug (27, 28; 29), welches das Rührgut beim Rührvorgang an der Innenwand des Behälters (23) nach oben transportiert, dadurch gekennzeichnet, dass das Rührwerkzeug an der Innenwand des Behälters (23) entlanggeführte Schaufeln (28) umfasst, welche starr mit wenigstens einem um die Achse (47) drehbaren Schwenkarm (29) verbunden sind.

Description

TECHNISCHES GEBIET
Die vorliegende Erfindung bezieht sich auf das Gebiet der Verfahrenstechnik. Sie betrifft eine Vorrichtung zum Rühren eines Rührgutes, umfassend einen Behälter zur Aufnahme des Rührgutes und ein im Behälter um eine senkrechte Achse drehbar angeordnetes Rührwerkzeug, welches das Rührgut beim Rührvorgang an der Innenwand des Behälters nach oben transportiert. Eine solche Rührvorrichtung ist z.B. als Schneckenkonusmischer bzw. -trockner aus dem Stand der Technik bekannt und wird von der Firma Hosokawa Micron B.V., Doetinchem, Holland, unter der Markenbezeichnung Vrieco-Nauta auf dem Markt angeboten.
STAND DER TECHNIK
Ein bekannter Schneckenkonusmischer 10 der eingangs erwähnten Art ist in einer vereinfachten Seitenansicht (mit aufgeschnittenem Behälter) in Fig. 1 wiedergegeben. Das zu mischende bzw. rührende Gut (Pulver, Pasten, Flüssigkeiten etc.) wird durch eine nicht gezeigte Einfüllöffnung von oben in einen Behälter 11 eingefüllt, der sich konisch nach unten zu verjüngt und einen flanschartigen Mischerboden 13 aufweist, durch den das Mischgut bzw. Rührgut nach Beendigung des Mischvorganges entnommen werden kann. Das Mischen erfolgt durch eine dreidimensionale Mischbewegung mittels eines Mischwerkzeuges, das eine um eine Achse 46 rotierende Mischschnecke 15 umfasst, die ihrerseits an einem um die Behälterachse 45 rotierenden Schwenkarm 17 an der Innenwand des Behälters 11 entlanggeführt wird. Die Drehrichtung der Mischschnecke 15 ist dabei so gewählt, dass die Mischschnecke das Mischgut an der Behälterwand nach oben transportiert und so für eine konvektive Zufallsmischung sorgt. Gegenüber der nach oben fördernden Mischschnecke 15 sinkt das Mischgut aufgrund der Schwerkraft nach unten ab. Durch die konische Form des Behälters 11 ändert sich die Strömungsgeschwindigkeit des Mischgutes in Abhängigkeit vom Behälterdurchmesser. Das Mischgut ist so einer ständigen Formänderung ausgesetzt, die zur Bildung von Scherflächen innerhalb des Gutes führen. Der Schneckenkonusmischer 10 kann mit Vorteil eingesetzt werden zum
  • Mischen und Homogenisieren von Trockenstoffen, Pasten und Slurries;
  • Ein- und Aufdüsen von Flüssigkeiten in Trockenstoffe;
  • Granulieren und Agglomerieren von Pulvern mit Hilfe eines Bindemittels;
  • Reagieren unter Normal-, Ueberdruck oder Vakuum;
  • Kristallisieren
  • Inertisieren;
  • Entlüften oder Belüften;
  • Lagern und Austragen von schwerfliessenden Schüttgütern;
  • Egalisieren von Farben oder Korngrössen;
  • Kühlen; und
  • Aufheizen.
Wird der Behälter eines solchen Schneckenkonusmischers 10 mit beheizbaren, z.B. von einem Heizmedium durchflossenen, Wänden versehen, ergibt sich ein Kontakttrockner. Das zu trocknende Gut wird von der Mischschnecke an der beheizten Behälterwand entlanggeführt, wo es sich durch Kontakt mit der Wand aufheizt und Feuchtigkeit abgibt.
Der in Fig. 1 dargestellte bekannte Schneckenkonusmischer 10 hat jedoch verschiedene Nachteile, die sich aus seinem konstruktiven Aufbau ergeben: Zum Antrieb des Schwenkarmes 17 ist durch den Deckel 14 des Behälters 11 eine Welle 18 geführt, die über eine oberhalb des Deckels 14 angeordnete Getriebeeinheit 19 von einem Antriebsmotor 20 angetrieben wird. Die Welle 18 ist als Hohlwelle ausgeführt. Desgleichen ist der Schwenkarm 17 hohl. Im Inneren der Welle 18 und des Schwenkarmes 17 ist der Antriebsstrang für die Mischschnecke 15 untergebracht, für deren Antrieb ein separater Antriebsmotor 21 an der Getriebeeinheit 19 angeflanscht ist. Die notwendige Umlenkung im Antriebsstrang von der Welle 18 zum Schwenkarm 17 und vom Schwenkarm 17 zur Mischschnecke 15 (im Umlenkgetriebe 16) erfolgt üblicherweise über Zahnräder, die eine Schmierung mit Oel oder Fett benötigen. Da das Mischgut in den meisten Fällen (z.B. im pharmazeutischen oder Lebensmittelbereich unter keinen Umständen mit dem Schmiermittel kontaminiert werden darf, sind an die Abdichtung des innenliegenden Antriebsstranges für die Mischschnecke 15 höchste Anforderungen zu stellen. Dies führt zu hohen Aufwendungen in der Konstruktion und Fertigung des Mischers. Dennoch bleibt ein nicht zu vernachlässigendes Restrisiko, das nicht in allen Anwendungen toleriert werden kann.
Als Alternative zur geschmierten Zahnradübertragung ist bereits die Verwendung eines ungeschmierten Zahnriemens für den Antriebsstrang der Mischschnecke 15 vorgeschlagen worden. Hierdurch lässt sich zwar das Problem der Kontaminierung begrenzen. Jedoch wird bei dieser Lösung die Kraftübertragung beeinträchtigt, weil der Zahnriemen keine direkte Kraftkopplung ermöglicht und zum Ausgleich des Winkels, den die Drehachse 46 der Mischschnecke 15 mit der Drehachse 45 der Welle 18 bildet, zusätzlich ein Kreuzgelenk vorgesehen werden muss.
Ein weiterer Nachteil des bekannten Schneckenkonusmischers 10 ist darin zu sehen, dass überhaupt eine durch einen separaten Antriebsstrang angetriebene Mischschnecke 15 zum Herauffördern des Mischgutes verwendet wird. Der innen verlegte, zusätzliche Antriebsstrang für die Mischschnecke 15 erfordert nicht nur einen zusätzlichen Antriebsmotor 21, sondern insgesamt eine aufwendige und anfällige Mechanik in der Getriebeeinheit 19, in der Welle 18, im Schwenkarm 17 und im Umlenkgetriebe 16, die hohe Herstellungskosten verursacht und einen hohen Wartungs- und Reparaturaufwand bedingt.
Ein anderer Nachteil ist darin zu sehen, dass die Mischschnecke 15 freitragend am Schwenkarm 17 befestigt ist. Bei Mischern mit grossem Inhalt oder relativ festem Mischgut wirken hohe Biegekräfte auf die Mischschnecke 15 ein, die zu Belastungen des relativ empfindlichen Antriebsstranges führen und entweder den Betrieb des Mischers beeinträchtigen oder im Extremfall zu kostspieligen Schäden führen können. Es ist zwar bereits vorgeschlagen worden, in solchen Anwendungsfällen die Mischschnecke 15 mit ihrem unteren Ende am Mischerboden 13 abstützend zu lagern, jedoch behindert eine solche Lagerung nicht nur den Auslass des Mischgutes, sondern muss auch gegen die Einflüsse durch das Mischgut sorgfältig geschützt werden.
Ein weiterer Nachteil ergibt sich direkt aus der rotierenden Mischschnecke 15: Die Mischschnecke 15 erstreckt sich geradlinig und mit konstantem Schneckendurchmesser entlang ihrer Drehachse 46. Da die Schnecke möglichst nahe an der Innenwand des Behälters 11 entlanggeführt werden muss, ergibt sich daraus zwangsweise eine Form des Behälters mit einer geradlinigen Wandkontur, insbesondere in Form eines Konus. Andere Behälterformen, die z.B. bei gleicher Grundfläche und Höhe mehr Volumen umschliessen als der reine Konus, können praktisch nicht verwendet werden, was die Flexibilität des Mischprinzips erheblich einschränkt.
DARSTELLUNG DER ERFINDUNG
Es ist daher Aufgabe der Erfindung, eine Rührvorrichtung zu schaffen, welche bei gleichzeitig guten Misch- bzw. Rührergebnissen wesentlich einfacher aufgebaut und zu warten ist, Kontaminierungen des Misch- bzw. Rührgutes sicher vermeidet, sich durch eine geringe Störanfälligkeit auszeichnet, und sich flexibel an die unterschiedlichsten Anwendungsfälle anpassen lässt.
Die Aufgabe wird bei einer Rührvorrichtung der eingangs genannten Art dadurch gelöst, dass das Rührwerkzeug an der Innenwand des Behälters entlanggeführte Schaufeln umfasst, welche starr mit wenigstens einem um die Achse drehbaren Schwenkarm verbunden sind. Der Kern der Erfindung besteht also darin, die Drehbewegung des Rührwerkzeuges um die Behälterachse nicht nur dazu auszunutzen, den Rührvorgang über den gesamten Behälter zu erstrecken, sondern auch gleichzeitig mittels der Schaufeln das Rührgut an der Innenwand des Behälters nach oben zu befördern. Dadurch entfällt ein separater Antriebsstrang für eine eigenständige Fördervorrichtung, wie sie im Stand der Technik durch die Mischschnecke repräsentiert wird. Der Antrieb der Rührvorrichtung wird dadurch wesentlich vereinfacht und weniger störanfällig. Die einzige verbleibende Abdichtung, nämlich die Abdichtung der nach aussen führenden Welle, an welcher der Schwenkarm befestigt ist, ist einfach und unproblematisch. Die Schaufeln können flexibel in der unterschiedlichsten Weise und angepasst an unterschiedliche Behälterformen innerhalb des Behälters angeordnet werden.
Eine erste bevorzugte Ausführungsform der erfindungsgemässen Rührvorrichtung ist dadurch gekennzeichnet, dass das Rührwerkzeug wenigstens ein parallel zur Innenwand des Behälters verlaufendes und mit dem wenigstens einen Schwenkarm starr verbundenes Schwert umfasst, an welchem die Schaufeln seitlich und in Längsrichtung des Schwertes übereinander angeordnet sind, dass das wenigstens eine Schwert von der Innenwand des Behälters beabstandet ist, und dass die Schaufeln zwischen dem Schwert und der Innenwand des Behälters angeordnet sind. Die Ausbildung des Rührwerkzeuges als mit den Schaufeln bestücktes Schwert ist besonders einfach und stabil aufgebaut und kann durch Aenderung der Schwertform flexibel an verschiedene Behältergeometrien angepasst werden. Ist das Schwert parallel zur Drehrichtung orientiert, setzt es der Drehbewegung im Mischgut vergleichsweise wenig Widerstand entgegen. Anzahl und Abstand der übereinander liegenden Schaufeln werden dabei vorzugsweise so gewählt, dass sich die gewünschte Aufwärtsbewegung des Mischgutes an der Behälterinnenwand ergibt.
Das Schwert kann beispielsweise aus einem Flachprofil aus beschichtetem (z.B. emailliertem) Stahl oder rostfreiem Edelstahl bestehen, an welches die Schaufeln, welche ebenfalls aus Stahl- bzw. Edelstahl-Blechen hergestellt sind, angeschweisst oder angeschraubt oder anderweitig befestigt sind. Es ist aber ebensogut auch denkbar, das Schwert mitsamt den seitlich angeformten Schaufeln einstückig auszubilden und als Schmiede- oder Gussstück herzustellen. Soll das Mischgut nicht nur an der Behälterwand aufwärtstransportiert werden, sondern auch nach innen hin eine zusätzlich Mischbewegung erzeugt werden, kann es vorteilhaft sein, wenn gemäss einer Weiterbildung der Ausführungsform auf der von der Innenwand des Behälters abgewandten Seite des Schwertes zusätzlich Innenschaufeln angeordnet sind. Die Innenschaufeln sorgen zugleich dafür, dass das Schwert durch das auf die Schaufeln wirkende Rührgut nicht einseitig auf Biegung belastet wird.
Eine zweite bevorzugte Ausführungsform der Rührvorrichtung nach der Erfindung zeichnet sich dadurch aus, dass mehrere mit Schaufeln besetzte Schwerter um die Achse herum gleichmässig verteilt angeordnet und mit zugehörigen Schwenkarmen starr verbunden sind, und dass die Schwerter an ihren von den Schwenkarmen abgewandten Enden untereinander verbunden sind und einen starren Käfig bilden. Durch den Einsatz von zwei, drei, vier oder mehr Schwertern wird nicht nur die Rühr- bzw. Mischleistung erhöht, sondern der aus den Schwertern gebildete Käfig (bzw. Rahmen im Falle von zwei Schwertern) ist erheblich unempfindlicher gegen die vom Mischgut ausgeübten Biegekräfte.
Gemäss einer weiteren, besonders einfachen Ausführungsform sind die Schaufeln als schräg zur Achse gestellte Bleche ausgebildet. Der Anstellwinkel der Blechschaufeln ist dabei so gewählt, dass das Mischgut in Abhängigkeit von der Drehgeschwindigkeit des Schwertes bzw. der Schwerter in die notwendige Aufwärtsbewegung versetzt wird, ohne das Rührwerkzeug übermässig zu hemmen.
Da die an der Innenwand des Behälters entlanggeführten Schaufeln anders als die Mischschnecke des bekannten Schneckenkonusmischers über eine längere Strecke an der Innenwand des Behälters anliegen, ist es vorteilhaft, wenn gemäss einer weiteren Ausführungsform diese Schaufeln an ihrem der Innenwand zugewandten Rand eine Randkontur aufweisen, die der Kontur der Innenwand angepasst ist. Dadurch lässt sich über die gesamte Schaufellänge der Abstand zwischen Schaufelrand und Innenwand minimieren, so dass, insbesondere wenn die Rührvorrichtung als Trockner mit beheizten Behälterwänden eingesetzt wird, der Kontakt des Rühr- bzw. Mischgutes mit der Behälterwand besonders lang und intensiv ist.
Neben einer speziellen Ausbildung und Anordnung der Schaufeln kann auch das die Schaufeln tragende Schwert speziell ausgebildet und angeordnet werden, um den Misch- bzw. Rührvorgang in einer bestimmten Weise zu beeinflussen. Wird gemäss einem weiteren Ausführungsbeispiel ein Schwert verwendet, welches koaxial zur Achse gekrümmt ist, lässt sich dadurch der effektive Querschnitt des Schwertes in Drehrichtung und damit der Widerstand weiter verringern. Der Widerstand, den das Mischgut der Drehung des Rührwerkzeuges entgegensetzt, lässt sich auch verringern, wenn gemäss einer anderen Ausführungsform die in Drehrichtung liegende Kante des Schwertes als Schneide ausgebildet ist.
Wenn gemäss einer weiteren Ausführungsform der Rührvorrichtung nach der Erfindung das Schwert relativ zur Drehrichtung schräggestellt ist, ergeben sich je nach Art der Schrägstellung unterschiedliche Effekte: Ist die Schrägstellung so gewählt, dass das Rührgut durch das rotierende Schwert nach aussen transportiert wird, ergibt sich durch die zwischen Schwert und Behälterwand resultierende Querschnittsverengung ein Düseneffekt, der insbesondere beim Rühren von Flüssigkeiten in einem Trockner oder Rührkessel von Vorteil ist; die Flüssigkeit wird in der Düse beschleunigt, wodurch die Grenzschicht verringert und der Wärmeübergang zwischen Flüssigkeit und (beheizter oder gekühlter) Behälterwand erhöht wird. Hinter dem Rührwerkzeug reisst die Strömung ab, und der Wärmeübergang wird noch einmal erhöht.
Ist dagegen die Schrägstellung so gewählt, dass das Rührgut durch das rotierende Schwert nach innen transportiert wird, ergibt sich zwischen Schwert und Behälterwand eine Querschnittserweiterung. Hierdurch kann insbesondere beim Rühren von Pulvern die Gefahr des Verklemmens des Pulvers sehr stark verringert werden.
Durch die erfindungsgemässe Ausbildung des Rührwerkzeuges lässt sich der Behälter in seiner Form flexibel gestalten. Eine weitere bevorzugte Ausführungsform der erfindungsgemässen Rührvorrichtung ist daher dadurch gekennzeichnet, dass der Behälter in einen obenliegenden zylindrischen Behälterteil und einen daran nach unten anschliessenden konischen Behälterteil unterteilt ist, und dass das Rührwerkzeug bzw. das wenigstens eine Schwert in zwei Teilabschnitte unterteilt ist, welche den Innenwänden des jeweiligen Behälterteils angepasst sind. Hierdurch wird bei gleicher Grundfläche und Höhe ein gegenüber der reinen Konusform deutlich erhöhter Behälterinhalt erreicht, ohne dass die Vorteile eines konischen Auslasses aufgegeben werden müssen.
In einer ersten erfindungsgemässen Anwendung wird die Rührvorrichtung als Mischer eingesetzt. In einer zweiten erfindungsgemässen Anwendung wird die Rührvorrichtung als Kontakttrockner eingesetzt. In einer dritten erfindungsgemässen Anwendung wird die Rührvorrichtung als Rührkessel eingesetzt.
Weitere Ausführungsformen ergeben sich aus den abhängigen Ansprüchen.
KURZE ERLÄUTERUNG DER FIGUREN
Die Erfindung soll nachfolgend anhand von Ausführungsbeispielen im Zusammenhang mit der Zeichnung näher erläutert werden. Es zeigen
Fig. 1
einen Schneckenkonusmischer aus dem Stand der Technik in der Seitenansicht;
Fig. 2
ein zu Fig. 1 vergleichbares erstes bevorzugtes Ausführungsbeispiel einer Rührvorrichtung nach der Erfindung mit einfach konischem Behälter und einem einzigen mit Schaufeln besetzten Schwert;
Fig. 3
ein zu Fig. 2 entsprechendes zweites Ausführungsbeispiel mit zwei zu einem Rahmen verbundenen Schwertern;
Fig. 4
ein Schwert mit Schaufeln gemäss Fig. 2 bzw. 3 in der Seitenansicht;
Fig. 5a-d
ausgehend von einer Rührvorrichtung mit einem Schwert gemäss Fig. 2 (Fig. 5(a)) die Anordnung der Schwerter in der Draufsicht von oben bei einem Schwert (Fig. 5(b)), bei zwei Schwertern (Fig. 5(c); und bei drei Schwertern (Fig. 5(d));
Fig. 6
ein weiteres bevorzugtes Ausführungsbeispiel einer Rührvorrichtung nach der Erfindung mit einer aus Zylinder-Oberteil und Konus-Unterteil zusammengesetzten Behälterform;
Fig. 7
ein anderes bevorzugtes Ausführungsbeispiel einer Rührvorrichtung nach der Erfindung mit einer zylindrischen Behälterform und ebenem Behälterboden;
Fig. 8
ein anderes bevorzugtes Ausführungsbeispiel einer Rührvorrichtung nach der Erfindung mit einer zylindrischen Behälterform und gewölbtem Behälterboden;
Fig. 9
eine speziell als Rührkessel ausgebildete Rührvorrichtung nach der Erfindung mit langer Welle, am unteren Ende der Welle befestigten Schwertern und zusätzlichen von oben in den Behälter hineinragenden Stromstörelementen; und
Fig. 10a-h
verschiedene Ausgestaltungen des Schwertes einer erfindungsgemässen Rührvorrichtung (Fig. 10(b)-(h)) im Vergleich zur Mischschnecke des bekannten Schneckenkonusmischers (Fig. 10(a)).
WEGE ZUR AUSFÜHRUNG DER ERFINDUNG
In Fig. 2 ist ein zu Fig. 1 vergleichbares erstes bevorzugtes Ausführungsbeispiel einer Rührvorrichtung nach der Erfindung in Seitenansicht mit aufgeschnittenem Behälter dargestellt. Die Rührvorrichtung 22 hat einen zu Fig. 1 vergleichbaren einfach konischen Behälter 23, der oben durch einen Deckel 26 und unten durch einen Behälterboden 25 begrenzt ist. Innerhalb des Behälters 23 (im Innenraum 24) rotiert eine Mehrzahl von übereinander angeordneten, schräggestellten Schaufeln 28 (Fig. 4), die an einem Schwert 27 befestigt sind und über das Schwert 27 mit einem um die Achse 47 drehbaren Schwenkarm 29 starr verbunden sind. Der Schwenkarm 29 ist über eine durch den Deckel 26 geführte Welle 30 und eine oberhalb des Deckels 26 angeordnete Getriebeeinheit 31 mit einem Antriebsmotor 32 verbunden und wird durch den Antriebsmotor angetrieben. Die am Schwert 27 sitzenden Schaufeln 28 werden dabei dicht an der Innenwand des Behälters 23 entlang im Kreis herumgeführt. Die Schrägstellung der Schaufeln 28 ist gemäss Fig. 4 so gewählt, dass bei einer Bewegung des Schwertes 27 in Drehrichtung (Pfeil in Fig. 4) das Rührgut von den Schaufeln 28 an der Behälterinnenwand sukzessive nach oben transportiert wird und im zentralen Teil des Behälters 23 wieder nach unten sinkt. Das Schwert 27 mit den Schaufeln 28 ersetzt so von der Funktion her die Mischschnecke 15 aus Fig. 1. Der Schwenkarm 29 kann beispielsweise als Rohr ausgebildet sein. Als Schwert 27 wird vorzugsweise ein Flachprofil (z.B. aus rostfreiem Edelstahl) verwendet, dessen Dicke gross genug ist, um den mechanischen Belastungen beim Rührvorgang gewachsen zu sein, aber klein genug ist, um nicht unnötig Widerstand bei der Bewegung durch das Rührgut hervorzurufen.
Die Verwendung nur eines Schwertes 27 gemäss Fig. 2 ergibt bei Drehen eine Unwucht, die sich ungünstig auf die Lager auswirkt. Darüber hinaus ist das freie Ende des Schwertes empfindlich gegen Biegebelastungen durch das Rührgut, so dass der Spalt zwischen Schaufeln 28 und der Behälterinnenwand hinreichend gross gewählt werden muss, um ein Schleifen der Schaufeln an der Wand zu vermeiden. Ein grosse Spaltbreite verschlechtert jedoch den Kontakt des Rührgutes mit der Behälterwand, was vor allem bei Kontakttrocknern nachteilig ist. Es ist daher vorteilhaft, gemäss Fig. 3 wenigstens zwei mit Schaufeln 28 ausgestattete Schwerter 27a und 27b zu verwenden, die über zugeordnete Schwenkarme 29a und 29b an der gemeinsamen Welle 30 befestigt sind. Die beiden Schwerter 27a,b sind einander gegenüberliegend angeordnet (Fig. 5(c)) und vorzugsweise an ihren unteren Enden miteinander verbunden. Sie bilden so einen stabilen Rahmen, der gegen Biegebelastungen durch das Rührgut vergleichsweise unempfindlich ist und ein deutlich verminderte Unwucht aufweist. Die Spaltbreiten zwischen Schaufeln 28 und Behälterinnenwand können daher hier deutlich kleiner gewählt werden.
Eine weitere Stabilisierung und Verbesserung des Gleichlaufes lässt sich erreichen, wenn drei (oder mehr) Schwerter 27a,b,c an entsprechenden Schwenkarmen 29a,b,c sternförmig angeordnet werden (Fig. 5(d)). Da sich mit jedem zusätzlichen Schwert auch die Anzahl der Schaufeln 28 und damit die Rührleistung erhöht, kann durch den Einsatz mehrerer Schwerter die Rührzeit (Mischzeit, Trockenzeit) verkürzt werden. Die Geometrie der Schwertanordnung für ein, zwei und drei Schwerter ist aus den Fig. 5(b)-(c) ersichtlich. Wird das Rührgut nicht durch den Deckel 26 von oben in den Behälter 23 eingefüllt, kann anstelle der Schwenkarme 29 bzw. 29a,b,c auch eine im Kreismittelpunkt mit der Welle 30 verbundene kreisrunde Scheibe verwendet werden, an welcher die Schwerter 27 bzw. 27a,b,c befestigt sind. Die Schaufeln 28 sind gemäss Fig. 4 vorzugsweise als einfache, ebene Blechteile ausgebildet, die am Schwert 27 angeschweisst oder angeschraubt sind. Die Schaufeln 28 können aber auch in sich gekrümmt oder um eine Achse verdreht ausgebildet sein, wie dies beispielsweise bei Turbinenschaufeln der Fall ist.
Die Schwerter 27 bzw. 27a,b,c können - anders als die Mischschnecke beim bekannten Schneckenkonusmischer - durch Biegen oder Abkanten oder durch abgewinkeltes Verbinden von geraden Teilstücken leicht an unterschiedliche Behälterformen angepasst werden. Bevorzugte Beispiele solcher vom einfachen Konus abweichenden Behälterformen sind in den Fig. 6, 7 und 8 wiedergegeben. Bei dem in Fig. 6 dargestellten Ausführungsbeispiel ist der Behälter 23 der Rührvorrichtung 22 in einen obenliegenden zylindrischen Behälterteil 33 und einen daran nach unten anschliessenden konischen Behälterteil 34 unterteilt. Das Rührwerkzeug hat entsprechend ein Schwert 27, welches in zwei Teilabschnitte 35 und 36 unterteilt ist. Der Teilabschnitt 35 ist dabei an die Wand des zylindrischen Behälterteils 35 angepasst, d.h. er steht senkrecht. Der Teilabschnitt 36 ist an den konischen Behälterteil 34 angepasst, d.h., er verläuft schräg. Die in Fig. 6 gezeigte Behälterform hat den Vorteil, dass der Behälter 23 bei gleicher Grundfläche und Höhe gegenüber dem rein konischen Behälter aus Fig. 2 ein erhöhtes Fassungsvermögen aufweist. Geht man davon aus, dass die Behälterteile 33 und 34 jeweils die Hälfte der Gesamthöhe des Behälters 23 einnehmen, ergibt sich gegenüber dem rein konischen Behälter eine Vergrösserung des Fassungsvermögens um den Faktor 2.
Bei den in Fig. 7 und 8 dargestellten Ausführungsbeispielen hat der Behälter 23 der Rührvorrichtung 22 eine rein zylindrische Form. Unterschiedlich ist in beiden Fällen die Ausbildung des Behälterbodens: In Fig. 7 ist der Behälterboden 39 eben. In Fig. 8 ist der Behälterboden 42 gewölbt. In beiden Fällen ist das Schwert 27 in einen senkrecht stehenden Teilabschnitt 37 bzw. 40 und einen parallel zum Behälterboden 39 bzw. 42 verlaufenden Teilabschnitt 38 bzw. 41 unterteilt und mit entsprechend angepassten Schaufeln 28 bzw. 28a und 28b besetzt. Selbstverständlich sind im Rahmen der Erfindung auch andere Behälterformen als die Fig. 2, 6, 7 und 8 gezeigten möglich. Insbesondere ist es vorteilhaft, auch bei den Beispielen aus Fig. 6-8 mehrere mit Schaufeln besetzte Schwerter zu verwenden, um die Stabilität zu erhöhen und die Spaltbreiten zwischen Schaufeln und Behälterwand verringern zu können. An dieser Stelle sei angemerkt, dass der Antrieb des Rührwerkzeuges nicht nur von oben durch den Deckel erfolgen kann, wie dies in den hier erläuterten Ausführungsbeispielen der Fall ist, sondern ebensogut auch von unten durch den Behälterboden. Insbesondere bei den Behältern nach Fig. 7 oder 8 kann diese Antriebsalternative mit Vorteil eingesetzt werden.
Wie man in Fig. 7 leicht erkennen kann, fördern die Schaufeln 28 das Rührgut entlang der Behälterwand in vertikaler Richtung nach oben, während die Schaufeln 28a das Rührgut in horizontaler Richtung über den Behälterboden 39 von innen nach aussen transportieren, wo es dann als Nachschub für die unterste der Schaufeln 28 wirkt. Derartige horizontal arbeitende Zuführschaufeln können auch bei anderen, insbesondere konischen Behältergeometrien (z.B. gemäss Fig. 2 oder 3) das Nachströmen günstig beeinflussen und damit den Gesamtwirkungsgrad erhöhen.
Wird die Rührvorrichtung nach der Erfindung insbesondere als Rührer (Rührkessel) für Flüssigkeiten (Kristallisation, viskose Flüssigkeiten, Eintrocknen von Flüssigkeiten bis zum trockenen Zustand) oder fluide Pulver verwendet, ist das in Fig. 9 gezeigte Ausführungsbeispiel von Vorteil. Auch hier ist der Behälter 23 in einen zylindrische Behälterteil 33 und einen konische Behälterteil 34 unterteilt. Das Rührwerkzeug ist mit Schwertern 27a,b ausgestattet, die der Behälterform angepasst und jeweils in entsprechende Teilabschnitte unterteilt sind, die im Zusammenhang mit Fig. 6 bereits beschrieben worden sind. Die Schwerter 27a,b sind in diesem Fall mit ihrem unteren Ende an einer Welle 43 befestigt (angeschweisst), die von oben durch den Deckel 26 geführt ist und sich durch den Innenraum 24 des Behälters 23 bis fast zum Behälterboden 25 erstreckt. Durch den Wegfall der Schwenkarme wird es möglich, im oberen zylindrischen Behälterteil 33 innerhalb des von den Schwertern 27a,b beschriebenen Kreises einen streifenförmige, vom Deckel 26 nach unten in den Behälter 23 hineinragende Stromstörelemente 44 vorzusehen, die ein unerwünschtes Mitrotieren der Flüssigkeit bzw. des fluiden Pulvers mit dem Rührwerkzeug behindern oder ganz unterbinden.
Der gerade bei Anwendungen als Trockner wichtige Vorteil der erfindungsgemässen Lösung mit starren Schaufeln gegenüber der herkömmlichen rotierenden Mischschnecke wird aus einem Vergleich der Fig.10(a) und 10(b) in der Draufsicht von oben deutlich: Bei der Mischschnecke 15 gemäss Fig. 10(a) tangiert die um die Achse 46 rotierende Schnecke mit ihrem Rand nur in einem engen (nahezu punktförmigen) Bereich die Wand des Behälters 11 und transportiert auch nur dort das Rührgut im Kontakt mit der Wand nach oben. Bei der am Schwert 27 befestigten Schaufel 28 gemäss Fig. 10(b) kann die Randkontur dagegen über die gesamte Schaufelbreite der Kontur der Wand des Behälters 23 angepasst werden. Das von der Schaufel 28 geförderte Rühr- bzw. Mischgut hat daher deutlich länger Kontakt zur (beheizten) Behälterwand als das von der Mischschnecke geförderte Gut. Zusätzlich zu den zwischen Schwert 27 und Wand des Behälters 23 angeordneten Schaufeln 28 können gemäss Fig. 10(c) auch auf der Innenseite des Schwertes 27 Innenschaufeln 48 vorgesehen werden. Die Innenschaufeln 48 ergeben einen zusätzlichen Rühreffekt und kompensieren zumindest teilweise die von den Schaufeln 28 herrührenden und auf das Schwert 27 einseitig wirkenden Biegekräfte.
Nicht nur die Anzahl, Formgebung und Anordnung der Schaufeln bestimmen die Rühr- bzw. Misch- bzw. Trocknungscharakteristik der Rührvorrichtung. Auch die Ausbildung des Schwertes 27 selbst hat Einfluss auf das Betriebsverhalten. Ist das Schwert 27 als gerades Flachprofil ausgebildet, ergibt sich aufgrund der Breite des Schwertes und der rotierenden Bewegung ein effektiver Querschnitt, der grösser ist als der eigentliche Querschnitt (Dicke x Länge) des Schwertes 27. Der effektive Querschnitt lässt sich auf den eigentlichen Querschnitt reduzieren, wenn das Schwert 27 gemäss Fig. 10(d) koaxial zur Drehachse gekrümmt ist. Eine weitere Beeinflussung der Rührcharakteristik ergibt sich, wenn das Schwert relativ zur Drehrichtung (Tangente am Drehkreis) schräggestellt ist. Ist die Schrägstellung gemäss Fig. 10(e) so gewählt, dass das Rührgut durch das rotierende Schwert 27 nach aussen transportiert wird, ergibt sich aufgrund der Querschnittsverengung zwischen Schwert 27 und Behälterwand der weiter oben erwähnte Düseneffekt, der gerade bei Anwendungen als Trockner zu einem verbesserten Wärmeübergang zwischen Rührgut und Behälterwand führt. Ist dagegen die Schrägstellung gemäss Fig. 10(f) so gewählt, dass das Rührgut durch das rotierende Schwert 27 nach innen transportiert wird, wird aufgrund der Querschnittserweiterung insbesondere beim Rühren von pulverförmigen Stoffen die Gefahr eines Verklemmens des Rührgutes verringert.
Es ist wichtig, dass das Schwert 27 einen auf die Fortbewegungsrichtung (Drehrichtung) bezogenen sehr kleinen Querschnitt aufweist. Es kann daher von Vorteil sein, wenn gemäss Fig. 10(g) die in Drehrichtung liegende Kante des Schwertes 27 als Schneide 49 ausgebildet ist. Damit wird erreicht, dass der Widerstand des (insbesondere pulverförmigen) Rührgutes nicht zu gross wird. Das Gleiche gilt für die Schaufeln 28, die ebenfalls einen möglichst geringen Querschnitt in Bewegungsrichtung haben sollten. Das Ziel dabei ist es, das Rührgut nach oben zu fördern und möglichst wenig vor sich her zu stossen. Durch den nicht ganz zu vermeidenden Widerstand ergibt sich gleichwohl immer auch eine Förderung des Rührgutes in Umlaufrichtung der Schwerter. Soll dieses Mitschleppen in Umlaufrichtung jedoch zur Erhöhung der Durchmischung verstärkt und nutzbar gemacht werden, ist es vorteilhaft, gemäss Fig. 10(h) an dem Schwert 27 ein Mitnahmeelement 50 z.B. in Form eines sich in Längsrichtung des Schwertes 27 erstreckenden, angeschweissten Blechstreifens vorzusehen. Andere Formen von Mitnahmeelementen sind selbstverständlich auch denkbar.
Grösse und Leistung der erfindungsgemässen können in einem weiten Bereich gewählt werden und sind vergleichbar mit Grösse und Leistung des bekannten Schneckenkonusmischers. Der bekannte Schneckenkonusmischer bzw. -trockner gemäss Fig. 1 mit freitragender Mischschnecke wird eingesetzt mit Behältergrössen, die einen Durchmesser der Grundfläche von etwa 1,45 m bis etwa 2,60 m und eine Höhe von etwa 1,70 m bis etwa 3,55 m haben und je nach Behältergrösse einen Nutzinhalt von etwa 450 Liter bis 4000 Liter aufweisen. Wird die Mischschnecke am unteren Ende zusätzlich gelagert, werden Behälter eingesetzt, die einen Durchmesser der Grundfläche von etwa 2,10 m bis etwa 4,80 m und eine Höhe von etwa 2,80 m bis etwa 7,00 m haben und je nach Behältergrösse einen Nutzinhalt von etwa 1700 Liter bis 32000 Liter aufweisen. Vergleichbare Behältergrössen und Nutzinhalte sind auch bei der erfindungsgemässen Rührvorrichtung erreichbar und vorgesehen.
Geht man beim bekannten Schneckenkonusmischer von einem Durchmesser der Mischschnecke von 200 mm, einer Drehzahl der Mischschnecke von 90 U/min und einer Schneckensteigung von 15° aus, ergibt sich eine volumetrische Förderleistung von etwa 28,6 m3/h. Um bei der erfindungsgemässen Rührvorrichtung eine vergleichbare Förderleistung von 28,8 m3/h zu erzielen, kann ein Rührwerkzeug verwendet werden, bei dem drei Schwerter gem. Fig. 5(d) auf einem Drehkreis mit 1800 mm Durchmesser angeordnet sind, die mit einer Drehzahl von 30 U/min um die Behälterachse rotieren und mit Schaufeln bestückt sind, die eine Länge (≈Abstand Schwert-Behälterinnenwand) von 100 mm und einen Anstellwinkel von 15° aufweisen.
Je nach Anwendung und Bedarf kann der Anstellwinkel der Schaufeln (Förderwinkel) zwischen 1° und 45° betragen und auch über die Länge des jeweiligen Schwertes variieren. Die Drehzahl für die Schwerter kann zwischen 5 und 300 U/min betragen. Die Anzahl der Schwerter liegt vorzugsweise zwischen 1 und 20, die Anzahl der Schaufeln zwischen 3 und 100. Die Schaufellänge kann zwischen 5 und 500 mm betragen, die Schaufelbreite zwischen 2 und 500 mm.
Die erfindungsgemässe Rührvorrichtung lässt sich grundsätzlich bei allen Verfahren einsetzen, bei denen ein Rührgut gerührt werden muss. Insbesondere kann die Rührvorrichtung in gleicher Weise und in denselben Anwendungen als robuster und kostengünstiger Mischer eingesetzt werden, wie dies beim bekannten Schneckenkonusmischer der Fall ist. Dasselbe gilt für den Einsatz als Trockner, bei dem der Behälter in an sich bekannter Weise mit beheizbaren Wänden ausgestattet ist und zusätzlich noch Absaugvorrichtungen oder dgl. an den Behälter angeschlossen sein können. Die starr befestigten und um die Behälterachse rotierenden Schaufeln übernehmen dabei die Funktion der Mischschnecke. Gegen über der Mischschnecke haben sie den wesentlichen Vorteil einer stark vereinfachten und robusten Mechanik, bei welcher die Gefahr eine Kontaminierung des Rührgutes praktisch beseitigt ist.
BEZEICHNUNGSLISTE
10
Schneckenkonusmischer
11
Behälter
12
Mischraum
13
Mischerboden
14
Deckel
15
Mischschnecke
16
Umlenkgetriebe
17
Schwenkarm
18
Welle (Schwenkarm)
19
Getriebeeinheit
20
Antriebsmotor (Schwenkwelle)
21
Antriebsmotor (Mischschnecke)
22
Rührvorrichtung
23
Behälter
24
Innenraum (Behälter)
25
Behälterboden
26
Deckel
27;27a,b,c
Schwert
28;28a,b
Schaufel
29;29a,b,c
Schwenkarm
30
Welle
31
Getriebeeinheit
32
Antriebsmotor
33
Behälterteil (zylindrisch)
34
Behälterteil (konisch)
35,36
Teilabschnitt (Schwert 27)
37,38
Teilabschnitt (Schwert 27)
39
Behälterboden (eben)
40,41
Teilabschnitt (Schwert 27)
42
Behälterboden (gewölbt)
43
Welle
44
Stromstörelement
45
Achse (Mischer)
46
Achse (Mischschnecke)
47
Achse (Rührvorrichtung 22)
48
Innenschaufel
49
Schneide
50
Mitnahmeelement

Claims (23)

  1. Vorrichtung (22) zum Rühren eines Rührgutes, umfassend einen Behälter (23) zur Aufnahme des Rührgutes und ein im Behälter (23) um eine senkrechte Achse (47) drehbar angeordnetes Rührwerkzeug (27; 27a,b,c; 28; 28a,b; 29; 29a,b,c; 48), welches das Rührgut beim Rührvorgang an der Innenwand des Behälters (23) nach oben transportiert, dadurch gekennzeichnet, dass das Rührwerkzeug an der Innenwand des Behälters (23) entlanggeführte Schaufeln (28; 28a,b; 48) umfasst, welche starr mit wenigstens einem um die Achse (47) drehbaren Schwenkarm (29; 29a,b,c) verbunden sind.
  2. Rührvorrichtung nach Anspruch 1, dadurch gekennzeichnet, dass das Rührwerkzeug wenigstens ein parallel zur Innenwand des Behälters (23) verlaufendes und mit dem wenigstens einen Schwenkarm (29; 29a,b,c) starr verbundenes Schwert (27; 27a,b,c) umfasst, an welchem die Schaufeln (28; 28a,b; 48) seitlich und in Längsrichtung des Schwertes (27; 27a,b,c) übereinander angeordnet sind.
  3. Rührvorrichtung nach Anspruch 2, dadurch gekennzeichnet, dass das wenigstens eine Schwert (27; 27a,b,c) von der Innenwand des Behälters (23) beabstandet ist, und dass die Schaufeln (28; 28a,b) zwischen dem Schwert (27; 27a,b,c) und der Innenwand des Behälters (23) angeordnet sind.
  4. Rührvorrichtung nach Anspruch 3, dadurch gekennzeichnet, dass auf der von der Innenwand des Behälters (23) abgewandten Seite des Schwertes (27) zusätzlich Innenschaufeln (48) angeordnet sind.
  5. Rührvorrichtung nach einem der Ansprüche 2 bis 4, dadurch gekennzeichnet, dass mehrere mit Schaufeln (28; 28a,b) besetzte Schwerter (27a,b,c) um die Achse (47) herum gleichmässig verteilt angeordnet und mit zugehörigen Schwenkarmen (29a,b,c) starr verbunden sind.
  6. Rührvorrichtung nach Anspruch 5, dadurch gekennzeichnet, dass die Schwerter (27a,b,c) an ihren von den Schwenkarmen (29a,b,c) abgewandten Enden untereinander verbunden sind und einen starren Käfig bilden.
  7. Rührvorrichtung nach einem der Ansprüche 1 bis 6, dadurch gekennzeichnet, dass die Schaufeln (28; 28a,b; 48) als schräg zur Achse (47) gestellte Bleche ausgebildet sind.
  8. Rührvorrichtung nach Anspruch 7, dadurch gekennzeichnet, dass die an der Innenwand des Behälters (23) entlanggeführten Schaufeln (28; 28a,b) an ihrem der Innenwand zugewandten Rand eine Randkontur aufweisen, die der Kontur der Innenwand angepasst ist.
  9. Rührvorrichtung nach Anspruch 2, dadurch gekennzeichnet, dass das wenigstens eine Schwert (27; 27a,b,c) als Flachprofil ausgebildet ist.
  10. Rührvorrichtung nach Anspruch 9, dadurch gekennzeichnet, dass das wenigstens eine Schwert (27; 27a,b,c) koaxial zur Achse (47) gekrümmt ist (Fig. 10(d)).
  11. Rührvorrichtung nach Anspruch 9, dadurch gekennzeichnet, dass das wenigstens eine Schwert (27; 27a,b,c) relativ zur Drehrichtung schräggestellt ist.
  12. Rührvorrichtung nach Anspruch 11, dadurch gekennzeichnet, dass die Schrägstellung so gewählt ist, dass das Rührgut durch das rotierende Schwert (27; 27a,b,c) nach aussen transportiert wird (Fig. 10(e)).
  13. Rührvorrichtung nach Anspruch 10, dadurch gekennzeichnet, dass die Schrägstellung so gewählt ist, dass das Rührgut durch das rotierende Schwert (27; 27a,b,c) nach innen transportiert wird (Fig. 10(f)).
  14. Rührvorrichtung nach Anspruch 9, dadurch gekennzeichnet, dass die in Drehrichtung liegende Kante des wenigstens einen Schwertes (27; 27a,b,c) als Schneide (49) ausgebildet ist (Fig. 10(g)).
  15. Rührvorrichtung nach Anspruch 9, dadurch gekennzeichnet, dass an der Innenseite des wenigstens einen Schwertes (27; 27a,b,c) ein zusätzliches Mitnahmeelement (50) zur Mitnahme von Rührgut während der Drehbewegung angeordnet ist.
  16. Rührvorrichtung nach einem der Ansprüche 1 bis 15, dadurch gekennzeichnet, dass der Behälter (23) einfach konisch ausgebildet ist und sich nach unten hin verjüngt.
  17. Rührvorrichtung nach einem der Ansprüche 1 bis 15, dadurch gekennzeichnet, dass der Behälter (23) in einen obenliegenden zylindrischen Behälterteil (33) und einen daran nach unten anschliessenden konischen Behälterteil (34) unterteilt ist, und dass das Rührwerkzeug bzw. das wenigstens eine Schwert (27; 27a,b,c) in zwei Teilabschnitte (35, 36) unterteilt ist, welche den Innenwänden des jeweiligen Behälterteils (33 bzw. 34) angepasst sind.
  18. Rührvorrichtung nach einem der Ansprüche 1 bis 15, dadurch gekennzeichnet, dass der Behälter (23) zylindrisch ausgebildet ist, und dass das Rührwerkzeug bzw. das wenigstens eine Schwert (27; 27a,b,c) in zwei Teilabschnitte (37, 38 bzw. 40, 41) unterteilt ist, von denen der eine an die Innnenwand des Behälters (23) und der andere an den Behälterboden (39 bzw. 42) angepasst ist.
  19. Rührvorrichtung nach einem der Ansprüche 1 bis 18, dadurch gekennzeichnet, dass die Wände des Behälters (23) und/der das Rührwerkzeug heizbar ausgebildet sind.
  20. Rührvorrichtung nach Anspruch 19, dadurch gekennzeichnet, dass im Inneren des vom Rührwerkzeug bzw. vom wenigstens einen Schwert (27; 27a,b,c) beschriebenen Kreises wenigstens ein Stromstörelement (44) angeordnet ist.
  21. Anwendung der Rührvorrichtung (22) nach einem der Ansprüche 1 bis 18 als Mischer.
  22. Anwendung der Rührvorrichtung (22) nach einem der Ansprüche 1 bis 19 als Kontakttrockner.
  23. Anwendung der Rührvorrichtung (22) nach einem der Ansprüche 1 bis 20 als Rührkessel.
EP99810014A 1998-01-14 1999-01-12 Vorrichtung zum Rühren eines Rührgutes sowie Anwendung der Rührvorrichtung Withdrawn EP0930093A3 (de)

Applications Claiming Priority (2)

Application Number Priority Date Filing Date Title
CH6398 1998-01-14
CH6398 1998-01-14

Publications (2)

Publication Number Publication Date
EP0930093A2 true EP0930093A2 (de) 1999-07-21
EP0930093A3 EP0930093A3 (de) 2001-03-21

Family

ID=4178469

Family Applications (1)

Application Number Title Priority Date Filing Date
EP99810014A Withdrawn EP0930093A3 (de) 1998-01-14 1999-01-12 Vorrichtung zum Rühren eines Rührgutes sowie Anwendung der Rührvorrichtung

Country Status (2)

Country Link
EP (1) EP0930093A3 (de)
JP (1) JPH11276873A (de)

Cited By (6)

* Cited by examiner, † Cited by third party
Publication number Priority date Publication date Assignee Title
CN110339758A (zh) * 2019-08-14 2019-10-18 义乌工商职业技术学院 清洗液混合设备及清洗机
CN112588149A (zh) * 2020-11-23 2021-04-02 上海健康医学院 一种生产中草药牙膏的真空搅拌制膏机
CN114272808A (zh) * 2021-03-16 2022-04-05 卫纳塞德(北京)医疗科技有限公司 一种用于医疗药物配置的搅拌装置
CN117398882A (zh) * 2023-12-14 2024-01-16 山东鲁源化工科技有限公司 一种化工原料混合设备及其混合方法
CN118496923A (zh) * 2024-07-12 2024-08-16 山东惠农玫瑰股份有限公司 一种玫瑰精油提取装置及提取方法
CN119796721A (zh) * 2025-01-03 2025-04-11 中国原子能科学研究院 一种固体物料输送装置

Families Citing this family (1)

* Cited by examiner, † Cited by third party
Publication number Priority date Publication date Assignee Title
NL2013779B1 (en) * 2014-11-12 2016-10-07 Xeikon Ip Bv Stirring apparatus and method for stirring a liquid.

Family Cites Families (5)

* Cited by examiner, † Cited by third party
Publication number Priority date Publication date Assignee Title
US3544081A (en) * 1968-03-15 1970-12-01 Hans A Eckhardt Apparatus for mixing flowable materials
US4274751A (en) * 1980-03-26 1981-06-23 E. I. Du Pont De Nemours And Company Scraped wall agitator
DE3332069A1 (de) * 1983-09-06 1985-03-21 Hoechst Ag Ruehrer fuer wandnahes ruehren
JPS6146230A (ja) * 1984-08-11 1986-03-06 Matsushita Electric Works Ltd 反応釜
JP3648279B2 (ja) * 1995-01-09 2005-05-18 佐竹化学機械工業株式会社 中・高粘度用撹拌翼

Cited By (7)

* Cited by examiner, † Cited by third party
Publication number Priority date Publication date Assignee Title
CN110339758A (zh) * 2019-08-14 2019-10-18 义乌工商职业技术学院 清洗液混合设备及清洗机
CN112588149A (zh) * 2020-11-23 2021-04-02 上海健康医学院 一种生产中草药牙膏的真空搅拌制膏机
CN114272808A (zh) * 2021-03-16 2022-04-05 卫纳塞德(北京)医疗科技有限公司 一种用于医疗药物配置的搅拌装置
CN117398882A (zh) * 2023-12-14 2024-01-16 山东鲁源化工科技有限公司 一种化工原料混合设备及其混合方法
CN117398882B (zh) * 2023-12-14 2024-03-08 山东鲁源化工科技有限公司 一种化工原料混合设备及其混合方法
CN118496923A (zh) * 2024-07-12 2024-08-16 山东惠农玫瑰股份有限公司 一种玫瑰精油提取装置及提取方法
CN119796721A (zh) * 2025-01-03 2025-04-11 中国原子能科学研究院 一种固体物料输送装置

Also Published As

Publication number Publication date
JPH11276873A (ja) 1999-10-12
EP0930093A3 (de) 2001-03-21

Similar Documents

Publication Publication Date Title
EP0802879B1 (de) Vorrichtung zum dosieren von schüttgut
DE2709309C3 (de) Vorrichtung zum Austragen von fließfähigem Gut
DE69201627T2 (de) Einrichtung zum Fördern und volumetrischen Dosieren von Schüttgut.
DE7834517U1 (de) Schneckenfoerderer mit einem zwischenlager
DE60104086T2 (de) Schneckenfördereinrichtung für Flüssigkeiten und/oder Materialbrocken
EP1175828A2 (de) Vertikalmischer für Futter
DE2160410A1 (de) Mischvorrichtung
EP0039427B1 (de) Fördervorrichtung zum Befüllen mit Erntegut des Sammelbehälters eines Mähdreschers
DE2731212A1 (de) Foerderschneckenvorrichtung fuer partikelmaterial
DE1642984A1 (de) Verbesserte Reaktoren fuer viskose Reaktionsteilnehmer
EP3095510B1 (de) Rührwerk und behälter mit rührwerk
DE69501804T2 (de) Trocknungsvorrichtung und -verfahren
DE69105169T2 (de) Feinmahlanlage.
DE2830491C2 (de)
DE2147280C3 (de) Vorrichtung zum Mischen von schüttbarem Erntegut
DE1298401B (de) Zwangsmischer mit lotrecht angeordnetem Mischbehaelter
EP0930093A2 (de) Vorrichtung zum Rühren eines Rührgutes sowie Anwendung der Rührvorrichtung
EP0450012A1 (de) Einrichtung und verfahren zum mischen und/oder granulieren eines gutes.
DE1657111A1 (de) Vorrichtung zur Handhabung von Schuettguetern,insbesondere Getreide
DE1917705C3 (de) Einrichtung zum thermischen Behandeln von flüssigem Material in dünner Schicht
DE3503947C2 (de) Trommel zum Agglomerieren
DE10106798A1 (de) Dosiervorrichtung
DE1291185B (de) Maschine zum Mischen und Foerdern von Schuettgut
DE1945615A1 (de) Verfahren und Anlage zum Verfluessigen und Verruehren raffinierter Schokolade
DE10351529A1 (de) Vorrichtung zum dosierten Beschicken einer Anlage zur Behandlung von Feststoffen, insbesondere einer Biogasanlage, mit Feststoffen

Legal Events

Date Code Title Description
PUAI Public reference made under article 153(3) epc to a published international application that has entered the european phase

Free format text: ORIGINAL CODE: 0009012

AK Designated contracting states

Kind code of ref document: A2

Designated state(s): AT BE CH DE ES FI FR GB IE IT LI NL SE

AX Request for extension of the european patent

Free format text: AL;LT;LV;MK;RO;SI

PUAL Search report despatched

Free format text: ORIGINAL CODE: 0009013

AK Designated contracting states

Kind code of ref document: A3

Designated state(s): AT BE CH CY DE DK ES FI FR GB GR IE IT LI LU MC NL PT SE

AX Request for extension of the european patent

Free format text: AL;LT;LV;MK;RO;SI

RIC1 Information provided on ipc code assigned before grant

Free format text: 7B 01F 7/00 A, 7B 01F 7/16 B, 7B 01F 7/18 B, 7B 01F 15/00 B

AKX Designation fees paid

Free format text: AT BE CH DE ES FI FR GB IE IT LI NL SE

STAA Information on the status of an ep patent application or granted ep patent

Free format text: STATUS: THE APPLICATION IS DEEMED TO BE WITHDRAWN

18D Application deemed to be withdrawn

Effective date: 20010922