EP0917954B1 - Vorrichtung und Verfahren zum Erstellen eines Einzelpositionbezugwertes in einem Druckprozess - Google Patents

Vorrichtung und Verfahren zum Erstellen eines Einzelpositionbezugwertes in einem Druckprozess Download PDF

Info

Publication number
EP0917954B1
EP0917954B1 EP98121184A EP98121184A EP0917954B1 EP 0917954 B1 EP0917954 B1 EP 0917954B1 EP 98121184 A EP98121184 A EP 98121184A EP 98121184 A EP98121184 A EP 98121184A EP 0917954 B1 EP0917954 B1 EP 0917954B1
Authority
EP
European Patent Office
Prior art keywords
signal
unit
speed
drive shaft
position reference
Prior art date
Legal status (The legal status is an assumption and is not a legal conclusion. Google has not performed a legal analysis and makes no representation as to the accuracy of the status listed.)
Expired - Lifetime
Application number
EP98121184A
Other languages
English (en)
French (fr)
Other versions
EP0917954B2 (de
EP0917954A3 (de
EP0917954A2 (de
Inventor
Dale Hiett Jackson
Current Assignee (The listed assignees may be inaccurate. Google has not performed a legal analysis and makes no representation or warranty as to the accuracy of the list.)
Goss International Americas LLC
Original Assignee
Heidelberger Druckmaschinen AG
Priority date (The priority date is an assumption and is not a legal conclusion. Google has not performed a legal analysis and makes no representation as to the accuracy of the date listed.)
Filing date
Publication date
Family has litigation
First worldwide family litigation filed litigation Critical https://patents.darts-ip.com/?family=25523301&utm_source=google_patent&utm_medium=platform_link&utm_campaign=public_patent_search&patent=EP0917954(B1) "Global patent litigation dataset” by Darts-ip is licensed under a Creative Commons Attribution 4.0 International License.
Application filed by Heidelberger Druckmaschinen AG filed Critical Heidelberger Druckmaschinen AG
Publication of EP0917954A2 publication Critical patent/EP0917954A2/de
Publication of EP0917954A3 publication Critical patent/EP0917954A3/de
Application granted granted Critical
Publication of EP0917954B1 publication Critical patent/EP0917954B1/de
Publication of EP0917954B2 publication Critical patent/EP0917954B2/de
Anticipated expiration legal-status Critical
Expired - Lifetime legal-status Critical Current

Links

Images

Classifications

    • BPERFORMING OPERATIONS; TRANSPORTING
    • B41PRINTING; LINING MACHINES; TYPEWRITERS; STAMPS
    • B41FPRINTING MACHINES OR PRESSES
    • B41F13/00Common details of rotary presses or machines
    • B41F13/004Electric or hydraulic features of drives
    • B41F13/0045Electric driving devices
    • BPERFORMING OPERATIONS; TRANSPORTING
    • B41PRINTING; LINING MACHINES; TYPEWRITERS; STAMPS
    • B41FPRINTING MACHINES OR PRESSES
    • B41F13/00Common details of rotary presses or machines
    • B41F13/08Cylinders
    • B41F13/10Forme cylinders
    • B41F13/12Registering devices

Definitions

  • the present invention relates generally to position determination in Printing systems and a control system for a printing press, the Relative positions of drive units in the press controls.
  • a conventional printing press usually consists of a series of Printing units.
  • the relative positions of drive shafts of these printing units must be accurately regulated to ensure accurate registration of the various To ensure printing units so that errors, such as printing register errors, Web tension errors, web-to-web register errors and / or signature section errors can be prevented. Such errors occur at high Print speeds increased.
  • each group of printing units has a drive unit with an input shaft with an output shaft of an electric motor for this Group is connected and driven by this.
  • a Speed control unit generates a speed control signal to control the speed of rotation of the Output shaft of the electric motor.
  • Other groups of printing units as well as not printing points in the printing press can also have drive units.
  • a drive unit of the machine for "master drive” is determined, the one Receives signal that the desired speed of through the printing press shows the running paper web. This signal of the desired speed is sent to the Speed control element of the master drive for controlling the speed of the Drive shaft of the master drive sent. Signals the actual speed and position the drive shaft of the master drive are displayed on the others, as “slave drives” designated drive units transmitted.
  • the speed controller of everyone Follower unit sends a speed control signal based on the actual position of the Drive shafts of the slave drives and the drive shaft of the master drive are based on the Electric motor of the slave drive, which causes the drive shaft of each Follower follows the speed and position of the drive shaft of the master drive.
  • the drive shaft of each slave drive unit is in the same position and has the same speed as the drive shaft of the master drive unit.
  • DE 41 37 979 describes a drive for a printing press with several Printing units, the individual printing units or printing unit groups are mechanically decoupled from each other, each printing unit or each Printing unit group is assigned a drive motor and being on each Printing unit or at each printing unit group a device for speed and / or Rotation angle determination is arranged. It is also a device for Angle control is provided, which is a permissible angular deviation of the individual printing units or printing unit groups from a given Angle setpoint dimensioned such that it at least in the angular position at handing over a sheet is minimal.
  • the respective Angular position of two printing units fed to a microcomputer which continue from a setpoint specification a speed setpoint and one Receives the angle setpoint at which the sheet transfer is to take place, the Microcomputer based on an angular difference between the given Angle setpoint and the angular positions of the printing units torque setpoints calculated such that the permissible angular deviation of the respective Printing units of the specified target value at the sheet transfer is minimal.
  • DD 115 069 discloses a method for starting register control on printing presses with several printing units, whereby the position of elements, for example, gears on at least two printing units by pulse generators is sampled, the phase position or phase shift of a pulse opposite the other pulse, the reference pulse, electronically according to size and direction is determined and the determined value for adjusting an actuator is evaluated becomes.
  • a synchronous controller includes normally a resolver to the angular position of the drive shaft of the Convert slave drive into an electrical output signal. The position of the The slave drive shaft relative to the position of the master drive shaft will then be in correspondence of the electrical output signal generated by the synchronous regulator.
  • Control devices with control compensation such as "Forced control”, “Speed setpoint” and “dp / dt pilot control” are also known.
  • a "Type-3" controller can be used, the one Position error signal (i.e., a difference in the positions of the slave shaft and the master drive shaft) double integrated.
  • a regulator is issued in US 5,049,798 on September 17, 1991.
  • Fig. 1 shows a conventional printing machine 10 with feed mechanisms 12 and 14, one Group 207 of printing units 200 - 206 and a group 23 of printing units 16 - 22, a dryer 24, cooling units 25 and 26 and folding units 28 and 30.
  • Each of the Printing unit groups 207 and 23 and folding units 28 and 30 have one Drive unit. From a master reference signal source 32 a signal, i. H. on Speed command signal generated that the drive unit of group 207 a displays the desired press speed.
  • the drive unit of the Group 207 is designated as the master drive unit.
  • Those belonging to group 23 other drive units and the folding units 28 and 30 are used as subsequent printing units designated that follow the position and speed of the master printing unit.
  • FIGS Groups 207 and 23 shows details regarding the internal components of the drive units in FIGS Groups 207 and 23 and the folding units 28 and 30 and connections between the Drive units and the control reference signal source 32.
  • the Control reference signal source 32 incoming speed command signal in Speed control element 210 of the master drive unit entered in group 207, to control the speed of motor 260.
  • the speed command signal can be an analog or a digital signal.
  • a position encoder 230 determines the Actual position value of a drive shaft 240, which is from the motor 260 of the master drive unit is driven.
  • the Position encoder 230 since the position information output from the position encoder 230 can be used to determine speed information, the Position encoder 230 alternatively also an actual value to the Send speed controller 210 back to ensure that the actual speed the drive shaft 240 of the master drive unit of the desired one Speed corresponds.
  • the speeds and positions of the drive shafts 242-246 of the Follower units are controlled to match speed and position the drive shaft 240 of the master drive unit are adapted. This is through Using the speed of the drive shaft 240 of the master drive unit together with the feedback regarding the positions of the drive shafts 242-248 of the slave drive units relative to the position of the drive shaft 240 of the Master drive unit achieved.
  • the slave drive units have motors 262-266 that are Drive drive shafts 242-246.
  • Position encoders 232-236 determine the actual positions of the drive shafts 242-246 and send corresponding feedback signals to Controllers 222-226, which indicate the specific positions.
  • that of the Position encoders 232-236 produce information for determining both the Speeds as well as the positions of the corresponding drive shafts 242-246 be used.
  • the output signal generated by the position encoder 230 that the Indicates actual position of the drive shaft 240 of the master drive unit is considered a Reference position signal to the controllers 222-226 of the slave drive units of the Printing unit group 23 and sent to the folding units 28 and 30, as shown in Fig. 2.
  • the controllers 222-226 compare the output signal of the position encoder 230 Master drive unit with the output signals of the position encoder 232-236 and send on the basis of this comparison command signals to the speed controllers 212-216, to control the speed of motors 262-266 such that the Drive shafts 242-246 of the slave drive units of the speed and position of the Drive shaft 240 follow the master drive unit.
  • this produces one Impulse for every angular increment of the rotating drive shaft 240 Master drive. So while the drive shaft is rotating, the Position encoder 230 a stream of pulses.
  • the position encoder 230 Number of pulses generated during a time interval indicates by what amount the drive shaft 240 has changed position during this time interval.
  • the Average speed during the time interval can be determined effortlessly by the value of the position change by the duration of the time interval is divided.
  • the angular increase corresponding to a pulse is fixed so that the Position encoder 230 generates 2,048 pulses during each complete revolution.
  • the position encoder 230 is monitored and the pulses generated by it become counted by means of a counter, not shown.
  • the counter usually jumps to Completion of one turn back to zero after counting up to 2,048. In some designs there is a different number of pulses per revolution decisive and in other versions the counter jumps less frequently than after to zero every revolution.
  • the position encoders 232-236 are the same like the position encoder 230.
  • the positions of the encoders 230-236 can be synchronized by simultaneously setting the corresponding counter to zero be reset, e.g. B. when the paper web with slower and constant speed through the printing press.
  • the meters are inside or near the corresponding position encoder.
  • controllers 222-226 for synchronizing the speeds and Positions of the drive shafts of the slave drive units with those of the Drive shaft 240 of the master drive unit are designed, they can not be used are used for problems caused by mechanical malfunctions or control errors on the Drive shaft 240 of the master drive unit arise. Such control errors will arise the. Transfer drive units and there is a tendency that these errors to repeat. Thus, a control error on the master drive shaft can affect the function of the Very badly affect slave drive units. In the event of major faults, the controller performance interrupted or endangered, so that problems in printing, e.g. B. by Register errors can occur.
  • the present invention relates to a method and an apparatus which make it possible to trouble-free speed and position reference signals on drive units in one Printing machine, e.g. B. printing units to send.
  • a device for controlling the printing process of a printing press a first and at least a second drive unit with a respective motor and one respective drive shaft; a first and at least a second position encoder, which each determine the actual position of the respective drive shaft and at least one Generate position encoder signal; a first and at least a second Speed control unit which control the speed of the respective drive shaft; and
  • a first controller is characterized in that the device is a single position reference value unit having at least one single position reference signal based on the desired printing press speed that is generated free by the printing operation triggered disturbances, and sends to the first and at least second controller, the Controller to the respective speed control unit on the single position reference signal and send a control signal based on the respective position encoder signal, and that the Single position reference signal and the position encoder signals each a number of pulses include.
  • a single position reference value unit receives a signal that the displays the desired speed of a web running through the printing press.
  • the Single position reference value unit generates signals that have a correct reference speed and represent an error-free reference position and which the printing press drive units, for.
  • the same Reference signals can be sent to all drive units. Alternatively, separate reference signals can be used be generated for each drive unit and between the individual, for the different Drive signals generated by reference signals can cause inaccuracies Error correction circuits are corrected.
  • Fig. 3 shows an embodiment of a printing press, in which elements that with those of the printing press shown in Fig. 1 are identical to the same Reference signs have been identified. According to the embodiments of the present invention is not one of the printing units of a printing press Leitdruckwerk marked. As shown in Fig. 3, is a single position reference value unit 500 provided by a master reference signal source 32 a Received signal representing the desired printing press speed and a Send single position reference signal to each printing unit. In contrast to that in the 1 and 2, the printing presses shown have each of the printing units 200-206 and 16-22 and each of the folding units 28 and 30 has a separate drive unit.
  • FIGS. 3 and 4 is a drive unit for has any printing unit, it is self-evident to the person skilled in the art that the invention also in a printing press with only one drive unit for all printing units or for any group of printing units can be realized.
  • a single drive unit for a group of printing units can be controlled in the same way as one Drive unit for a single printing unit in the described here Embodiments is controlled.
  • Fig. 4 shows details of the printing machine of Fig. 3, i.e. H. internal components of the Printing units 200-206 and connections between these printing units, the Single position reference value unit 500. and the master reference signal source 32. In contrast to the components shown in FIG.
  • the Drive unit 2 is the drive unit for the printing unit 200 equipped with a regulator 420; thus the inner construction is this Drive unit the same as that shown in the other printing units 202-206 Drive units.
  • Each of the controllers 420-426 in the printing units 200-206 receives this Single position reference signal from the single position reference value unit 500.
  • the Single position reference signal can be an analog or a digital signal.
  • the speeds and positions of the drive shafts 440-446 of the drive units are controlled so that they are displayed by the single position reference signal Adjust the reference speed and position using the Reference speed, along with feedback regarding the positions of the Drive shafts 440-446 of the drive units relative to the reference position.
  • the drive units have motors 460-466 which the Drive drive shafts 440-446.
  • Position encoders 430-436 determine the actual positions of the drive shafts 440-446 and send corresponding feedback signals to controllers 420-426, which indicate the particular positions.
  • the information output from position encoders 430-436 for both determination the speeds as well as the positions of the corresponding ones Drive shafts 440-446 can be used.
  • the controllers 420-426 compare that Single position reference signal with the output of position encoders 430-436 and transmit based on this comparison command signals to the Speed control units 410-416 for controlling the speed of the Motors 460-466, so that the drive shafts 440-446 of the drive units of the by the Single position reference signal follow displayed speed and position. Consequently the drive shafts 440-446 are affected by temporary mechanical disturbances in the Print operation not affected.
  • the printing units 16-22 and the folding units 28 and 30 are of the same configuration and offer the same advantages.
  • Fig. 5 shows a second embodiment of the invention with an exemplary internal configuration of the single position reference value unit 500 which one Vibration generator 502, a divider / multiplier 504 and a filter / amplifier device 506 includes.
  • the vibrator 502 generates one Time signal corresponding to that received from the control reference signal source 32 Signal that represents the desired press speed, divided or is multiplied.
  • the filter / amplifier device 506 filters noise from the Divider / multiplier 504 output signal and sends the resultant Single position reference signal to the controllers of the printing units.
  • the filter / amplifier device 506 also amplifies the signal in each of the users desired way so that it is compatible with the controls in the printing units.
  • the Single position reference value unit 500 can be realized by only electronic components are used, they can be a solid state device or be an analog device.
  • Each pulse of that output from the single position reference value unit 500 Single position reference signal represents an angular increase by which there is a Drive shaft must move.
  • the angle increase has a predetermined value. Consequently indicates the number of times in the single position reference signal within a time interval impulses indicate a change in the reference position during this time interval and the frequency of the pulses indicates a reference speed or Reference angular velocity.
  • FIG. 5 shows in the printing unit 200 a counter / scanner 508 which is connected to the controller 420 and to position encoder 430 and can be used to adjust the Processing ability of the controller 420 to supplement and / or information from To provide position encoders 430 in a more useful form.
  • the counter / scanner 508 can, for example, generate a signal that corresponds to the number of position increases which the drive shaft 440 has moved during a time interval, i. H. the Displays the number of position changes during the time interval.
  • Controller 420 includes a counter (not shown) that is used by the single position reference value unit 500 received impulses counts with those of the Counter / sampler 508 counted pulses can be compared to one possible Phase difference between the reference position and the position of the drive shaft 440 determine.
  • the counter can also be inside the divider / multiplier 504 mounted in the single position reference value unit 500 be so that the signal output of unit 500 is a pulse number.
  • Controller 420 can also received a delay compensation signal to unwanted To compensate for signal delays or inaccuracies occurring in the system.
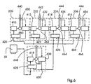
  • Fig. 6 shows a third embodiment of the invention, the configuration of the Single position reference value unit 600 which includes one motor 668, one Drive shaft 648, a position encoder 638, a speed control unit 618 and includes a controller 628.
  • the internal construction of the single position reference unit 600 is similar to that shown in the printing units 200-206 of FIG. 4, but with a few differences.
  • the drive shaft 648 is not one of the Processes in the printing press and therefore no undesirable mechanical malfunctions in the operation of the printing press, for example Blanket washes, subjected.
  • the drive shaft 648 can e.g. B. with a Operation process (not shown) connected, the straightforward, predictable Has behavioral characteristics and is free from transition disorders, the problems could cause in machine operation.
  • controller 628 receives that desired speed command signal indicating printing press speed from the lead reference signal source.
  • this is from position encoder 638 output signal is the single position reference signal which is sent to the controllers 420-426 Printing units 200-206 is sent.
  • Motor 668 can operate independently of others in the Printing machine used motors can be selected. For example, the Motor 668 can be smaller than motors 460-466 and an auxiliary motor.
  • the controller 628 of the single position reference value unit 600 controls the Speed control unit 618 in that by means of a Speed feedback the speed of the drive shaft 648 as precise as possible is maintained to indicate the desired speed.
  • regulators 420-426 regulate the respective Speed control units of the printing units 200-206 in such a way that the Drive shafts 440-446 the speed and position of drive shaft 648 accurately consequences.
  • Fig. 7 shows a fourth embodiment of the invention.
  • the unit position reference value unit actually consists of components that are within the regulator located, and from connections between the controllers. That is, each of the controls internally generates a single position reference signal which is based on the Speed command signal from the master reference signal source 32 based.
  • each Controller becomes the single position reference signal with the drive shaft speed and the position information obtained from the position encoder of the corresponding one Printing unit is generated, compared. Based on this comparison, the Regulator sends a command signal to a corresponding speed control unit is input so that the drive shaft by the single position reference signal displayed reference speed and position follows.
  • printing unit 200 is selected as a standard unit and that of whose position encoder 430 output signal 700 is from everyone else Printing units used as a standard to which the single position reference signal each of the printing units is periodically adjusted. According to the embodiments the single position reference signals are corrected at one time or standardized if the printing unit chosen as standard does not suffer from transitional faults is influenced.
  • This concept can also be used, for example, when the invention is in an existing printing press is integrated, which is due to original structural Restrictions do not apply to the same single position reference signal on all their drive units can transmit.
  • FIG. 8 shows the internal construction of controller 822 of FIG. 7.
  • a vibrator 800 generates a timing signal in a manner similar to that in FIG. 5 Single position reference value unit 500 shown.
  • the time signal is sent to a divider / multiplier unit 802 sent the the time signal that is on the by the Routing reference signal source 32 received via line 304 Speed command signal based, divided or multiplied, and that too Pulses of the divided or multiplied time signal counts.
  • a Signal setting unit 804 filters noise from the pulse count signal from the divider / multiplier 802 is output, and amplifies the signal accordingly.
  • the Signal setting unit 804 can also set the signal so that it matches the Standard signal 700 is synchronized.
  • the one output from the signal setting unit 804 Signal is a single position reference signal for the print engine 202 and is turned on Position register 808 sent.
  • Position register 808 also receives a signal from counter 806; this signal indicates the number of pulses detected by the Received counter 806 from position encoder 432.
  • the counter 806 may receive a signal generate the number of position increments by which the drive shaft 442 has moved during a time interval, d. H. the number of position changes displays during the time interval.
  • Position register 808 compares that from counter 806 and from Signal setting unit 804 sent signals.
  • the signals represent a change the position of the drive shaft 442 and a change in the reference position during a Time interval and also show the reference speed and the speed the drive shaft 442. Based on this comparison, this creates Position register 808 a command signal that is sent to the speed control unit 412 is sent as is more well known according to the general principles Control functions take place and for example in the controller 22 of that shown in FIG. 2 Printing machine of the prior art is realized.
  • An exemplary implementation of a circuit to correct or Standardizing the single position reference signal generated in controller 822 a counter 818, a comparator 812, an error detector 810, one Error compensator 814 and a correction value limiter 816.
  • counter 818 functions in the same way as counter / scanner 508 in FIG. 5 and counter 806.
  • the printing group 200 is selected as the standard printing group.
  • counter 818 detects the pulses and received from the position encoder 430 of the standard printing unit 200 generates a signal representing the number of position increments by which the Drive shaft 440 has moved during a time interval, i.e. the number of Displays changes in position during the time interval.
  • the signal output from counter 818 and the single position reference signal from of the signal setter 804 are input to the comparator 812 which is the compares the two signals and generates an error signal on the basis of this comparison.
  • the signal output by the comparator 812 is fed into the error detector 810 entered the presence and magnitude of the error between (a) the output signal counter 818, i. H. the position and speed of the drive shaft 440 the standard print engine 200, as indicated by the position encoder 430, and (b) the Reference speed and position as determined by the signal setting unit 804 output single position reference signal shown, detected.
  • the error detector 810 generates a signal indicating the particular error and the signal is converted into a Error compensator 814 input, which generates a control signal, which the Signal setter 804 causes the single position reference signal to be corrected or to the position and speed of the drive shaft 440 of the Standard printing unit 200 to adapt.
  • a correction value limiter 816 can be used with the Error compensator 814 and the signal adjuster 804 are connected to the Correction process by restricting the output signal of the error compensator 814 slow it down.
  • controller 822 can Contain counter 806 and position register 808 and an output signal from Position encoder 432 and another output signal from the Receive signal setter 804.
  • Components like that Vibration generator 800, the divider / multiplier 802, the Signal setting unit 804, the comparator 812, the error detector 810, the Error compensator 814, correction value limiter 816 and counter 818 can be on can be arranged anywhere as long as they remain correctly connected and the output of the signal setting unit 804 to the controller 822, the routing reference signal 304 to the Divider / multiplier 802 passes and the standard position encoder signal 700 to counter 818.
  • the other printing units 204, 206 can be of the same construction and in be operated in the same way as the printing unit 202. If the configuration of the FIG. 8, for example, for the prior art printing machine shown in FIG. 2 is to be used, the printing group 23 and the folding units 28 and 30 2 may have the same construction as the printing unit 202.

Landscapes

  • Engineering & Computer Science (AREA)
  • Mechanical Engineering (AREA)
  • Inking, Control Or Cleaning Of Printing Machines (AREA)

Description

Die vorliegende Erfindung betrifft im allgemeinen die Positionsbestimmung in Drucksystemen und ein Steuersystem für eine Druckmaschine, das Relativpositionen von Antriebseinheiten in der Druckmaschine regelt.
Da von herkömmlichen Rollenrotationsdruckmaschinen, z. B. von den für den Zeitungsdruck verwendeten Maschinen, traditionell kein Druck von hoher Qualität oder Bildschärfe erwartet wurde, ist in der Druckindustrie die Toleranzschwelle für den Druckqualitätsverlust relativ hoch gewesen. Jedoch ist es in zunehmendem Maße erwünscht, die Qualität und Bildschärfe von Druckprodukten zu verbessern, so daß ein Bedarf an Druckmaschinen besteht, die Druckprodukte von hoher Qualität und Bildschärfe liefern können. Normalerweise geht mit der Produktion von Produkten in hoher Qualität eine Verringerung der Druckgeschwindigkeit einher. Dennoch ist es in der Druckindustrie erwünscht, daß Druckmaschinen mit hohen Geschwindigkeiten betrieben werden können. Es hat sich jedoch herausgestellt, daß es eine sehr schwierige Aufgabe ist, den Erfordernissen für Qualität, Bildschärfe und Geschwindigkeit gleichzeitig gerecht zu werden.
Eine herkömmliche Druckmaschine besteht normalerweise aus einer Reihe von Druckwerken. Die Relativpositionen von Antriebswellen dieser Druckwerke müssen akkurat geregelt werden, um eine genaue Registerhaltigkeit der verschiedenen Druckwerke zu gewährleisten, so daß Fehler, wie Druckregisterfehler, Bahnspannungsfehler, Bahn-zu-Bahn-Registerfehler und/oder Signaturabschnittfehler verhindert werden können. Solche Fehler treten nämlich bei hohen Druckgeschwindigkeiten verstärkt auf.
In gewissen Druckmaschinen besitzt jede Gruppe von Druckwerken eine Antriebseinheit mit einer Antriebswelle, die mit einer Abtriebswelle eines Elektromotors für diese Gruppe verbunden ist und von dieser angetrieben wird. Eine Geschwindigkeitssteuereinheit erzeugt ein Geschwindigkeitssteuersignal zur Steuerung der Drehgeschwindigkeit der Abtriebswelle des Elektromotors. Weitere Gruppen von Druckwerken sowie auch nicht druckende Stellen in der Druckmaschine können ebenfalls Antriebseinheiten besitzen. Gewöhnlich wird eine Antriebseinheit der Maschine zum "Leitantrieb" bestimmt, der ein Signal empfängt, das die gewünschte Geschwindigkeit der durch die Druckmaschine laufenden Papierbahn anzeigt. Dieses Signal der gewünschten Geschwindigkeit wird an das Geschwindigkeitssteuerorgan des Leitantriebs zur Steuerung der Geschwindigkeit der Antriebswelle des Leittantriebs gesandt. Signale, die die Ist-Geschwindigkeit und Position der Antriebswelle des Leitantriebs anzeigen, werden auf die anderen, als "Folgeantriebe" bezeichnete Antriebseinheiten übertragen. Das Geschwindigkeitssteuerorgan einer jeden Folgeantriebseinheit sendet ein Geschwindigkeitssteuersignal, das auf der Ist-Position der Antriebswellen der Folgeantriebe und der Antriebswelle des Leitantriebs beruht, an den Elektromotor des Folgeantriebs, was bewirkt, daß die Antriebswelle des jeweiligen Folgeantriebs der Geschwindigkeit und Position der Antriebswelle des Leitantriebs folgt. Im idealen Fall ist die Antriebswelle jeder Folgeantriebseinheit in der gleichen Position und hat die gleiche Geschwindigkeit wie die Antriebswelle der Leitantriebseinheit.
DE 41 37 979 beschreibt einen Antrieb für eine Druckmaschine mit mehreren Druckwerken, wobei die einzelnen Druckwerke oder Druckwerksgruppen mechanisch voneinander entkoppelt sind, wobei jedem Druckwerk bzw. jeder Druckwerksgruppe ein Antriebsmotor zugeordnet ist und wobei an jedem Druckwerk bzw. an jeder Druckwerksgruppe eine Vorrichtung zur Drehzahlund/oder Drehwinkelermittlung angeordnet ist. Es ist weiterhin eine Vorrichtung zur Winkelregelung vorgesehen, die eine zulässige Drehwinkelabweichung der einzelnen Druckwerke bzw. Druckwerksgruppen von einem vorgegebenen Winkelsollwert derart bemisst, dass sie zumindest bei der Drehwinkelstellung, bei der eine Bogenübergabe erfolgt, minimal ist. Dabei wird die jeweilige Winkelstellung zweier Druckwerke einem Mikrorechner zugeführt, welcher weiterhin von einer Sollwertvorgabe einen Drehzahlsollwert und einen Winkelsollwert erhält, bei dem die Bogenübergabe stattfinden soll, wobei der Mikrorechner anhand einer Winkeldifferenz zwischen dem vorgegebenen Winkelsollwert und den Winkelstellungen der Druckwerke Drehmomentsollwerte berechnet, derart, dass die zulässige Drehwinkelabweichung der jeweiligen Druckwerke von dem vorgegebenen Sollwert bei der Bogenübergabe minimal ist.
DD 115 069 offenbart ein Verfahren zur Anfahrregisterregelung an Druckmaschinen mit mehreren Druckwerken, wobei laufend die Stellung von Elementen, beispielsweise Zahnrädern an wenigstens zwei Druckwerken durch Impulsgeber abgetastet wird, die Phasenlage bzw. Phasenverschiebung eines Impulses gegenüber dem anderen Impuls, dem Bezugsimpuls, nach Größe und Richtung elektronisch ermittelt wird und der ermittelte Wert zur Verstellung eines Stellgliedes ausgewertet wird.
Es gibt viele Arten von Regeleinrichtungen, um die Position der Antriebswelle eines Folgeantriebs relativ zur Position der Antriebswelle eines Leitantriebs zu regeln, wie beispielsweise phasenstarre Regler und Gleichlaufregler. Ein Gleichlaufregler umfaßt normalerweise einen Drehmelder, um die Winkelposition der Antriebswelle des Folgeantriebs in ein elektrisches Ausgangssignal umzuwandeln. Die Position der Folgeantriebswelle relativ zur Position der Leitantriebswelle wird dann in Entsprechung des vom Gleichlaufregler erzeugten elektrischen Ausgangssignals geregelt. Regeleinrichtungen mit einem Steuerungsausgleich, wie beispielsweise "Zwangssteuerung", "Drehzahl-Soll-Wert" und "dp/dt Vorsteuerung" sind ebenfalls bekannt. Außerdem kann auch ein "Typ-3" Regler verwendet werden, der ein Positionsfehlersignal (d. h. einen Differenzwert in den Positionen der Folgeantriebswelle und der Leitantriebswelle) doppelt integriert. Solch ein Regler ist in US 5,049,798, erteilt am 17. September 1991, beschrieben.
Fig. 1 zeigt eine herkömmliche Druckmaschine 10 mit Einzugswerken 12 und 14, eine Gruppe 207 von Druckwerken 200 - 206 und eine Gruppe 23 von Druckwerken 16 - 22, einen Trockner 24, Kühleinheiten 25 und 26 und Falzeinheiten 28 und 30. Jede der Druckwerksgruppen 207 und 23 und Falzeinheiten 28 und 30 besitzt eine Antriebseinheit. Von einer Leit-Bezugssignalquelle 32 wird ein Signal, d. h. ein Geschwindigkeitsbefehlssignal erzeugt, das der Antriebseinheit der Gruppe 207 eine gewünschte Druckmaschinengeschwindigkeit anzeigt. Die Antriebseinheit der Gruppe 207 wird als Leitantriebseinheit designiert. Die zur Gruppe 23 gehörenden anderen Antriebseinheiten und die Falzeinheiten 28 und 30 werden als Folgedruckwerke designiert, die der Positition und Geschwindigkeit des Leitdruckwerks folgen.
Fig. 2 zeigt Details bezüglich der inneren Komponenten der Antriebseinheiten in den Gruppen 207 und 23 und den Falzeinheiten 28 und 30 und Verbindungen zwischen den Antriebseinheiten und der Leitbezugssignalquelle 32. Insbesondere wird das von der Leitbezugssignalquelle 32 kommende Geschwindigkeitsbefehlssignal in ein Geschwindigkeitssteuerorgan 210 der Leitantriebseinheit in der Gruppe 207 eingegeben, um die Geschwindigkeit des Motors 260 zu steuern. Das Geschwindigkeitsbefehlssignal kann ein analoges oder ein digitales Signal sein. Ein Positionskodierer 230 bestimmt den Positions-Ist-Wert einer Antriebswelle 240, die vom Motor 260 der Leitantriebseinheit angetrieben wird. Da die vom Positionskodierer 230 ausgegebene Positionsinformation zur Ermittlung von Geschwindigkeitsinformation benutzt werden kann, so kann der Positionskodierer 230 alternativ auch einen Ist-Wert an das Geschwindigkeitssteuerorgan 210 zurücksenden, um zu gewährleisten, daß die Ist-Geschwindigkeit der Antriebswelle 240 der Leitantriebseinheit der gewünschten Geschwindigkeit entspricht.
Die Geschwindigkeiten und Positionen der Antriebswellen 242-246 der Folgeantriebseinheiten werden derart gesteuert, daß sie der Geschwindigkeit und Position der Antriebswelle 240 der Leitantriebseinheit angepaßt sind. Dies wird durch Verwendung der Geschwindigkeit der Antriebswelle 240 der Leitantriebseinheit zusammen mit der Rückmeldung bezüglich der Positionen der Antriebswellen 242-248 der Folgeantriebseinheiten relativ zur Position der Antriebswelle 240 der Leitantriebseinheit erzielt.
Wie in Fig. 2 gezeigt, weisen die Folgeantriebseinheiten Motoren 262-266 auf, die die Antriebswellen 242-246 antreiben. Positionskodierer 232-236 bestimmen die Ist-Positionen der Antriebswellen 242-246 und senden entsprechende Rückmeldesignale an Regler 222-226, die die bestimmten Positionen anzeigen. Wie oben bezüglich des Positionskodierers 230 der Leitantriebseinheit erwähnt, kann die von den Positionskodierern 232-236 erzeugte Information für die Bestimmung sowohl der Geschwindigkeiten als auch der Positionen der korrespondierenden Antriebswellen 242-246 verwendet werden. Das vom Positionskodierer 230 erzeugte Outputsignal, das die Ist-Position der Antriebswelle 240 der Leitantriebseinheit anzeigt, wird als ein Bezugspositionssignal an die Regler 222-226 der Folgeantriebseinheiten der Druckwerksgruppe 23 und an die Falzeinheiten 28 und 30 gesandt, wie in Fig. 2 gezeigt. Die Regler 222-226 vergleichen das Ausgangssignal des Positionskodierers 230 der Leitantriebseinheit mit den Ausgangssignalen der Positionskodierer 232-236 und senden auf der Basis dieses Vergleichs Befehlssignale an die Geschwindigkeitssteuerorgane 212-216, um die Geschwindigkeit der Motoren 262-266 derart zu steuern, daß die Antriebswellen 242-246 der Folgeantriebseinheiten der Geschwindigkeit und Position der Antriebswelle 240 der Leitantriebseinheit folgen.
Gemäß einem Ausführungsbeispiel des Positionskondierers 230 erzeugt dieser einen Impuls für jeden Winkelzuwachs der sich drehenden Antriebswelle 240 der Leitantriebseinheit. Während sich also die Antriebswelle dreht, erzeugt der Positionskodierer 230 einen Strom von Impulsen. Die vom Positionskodierer 230 während eines Zeitintervalls erzeugte Anzahl von Impulsen deutet an, um welchen Betrag die Antriebswelle 240 ihre Position während dieses Zeitintervalls verändert hat. Die Durchschnittsgeschwindigkeit während des Zeitintervalls kann mühelos bestimmt werden, indem der Wert der Positionsveränderung durch die Dauer des Zeitintervalls dividiert wird.
Der einem Impuls entsprechende Winkelzuwachs ist festgelegt, so daß der Positionskodierer 230 während jeder vollständigen Umdrehung 2.048 Impulse erzeugt. Der Positionskodierer 230 wird überwacht und die durch ihn erzeugten Impulse werden mittels eines nicht gezeigten Zählers gezählt. Der Zähler springt gewöhnlich bei Beendigung einer Umdrehung wieder auf Null zurück, nachdem er bis 2.048 gezählt hat. Bei manchen Ausführungen ist eine andere Anzahl von Impulsen pro Umdrehung maßgebend und bei anderen Ausführungen springt der Zähler weniger häufig als nach jeder Umdrehung auf Null zurück. Die Positionskodierer 232-236 sind in gleicher Weise wie der Positionskodierer 230 ausgeführt. Die Positionen der Kodierer 230-236 können synchronisiert werden, indem die korrespondierenden Zähler gleichzeitig auf Null zurückgesetzt werden, z. B. dann, wenn sich die Papierbahn mit langsamer und konstanter Geschwindigkeit durch die Druckmaschine bewegt. Danach bedeutet jegliche Wertdifferenz der Zähler eine Phasen- oder Positionsdifferenz. Wenn beispielsweise der mit dem Positionskodierer 230 der Leitantriebseinheit korrespondierende Zähler zu einem bestimmten Zeitpunkt einen Wert von 1.000 anzeigt und der Wert des mit dem Positionskodierer 232 der Folgeantriebseinheit korrespondierenden Zählers 795 ist, dann bleibt zu diesem Zeitpunkt die Antriebswelle 242 der Folgeantriebseinheit hinter der Position der Antriebswelle 240 der Leitantriebseinheit um 205 Winkelzuwachspunkte oder um 36° zurück. Durch Computer-Software werden beim Zurückschalten der Zähler vorhandene Phasendifferenzen präzise verfolgt, auch wenn diese größer als eine vollständige Umdrehung sind. In der in Fig. 2 gezeigten Druckmaschine besitzt jeder der Regler 222-226 einen nicht gezeigten Zähler, der die vom Positionskodierer 230 der Leitantriebseinheit erzeugten Impulse zählt und einen nicht gezeigten Zähler, der die von einem der Positionskodierer 232-236 der Folgeantriebseinheiten erzeugten Impulse zählt. In manchen Ausführungen befinden sich die Zähler innerhalb oder in der Nähe der korrespondierenden Positionskodierer.
Obwohl die Regler 222-226 für das Synchronisieren der Geschwindigkeiten und Positionen der Antriebswellen der Folgeantriebseinheiten mit denen der Antriebswelle 240 der Leitantriebseinheit konzipiert sind, können sie nicht verwendet werden für Probleme, die durch mechanische Störungen oder Steuerungsfehler an der Antriebswelle 240 der Leitantriebseinheit entstehen. Solche Steuerungsfehler werden auf die. Folgeantriebseinheiten übertragen und es besteht die Tendenz, daß sich diese Fehler wiederholen. Somit kann ein Steuerungsfehler an der Leitantriebswelle die Funktion der Folgeantriebseinheiten sehr beeinträchtigen. Bei großen Störungen ist die Regler-Leistung unterbrochen oder gefährdet, so daß Probleme im Druckbetrieb, z. B. durch Registerfehler auftreten können.
Zu den Ereignissen, die während des Druckbetriebs Geschwindigkeits- und Positionsstörungen verursachen können, gehört z. B. eine "Gummituch-Wäsche". Beim Waschen eines Gummituchs wird angesammelter Schmutz und Fusseln von der Gummituchwalze in der Druckmaschine abgewaschen oder abgebürstet. Wenn eine Gummituchwäsche an einer Leitantriebseinheit durchgeführt wird, können Störungen in der Geschwindigkeit und Position der Antriebswelle 240 der Leitantriebseinheit auftreten, die dann auf die Folgeeinheiten übertragen werden, so daß der reibungslose Druckbetrieb der Maschine nicht mehr möglich ist und Makulatur und eine geringere Druckqualität die Folgen sind. Andere Vorgänge im Druckbetrieb können ebenfalls Störungen verursachen, so z. B. wenn eine neue Papierbahn mit der vorhandenen Bahn verbunden wird oder wenn die Bahn beim Falzvorgang geschnitten wird.
Da Fehler an einer Leiteinheit auf die Folgeeinheiten übertragen werden, wird gewöhnlich eine Einheit der Druckmaschine, an welcher die wenigsten Fehler und die geringsten Fehlergrößen auftreten, als Leiteinheit gewählt. Wenn z. B. eine Druckmaschine Zuführeinheiten, Druckwerke, Trockeneinheiten, Kühlwalzeneinheiten und Falzeinheiten umfaßt, wie in Fig. 1 gezeigt, wird gewöhnlich eines der Druckwerke anstelle eine der Falzeinheiten als Leiteinheit gewählt, weil der Schneidvorgang an einer Falzeinheit eine viel größere Übergangsstörung als der Gummituch-Waschvorgang in einem Druckwerk verursachen kann.
Wenn auch die bedienenden Personen versuchen, den Betrieb von Druckmaschinen so stoßfrei wie möglich zu halten und somit die an der Leitantriebseinheit auftretenden Übergangsstörungen zu minimieren, treten diese dennoch auf. Wenn Störungen in Erscheinung treten, werden filternde Netzwerke und Bezugswert-Totzonen solange verwendet, bis die Störungen identifiziert und korrigiert sind. Die sich durch die Störungen ergebende Makulatur und geringere Druckqualität werden als selbstverständlich in Kauf genommen. Es ist jedoch wünschenswert, eine Druckmaschine zu schaffen, bei der die Effekte von Übergangsstörungen reduziert oder eliminiert sind, so daß eine verbesserte Druckqualität und weniger Makulatur auch bei höheren Maschinengeschwindigkeiten erzielt werden kann.
Die vorliegende Erfindung betrifft ein Verfahren und eine Vorrichtung, die es ermöglichen, störungsfreie Geschwindigkeits- und Positions-Bezugswertsignale an Antriebseinheiten in einer Druckmaschine, z. B. Druckwerke, zu senden.
Eine erfindungsgemäße Vorrichtung zur Steuerung des Druckprozesses einer Druckmaschine mit einer ersten und mindestens einer zweiten Antriebseinheit mit einem jeweiligen Motor und einer jeweiligen Antriebswelle; einem ersten und mindestens einem zweiten Positionscodierer, welche jeweils die Ist-Position der jeweiligen Antriebswelle bestimmen und mindestens ein jeweiliges Positionskodierer-Signal erzeugen; einer ersten und mindestens einer zweiten Geschwindigkeitssteuereinheit, die die Geschwindigkeit der jeweiligen Antriebswelle steuern; und einem ersten Regler, zeichnet sich dadurch aus, daß die Vorrichtung eine Einzelposition-Bezugwert-Einheit aufweist, die mindestens ein Einzelposition-Bezugssignal auf der Basis der gewünschten Druckmaschinengeschwindigkeit erzeugt, das frei von durch den Druckbetrieb ausgelösten Störungen ist, und an den ersten und mindestens zweiten Regler sendet, wobei die Regler an die jeweilige Geschwindigkeitssteuereinheit ein auf dem Einzelposition-Bezugssignal und dem jeweiligen Positionskodierer-Signal basierendes Steuersignal senden, und daß das Einzelposition-Bezugssignal und die Positionskodierer-Signale jeweils eine Anzahl von Impulsen umfassen.
Dabei ist eine Einzelposition-Bezugswert-Einheit vorgesehen, die ein Signal empfängt, das die gewünschte Geschwindigkeit einer durch die Druckmaschine laufenden Bahn anzeigt. Die Einzelposition-Bezugswert-Einheit erzeugt Signale die eine fehlerfreie Bezugsgeschwindigkeit und eine fehlerfreie Bezugsposition darstellen und die die Druckmaschinen-Antriebseinheiten, z. B. die Druckwerke, steuern, ohne daß Fehler, die sich aus den mit mechanischen Störungen im Druckbetrieb zusammenhängenden Übergangszuständen ergeben, vergrößert werden. Die gleichen Bezugssignale können an alle Antriebseinheiten ergehen. Alternativ können separate Bezugssignale für jede Antriebseinheit erzeugt werden und zwischen den einzelnen, für die verschiedenen Antriebseinheiten erzeugten Bezugssignalen auftretende Ungenauigkeiten können durch Fehlerkorrektur-Schaltkreise korrigiert werden.
Ein erfindungsgemäßes Verfahren zum Steuern des Druckprozesses einer Druckmaschine, mit den folgenden Schritten:
  • Bestimmen der Position einer jeweiligen Antriebswelle einer ersten und mindestens einer zweiten Antriebseinheit der Druckmaschine mit einem jeweiligen Positionskodierer und Senden eines jeweiligen Positionskodierer-Signals an einen Regler; und Steuern der Drehzahl der jeweiligen Antriebswelle mit einer jeweiligen Geschwindigkeitssteuereinheit, zeichnet sich aus durch:
  • Erzeugen eines auf der gewünschten Druckmaschinengeschwindigkeit basierten Einzelposition-Bezugssignals, das frei von durch den Druckbetrieb ausgelösten Störungen ist, und eine Anzahl von Impulsen umfaßt;
  • Senden des Einzelpositions-Bezugssignals an jeweilige Regler; und Senden eines jeweiligen Signals auf der Basis des Einzelposition-Bezugssignals und des jeweiligen, eine Anzahl von Impulsen umfassenden Positionskodierer-Signals an die jeweilige Geschwindigkeitssteuereinheit.
  • Die vorliegende Erfindung wird in der folgenden Beschreibung bevorzugter Ausführungsbeispiele im Zusammenhang mit den beigefügten, nachstehend aufgeführten Zeichnungen näher erläutert:
    Es zeigen:
    Fig. 1
    ein Blockdiagramm einer Druckmaschine des oben beschriebenen Standes der Technik;
    Fig. 2
    ein Blockdiagramm, das die interne Konstruktion einiger Elemente der in Fig. 1 dargestellten Druckmaschine zeigt;
    Fig. 3
    ein Blockdiagramm einer Druckmaschine gemäß einem ersten Ausführungsbeispiel der Erfindung;
    Fig. 4
    ein Blockdiagramm, das die interne Konstruktion einiger in Fig. 3 dargestellten Druckwerke zeigt;
    Fig. 5
    ein Blockdiagramm einer Druckmaschine gemäß einem zweiten Ausführungsbeispiel der Erfindung;
    Fig. 6.
    ein Blockdiagramm einer Druckmaschine gemäß einem dritten Ausführungsbeispiel der Erfindung;
    Fig. 7
    ein Blockdiagramm einer Druckmaschine gemäß einem vierten Ausführungsbeispiel der Erfindung;
    Fig. 8
    ein Blockdiagramm, das die interne Konstruktion von in Fig. 7 dargestellten Reglern zeigt.
    Fig. 3 zeigt ein Ausführungsbeispiel einer Druckmaschine, in welcher Elemente, die mit denen der in Fig. 1 gezeigten Druckmaschine identisch sind, mit den gleichen Bezugszeichen gekennzeichnet wurden. Gemäß den Ausführungsbeispielen der vorliegenden Erfindung ist keine der Druckwerke einer Druckmaschine als Leitdruckwerk gekennzeichnet. Wie in Fig. 3 gezeigt, ist eine Einzelposition-Bezugswert-Einheit 500 vorgesehen, die von einer Leitbezugssignalquelle 32 ein eine gewünschte Druckmaschinengeschwindigkeit darstellendes Signal empfängt und ein Einzelposition-Bezugssignal an jedes Druckwerk sendet. Im Gegensatz zu der in den Fig. 1 und 2 gezeigten Druckmaschinen besitzt jedes der Druckwerke 200-206 und 16-22 und jede der Falzeinheiten 28 und30 eine separate Antriebseinheit.
    Wenn auch das in den Fig. 3 und 4 gezeigte Ausführungsbeispiel eine Antriebseinheit für jedes Druckwerk aufweist, ist es für den Fachmann selbstverständlich, daß die Erfindung auch in einer Druckmaschine mit nur einer Antriebseinheit für alle Druckwerke oder für jede Gruppe von Druckwerken realisiert werden kann. Eine einzige Antriebseinheit für eine Gruppe von Druckwerken kann in der gleichen Weise gesteuert werden, wie eine Antriebseinheit für ein einzelnes Druckwerk in den hier beschriebenen Ausführungsbeispielen gesteuert wird. Fig. 4 zeigt Einzelheiten des Druckmaschine der Fig. 3, d. h. interne Komponenten der Druckwerke 200-206 und Verbindungen zwischen diesen Druckwerken, die Einzelposition-Bezugswert-Einheit 500.und die Leitbezugssignalquelle 32. Im Gegensatz zu den in Fig. 2 gezeigten Komponenten ist die Antriebseinheit für das Druckwerk 200 mit einem Regler 420 ausgestattet; somit ist die innere Konstruktion dieser Antriebseinheit die gleiche wie die der in den Druckwerken 202-206 gezeigten anderen Antriebseinheiten. Jeder der Regler 420-426 in den Druckwerken 200-206 empfängt das Einzelposition-Bezugssignal von der Einzelposition-Bezugswert-Einheit 500. Das Einzelposition-Bezugssignal kann ein analoges oder ein digitales Signal sein.
    Die Geschwindigkeiten und Positionen der Antriebswellen 440-446 der Antriebseinheiten werden so gesteuert, daß sie sich der von dem Einzelposition-Bezugssignal angezeigten Bezugsgeschwindigkeit und -position anpassen, und zwar unter Verwendung der Bezugsgeschwindigkeit, zusammen mit der Rückmeldung bezüglich der Positionen der Antriebswellen 440-446 der Antriebseinheiten relativ zur Bezugsposition.
    Wie in Fig. 4 gezeigt, weisen die Antriebseinheiten Motoren 460-466 auf, welche die Antriebswellen 440-446 antreiben. Positionskodierer 430-436 bestimmen die Ist-Positionen der Antriebswellen 440-446 und senden entsprechende Rückmeldesignale an die Regler 420-426, welche die bestimmten Positionen anzeigen. Wie oben mit Bezug auf den Positionskodierer 230 der in Fig. 2 gezeigten Leitantriebseinheit erwähnt, kann die von den Positionskodierern 430-436 ausgegebene Information zur Bestimmung sowohl der Geschwindigkeiten als auch der Positionen der korrespondierenden Antriebswellen 440-446 verwendet werden. Die Regler 420-426 vergleichen das Einzelposition-Bezugssignal mit dem Output der Positionskodierer 430-436 und senden auf der Basis dieses Vergleichs Befehlssignale an die Geschwindigkeitssteuereinheiten 410-416 zur Steuerung der Geschwindigkeit der Motoren 460-466, so daß die Antriebswellen 440-446 der Antriebseinheiten der von dem Einzelposition-Bezugssignal angezeigten Geschwindigkeit und Position folgen. Somit werden die Antriebswellen 440-446 von vorübergehenden mechanischen Störungen im Druckbetrieb nicht beeinflußt. Die Druckwerke 16-22 und die Falzeinheiten 28 und 30 sind von gleicher Konfiguration und bieten die gleichen Vorteile.
    Fig. 5 zeigt ein zweites Ausführungsbeispiel der Erfindung mit einer exemplarischen inneren Konfiguration der Einzelposition-Bezugswert-Einheit 500, die einen Schwingungserzeuger 502, eine Dividier-/Multipliziereinrichtung 504 und eine Filter/Verstärkereinrichtung 506 umfaßt. Der Schwingungserzeuger 502 erzeugt ein Zeitsignal, das in Entsprechung des von der Leitbezugssignalquelle 32 empfangenen Signals, welches die gewünschte Druckmaschinengeschwindigkeit darstellt, dividiert oder multipliziert wird. Die Filter-/Verstärkereinrichtung 506 filtert Lärm aus dem von der Dividier-/Multipliziereinrichtung 504 ausgegebenen Signal und sendet das resultierende Einzelposition-Bezugssignal an die Regler der Druckwerke. Die Filter/Verstärkereinrichtung 506 verstärkt auch das Signal in jeder vom Anwender gewünschten Weise, so daß es mit den Reglern in den Druckwerken kompatibel ist. Die Einzelposition-Bezugswert-Einheit 500 kann realisiert werden, indem ausschließlich elektronische Komponenten verwendet werden, sie kann eine Festkörpereinrichtung oder eine analog wirkende Einrichtung sein.
    Jeder Impuls des von der Einzelposition-Bezugswert-Einheit 500 ausgegebenen Einzelposition-Bezugssignals stellt einen Winkelzuwachs dar, um den sich eine Antriebswelle bewegen muß. Der Winkelzuwachs hat einen vorbestimmten Wert. Somit deutet die Anzahl der in dem Einzelposition-Bezugssignal innerhalb eines Zeitintervalls erfolgenden Impulse eine Änderung der Bezugsposition während dieses Zeitintervalls an und die Frequenz der Impulse deutet eine Bezugsdrehzahl oder Bezugswinkelgeschwindigkeit an.
    Fig. 5 zeigt im Druckwerk 200 einen Zähler/Abtaster 508, der mit dem Regler 420 und dem Positionskodierer 430 verbunden ist und verwendet werden kann, um die Verarbeitungsfähigkeit des Reglers 420 zu ergänzen und/oder Information vom Positionskodierer 430 in einer nützlicheren Form zu liefern. Der Zähler/Abtaster 508 kann beispielsweise ein Signal erzeugen, das die Anzahl der Positionszuwächse, um welche sich die Antriebswelle 440 während eines Zeitintervalls bewegt hat, d. h. die Anzahl der Positionsänderungen während des Zeitintervalls anzeigt.
    Der Regler 420 enthält einen Zähler (nicht gezeigt), der die von der Einzelposition-Bezugswert-Einheit 500 empfangenen Impulse zählt, die mit den von dem Zähler/Abtaster 508 gezählten Impulsen verglichen werden können, um eine mögliche Phasendifferenz zwischen der Bezugsposition und der Position der Antriebswelle 440 festzustellen. Alternativ kann der Zähler auch innerhalb der Dividier/Multipliziereinrichtung 504 in der Einzelposition-Bezugswert-Einheit 500 angebracht sein, so daß das Signaloutput der Einheit 500 eine Impulszahl ist. Der Regler 420 kann auch ein Verzögerungsausgleichssignal empfangen, um unerwünschte Signalverzögerungen oder im System auftretende Ungenauigkeiten zu kompensieren. Wenn sich beispielsweise Druckwerke in unterschiedlichen Abständen von der Einzelposition-Bezugswert-Einheit befinden und/oder mit einer Einzelposition-Bezugswert-Einheit verbunden sind, die unterschiedliche Signalübertragungspfade verwendet, so wird das gleiche Signal von der Einzelposition-Bezugswert-Einheit aufgrund der charakteristischen Unterschiede der Signalübertragungspfade, z. B. der Länge, zu unterschiedlichen Zeitpunkten bei den Druckwerken ankommen. Diese Konfiguration trifft natürlich gleichermaßen auf die Druckwerke 202-206 und 16-22 und auf die Falzeinheiten 28 und30 zu.
    Fig. 6 zeigt ein drittes Ausführungsbeispiel der Erfindung, das eine Konfiguration der Einzelposition-Bezugswert-Einheit 600 enthält, welche einen Motor 668, eine Antriebswelle 648, einen Positionskodierer 638, eine Geschwindigkeitssteuereinheit 618 und einen Regler 628 umfaßt. Die interne Konstruktion der Einzelposition-Bezugswert-Einheit 600 ist ähnlich der, welche in den Druckwerken 200-206 der Fig. 4 gezeigt ist, jedoch mit einigen Unterschieden. Erstens ist die Antriebswelle 648 mit keinem der Vorgänge in der Druckmaschine verbunden und somit keinen unerwünschten mechanischen Störungen im Betrieb der Druckmaschine, beispielsweise Gummituchwäschen, unterworfen. Die Antriebswelle 648 kann z. B. mit einem Betriebsvorgang (nicht gezeigt) verbunden werden, der unkomplizierte, berechenbare Verhaltenscharakteristiken aufweist und frei von Übergangsstörungen ist, die Probleme im Maschinenbetrieb verursachen könnten. Zweitens empfängt der Regler 628 das die gewünschte Druckmaschinengeschwindigkeit anzeigende Geschwindigkeitsbefehlssignal von der Leitbezugssignalquelle. Drittens ist das von dem Positionskodierer 638 ausgegebene Signal das Einzelposition-Bezugssignal, welches an die Regler 420-426 der Druckwerke 200-206 gesandt wird. Der Motor 668 kann unabhängig von anderen in der Druckmaschine verwendeten Motoren gewählt werden. Beispielsweise kann der Motor 668 kleiner als die Motoren 460-466 und ein Hilfsmotor sein.
    Der Regler 628 der Einzelposition-Bezugswert-Einheit 600 regelt die Geschwindigkeitssteuereinheit 618 dadurch, daß mittels einer Geschwindigkeitsrückmeldung die Geschwindigkeit der Antriebswelle 648 so präzise wie möglich aufrechterhalten wird, um die gewünschte Geschwindigkeit anzuzeigen. Im Gegensatz dazu regeln die Regler 420-426 die jeweiligen Geschwindigkeitssteuereinheiten der Druckwerke 200-206 in der Weise, daß die Antriebswellen 440-446 der Geschwindigkeit und Position der Antriebswelle 648 genau folgen.
    Fig. 7 zeigt ein viertes Ausführungsbeispiel der Erfindung. Hier sendet die Leitbezugssignalquelle 32 ein die gewünschte Druckmaschinengeschwindigkeit darstellendes Geschwindigkeitsbefehlssignal direkt an die Regler 720, 822, 724 und 726, die jeweils mit den Druckwerken 200-206 korrespondieren. Die Einzelposition-Bezugswert-Einheit besteht eigentlich aus Komponenten, die sich innerhalb der Regler befinden, und aus Verbindungen zwischen den Reglern. Das heißt, daß jeder der Regler intern ein Einzelposition-Bezugssignal erzeugt, das auf das Geschwindigkeitsbefehlssignal von der Leitbezugssignalquelle 32 basiert. In jedem Regler wird das Einzelposition-Bezugssignal mit der Antriebswellengeschwindigkeit und der Positionsinformation, die von dem Positionskodierer des korrespondierenden Druckwerks erzeugt wird, verglichen. Auf der Basis dieses Vergleichs erzeugt der Regler ein Befehlssignal, das in eine korrespondierende Geschwindigkeitssteuereinheit eingegeben wird, so daß die Antriebswelle der durch das Einzelposition-Bezugssignal angezeigten Bezugsgeschwindigkeit und -position folgt.
    Um Ungenauigkeiten, die sich in einem Zeitraum zwischen Einzelposition-Bezugssignalen ergeben, welche von verschiedenen Reglern erzeugt werden, auszugleichen und um Probleme im Druckprozeß, die solche Ungenauigkeiten zur Folge haben, zu vermeiden, können die in den verschiedenen Reglern erzeugten Einzelposition-Bezugssignale periodisch korrigiert oder standardisiert werden. In diesem Ausführungsbeispiel ist das Druckwerk 200 als eine Standardeinheit gewählt und das von dessen Positionskodierer 430 ausgegebene Signal 700 wird von allen anderen Druckwerken als ein Standard verwendet, an den das Einzelposition-Bezugssignal eines jeden der Druckwerke periodisch angepaßt wird. Gemäß den Ausführungsbeispielen werden die Einzelposition-Bezugssignale zu einem Zeitpunkt korrigiert oder standardisiert, wenn das als Standard gewählte Druckwerk nicht von Übergangsstörungen beeinflußt ist.
    Dieses Konzept kann beispielsweise auch dann verwendet werden, wenn die Erfindung in eine bestehende Druckmaschine integriert wird, die aufgrund ursprünglicher baulicher Einschränkungen nicht auf all ihre Antriebseinheiten das gleiche Einzelposition-Bezugssignal übertragen kann.
    Fig. 8 zeigt die interne Konstruktion des Reglers 822 der Fig. 7. Wie in Fig. 8 gezeigt, erzeugt ein Schwingungserzeuger 800 ein Zeitsignal in ähnlicher Weise wie die in Fig. 5 gezeigte Einzelposition-Bezugswert-Einheit 500. Das Zeitsignal wird an eine Dividier/Multipliziereinheit 802 gesandt, die das Zeitsignal, das auf dem von der Leitbezugssignalquelle 32 über die Leitung 304 empfangenen Geschwindigkeitsbefehlssignal basiert, dividiert oder multipliziert, und die auch die Impulse des dividierten oder multiplizierten Zeitsignals zählt. Eine Signaleinstelleinheit 804 filtert Lärm aus dem Impulszählsignal, das von der Dividier/Multipliziereinheit 802 ausgegeben wird, und verstärkt das Signal entsprechend. Die Signaleinstelleinheit 804 kann auch das Signal derart einstellen, daß es mit dem Standardsignal 700 synchronisiert ist. Das von der Signaleinstelleinheit 804 ausgegebene Signal ist ein Einzelposition-Bezugssignal für das Druckwerk 202 und wird an ein Positionsregister 808 gesandt. Das Positionsregister 808 empfängt ebenfalls ein Signal von einem Zähler 806; dieses Signal zeigt die erfaßte Anzahl von Impulsen an, die der Zähler 806 von dem Positionskodierer 432 empfangen hat. Wie dies beispielsweise bei dem Zähler/Abtaster 508 in Fig. 5 dargestellt ist, kann der Zähler 806 ein Signal erzeugen, das die Anzahl der Positionszuwächse, um welche sich die Antriebswelle 442 während eines Zeitintervalls bewegt hat, d. h. die Anzahl der Positionsänderungen während des Zeitintervalls anzeigt.
    Das Positionsregister 808 vergleicht die vom Zähler 806 und von der Signaleinstelleinheit 804 zugesandten Signale. Die Signale stellen jeweils eine Änderung der Position der Antriebswelle 442 und eine Änderung der Bezugsposition während eines Zeitintervalls dar und zeigen auch die Bezugsgeschwindigkeit und die Geschwindigkeit der Antriebswelle 442 an. Auf der Basis dieses Vergleichs erzeugt das Positionsregister 808 ein Befehlssignal, das an die Geschwindigkeitssteuereinheit 412 gesandt wird, wie dies nach den allgemeinen Grundsätzen wohlbekannter Regelfunktionen erfolgt und beispielsweise in dem Regler 22 der in Fig. 2 gezeigten Druckmaschine des Standes der Technik verwirklicht ist.
    Eine exemplarische Ausführung eines Schaltkreises zum Korrigieren oder Standardisieren des in dem Regler 822 erzeugten Einzelposition-Bezugssignals umfaßt einen Zähler 818, einen Komparator 812, einen Fehlerdetektor 810, einen Fehlerkompensator 814 und einen Korrekturwert-Begrenzer 816. Der Zähler 818 funktioniert in gleicher Weise wie der Zähler/Abtaster 508 in Fig. 5 und der Zähler 806. Das Druckwerk 200 ist als Standarddruckwerk gewählt. Somit erfaßt der Zähler 818 die von dem Positionskodierer 430 des Standarddruckwerks 200 empfangenen Impulse und erzeugt ein Signal, das die Anzahl der Positionszuwächse, um welche sich die Antriebswelle 440 während eines Zeitintervalls bewegt hat, also die Anzahl der Positionsänderungen während des Zeitintervalls anzeigt.
    Das von dem Zähler 818 ausgegebene Signal und das Einzelposition-Bezugssignal von der Signaleinstelleinrichtung 804 werden in den Komparator 812 eingegeben, der die beiden Signale vergleicht und auf der Basis dieses Vergleichs ein Fehlersignal erzeugt. Das vom Komparator 812 ausgegebene Signal wird in den Fehlerdetektor 810 eingegeben, der das Vorhandensein und die Größe des Fehlers zwischen (a) dem Output-Signal des Zählers 818, d. h. der Position und Geschwindigkeit der Antriebswelle 440 des Standarddruckwerks 200, wie vom Positionskodierer 430 angedeutet, und (b) der Bezugsgeschwindigkeit und -position, wie durch das von der Signaleinstelleinheit 804 ausgegebene Einzelposition-Bezugssignal dargestellt, erfaßt. Der Fehlerdetektor 810 erzeugt ein Signal, das den bestimmten Fehler anzeigt, und das Signal wird in einen Fehlerkompensator 814 eingegeben, der ein Steuersignal erzeugt, was die Signaleinstelleinrichtung 804 veranlaßt, das Einzelposition-Bezugssignal zu korrigieren oder an die Position und Geschwindigkeit der Antriebswelle 440 des Standarddruckwerks 200 anzupassen. Ein Korrekturwert-Begrenzer 816 kann mit dem Fehlerkompensator 814 und der Signaleinstelleinrichtung 804 verbunden werden, um den Korrekturvorgang durch Einschränken des Outputsignals des Fehlerkompensators 814 zu verlangsamen.
    Alternativ können die Komponenten eines jeden Reglers, die ein Einzelposition-Bezugssignal für die mit dem Regler korrespondierende Antriebseinheit erzeugen, außerhalb des Reglers angeordnet sein. Beispielsweise kann der Regler 822 den Zähler 806 und das Positionsregister 808 enthalten und ein Outputsignal vom Positionskodierer 432 und ein weiteres Outputsignal von der Signaleinstelleinrichtung 804 empfangen. Komponenten, wie der Schwingungserzeuger 800, die Dividier-/Multipliziereinheit 802, die Signaleinstelleinheit 804, der Komparator 812, der Fehlerdetektor 810, der Fehlerkompensator 814, der Korrekturwert-Begrenzer 816 und der Zähler 818 können an beliebiger Stelle angeordnet sein, solange sie korrekt verbunden bleiben und das Output der Signaleinstelleinheit 804 an den Regler 822 ergeht, das Leitbezugssignal 304 an die Dividier-/Multipliziereinheit 802 ergeht und das Standard-Positionskodierer-Signal 700 an den Zähler 818 ergeht.
    Die weiteren Druckwerke 204, 206 können von gleicher Konstruktion sein und in gleicher Weise betrieben werden wie das Druckwerk 202. Wenn die Konfiguration der Fig. 8 beispielsweise für die in Fig. 2 gezeigte Druckmaschine des Standes der Technik angewandt werden soll, wird die Druckwerksgruppe 23 und die Falzeinheiten 28 und 30 der in Fig. 2 gezeigten Druckmaschine die gleiche Konstruktion aufweisen können wie das Druckwerk 202.
    LISTE DER BEZUGSZEICHEN
    16
    Druckwerk (Fig. 1)
    18
    Druckwerk
    20
    Druckwerk
    22
    Druckwerk
    28
    Falzeinheit
    30
    Falzeinheit
    32
    Leitbezugssignalquelle
    200
    Druckwerk (Fig. 7)
    202
    Druckwerk
    204
    Druckwerk
    206
    Druckwerk
    230
    Positionskodierer (Fig. 2)
    410
    Geschwindigkeitssteuereinheit (Fig. 4)
    412
    Geschwindigkeitssteuereinheit
    414
    Geschwindigkeitssteuereinheit
    416
    Geschwindigkeitssteuereinheit
    420
    Regler
    422
    Regler
    424
    Regler
    426
    Regler
    430
    Positionskodierer
    432
    Positionskodierer
    434
    Positionskodierer
    436
    Positionskodierer
    440
    Antriebswelle
    442
    Antriebswelle
    444
    Antriebswelle
    446
    Antriebswelle
    460
    Motor
    462
    Motor
    464
    Motor
    466
    Motor
    500
    Einzelposition-Bezugswert-Einheit (Fig. 5)
    502
    Schwingungserzeuger
    504
    Dividier-/Multipliziereinheit
    506
    Filterverstärkereinheit
    508
    Zähler/Abtaster
    600
    Einzelposition-Bezugswert-Einheit (Fig. 6)
    618
    Geschwindigkeitssteuereinheit
    628
    Regler
    638
    Positionskodierer
    648
    Antriebswelle
    668
    Motor
    700
    Signal des Positionskodierers 430 (Fig. 7)
    720
    Regler
    724
    Regler
    726
    Regler
    800
    Schwingungserzeuger (Fig. 8)
    802
    Dividier-/Multipliziereinheit
    804
    Signaleinstelleinheit
    806
    Zähler
    808
    Positionsregister
    810
    Fehlerdetektor
    812
    Komparator
    814
    Fehlerkompensator
    816
    Korrekturwert-Begrenzer
    818
    Zähler
    822
    Regler

    Claims (20)

    1. Vorrichtung zur Steuerung des Druckprozesses einer Druckmaschine mit einer ersten und mindestens einer zweiten Antriebseinheit mit einem jeweiligen Motor (460-468) und einer jeweiligen Antriebswelle (440-448); einem ersten und mindestens einem zweiten Positionscodierer (430-436, 638), welche jeweils die Ist-Position der jeweiligen Antriebswelle bestimmen und mindestens ein jeweiliges Positionskodierer-Signal erzeugen;
      einer ersten und mindestens einer zweiten Geschwindigkeitssteuereinheit (410-416, 618), die die Geschwindigkeit der jeweiligen Antriebswelle (440-446, 648) steuern; und
      einem ersten Regler (420-426, 628, 720-726, 822),
      dadurch gekennzeichnet, daß die Vorrichtung eine Einzelposition-Bezugwert-Einheit (500) aufweist, die mindestens ein Einzelposition-Bezugssignal auf der Basis der gewünschten Druckmaschinengeschwindigkeit erzeugt, das frei von durch den Druckbetrieb ausgelösten Störungen ist, und an den ersten und mindestens zweiten Regler (420-426, 628, 720-726, 822) sendet, wobei die Regler (420-426, 628, 720-726, 822) an die jeweilige Geschwindigkeitssteuereinheit (410-416, 618) ein auf dem Einzelposition-Bezugssignal und dem jeweiligen Positionskodierer-Signal basierendes Steuersignal senden, und daß das Einzelposition-Bezugssignal und die Positionskodierer-Signale (430-436, 638) jeweils eine Anzahl von Impulsen umfassen.
    2. Vorrichtung nach Anspruch 1,
      dadurch gekennzeichnet, daß das Einzelposition-Bezugssignal mindestens ein Bezugsgeschwindigkeitssignal und ein Bezugspositionssignal umfaßt.
    3. Vorrichtung nach Anspruch 1 oder 2,
      dadurch gekennzeichnet, daß die Einzelposition-Bezugswert-Einheit einen Schwingungserzeuger (502) zum Erzeugen eines Bezugssignals und eine Frequenz-Dividiereinheit (504) zum Dividieren des auf der gewünschten Druckmaschinengeschwindigkeit basierenden Bezugssignals umfaßt.
    4. Vorrichtung nach einem der vorhergehenden Ansprüche,
      dadurch gekennzeichnet, daß die erste und die mindestens zweite Antriebseinheit ferner jeweils einen Zähler (508) umfaßt, der mit dem jeweiligen ersten und mindestens zweiten Positionskodierer (430-436) und dem jeweiligen ersten und mindestens zweiten Regler (420-426) operativ verbunden ist, um während einer Abtastzeit eine Änderung der Position der jeweiligen Antriebswelle (440-446) zu erfassen.
    5. Vorrichtung nach einem der vorhergehenden Ansprüche,
      dadurch gekennzeichnet, daß das von dem jeweiligen ersten und mindestens zweiten Regler (420-426) erzeugte Steuersignal auch auf einem Verzögerungsausgleichssignal für eine Signalpfadverbindung zwischen der Einzelposition-Bezugswert-Einheit (500) und dem jeweiligen ersten und mindestens zweiten Regler (420-426) basiert.
    6. Vorrichtung nach Anspruch 1,
      dadurch gekennzeichnet,
      daß die Einzelposition-Bezugswert-Einheit (500) folgendes umfaßt:
      einen von der Druckmaschine getrennten Motor (460) mit einer Abtriebswelle;
      eine Geschwindigkeitssteuereinheit (410), durch die die Geschwindigkeit der Abtriebswelle gesteuert wird;
      einen Positionskodierer (430), der ein die Position der Abtriebswelle anzeigendes Signal erzeugt, wobei das Positionskodierer-Signal das Einzelposition-Bezugssignal ist;
      und einen Regler (420), der ein Steuersignal, das auf dem Einzelposition-Bezugssignal und der gewünschten Druckmaschinengeschwindigkeit basiert, an die Geschwindigkeitssteuereinheit sendet.
    7. Vorrichtung nach einem der vorhergehenden Ansprüche,
      dadurch gekennzeichnet, daß ferner eine Leitbezugssignalquelle (32) vorgesehen ist, um ein die gewünschte Druckmaschinengeschwindigkeit darstellendes Signal an die Einzelposition-Bezugswert-Einheit (500) zu senden.
    8. Vorrichtung nach Anspruch 7,
      dadurch gekennzeichnet, daß das von der Leitbezugssignalquelle erzeugte Signal ein digitales Signal ist.
    9. Vorrichtung nach einem der vorhergehenden Ansprüche,
      dadurch gekennzeichnet, daß die Einzelposition-Bezugswert-Einheit (500) ein elektronischer Baukörper ist.
    10. Vorrichtung nach Anspruch 1,
      dadurch gekennzeichnet, daß die Einzelposition-Bezugswert-Einheit (500) eine Vielzahl von auf der gewünschten Druckmaschinengeschwindigkeit basierten Einzelposition-Bezugssignalen erzeugt, und daß die Vorrichtung ferner umfaßt:
      eine Vielzahl von Antriebseinheiten (460-466) mit einer jeweiligen Antriebswelle (440-446); eine Geschwindigkeitssteuereinheit (410), die die Geschwindigkeit der Antriebswelle (440) steuert; einen Positionskodierer (430), der ein die Position der Antriebswelle (440) anzeigendes Signal erzeugt; und einen Regler (720), der ein Steuersignal an die Geschwindigkeitssteuereinheit sendet, das auf dem Signal des Positionskodierers und auf mindestens einem der Vielzahl von Einzelposition-Bezugssignalen basiert.
    11. Vorrichtung nach Anspruch 10,
      dadurch gekennzeichnet, daß die Einzelposition-Bezugswert-Einheit (500) mindestens einen Fehlerkorrektur-Schaltkreis umfaßt, um mindestens eines der Einzelposition-Bezugssignale, die auf dem Output eines Positionskodierers einer aus einer Vielzahl von Antriebseinheiten designierten Antriebseinheit basiert sind, zu korrigieren.
    12. Vorrichtung nach Anspruch 10 oder 11,
      dadurch gekennzeichnet, daß eine von der Vielzahl von Antriebseinheiten (460-466) als Leitantriebseinheit designiert ist und andere der Vielzahl von Antriebseinheiten (460-466) als Folgeantriebseinheiten designiert sind; und
      daß die Einzelposition-Bezugswert-Einheit (500) für jede der Folgeantriebseinheiten folgendes umfaßt:
      einen Schwingungserzeuger (502), der ein Signal erzeugt;
      eine Frequenz-Dividiereinheit (504), die durch Dividieren des Schwingungserzeuger-Signals, das auf der gewünschten Druckmaschinengeschwindigkeit basiert, ein Signal erzeugt;
      eine Impuls-Addier-/Subtrahiereinheit zum Erzeugen des Einzelposition-Bezugssignals durch Ändern der Anzahl der Impulse in dem von der Frequenz-Dividiereinheit (504) erzeugten Signal;
      ein Komparator (812), der das von der Impuls-Addier-/Subtrahiereinheit erzeugte Einzelposition-Bezugssignal mit dem von dem Positionskodierer der Leitantriebseinheit erzeugten Signal vergleicht und auf der Basis dieses Vergleichs ein Signal erzeugt;
      ein Fehlerdetektor (810), der einen Fehler zwischen dem von der Impuls-Addier/Subtrahiereinheit erzeugten Einzelposition-Bezugssignal und dem von dem Positionskodierer der Leitantriebseinheit erzeugten Signal erfaßt; und
      eine Fehlerkorrektureinheit, die auf der Basis des erfaßten Fehlers ein Steuersignal zur Steuerung der Impuls-Addier-/Subtrahiereinheit erzeugt.
    13. Verfahren zum Steuern des Druckprozesses einer Druckmaschine, mit den folgenden Schritten:
      Bestimmen der Position einer jeweiligen Antriebswelle (440-446) einer ersten und mindestens einer zweiten Antriebseinheit (460-466) der Druckmaschine mit einem jeweiligen Positionskodierer (430-436, 638) und Senden eines jeweiligen Positionskodierer-Signals an einen Regler (420-426, 628, 720-726, 822); und
      Steuern der Drehzahl der jeweiligen Antriebswelle (440-446) mit einer jeweiligen Geschwindigkeitssteuereinheit (410-416, 618),
      gekennzeichnet durch
      Erzeugen eines auf der gewünschten Druckmaschinengeschwindigkeit basierten Einzelposition-Bezugssignals, das frei von durch den Druckbetrieb ausgelösten Störungen ist, und eine Anzahl von Impulsen umfaßt;
      Senden des Einzelpositions-Bezugssignals an jeweilige Regler (420-426, 628, 720-726, 822); und
    14. Verfahren nach Anspruch 13,
      dadurch gekennzeichnet, daß der Schritt des Erzeugens des Einzelposition-Bezugssignals folgendes umfaßt:
      Erzeugen eines Zeitsignals mit einer vorbestimmten Frequenz;
      Dividieren des auf der gewünschten Druckmaschinengeschwindigkeit basierten Zeitsignals;
      Ausfiltern von Lärm aus dem Zeitsignal; und
      Verstärken des Zeitsignals.
      Senden eines jeweiligen Signals auf der Basis des Einzelposition-Bezugssignals und des jeweiligen, eine Anzahl von Impulsen umfassenden Positionskodierer-Signals an die jeweilige Geschwindigkeitssteuereinheit (410-416, 618).
    15. Verfahren nach Anspruch 13 oder 14,
      dadurch gekennzeichnet, daß dieses ferner den Schritt des Feststellens einer Änderung der Position der jeweiligen Antriebswelle (440-446) während einer Abtastzeit umfaßt.
    16. Verfahren nach einem der Ansprüche 13 bis 15,
      dadurch gekennzeichnet, daß das Steuern der Drehzahl der jeweiligen Antriebswelle (440-446) auch auf einem Verzögerungsausgleichssignal basiert.
    17. Verfahren nach Anspruch 13,
      dadurch gekennzeichnet, daß das Erzeugen eines Einzelposition-Bezugssignals folgendes umfaßt:
      Bestimmen der Position einer von der Druckmaschine getrennten
      Antriebswelle (440-446);
      Erzeugen des Einzelposition-Bezugssignals auf der Basis der bestimmten Antriebswellenposition; und
      Steuern der Drehzahl der Antriebswelle (440-446) auf der Basis des Einzelposition-Bezugssignals und der gewünschten Druckmaschinengeschwindigkeit.
    18. Verfahren nach Anspruch 13,
      gekennzeichnet durch
      Bestimmen der Antriebswellenposition einer jeden einer Vielzahl von Antriebseinheiten (460-466);
      Erzeugen mindestens eines auf der gewünschten Druckmaschinengeschwindigkeit basierten Einzelposition-Bezugssignals für jede der Vielzahl von Antriebseinheiten (460-466); und
      Steuern der Geschwindigkeit einer jeden Antriebswelle auf der Basis der bestimmten Antriebswellenposition und des mindestens einen Einzelposition-Bezugssignals.
    19. Verfahren nach Anspruch 18,
      dadurch gekennzeichnet, daß dieses ferner den Schritt des Korrigierens des mindestens einen Einzelposition-Bezugssignals, das auf der bestimmten Antriebswellenposition einer aus einer Vielzahl von Antriebseinheiten (460-466) designierten Antriebseinheit basiert, umfaßt.
    20. Rollenrotationsdruckmaschine,
      gekennzeichnet durch
      eine Vorrichtung nach einem der Ansprüche 1 bis 12.
    EP98121184A 1997-11-21 1998-11-13 Vorrichtung und Verfahren zum Erstellen eines Einzelpositionbezugwertes in einem Druckprozess Expired - Lifetime EP0917954B2 (de)

    Applications Claiming Priority (2)

    Application Number Priority Date Filing Date Title
    US975710 1997-11-21
    US08/975,710 US5894802A (en) 1997-11-21 1997-11-21 Method and apparatus for establishing an isolated position reference in a printing operation

    Publications (4)

    Publication Number Publication Date
    EP0917954A2 EP0917954A2 (de) 1999-05-26
    EP0917954A3 EP0917954A3 (de) 2000-03-15
    EP0917954B1 true EP0917954B1 (de) 2003-03-19
    EP0917954B2 EP0917954B2 (de) 2008-10-15

    Family

    ID=25523301

    Family Applications (1)

    Application Number Title Priority Date Filing Date
    EP98121184A Expired - Lifetime EP0917954B2 (de) 1997-11-21 1998-11-13 Vorrichtung und Verfahren zum Erstellen eines Einzelpositionbezugwertes in einem Druckprozess

    Country Status (5)

    Country Link
    US (1) US5894802A (de)
    EP (1) EP0917954B2 (de)
    JP (1) JPH11216849A (de)
    CN (1) CN1106285C (de)
    DE (2) DE19852436A1 (de)

    Families Citing this family (16)

    * Cited by examiner, † Cited by third party
    Publication number Priority date Publication date Assignee Title
    DE10104795B4 (de) * 2001-02-02 2007-07-05 Siemens Ag Drehzahlabhängige Sollwertkorrektur bei elektrisch geregelten Slaveantrieben
    DE10117454A1 (de) * 2001-04-06 2002-10-17 Rexroth Indramat Gmbh Verfahren zur Registerregelung
    JP4451049B2 (ja) * 2001-07-26 2010-04-14 ハイデルベルガー ドルツクマシーネン アクチエンゲゼルシヤフト マルチモータ駆動装置、および枚葉紙印刷機を駆動する方法
    US6722279B2 (en) * 2001-12-05 2004-04-20 Heidelberger Druckmaschinen Ag Device and corresponding method for rapid image data transfer in printing presses
    DE102004007069A1 (de) * 2004-02-13 2005-08-25 Goss International Montataire S.A. Rotationselement einer Druckmaschine, mit einem Encoder
    US7187142B2 (en) * 2005-05-25 2007-03-06 Rockwell Automation Technologies, Inc. Motor drive with velocity noise filter
    US7109670B1 (en) * 2005-05-25 2006-09-19 Rockwell Automation Technologies, Inc. Motor drive with velocity-second compensation
    DE102005048472A1 (de) * 2005-10-07 2007-04-12 Bosch Rexroth Ag Rotationsdruckmaschine und Verfahren des Betriebs einer Rotationsdruckmaschine
    US7965397B2 (en) * 2006-04-06 2011-06-21 Xerox Corporation Systems and methods to measure banding print defects
    FR2911969B1 (fr) * 2007-01-31 2009-08-07 Goss Int Montataire Sa Dispositif de controle d'une presse rotative.
    US8690461B2 (en) * 2009-09-21 2014-04-08 Goss International Americas, Inc. System and method for controlling a multi-drive printing press
    US8640617B2 (en) 2009-10-07 2014-02-04 Goss International Americas, Inc. Multi-drive printed product processing device with verified feedback control
    US10279584B2 (en) 2010-07-27 2019-05-07 Goss International Americas, Inc. Observation-enhanced virtual master system for a printing press
    CN106364157B (zh) * 2016-09-30 2018-07-10 武汉菲仕运动控制系统有限公司 一种印铁机控制系统
    DE102018120397A1 (de) * 2017-08-21 2019-02-21 manroland sheetfed GmbH Regelung von Druckmaschinen mit mehreren Hauptantriebsmotoren
    WO2021021078A1 (en) 2019-07-26 2021-02-04 Hewlett-Packard Development Company, L.P. Synchronizing multiple printing presses

    Citations (1)

    * Cited by examiner, † Cited by third party
    Publication number Priority date Publication date Assignee Title
    DE4322744A1 (de) * 1993-07-08 1995-01-19 Baumueller Nuernberg Gmbh Elektrisches Antriebssystem zur Verstellung von einem oder mehreren dreh- und/oder verschwenkbaren Funktionsteilen in Geräten und Maschinen, Antriebsanordnung mit einem Winkellagegeber und Druckmaschine

    Family Cites Families (16)

    * Cited by examiner, † Cited by third party
    Publication number Priority date Publication date Assignee Title
    US3845366A (en) * 1971-07-22 1974-10-29 Fincor Inc Integrated drive system
    DD115069A1 (de) * 1974-10-15 1975-09-12
    DE2613600A1 (de) * 1976-03-30 1977-10-06 Siemens Ag Drehzahlregelung fuer eine bahnfoerdernde maschine
    US4271379A (en) * 1978-12-29 1981-06-02 Harris Corporation Web fed printing press motor control
    US4495583A (en) * 1982-06-04 1985-01-22 Harris Graphics Corporation Apparatus and method for encoding positions of web press machines
    US4495582A (en) * 1982-06-04 1985-01-22 Harris Graphics Corporation Control system for pre-setting and operation of a printing press and collator
    US4839814A (en) * 1985-01-29 1989-06-13 Moore Business Forms, Inc. Size independent modular web processing line and modules
    JPH0750505B2 (ja) * 1986-10-31 1995-05-31 クウォード テック インコーポレーテッド 改良された切断制御システム
    US4901577A (en) * 1988-04-28 1990-02-20 World Color Press, Inc. Apparatus for detecting splices in the web of a printing press
    US5049798A (en) * 1990-03-13 1991-09-17 Harris Graphics Corporation Control apparatus
    JP2720584B2 (ja) * 1990-07-20 1998-03-04 株式会社安川電機 サーボシステムの同調位相制御装置
    US5490243A (en) * 1990-12-13 1996-02-06 F3 Software Corporation Data processing system for multi-platform print control and electronic data fill
    US5243408A (en) * 1991-07-17 1993-09-07 P. H. Glatfelter Company Method and apparatus for detecting web discontinuities
    DE4137979B4 (de) * 1991-11-19 2004-05-06 Heidelberger Druckmaschinen Ag Antrieb für eine Druckmaschine mit mindestens zwei mechanisch voneinander entkoppelten Druckwerken
    US5481971A (en) * 1991-11-19 1996-01-09 Heidelberger Druckmaschinen Ag Drive for a printing press with a plurality of printing units
    US5615609A (en) * 1995-08-21 1997-04-01 The Lawrence Paper Company System and method for controlling AC motor driven multi-unit printing press

    Patent Citations (1)

    * Cited by examiner, † Cited by third party
    Publication number Priority date Publication date Assignee Title
    DE4322744A1 (de) * 1993-07-08 1995-01-19 Baumueller Nuernberg Gmbh Elektrisches Antriebssystem zur Verstellung von einem oder mehreren dreh- und/oder verschwenkbaren Funktionsteilen in Geräten und Maschinen, Antriebsanordnung mit einem Winkellagegeber und Druckmaschine

    Also Published As

    Publication number Publication date
    CN1106285C (zh) 2003-04-23
    US5894802A (en) 1999-04-20
    EP0917954B2 (de) 2008-10-15
    CN1239689A (zh) 1999-12-29
    DE19852436A1 (de) 1999-05-27
    EP0917954A3 (de) 2000-03-15
    JPH11216849A (ja) 1999-08-10
    HK1022125A1 (en) 2000-07-28
    EP0917954A2 (de) 1999-05-26
    DE59807532D1 (de) 2003-04-24

    Similar Documents

    Publication Publication Date Title
    EP0917954B1 (de) Vorrichtung und Verfahren zum Erstellen eines Einzelpositionbezugwertes in einem Druckprozess
    EP0812682B1 (de) Antrieb für eine Druckmaschine
    DE10243454B4 (de) Antriebsvorrichtung einer Bearbeitungsmaschine
    EP0452704A2 (de) Druckmaschinenanlage
    DE60127034T2 (de) Synchrone Regelung mit automatischen Registerfunktionen für das Schneiden und Drucken
    EP0993698B2 (de) Verfahren und vorrichtung zum dezentralen betrieb bzw aufbau einer winkelgenauen gleichlaufregelung in einem mehrmotorenantriebssystem
    DE10132266B4 (de) Verfahren zur Regelung des Übergabepassers in einer Bogenrotationsdruckmaschine
    DE69113979T2 (de) Vorrichtung und Verfahren zum Regeln der Phase in einem Druckrollenantriebsystem für Wellpappendruckmaschinen.
    EP1211070B2 (de) Vorrichtung und Verfahren zur Synchronisation von an mehreren Einheiten ablaufenden Prozessen
    DE19781048B4 (de) Druckeinrichtung
    DE60035464T2 (de) Netzwerksteuerungssystem für Rotationsdruckmaschinen
    EP1373992B1 (de) Verfahren zum synchronisierten betrieb von maschinen mit durch einzelantriebe angetriebenen achsen
    DE69926980T2 (de) Verfahren und Vorrichtung zur Synchronisierungsregelung
    EP0747216B1 (de) Steuerung für eine Druckmaschine
    EP1372965B1 (de) Verfahren zur registerregelung
    EP1531992B1 (de) Antriebsvorrichtung und ein verfahren zur steuerung eines aggregates einer druckmaschine
    DE3781814T2 (de) Registerkontrolle fuer kombinierte druck- und schneidmaschinen.
    WO1998039838A1 (de) Verfahren und vorrichtung zur aufrechterhaltung eines winkelgenauen gleichlaufs einzelner vernetzter antriebe eines dezentralen antriebssystems
    DE10259494A1 (de) Verfahren zum Steuern einer Druckmaschine
    EP1779504B1 (de) Anordnung zum antrieb eines lastelementes
    EP0692377B2 (de) Verfahren und Vorrichtung zum synchronen Antreiben von Druckmaschinenkomponenten
    EP1987951A2 (de) Druckmaschine und Verfahren zum Betreiben einer Druckmaschine
    DE10208791C5 (de) Druckmaschinenantriebssystem
    DE102006014526B4 (de) Verfahren und Vorrichtung zur Reduzierung von periodischen Drehwinkel-Lagedifferenzen
    DE10338976B4 (de) Verfahren zur Rhythmuskompensation bei Bogenrotationsdruckmaschinen

    Legal Events

    Date Code Title Description
    PUAI Public reference made under article 153(3) epc to a published international application that has entered the european phase

    Free format text: ORIGINAL CODE: 0009012

    17P Request for examination filed

    Effective date: 19981113

    AK Designated contracting states

    Kind code of ref document: A2

    Designated state(s): CH DE FR GB IT LI

    AX Request for extension of the european patent

    Free format text: AL;LT;LV;MK;RO;SI

    PUAL Search report despatched

    Free format text: ORIGINAL CODE: 0009013

    AK Designated contracting states

    Kind code of ref document: A3

    Designated state(s): AT BE CH CY DE DK ES FI FR GB GR IE IT LI LU MC NL PT SE

    AX Request for extension of the european patent

    Free format text: AL;LT;LV;MK;RO;SI

    AKX Designation fees paid

    Free format text: CH DE FR GB IT LI

    17Q First examination report despatched

    Effective date: 20010110

    GRAG Despatch of communication of intention to grant

    Free format text: ORIGINAL CODE: EPIDOS AGRA

    GRAG Despatch of communication of intention to grant

    Free format text: ORIGINAL CODE: EPIDOS AGRA

    GRAH Despatch of communication of intention to grant a patent

    Free format text: ORIGINAL CODE: EPIDOS IGRA

    GRAH Despatch of communication of intention to grant a patent

    Free format text: ORIGINAL CODE: EPIDOS IGRA

    GRAA (expected) grant

    Free format text: ORIGINAL CODE: 0009210

    AK Designated contracting states

    Designated state(s): CH DE FR GB IT LI

    PG25 Lapsed in a contracting state [announced via postgrant information from national office to epo]

    Ref country code: IT

    Free format text: LAPSE BECAUSE OF FAILURE TO SUBMIT A TRANSLATION OF THE DESCRIPTION OR TO PAY THE FEE WITHIN THE PRESCRIBED TIME-LIMIT;WARNING: LAPSES OF ITALIAN PATENTS WITH EFFECTIVE DATE BEFORE 2007 MAY HAVE OCCURRED AT ANY TIME BEFORE 2007. THE CORRECT EFFECTIVE DATE MAY BE DIFFERENT FROM THE ONE RECORDED.

    Effective date: 20030319

    REG Reference to a national code

    Ref country code: GB

    Ref legal event code: FG4D

    Free format text: NOT ENGLISH

    REG Reference to a national code

    Ref country code: CH

    Ref legal event code: EP

    REF Corresponds to:

    Ref document number: 59807532

    Country of ref document: DE

    Date of ref document: 20030424

    Kind code of ref document: P

    GBT Gb: translation of ep patent filed (gb section 77(6)(a)/1977)
    ET Fr: translation filed
    PLBI Opposition filed

    Free format text: ORIGINAL CODE: 0009260

    PLAX Notice of opposition and request to file observation + time limit sent

    Free format text: ORIGINAL CODE: EPIDOSNOBS2

    26 Opposition filed

    Opponent name: MAN ROLAND DRUCKMASCHINEN AG

    Effective date: 20031219

    PLAX Notice of opposition and request to file observation + time limit sent

    Free format text: ORIGINAL CODE: EPIDOSNOBS2

    PLBB Reply of patent proprietor to notice(s) of opposition received

    Free format text: ORIGINAL CODE: EPIDOSNOBS3

    REG Reference to a national code

    Ref country code: GB

    Ref legal event code: 732E

    RAP2 Party data changed (patent owner data changed or rights of a patent transferred)

    Owner name: GOSS INTERNATIONAL AMERICAS, INC.

    REG Reference to a national code

    Ref country code: CH

    Ref legal event code: NV

    Representative=s name: KIRKER & CIE SA

    REG Reference to a national code

    Ref country code: FR

    Ref legal event code: TP

    APBP Date of receipt of notice of appeal recorded

    Free format text: ORIGINAL CODE: EPIDOSNNOA2O

    APAH Appeal reference modified

    Free format text: ORIGINAL CODE: EPIDOSCREFNO

    APBQ Date of receipt of statement of grounds of appeal recorded

    Free format text: ORIGINAL CODE: EPIDOSNNOA3O

    APBU Appeal procedure closed

    Free format text: ORIGINAL CODE: EPIDOSNNOA9O

    PLAB Opposition data, opponent's data or that of the opponent's representative modified

    Free format text: ORIGINAL CODE: 0009299OPPO

    PUAH Patent maintained in amended form

    Free format text: ORIGINAL CODE: 0009272

    STAA Information on the status of an ep patent application or granted ep patent

    Free format text: STATUS: PATENT MAINTAINED AS AMENDED

    27A Patent maintained in amended form

    Effective date: 20081015

    AK Designated contracting states

    Kind code of ref document: B2

    Designated state(s): CH DE FR GB IT LI

    REG Reference to a national code

    Ref country code: CH

    Ref legal event code: AEN

    Free format text: AUFRECHTERHALTUNG DES PATENTES IN GEAENDERTER FORM

    PGFP Annual fee paid to national office [announced via postgrant information from national office to epo]

    Ref country code: GB

    Payment date: 20101124

    Year of fee payment: 13

    GBPC Gb: european patent ceased through non-payment of renewal fee

    Effective date: 20121113

    PG25 Lapsed in a contracting state [announced via postgrant information from national office to epo]

    Ref country code: GB

    Free format text: LAPSE BECAUSE OF NON-PAYMENT OF DUE FEES

    Effective date: 20121113

    PGFP Annual fee paid to national office [announced via postgrant information from national office to epo]

    Ref country code: CH

    Payment date: 20131127

    Year of fee payment: 16

    Ref country code: FR

    Payment date: 20131118

    Year of fee payment: 16

    PGFP Annual fee paid to national office [announced via postgrant information from national office to epo]

    Ref country code: DE

    Payment date: 20141128

    Year of fee payment: 17

    REG Reference to a national code

    Ref country code: CH

    Ref legal event code: PL

    PG25 Lapsed in a contracting state [announced via postgrant information from national office to epo]

    Ref country code: CH

    Free format text: LAPSE BECAUSE OF NON-PAYMENT OF DUE FEES

    Effective date: 20141130

    Ref country code: LI

    Free format text: LAPSE BECAUSE OF NON-PAYMENT OF DUE FEES

    Effective date: 20141130

    REG Reference to a national code

    Ref country code: FR

    Ref legal event code: ST

    Effective date: 20150731

    PG25 Lapsed in a contracting state [announced via postgrant information from national office to epo]

    Ref country code: FR

    Free format text: LAPSE BECAUSE OF NON-PAYMENT OF DUE FEES

    Effective date: 20141201

    REG Reference to a national code

    Ref country code: DE

    Ref legal event code: R119

    Ref document number: 59807532

    Country of ref document: DE

    PG25 Lapsed in a contracting state [announced via postgrant information from national office to epo]

    Ref country code: DE

    Free format text: LAPSE BECAUSE OF NON-PAYMENT OF DUE FEES

    Effective date: 20160601