EP0906774B1 - Vorrichtung zur körperlichen Ertüchtigung von Personen - Google Patents

Vorrichtung zur körperlichen Ertüchtigung von Personen Download PDF

Info

Publication number
EP0906774B1
EP0906774B1 EP19980890273 EP98890273A EP0906774B1 EP 0906774 B1 EP0906774 B1 EP 0906774B1 EP 19980890273 EP19980890273 EP 19980890273 EP 98890273 A EP98890273 A EP 98890273A EP 0906774 B1 EP0906774 B1 EP 0906774B1
Authority
EP
European Patent Office
Prior art keywords
housing
pressure
designed
differential pressure
generating
Prior art date
Legal status (The legal status is an assumption and is not a legal conclusion. Google has not performed a legal analysis and makes no representation as to the accuracy of the status listed.)
Expired - Lifetime
Application number
EP19980890273
Other languages
English (en)
French (fr)
Other versions
EP0906774A2 (de
EP0906774A3 (de
Inventor
Norbert Dr. Egger
Current Assignee (The listed assignees may be inaccurate. Google has not performed a legal analysis and makes no representation or warranty as to the accuracy of the list.)
Individual
Original Assignee
Individual
Priority date (The priority date is an assumption and is not a legal conclusion. Google has not performed a legal analysis and makes no representation as to the accuracy of the date listed.)
Filing date
Publication date
Family has litigation
First worldwide family litigation filed litigation Critical https://patents.darts-ip.com/?family=3518457&utm_source=google_patent&utm_medium=platform_link&utm_campaign=public_patent_search&patent=EP0906774(B1) "Global patent litigation dataset” by Darts-ip is licensed under a Creative Commons Attribution 4.0 International License.
Application filed by Individual filed Critical Individual
Priority to DE29824810U priority Critical patent/DE29824810U1/de
Priority to SI9830447T priority patent/SI0906774T1/xx
Priority to AT98890273T priority patent/ATE239438T1/de
Publication of EP0906774A2 publication Critical patent/EP0906774A2/de
Publication of EP0906774A3 publication Critical patent/EP0906774A3/de
Application granted granted Critical
Publication of EP0906774B1 publication Critical patent/EP0906774B1/de
Anticipated expiration legal-status Critical
Expired - Lifetime legal-status Critical Current

Links

Images

Classifications

    • AHUMAN NECESSITIES
    • A61MEDICAL OR VETERINARY SCIENCE; HYGIENE
    • A61HPHYSICAL THERAPY APPARATUS, e.g. DEVICES FOR LOCATING OR STIMULATING REFLEX POINTS IN THE BODY; ARTIFICIAL RESPIRATION; MASSAGE; BATHING DEVICES FOR SPECIAL THERAPEUTIC OR HYGIENIC PURPOSES OR SPECIFIC PARTS OF THE BODY
    • A61H33/00Bathing devices for special therapeutic or hygienic purposes
    • A61H33/06Artificial hot-air or cold-air baths; Steam or gas baths or douches, e.g. sauna or Finnish baths
    • AHUMAN NECESSITIES
    • A61MEDICAL OR VETERINARY SCIENCE; HYGIENE
    • A61HPHYSICAL THERAPY APPARATUS, e.g. DEVICES FOR LOCATING OR STIMULATING REFLEX POINTS IN THE BODY; ARTIFICIAL RESPIRATION; MASSAGE; BATHING DEVICES FOR SPECIAL THERAPEUTIC OR HYGIENIC PURPOSES OR SPECIFIC PARTS OF THE BODY
    • A61H9/00Pneumatic or hydraulic massage
    • A61H9/005Pneumatic massage
    • AHUMAN NECESSITIES
    • A61MEDICAL OR VETERINARY SCIENCE; HYGIENE
    • A61GTRANSPORT, PERSONAL CONVEYANCES, OR ACCOMMODATION SPECIALLY ADAPTED FOR PATIENTS OR DISABLED PERSONS; OPERATING TABLES OR CHAIRS; CHAIRS FOR DENTISTRY; FUNERAL DEVICES
    • A61G10/00Treatment rooms or enclosures for medical purposes
    • A61G10/02Treatment rooms or enclosures for medical purposes with artificial climate; with means to maintain a desired pressure, e.g. for germ-free rooms
    • A61G10/023Rooms for the treatment of patients at over- or under-pressure or at a variable pressure
    • AHUMAN NECESSITIES
    • A61MEDICAL OR VETERINARY SCIENCE; HYGIENE
    • A61HPHYSICAL THERAPY APPARATUS, e.g. DEVICES FOR LOCATING OR STIMULATING REFLEX POINTS IN THE BODY; ARTIFICIAL RESPIRATION; MASSAGE; BATHING DEVICES FOR SPECIAL THERAPEUTIC OR HYGIENIC PURPOSES OR SPECIFIC PARTS OF THE BODY
    • A61H35/00Baths for specific parts of the body
    • A61H2035/004Baths for specific parts of the body for the whole body except the head
    • AHUMAN NECESSITIES
    • A61MEDICAL OR VETERINARY SCIENCE; HYGIENE
    • A61HPHYSICAL THERAPY APPARATUS, e.g. DEVICES FOR LOCATING OR STIMULATING REFLEX POINTS IN THE BODY; ARTIFICIAL RESPIRATION; MASSAGE; BATHING DEVICES FOR SPECIAL THERAPEUTIC OR HYGIENIC PURPOSES OR SPECIFIC PARTS OF THE BODY
    • A61H2201/00Characteristics of apparatus not provided for in the preceding codes
    • A61H2201/12Driving means
    • A61H2201/1253Driving means driven by a human being, e.g. hand driven
    • A61H2201/1261Driving means driven by a human being, e.g. hand driven combined with active exercising of the patient
    • AHUMAN NECESSITIES
    • A61MEDICAL OR VETERINARY SCIENCE; HYGIENE
    • A61HPHYSICAL THERAPY APPARATUS, e.g. DEVICES FOR LOCATING OR STIMULATING REFLEX POINTS IN THE BODY; ARTIFICIAL RESPIRATION; MASSAGE; BATHING DEVICES FOR SPECIAL THERAPEUTIC OR HYGIENIC PURPOSES OR SPECIFIC PARTS OF THE BODY
    • A61H9/00Pneumatic or hydraulic massage
    • A61H9/005Pneumatic massage
    • A61H9/0071Pneumatic massage by localized pressure, e.g. air streams or jets
    • AHUMAN NECESSITIES
    • A63SPORTS; GAMES; AMUSEMENTS
    • A63BAPPARATUS FOR PHYSICAL TRAINING, GYMNASTICS, SWIMMING, CLIMBING, OR FENCING; BALL GAMES; TRAINING EQUIPMENT
    • A63B21/00Exercising apparatus for developing or strengthening the muscles or joints of the body by working against a counterforce, with or without measuring devices
    • A63B21/22Resisting devices with rotary bodies
    • A63B21/225Resisting devices with rotary bodies with flywheels
    • AHUMAN NECESSITIES
    • A63SPORTS; GAMES; AMUSEMENTS
    • A63BAPPARATUS FOR PHYSICAL TRAINING, GYMNASTICS, SWIMMING, CLIMBING, OR FENCING; BALL GAMES; TRAINING EQUIPMENT
    • A63B22/00Exercising apparatus specially adapted for conditioning the cardio-vascular system, for training agility or co-ordination of movements
    • A63B22/0048Exercising apparatus specially adapted for conditioning the cardio-vascular system, for training agility or co-ordination of movements with cantilevered support elements pivoting about an axis
    • A63B22/0056Exercising apparatus specially adapted for conditioning the cardio-vascular system, for training agility or co-ordination of movements with cantilevered support elements pivoting about an axis the pivoting movement being in a vertical plane, e.g. steppers with a horizontal axis
    • AHUMAN NECESSITIES
    • A63SPORTS; GAMES; AMUSEMENTS
    • A63BAPPARATUS FOR PHYSICAL TRAINING, GYMNASTICS, SWIMMING, CLIMBING, OR FENCING; BALL GAMES; TRAINING EQUIPMENT
    • A63B22/00Exercising apparatus specially adapted for conditioning the cardio-vascular system, for training agility or co-ordination of movements
    • A63B22/02Exercising apparatus specially adapted for conditioning the cardio-vascular system, for training agility or co-ordination of movements with movable endless bands, e.g. treadmills
    • AHUMAN NECESSITIES
    • A63SPORTS; GAMES; AMUSEMENTS
    • A63BAPPARATUS FOR PHYSICAL TRAINING, GYMNASTICS, SWIMMING, CLIMBING, OR FENCING; BALL GAMES; TRAINING EQUIPMENT
    • A63B22/00Exercising apparatus specially adapted for conditioning the cardio-vascular system, for training agility or co-ordination of movements
    • A63B22/06Exercising apparatus specially adapted for conditioning the cardio-vascular system, for training agility or co-ordination of movements with support elements performing a rotating cycling movement, i.e. a closed path movement
    • A63B22/0605Exercising apparatus specially adapted for conditioning the cardio-vascular system, for training agility or co-ordination of movements with support elements performing a rotating cycling movement, i.e. a closed path movement performing a circular movement, e.g. ergometers
    • AHUMAN NECESSITIES
    • A63SPORTS; GAMES; AMUSEMENTS
    • A63BAPPARATUS FOR PHYSICAL TRAINING, GYMNASTICS, SWIMMING, CLIMBING, OR FENCING; BALL GAMES; TRAINING EQUIPMENT
    • A63B2208/00Characteristics or parameters related to the user or player
    • A63B2208/05Characteristics or parameters related to the user or player the user being at least partly surrounded by a pressure different from the atmospheric pressure
    • A63B2208/053Characteristics or parameters related to the user or player the user being at least partly surrounded by a pressure different from the atmospheric pressure higher pressure
    • AHUMAN NECESSITIES
    • A63SPORTS; GAMES; AMUSEMENTS
    • A63BAPPARATUS FOR PHYSICAL TRAINING, GYMNASTICS, SWIMMING, CLIMBING, OR FENCING; BALL GAMES; TRAINING EQUIPMENT
    • A63B2208/00Characteristics or parameters related to the user or player
    • A63B2208/05Characteristics or parameters related to the user or player the user being at least partly surrounded by a pressure different from the atmospheric pressure
    • A63B2208/056Characteristics or parameters related to the user or player the user being at least partly surrounded by a pressure different from the atmospheric pressure lower pressure
    • AHUMAN NECESSITIES
    • A63SPORTS; GAMES; AMUSEMENTS
    • A63BAPPARATUS FOR PHYSICAL TRAINING, GYMNASTICS, SWIMMING, CLIMBING, OR FENCING; BALL GAMES; TRAINING EQUIPMENT
    • A63B2225/00Miscellaneous features of sport apparatus, devices or equipment
    • A63B2225/64Heated
    • AHUMAN NECESSITIES
    • A63SPORTS; GAMES; AMUSEMENTS
    • A63BAPPARATUS FOR PHYSICAL TRAINING, GYMNASTICS, SWIMMING, CLIMBING, OR FENCING; BALL GAMES; TRAINING EQUIPMENT
    • A63B2225/00Miscellaneous features of sport apparatus, devices or equipment
    • A63B2225/66Cooled
    • AHUMAN NECESSITIES
    • A63SPORTS; GAMES; AMUSEMENTS
    • A63BAPPARATUS FOR PHYSICAL TRAINING, GYMNASTICS, SWIMMING, CLIMBING, OR FENCING; BALL GAMES; TRAINING EQUIPMENT
    • A63B23/00Exercising apparatus specially adapted for particular parts of the body
    • A63B23/035Exercising apparatus specially adapted for particular parts of the body for limbs, i.e. upper or lower limbs, e.g. simultaneously
    • A63B23/04Exercising apparatus specially adapted for particular parts of the body for limbs, i.e. upper or lower limbs, e.g. simultaneously for lower limbs
    • A63B23/0405Exercising apparatus specially adapted for particular parts of the body for limbs, i.e. upper or lower limbs, e.g. simultaneously for lower limbs involving a bending of the knee and hip joints simultaneously
    • A63B23/0429Exercising apparatus specially adapted for particular parts of the body for limbs, i.e. upper or lower limbs, e.g. simultaneously for lower limbs involving a bending of the knee and hip joints simultaneously with guided foot supports moving parallel to the body-symmetrical-plane by being cantilevered about a horizontal axis

Definitions

  • the present invention relates to a device for the physical training of Persons with work equipment that can be operated with the legs and operated by one airtight housing is enclosed, which has an opening for sealing Enclosing the person in the area of their waist is formed, and the one device for generating a differential pressure in the housing.
  • a variety of fitness equipment is known to be used for physical exercise are usable by people.
  • the vast majority of those in use Fitness equipment provides the exercising person with a certain force the resistance of the device or actuates certain moving components, whereby Environmental conditions exist.
  • FR-A-2102886 a training device is described in which one to the waist reaching chamber creates a sauna-like climate in which the exercising Person operates a bicycle.
  • the object of the present invention is the devices described above further training in order to achieve an improved training effect.
  • a seat for support in the device the person is provided that the work device can be operated while sitting is.
  • the differential pressure can basically be a negative pressure or act overpressure.
  • the pressure ranges in which the device according to the invention is used correspond essentially environmental conditions like those in different regions of the earth also occur naturally.
  • a lowering is the cheapest the pressure by 0.1 bar compared to the ambient conditions.
  • a drop of 0.2 bar is currently considered a reasonable upper limit.
  • the tolerance of the vacuum also depends on the speed of the lowering of pressure. A slower lowering improves the tolerability for the subject.
  • the particular effectiveness of the device according to the invention is based on the fact that the uneven distribution of the pressure over the Body surface causes a displacement of the tissue juices in the body.
  • both the blood circulation and the lymphatic fluid in the outside Skin and subcutaneous fat tissue in the corresponding skin areas increased.
  • the lymphatic fluid is removed by the simultaneous movement and at the same time repeatedly provides the skin with nutrient-rich blood.
  • this causes a regeneration boost of the skin tissue, which in the Consequence also leads to a breakdown of fat cells.
  • This way, in addition to the training effect also improves the figure.
  • Particularly advantageous is that this effect in the critical areas of the lower abdomen, the hip and thigh are done.
  • the present invention differs significantly from that well-known forms of so-called hypoxia training, which is a training at high altitude simulated.
  • hypoxia training which is a training at high altitude simulated.
  • the blood improves its absorption capacity for oxygen, which ultimately leads to a performance improvement in the endurance area leads.
  • the lowered pressure evenly over the entire body including lungs acts, the effects of the present invention cannot be obtained.
  • the device of the present invention is not just a pure exercise device usable, but also as a medical device, for example as an ergometer, with which the physical performance of a person can be determined.
  • the work equipment is preferably a room bicycle or a stepper that can be operated while sitting.
  • the effect can be further enhanced by having a device with the housing related to the temperature and / or humidity in the Housing regulated.
  • the device for Generating a differential pressure is designed to have a predetermined air flow through the housing to ensure. This makes it possible for comfort to increase the exercising person during training.
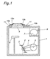
  • a substantially airtight design Housing 1 in which a indoor bike 2 is arranged, the pedals 3, one Drive belt 4 and a flywheel 5, which by no closer shown braking device is braked.
  • a seat 6 is for the one operating the device Person provided.
  • a vacuum pump 7 is arranged in the housing 1, which the air from inside the housing 1 through an opening 8 after leads outside.
  • An opening 9 is formed in the upper region of the housing 1, which has two slidable cover halves 10a and 10b, which have seals 11 are sealed against the housing 1.
  • sealing elements 12a, 12b are provided, which are made of rubber are made to close the waist of a person operating the device enclose.
  • the lid halves 10a, 10b are pushed apart to one Allow entry into the device from above.
  • you can an access opening can also be formed on the side, or the housing 1 as a whole be formed in two parts to make it particularly easy to enter the device to enable.
  • all openings are closed to one airtight closure of the interior of the housing 1 from the environment to ensure.
  • the sealing elements 12a, 12b are said to be the waist of the subject embrace as closely as possible.
  • the vacuum pump 7 predetermined negative pressure generated inside the housing 1. It is for the professional it goes without saying that this vacuum is regulated accordingly and is adjustable according to the respective needs.
  • the embodiment variant of FIG. 3 differs from the embodiment variant of FIG. 1 characterized in that a pump 7a is arranged outside the box 1 and via a line 8a connected to it. This makes it possible to reduce the operating noise of the device lower.
  • the pump is designed to be switchable, on the one hand, a negative pressure and on the other hand to be able to generate an overpressure in the box 1.
  • a stepper 2a is arranged, which is indicated by a test subject 20 is operated.
  • a test subject 20 is operated.
  • At the top of the box are an air tap 14 and a barometric one Measuring device 15 is provided for the pressure inside the box.
  • a door 13 is at the front the box 1 arranged for entry into the device.
  • the present invention enables large areas of a person's skin surface a defined negative pressure or a while performing physical work suspend defined overpressure. This can create special training effects can be achieved.

Landscapes

  • Health & Medical Sciences (AREA)
  • Public Health (AREA)
  • Epidemiology (AREA)
  • Pain & Pain Management (AREA)
  • Physical Education & Sports Medicine (AREA)
  • Rehabilitation Therapy (AREA)
  • Life Sciences & Earth Sciences (AREA)
  • Animal Behavior & Ethology (AREA)
  • General Health & Medical Sciences (AREA)
  • Veterinary Medicine (AREA)
  • Accommodation For Nursing Or Treatment Tables (AREA)
  • Rehabilitation Tools (AREA)
  • Professional, Industrial, Or Sporting Protective Garments (AREA)
  • Measuring Pulse, Heart Rate, Blood Pressure Or Blood Flow (AREA)

Description

Die vorliegende Erfindung betrifft eine Vorrichtung zur körperlichen Ertüchtigung von Personen, mit einer mit den Beinen zu betätigenden Arbeitseinrichtung, die von einem luftdichten Gehäuse umschlossen ist, das eine Öffnung aufweist, die zum dichten Umschließen der Person im Bereich ihrer Taille ausgebildet ist, und die eine Einrichtung zur Erzeugung eines Differenzdrucks in dem Gehäuse aufweist.
Es ist eine Vielzahl von Fitnessgeräten bekannt, die zur körperlichen Ertüchtigung von Personen verwendbar sind. Bei der großen Mehrzahl der in Verwendung befindlichen Fitnessgeräte bringt dabei die trainierende Person eine bestimmte Kraft gegen den Widerstand des Geräts auf oder betätigt bestimmte bewegliche Bauteile, wobei Umgebungsbedingungen vorliegen.
Weiter ist es bekannt, ein Höhentraining zu simulieren, indem die Versuchsperson zur Gänze in einer Kammer eingeschlossen ist, in der insgesamt ein verringerter Druck herrscht oder zumindest ein verringerter Partialdruck von Sauerstoff herrscht. Weiter sind aus der US-A-4944506 sowie aus der WO-A-9101162 Trainingsvorrichtungen bekannt, bei der sich die Versuchsperson teilweise unter Wasser befindet.
Aus der US-A-5133339 ist eine Vorrichtung bekannt, bei der durch eine druckbeaufschlagte Kammer eine Schwerkrafterhöhung oder -erniedrigung bei einer stehenden Person simuliert wird.
In der FR-A-2102886 ist ein Trainingsgerät beschrieben, bei dem in einer bis zur Taille reichenden Kammer ein saunaähnliches Klima erzeugt wird, in welchem die trainierende Person ein Fahrrad betätigt.
Aufgabe der vorliegenden Erfindung ist es, die oben beschriebenen Vorrichtungen weiterzubilden, um eine verbesserte Trainingswirkung zu erreichen.
Erfindungsgemäß wird dies dadurch gelöst, dass in der Vorrichtung ein Sitz zur Abstützung der Person vorgesehen ist, dass die Arbeitseinrichtung im Sitzen betätigbar ist. Bei dem Differenzdruck kann es sich grundsätzlich um einen Unterdruck oder um einen Überdruck handeln.
Es hat sich in überraschender Weise herausgestellt, dass eine deutlich verbesserte Trainingswirkung dadurch erzielbar ist, dass großflächige Bereiche des Körpers der trainierenden Person einem Unterdruck ausgesetzt werden. Dabei wirkt es sich jedoch nachteilig auf die Atmungsfunktion aus, wenn auch der Brustkorb von dem Unterdruck mitumfasst ist. Als optimal hat es sich herausgestellt, die Versuchsperson von der Taille abwärts einem Unterdruck auszusetzen. Es wird vermutet, dass die erfindungsgemäße Vorrichtung auf einen ähnlichen Wirkmechanismus beruht, wie die Schröpfungsbehandlung, die insbesondere in der chinesischen Medizin in großem Umfang verwendet wird. Am günstigsten hat es sich herausgestellt, wenn die Abdichtung im Taillenbereich der Person erfolgt. Im Prinzip ist es jedoch auch möglich, unterhalb der Taille, etwa an den Beinen, eine Abdichtung vorzusehen, so dass nur diese dem Unterdruck ausgesetzt sind.
Die Druckbereiche, in denen mit dem erfindungsgemäßen Gerät gearbeitet wird, entsprechen im wesentlichen Umweltbedingungen, wie sie in verschiedenen Regionen der Erde auch in natürlicher Weise vorkommen. Am günstigsten hat sich ein Absenken des Drucks um 0,1 bar gegenüber den Umgebungsbedingungen herausgestellt. Als sinnvolle Obergrenze wird derzeit etwa eine Absenkung um 0,2 bar angesehen. Die Erträglichkeit des Unterdrucks hängt auch von der Geschwindigkeit der Absenkung des Drucks ab. Eine langsamere Absenkung verbessert die Erträglichkeit für die Versuchsperson.
Es wird vermutet, dass die besondere Wirksamkeit der erfindungsgemäßen Vorrichtung darauf beruht, dass durch die ungleichmäßige Verteilung des Drucks über die Körperoberfläche eine Verschiebung der Gewebesäfte im Körper verursacht wird. Dadurch wird sowohl die Durchblutung als auch die Lymphflüssigkeit in der außenliegenden Haut und im Unterhautfettgewebe in den entsprechenden Hautpartien erhöht. Durch die gleichzeitig ausgeführte Bewegung wird die Lymphflüssigkeit abtransportiert und die Haut gleichzeitig immer wieder mit nährstoffreichem Blut versorgt. Dies bewirkt letztlich einen Regenerationsschub des Hautgewebes, der in der Folge auch zu einer Aufschlüsselung von Fettzellen führt. Auf diese Weise wird neben dem Trainingseffekt auch eine Verbesserung der Figur erreicht. Besonders vorteilhaft ist dabei, dass dieser Effekt in den kritischen Bereichen des unteren Bauchs, der Hüfte und der Oberschenkel erfolgt.
Auf diese Weise unterscheidet sich die vorliegende Erfindung wesentlich von den bekannten Formen des sogenannten Hypoxitrainings, das ein Training in großer Höhe simuliert. Bei einer solchen Form des Trainings verbessert das Blut seine Aufnahmefähigkeit für Sauerstoff, was letztlich zu einer Leistungsstelgerung im Ausdauerbereich führt. Da jedoch bei einer solchen Behandlungs- und Trainingsform der abgesenkte Druck gleichmäßig über den gesamten Körper einschließlich Lunge wirkt, können die Wirkungen der vorliegenden Erfindung nicht erzielt werden.
In einer alternativen Ausführungsvariante der Erfindung wird statt der Druckabsenkung eine Druckerhöhung während der Arbeit der Person durchgeführt. Dadurch werden in umgekehrter Weise Blut und Gewebesäfte aus den Beinen in den Oberkörper transferiert und dort verstärkt mit Sauerstoff und Nährstoffen angereichert. Nach einem Druckausgleich strömen diese Körpersäfte wieder in die untere Körperhälfte zurück, wodurch der oben beschriebene Regenerationsschub bewirkt wird. Theoretisch ist es dabei möglich, während einer Trainingseinheit ein- oder mehrmals von Unterdruck auf Überdruck und umgekehrt umzuschalten. Dadurch kann ein besonders intensiver Stoff- und Flüssigkeitsaustausch innerhalb des Körpers erreicht werden.
Die Vorrichtung der vorliegenden Erfindung ist nicht nur als reines Trainingsgerät verwendbar, sondern auch als medizinisches Gerät, beispielsweise als Ergometer, mit dem die körperliche Leistungsfähigkeit einer Person bestimmt werden kann.
Bei der Arbeitseinrichtung handelt es sich vorzugsweise um ein Zimmerfahrrad oder einen im Sitzen betätigbaren Stepper.
Die Wirkung kann weiter dadurch verstärkt werden, dass mit dem Gehäuse eine Einrichtung in Verbindung steht, die die Temperatur und/oder Luftfeuchtigkeit in dem Gehäuse reguliert. Insbesonders kann vorgesehen sein, dass die Einrichtung zur Erzeugung eines Differenzdrucks dazu ausgebildet ist, einen vorbestimmten Luftdurchsatz durch das Gehäuse zu gewährleisten. Damit ist es möglich, den Komfort der trainierenden Person während des Trainings zu erhöhen.
In der Folge wird vorliegende Erfindung anhand des in den Figuren dargestellten Ausführungsbeispiels näher erläutert. Die Figuren zeigen schematisch:
Fig. 1
eine erste Ausführungsvariante der erfindungsgemäßen Vorrichtung im Schnitt;
Fig. 2
Dichtelemente in einer Draufsicht und
Fig. 3
eine weitere Ausführungsvariante der Erfindung in einem Schnitt gemäß Fig. 1.
Die Vorrichtung gemäß Fig. 1 besteht aus einem im wesentlichen luftdicht ausgeführten Gehäuse 1, in dem ein Zimmerfahrrad 2 angeordnet ist, das aus Pedalen 3, einem Antriebsriemen 4 und einem Schwungrad 5 besteht, das durch eine nicht näher dargestellte Bremsvorrichtung gebremst ist. Ein Sitz 6 ist für die die Vorrichtung betätigende Person vorgesehen. Weiter ist in dem Gehäuse 1 eine Vakuumpumpe 7 angeordnet, die die Luft aus dem Inneren des Gehäuses 1 über eine Öffnung 8 nach außen hin abführt. Im oberen Bereich des Gehäuses 1 ist eine Öffnung 9 ausgebildet, die über zwei verschiebbare Deckefhälften 10a und 10b verfügt, die über Dichtungen 11 gegenüber dem Gehäuse 1 abgedichtet sind. An der Oberseite der Deckelhälften 10a und 10b sind Dichtelemente 12a, 12b vorgesehen, die aus Gummi hergestellt sind, um die Taille einer die Vorrichtung betätigenden Person dicht zu umschließen. Die Deckelhälften 10a, 10b werden auseinander geschoben, um ein Einsteigen in die Vorrichtung von oben her zu ermöglichen. Alternativ dazu kann auch seitlich eine Einstiegsöffnung ausgebildet sein, oder das Gehäuse 1 kann insgesamt zweiteilig ausgebildet sein, um ein besonders einfaches Eintreten in die Vorrichtung zu ermöglichen. Danach werden sämtliche Öffnungen verschlossen, um einen luftdichten Abschluss des Innenraums des Gehäuses 1 gegenüber der Umgebung zu gewährleisten. Die Dichtelemente 12a, 12b sollen dabei die Taille der Versuchsperson möglichst dicht umfassen. Danach wird über die Vakuumpumpe 7 ein vorbestimmter Unterdruck im Inneren des Gehäuses 1 erzeugt. Es ist für den Fachmann selbstverständlich, dass dieser Unterdruck entsprechend geregelt wird und entsprechend den jeweiligen Bedürfnissen einstellbar ist.
In einer alternativen Ausführungsvariante kann nicht nur vorgesehen sein, dass über die Vakuumpumpe 7 Luft abgesaugt wird, sondern dass auch in wohidefinlerter Wiese von der Umgebung her Luft zugeführt wird, um vorbestimmte Klimaverhältnisse, wie Temperatur, Feuchtigkeit und dergleichen im Inneren des Gehäuses 1 zu erzeugen. Dies ist in den vorliegenden Figuren nicht dargestellt.
Die Ausführungsvariante der Fig. 3 unterscheidet sich von der Ausführungsvariante der Fig. 1 dadurch, daß eine Pumpe 7a außerhalb des Kastens 1 angeordnet ist und über eine Leitung 8a mit ihm verbunden ist. Dadurch ist es möglich, das Betriebsgeräusch der Vorrichtung abzusenken. Die Pumpe ist umschaltbar ausgeführt, um einerseits einen Unterdruck und andererseits einen Überdruck in dem Kasten 1 erzeugen zu können.
In den Kasten 1 ist ein Stepper 2a angeordnet, der von einer angedeuteten Versuchsperson 20 betätigt wird. An der Oberseite des Kastens sind ein Lufthahn 14 und ein barometrisches Meßgerät 15 für den Druck innerhalb des Kastens vorgesehen. Eine Tür 13 ist an der Vorderseite des Kastens 1 zum Einstieg in die Vorrichtung angeordnet.
Die vorliegende Erfindung ermöglicht es, große Bereiche der Hautoberfläche einer Person während der Ausführung von körperlicher Arbeit einem definierten Unterdruck oder einem definierten Überdruck auszusetzen. Auf diese Weise können besondere Trainingswirkungen erreicht werden.

Claims (8)

  1. Vorrichtung zur körperlichen Ertüchtigung von Personen, mit einer mit den Beinen zu betätigenden Arbeitseinrichtung (2), die von einem luftdichten Gehäuse (1) umschlossen ist, das eine Öffnung (9) aufweist, die zum dichten Umschließen der Person im Bereich ihrer Taille ausgebildet ist, und die eine Einrichtung (7) zur Erzeugung eines Differenzdrucks in dem Gehäuse (1) aufweist, dadurch gekennzeichnet, dass in der Vorrichtung ein Sitz (6) zur Abstützung der Person vorgesehen ist und dass die Arbeitseinrichtung (2) im Sitzen betätigbar ist.
  2. Vorrichtung nach Anspruch 1, dadurch gekennzeichnet, dass mit dem Gehäuse (1) eine Einrichtung in Verbindung steht, die die Temperatur und/oder Luftfeuchtigkeit in dem Gehäuse (1) reguliert.
  3. Vorrichtung nach einem der Ansprüche 1 bis 2, dadurch gekennzeichnet, dass die Einrichtung zur Erzeugung eines Differenzdruckes dazu ausgebildet ist, einen vorbestimmten Luftdurchsatz durch das Gehäuse (1) zu gewährleisten.
  4. Vorrichtung nach einem der Ansprüche 1 bis 3, dadurch gekennzeichnet, dass die Einrichtung zur Erzeugung eines Differenzdrucks dazu ausgebildet ist, eine Druckabsenkung in dem Gehäuse (1) herzustellen.
  5. Vorrichtung nach Anspruch 4, dadurch gekennzeichnet, dass die Druckabsenkung um einen Differenzdruck von 0,02 bar bis 0,2 bar, vorzugsweise von 0,05 bar bis 0,15 bar durchgeführt wird.
  6. Vorrichtung nach einem der Ansprüche 1 bis 5, dadurch gekennzeichnet, dass die Einrichtung zur Erzeugung eines Differenzdruckes dazu ausgebildet ist, eine Druckerhöhung in dem Gehäuse (1) herzustellen.
  7. Vorrichtung nach einem der Ansprüche 1 bis 3, dadurch gekennzeichnet, dass die Einrichtung zur Erzeugung eines Differenzdruckes dazu ausgebildet ist, abwechselnd eine Druckabsenkung und eine Druckerhöhung in dem Kasten (1) herzustellen.
  8. Vorrichtung nach Anspruch 1, dadurch gekennzeichnet, dass die Arbeitseinrichtung als Zimmerfahrrad ausgebildet ist.
EP19980890273 1997-10-02 1998-09-29 Vorrichtung zur körperlichen Ertüchtigung von Personen Expired - Lifetime EP0906774B1 (de)

Priority Applications (3)

Application Number Priority Date Filing Date Title
DE29824810U DE29824810U1 (de) 1997-10-02 1998-09-29 Vorrichtung zur körperlichen Ertüchtigung von Personen
SI9830447T SI0906774T1 (en) 1997-10-02 1998-09-29 Fitness apparatus
AT98890273T ATE239438T1 (de) 1997-10-02 1998-09-29 Vorrichtung zur körperlichen ertüchtigung von personen

Applications Claiming Priority (3)

Application Number Priority Date Filing Date Title
AT167097A AT408723B (de) 1997-10-02 1997-10-02 Vorrichtung zur körperlichen ertüchtigung von personen
AT167097 1997-10-02
AT1670/97 1997-10-02

Publications (3)

Publication Number Publication Date
EP0906774A2 EP0906774A2 (de) 1999-04-07
EP0906774A3 EP0906774A3 (de) 1999-08-11
EP0906774B1 true EP0906774B1 (de) 2003-05-07

Family

ID=3518457

Family Applications (1)

Application Number Title Priority Date Filing Date
EP19980890273 Expired - Lifetime EP0906774B1 (de) 1997-10-02 1998-09-29 Vorrichtung zur körperlichen Ertüchtigung von Personen

Country Status (6)

Country Link
EP (1) EP0906774B1 (de)
AT (1) AT408723B (de)
DE (1) DE59808238D1 (de)
DK (1) DK0906774T3 (de)
ES (1) ES2198684T3 (de)
PT (1) PT906774E (de)

Families Citing this family (9)

* Cited by examiner, † Cited by third party
Publication number Priority date Publication date Assignee Title
US7141007B2 (en) 1997-10-02 2006-11-28 Norbert Egger Apparatus for physical training of persons
AT409217B (de) * 2000-08-10 2002-06-25 Norbert Dr Egger Vorrichtung zur körperlichen ertüchtigung von personen
AU2001291757A1 (en) * 2000-08-10 2002-02-18 Norbert Egger Slimming device
CA2499973C (en) 2002-09-25 2011-09-13 Prospective Concepts Ag Fitness device in the form of an article of clothing generating negative pressure
US7762930B2 (en) 2005-09-08 2010-07-27 Norbert Egger Adjustable fitness apparatus having a pressure chamber and an exercise device with a seat
US7591795B2 (en) * 2005-09-28 2009-09-22 Alterg, Inc. System, method and apparatus for applying air pressure on a portion of the body of an individual
CN101551285B (zh) * 2008-04-02 2010-11-17 李岩峰 一种带温度湿度指示功能的机械式差压表
CN111514517A (zh) * 2020-06-12 2020-08-11 鄢文玲 一种户外锻炼漫步机
CN112932944B (zh) * 2021-03-15 2022-08-02 滕州市妇幼保健院 一种用于妇产科的产后熏蒸护理装置

Family Cites Families (5)

* Cited by examiner, † Cited by third party
Publication number Priority date Publication date Assignee Title
FR2102886A5 (de) * 1970-04-10 1972-04-07 Dewinter Andre
US4944506A (en) * 1987-02-12 1990-07-31 Edmonds Medical Systems, Inc. Exercise device with underwater treadmill
IT1235634B (it) * 1989-07-18 1992-09-12 Stefano Weisz Dispositivo per la riabilitazione in ortostatismo a carico segmentario controllato.
FR2660548A1 (fr) * 1990-04-09 1991-10-11 Navau Bernard Caisson hyperbar synergique.
US5133339A (en) * 1991-04-15 1992-07-28 Whalen Robert T Exercise method and apparatus utilizing differential air pressure

Also Published As

Publication number Publication date
ES2198684T3 (es) 2004-02-01
EP0906774A2 (de) 1999-04-07
DK0906774T3 (da) 2003-09-01
AT408723B (de) 2002-02-25
EP0906774A3 (de) 1999-08-11
PT906774E (pt) 2003-09-30
ATA167097A (de) 2001-07-15
DE59808238D1 (de) 2003-06-12

Similar Documents

Publication Publication Date Title
DE2303970C3 (de) Gymnastikgerät
EP0906774B1 (de) Vorrichtung zur körperlichen Ertüchtigung von Personen
EP2953692B1 (de) Vorrichtung und verfahren zur durchführung eines atemtrainings
EP1307168B1 (de) Vorrichtung zum schlankmachen
CH704821A2 (de) Bestrahlungsvorrichtung.
Rapp Intentionalität und phantasia bei Aristoteles
AT3949U2 (de) Vorrichtung zur körperlichen ertüchtigung von personen
DE29824810U1 (de) Vorrichtung zur körperlichen Ertüchtigung von Personen
DE202007001961U1 (de) Vorrichtung zur Gewichtsabnahme, Umfangreduzierung und Hautbildverbesserung von Personen
DE3301550A1 (de) Medizinisches testgeraet
DE20213753U1 (de) Fitnessgerät mit Klimaanlage
DE3644196A1 (de) Fitness- und schwitzanzug
AT409217B (de) Vorrichtung zur körperlichen ertüchtigung von personen
DE202006005755U1 (de) Vorrichtung zur Gewichtsreduzierung und Hautbildverbesserung von Personen
WO1999001184A1 (de) Trainingsgerät
DE4430042A1 (de) Trainingsgerät
LU507550B1 (de) Ein gerät zur hüftbeugung für das training und lernen in der sporterziehung
DE102016122613A1 (de) Behandlungsvorrichtung
DE20018739U1 (de) Übungsgeräteset zur Stärkung der Muskulatur und zur selektiven Beherrschung der Muskelmotorik, insbesondere im Genitalbereich
DE427705C (de) Koerperuebungsgeraet
DE676993C (de) Pneumatisches Geraet zur Heilbehandlung
DE102020000759A1 (de) Bauchmuskeltrainer
DE102004031548A1 (de) Vorrichtung zur Gewichtsreduzierung und Hautbildverbesserung von Personen
DE37405C (de) Steigapparat für Zimmergymnastik
DE3042660A1 (de) Geraet zum regenerieren oder trainieren von muskeln oder muskelgruppen menschlicher patienten

Legal Events

Date Code Title Description
PUAI Public reference made under article 153(3) epc to a published international application that has entered the european phase

Free format text: ORIGINAL CODE: 0009012

AK Designated contracting states

Kind code of ref document: A2

Designated state(s): AT BE CH CY DE DK ES FI FR GB GR IE IT LI LU MC NL PT SE

AX Request for extension of the european patent

Free format text: AL;LT;LV;MK;RO;SI

PUAL Search report despatched

Free format text: ORIGINAL CODE: 0009013

AK Designated contracting states

Kind code of ref document: A3

Designated state(s): AT BE CH CY DE DK ES FI FR GB GR IE IT LI LU MC NL PT SE

AX Request for extension of the european patent

Free format text: AL;LT;LV;MK;RO;SI

RIC1 Information provided on ipc code assigned before grant

Free format text: 6A 61H 33/06 A

17P Request for examination filed

Effective date: 19990730

AKX Designation fees paid

Free format text: AT BE CH CY DE DK ES FI FR GB GR IE IT LI LU MC NL PT SE

AXX Extension fees paid

Free format text: RO PAYMENT 20000128;SI PAYMENT 20000128

17Q First examination report despatched

Effective date: 20000324

APAB Appeal dossier modified

Free format text: ORIGINAL CODE: EPIDOS NOAPE

APAB Appeal dossier modified

Free format text: ORIGINAL CODE: EPIDOS NOAPE

APAD Appeal reference recorded

Free format text: ORIGINAL CODE: EPIDOS REFNE

GRAH Despatch of communication of intention to grant a patent

Free format text: ORIGINAL CODE: EPIDOS IGRA

RIC1 Information provided on ipc code assigned before grant

Free format text: 7A 61H 9/00 A

GRAH Despatch of communication of intention to grant a patent

Free format text: ORIGINAL CODE: EPIDOS IGRA

GRAA (expected) grant

Free format text: ORIGINAL CODE: 0009210

AK Designated contracting states

Designated state(s): AT BE CH CY DE DK ES FI FR GB GR IE IT LI LU MC NL PT SE

AX Request for extension of the european patent

Extension state: RO SI

REG Reference to a national code

Ref country code: GB

Ref legal event code: FG4D

Free format text: NOT ENGLISH

REG Reference to a national code

Ref country code: CH

Ref legal event code: EP

REG Reference to a national code

Ref country code: IE

Ref legal event code: FG4D

Free format text: GERMAN

REF Corresponds to:

Ref document number: 59808238

Country of ref document: DE

Date of ref document: 20030612

Kind code of ref document: P

REG Reference to a national code

Ref country code: CH

Ref legal event code: NV

Representative=s name: ARNOLD & SIEDSMA AG

REG Reference to a national code

Ref country code: SE

Ref legal event code: TRGR

REG Reference to a national code

Ref country code: GR

Ref legal event code: EP

Ref document number: 20030402308

Country of ref document: GR

GBT Gb: translation of ep patent filed (gb section 77(6)(a)/1977)

Effective date: 20030718

REG Reference to a national code

Ref country code: DK

Ref legal event code: T3

REG Reference to a national code

Ref country code: PT

Ref legal event code: SC4A

Free format text: AVAILABILITY OF NATIONAL TRANSLATION

Effective date: 20030807

ET Fr: translation filed
REG Reference to a national code

Ref country code: ES

Ref legal event code: FG2A

Ref document number: 2198684

Country of ref document: ES

Kind code of ref document: T3

PLBI Opposition filed

Free format text: ORIGINAL CODE: 0009260

PLAZ Examination of admissibility of opposition: despatch of communication + time limit

Free format text: ORIGINAL CODE: EPIDOSNOPE2

26 Opposition filed

Opponent name: PREINSPERGER

Effective date: 20040130

NLR1 Nl: opposition has been filed with the epo

Opponent name: PREINSPERGER

PLAX Notice of opposition and request to file observation + time limit sent

Free format text: ORIGINAL CODE: EPIDOSNOBS2

PLBA Examination of admissibility of opposition: reply received

Free format text: ORIGINAL CODE: EPIDOSNOPE4

PLBQ Unpublished change to opponent data

Free format text: ORIGINAL CODE: EPIDOS OPPO

PLAB Opposition data, opponent's data or that of the opponent's representative modified

Free format text: ORIGINAL CODE: 0009299OPPO

R26 Opposition filed (corrected)

Opponent name: PREINSPERGER

Effective date: 20040130

PLBB Reply of patent proprietor to notice(s) of opposition received

Free format text: ORIGINAL CODE: EPIDOSNOBS3

NLR1 Nl: opposition has been filed with the epo

Opponent name: PREINSPERGER

PLCK Communication despatched that opposition was rejected

Free format text: ORIGINAL CODE: EPIDOSNREJ1

REG Reference to a national code

Ref country code: SI

Ref legal event code: IF

PLBN Opposition rejected

Free format text: ORIGINAL CODE: 0009273

STAA Information on the status of an ep patent application or granted ep patent

Free format text: STATUS: OPPOSITION REJECTED

27O Opposition rejected

Effective date: 20041223

NLR2 Nl: decision of opposition

Effective date: 20041223

APAH Appeal reference modified

Free format text: ORIGINAL CODE: EPIDOSCREFNO

PGFP Annual fee paid to national office [announced via postgrant information from national office to epo]

Ref country code: MC

Payment date: 20100928

Year of fee payment: 13

PGFP Annual fee paid to national office [announced via postgrant information from national office to epo]

Ref country code: LU

Payment date: 20101001

Year of fee payment: 13

REG Reference to a national code

Ref country code: CH

Ref legal event code: PFA

Owner name: EGGER, NORBERT, DR.

Free format text: EGGER, NORBERT, DR.#ESCHENBACHGASSE 4A#5020 SALZBURG (AT) -TRANSFER TO- EGGER, NORBERT, DR.#ESCHENBACHGASSE 4A#5020 SALZBURG (AT)

PG25 Lapsed in a contracting state [announced via postgrant information from national office to epo]

Ref country code: MC

Free format text: LAPSE BECAUSE OF NON-PAYMENT OF DUE FEES

Effective date: 20110930

PG25 Lapsed in a contracting state [announced via postgrant information from national office to epo]

Ref country code: LU

Free format text: LAPSE BECAUSE OF NON-PAYMENT OF DUE FEES

Effective date: 20110929

PGFP Annual fee paid to national office [announced via postgrant information from national office to epo]

Ref country code: GR

Payment date: 20140929

Year of fee payment: 17

Ref country code: IE

Payment date: 20140922

Year of fee payment: 17

Ref country code: DK

Payment date: 20140917

Year of fee payment: 17

Ref country code: DE

Payment date: 20140926

Year of fee payment: 17

Ref country code: CH

Payment date: 20140921

Year of fee payment: 17

PGFP Annual fee paid to national office [announced via postgrant information from national office to epo]

Ref country code: AT

Payment date: 20140925

Year of fee payment: 17

Ref country code: GB

Payment date: 20140922

Year of fee payment: 17

PGFP Annual fee paid to national office [announced via postgrant information from national office to epo]

Ref country code: IT

Payment date: 20140922

Year of fee payment: 17

Ref country code: PT

Payment date: 20140331

Year of fee payment: 17

PGFP Annual fee paid to national office [announced via postgrant information from national office to epo]

Ref country code: FR

Payment date: 20140922

Year of fee payment: 17

PGFP Annual fee paid to national office [announced via postgrant information from national office to epo]

Ref country code: NL

Payment date: 20140921

Year of fee payment: 17

Ref country code: CY

Payment date: 20140903

Year of fee payment: 17

PGFP Annual fee paid to national office [announced via postgrant information from national office to epo]

Ref country code: BE

Payment date: 20140921

Year of fee payment: 17

REG Reference to a national code

Ref country code: DE

Ref legal event code: R119

Ref document number: 59808238

Country of ref document: DE

REG Reference to a national code

Ref country code: PT

Ref legal event code: MM4A

Free format text: LAPSE DUE TO NON-PAYMENT OF FEES

Effective date: 20160329

REG Reference to a national code

Ref country code: DK

Ref legal event code: EBP

Effective date: 20150930

PG25 Lapsed in a contracting state [announced via postgrant information from national office to epo]

Ref country code: CY

Free format text: LAPSE BECAUSE OF NON-PAYMENT OF DUE FEES

Effective date: 20150929

Ref country code: IT

Free format text: LAPSE BECAUSE OF NON-PAYMENT OF DUE FEES

Effective date: 20150929

REG Reference to a national code

Ref country code: CH

Ref legal event code: PL

REG Reference to a national code

Ref country code: AT

Ref legal event code: MM01

Ref document number: 239438

Country of ref document: AT

Kind code of ref document: T

Effective date: 20150929

GBPC Gb: european patent ceased through non-payment of renewal fee

Effective date: 20150929

PG25 Lapsed in a contracting state [announced via postgrant information from national office to epo]

Ref country code: PT

Free format text: LAPSE BECAUSE OF NON-PAYMENT OF DUE FEES

Effective date: 20160329

REG Reference to a national code

Ref country code: NL

Ref legal event code: MM

Effective date: 20151001

REG Reference to a national code

Ref country code: GR

Ref legal event code: ML

Ref document number: 20030402308

Country of ref document: GR

Effective date: 20160405

REG Reference to a national code

Ref country code: IE

Ref legal event code: MM4A

REG Reference to a national code

Ref country code: FR

Ref legal event code: ST

Effective date: 20160531

PG25 Lapsed in a contracting state [announced via postgrant information from national office to epo]

Ref country code: IE

Free format text: LAPSE BECAUSE OF NON-PAYMENT OF DUE FEES

Effective date: 20150929

Ref country code: GR

Free format text: LAPSE BECAUSE OF NON-PAYMENT OF DUE FEES

Effective date: 20160405

Ref country code: DE

Free format text: LAPSE BECAUSE OF NON-PAYMENT OF DUE FEES

Effective date: 20160401

Ref country code: CH

Free format text: LAPSE BECAUSE OF NON-PAYMENT OF DUE FEES

Effective date: 20150930

Ref country code: LI

Free format text: LAPSE BECAUSE OF NON-PAYMENT OF DUE FEES

Effective date: 20150930

Ref country code: GB

Free format text: LAPSE BECAUSE OF NON-PAYMENT OF DUE FEES

Effective date: 20150929

REG Reference to a national code

Ref country code: SI

Ref legal event code: KO00

Effective date: 20160603

PG25 Lapsed in a contracting state [announced via postgrant information from national office to epo]

Ref country code: NL

Free format text: LAPSE BECAUSE OF NON-PAYMENT OF DUE FEES

Effective date: 20151001

Ref country code: AT

Free format text: LAPSE BECAUSE OF NON-PAYMENT OF DUE FEES

Effective date: 20150929

Ref country code: FR

Free format text: LAPSE BECAUSE OF NON-PAYMENT OF DUE FEES

Effective date: 20150930

PG25 Lapsed in a contracting state [announced via postgrant information from national office to epo]

Ref country code: DK

Free format text: LAPSE BECAUSE OF NON-PAYMENT OF DUE FEES

Effective date: 20150930

PG25 Lapsed in a contracting state [announced via postgrant information from national office to epo]

Ref country code: BE

Free format text: LAPSE BECAUSE OF NON-PAYMENT OF DUE FEES

Effective date: 20150930

PGFP Annual fee paid to national office [announced via postgrant information from national office to epo]

Ref country code: FI

Payment date: 20170926

Year of fee payment: 20

PGFP Annual fee paid to national office [announced via postgrant information from national office to epo]

Ref country code: SE

Payment date: 20170921

Year of fee payment: 20

PGFP Annual fee paid to national office [announced via postgrant information from national office to epo]

Ref country code: ES

Payment date: 20171011

Year of fee payment: 20

REG Reference to a national code

Ref country code: ES

Ref legal event code: FD2A

Effective date: 20201110

PG25 Lapsed in a contracting state [announced via postgrant information from national office to epo]

Ref country code: ES

Free format text: LAPSE BECAUSE OF EXPIRATION OF PROTECTION

Effective date: 20180930