EP0903393A2 - Charging car for charging the chambers of a coke oven battery - Google Patents
Charging car for charging the chambers of a coke oven battery Download PDFInfo
- Publication number
- EP0903393A2 EP0903393A2 EP98115886A EP98115886A EP0903393A2 EP 0903393 A2 EP0903393 A2 EP 0903393A2 EP 98115886 A EP98115886 A EP 98115886A EP 98115886 A EP98115886 A EP 98115886A EP 0903393 A2 EP0903393 A2 EP 0903393A2
- Authority
- EP
- European Patent Office
- Prior art keywords
- filling
- screw conveyor
- housing
- coal
- outlet
- Prior art date
- Legal status (The legal status is an assumption and is not a legal conclusion. Google has not performed a legal analysis and makes no representation as to the accuracy of the status listed.)
- Granted
Links
Images
Classifications
-
- C—CHEMISTRY; METALLURGY
- C10—PETROLEUM, GAS OR COKE INDUSTRIES; TECHNICAL GASES CONTAINING CARBON MONOXIDE; FUELS; LUBRICANTS; PEAT
- C10B—DESTRUCTIVE DISTILLATION OF CARBONACEOUS MATERIALS FOR PRODUCTION OF GAS, COKE, TAR, OR SIMILAR MATERIALS
- C10B25/00—Doors or closures for coke ovens
- C10B25/20—Lids or closures for charging holes
- C10B25/24—Lids or closures for charging holes for ovens with horizontal chambers
-
- C—CHEMISTRY; METALLURGY
- C10—PETROLEUM, GAS OR COKE INDUSTRIES; TECHNICAL GASES CONTAINING CARBON MONOXIDE; FUELS; LUBRICANTS; PEAT
- C10B—DESTRUCTIVE DISTILLATION OF CARBONACEOUS MATERIALS FOR PRODUCTION OF GAS, COKE, TAR, OR SIMILAR MATERIALS
- C10B31/00—Charging devices
- C10B31/02—Charging devices for charging vertically
- C10B31/04—Charging devices for charging vertically coke ovens with horizontal chambers
-
- F—MECHANICAL ENGINEERING; LIGHTING; HEATING; WEAPONS; BLASTING
- F27—FURNACES; KILNS; OVENS; RETORTS
- F27D—DETAILS OR ACCESSORIES OF FURNACES, KILNS, OVENS OR RETORTS, IN SO FAR AS THEY ARE OF KINDS OCCURRING IN MORE THAN ONE KIND OF FURNACE
- F27D3/00—Charging; Discharging; Manipulation of charge
-
- F—MECHANICAL ENGINEERING; LIGHTING; HEATING; WEAPONS; BLASTING
- F27—FURNACES; KILNS; OVENS; RETORTS
- F27D—DETAILS OR ACCESSORIES OF FURNACES, KILNS, OVENS OR RETORTS, IN SO FAR AS THEY ARE OF KINDS OCCURRING IN MORE THAN ONE KIND OF FURNACE
- F27D3/00—Charging; Discharging; Manipulation of charge
- F27D3/06—Charging or discharging machines on travelling carriages
-
- F—MECHANICAL ENGINEERING; LIGHTING; HEATING; WEAPONS; BLASTING
- F27—FURNACES; KILNS; OVENS; RETORTS
- F27D—DETAILS OR ACCESSORIES OF FURNACES, KILNS, OVENS OR RETORTS, IN SO FAR AS THEY ARE OF KINDS OCCURRING IN MORE THAN ONE KIND OF FURNACE
- F27D21/00—Arrangement of monitoring devices; Arrangement of safety devices
- F27D21/02—Observation or illuminating devices
- F27D2021/023—Closable inserting openings, e.g. for the introduction of lances, sensors or burners
-
- F—MECHANICAL ENGINEERING; LIGHTING; HEATING; WEAPONS; BLASTING
- F27—FURNACES; KILNS; OVENS; RETORTS
- F27D—DETAILS OR ACCESSORIES OF FURNACES, KILNS, OVENS OR RETORTS, IN SO FAR AS THEY ARE OF KINDS OCCURRING IN MORE THAN ONE KIND OF FURNACE
- F27D3/00—Charging; Discharging; Manipulation of charge
- F27D3/08—Screw feeders; Screw dischargers
Definitions
- the coal filling truck is guided on the ceiling of the Coking chambers of a coke oven battery can be moved. He picks up coal from a coal tower and transports it them to the coking chambers into which they go through Filling holes is filled.
- Modern coal filling trucks show a forced feed system with a horizontal Screw conveyor below the floor outlet. Further they are with an automatic lid lifting device for opening and closing Fulloch covers as well as with a telescopic tube, which the outlet of the Screw conveyor connects to the open filling hole, to avoid disturbing emissions during the filling process equipped.
- the facilities described require a large installation height on the underside of the coal filling car. The local conditions of existing coking plants allow the use of modern coal filling trucks with the described facilities often too.
- the invention has for its object a coal filling truck of the structure described at the beginning, the low installation height for the screw conveyor and distinguishes the lid lifting device.
- the invention teaches that Casing of the screw conveyor on the underside of the coal filling truck horizontally movable and by means of an actuator with unchanged location of the coal filling car between a starting position in which the Exhaust port positioned laterally to the filling hole and a filling position in which the outlet port essentially aligned with the fill hole, is movable.
- the Screw conveyor aligned in the direction of travel of the coal filling car and the adjusting movement of the screw conveyor takes place in the form of an axial movement in the longitudinal direction of the Screw conveyor.
- the travel of the screw conveyor housing is set up in a first working position (Starting position) the fill hole cover is freely accessible is for the lid lifting device and with unchanged Location of the coal filling truck in a second Working position (filling position) of the outlet connection essentially aligned with the fill hole.
- the arrangement according to the invention makes it possible to arrange the outlet nozzle so deep that through the telescopic tube during the filling process only a small distance has to be bridged.
- the telescopic tube can therefore be implemented with a very short overall length. Additional units for actuating the telescopic tube are corresponding also available as compact units.
- the housing of the screw conveyor preferably trough-shaped trained, has in a further expedient embodiment the invention a top cover plate, the in the starting position of the screw conveyor Bottom outlet of the coal filling truck is closed so far that no coal spills onto the coking chamber ceiling can.
- the cover plate of the screw conveyor thus fulfills the function of a slider that the bottom outlet of the Closes the coal filling truck and only releases the floor outlet, if a coking chamber is filled and the screw conveyor is in the appropriate filling position located.
- a shut-off device in the outlet port of the screw conveyor e.g. arranged in the form of a gate valve, the can be operated by a device attached to the screw conveyor is.
- a device attached to the screw conveyor is also a Actuator arranged by means of the telescopic tube can be moved up and down automatically.
- the housing of the screw conveyor is expedient Rails run on both sides of the screw conveyor housing on the steel substructure of the filling truck are arranged.
- the rails can runways any Have design.
- the lid lifting device has conventional gripping and lifting devices on. A facility is also required around a picked-up lid from the filling area to move out.
- the lid lifting device can be used for this Purpose to be equipped with a separate drive that a translational movement or a horizontal one Pivots.
- the invention is the lid lifting device on the steel substructure of the filling truck Guided rails, the rails are parallel extend to the guide rails of the screw conveyor and travel movements of the screw conveyor along the guide rails and the lid lifting device along the Running rails are rigidly coupled. It is understood that the rigid coupling on the side, through the rail guides conditional relative movements between the screw conveyor and the cover lifting device during the movement allows.
- a coupling rod is expediently provided with Spherical bearings and pivot pins used.
- the driving movement of the screw conveyor relative to the bottom outlet is at this embodiment of the invention also used to Filling hole cover, which is taken up by the cover lifting device has been moved out of the work area of the fill hole and after the filling is finished again towards the filling hole to move back.
- a hydraulic or electromechanical control device arranged on a on the housing of the Auger mounted carrier works, and is the Lid lifting device also by means of a coupling rod connected to the carrier.
- the lid lifting device is not moving of the screw conveyor, but independent from the horizontal adjustment movement of the screw conveyor housing horizontally movable.
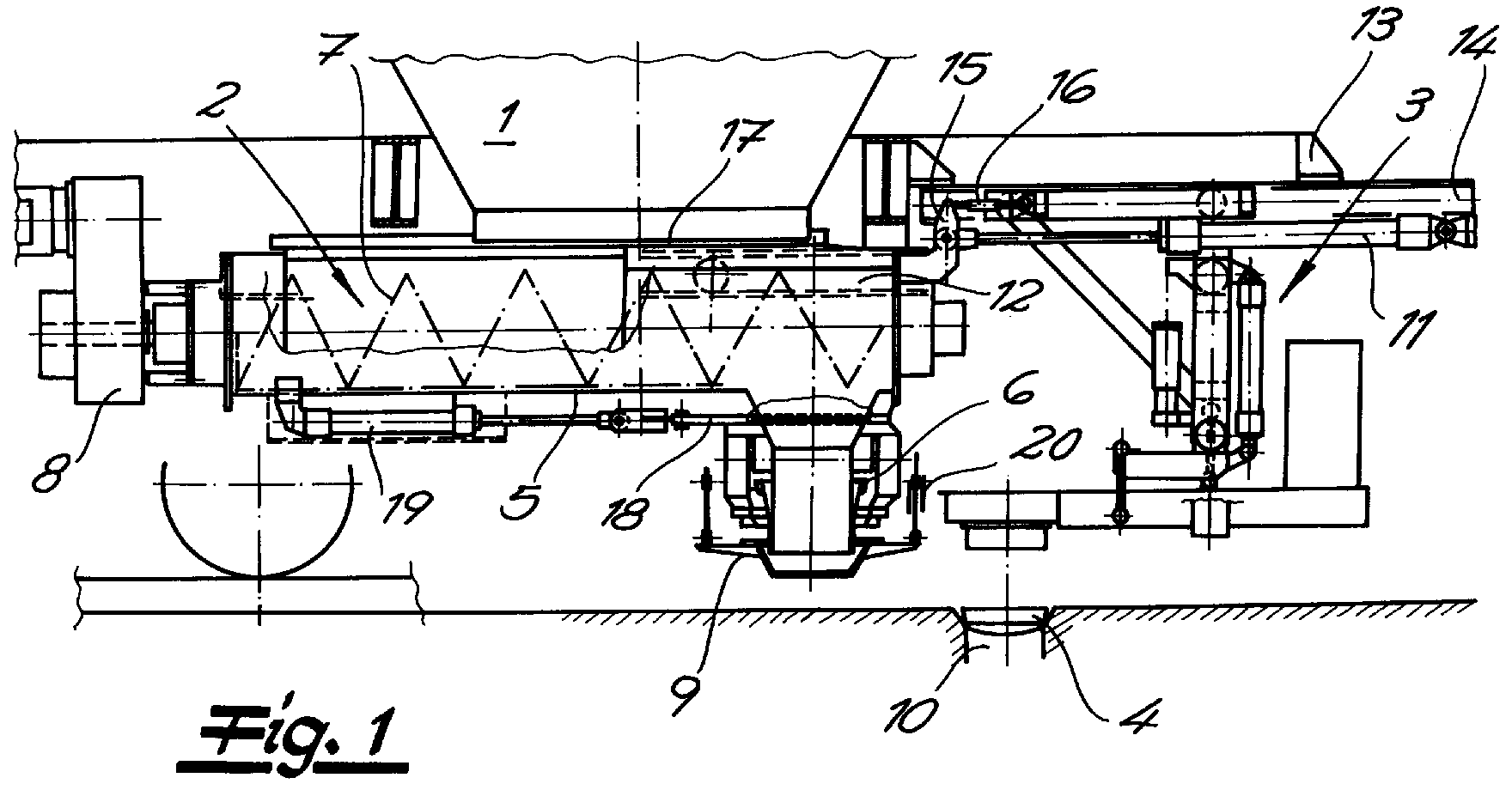
- Figures 1 to 5 show sections of a longitudinal section through the lower part of a coal filling truck, the in a coke plant on the coke oven ceiling a coke oven battery is operated.
- the coal filling truck picks up coal from a coal tower and conveys this to the coking chambers of the coke oven battery.
- the insert coal is there through filling holes in the Coking chambers filled vertically.
- 6 is also in longitudinal section a further embodiment of the invention Coal filling car shown.
- the coal filling truck shown in the figures has one funnel-shaped bottom outlet 1, a horizontal Screw conveyor 2 below the floor outlet 1 and a lid lifting device 3 for opening and closing of Greochdeckeln 4 of the coking chambers.
- To the basics Construction of the screw conveyor 2 include one of housing 5 which can be loaded at the top with an outlet connection on the underside 6, at least one rotatably mounted in the housing 5 Screw conveyor 7 and a flange-mounted on the housing 5 Screw conveyor drive 8.
- a Telescopic tube 9 connected, which the outlet 6th connects to an open fill hole 10.
- the housing 5 of the screw conveyor 2 is on the underside of the coal filling car arranged horizontally movable and by means of an actuator 11 with unchanged Location of the coal filling truck between a starting position, in which the outlet port laterally to the fill hole is positioned offset, and a filling position, in which of the outlet nozzle 6 essentially with the filling hole 10 aligned, movable. 1 to 3 show the starting position, 4 and 5, the filling position of the Screw conveyor 2.
- the housing 5 of the screw conveyor 2 is guided on rails 12, which are on both sides of the housing 5 arranged on the steel substructure 13 of the coal filling car are.
- the cover lifting device 3 is on running rails 14 performed, which is also on the steel substructure 13 of the coal filling car are arranged.
- the running tracks 14 extend parallel to the guide rails 12 of the screw conveyor 2. Furthermore, one removes a comparative examination of the figures that the driving movements of the screw conveyor 2 along the guide rails 12 and the lid lifting device 3 along the Running rails are rigidly coupled.
- a hydraulic or electromechanical Setting device 11 is provided, which also on the steel substructure 13 of the coal filling car is arranged. She works on in the embodiment one attached to the housing 5 of the screw conveyor 2 Carrier 15. The cover lifting device is also on these connected by means of a coupling rod.
- the housing 5 of the screw conveyor 2 has an upper side Cover plate 17, which in the starting position of the screw conveyor 2 partially or the bottom outlet completely closed. The order is made that in the starting position no coal on the ceiling of the Coking chambers can leak.
- a shut-off device e.g. in the form of a gate valve 18, arranged, by a device attached to the screw conveyor 19 can be actuated.
- the telescopic tube 9 is by means of the actuator 20 can be moved up and down automatically is. Operation and mode of operation of the coal filling vehicle according to the invention are compared from a comparative perspective Figures clearly.
- the coal filling truck takes in a coal tower coal in the coke plant, drives to one Coking chamber and is there on one with a fill hole lid 4 closed filling hole 10 positioned (Fig. 1).
- a vertically adjustable device 21 for cleaning the fill hole cover and fill hole frame connected is assigned to the outlet 6 end of the Screw conveyor housing 5 .
- the device 21 is together with the housing 5 between its starting position and its Filling position can be moved horizontally and is in the starting position settable on the frame of the filling hole 10.
- the Lid lifting device 3 is independent of the horizontal Adjustment movement of the screw conveyor housing 5 horizontally movable.
- the various functional positions of the device 21 are shown, partly in dashed lines, in FIG. 6.
- the Housing 5 of the screw conveyor 2 takes its starting position on.
- the Greochdeckel 4 is from the lid lifting device 3 has been added and is in one Position laterally offset from the fill hole.
- the lid lifting device 3 moves into the Position shown in dashed lines and lowers the fill hole cover 4 into the cleaning device 21.
- the cover lifting device moves 3 and the cleaning device 21 in the positions represented by solid lines. Subsequently can the screw conveyor 2 in its filling position moves and can the processes already described for coal filling.
Landscapes
- Chemical & Material Sciences (AREA)
- Engineering & Computer Science (AREA)
- Materials Engineering (AREA)
- Oil, Petroleum & Natural Gas (AREA)
- Organic Chemistry (AREA)
- Mechanical Engineering (AREA)
- General Engineering & Computer Science (AREA)
- Coke Industry (AREA)
Abstract
Die Erfindung betrifft einen Kohlefüllwagen zum Befüllen von Verkokungskammern einer Koksofenbatterie, - mit einem trichterförmigen Bodenauslaß (1), einem horizontalen Schneckenförderer (2) unterhalb des Bodenauslasses und einer Deckelabhebevorrichtung (3) zum Öffnen und Verschließen von Füllochdeckeln der Verkokungskammern. Der Schneckenförderer (2) weist ein von oben beschickbares Gehäuse (5) mit einem unterseitigen Auslaßstutzen (6), eine drehbar gelagerte Förderschnecke sowie einen an das Gehäuse angeflanschten Förderschneckenantrieb (8) auf. An dem Auslaßstutzen (6) ist ein Teleskoprohr angeordnet. Erfindungsgemäß ist das Gehäuse (5) des Schneckenförderers (2) an der Unterseite des Kohlefüllwagens horizontal beweglich angeordnet sowie mittels eines Stellantriebes (11) bei unverändertem Standort des Füllwagens zwischen einer Ausgangsstellung und einer Füllstellung bewegbar. In der Ausgangsstellung ist der Auslaßstutzen (6) seitlich zum Fülloch versetzt positioniert. In der Füllstellung fluchtet der Auslaßstutzen (6) im wesentlichen mit dem Fülloch. The invention relates to a coal filling truck for filling coking chambers of a coke oven battery, - with a funnel-shaped bottom outlet (1), a horizontal screw conveyor (2) below the bottom outlet and a lid lifting device (3) for opening and closing filling hole lids of the coking chambers. The screw conveyor (2) has a housing (5) which can be loaded from above with an outlet connection (6) on the underside, a rotatably mounted screw conveyor and a screw conveyor drive (8) flanged to the housing. A telescopic tube is arranged on the outlet connection (6). According to the invention, the housing (5) of the screw conveyor (2) is arranged such that it can be moved horizontally on the underside of the coal filling car and can be moved between an initial position and a filling position by means of an actuator (11) with the filling car in an unchanged location. In the starting position, the outlet connection (6) is positioned laterally offset from the filling hole. In the filling position, the outlet connection (6) is essentially aligned with the filling hole.
Description
Die Erfindung betrifft einen Kohlefüllwagen zum Befüllen
von Verkokungskammern einer Koksofenbatterie, mit
Der Kohlefüllwagen ist schienengeführt auf der Decke der Verkokungskammern einer Koksofenbatterie verfahrbar. Er nimmt Einsatzkohle von einem Kohleturm auf und transportiert sie zu den Verkokungskammern, in welche sie durch Füllöcher eingefüllt wird. Moderne Kohlefüllwagen weisen ein Zwangsbeschickungssystem mit einem horizontalen Schneckenförderer unterhalb des Bodenauslasses auf. Ferner sind sie mit einer automatischen Deckelabhebevorrichtung zum Öffnen und Verschließen von Fullochdeckeln sowie mit einem Teleskoprohr, welches den Auslaßstutzen des Schneckenförderers mit dem geöffneten Fülloch verbindet, zur Vermeidung störender Emissionen während des Füllvorganges ausgerüstet. Die beschriebenen Einrichtungen erfordern eine große Einbauhöhe an der Unterseite des Kohlefüllwagens. Die örtlichen Verhältnisse bestehender Kokereianlagen lassen den Einsatz moderner Kohlefüllwagen mit den beschriebenen Einrichtungen oftmals nicht zu.The coal filling truck is guided on the ceiling of the Coking chambers of a coke oven battery can be moved. He picks up coal from a coal tower and transports it them to the coking chambers into which they go through Filling holes is filled. Modern coal filling trucks show a forced feed system with a horizontal Screw conveyor below the floor outlet. Further they are with an automatic lid lifting device for opening and closing Fulloch covers as well as with a telescopic tube, which the outlet of the Screw conveyor connects to the open filling hole, to avoid disturbing emissions during the filling process equipped. The facilities described require a large installation height on the underside of the coal filling car. The local conditions of existing coking plants allow the use of modern coal filling trucks with the described facilities often too.
Der Erfindung liegt die Aufgabe zugrunde, einen Kohlefüllwagen des eingangs beschriebenen Aufbaus anzugeben, der sich durch eine niedrige Einbauhöhe für den Schneckenförderer sowie die Deckelabhebevorrichtung auszeichnet.The invention has for its object a coal filling truck of the structure described at the beginning, the low installation height for the screw conveyor and distinguishes the lid lifting device.
Zur Lösung dieser Aufgabe lehrt die Erfindung, daß das Gehäuse des Schneckenförderers an der Unterseite des Kohlefüllwagens horizontal beweglich angeordnet sowie mittels eines Stellantriebes bei unverändertem Standort des Kohlefüllwagens zwischen einer Ausgangsstellung, in welcher der Auslaßstutzen seitlich zum Fülloch versetzt positioniert ist, und einer Füllstellung, in welcher der Auslaßstutzen im wesentlichen mit dem Fülloch fluchtet, bewegbar ist. Gemäß einer für die Praxis bevorzugten Ausführung ist der Schneckenförderer in Fahrtrichtung des Kohlefüllwagens ausgerichtet und erfolgt die Stellbewegung des Schneckenförderers in Form einer Axialbewegung in Längsrichtung des Schneckenförderers. Der Stellweg des Schneckenförderergehäuses ist so eingerichtet, daß in einer ersten Arbeitsstellung (Ausgangsstellung) der Füllochdeckel frei zugänglich ist für die Deckelabhebevorrichtung und bei unverändertem Standort des Kohlefüllwagens in einer zweiten Arbeitsstellung (Füllstellung) der Auslaßstutzen im wesentlichen mit dem Fülloch fluchtet. Die erfindungsgemäße Anordnung ermöglicht es, den Auslaßstutzen so tief anzuordnen, daß durch das Teleskoprohr während des Befüllvorganges nur ein kleiner Abstand überbrückt werden muß. Das Teleskoprohr ist folglich mit sehr kurzer Baulänge ausführbar. Zusatzaggregate zur Betätigung des Teleskoprohres sind entsprechend ebenfalls als kompakte Aggregate ausführbar.To achieve this object, the invention teaches that Casing of the screw conveyor on the underside of the coal filling truck horizontally movable and by means of an actuator with unchanged location of the coal filling car between a starting position in which the Exhaust port positioned laterally to the filling hole and a filling position in which the outlet port essentially aligned with the fill hole, is movable. According to a preferred embodiment in practice, the Screw conveyor aligned in the direction of travel of the coal filling car and the adjusting movement of the screw conveyor takes place in the form of an axial movement in the longitudinal direction of the Screw conveyor. The travel of the screw conveyor housing is set up in a first working position (Starting position) the fill hole cover is freely accessible is for the lid lifting device and with unchanged Location of the coal filling truck in a second Working position (filling position) of the outlet connection essentially aligned with the fill hole. The arrangement according to the invention makes it possible to arrange the outlet nozzle so deep that through the telescopic tube during the filling process only a small distance has to be bridged. The telescopic tube can therefore be implemented with a very short overall length. Additional units for actuating the telescopic tube are corresponding also available as compact units.
Das Gehäuse des Schneckenförderers, vorzugsweise trogförmig ausgebildet, weist in einer weiteren zweckmäßigen Ausgestaltung der Erfindung eine oberseitige Abdeckplatte auf, die in der Ausgangsstellung des Schneckenförderers den Bodenauslaß des Kohlefüllwagens so weit verschließt, daß keine Kohle auf die Decke der Verkokungskammern auslaufen kann. Die Abdeckplatte des Schneckenförderers erfüllt damit die Funktion eines Schiebers, der den Bodenauslaß des Kohlefüllwagens verschließt und den Bodenauslaß nur frei-gibt, wenn die Befüllung einer Verkokungskammer erfolgt und der Schneckenförderer sich in der entsprechenden Füllstellung befindet.The housing of the screw conveyor, preferably trough-shaped trained, has in a further expedient embodiment the invention a top cover plate, the in the starting position of the screw conveyor Bottom outlet of the coal filling truck is closed so far that no coal spills onto the coking chamber ceiling can. The cover plate of the screw conveyor thus fulfills the function of a slider that the bottom outlet of the Closes the coal filling truck and only releases the floor outlet, if a coking chamber is filled and the screw conveyor is in the appropriate filling position located.
Gemäß einer weiteren, bevorzugten Ausführung der Erfindung ist im Auslaßstutzen des Schneckenförderes ein Absperrorgan, z.B. in Form eines Absperrschiebers, angeordnet, das durch eine am Schneckenförderer befestigte Vorrichtung betätigbar ist. Am Umfang des Auslaßstutzens ist ferner eine Betätigungsvorrichtung angeordnet, mittels der das Teleskoprohr selbsttätig auf- und abwärts bewegt werden kann.According to a further preferred embodiment of the invention is a shut-off device in the outlet port of the screw conveyor, e.g. arranged in the form of a gate valve, the can be operated by a device attached to the screw conveyor is. At the periphery of the outlet nozzle is also a Actuator arranged by means of the telescopic tube can be moved up and down automatically.
Das Gehäuse des Schneckenförderers ist zweckmäßig auf Schienen geführt, die beiderseits des Schneckenförderergehäuses an der Stahlunterkonstruktion des Füllwagens angeordnet sind. Die Schienen können Laufbahnen beliebiger Gestaltung aufweisen.The housing of the screw conveyor is expedient Rails run on both sides of the screw conveyor housing on the steel substructure of the filling truck are arranged. The rails can runways any Have design.
Die Deckelabhebevorrichtung weist übliche Greif- und Hubeinrichtungen auf. Ferner ist eine Einrichtung erforderlich, um einen aufgenommenen Deckel aus dem Füllbereich herauszubewegen. Die Deckelabhebevorrichtung kann zu diesem Zweck mit einem separaten Antrieb ausgerüstet sein, die eine translatorische Bewegung oder eine horizontale Schwenkbewegung ausführt. Gemäß einer bevorzugten Ausführung der Erfindung ist die Deckelabhebevorrichtung auf an der Stahlunterkonstruktion des Füllwagens angeordneten Laufschienen geführt, wobei die Laufschienen sich parallel zu den Führungsschienen des Schneckenförderers erstrecken und Fahrbewegungen des Schneckenförderers entlang den Führungsschienen sowie der Deckelabhebevorrichtung entlang den Laufschienen starr gekoppelt sind. Es versteht sich, daß die starre Kopplung seitliche, durch die Schienenführungen bedingte Relativbewegungen zwischen dem Schneckenförderer und der Deckelabhebevorrichtung während der Fahrbewegung zuläßt. Zweckmäßigerweise wird eine Kupplungsstange mit Gelenklagern und Drehbolzen eingesetzt. Die Fahrbewegung des Schneckenförderers relativ zum Bodenauslaß wird bei dieser Ausführung der Erfindung auch genutzt, um einen Füllochdeckel, der von der Deckelabhebevorrichtung aufgenommen wurde, aus dem Arbeitsbereich des Fülloches herauszubewegen und nach beendeter Füllung wieder zum Fülloch hin zurückzubewegen. Gemäß einer bevorzugten konstruktiven Ausführung ist an der Stahlunterkonstruktion des Kohlefüllwagens eine hydraulische oder elektromechanische Stelleinrichtung angeordnet, die auf einen an dem Gehäuse des Schneckenförderers befestigten Träger arbeitet, und ist die Deckelabhebevorrichtung mittels einer Kupplungsstange ebenfalls mit dem Träger verbunden.The lid lifting device has conventional gripping and lifting devices on. A facility is also required around a picked-up lid from the filling area to move out. The lid lifting device can be used for this Purpose to be equipped with a separate drive that a translational movement or a horizontal one Pivots. According to a preferred embodiment the invention is the lid lifting device on the steel substructure of the filling truck Guided rails, the rails are parallel extend to the guide rails of the screw conveyor and travel movements of the screw conveyor along the guide rails and the lid lifting device along the Running rails are rigidly coupled. It is understood that the rigid coupling on the side, through the rail guides conditional relative movements between the screw conveyor and the cover lifting device during the movement allows. A coupling rod is expediently provided with Spherical bearings and pivot pins used. The driving movement of the screw conveyor relative to the bottom outlet is at this embodiment of the invention also used to Filling hole cover, which is taken up by the cover lifting device has been moved out of the work area of the fill hole and after the filling is finished again towards the filling hole to move back. According to a preferred design is on the steel substructure of the coal filling car a hydraulic or electromechanical control device arranged on a on the housing of the Auger mounted carrier works, and is the Lid lifting device also by means of a coupling rod connected to the carrier.
Gemäß einer weiteren, bevorzugten Ausführung der Erfindung ist an das dem Auslaßstutzen zugeordnete Ende des Schneckenförderergehäuses eine vertikal verstellbare Einrichtung zum Reinigen von Füllochdeckel und Füllochrahmen angeschlossen, die zusammen mit dem Gehäuse zwischen dessen Ausgangsstellung und dessen Füllstellung horizontal verfahrbar ist und in der Ausgangsstellung auf den Rahmen des Fülloches absetzbar ist. Bei dieser Ausführung der Erfindung ist die Deckelabhebevorrichtung nicht mit der Fahrbewegung des Schneckenförderers gekoppelt, sondern unabhängig von der horizontalen Stellbewegung des Schneckenförderergehäuses horizontal verfahrbar.According to a further preferred embodiment of the invention is at the end of the associated with the outlet Screw conveyor housing a vertically adjustable device for cleaning the fill hole cover and fill hole frame connected together with the housing between its Starting position and its filling position can be moved horizontally is and in the starting position on the frame of the Fülloches is deductible. In this embodiment of the invention the lid lifting device is not moving of the screw conveyor, but independent from the horizontal adjustment movement of the screw conveyor housing horizontally movable.
Im folgenden wird die Erfindung anhand einer lediglich ein Ausführungsbeispiel darstellenden Zeichnung ausführlich erläutert.In the following, the invention is based on only one Exemplary embodiment drawing explained in detail.
Die Figuren 1 bis 5 zeigen ausschnittsweise einen Längsschnitt durch den unteren Teil eines Kohlefüllwagens, der in einer Kokereianlage schienengeführt auf der Koksofendecke einer Koksofenbatterie verfahren wird. Der Kohlefüllwagen nimmt Einsatzkohle von einem Kohleturm auf und befördert diese zu den Verkokungskammern der Koksofenbatterie. Die Einsatzkohle wird dort durch Füllöcher in die Verkokungskammern vertikal eingefüllt. In Fig. 6 ist ebenfalls im Längsschnitt eine weitere Ausführung des erfindungsgemäßen Kohlefüllwagens dargestellt.Figures 1 to 5 show sections of a longitudinal section through the lower part of a coal filling truck, the in a coke plant on the coke oven ceiling a coke oven battery is operated. The coal filling truck picks up coal from a coal tower and conveys this to the coking chambers of the coke oven battery. The insert coal is there through filling holes in the Coking chambers filled vertically. 6 is also in longitudinal section a further embodiment of the invention Coal filling car shown.
Der in den Figuren dargestellte Kohlefüllwagen weist einen
trichterförmigen Bodenauslaß 1, einen horizontalen
Schneckenförderer 2 unterhalb des Bodenauslasses 1 sowie
eine Deckelabhebevorrichtung 3 zum Öffnen und Verschließen
von Füllochdeckeln 4 der Verkokungskammern auf. Zum grundsätzlichen
Aufbau des Schneckenförderers 2 gehören ein von
oben beschickbares Gehäuse 5 mit einem unterseitigen Auslaßstutzen
6, zumindest eine im Gehäuse 5 drehbar gelagerte
Förderschnecke 7 sowie ein an das Gehäuse 5 eingeflanschter
Förderschneckenantrieb 8. An den Auslaßstutzen 6 ist ein
Teleskoprohr 9 angeschlossen, welches den Auslaßstutzen 6
mit einem geöffneten Fülloch 10 verbindet.The coal filling truck shown in the figures has one
funnel-shaped
Das Gehäuse 5 des Schneckenförderers 2 ist an der Unterseite
des Kohlefüllwagens horizontal beweglich angeordnet
sowie mittels eines Stellantriebes 11 bei unverändertem
Standort des Kohlefüllwagens zwischen einer Ausgangsstellung,
in welcher der Auslaßstutzen seitlich zum Fülloch
versetzt positioniert ist, und einer Füllstellung, in
welcher der Auslaßstutzen 6 im wesentlichen mit dem Fülloch
10 fluchtet, bewegbar. Die Fig. 1 bis 3 zeigen die Ausgangsstellung,
die Fig. 4 und 5 die Füllstellung des
Schneckenförderers 2. Das Gehäuse 5 des Schneckenförderers
2 ist auf Schienen 12 geführt, die beiderseits des Gehäuses
5 an der Stahlunterkonstruktion 13 des Kohlefüllwagens angeordnet
sind. Die Deckelabhebevorrichtung 3 ist auf Laufschienen
14 geführt, die ebenfalls an der Stahlunterkonstruktion
13 des Kohlefüllwagens angeordnet sind. Die Laufschienen
14 erstrecken sich parallel zu den Führungsschienen
12 des Schneckenförderers 2. Ferner entnimmt man
einer vergleichenden Betrachtung der Figuren, daß die Fahrbewegungen
des Schneckenförderers 2 entlang den Führungsschienen
12 sowie der Deckelabhebevorrichtung 3 entlang den
Laufschienen starr gekoppelt sind. Für die Verstellbewegung
des Schneckenförderers 2 ist eine hydraulische oder elektromechanische
Stelleinrichtung 11 vorgesehen, die ebenfalls
an der Stahlunterkonstruktion 13 des Kohlefüllwagens
angeordnet ist. Sie arbeitet im Ausführungsbeispiel auf
einem an dem Gehäuse 5 des Schneckenförderers 2 befestigten
Träger 15. An diesen ist auch die Deckelabhebevorrichtung
mittels einer Kupplungsstange angeschlossen.The
Das Gehäuse 5 des Schneckenförderers 2 weist eine oberseitige
Abdeckplatte 17 auf, die in der Ausgangsstellung
des Schneckenförderers 2 den Bodenauslaß 1 teilweise oder
vollständig verschließt. Die Anordnung ist so getroffen,
daß in der Ausgangsstellung keine Kohle auf die Decke der
Verkokungskammern auslaufen kann.The
Im Auslaßstutzen 6 des Schneckenförderers 2 ist ein Absperrorgan,
z.B. in Form eines Absperrschiebers 18, angeordnet,
das durch eine am Schneckenförderer befestigte Vorrichtung
19 betätigbar ist. Am Umfang des Auslaßstutzens 6
erkennt man ferner eine Betätigungsvorrichtung 20 für das
Teleskoprohr 9. Das Teleskoprohr 9 ist mittels der Betätigungsvorrichtung
20 selbsttätig auf- und abwärts bewegbar
ist.
Betrieb und Funktionsweise des erfindungsgemäßen Kohlefüllwagens
werden aus einer vergleichenden Betrachtung der
Figuren deutlich. Der Kohlefüllwagen nimmt in einem Kohleturm
der Kokereianlage Einsatzkohle auf, fährt zu einer
Verkokungskammer und wird dort an einem mit einem Füllochdeckel
4 verschlossenen Fülloch 10 positioniert (Fig. 1).
Während dieser Zeit nimmt das Gehäuse 5 des Schneckenförderers
2 die in Fig. 1 dargestellte Ausgangsstellung
ein. Nach der Positionierung des Kohlefüllwagens auf der zu
befüllenden Verkokungskammer erfolgt eine automatische
Füllochdeckelabhebung mittels der Deckelabhebevorrichtung
3. Das Erfassen und Anheben des Füllochdeckels 4 ist in den
Fig. 2 und 3 dargestellt. Es wird deutlich, daß der Bereich
oberhalb des Füllochdeckels 4 frei zugänglich ist und der
Schneckenförderer 2 mit Auslaßstutzen 6 und Teleskoprohr 9
die erforderliche Manipulation der Deckelabhebevorrichtung
3 nicht behindert. Nachdem der Füllochdeckel 4 angehoben
worden ist, werden das Gehäuse 5 des Schneckenförderers 2
und die Deckelabhebevorrichtung 3 in einer gemeinsamen
horizontalen Fahrbewegung translatorisch verfahren. Der
Stellweg ist so eingerichtet, daß der Auslaßstutzen 6 des
Schneckenförderers 2 schließlich die in Fig. 4 dargestellte
Füllstellung einnimmt, in welcher der Auslaßstutzen 6 im
wesentlichen mit dem Fülloch 10 fluchtet. Das Teleskoprohr
9 wird anschließend abgesenkt und eine Verbindung zwischen
dem Auslaßstutzen 6 und dem Fülloch 10 hergestellt.
Schließlich werden der im Auslaßstutzen 6 angeordnete Absperrschieber
18 geöffnet und der Förderschneckenantrieb 8
in Betrieb gesetzt. Damit beginnt die Kohleeinfüllung in
die Verkokungskammer durch die Förderschnecke 7. In the
Bei der in Fig. 6 dargestellten Ausführung des Kohlefüllwagens
ist an das dem Auslaßstutzen 6 zuordnete Ende des
Schneckenförderergehäuses 5 eine vertikal verstellbare Einrichtung
21 zum Reinigen von Füllochdeckel und Füllochrahmen
angeschlossen. Die Einrichtung 21 ist zusammen mit
dem Gehäuse 5 zwischen dessen Ausgangsstellung und dessen
Füllstellung horizontal verfahrbar und ist in der Ausgangsstellung
auf den Rahmen des Fülloches 10 absetzbar. Die
Deckelabhebevorrichtung 3 ist unabhängig von der horizontalen
Stellbewegung des Schneckenförderergehäuses 5 horizontal
verfahrbar.In the embodiment of the coal filling vehicle shown in FIG. 6
is assigned to the
Die verschiedenen Funktionsstellungen der Einrichtung 21
sind, zum Teil gestrichelt, in der Fig. 6 dargestellt. Das
Gehäuse 5 des Schneckenförderers 2 nimmt seine Ausgangsstellung
ein. Der Füllochdeckel 4 ist von der Deckelabhebevorrichtung
3 aufgenommen worden und befindet sich in einer
seitlich zum Fülloch versetzten Position. Die Einrichtung
21 zum Reinigen von Füllochdeckel und Füllochrahmen wird
aus ihrer in durchgezogenen Linien dargestellten angehobenen
Position auf den Füllochrahmen abgesenkt und
reinigt dies. Die Deckelabhebevorrichtung 3 fährt in die
gestrichelt dargestellte Position vor und senkt den Fülllochdeckel
4 in die Reinigungseinrichtung 21 ab. Nach
Abschluß der Reinigungsvorgänge fahren die Deckelabhebevorrichtung
3 und die Reinigungsvorrichtung 21 in die mit
durchgezogenen Linien dargestellten Positionen zurück. Anschließend
kann der Schneckenförderer 2 in seine Füllstellung
bewegt und können die schon beschriebenen Vorgänge
für die Kohleeinfüllung eingeleitet werden.The various functional positions of the
Claims (8)
Applications Claiming Priority (4)
| Application Number | Priority Date | Filing Date | Title |
|---|---|---|---|
| DE19741875 | 1997-09-23 | ||
| DE19741875 | 1997-09-25 | ||
| DE19743868A DE19743868C2 (en) | 1997-09-23 | 1997-10-04 | Charcoal filling truck for filling coking chambers of a coke oven battery |
| DE19743868 | 1997-10-04 |
Publications (3)
| Publication Number | Publication Date |
|---|---|
| EP0903393A2 true EP0903393A2 (en) | 1999-03-24 |
| EP0903393A3 EP0903393A3 (en) | 1999-08-18 |
| EP0903393B1 EP0903393B1 (en) | 2001-12-05 |
Family
ID=26040221
Family Applications (1)
| Application Number | Title | Priority Date | Filing Date |
|---|---|---|---|
| EP98115886A Expired - Lifetime EP0903393B1 (en) | 1997-09-23 | 1998-08-22 | Charging car for charging the chambers of a coke oven battery |
Country Status (5)
| Country | Link |
|---|---|
| US (2) | US6099229A (en) |
| EP (1) | EP0903393B1 (en) |
| BR (1) | BR9803970B1 (en) |
| CA (1) | CA2245380C (en) |
| PT (1) | PT903393E (en) |
Cited By (37)
| Publication number | Priority date | Publication date | Assignee | Title |
|---|---|---|---|---|
| EP1293552A3 (en) * | 2001-09-14 | 2003-09-10 | Thyssen Krupp EnCoke GmbH | Method and apparatus for charging a coke oven |
| WO2009097984A3 (en) * | 2008-02-07 | 2009-11-12 | Uhde Gmbh | Device on a coal charging car for lifting covers from filling hole frames in the furnace roof of a coke furnace and for cleaning the filling hole frames |
| WO2009100815A3 (en) * | 2008-02-11 | 2009-12-03 | Uhde Gmbh | Device for filling oven chambers of a coke oven |
| WO2014202191A1 (en) * | 2013-06-20 | 2014-12-24 | Thyssenkrupp Industrial Solutions Ag | Apparatus for cleaning a charging-hole frame in the ceiling of a coke oven |
| US20170183569A1 (en) * | 2015-12-28 | 2017-06-29 | Suncoke Technology And Development Llc. | Method and system for dynamically charging a coke oven |
| US10526541B2 (en) | 2014-06-30 | 2020-01-07 | Suncoke Technology And Development Llc | Horizontal heat recovery coke ovens having monolith crowns |
| US10611965B2 (en) | 2012-08-17 | 2020-04-07 | Suncoke Technology And Development Llc | Coke plant including exhaust gas sharing |
| US10619101B2 (en) | 2013-12-31 | 2020-04-14 | Suncoke Technology And Development Llc | Methods for decarbonizing coking ovens, and associated systems and devices |
| US10760002B2 (en) | 2012-12-28 | 2020-09-01 | Suncoke Technology And Development Llc | Systems and methods for maintaining a hot car in a coke plant |
| US10851306B2 (en) | 2017-05-23 | 2020-12-01 | Suncoke Technology And Development Llc | System and method for repairing a coke oven |
| US10920148B2 (en) | 2014-08-28 | 2021-02-16 | Suncoke Technology And Development Llc | Burn profiles for coke operations |
| US10927303B2 (en) | 2013-03-15 | 2021-02-23 | Suncoke Technology And Development Llc | Methods for improved quench tower design |
| US10947455B2 (en) | 2012-08-17 | 2021-03-16 | Suncoke Technology And Development Llc | Automatic draft control system for coke plants |
| US10968393B2 (en) | 2014-09-15 | 2021-04-06 | Suncoke Technology And Development Llc | Coke ovens having monolith component construction |
| US10968395B2 (en) | 2014-12-31 | 2021-04-06 | Suncoke Technology And Development Llc | Multi-modal beds of coking material |
| US10975309B2 (en) | 2012-12-28 | 2021-04-13 | Suncoke Technology And Development Llc | Exhaust flow modifier, duct intersection incorporating the same, and methods therefor |
| US11008517B2 (en) | 2012-12-28 | 2021-05-18 | Suncoke Technology And Development Llc | Non-perpendicular connections between coke oven uptakes and a hot common tunnel, and associated systems and methods |
| US11008518B2 (en) | 2018-12-28 | 2021-05-18 | Suncoke Technology And Development Llc | Coke plant tunnel repair and flexible joints |
| US11021655B2 (en) | 2018-12-28 | 2021-06-01 | Suncoke Technology And Development Llc | Decarbonization of coke ovens and associated systems and methods |
| US11060032B2 (en) | 2015-01-02 | 2021-07-13 | Suncoke Technology And Development Llc | Integrated coke plant automation and optimization using advanced control and optimization techniques |
| US11071935B2 (en) | 2018-12-28 | 2021-07-27 | Suncoke Technology And Development Llc | Particulate detection for industrial facilities, and associated systems and methods |
| US11098252B2 (en) | 2018-12-28 | 2021-08-24 | Suncoke Technology And Development Llc | Spring-loaded heat recovery oven system and method |
| US11117087B2 (en) | 2012-12-28 | 2021-09-14 | Suncoke Technology And Development Llc | Systems and methods for removing mercury from emissions |
| US11261381B2 (en) | 2018-12-28 | 2022-03-01 | Suncoke Technology And Development Llc | Heat recovery oven foundation |
| US11395989B2 (en) | 2018-12-31 | 2022-07-26 | Suncoke Technology And Development Llc | Methods and systems for providing corrosion resistant surfaces in contaminant treatment systems |
| US11486572B2 (en) | 2018-12-31 | 2022-11-01 | Suncoke Technology And Development Llc | Systems and methods for Utilizing flue gas |
| US11508230B2 (en) | 2016-06-03 | 2022-11-22 | Suncoke Technology And Development Llc | Methods and systems for automatically generating a remedial action in an industrial facility |
| US11760937B2 (en) | 2018-12-28 | 2023-09-19 | Suncoke Technology And Development Llc | Oven uptakes |
| US11767482B2 (en) | 2020-05-03 | 2023-09-26 | Suncoke Technology And Development Llc | High-quality coke products |
| US11788012B2 (en) | 2015-01-02 | 2023-10-17 | Suncoke Technology And Development Llc | Integrated coke plant automation and optimization using advanced control and optimization techniques |
| US11851724B2 (en) | 2021-11-04 | 2023-12-26 | Suncoke Technology And Development Llc. | Foundry coke products, and associated systems, devices, and methods |
| US11939526B2 (en) | 2012-12-28 | 2024-03-26 | Suncoke Technology And Development Llc | Vent stack lids and associated systems and methods |
| US11946108B2 (en) | 2021-11-04 | 2024-04-02 | Suncoke Technology And Development Llc | Foundry coke products and associated processing methods via cupolas |
| US12110458B2 (en) | 2022-11-04 | 2024-10-08 | Suncoke Technology And Development Llc | Coal blends, foundry coke products, and associated systems, devices, and methods |
| US12227699B2 (en) | 2019-12-26 | 2025-02-18 | Suncoke Technology And Development Llc | Oven health optimization systems and methods |
| US12410369B2 (en) | 2023-11-21 | 2025-09-09 | Suncoke Technology And Development Llc | Flat push hot car for foundry coke and associated systems and methods |
| US12553004B2 (en) | 2021-05-04 | 2026-02-17 | Suncoke Technology And Development Llc | Foundry coke products, and associated systems and methods |
Families Citing this family (29)
| Publication number | Priority date | Publication date | Assignee | Title |
|---|---|---|---|---|
| US6290494B1 (en) * | 2000-10-05 | 2001-09-18 | Sun Coke Company | Method and apparatus for coal coking |
| US7303597B2 (en) * | 2002-10-15 | 2007-12-04 | Pratt & Whitney Rocketdyne, Inc. | Method and apparatus for continuously feeding and pressurizing a solid material into a high pressure system |
| US7547419B2 (en) * | 2004-06-16 | 2009-06-16 | United Technologies Corporation | Two phase injector for fluidized bed reactor |
| US7360639B2 (en) * | 2004-06-16 | 2008-04-22 | Pratt & Whitney Rocketdyne, Inc. | Hot rotary screw pump |
| US7402188B2 (en) | 2004-08-31 | 2008-07-22 | Pratt & Whitney Rocketdyne, Inc. | Method and apparatus for coal gasifier |
| US7525202B2 (en) * | 2004-08-31 | 2009-04-28 | Microsoft Corporation | Quantum computational systems |
| US7547423B2 (en) * | 2005-03-16 | 2009-06-16 | Pratt & Whitney Rocketdyne | Compact high efficiency gasifier |
| US8196848B2 (en) | 2005-04-29 | 2012-06-12 | Pratt & Whitney Rocketdyne, Inc. | Gasifier injector |
| US7717046B2 (en) * | 2005-04-29 | 2010-05-18 | Pratt & Whitney Rocketdyne, Inc. | High pressure dry coal slurry extrusion pump |
| UA90089C2 (en) * | 2006-02-08 | 2010-04-12 | Григорий БЕРЕЗИН | Method for production of coke from the non-coking ranks of coal and the apparatus for its realization |
| DE102008011552B4 (en) * | 2008-02-28 | 2012-08-30 | Thyssenkrupp Uhde Gmbh | Method and device for positioning control units of a coal filling car at filling openings of a coke oven |
| KR100948932B1 (en) | 2008-10-27 | 2010-03-23 | 주식회사 포스코 | Device for charging coal |
| US7998316B2 (en) | 2009-03-17 | 2011-08-16 | Suncoke Technology And Development Corp. | Flat push coke wet quenching apparatus and process |
| US8939278B2 (en) | 2010-04-13 | 2015-01-27 | Aerojet Rocketdyne Of De, Inc. | Deconsolidation device for particulate material extrusion pump |
| US8851406B2 (en) | 2010-04-13 | 2014-10-07 | Aerojet Rocketdyne Of De, Inc. | Pump apparatus including deconsolidator |
| US9200225B2 (en) | 2010-08-03 | 2015-12-01 | Suncoke Technology And Development Llc. | Method and apparatus for compacting coal for a coal coking process |
| KR20130094683A (en) * | 2010-08-09 | 2013-08-26 | 신포니아 테크놀로지 가부시끼가이샤 | Processed article feeding apparatus |
| US8307974B2 (en) | 2011-01-21 | 2012-11-13 | United Technologies Corporation | Load beam unit replaceable inserts for dry coal extrusion pumps |
| US8684151B2 (en) * | 2011-03-09 | 2014-04-01 | Sinfonia Technology Co., Ltd. | Raw material loading apparatus and pipe unit for raw material loading apparatus |
| EP2879777B1 (en) | 2012-07-31 | 2019-05-29 | SunCoke Technology and Development LLC | Methods for handling coal processing emissions and associated systems and devices |
| US9249357B2 (en) | 2012-08-17 | 2016-02-02 | Suncoke Technology And Development Llc. | Method and apparatus for volatile matter sharing in stamp-charged coke ovens |
| US9169439B2 (en) | 2012-08-29 | 2015-10-27 | Suncoke Technology And Development Llc | Method and apparatus for testing coal coking properties |
| PL2898048T3 (en) | 2012-09-21 | 2020-11-16 | Suncoke Technology And Development Llc | Reduced output rate coke oven operation with gas sharing providing extended process cycle |
| US9273249B2 (en) | 2012-12-28 | 2016-03-01 | Suncoke Technology And Development Llc. | Systems and methods for controlling air distribution in a coke oven |
| US10883051B2 (en) | 2012-12-28 | 2021-01-05 | Suncoke Technology And Development Llc | Methods and systems for improved coke quenching |
| US9238778B2 (en) | 2012-12-28 | 2016-01-19 | Suncoke Technology And Development Llc. | Systems and methods for improving quenched coke recovery |
| US9193915B2 (en) | 2013-03-14 | 2015-11-24 | Suncoke Technology And Development Llc. | Horizontal heat recovery coke ovens having monolith crowns |
| US9932974B2 (en) | 2014-06-05 | 2018-04-03 | Gas Technology Institute | Duct having oscillatory side wall |
| JP6297015B2 (en) * | 2015-09-28 | 2018-03-20 | アイシン高丘株式会社 | Dissolving material supply device |
Family Cites Families (12)
| Publication number | Priority date | Publication date | Assignee | Title |
|---|---|---|---|---|
| US3142391A (en) * | 1961-07-17 | 1964-07-28 | Allied Chem | Coke oven charging machine having mechanism for removing and replacing charging hole covers |
| DE1671354B2 (en) * | 1968-03-05 | 1974-10-24 | Fa. Carl Still, 4350 Recklinghausen | Lowerable coal outlet under the filling bunkers of coking furnace filling wagons with locking devices |
| DE2509222A1 (en) * | 1975-03-04 | 1976-09-16 | Still Fa Carl | Coke oven charging car - has inclined worm conveyor pan, lifted and moved by actuators and with level and flap controls |
| DE2510097B1 (en) * | 1975-03-07 | 1976-09-16 | Hartung Kuhn & Co Maschf | COAL FILLER |
| DE2524462A1 (en) * | 1975-06-03 | 1976-12-16 | Still Fa Carl | COOKING OVEN FILLING TROLLEY |
| DE2545265C3 (en) * | 1975-10-09 | 1979-03-01 | Fa. Carl Still, 4350 Recklinghausen | Charging trolleys for coking ovens |
| US4151919A (en) * | 1977-10-18 | 1979-05-01 | Didier Engineering Gmbh. | Coke oven hopper truck including support for removable filling cover |
| DE2922571C2 (en) * | 1979-06-02 | 1985-08-01 | Dr. C. Otto & Co Gmbh, 4630 Bochum | Charging trolleys for coking ovens |
| DE3005994C2 (en) * | 1980-02-18 | 1982-08-12 | Gewerkschaft Schalker Eisenhütte, 4650 Gelsenkirchen | Coke oven charging car |
| DE3440277C1 (en) * | 1984-11-03 | 1986-05-22 | Siempelkamp Gießerei GmbH & Co, 4150 Krefeld | Process for introducing radioactive waste into a melting furnace and device for carrying out the process |
| DE4228191C1 (en) * | 1992-08-25 | 1993-11-04 | Hartung Kuhn & Co Maschf | DEVICE FOR FILLING COAL INTO THE OVEN CHAMBER OF A COOKING OVEN BATTERY |
| US5941445A (en) * | 1997-11-24 | 1999-08-24 | Bethlehem Steel Corporation | Apparatus for refurbishing a coke oven doorjamb |
-
1998
- 1998-08-22 EP EP98115886A patent/EP0903393B1/en not_active Expired - Lifetime
- 1998-08-22 PT PT98115886T patent/PT903393E/en unknown
- 1998-09-22 BR BRPI9803970-9A patent/BR9803970B1/en not_active IP Right Cessation
- 1998-09-23 US US09/159,487 patent/US6099229A/en not_active Expired - Lifetime
- 1998-09-23 CA CA002245380A patent/CA2245380C/en not_active Expired - Fee Related
-
2000
- 2000-06-02 US US09/586,155 patent/US6152668A/en not_active Expired - Lifetime
Cited By (71)
| Publication number | Priority date | Publication date | Assignee | Title |
|---|---|---|---|---|
| EP1293552A3 (en) * | 2001-09-14 | 2003-09-10 | Thyssen Krupp EnCoke GmbH | Method and apparatus for charging a coke oven |
| WO2009097984A3 (en) * | 2008-02-07 | 2009-11-12 | Uhde Gmbh | Device on a coal charging car for lifting covers from filling hole frames in the furnace roof of a coke furnace and for cleaning the filling hole frames |
| WO2009100815A3 (en) * | 2008-02-11 | 2009-12-03 | Uhde Gmbh | Device for filling oven chambers of a coke oven |
| AU2009214413B2 (en) * | 2008-02-11 | 2012-12-20 | Uhde Gmbh | Device for filling oven chambers of a coke oven |
| RU2477743C2 (en) * | 2008-02-11 | 2013-03-20 | Тиссенкрупп Уде Гмбх | Device for loading of furnace chambers of coke furnace |
| US10947455B2 (en) | 2012-08-17 | 2021-03-16 | Suncoke Technology And Development Llc | Automatic draft control system for coke plants |
| US11692138B2 (en) | 2012-08-17 | 2023-07-04 | Suncoke Technology And Development Llc | Automatic draft control system for coke plants |
| US11441077B2 (en) | 2012-08-17 | 2022-09-13 | Suncoke Technology And Development Llc | Coke plant including exhaust gas sharing |
| US12195671B2 (en) | 2012-08-17 | 2025-01-14 | Suncoke Technology And Development Llc | Automatic draft control system for coke plants |
| US10611965B2 (en) | 2012-08-17 | 2020-04-07 | Suncoke Technology And Development Llc | Coke plant including exhaust gas sharing |
| US11939526B2 (en) | 2012-12-28 | 2024-03-26 | Suncoke Technology And Development Llc | Vent stack lids and associated systems and methods |
| US11008517B2 (en) | 2012-12-28 | 2021-05-18 | Suncoke Technology And Development Llc | Non-perpendicular connections between coke oven uptakes and a hot common tunnel, and associated systems and methods |
| US11845037B2 (en) | 2012-12-28 | 2023-12-19 | Suncoke Technology And Development Llc | Systems and methods for removing mercury from emissions |
| US11117087B2 (en) | 2012-12-28 | 2021-09-14 | Suncoke Technology And Development Llc | Systems and methods for removing mercury from emissions |
| US11359145B2 (en) | 2012-12-28 | 2022-06-14 | Suncoke Technology And Development Llc | Systems and methods for maintaining a hot car in a coke plant |
| US10760002B2 (en) | 2012-12-28 | 2020-09-01 | Suncoke Technology And Development Llc | Systems and methods for maintaining a hot car in a coke plant |
| US10975309B2 (en) | 2012-12-28 | 2021-04-13 | Suncoke Technology And Development Llc | Exhaust flow modifier, duct intersection incorporating the same, and methods therefor |
| US12325828B2 (en) | 2012-12-28 | 2025-06-10 | Suncoke Technology And Development Llc | Exhaust flow modifier, duct intersection incorporating the same, and methods therefor |
| US10927303B2 (en) | 2013-03-15 | 2021-02-23 | Suncoke Technology And Development Llc | Methods for improved quench tower design |
| US11746296B2 (en) | 2013-03-15 | 2023-09-05 | Suncoke Technology And Development Llc | Methods and systems for improved quench tower design |
| WO2014202191A1 (en) * | 2013-06-20 | 2014-12-24 | Thyssenkrupp Industrial Solutions Ag | Apparatus for cleaning a charging-hole frame in the ceiling of a coke oven |
| US10619101B2 (en) | 2013-12-31 | 2020-04-14 | Suncoke Technology And Development Llc | Methods for decarbonizing coking ovens, and associated systems and devices |
| US11359146B2 (en) | 2013-12-31 | 2022-06-14 | Suncoke Technology And Development Llc | Methods for decarbonizing coking ovens, and associated systems and devices |
| US10526541B2 (en) | 2014-06-30 | 2020-01-07 | Suncoke Technology And Development Llc | Horizontal heat recovery coke ovens having monolith crowns |
| US11053444B2 (en) | 2014-08-28 | 2021-07-06 | Suncoke Technology And Development Llc | Method and system for optimizing coke plant operation and output |
| US10920148B2 (en) | 2014-08-28 | 2021-02-16 | Suncoke Technology And Development Llc | Burn profiles for coke operations |
| US11795400B2 (en) | 2014-09-15 | 2023-10-24 | Suncoke Technology And Development Llc | Coke ovens having monolith component construction |
| US10968393B2 (en) | 2014-09-15 | 2021-04-06 | Suncoke Technology And Development Llc | Coke ovens having monolith component construction |
| US10975310B2 (en) | 2014-12-31 | 2021-04-13 | Suncoke Technology And Development Llc | Multi-modal beds of coking material |
| US10975311B2 (en) | 2014-12-31 | 2021-04-13 | Suncoke Technology And Development Llc | Multi-modal beds of coking material |
| US10968395B2 (en) | 2014-12-31 | 2021-04-06 | Suncoke Technology And Development Llc | Multi-modal beds of coking material |
| US12338394B2 (en) | 2014-12-31 | 2025-06-24 | Suncoke Technology And Development Llc | Multi-modal beds of coking material |
| US11060032B2 (en) | 2015-01-02 | 2021-07-13 | Suncoke Technology And Development Llc | Integrated coke plant automation and optimization using advanced control and optimization techniques |
| US11788012B2 (en) | 2015-01-02 | 2023-10-17 | Suncoke Technology And Development Llc | Integrated coke plant automation and optimization using advanced control and optimization techniques |
| US11214739B2 (en) | 2015-12-28 | 2022-01-04 | Suncoke Technology And Development Llc | Method and system for dynamically charging a coke oven |
| US10526542B2 (en) * | 2015-12-28 | 2020-01-07 | Suncoke Technology And Development Llc | Method and system for dynamically charging a coke oven |
| US20170183569A1 (en) * | 2015-12-28 | 2017-06-29 | Suncoke Technology And Development Llc. | Method and system for dynamically charging a coke oven |
| US11508230B2 (en) | 2016-06-03 | 2022-11-22 | Suncoke Technology And Development Llc | Methods and systems for automatically generating a remedial action in an industrial facility |
| US12190701B2 (en) | 2016-06-03 | 2025-01-07 | Suncoke Technology And Development Llc | Methods and systems for automatically generating a remedial action in an industrial facility |
| US11845898B2 (en) | 2017-05-23 | 2023-12-19 | Suncoke Technology And Development Llc | System and method for repairing a coke oven |
| US10851306B2 (en) | 2017-05-23 | 2020-12-01 | Suncoke Technology And Development Llc | System and method for repairing a coke oven |
| US11365355B2 (en) | 2018-12-28 | 2022-06-21 | Suncoke Technology And Development Llc | Systems and methods for treating a surface of a coke plant |
| US11261381B2 (en) | 2018-12-28 | 2022-03-01 | Suncoke Technology And Development Llc | Heat recovery oven foundation |
| US11505747B2 (en) | 2018-12-28 | 2022-11-22 | Suncoke Technology And Development Llc | Coke plant tunnel repair and anchor distribution |
| US11643602B2 (en) | 2018-12-28 | 2023-05-09 | Suncoke Technology And Development Llc | Decarbonization of coke ovens, and associated systems and methods |
| US11760937B2 (en) | 2018-12-28 | 2023-09-19 | Suncoke Technology And Development Llc | Oven uptakes |
| US11008518B2 (en) | 2018-12-28 | 2021-05-18 | Suncoke Technology And Development Llc | Coke plant tunnel repair and flexible joints |
| US11680208B2 (en) | 2018-12-28 | 2023-06-20 | Suncoke Technology And Development Llc | Spring-loaded heat recovery oven system and method |
| US12305119B2 (en) | 2018-12-28 | 2025-05-20 | Suncoke Technology And Development Llc | Decarbonization of coke ovens and associated systems and methods |
| US11597881B2 (en) | 2018-12-28 | 2023-03-07 | Suncoke Technology And Development Llc | Coke plant tunnel repair and flexible joints |
| US11845897B2 (en) | 2018-12-28 | 2023-12-19 | Suncoke Technology And Development Llc | Heat recovery oven foundation |
| US12060525B2 (en) | 2018-12-28 | 2024-08-13 | Suncoke Technology And Development Llc | Systems for treating a surface of a coke plant sole flue |
| US11193069B2 (en) | 2018-12-28 | 2021-12-07 | Suncoke Technology And Development Llc | Coke plant tunnel repair and anchor distribution |
| US11021655B2 (en) | 2018-12-28 | 2021-06-01 | Suncoke Technology And Development Llc | Decarbonization of coke ovens and associated systems and methods |
| US11098252B2 (en) | 2018-12-28 | 2021-08-24 | Suncoke Technology And Development Llc | Spring-loaded heat recovery oven system and method |
| US11071935B2 (en) | 2018-12-28 | 2021-07-27 | Suncoke Technology And Development Llc | Particulate detection for industrial facilities, and associated systems and methods |
| US11395989B2 (en) | 2018-12-31 | 2022-07-26 | Suncoke Technology And Development Llc | Methods and systems for providing corrosion resistant surfaces in contaminant treatment systems |
| US11486572B2 (en) | 2018-12-31 | 2022-11-01 | Suncoke Technology And Development Llc | Systems and methods for Utilizing flue gas |
| US11819802B2 (en) | 2018-12-31 | 2023-11-21 | Suncoke Technology And Development Llc | Methods and systems for providing corrosion resistant surfaces in contaminant treatment systems |
| US12227699B2 (en) | 2019-12-26 | 2025-02-18 | Suncoke Technology And Development Llc | Oven health optimization systems and methods |
| US12215289B2 (en) | 2020-05-03 | 2025-02-04 | Suncoke Technology And Development Llc | High-quality coke products |
| US11767482B2 (en) | 2020-05-03 | 2023-09-26 | Suncoke Technology And Development Llc | High-quality coke products |
| US12600915B2 (en) | 2020-05-03 | 2026-04-14 | Suncoke Technology And Development Llc | High-quality coke products |
| US12553004B2 (en) | 2021-05-04 | 2026-02-17 | Suncoke Technology And Development Llc | Foundry coke products, and associated systems and methods |
| US11851724B2 (en) | 2021-11-04 | 2023-12-26 | Suncoke Technology And Development Llc. | Foundry coke products, and associated systems, devices, and methods |
| US12319976B2 (en) | 2021-11-04 | 2025-06-03 | Suncoke Technology And Development Llc | Foundry coke products, and associated systems, devices, and methods |
| US12331367B2 (en) | 2021-11-04 | 2025-06-17 | Suncoke Technology And Development Llc | Foundry coke products, and associated systems, devices, and methods |
| US11946108B2 (en) | 2021-11-04 | 2024-04-02 | Suncoke Technology And Development Llc | Foundry coke products and associated processing methods via cupolas |
| US12110458B2 (en) | 2022-11-04 | 2024-10-08 | Suncoke Technology And Development Llc | Coal blends, foundry coke products, and associated systems, devices, and methods |
| US12286591B2 (en) | 2022-11-04 | 2025-04-29 | Suncoke Technology And Development Llc | Coal blends, foundry coke products, and associated systems, devices, and methods |
| US12410369B2 (en) | 2023-11-21 | 2025-09-09 | Suncoke Technology And Development Llc | Flat push hot car for foundry coke and associated systems and methods |
Also Published As
| Publication number | Publication date |
|---|---|
| EP0903393A3 (en) | 1999-08-18 |
| CA2245380A1 (en) | 1999-03-23 |
| US6099229A (en) | 2000-08-08 |
| BR9803970A (en) | 1999-12-21 |
| BR9803970B1 (en) | 2011-04-19 |
| EP0903393B1 (en) | 2001-12-05 |
| PT903393E (en) | 2002-05-31 |
| US6152668A (en) | 2000-11-28 |
| CA2245380C (en) | 2005-11-15 |
Similar Documents
| Publication | Publication Date | Title |
|---|---|---|
| EP0903393B1 (en) | Charging car for charging the chambers of a coke oven battery | |
| DE2922571A1 (en) | FUEL CARRIAGE FOR COOKING OVENS | |
| DE102008008291B3 (en) | Device on a coal filling for lifting lids from Fülllochrahmen in the furnace roof of a coke oven and for cleaning the Fülllochrahmen | |
| DE102008008713A1 (en) | Device for filling furnace chambers of a coke oven | |
| DE2553386B2 (en) | Dust collector for a coke dry extinguishing system | |
| DE19743868C2 (en) | Charcoal filling truck for filling coking chambers of a coke oven battery | |
| DE2142707B2 (en) | Trolley with devices for gripping, lifting, swiveling out, swiveling back and reinserting the hopper cover | |
| EP0639213B1 (en) | Coke feed device with housing for a coke dry cooling installation | |
| DE2545265C3 (en) | Charging trolleys for coking ovens | |
| CH665235A5 (en) | MOBILE TRACK LEVELING AND LEVELING MACHINE. | |
| DE2211571B2 (en) | Device for collecting and discharging the dust-laden gases produced when coke is printed out from coking ovens | |
| DE2416151B1 (en) | ||
| DE2349289C3 (en) | ||
| EP1293552A2 (en) | Method and apparatus for charging a coke oven | |
| EP4327910A1 (en) | Device for operating a water game | |
| EP0568636B1 (en) | Coke feed device for a coke dry cooling installation | |
| EP0085369A2 (en) | Process for the dry cooling of coke, and cooling chamber therefor | |
| DE102013104761A1 (en) | Transfer device for the transfer of fuel elements | |
| EP0036977B1 (en) | Tunnel-type furnace | |
| DE3916359C2 (en) | Device for the horizontal storage of lined-up fuel assemblies | |
| DE3226783C2 (en) | Coking furnace | |
| DE102006032196B3 (en) | Device for suction of filling emissions of elevated railway bunker construction of blast furnace operation, comprises stationary exhaust collecting pipe and bridging carriage displaceable along bunker array of the bunker construction | |
| DE2259559C3 (en) | Device for transferring the filling gases produced when filling the furnace chambers of a horizontal coke furnace battery into the respective adjacent furnace chamber | |
| DE2146002A1 (en) | ARRANGEMENT FOR PULLING THE EXHAUSTED COKE FROM A RAMP | |
| DE2041854A1 (en) | Arrangement for eliminating the effects of smoke and dust development when pressing coke ovens |
Legal Events
| Date | Code | Title | Description |
|---|---|---|---|
| PUAI | Public reference made under article 153(3) epc to a published international application that has entered the european phase |
Free format text: ORIGINAL CODE: 0009012 |
|
| AK | Designated contracting states |
Kind code of ref document: A2 Designated state(s): BE DE FR GB IT PT SE |
|
| AX | Request for extension of the european patent |
Free format text: AL;LT;LV;MK;RO;SI |
|
| PUAL | Search report despatched |
Free format text: ORIGINAL CODE: 0009013 |
|
| AK | Designated contracting states |
Kind code of ref document: A3 Designated state(s): AT BE CH CY DE DK ES FI FR GB GR IE IT LI LU MC NL PT SE |
|
| AX | Request for extension of the european patent |
Free format text: AL;LT;LV;MK;RO;SI |
|
| 17P | Request for examination filed |
Effective date: 19990904 |
|
| AKX | Designation fees paid |
Free format text: BE DE FR GB IT PT SE |
|
| 17Q | First examination report despatched |
Effective date: 20000331 |
|
| RAP1 | Party data changed (applicant data changed or rights of an application transferred) |
Owner name: THYSSEN KRUPP ENCOKE GMBH |
|
| GRAG | Despatch of communication of intention to grant |
Free format text: ORIGINAL CODE: EPIDOS AGRA |
|
| GRAG | Despatch of communication of intention to grant |
Free format text: ORIGINAL CODE: EPIDOS AGRA |
|
| GRAH | Despatch of communication of intention to grant a patent |
Free format text: ORIGINAL CODE: EPIDOS IGRA |
|
| GRAH | Despatch of communication of intention to grant a patent |
Free format text: ORIGINAL CODE: EPIDOS IGRA |
|
| GRAA | (expected) grant |
Free format text: ORIGINAL CODE: 0009210 |
|
| AK | Designated contracting states |
Kind code of ref document: B1 Designated state(s): BE DE FR GB IT PT SE |
|
| REG | Reference to a national code |
Ref country code: GB Ref legal event code: IF02 |
|
| GBT | Gb: translation of ep patent filed (gb section 77(6)(a)/1977) |
Effective date: 20011207 |
|
| REF | Corresponds to: |
Ref document number: 59802309 Country of ref document: DE Date of ref document: 20020117 |
|
| REG | Reference to a national code |
Ref country code: PT Ref legal event code: SC4A Free format text: AVAILABILITY OF NATIONAL TRANSLATION Effective date: 20020227 |
|
| PLBE | No opposition filed within time limit |
Free format text: ORIGINAL CODE: 0009261 |
|
| STAA | Information on the status of an ep patent application or granted ep patent |
Free format text: STATUS: NO OPPOSITION FILED WITHIN TIME LIMIT |
|
| 26N | No opposition filed | ||
| REG | Reference to a national code |
Ref country code: GB Ref legal event code: 732E |
|
| REG | Reference to a national code |
Ref country code: PT Ref legal event code: PC4A Owner name: UHDE GMBH, DE Effective date: 20060502 |
|
| REG | Reference to a national code |
Ref country code: FR Ref legal event code: TP |
|
| REG | Reference to a national code |
Ref country code: DE Ref legal event code: R082 Ref document number: 59802309 Country of ref document: DE Representative=s name: RAINER ALBRECHT, DE |
|
| REG | Reference to a national code |
Ref country code: DE Ref legal event code: R082 Ref document number: 59802309 Country of ref document: DE Representative=s name: ALBRECHT, RAINER, DIPL.-ING. DR.-ING., DE Effective date: 20120627 Ref country code: DE Ref legal event code: R081 Ref document number: 59802309 Country of ref document: DE Owner name: THYSSENKRUPP INDUSTRIAL SOLUTIONS AG, DE Free format text: FORMER OWNER: UHDE GMBH, 44141 DORTMUND, DE Effective date: 20120627 Ref country code: DE Ref legal event code: R081 Ref document number: 59802309 Country of ref document: DE Owner name: THYSSENKRUPP UHDE GMBH, DE Free format text: FORMER OWNER: UHDE GMBH, 44141 DORTMUND, DE Effective date: 20120627 |
|
| PGFP | Annual fee paid to national office [announced via postgrant information from national office to epo] |
Ref country code: SE Payment date: 20140820 Year of fee payment: 17 |
|
| PGFP | Annual fee paid to national office [announced via postgrant information from national office to epo] |
Ref country code: PT Payment date: 20140224 Year of fee payment: 17 |
|
| REG | Reference to a national code |
Ref country code: FR Ref legal event code: PLFP Year of fee payment: 18 |
|
| PGFP | Annual fee paid to national office [announced via postgrant information from national office to epo] |
Ref country code: DE Payment date: 20150821 Year of fee payment: 18 Ref country code: GB Payment date: 20150819 Year of fee payment: 18 |
|
| REG | Reference to a national code |
Ref country code: DE Ref legal event code: R082 Ref document number: 59802309 Country of ref document: DE Representative=s name: ALBRECHT, RAINER, DIPL.-ING. DR.-ING., DE Ref country code: DE Ref legal event code: R081 Ref document number: 59802309 Country of ref document: DE Owner name: THYSSENKRUPP INDUSTRIAL SOLUTIONS AG, DE Free format text: FORMER OWNER: THYSSENKRUPP UHDE GMBH, 44141 DORTMUND, DE |
|
| PGFP | Annual fee paid to national office [announced via postgrant information from national office to epo] |
Ref country code: BE Payment date: 20150819 Year of fee payment: 18 Ref country code: FR Payment date: 20150820 Year of fee payment: 18 |
|
| PGFP | Annual fee paid to national office [announced via postgrant information from national office to epo] |
Ref country code: IT Payment date: 20150824 Year of fee payment: 18 |
|
| REG | Reference to a national code |
Ref country code: PT Ref legal event code: MM4A Free format text: LAPSE DUE TO NON-PAYMENT OF FEES Effective date: 20160222 |
|
| REG | Reference to a national code |
Ref country code: SE Ref legal event code: EUG |
|
| PG25 | Lapsed in a contracting state [announced via postgrant information from national office to epo] |
Ref country code: PT Free format text: LAPSE BECAUSE OF NON-PAYMENT OF DUE FEES Effective date: 20160222 Ref country code: SE Free format text: LAPSE BECAUSE OF NON-PAYMENT OF DUE FEES Effective date: 20150823 |
|
| PG25 | Lapsed in a contracting state [announced via postgrant information from national office to epo] |
Ref country code: BE Free format text: LAPSE BECAUSE OF NON-PAYMENT OF DUE FEES Effective date: 20160831 |
|
| REG | Reference to a national code |
Ref country code: DE Ref legal event code: R119 Ref document number: 59802309 Country of ref document: DE |
|
| GBPC | Gb: european patent ceased through non-payment of renewal fee |
Effective date: 20160822 |
|
| REG | Reference to a national code |
Ref country code: FR Ref legal event code: ST Effective date: 20170428 |
|
| PG25 | Lapsed in a contracting state [announced via postgrant information from national office to epo] |
Ref country code: DE Free format text: LAPSE BECAUSE OF NON-PAYMENT OF DUE FEES Effective date: 20170301 Ref country code: FR Free format text: LAPSE BECAUSE OF NON-PAYMENT OF DUE FEES Effective date: 20160831 Ref country code: GB Free format text: LAPSE BECAUSE OF NON-PAYMENT OF DUE FEES Effective date: 20160822 |
|
| PG25 | Lapsed in a contracting state [announced via postgrant information from national office to epo] |
Ref country code: IT Free format text: LAPSE BECAUSE OF NON-PAYMENT OF DUE FEES Effective date: 20160822 |
