EP0773089B1 - Manuell bewegbarer Gurthobel - Google Patents

Manuell bewegbarer Gurthobel Download PDF

Info

Publication number
EP0773089B1
EP0773089B1 EP96117141A EP96117141A EP0773089B1 EP 0773089 B1 EP0773089 B1 EP 0773089B1 EP 96117141 A EP96117141 A EP 96117141A EP 96117141 A EP96117141 A EP 96117141A EP 0773089 B1 EP0773089 B1 EP 0773089B1
Authority
EP
European Patent Office
Prior art keywords
belt
blade
planing device
base member
hold down
Prior art date
Legal status (The legal status is an assumption and is not a legal conclusion. Google has not performed a legal analysis and makes no representation as to the accuracy of the status listed.)
Expired - Lifetime
Application number
EP96117141A
Other languages
English (en)
French (fr)
Other versions
EP0773089A1 (de
Inventor
Wolfgang Herold
Current Assignee (The listed assignees may be inaccurate. Google has not performed a legal analysis and makes no representation or warranty as to the accuracy of the list.)
Mato Maschinen und Metallwarenfabrik Curt Matthaei GmbH and Co KG
Original Assignee
Mato Maschinen und Metallwarenfabrik Curt Matthaei GmbH and Co KG
Priority date (The priority date is an assumption and is not a legal conclusion. Google has not performed a legal analysis and makes no representation as to the accuracy of the date listed.)
Filing date
Publication date
Application filed by Mato Maschinen und Metallwarenfabrik Curt Matthaei GmbH and Co KG filed Critical Mato Maschinen und Metallwarenfabrik Curt Matthaei GmbH and Co KG
Publication of EP0773089A1 publication Critical patent/EP0773089A1/de
Application granted granted Critical
Publication of EP0773089B1 publication Critical patent/EP0773089B1/de
Anticipated expiration legal-status Critical
Expired - Lifetime legal-status Critical Current

Links

Images

Classifications

    • BPERFORMING OPERATIONS; TRANSPORTING
    • B26HAND CUTTING TOOLS; CUTTING; SEVERING
    • B26DCUTTING; DETAILS COMMON TO MACHINES FOR PERFORATING, PUNCHING, CUTTING-OUT, STAMPING-OUT OR SEVERING
    • B26D3/00Cutting work characterised by the nature of the cut made; Apparatus therefor
    • B26D3/06Grooving involving removal of material from the surface of the work
    • B26D3/065On sheet material
    • BPERFORMING OPERATIONS; TRANSPORTING
    • B26HAND CUTTING TOOLS; CUTTING; SEVERING
    • B26DCUTTING; DETAILS COMMON TO MACHINES FOR PERFORATING, PUNCHING, CUTTING-OUT, STAMPING-OUT OR SEVERING
    • B26D3/00Cutting work characterised by the nature of the cut made; Apparatus therefor
    • B26D3/02Bevelling
    • BPERFORMING OPERATIONS; TRANSPORTING
    • B27WORKING OR PRESERVING WOOD OR SIMILAR MATERIAL; NAILING OR STAPLING MACHINES IN GENERAL
    • B27GACCESSORY MACHINES OR APPARATUS FOR WORKING WOOD OR SIMILAR MATERIALS; TOOLS FOR WORKING WOOD OR SIMILAR MATERIALS; SAFETY DEVICES FOR WOOD WORKING MACHINES OR TOOLS
    • B27G17/00Manually-operated tools
    • B27G17/02Hand planes
    • B27G17/025Hand planes for forming profiles on wood; for trimming or chamfering edges

Definitions

  • the invention relates to a manually movable belt slicer for Removing the top layer or part of the top layer from one end of a conveyor belt, with a base body, the one has flat support surface and to which a handle is attached is, as well as with a knife stored in the base body.
  • Such manually movable belt slicers are generally known and serve to cover the top layer or parts of the top layer Remove the end of a conveyor belt. It is common here that Secure the end of the belt against slipping on a support device and then carry out the processing with the planer, the Plane is pulled by hand.
  • the structure is similar the belt slicer a carpenter slicer, which is guided by hand.
  • the belt slicer lies on it with its flat contact surface the conveyor belt, the sloping, below on the Cutting surface protruding knife cuts off top layer strips, so that wavy depressions in the conveyor belt arise.
  • DE 40 02 116 C2 describes a mechanical belt slicer for Planing a top layer from one end to one Support device clamped conveyor belt known.
  • the Belt plane has a movable along the support device Sled on, in which a knife and a leading one Pressure shoe according to the thickness of the cover layer to be cut or the thickness of the conveyor belt adjustable in height are stored.
  • the knife is designed as a thick, rigid blade, whose free end turned away from the sled to cut off the top layer vertically and horizontally.
  • the carriage is moved by means of a gear transmission, that can be operated using a hand crank.
  • the Thick and therefore rigid blade ensures that over the a constant cover layer thickness is removed across the entire belt width becomes.
  • the disadvantage of this mechanical belt slicer is, however, that it requires a lot of construction work with the associated high production costs. Apart from this, the Users on site, especially if the the belt connectors or fastening clips connecting the belt ends new belt connectors or fastening clips on the belt need to be attached, an uncomplicated removal of the Top layer or part of the top layer of that for which Attach the belt connectors or fastening clips prepared Belt end hardly possible.
  • the performance properties a belt slicer of the type mentioned above improve that with this, despite being exclusively manual Handling, with little effort the cover layer or parts the top layer of one end of a conveyor belt over a large area can be removed.
  • the base body with its bearing surface does not rest on the conveyor belt as in the above discussed manually movable belt slicer, which is in the manner of a Carpenter plane is formed, but it is the basic body with its contact surface on the flat surface which also supports the conveyor belt. It is also essential that the arranged perpendicular to the contact surface of the base body, in Direction of movement of the belt plane Use of the belt slicer on the front, thus free end face of the conveyor belt, with which a defined guidance of the base body and thus also of the hold-down device and the blade is guaranteed. Training is particularly important of the knife as a thin blade.
  • This design is a prerequisite for the cover layer or part of the cover layer of the conveyor belt with a small, thus manually attachable Force can be cut off.
  • the design of the blade is the problem that it is flexible, and thus the special interaction of the blade and hold-down is required to achieve a satisfactory To achieve a cutting result.
  • a thin, pliable blade is for example one that is used in so-called carpet knives Is used.
  • This is also of major importance Hold-down device that not only has the function of the blade leading area of the conveyor belt against the pad the conveyor belt is resting, but also the vertical one Guiding the body and thus the blade.
  • the belt slicer according to the invention can be used in practice achieve excellent cutting results. This seems so justifiable that in the event that when removing the top layer or a part of the cover layer from the end of the conveyor belt due to their flexible property in the area of their free Wants to cut deeper into the conveyor belt than desired, an effective support force of the blade against the bending force of the blade Hold down on the conveyor belt, which ensures that the blade is straight, with little force, by the Belt is moved through.
  • the curved area of the blade limits the width of the the belt strip to be cut out.
  • the extension of the is the bent area of the blade in the direction of the belt height to be dimensioned so that even when the blade is at Cutting bends, the free end of the curved blade section protrudes from the belt at the top.
  • the hold-down is useful as a strip-shaped, rectangular Cross-sectional component formed. This Design combines optimal functionality with special simple design.
  • a special embodiment of the invention provides that the Hold-down device and the blade can be adjusted to each other in the basic body are stored. Because of the thin, flexible training of the Blade and thus the difficulty of adjusting it in a defined way should it be in a fixed position in the Main body be kept. It only needs the hold-down device be adjustable.
  • the hold-down is expediently height-adjustable and / or around an axis running in the direction of movement of the belt plane pivoted in the body.
  • the depth of the cut that is performed by the blade it can only by changing the vertical position of the hold-down device achieve what the pivot position of the hold-down in particular the function comes, the defined, straightforward Ensure movement of the blade through the conveyor belt.
  • the hold-down device has a flat hold-down surface has that parallel or at an acute angle to not bent section of the blade, based on the cantilever Ends of hold-down device and blade, is arranged.
  • the acute angle between the hold-down surface and the one not bent up Section of the blade should be less than 5 °. Because of the arrangement of hold-down and not bent up Section of the blade, the hold-down lies, depending on the cutting condition, either only in the area of its free end or along its hold-down surface projecting over the base body on the top layer of the conveyor belt.
  • the hold-down device is used the base body due to the forces arising from the Line contact in the area of the free end of the hold-down in the surface contact moves over the hold-down surface with which Consequence that the position of the blade relative to the belt adjusted in such a way that the free end of the blade Has endeavored to move upwards more in the conveyor belt.
  • the result is that the surface contact of the hold-down surface can be canceled again. As a consequence, this means that during the cutting process the body with his level support surface is not necessarily on the conveyed goods receiving document.
  • This acute angle is suitably less than 15 °, it lies in particular between 10 and 15 °.
  • the cutting edge of the non-bent section of the blade is advantageous perpendicular to the direction of movement of the belt plane arranged.
  • the bending behavior of the thin Blade can be positively influenced, that is in the sense of a Reduction of unwanted bend. For example, this is possible if the tip of the bent end of the blade is on the trailing surface in the direction of movement of the belt slicer Hold-down device.
  • the top layer of the conveyor belt, in the end area of the conveyor belt planing in whole or in part can vary be designed. As a rule, it will be a circulation pattern act that has to be cut off to be an immediate, large-scale installation of the belt connector or fastening clips on the conveyor belt and thus to ensure their optimal connection.
  • the overlay pattern can be diamond-shaped, for example exhibit.
  • the manually operated belt slicer according to the invention is in the Contrary to the belt slicer discussed in the prior art in kind of a planer that is pulled over the conveyor belt primarily intended for pressurization. Due to the from the user of the plane over his arm diagonally from above into the Handle and thus the basic body initiated actuation force, the main body and thus the hold-down device becomes firm pressed against the conveyor belt, with the consequence, one optimal hold-down and guiding function of the hold-down device.
  • the Belt plane 1 a cuboid, designed in the manner of a bar Base body 2 and a U-shaped tube Handle 3 on. This is in the area of its free ends the base body 2 in the region of its opposite ends welded, the central longitudinal axis of the handle 3 with the central longitudinal axis 4 of the base body coincides.
  • the one Handle 3 facing away from the base body 2 represents its Contact surface 5 and the visible side surface of the Base body 2 represents its contact surface 6.
  • base body 2 is a thin, flexible blade 7 and, this in the intended Direction of movement D of the belt slicer 1 in advance Hold-down 8 attached. These parts are attached in the middle area of the base body 2, i.e. about halfway there Length.
  • the blade has a trapezoidal shape, with a pointed corner region 9 the blade 7, based on the representation of the blade 7 in Figure 1 is bent up, that is from the bearing surface 5 of the Base body 2 is bent away.
  • For receiving the blade 7 points the base body 2 in the area of its upper surface 10 Milled 11 on the surface 10, and also to the support surface 5 of the base body 2 an angle ⁇ between 10 and 15 ° includes.
  • the cutting edge 12 of the blade 7 lies in the area the right-angled corner 13 of the cutout 11 on it and it is the blade 7 by means of a screw 14 with the base body 2 firmly connected in a threaded hole 15 of the base body 2 is screwed in.
  • the cutting edge 12 perpendicular to the direction of movement D of the belt plane 1 arranged.
  • the screw 14 is located itself close to the contact surface 6 and the blade 7 is around such a measure of the base body 2 in the area of the contact surface 6, which is about half the total length of the cutting edge 12 corresponds.
  • Points in the direction of movement D of the base body 2 this, in front of the oblique cutout 11, one parallel to the upper one Milled surface 17 of the base body 2 positioned on, whose width is that of the rectangular flat hold-down 8 corresponds. This lies with its in the direction of movement D leading, positioned perpendicular to the direction of movement D.
  • the hold-down 8 extends over the entire Width of the base body 2 and also protrudes by a measure in Direction of the bent end of the blade 7 over the base body 2, which is slightly less than half the length of the Hold-down 8.
  • the lateral edge 22 of the base body 2 in the area of Milling 17 for the hold-down 8 is in a larger size Distance to the support surface 5 of the base body 2 arranged as the corner 13 of the cutout 11 for the blade 7.
  • Symmetrical to Screw 20 and the central longitudinal axis 4 of the base body 2 has the hold-down 8 has two threaded bores 23 and 24 into which screws, not shown, are screwed in, which are support on the base body 2, which gives the opportunity to screwing these screws through the Hold-down 8, with corresponding loosening of the screw 20, the hold-down 8 at any vertical distance from the support surface 5 of the base body 2 and any tilt position to position this.
  • Figures 1 to 3 show the hold-down device 8 in a tilted around the edge 22 of the base body 2 Position in which the lower edge 18 of the hold-down 8th an acute angle ⁇ to the cutting edge 12 of the blade 7 in the does not occupy a bent area. This angle is maximum 5 °.
  • Figure 1 further illustrates that in this Position the corner 9 with its tip the side surface 25 of the Hold-down contacted.
  • the belt slicer 1 For removing the top layer or part of the top layer from one end of a conveyor belt, the belt slicer 1 is attached its base body 2 in the area of its contact surface 6 on the End face of the belt end positioned, this end face the belt end initially only with the contact surface 6 in the range of the cutting edge 12 of the blade 7 up to the leading end 26 of the base body 2 comes into contact.
  • the hold-down 8 is thus at least in the area of its free edge 27 on the belt on.
  • the user holds the end of the belt with his left hand and presses the belt slicer 1 in the direction of movement with his right hand D, with which the inclined blade 7 through the belt is moved through and in the area of the end of the top layer or removed part of the top layer.
  • the hold-down 8 is adjusted so that the removal of the top layer or a Part of the top layer of the belt when driving over the Gurtendes by means of the belt slicer 1, due to the Interaction of blade 7 and hold-down 8 ensured is that even with the thin, pliable formation of the blade 7 this is moved through the belt defined. That way reduced in strength can be belt connectors or Fastening clips are attached in the area of the belt end. This is disclosed, for example, in EP 628 747 A1.
  • FIGs 6 to 8 illustrate the second embodiment of the manually movable belt slicer according to the invention.
  • FIGs 1 to 5 matching parts are labeled with the same reference numerals for the sake of simplicity.
  • the belt slicer according to FIGS. 6 to 8 differs from the embodiment of Figures 1 to 5 by the changed Design of the blade 7 and its storage in the base body 2 of the girdle, further through the changed training and Storage of the hold-down 8.
  • the hold-down 8 is fastened by means of the screw 20, wherein the screw in this second embodiment with a Pin section 29 rotatable in a bore of the without radial play Main body 2 is held.
  • the screw is axially 20 in Main body 2 held by means of a disc 30 which by a Screw 31 connected to the pin portion 29 of the screw 20 is and is supported on the base body 2.
  • the base body 2 has this in the area of its support surface 5 is cylindrical Recess 32 on both the head of the screw 31 and the disc 30 picks up so that it does not have the bottom Protect the bearing surface 5 of the base body 2.
  • the hold-down 8 is provided with a threaded bore 33, which in the threaded portion 34 engages the screw 20, whereby a rotary movement the screw 20 to a parallel adjustment movement of the Hold-down 8 in a direction perpendicular to the upper surface 10 of the base body 2 leads.
  • interspersed compression spring 37 arranged to ensure is that the screw 20 in use of the belt plane not adjusted.

Landscapes

  • Life Sciences & Earth Sciences (AREA)
  • Forests & Forestry (AREA)
  • Engineering & Computer Science (AREA)
  • Mechanical Engineering (AREA)
  • Wood Science & Technology (AREA)
  • Manufacture Of Wood Veneers (AREA)
  • Details Of Cutting Devices (AREA)

Description

Die Erfindung betrifft einen manuell bewegbaren Gurthobel zum Entfernen der Deckschicht oder eines Teiles der Deckschicht von einem Ende eines Fördergurtes, mit einem Grundkörper, der eine ebene Auflagefläche aufweist und an dem ein Handgriff befestigt ist, sowie mit einem im Grundkörper gelagerten Messer.
Derartige manuell bewegbare Gurthobel sind grundsätzlich bekannt und dienen dazu, die Deckschicht oder Teile der Deckschicht am Ende eines Fördergurtes zu entfernen. Es ist hierbei üblich, das Gurtende auf einer Stützeinrichtung gegen Verrutschen zu sichern und sodann die Bearbeitung mit dem Hobel vorzunehmen, wobei der Hobel von Hand gezogen wird. Im allgemeinen ähnelt der Aufbau des Gurthobels einem Schreinerhobel, der von Hand geführt wird. Der Gurthobel liegt damit mit seiner ebenen Auflagefläche auf dem Fördergurt auf, wobei das schrägstehende, unten über die Auflagefläche überstehende Messer Deckschichtstreifen wegschneidet, so daß wellenförmige Vertiefungen im Fördergurt entstehen. Durch mehrmaliges Ziehen des Gurthobels über die gesamte Breite des Fördergurtes lassen sich eine Vielzahl von Rillen in den Fördergurt einbringen, womit die Deckschicht oder ein Teil der Deckschicht vom Ende des Fördergurtes entfernt ist. Der Gebrauch des Gurthobels erfordert ein hohes Maß an Geschicklichkeit und Körperkraft, ohne daß sichergestellt ist, daß die freigehobelte Oberfläche absolut eben und die Restwandstärke des Gurtes an allen Stellen absolut gleichmäßig ist.
Aus der DE 40 02 116 C2 ist ein maschineller Gurthobel zum Abhobels einer Deckschicht von einem Ende eines auf einer Stützeinrichtung festgeklemmten Fördergurtes bekannt. Der Gurthobel weist einen längs der Stützeinrichtung bewegbaren Schlitten auf, in dem ein Messer und ein diesem vorlaufender Druckschuh entsprechend der Stärke der abzuschneidenden Deckschicht bzw. der Stärke des Fördergurtes höhenverstellbar gelagert sind. Das Messer ist als dicke, starre Klinge ausgebildet, deren dem Schlitten abgewandtes, freies Ende hochgebogen ist, um so die Deckschicht vertikal und horizontal abzuschneiden. Verfahren wird der Schlitten mittels eines Zahnradgetriebes, das über eine Handkurbel betätigbar ist. Aufgrund des Untersetzungsverhältnisses des Getriebes kann die Klinge mit großer Kraft durch den Gurt hindurchbewegt werden, wobei die Dicke und damit biegesteife Klinge sicherstellt, daß über die ganze Gurtbreite eine gleichbleibende Deckschichtstärke entfernt wird. Nachteilig ist bei diesem maschinellen Gurthobel allerdings, daß er einen hohen Bauaufwand erfordert, mit den damit verbundenen hohen Gestehungskosten. Abgesehen hiervon ist beim Anwender vor Ort, insbesondere wenn nach einem Verschleiß der die Gurtenden verbindenden Gurtverbinder oder Befestigungsklammern neue Gurtverbinder oder Befestigungsklammern am Gurt angebracht werden müssen, ein unkompliziertes Entfernen der Deckschicht oder eines Teiles der Deckschicht von dem, für das Anbringen der Gurtverbinder oder Befestigungsklammern vorbereiteten Gurtende kaum möglich.
Es ist Aufgabe der vorliegenden Erfindung, die Gebrauchseigenschaften eines Gurthobels der eingangs genannten Art so zu verbessern, daß mit diesem, trotz ausschließlich manueller Handhabung, bei geringem Kraftaufwand die Deckschicht oder Teile der Deckschicht von einem Ende eines Fördergurtes großflächig entfernt werden können.
Erfindungsgemäß ist der manuell betätigbare Gurthobel der eingangs genannten Art gekennzeichnet durch folgende Merkmale:
  • der Grundkörper weist eine senkrecht zu dessen Auflagefläche angeordnete, in Bewegungsrichtung des Gurthobels verlaufende Anlagefläche auf,
  • das Messer ist als dünne Klinge ausgebildet, die im Bereich der Anlagefläche des Grundkörpers über diesen hinausragt und deren hinausragendes Ende hochgebogen ist,
  • im Grundkörper ist in Bewegungsrichtung vor der Klinge ein Niederhalter gelagert, der im Bereich der Anlagefläche des Grundkörpers über diesen hinausragt und oberhalb der Schneidkante des nicht hochgebogenen Bereiches der Klinge angeordnet ist.
Wesentlich ist bei dem erfindungsgemäßen, manuell bewegbaren Gurthobel zunächst, daß der Grundkörper mit seiner Auflagefläche nicht auf dem Fördergurt aufliegt, wie bei dem vorstehend erörterten manuell bewegbaren Gurthobel, der in Art eines Schreinerhobels ausgebildet ist, sondern es liegt der Grundkörper mit seiner Auflagefläche auf der ebenen Unterlage auf, auf der auch der Fördergurt aufliegt. Wesentlich ist ferner, daß die senkrecht zur Auflagefläche des Grundkörpers angeordnete, in Bewegungsrichtung des Gurthobels verlaufende Anlagefläche beim Gebrauch des Gurthobels an der vorderen, somit freien Stirnfläche des Fördergurtes anliegt, womit eine definierte Führung des Grundkörpers und damit auch des Niederhalters und der Klinge gewährleistet ist. Eine besondere Bedeutung kommt der Ausbildung des Messers als dünne Klinge zu. Diese Gestaltung ist Voraussetzung dafür, daß die Deckschicht oder ein Teil der Deckschicht des Fördergurtes mit geringem, somit manuell aufbringbarem Kraftaufwand abgeschnitten werden kann. Verbunden mit der dünnen Ausgestaltung der Klinge ist allerdings die Problematik, daß sie biegsam ist, und damit das besondere Zusammenwirken von Klinge und Niederhalter erforderlich ist, um ein zufriedenstellendes Schnittergebnis zu erzielen. Eine dünne, biegsame Klinge ist beispielsweise eine solche, die bei sogenannten Teppichmessern Verwendung findet. Wesentliche Bedeutung kommt ferner dem Niederhalter zu, der nicht nur die Funktion hat, den der Klinge vorlaufenden Bereich des Fördergurtes gegen die Unterlage, auf der der Fördergurt ruht, zu drücken, sondern auch der vertikalen Führung des Grundkörpers und damit der Klinge dient.
Mit dem erfindungsgemäßen Gurthobel lassen sich in der Praxis hervorragende Schneidergebnisse erzielen. Dies scheint damit begründbar, daß für den Fall, daß beim Entfernen der Deckschicht oder eines Teiles der Deckschicht vom Fördergurtende die Klinge aufgrund deren biegsamen Eigenschaft im Bereich ihres freien Endes tiefer als gewünscht in den Fördergurt einschneiden will, eine entgegen der Biegekraft der Klinge wirksame Stützkraft des Niederhalters am Fördergurt wirksam wird, die sicherstellt, daß die Klinge geradlinig, bei Aufbringen geringer Kraft, durch den Gurt hindurchbewegt wird.
Der hochgebogene Bereich der Klinge begrenzt die Breite des aus dem Gurt herauszuschneidenden Gurtstreifens. Die Erstreckung des hochgebogenen Bereiches der Klinge in Richtung der Gurthöhe ist dabei so zu bemessen, daß selbst dann, wenn sich die Klinge beim Schneiden biegt, das freie Ende des hochgebogenen Klingenabschnitts oben aus dem Gurt ragt.
Zweckmäßig ist der Niederhalter als leistenförmiges, rechteckigen Querschnitt aufweisendes Bauteil ausgebildet. Diese Gestaltung verbindet optimale Funktionalität mit besonders einfacher Gestaltung.
Eine besondere Ausführungsform der Erfindung sieht vor, daß der Niederhalter und die Klinge zueinander verstellbar im Grundkörper gelagert sind. Wegen der dünnen, biegsamen Ausbildung der Klinge und damit der Schwierigkeit, sie definiert verstellen zu können, sollte sie in einer unveränderlichen Position im Grundkörper gehalten sein. Es braucht damit nur der Niederhalter verstellbar sein.
Zweckmäßig ist der Niederhalter höhenverstellbar und/oder um eine in Bewegungsrichtung des Gurthobels verlaufende Achse schwenkbar im Grundkörper gelagert. Die Tiefe des Schnittes, der durch die Klinge vollzogen wird, läßt sich damit ausschließlich durch Veränderung der Vertikalposition des Niederhalters erreichen, womit der Schwenkposition des Niederhalters insbesondere die Funktion zukommt, die definierte, geradlinige Bewegung der Klinge durch den Fördergurt sicherzustellen.
Gemäß einer besonderen Ausführungsform der Erfindung ist vorgesehen, daß der Niederhalter eine ebene Niederhaltefläche aufweist, die parallel oder in einem spitzen Winkel zum nicht hochgebogenen Abschnitt der Klinge, bezogen auf die auskragenden Enden von Niederhalter und Klinge, angeordnet ist.
Der spitze Winkel zwischen Niederhaltefläche und nicht hochgebogenem Abschnitt der Klinge sollte kleiner als 5° sein. Aufgrund der Anordnung von Niederhalter und nicht hochgebogenem Abschnitt der Klinge, liegt der Niederhalter, je nach Schneidezustand, entweder nur im Bereich seines freien Endes oder entlang seiner über den Grundkörper auskragenden Niederhaltefläche auf der Deckschicht des Fördergurtes auf. Hat beim Bewegen der Klinge durch den Fördergurt die Klinge die Tendenz, tiefer in den Fördergurt einzuschneiden, weil sich das freie Ende der Klinge nach unten biegen will, wird der Niederhalter und damit der Grundkörper aufgrund der sich einstellenden Kräfte von der Linienberührung im Bereich des freien Endes des Niederhalters in die Flächenberührung über die Niederhaltefläche bewegt, mit der Konsequenz, daß sich die Position der Klinge relativ zum Gurt verstellt, dahingehend, daß das freie Ende der Klinge das Bestreben hat, sich im Fördergurt stärker nach oben zu bewegen. Die Folge ist, daß die Flächenberührung der Niederhaltefläche wieder aufgehoben werden kann. In der Konsequenz bedeutet dies, daß während des Schneidvorganges der Grundkörper mit seiner ebenen Auflagefläche nicht unbedingt auf der den Fördergut aufnehmenden Unterlage aufliegen muß.
Bei der parallelen, verstellbaren Anordnung von Niederhaltefläche und nicht hochgebogenem Abschnitt der Klinge wird der Niederhalter, bei auf der Unterlage aufliegendem Grundkörper, so zur Auflagefläche des Grundkörpers verstellt, daß er auf dem Gurt aufliegt. Danach wird der Niederhalter etwas weiter in Richtung der Auflagefläche des Grundkörpers zugestellt, wobei hierunter ein Maß von weniger als 1mm verstanden wird. Aufgrund dieser Zustellbewegung liegt beim Eindringen der Klinge in den Gurt der Grundkörper im Bereich seiner Auflagefläche nur entlang einer Kante auf seiner Unterlage auf, und es liegt der Niederhalter nur in seinem, dem Grundkörper zugewandten Bereich am Gurt an. Dringt beim Schneiden des Gurtes die biegsame Klinge im Bereich ihres freien Endes tiefer in den Gurt ein, wird sie mit ihrem nicht hochgebogenen Abschnitt im wesentlichen parallel durch den Gurt bewegt.
Um optimale Schneidergebnisse zu erzielen, sollte der nicht hochgebogene Abschnitt der Klinge unter einem spitzen Winkel zur ebenen Auflagefläche des Grundkörpers angeordnet sein. Dieser spitze Winkel ist zweckmäßig kleiner als 15°, er liegt insbesondere zwischen 10 und 15°.
Die Schneidkante des nicht hochgebogenen Abschnittes der Klinge ist vorteilhaft senkrecht zur Bewegungsrichtung des Gurthobels angeordnet.
Wird eine gewisse Vorspannung auf das hochgebogene freie Ende der Klinge aufgebracht, kann das Biegeverhalten der dünnen Klinge positiv beeinflußt werden, das heißt im Sinne einer Verminderung der unerwünschten Biegung. Dies ist beispielsweise möglich, wenn die Spitze des hochgebogenen Endes der Klinge an der in Bewegungsrichtung des Gurthobels nachlaufenden Fläche des Niederhalters anliegt.
Die Deckschicht des Fördergurtes, die im Endbereich des Fördergurtes ganz oder teilweise abzuhobeln ist, kann unterschiedlich gestaltet sein. In aller Regel wird es sich um ein Auflagemuster handeln, das abgehobelt werden muß, um eine unmittelbare, großflächige Anlage der Gurtverbinder oder Befestigungsklammern am Fördergurt und damit deren optimale Verbindung zu gewährleisten. Das Auflagemuster kann beispielsweise Rautenform aufweisen.
Der erfindungsgemäße, manuell bedienbare Gurthobel ist im Gegensatz zu dem zum Stand der Technik erörterten Gurthobel in Art eines Tischlerhobels, der über den Fördergurt gezogen wird, primär für eine drückende Beaufschlagung bestimmt. Aufgrund der vom Benutzer des Hobels über dessen Arm schräg von oben in den Handgriff und damit den Grundkörper eingeleiteten Betätigungskraft, wird der Grundkörper und damit der Niederhalter fest gegen den Fördergurt gedrückt, mit der Konsequenz, einer optimalen Niederhalte- und Führungsfunktion des Niederhalters.
Weiterbildende der Erfindung sind in der Beschreibung der Figuren und den Figuren selbst dargestellt.
In den Figuren ist die Erfindung vereinfacht anhand zweier Ausführungsformen beispielsweise dargestellt, ohne auf diese beschränkt zu sein. Es stellt dar:
Figur 1
eine Seitenansicht einer ersten Ausführungsform des erfindungsgemäßen, manuell bewegbaren Gurthobels,
Figur 2
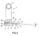
einen Schnitt durch den Gurthobel gemäß der Linie A-A in Figur 1,
Figur 3
einen Schnitt durch den Gurthobel gemäß der Linie B-B in Figur 1,
Figur 4
eine Seitenansicht von Grundkörper und Handgriff des Gurthobels,
Figur 5
einen Schnitt gemäß der Linie C-C in Figur 4,
Figur 6
eine Seitenansicht einer zweiten Ausführungsform des erfindungsgemäßen, manuell bewegbaren Hobels,
Figur 7
einen Schnitt durch den Gurthobel gemäß der Linie E-E in Figur 6 und
Figur 8
einen Schnitt durch den Gurthobel gemäß der Linie F-F in Figur 6.
Wie sich aus der Zeichnung der Figuren 1 bis 5 ergibt, weist der Gurthobel 1 einen quaderförmigen, in Art einer Leiste ausgebildeten Grundkörper 2 und einen aus einem Rohr U-förmig gebogenen Handgriff 3 auf. Dieser ist im Bereich seiner freien Enden mit dem Grundkörper 2 im Bereich dessen entgegengesetzten Enden verschweißt, wobei die Mittellängsachse des Handgriffes 3 mit der Mittellängsachse 4 des Grundkörpers zusammenfällt. Die dem Handgriff 3 abgewandte Fläche des Grundkörpers 2 stellt dessen Auflagefläche 5 und die in Figur 1 einsehbare Seitenfläche des Grundkörpers 2 dessen Anlagefläche 6 dar. Mit dem Grundkörper 2 ist eine dünne, biegsame Klinge 7 und, dieser in der vorgesehenen Bewegungsrichtung D des Gurthobels 1 vorlaufend, ein Niederhalter 8 befestigt. Die Befestigung dieser Teile erfolgt im Mittelbereich des Grundkörpers 2, d.h. etwa auf dessen halber Länge.
Die Klinge weist Trapezform auf, wobei ein spitzer Eckbereich 9 der Klinge 7, bezogen auf die Darstellung der Klinge 7 in Figur 1 hochgebogen ist, das heißt von der Auflagefläche 5 des Grundkörpers 2 weggebogen ist. Zur Aufnahme der Klinge 7 weist der Grundkörper 2 im Bereich seiner oberen Fläche 10 eine Ausfräsung 11 auf, die zur Oberfläche 10, und auch zur Auflagefläche 5 des Grundkörpers 2 einen Winkel β zwischen 10 und 15° einschließt. Die Schneidkante 12 der Klinge 7 liegt im Bereich der rechtwinkligen Ecke 13 der Ausfräsung 11 an dieser an und es ist die Klinge 7 mittels einer Schraube 14 mit dem Grundkörper 2 fest verbunden, die in eine Gewindebohrung 15 des Grundörpers 2 eingeschraubt ist. Im nicht hochgebogenen Abschnitt 16 der Klinge 7 ist deren Schneidkante 12 senkrecht zur Bewegungsrichtung D des Gurthobels 1 angeordnet. Die Schraube 14 befindet sich nahe der Anlagefläche 6 und es steht die Klinge 7 um ein solches Maß über den Grundkörper 2 im Bereich der Anlagefläche 6 hervor, das etwa der Hälfte der Gesamtlänge der Schneidkante 12 entspricht. In Bewegungsrichtung D des Grundkörpers 2 weist dieser, vor der schrägen Ausfräsung 11, eine parallel zur oberen Fläche 10 des Grundkörpers 2 positionierte Ausfräsung 17 auf, deren Breite der des quaderförmigen, flachen Niederhalters 8 entspricht. Dieser liegt mit seiner in Bewegungsrichtung D vorlaufenden, senkrecht zur Bewegungsrichtung D positionierten unteren Kante 18 zumindest teilweise an der vorderen Ecke 19 der Ausfräsung 17 an und ist mittels einer Schraube 20 mit dem Grundkörper 2 befestigt, die eine Gewindebohrung 21 in diesem durchsetzt. Der Niederhalter 8 erstreckt sich über die gesamte Breite des Grundkörpers 2 und ragt darüber hinaus um ein Maß in Richtung des hochgebogenen Endes der Klinge 7 über den Grundkörper 2, das geringfügig geringer ist als die halbe Länge des Niederhalters 8.
Die seitliche Kante 22 des Grundkörpers 2 im Bereich der Ausfräsung 17 für den Niederhalter 8 ist in einem größeren Abstand zur Auflagefläche 5 des Grundkörpers 2 angeordnet als die Ecke 13 der Ausfräsung 11 für die Klinge 7. Symmetrisch zur Schraube 20 und der Mittellängsachse 4 des Grundkörpers 2 weist der Niederhalter 8 zwei Gewindebohrungen 23 und 24 auf, in die nicht veranschaulichte Schrauben eingeschraubt sind, welche sich am Grundkörper 2 abstützen, womit die Möglichkeit besteht, durch unterschiedlich weites Schrauben dieser Schrauben durch den Niederhalter 8, bei entsprechender Lockerung der Schraube 20, den Niederhalter 8 beliebig in vertikalem Abstand zur Auflagefläche 5 des Grundkörpers 2 und beliebiger Kippstellung zu dieser zu positionieren. Die Figuren 1 bis 3 zeigen den Niederhalter 8 in einer um die Kante 22 des Grundkörpers 2 gekippten Stellung, in der die untere Kante 18 des Niederhalters 8 einen spitzen Winkel α zur Schneidkante 12 der Klinge 7 in deren nicht hochgebogenem Bereich einnimmt. Dieser Winkel beträgt maximal 5°. Die Figur 1 verdeutlicht des weiteren, daß in dieser Stellung die Ecke 9 mit ihrer Spitze die Seitenfläche 25 des Niederhalters kontaktiert.
Zum Entfernen der Deckschicht oder eines Teiles der Deckschicht von einem Ende eines Fördergurtes wird der Gurthobel 1 mit seinem Grundkörper 2 im Bereich dessen Anlagefläche 6 an der Stirnfläche des Gurtendes positioniert, wobei diese Stirnfläche des Gurtendes zunächst nur mit der Anlagefläche 6 im Bereich von der Schneidkante 12 der Klinge 7 bis zum vorlaufenden Ende 26 des Grundkörpers 2 in Anlage gelangt. Der Niederhalter 8 liegt damit zumindest im Bereich seiner freien Kante 27 auf dem Gurt auf. Der Benutzer hält mit der linken Hand das Gurtende fest und drückt mit seiner rechten Hand den Gurthobel 1 in Bewegungsrichtung D, womit die schrägstehende Klinge 7 durch den Gurt hindurchbewegt wird und im Bereich dessen Endes die Deckschicht oder einen Teil der Deckschicht entfernt. Der Niederhalter 8 ist damit so justiert, daß die Entfernung der Deckschicht oder eines Teiles der Deckschicht des Gurtes beim einmaligen Überfahren des Gurtendes mittels des Gurthobels 1 erfolgt, wobei aufgrund des Zusammenwirkens von Klinge 7 und Niederhalter 8 sichergestellt ist, daß selbst bei der dünnen, biegsamen Ausbildung der Klinge 7 diese definiert durch den Gurt hindurchbewegt wird. An dem so in seiner Stärke verringerten Gurt können Gurtverbinder oder Befestigungsklammern im Bereich des Gurtendes angebracht werden. Dies ist beispielsweise in der EP 628 747 A1 geoffenbart.
Die Figuren 6 bis 8 verdeutlichen die zweite Ausführungsform des erfindungsgemäßen, manuell bewegbaren Gurthobels. Mit der Ausführungsform nach den Figuren 1 bis 5 übereinstimmende Teile sind der Einfachheit halber mit denselben Bezugsziffern bezeichnet.
Der Gurthobel nach den Figuren 6 bis 8 unterscheidet sich von der Ausführungsform nach den Figuren 1 bis 5 durch die veränderte Gestaltung der Klinge 7 und deren Lagerung im Grundkörper 2 des Gurthobels, ferner durch die veränderte Ausbildung und Lagerung des Niederhalters 8.
Wie der Darstellung der Figur 7 zu entnehmen ist, weist die im nicht gebogenen Ausgangszustand trapezförmige Klinge 7 identische, gegensinnig gebogene spitze Eck- bzw. Endbereiche 9 auf. Der bei montierter Klinge 7 nach unten gerichtete Endbereich greift dabei in eine Ausnehmung 28 des Grundkörpers 2 ein. Ist der außen über den Grundkörper 2 hinausstehende Bereich der Klinge 7 beim Schneiden stumpf geworden, kann die Klinge ummontiert werden, so daß nunmehr der bisher unbenutzte Klingenbereich zum Einsatz gelangt und die Klinge 7 im Bereich der bisher benutzten Ecke 9 in die Ausnehmung 28 eingreift.
Der Niederhalter 8 ist mittels der Schraube 20 befestigt, wobei die Schraube bei dieser zweiten Ausführungsform mit einem Zapfenabschnitt 29 ohne Radialspiel drehbar in einer Bohrung des Grundkörpers 2 gehalten ist. Axial ist die Schraube 20 im Grundkörper 2 mittels einer Scheibe 30 gehalten, die durch eine Schraube 31 mit dem Zapfenabschnitt 29 der Schraube 20 verbunden ist und sich am Grundkörper 2 abstützt. Der Grundkörper 2 weist dieser im Bereich seiner Auflagefläche 5 eine zylindrische Ausnehmung 32 auf, die sowohl den Kopf der Schraube 31 als auch die Scheibe 30 aufnimmt, so daß diese unten nicht über die Auflagefläche 5 des Grundkörpers 2 vorstehen. Der Niederhalter 8 ist mit einer Gewindebohrung 33 versehen, die in den Gewindeabschnitt 34 der Schraube 20 eingreift, womit eine Drehbewegung der Schraube 20 zu einer parallelen Verstellbewegung des Niederhalters 8 in einer Richtung senkrecht zur oberen Fläche 10 des Grundkörpers 2 führt. Um beim Verstellen des Niederhalters 8 dessen Verdrehen zu verhindern, durchsetzt ein parallel zur Drehachse der Schraube 20 angeordneter, mit dem Grundkörper 2 verbundener Zapfen 35 im wesentlichen spielfrei eine Durchgangsbohrung im Niederhalter 8. Zwischen dem Kopf 36 der Schraube 20 und dem Niederhalter 8 ist eine vom Gewindeabschnitt der Schraube 20 durchsetzte Druckfeder 37 angeordnet, die sicherstellen soll, daß sich die Schraube 20 im Gebrauch des Gurthobels nicht verstellt.

Claims (17)

  1. Manuell bewegbarer Gurthobel zum Entfernen der Deckschicht oder eines Teiles der Deckschicht von einem Ende eines Fördergurtes, mit einem Grundkörper, der eine ebene Auflagefläche aufweist und an dem ein Handgriff befestigt ist, sowie mit einem im Grundkörper gelagerten Messer, gekennzeichnet durch folgende Merkmale:
    der Grundkörper (2) weist eine senkrecht zu dessen Auflagefläche (5) angeordnete, in Bewegungsrichtung (D) des Gurthobels (1) verlaufende Anlagefläche (6) auf,
    das Messer (7) ist als dünne Klinge ausgebildet, die im Bereich der Anlagefläche (6) des Grundkörpers (2) über diesen hinausragt und deren herausragendes Ende (9) hochgebogen ist,
    im Grundkörper (2) ist in Bewegungsrichtung (D) vor der Klinge (7) ein Niederhalter (8) gelagert, der im Bereich der Anlagefläche (6) des Grundkörpers (2) über diesen hinausragt und oberhalb der Schneidkante (12) des nicht hochgebogenen Bereiches (16) der Klinge (7) angeordnet ist.
  2. Gurthobel nach Anspruch 1, dadurch gekennzeichnet, daß der Niederhalter (8) und die Klinge (7) zueinander verstellbar im Grundkörper (2) gelagert sind.
  3. Gurthobel nach Anspruch 2, dadurch gekennzeichnet, daß der Niederhalter (8) höhenverstellbar im Grundkörper (2) gelagert ist.
  4. Gurthobel nach Anspruch 3, dadurch gekennzeichnet, daß der Niederhalter (8) parallel verstellbar oder um eine parallel zur Bewegungsrichtung (D) des Gurthobels verlaufende Achse (4) schwenkbar im Grundkörper (2) gelagert ist.
  5. Gurthobel nach einem der Ansprüche 1 bis 4, dadurch gekennzeichnet, daß der Niederhalter (8) als leistenförmiges, Rechteckquerschnitt aufweisendes Bauteil ausgebildet ist.
  6. Gurthobel nach einem der Ansprüche 1 bis 5, dadurch gekennzeichnet, daß der Niederhalter (8) eine ebene Niederhaltefläche aufweist.
  7. Gurthobel nach Anspruch 6, darurch gekennzeichnet, daß die Niederhaltefläche in einem spitzen Winkel α zum nicht hochgebogenen Abschnitt (16) der Klinge (7), bezogen auf die hinausragenden Enden von Niederhalter (8) und Klinge (7), angeordnet ist.
  8. Gurthobel nach Anspruch 7, dadurch gekennzeichnet, daß der spitze Winkel α kleiner als 5° ist.
  9. Gurthobel nach einem der Ansprüche 1 bis 8, dadurch gekennzeichnet, daß der nicht hochgebogene Abschnitt (16) der Klinge (7) unter einem spitzen Winkel β zur ebenen Auflagefläche (5) des Grundkörpers (1) angeordnet ist.
  10. Gurthobel nach Anspruch 9, dadurch gekennzeichnet, daß der spitze Winkel β kleiner als 15° ist, insbesondere zwischen 10 und 15° beträgt.
  11. Gurthobel nach einem der Ansprüche 1 bis 10, dadurch gekennzeichnet, daß die Schneidkante (12) des nicht hochgebogenen Abschnitts (16) der Klinge (7) senkrecht zur Bewegungsrichtung (D) des Gurthobels (1) angeordnet ist.
  12. Gurthobel nach einem der Ansprüche 1 bis 11, dadurch gekennzeichnet, daß der hochgebogene Bereich (9) der Klinge (7) im wesentlichen rechtwinklig zum nicht hochgebogenen Bereich (16) der Klinge (7) angeordnet ist.
  13. Gurthobel nach einem der Ansprüche 1 bis 12, dadurch gekennzeichnet, daß die Klinge (7) identische, gegensinnig gebogene Endbereiche (9) aufweist.
  14. Gurthobel nach Anspruch 13, dadurch gekennzeichnet, daß die Klinge (7) mit ihrem nach unten gebogenen Ende (9) in eine Ausnehmung (28) des Grundkörpers (2) eingreift.
  15. Gurthobel nach einem der Ansprüche 1 bis 14, dadurch gekennzeichnet, daß die Spitze des hochgebogenen Endes (9) der Klinge (7) an der in Bewegungsrichtung (D) des Gurthobels (1) nachlaufenden Fläche (25) des Niederhalters (8) anliegt.
  16. Gurthobel nach einem der Ansprüche 1 bis 15, dadurch gekennzeichnet, daß der Niederhalter (8) mittels mindestens einer Schraube (20) verstellbar im Grundkörper (2) gelagert ist.
  17. Gurthobel nach Anspruch 15, dadurch gekennzeichnet, daß die Schraube (20) axial festgelegt im Grundkörper (2) drehbar gelagert ist und deren Gewindeabschnitt (34) in eine Gewindebohrung des Niederhalters (8) eingreift, wobei der Niederhalter (8) durch ein im Grundkörper (2) gelagertes Haltemittel (35) drehfest zum Grundkörper (2) positioniert ist.
EP96117141A 1995-11-09 1996-10-25 Manuell bewegbarer Gurthobel Expired - Lifetime EP0773089B1 (de)

Applications Claiming Priority (2)

Application Number Priority Date Filing Date Title
DE19541822A DE19541822A1 (de) 1995-11-09 1995-11-09 Manuell bewegbarer Gurthobel
DE19541822 1995-11-09

Publications (2)

Publication Number Publication Date
EP0773089A1 EP0773089A1 (de) 1997-05-14
EP0773089B1 true EP0773089B1 (de) 2000-01-12

Family

ID=7777048

Family Applications (1)

Application Number Title Priority Date Filing Date
EP96117141A Expired - Lifetime EP0773089B1 (de) 1995-11-09 1996-10-25 Manuell bewegbarer Gurthobel

Country Status (3)

Country Link
US (1) US5771587A (de)
EP (1) EP0773089B1 (de)
DE (2) DE19541822A1 (de)

Families Citing this family (8)

* Cited by examiner, † Cited by third party
Publication number Priority date Publication date Assignee Title
EP1245352B1 (de) 2001-03-23 2005-02-02 MATO Maschinen- und Metallwarenfabrik Curt Matthaei GmbH & Co KG Manuell bewegbarer Gurthobel
US20050229403A1 (en) * 2003-09-08 2005-10-20 Diaz Bob M Method and apparatus for cutting materials
USD501386S1 (en) * 2003-09-08 2005-02-01 Bob Manzano Diaz Ergonomic cutter
EP1849568B1 (de) * 2006-04-29 2008-10-22 MATO Maschinen- und Metallwarenfabrik Curt Matthaei GmbH & Co KG Einrichtung zum Abtrennen von Deckschichten von einem Ende eines Fördergurts
CN106541434B (zh) * 2016-11-30 2018-06-22 上海荣南科技有限公司 一种天窗密封条精切机机械装置
US12290951B2 (en) 2020-03-20 2025-05-06 Mayer Engineering, LLC Precision skiver
US11167439B2 (en) 2020-03-20 2021-11-09 Mayer Engineering, LLC Precision skiver
US12355221B2 (en) * 2021-05-07 2025-07-08 Hubbell Power Systems, Inc. Shaving tool with upright handle

Family Cites Families (13)

* Cited by examiner, † Cited by third party
Publication number Priority date Publication date Assignee Title
US421407A (en) * 1890-02-18 Molding-plane
GB814840A (en) * 1956-10-23 1959-06-10 C & J Hampton Ltd Improvements in or relating to slitting tools
US1307151A (en) * 1919-06-17 Paper-cutter
US2734535A (en) * 1956-02-14 neubauer
US991238A (en) * 1910-09-22 1911-05-02 William Potter Rabbet-plane.
US1393991A (en) * 1920-09-24 1921-10-18 John M Dodenhof Plane
US1576661A (en) * 1925-03-17 1926-03-16 Lawrence August Plane
US4656910A (en) * 1986-03-03 1987-04-14 The Goodyear Tire & Rubber Company Belt skiving method and apparatus
AU585464B2 (en) * 1986-08-19 1989-06-15 Anatoly George Szogi Panel cutting apparatus
AU616338B2 (en) * 1989-02-02 1991-10-24 Mato Maschinen- Und Metallwarenfabrik Curt Matthaei Gmbh & Co Kg Belt skimming device
US4983081A (en) * 1989-06-01 1991-01-08 Glass Master Corporation Apparatus and method for forming shiplap duct
US5040297A (en) * 1989-12-01 1991-08-20 Malco Products, Inc. Fiberglass panel cutter with adjustable square and duct knife
DE4318836A1 (de) * 1993-06-07 1994-12-08 Mato Masch & Metallwaren Verbindungselement für Förderbänder

Also Published As

Publication number Publication date
DE19541822A1 (de) 1997-05-15
DE59604166D1 (de) 2000-02-17
US5771587A (en) 1998-06-30
EP0773089A1 (de) 1997-05-14

Similar Documents

Publication Publication Date Title
EP0525438B1 (de) Handkreissäge
DE3509515C2 (de)
EP0525437A2 (de) Handwerkzeugmaschine mit schwenkbarer Grundplatte
EP0773089B1 (de) Manuell bewegbarer Gurthobel
DE3615848C3 (de) Für Trennarbeiten verwendbare Handwerkzeugmaschine wie Handkreissäge, Trennschleifgerät od. dgl.
EP0305414B1 (de) Messer
DE10152910A1 (de) Schälgerät mit schwenkbarem Schälkopf
DE3729159C1 (de) Geraet zum Schneiden von Obst,Gemuese oder dergleichen in Scheiben
EP3150343A1 (de) Küchenhobel
EP0215073B1 (de) Stichsäge
CH684687A5 (de) Schneidwerkzeug.
DE2653830C2 (de) Messerscheide mit einer Schärfvorrichtung
EP1348514A2 (de) Schlittensystem
DE68902296T2 (de) Anordnung fuer schneideinsatzhalter.
DE3540410A1 (de) Fuer trennarbeiten verwendbare handwerkzeugmaschine wie handkreissaege, trennschleifgeraet od.dgl.
DE3615381C2 (de) Fuehrungsvorrichtung fuer den messerbalken einer schere zur blechbearbeitung
EP0090171A2 (de) Vorrichtung zum Einbringen von Schlitzen, insbesondere an Holz, Holzverbundwerkstoffen u. dgl.
DE2642656A1 (de) Tafelschere
DE3422570A1 (de) Messerhalter fuer ein scherenschnittmesser an rollenschneidmaschinen
EP4536434B1 (de) Vorrichtung zur führung eines werkzeugs beim zerteilen eines werkstücks
EP1245352A1 (de) Manuell bewegbarer Gurthobel
WO2003072321A1 (de) Allesschneider mit anstellplatte
DE29601840U1 (de) Schleifvorrichtung
EP3782754B1 (de) Feile zum feilen des schneidzahns einer sägekette
CH662771A5 (de) Schneidvorrichtung fuer bogen und hefte.

Legal Events

Date Code Title Description
PUAI Public reference made under article 153(3) epc to a published international application that has entered the european phase

Free format text: ORIGINAL CODE: 0009012

AK Designated contracting states

Kind code of ref document: A1

Designated state(s): DE FR GB

17P Request for examination filed

Effective date: 19970714

GRAG Despatch of communication of intention to grant

Free format text: ORIGINAL CODE: EPIDOS AGRA

17Q First examination report despatched

Effective date: 19990319

GRAG Despatch of communication of intention to grant

Free format text: ORIGINAL CODE: EPIDOS AGRA

GRAH Despatch of communication of intention to grant a patent

Free format text: ORIGINAL CODE: EPIDOS IGRA

GRAH Despatch of communication of intention to grant a patent

Free format text: ORIGINAL CODE: EPIDOS IGRA

GRAA (expected) grant

Free format text: ORIGINAL CODE: 0009210

AK Designated contracting states

Kind code of ref document: B1

Designated state(s): DE FR GB

REF Corresponds to:

Ref document number: 59604166

Country of ref document: DE

Date of ref document: 20000217

GBT Gb: translation of ep patent filed (gb section 77(6)(a)/1977)

Effective date: 20000321

ET Fr: translation filed
PLBE No opposition filed within time limit

Free format text: ORIGINAL CODE: 0009261

STAA Information on the status of an ep patent application or granted ep patent

Free format text: STATUS: NO OPPOSITION FILED WITHIN TIME LIMIT

26N No opposition filed
REG Reference to a national code

Ref country code: GB

Ref legal event code: IF02

REG Reference to a national code

Ref country code: DE

Ref legal event code: R082

Ref document number: 59604166

Country of ref document: DE

Representative=s name: PATENTANWAELTE QUERMANN, STURM, WEILNAU, DE

REG Reference to a national code

Ref country code: DE

Ref legal event code: R082

Ref document number: 59604166

Country of ref document: DE

Representative=s name: QUERMANN STURM WEILNAU PATENTANWAELTE PARTNERS, DE

Effective date: 20140217

Ref country code: DE

Ref legal event code: R082

Ref document number: 59604166

Country of ref document: DE

Representative=s name: PATENTANWAELTE QUERMANN, STURM, WEILNAU, DE

Effective date: 20140217

Ref country code: DE

Ref legal event code: R081

Ref document number: 59604166

Country of ref document: DE

Owner name: MATO GMBH & CO. KG, DE

Free format text: FORMER OWNER: MATO MASCHINEN- UND METALLWARENFABRIK CURT MATTHAEI GMBH & CO KG, 63071 OFFENBACH, DE

Effective date: 20140217

PGFP Annual fee paid to national office [announced via postgrant information from national office to epo]

Ref country code: FR

Payment date: 20141022

Year of fee payment: 19

Ref country code: GB

Payment date: 20141021

Year of fee payment: 19

PGFP Annual fee paid to national office [announced via postgrant information from national office to epo]

Ref country code: DE

Payment date: 20141223

Year of fee payment: 19

REG Reference to a national code

Ref country code: DE

Ref legal event code: R119

Ref document number: 59604166

Country of ref document: DE

GBPC Gb: european patent ceased through non-payment of renewal fee

Effective date: 20151025

PG25 Lapsed in a contracting state [announced via postgrant information from national office to epo]

Ref country code: DE

Free format text: LAPSE BECAUSE OF NON-PAYMENT OF DUE FEES

Effective date: 20160503

Ref country code: GB

Free format text: LAPSE BECAUSE OF NON-PAYMENT OF DUE FEES

Effective date: 20151025

REG Reference to a national code

Ref country code: FR

Ref legal event code: ST

Effective date: 20160630

PG25 Lapsed in a contracting state [announced via postgrant information from national office to epo]

Ref country code: FR

Free format text: LAPSE BECAUSE OF NON-PAYMENT OF DUE FEES

Effective date: 20151102