EP0733765B1 - Section member and fitting assembly for making high thermal insulation wood coated window and door frames - Google Patents
Section member and fitting assembly for making high thermal insulation wood coated window and door frames Download PDFInfo
- Publication number
- EP0733765B1 EP0733765B1 EP96830118A EP96830118A EP0733765B1 EP 0733765 B1 EP0733765 B1 EP 0733765B1 EP 96830118 A EP96830118 A EP 96830118A EP 96830118 A EP96830118 A EP 96830118A EP 0733765 B1 EP0733765 B1 EP 0733765B1
- Authority
- EP
- European Patent Office
- Prior art keywords
- section member
- metal
- section
- members
- wood
- Prior art date
- Legal status (The legal status is an assumption and is not a legal conclusion. Google has not performed a legal analysis and makes no representation as to the accuracy of the status listed.)
- Revoked
Links
- 239000002023 wood Substances 0.000 title claims abstract description 50
- 238000009413 insulation Methods 0.000 title claims description 7
- 239000002184 metal Substances 0.000 claims abstract description 84
- 238000000576 coating method Methods 0.000 claims abstract description 38
- 230000000452 restraining effect Effects 0.000 claims abstract description 38
- 239000011248 coating agent Substances 0.000 claims abstract description 35
- 239000011810 insulating material Substances 0.000 claims abstract description 13
- 239000011521 glass Substances 0.000 claims description 24
- 239000000463 material Substances 0.000 claims description 8
- 238000007789 sealing Methods 0.000 claims description 7
- XLYOFNOQVPJJNP-UHFFFAOYSA-N water Substances O XLYOFNOQVPJJNP-UHFFFAOYSA-N 0.000 claims description 7
- 239000004677 Nylon Substances 0.000 claims description 2
- 229920001778 nylon Polymers 0.000 claims description 2
- 230000037431 insertion Effects 0.000 claims 1
- 238000003780 insertion Methods 0.000 claims 1
- 239000004033 plastic Substances 0.000 claims 1
- 229920003023 plastic Polymers 0.000 claims 1
- 230000015572 biosynthetic process Effects 0.000 description 3
- 230000002547 anomalous effect Effects 0.000 description 2
- 238000000034 method Methods 0.000 description 2
- 239000004952 Polyamide Substances 0.000 description 1
- 239000003795 chemical substances by application Substances 0.000 description 1
- 230000008878 coupling Effects 0.000 description 1
- 238000010168 coupling process Methods 0.000 description 1
- 238000005859 coupling reaction Methods 0.000 description 1
- 238000006073 displacement reaction Methods 0.000 description 1
- 230000000694 effects Effects 0.000 description 1
- 238000012986 modification Methods 0.000 description 1
- 230000004048 modification Effects 0.000 description 1
- 229920002647 polyamide Polymers 0.000 description 1
- 230000000284 resting effect Effects 0.000 description 1
Images
Classifications
-
- E—FIXED CONSTRUCTIONS
- E06—DOORS, WINDOWS, SHUTTERS, OR ROLLER BLINDS IN GENERAL; LADDERS
- E06B—FIXED OR MOVABLE CLOSURES FOR OPENINGS IN BUILDINGS, VEHICLES, FENCES OR LIKE ENCLOSURES IN GENERAL, e.g. DOORS, WINDOWS, BLINDS, GATES
- E06B3/00—Window sashes, door leaves, or like elements for closing wall or like openings; Layout of fixed or moving closures, e.g. windows in wall or like openings; Features of rigidly-mounted outer frames relating to the mounting of wing frames
- E06B3/30—Coverings, e.g. protecting against weather, for decorative purposes
- E06B3/301—Coverings, e.g. protecting against weather, for decorative purposes consisting of prefabricated profiled members or glass
- E06B3/303—Covering metal or plastic frames with wooden profiled members
-
- E—FIXED CONSTRUCTIONS
- E06—DOORS, WINDOWS, SHUTTERS, OR ROLLER BLINDS IN GENERAL; LADDERS
- E06B—FIXED OR MOVABLE CLOSURES FOR OPENINGS IN BUILDINGS, VEHICLES, FENCES OR LIKE ENCLOSURES IN GENERAL, e.g. DOORS, WINDOWS, BLINDS, GATES
- E06B3/00—Window sashes, door leaves, or like elements for closing wall or like openings; Layout of fixed or moving closures, e.g. windows in wall or like openings; Features of rigidly-mounted outer frames relating to the mounting of wing frames
- E06B3/04—Wing frames not characterised by the manner of movement
- E06B3/263—Frames with special provision for insulation
- E06B3/26301—Frames with special provision for insulation with prefabricated insulating strips between two metal section members
- E06B3/26303—Frames with special provision for insulation with prefabricated insulating strips between two metal section members with thin strips, e.g. defining a hollow space between the metal section members
-
- E—FIXED CONSTRUCTIONS
- E06—DOORS, WINDOWS, SHUTTERS, OR ROLLER BLINDS IN GENERAL; LADDERS
- E06B—FIXED OR MOVABLE CLOSURES FOR OPENINGS IN BUILDINGS, VEHICLES, FENCES OR LIKE ENCLOSURES IN GENERAL, e.g. DOORS, WINDOWS, BLINDS, GATES
- E06B3/00—Window sashes, door leaves, or like elements for closing wall or like openings; Layout of fixed or moving closures, e.g. windows in wall or like openings; Features of rigidly-mounted outer frames relating to the mounting of wing frames
- E06B3/04—Wing frames not characterised by the manner of movement
- E06B3/263—Frames with special provision for insulation
- E06B2003/26349—Details of insulating strips
- E06B2003/2635—Specific form characteristics
- E06B2003/26359—Specific form characteristics making flush mounting with neighbouring metal section members possible
-
- E—FIXED CONSTRUCTIONS
- E06—DOORS, WINDOWS, SHUTTERS, OR ROLLER BLINDS IN GENERAL; LADDERS
- E06B—FIXED OR MOVABLE CLOSURES FOR OPENINGS IN BUILDINGS, VEHICLES, FENCES OR LIKE ENCLOSURES IN GENERAL, e.g. DOORS, WINDOWS, BLINDS, GATES
- E06B3/00—Window sashes, door leaves, or like elements for closing wall or like openings; Layout of fixed or moving closures, e.g. windows in wall or like openings; Features of rigidly-mounted outer frames relating to the mounting of wing frames
- E06B3/04—Wing frames not characterised by the manner of movement
- E06B3/263—Frames with special provision for insulation
- E06B2003/26349—Details of insulating strips
- E06B2003/26387—Performing extra functions
- E06B2003/26389—Holding sealing strips or forming sealing abutments
Definitions
- the present invention relates to a section member and fitting assembly for making high thermal insulation wood coated window and door frames.
- window and door frames made of metal section members coated, on the side thereof provided for facing the inside environment, by wood strips.
- These door and window frames have the advantage of possessing a high mechanical strength and resistance against the weathering agents, and, moreover, they have advantageous aesthetic characteristics which can be compared with those of the door and window frames made of wood.
- the window or door frame is made of two materials which are very different from one another, it can be deformed because of the different thermal expansion of the metal section members and of the wood coating material.
- This anomalous deformations can negatively affect a proper connection of the movable frame of the door or window frame with the fixed frame thereof, so as to reduce the useful life of the frame.
- the aim of the present invention is to overcome the above mentioned problems, by providing a section member and fitting assembly for making high thermal insulation wood coated window and door frames which is specifically designed to greatly reduce the condensate formation on the metal section member side facing the inside environment and which, in particular, prevents the condensate from being absorbed by the wood coating material.
- a main object of the present invention is to provide such a section member and fitting assembly, in which the connection of the metal portions and wood coating does not generate any anomalous deformations caused by thermal expansion effects.
- Another object of the present invention is to provide such a section member and fitting assembly in which the wood coating on the inside portion of the frame section members can be carried out in a very simple and quick manner.
- Yet another object of the present invention is to provide such a section member and fitting assembly in which water is prevented from collecting inside the section members.
- the section member and fitting assembly for making high thermal insulation wood coated window and door frames comprises, as shown for example in figure 2, a fixed frame section member constituted by a metal outer section member 1 and a metal inner section member 2 which are connected to one another by thermally insulating material elements 3, 4.
- the metal inner section member 2 is provided, on the inner face or surface thereof, opposite to the metal outer section member 1, with a seat or recess 5 in which can be engaged restraining plugs 6, which can be affixed to a wood coating strip 7.
- the restraining plugs 6 are provided with a first portions 6a, which can be engaged in the seat 5 of the metal inner section member 2 and a second portion 6b which can be arranged between the inner face of the metal inner section member 2 and the wood coating strip 7 in order to hold said wood coating strip 7 spaced from the face of the section member 2 subjected to the inside environment.
- the seat 5 is defined by a pair of fins 8a and 8b, having a substantially L-shape configuration and opposite to one another, which extend on that side of the section member 2 provided for facing the inside environment.
- the restraining plug 6 is substantially constituted by the first portion 6a, having a substantially parallelepipedal configuration, and the second portion 6b, also having a substantially parallelepipedal configuration.
- Two opposite side corners of the portion 6a of the restraining plug 6 are suitably cut-out or beveled, so as to allow the restraining plug 6, after having engaged the first portion 6a in the seat 5, to tun in a plane which is substantially parallel to the laying plane of the face of the section member 2 facing te inside environment, so as to lock the restraining plug in the seat or recess 5.
- the coating wood strips 7 are affixed by applying a plurality of restraining plugs 6, for example by screws 10, spaced from one another on the face of the strip 7 provided for facing the section member 2.
- the screws 10 pass through a throughgoing hole 11, formed in the restraining plugs 6, so that, notwithstanding the application on the related strip 7, the several restraining plugs 6 can turn about the screw 10.
- the restraining plugs 6 are accordingly so oriented as to pass through the access opening of the seat 5 and, upon arranging inside the seat 5, they are turned, by a suitable not shown tool, through 90°, about the axis of the screw 10, so as to firmly engage said plugs inside the seat 5.
- the locking of the restraining plugs 6 in said seat 5 will allow anyhow to perform a sliding displacement of the restraining plugs 6 with respect to the section member 2, so as to prevent stresses from occurring between the section member 2 and wood strip 7 because of the different thermal expansions of the two materials of these elements.
- the elements 3 and 4 are formed by small bars which are preferably made of polyamide, and which can be made by an extruding method, and which are provided with enlarged thickness side end portions so as to engage in seats or recesses 12 formed by fins 13 projecting from the mutually facing section member 1 and 2 sides.
- the bars 3 and 4 have the portion thereof extending outside of the seats 12 which is bent away from an adjoining bar, so as to be substantially coplanar with the two fins 13 arranged outside of the bar pair 3 and 4.
- the section member assembly further comprises a glass restraining or detent section member 15 which can be bayonet locked on the metal inner section member 2.
- the glass restraining section member 15 in particular, as is shown in figure 42, is provided with a lug 16 which can be engaged under a shoulder defined by a fin of the metal inner section member 2 and a fin 17 providing a resting or bearing portion 17a which can be abutted against a shoulder 18 defined by the section member 2.
- the glass restraining section member 15 is moreover provided, on the side thereof opposite to the glass panel or plate 19, with a fin 20 for supporting a wood coating strip 21.
- the metal outer section member 1 and glass restraining section member 15 face the two opposite surfaces of the glass panel or plate 19 and bear thereagainst, through the interposition of gaskets 22, 23.
- the glass restraining section member 15 will allow the wood strip 21 to be mounted, through the interposition of the gasket 24, and without using exposed to the view screws.
- one of the thermally insulating elements connecting to one another the metal outer section member 31 and metal inner section member 32, and which has been indicated in figure 4 by the reference number 4a, is provided with a fin 33 facing the fixed frame section member, for which the same reference number as those of figure 2 have been used, and thereagainst bears a sealing gasket 34 providing a connection between the fixed frame section member and the movable frame section member, of an open joint type, and being supported by the bar 4 arranged on the fixed frame section member.
- the frame made by the section member assembly according to the present invention has all of the metal inner section members arranged on a same side, with respect to the tightness or sealing plane identified by the coupling of the gasket 34 with the fin 33.
- the metal inner section members both of the fixed frame and of the movable frame are optimally insulated from the outer environment.
- the gasket 34 is so designed as to nearly fully coat the bar 4 to which it is connected, and so as to convey to the outside a possibly penetrated water.
- channels 35, 36, 37 and 38 are coupled to one another and with the outside environment by either vertical or horizontal holes, which have been not shown, therethrough the penetrated water is evacuated to the outside of the frame.
- an abutment gasket 48 can be arranged between the metal inner section member of the movable frame and the wood coating strip.
- Figures 5 and 6 illustrate, in cross-sectional views, the side of the movable-wing frame which is substantially made as the side shown in figure 4, with the difference that the wood coating strips 40, 41, 42, 43 have a different aesthetical configuration, with respect to the coating strips 44, 45 shown in figure 4.
- the metal outer section member 46, 47 has an aesthetic configuration different from that of the coating strips 44, 45 shown in figure 4.
- the metal outer section member 46, 47 has an aesthetic configuration different from that of the metal outer section member 31 of the movable frame shown in figure 4.
- Figure 7 illustrates a cross-sectional view of a frame upright, constituted by fixed frame section members and movable frame section members, which are the same section members shown in figure 4, and which have been indicated by the same reference numbers.
- Figure 8 illustrates a cross-sectional view of the central upright of a two-wing window, in which the outer top portion is formed by a section member 50 coupled to the metal inner and outer section members 31 and 32 of the movable frame.
- the section member 50 is also constituted by a metal outer section member 51 and a metal inner section member 52, which are connected to one another by bars 3 and 4.
- the metal inner section member 52 is coated, on its inner or inside face, by coating wood strips, of the type shown in figure 4 and which have been indicated by the same reference numbers.
- the side of the window frame shown in figures 9 and 10 can be considered analogous to that side of the window frame shown in figure 8, with the difference that in figure 9 have been used metal outer section members 46, of the type shown in figure 5 and, on the inner or inside side have been used covering strips 40, 41 and 7 like those shown in that same figure 5.
- section members 47 As metal outer section members have been used section members 47 and, on the inside side, have been used coating strips 42, 43 of the type shown in figure 6.
- Figure 12 is a cross-sectional view illustrating a central upright of a window constituted by a fixed portion and an openable portion.
- the movable frame is constituted by the same movable frame section members shown in figure 7, and the coating on the inside side is obtained by covering strips of the same type, and which have been indicated by the same reference number.
- the side of the fixed portion of the window frame is constituted by a metal outer section member 53, which is connected to a metal inner section member 54 by means of two bars 4.
- the bar 4 facing the movable frame is connected to a gasket or seal 34 bearing against a fin 33 of the bar 4a supported by the movable frame, as already disclosed with reference to figure 4.
- Figure 14 illustrates a cross sectional view of the lateral side of a door or window door including a fixed frame which is constituted by a metal outer section member 55 connected to the metal inner section member 56 by means of bars of a thermally insulating material 3 and 4.
- the movable frame is constituted by a metal outer section member 57 and a metal inner section member 58 which are connected to one another by means of thermally insulating material bars or rods 4a and 3.
- the inner side of the fixed frame and movable frame is coated by coating wood strips 59 and 60, which are connected to the metal inner section members 56 and 58 by plugs 6.
- Figure 15 illustrates a cross-sectional view of that same door or window-door, taken substantially at the bottom side.
- the movable frame is constituted by section members 57 and 58 with the addition, at the central portion of the door, of a further frame section member, also constituted by a metal outer section member 61 and a metal inner section member 52 which is coated, on its inner side, by a wood strip 63.
- section member 57 To the section member 57 is applied a "tile" section member 64, whereas the fixed frame section member is replaced by an open contour section member 65, on which is mounted the gasket or seal 34 engaging against the fin 33 of the bar or rod 4a assembled between the section members 57 and 58.
- the section member 65 is also subdivided into a portion 67 which is subjected to the inner or inside environment, and into a portion 68 which is affected by the outside environment, a bar or rod 4 on which is assembled the gasket 34 being arranged therebetween.
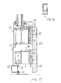
- Figure 17 illustrates a cross-sectional view of the bottom side of an access door which is constituted substantially by the same section members shown in figure 15 and for which the same reference numbers have been held, with the addition of a bottom box-like section member 69 provided with a tightness or sealing brush element 70.
- Figures 18 and 19 illustrates respective cross-sectional views of cross-members for a fixed type of window or door frames.
- figure 18 illustrates a section member constituted by an outer section member 71 and a metal inner section member 72 which are connected to one another by means of bars or rods 4 made of a thermally insulating material.
- inner metal section member 72 On the inner metal section member 72 are assembled two glass panel restraining section members 15, and the inner side of the metal inner section member 72 is coated by wood coating strips 73, 74, 75.
- Figure 19 illustrates a section member which is constituted by a metal outer section member 76 and a metal inner section member 77, connected to one another by bars or rods made of a thermally insulating material 4.
- the inner side of the metal inner section member 77 is coated by wood coating strips 78, 79, 80.
- Figure 20 illustrates a cross-sectional view of cross members for openable wings, which are constituted by a metal outer section member 80 and a metal inner section member 81 connected to one another by bars of a thermally insulating material 3.
- metal inner section member On the metal inner section member are assembled two glass panel restraining section member 15, and the inner side of the metal section members 81 is coated by wood strips 82, 83 and 84.
- Figure 21 illustrates a cross-sectional view of a cross member for openable wings, which is constituted by a metal outer section member 85, a metal inner section member 86 connected to one another by means of thermally insulating material bars or rods 3.
- the metal inner section member 86 is coated, on the inner side thereof, by coating wood strips indicated by the reference numbers 87, 88 and 89.
- FIGS 23 to 30 relate to details or features shown in figures which have been already disclosed and for which the same reference numbers have been used.
- the section member shown in figure 31 is also constituted by a metal outer section member 90 connected to a metal inner section member 91, by means of thermally insulating material bars or rods 3 and 4.
- the metal inner section member is coated, on the face thereof affected by the inside environment, by a wood strip 92 connected to the section member 91 by restraining plugs 6.
- Figures 32 to 37 are also related to section members or section member variations, which have been already disclosed with reference to the preceding figures, and for which the same reference numbers have been held.
- Figure 38 illustrates a further section member constituted by a metal outer section member 100 and a metal inner section member 101, connected to the metal outer section member by means of bars or rods 3 and 4a.
- the metal inner section member 101 is coated, on its inside or inner side, by a coating wood strip 102, coupled to the section member 101 by means of a restraining plug 106.
- Figures 39 and 40 relate to the fixed frame section member, already illustrated in figure 4 and figure 7, with the difference that the coating wood strips, indicated by the reference numbers 103 and 104, have been changed.
- FIGs 43 to 46 illustrate separately the wood strips, as transversely cross-sectioned, and already illustrated in the preceding figures at the reference numbers 40, 42, 21 and 44.
- the coating wood strip arranged on the inner or inside side of the metal inner section member is completely insulated from the metal section member since, in addition to the restraining plug 6, between the metal section member and wood strip is arranged a further gasket 108.
- section member and fitting assembly is susceptible to several modifications and variations, all of which will come within the scope of the invention.
- the used materials, as well as the contingent size and shapes, provided that they are compatible to the intended use can be any, depending on requirements.
Landscapes
- Engineering & Computer Science (AREA)
- Civil Engineering (AREA)
- Structural Engineering (AREA)
- Wing Frames And Configurations (AREA)
- Door And Window Frames Mounted To Openings (AREA)
- Securing Of Glass Panes Or The Like (AREA)
- Special Wing (AREA)
- Chemical And Physical Treatments For Wood And The Like (AREA)
Applications Claiming Priority (2)
| Application Number | Priority Date | Filing Date | Title |
|---|---|---|---|
| ITMI950550 | 1995-03-20 | ||
| IT95MI000550A IT1275942B1 (it) | 1995-03-20 | 1995-03-20 | Complesso di profilati ed accessori per la realizzazione di serramenti ad elevato isolamento termico e rivestiti in legno |
Publications (2)
| Publication Number | Publication Date |
|---|---|
| EP0733765A1 EP0733765A1 (en) | 1996-09-25 |
| EP0733765B1 true EP0733765B1 (en) | 2000-01-19 |
Family
ID=11370981
Family Applications (1)
| Application Number | Title | Priority Date | Filing Date |
|---|---|---|---|
| EP96830118A Revoked EP0733765B1 (en) | 1995-03-20 | 1996-03-18 | Section member and fitting assembly for making high thermal insulation wood coated window and door frames |
Country Status (7)
| Country | Link |
|---|---|
| EP (1) | EP0733765B1 (it) |
| AT (1) | ATE189037T1 (it) |
| DE (1) | DE69606211T2 (it) |
| ES (1) | ES2144225T3 (it) |
| GR (1) | GR3033180T3 (it) |
| IL (1) | IL117558A (it) |
| IT (1) | IT1275942B1 (it) |
Families Citing this family (10)
| Publication number | Priority date | Publication date | Assignee | Title |
|---|---|---|---|---|
| IT1288999B1 (it) * | 1996-10-11 | 1998-09-25 | Archimede Progetti Srl | Serramento con profilati in metallo-isolante-metallo legno perfezionato |
| DE19716556C1 (de) * | 1997-04-19 | 1998-10-15 | Wolfgang Gesen | Rahmenverkleidung zur Wärmeisolation von Fenstern und Türen |
| IT1311751B1 (it) * | 1999-03-17 | 2002-03-19 | Me Tra Metallurg Trafilati All | Sistema di profilati metallici per la fabbricazione di infissivariamente colorati,in corrispondenza delle superfici interne ed |
| ITBZ20090021A1 (it) * | 2009-05-06 | 2010-11-07 | Finstral Spa Ag | Serramento esterno con telaio del battente e telaio dell'infisso realizzati con profilati compositi in plastica/legno |
| BE1018779A5 (nl) * | 2009-06-16 | 2011-08-02 | Renson Ventilation Nv | Profielbevestigingssysteem. |
| CN103174361A (zh) * | 2013-03-13 | 2013-06-26 | 辽宁德伟木业有限公司 | 一种复合型材窗体及制作方法 |
| CN109972983B (zh) * | 2017-12-27 | 2024-03-22 | 河北奥润顺达窗业有限公司 | 一种双扇金属板外开门 |
| CN110630141B (zh) * | 2019-10-24 | 2024-06-18 | 北京金诺迪迈幕墙装饰工程有限公司 | 一种高性能地弹门的保温隔热增强结构 |
| AT523286B1 (de) * | 2020-09-02 | 2021-07-15 | Schneider Torsysteme Ges M B H | Torstockbefestigung für ein Falttor |
| CN114263413A (zh) * | 2022-01-27 | 2022-04-01 | 浙江奥尚铝业有限公司 | 一种全隔断高性能门窗结构及使用方法 |
Family Cites Families (5)
| Publication number | Priority date | Publication date | Assignee | Title |
|---|---|---|---|---|
| EP0109471B1 (fr) * | 1982-11-23 | 1987-09-16 | Wolfgang Zapp | Structure composite pour cadre de baies vitrées de batiments, notamment des fenêtres |
| DE3343687A1 (de) * | 1983-11-30 | 1985-06-05 | Schweizerische Aluminium Ag, Chippis | Metall-rahmenkonstruktion fuer fenster oder tueren |
| SE468291B (sv) * | 1990-06-20 | 1992-12-07 | Tema Foenster Ab | Karmfoersedd konstruktion |
| IT223556Z2 (it) * | 1991-03-13 | 1995-07-26 | Slim Soc Lavora Ind Metalli | Serie di profili metallici componibili, per la costruzione di serramenti esterni ed interni con ridotto numero di accessori. |
| GB9217065D0 (en) * | 1992-08-12 | 1992-09-23 | Caradon Everest Ltd | Improvements in and relating to glazing assemblies |
-
1995
- 1995-03-20 IT IT95MI000550A patent/IT1275942B1/it active IP Right Grant
-
1996
- 1996-03-18 EP EP96830118A patent/EP0733765B1/en not_active Revoked
- 1996-03-18 AT AT96830118T patent/ATE189037T1/de not_active IP Right Cessation
- 1996-03-18 DE DE69606211T patent/DE69606211T2/de not_active Expired - Lifetime
- 1996-03-18 ES ES96830118T patent/ES2144225T3/es not_active Expired - Lifetime
- 1996-03-19 IL IL11755896A patent/IL117558A/en not_active IP Right Cessation
-
2000
- 2000-04-07 GR GR20000400873T patent/GR3033180T3/el not_active IP Right Cessation
Also Published As
| Publication number | Publication date |
|---|---|
| ES2144225T3 (es) | 2000-06-01 |
| IT1275942B1 (it) | 1997-10-24 |
| DE69606211D1 (de) | 2000-02-24 |
| EP0733765A1 (en) | 1996-09-25 |
| ITMI950550A1 (it) | 1996-09-20 |
| IL117558A0 (en) | 1996-07-23 |
| ATE189037T1 (de) | 2000-02-15 |
| ITMI950550A0 (it) | 1995-03-20 |
| IL117558A (en) | 1998-12-27 |
| GR3033180T3 (en) | 2000-08-31 |
| DE69606211T2 (de) | 2000-08-10 |
Similar Documents
| Publication | Publication Date | Title |
|---|---|---|
| EP0733765B1 (en) | Section member and fitting assembly for making high thermal insulation wood coated window and door frames | |
| US7150130B2 (en) | Sliding door assembly | |
| SK285095B6 (sk) | Tepelne izolovaný spojený profil na dvere, okná alebo fasády | |
| GB2111110A (en) | Frame assemblies for windows and doors | |
| EP3447229B1 (en) | Thermally insulated composite profile | |
| AT511257B1 (de) | Türblatt | |
| EP0733764B1 (en) | Cooperating section member assembly with thermal bridge interruptions for making improved thermal property metal window and door frames | |
| IL100000A (en) | Structure of parts for the production of frames for sliding windows | |
| US11118807B2 (en) | Door assembly, air handling unit comprising such a door assembly, and method for manufacturing such a door assembly | |
| JP3069310B2 (ja) | 断熱形材 | |
| US20200238795A1 (en) | Window assembly having flush frame to sash | |
| WO2019130367A1 (en) | Window frame | |
| EP0897437B1 (en) | Connection for a window system | |
| GB2392196A (en) | Glazing frame with oppositely facing rebates and mullion joined to frame by seperate connector | |
| CN210483447U (zh) | 一种全铝合金防盗入户门 | |
| PL181495B1 (pl) | Rama skrzydla okna, drzwi lub tym podobnych PL PL PL | |
| KR101933354B1 (ko) | 보강용 지지바가 구성된 단열방화문 | |
| CN218150457U (zh) | 一种新型无中挺对开窗纱一体式结构 | |
| GB2143270A (en) | Window or door frame | |
| KR102767098B1 (ko) | 단열을 향상시킨 노출형 단열창호 | |
| CN222731458U (zh) | 一种可开启铝合金格栅的型材结构 | |
| JPH07111113B2 (ja) | 建具用枠 | |
| CN111749597B (zh) | 一种保温性能好且使用便捷的铝包木门窗 | |
| JP2630705B2 (ja) | 断熱障子 | |
| PL200517B1 (pl) | Zespół zawiasu dla drzwi, okien i tym podobnych |
Legal Events
| Date | Code | Title | Description |
|---|---|---|---|
| PUAI | Public reference made under article 153(3) epc to a published international application that has entered the european phase |
Free format text: ORIGINAL CODE: 0009012 |
|
| AK | Designated contracting states |
Kind code of ref document: A1 Designated state(s): AT BE CH DE DK ES FI FR GB GR IE IT LI LU MC NL PT SE |
|
| 17P | Request for examination filed |
Effective date: 19961223 |
|
| 17Q | First examination report despatched |
Effective date: 19980623 |
|
| GRAG | Despatch of communication of intention to grant |
Free format text: ORIGINAL CODE: EPIDOS AGRA |
|
| GRAG | Despatch of communication of intention to grant |
Free format text: ORIGINAL CODE: EPIDOS AGRA |
|
| GRAH | Despatch of communication of intention to grant a patent |
Free format text: ORIGINAL CODE: EPIDOS IGRA |
|
| GRAH | Despatch of communication of intention to grant a patent |
Free format text: ORIGINAL CODE: EPIDOS IGRA |
|
| GRAA | (expected) grant |
Free format text: ORIGINAL CODE: 0009210 |
|
| AK | Designated contracting states |
Kind code of ref document: B1 Designated state(s): AT BE CH DE DK ES FI FR GB GR IE IT LI LU MC NL PT SE |
|
| PG25 | Lapsed in a contracting state [announced via postgrant information from national office to epo] |
Ref country code: SE Free format text: THE PATENT HAS BEEN ANNULLED BY A DECISION OF A NATIONAL AUTHORITY Effective date: 20000119 Ref country code: NL Free format text: LAPSE BECAUSE OF FAILURE TO SUBMIT A TRANSLATION OF THE DESCRIPTION OR TO PAY THE FEE WITHIN THE PRESCRIBED TIME-LIMIT Effective date: 20000119 Ref country code: LI Free format text: LAPSE BECAUSE OF FAILURE TO SUBMIT A TRANSLATION OF THE DESCRIPTION OR TO PAY THE FEE WITHIN THE PRESCRIBED TIME-LIMIT Effective date: 20000119 Ref country code: IT Free format text: LAPSE BECAUSE OF FAILURE TO SUBMIT A TRANSLATION OF THE DESCRIPTION OR TO PAY THE FEE WITHIN THE PRESCRIBED TIME-LIMIT;WARNING: LAPSES OF ITALIAN PATENTS WITH EFFECTIVE DATE BEFORE 2007 MAY HAVE OCCURRED AT ANY TIME BEFORE 2007. THE CORRECT EFFECTIVE DATE MAY BE DIFFERENT FROM THE ONE RECORDED. Effective date: 20000119 Ref country code: FI Free format text: LAPSE BECAUSE OF FAILURE TO SUBMIT A TRANSLATION OF THE DESCRIPTION OR TO PAY THE FEE WITHIN THE PRESCRIBED TIME-LIMIT Effective date: 20000119 Ref country code: CH Free format text: LAPSE BECAUSE OF FAILURE TO SUBMIT A TRANSLATION OF THE DESCRIPTION OR TO PAY THE FEE WITHIN THE PRESCRIBED TIME-LIMIT Effective date: 20000119 |
|
| REF | Corresponds to: |
Ref document number: 189037 Country of ref document: AT Date of ref document: 20000215 Kind code of ref document: T |
|
| REG | Reference to a national code |
Ref country code: CH Ref legal event code: EP |
|
| REF | Corresponds to: |
Ref document number: 69606211 Country of ref document: DE Date of ref document: 20000224 |
|
| REG | Reference to a national code |
Ref country code: IE Ref legal event code: FG4D |
|
| PG25 | Lapsed in a contracting state [announced via postgrant information from national office to epo] |
Ref country code: LU Free format text: LAPSE BECAUSE OF NON-PAYMENT OF DUE FEES Effective date: 20000318 |
|
| PG25 | Lapsed in a contracting state [announced via postgrant information from national office to epo] |
Ref country code: IE Free format text: LAPSE BECAUSE OF NON-PAYMENT OF DUE FEES Effective date: 20000320 |
|
| PG25 | Lapsed in a contracting state [announced via postgrant information from national office to epo] |
Ref country code: PT Free format text: LAPSE BECAUSE OF FAILURE TO SUBMIT A TRANSLATION OF THE DESCRIPTION OR TO PAY THE FEE WITHIN THE PRESCRIBED TIME-LIMIT Effective date: 20000419 Ref country code: GB Free format text: LAPSE BECAUSE OF NON-PAYMENT OF DUE FEES Effective date: 20000419 Ref country code: DK Free format text: LAPSE BECAUSE OF FAILURE TO SUBMIT A TRANSLATION OF THE DESCRIPTION OR TO PAY THE FEE WITHIN THE PRESCRIBED TIME-LIMIT Effective date: 20000419 |
|
| ET | Fr: translation filed | ||
| REG | Reference to a national code |
Ref country code: ES Ref legal event code: FG2A Ref document number: 2144225 Country of ref document: ES Kind code of ref document: T3 |
|
| NLV1 | Nl: lapsed or annulled due to failure to fulfill the requirements of art. 29p and 29m of the patents act | ||
| REG | Reference to a national code |
Ref country code: CH Ref legal event code: PL |
|
| PG25 | Lapsed in a contracting state [announced via postgrant information from national office to epo] |
Ref country code: MC Free format text: LAPSE BECAUSE OF NON-PAYMENT OF DUE FEES Effective date: 20000930 |
|
| PLBQ | Unpublished change to opponent data |
Free format text: ORIGINAL CODE: EPIDOS OPPO |
|
| PLBI | Opposition filed |
Free format text: ORIGINAL CODE: 0009260 |
|
| PLBF | Reply of patent proprietor to notice(s) of opposition |
Free format text: ORIGINAL CODE: EPIDOS OBSO |
|
| GBPC | Gb: european patent ceased through non-payment of renewal fee |
Effective date: 20000419 |
|
| 26 | Opposition filed |
Opponent name: SCHUECO INTERNATIONAL KG Effective date: 20001018 |
|
| REG | Reference to a national code |
Ref country code: IE Ref legal event code: MM4A |
|
| PLBF | Reply of patent proprietor to notice(s) of opposition |
Free format text: ORIGINAL CODE: EPIDOS OBSO |
|
| PGFP | Annual fee paid to national office [announced via postgrant information from national office to epo] |
Ref country code: FR Payment date: 20010308 Year of fee payment: 6 |
|
| PGFP | Annual fee paid to national office [announced via postgrant information from national office to epo] |
Ref country code: ES Payment date: 20010315 Year of fee payment: 6 |
|
| PGFP | Annual fee paid to national office [announced via postgrant information from national office to epo] |
Ref country code: GR Payment date: 20010330 Year of fee payment: 6 |
|
| PLBF | Reply of patent proprietor to notice(s) of opposition |
Free format text: ORIGINAL CODE: EPIDOS OBSO |
|
| PGFP | Annual fee paid to national office [announced via postgrant information from national office to epo] |
Ref country code: BE Payment date: 20020228 Year of fee payment: 7 |
|
| PGFP | Annual fee paid to national office [announced via postgrant information from national office to epo] |
Ref country code: AT Payment date: 20020314 Year of fee payment: 7 |
|
| PGFP | Annual fee paid to national office [announced via postgrant information from national office to epo] |
Ref country code: DE Payment date: 20020316 Year of fee payment: 7 |
|
| PG25 | Lapsed in a contracting state [announced via postgrant information from national office to epo] |
Ref country code: ES Free format text: LAPSE BECAUSE OF NON-PAYMENT OF DUE FEES Effective date: 20020320 |
|
| RDAH | Patent revoked |
Free format text: ORIGINAL CODE: EPIDOS REVO |
|
| RDAG | Patent revoked |
Free format text: ORIGINAL CODE: 0009271 |
|
| STAA | Information on the status of an ep patent application or granted ep patent |
Free format text: STATUS: PATENT REVOKED |
|
| 27W | Patent revoked |
Effective date: 20020721 |