EP0707520B1 - Vorrichtung zum abtrennen von mit organischem material verschmutztem anorganischem material aus einer flüssigkeit - Google Patents

Vorrichtung zum abtrennen von mit organischem material verschmutztem anorganischem material aus einer flüssigkeit Download PDF

Info

Publication number
EP0707520B1
EP0707520B1 EP94928796A EP94928796A EP0707520B1 EP 0707520 B1 EP0707520 B1 EP 0707520B1 EP 94928796 A EP94928796 A EP 94928796A EP 94928796 A EP94928796 A EP 94928796A EP 0707520 B1 EP0707520 B1 EP 0707520B1
Authority
EP
European Patent Office
Prior art keywords
container
organic material
sand
sand bed
inorganic material
Prior art date
Legal status (The legal status is an assumption and is not a legal conclusion. Google has not performed a legal analysis and makes no representation as to the accuracy of the status listed.)
Expired - Lifetime
Application number
EP94928796A
Other languages
English (en)
French (fr)
Other versions
EP0707520A1 (de
Inventor
Johann Grienberger
Current Assignee (The listed assignees may be inaccurate. Google has not performed a legal analysis and makes no representation or warranty as to the accuracy of the list.)
Huber SE
Original Assignee
Hans Huber AG Maschine und Anlagenbau
Priority date (The priority date is an assumption and is not a legal conclusion. Google has not performed a legal analysis and makes no representation as to the accuracy of the date listed.)
Filing date
Publication date
Family has litigation
First worldwide family litigation filed litigation Critical https://patents.darts-ip.com/?family=6517222&utm_source=google_patent&utm_medium=platform_link&utm_campaign=public_patent_search&patent=EP0707520(B1) "Global patent litigation dataset” by Darts-ip is licensed under a Creative Commons Attribution 4.0 International License.
Application filed by Hans Huber AG Maschine und Anlagenbau filed Critical Hans Huber AG Maschine und Anlagenbau
Publication of EP0707520A1 publication Critical patent/EP0707520A1/de
Application granted granted Critical
Publication of EP0707520B1 publication Critical patent/EP0707520B1/de
Anticipated expiration legal-status Critical
Expired - Lifetime legal-status Critical Current

Links

Images

Classifications

    • BPERFORMING OPERATIONS; TRANSPORTING
    • B03SEPARATION OF SOLID MATERIALS USING LIQUIDS OR USING PNEUMATIC TABLES OR JIGS; MAGNETIC OR ELECTROSTATIC SEPARATION OF SOLID MATERIALS FROM SOLID MATERIALS OR FLUIDS; SEPARATION BY HIGH-VOLTAGE ELECTRIC FIELDS
    • B03BSEPARATING SOLID MATERIALS USING LIQUIDS OR USING PNEUMATIC TABLES OR JIGS
    • B03B13/00Control arrangements specially adapted for wet-separating apparatus or for dressing plant, using physical effects
    • BPERFORMING OPERATIONS; TRANSPORTING
    • B03SEPARATION OF SOLID MATERIALS USING LIQUIDS OR USING PNEUMATIC TABLES OR JIGS; MAGNETIC OR ELECTROSTATIC SEPARATION OF SOLID MATERIALS FROM SOLID MATERIALS OR FLUIDS; SEPARATION BY HIGH-VOLTAGE ELECTRIC FIELDS
    • B03BSEPARATING SOLID MATERIALS USING LIQUIDS OR USING PNEUMATIC TABLES OR JIGS
    • B03B11/00Feed or discharge devices integral with washing or wet-separating equipment
    • BPERFORMING OPERATIONS; TRANSPORTING
    • B03SEPARATION OF SOLID MATERIALS USING LIQUIDS OR USING PNEUMATIC TABLES OR JIGS; MAGNETIC OR ELECTROSTATIC SEPARATION OF SOLID MATERIALS FROM SOLID MATERIALS OR FLUIDS; SEPARATION BY HIGH-VOLTAGE ELECTRIC FIELDS
    • B03BSEPARATING SOLID MATERIALS USING LIQUIDS OR USING PNEUMATIC TABLES OR JIGS
    • B03B5/00Washing granular, powdered or lumpy materials; Wet separating
    • B03B5/62Washing granular, powdered or lumpy materials; Wet separating by hydraulic classifiers, e.g. of launder, tank, spiral or helical chute concentrator type
    • B03B5/623Upward current classifiers

Definitions

  • the invention relates to a device for separating of organic and inorganic material from a liquid, especially of organic dirt and sand from Sewage treatment plants, with those specified in the preamble of the claim Characteristics.
  • the material that comes from the sand trap of sewage treatment plants or removed from the sewer network during sewer cleaning is, or street sweeping, as it is picked up by sweepers in addition to the inorganic material in the form of sand, stones and. The like.
  • sweepers in addition to the inorganic material in the form of sand, stones and. The like.
  • organic Material Often considerable proportions of organic Material. To bring the inorganic material to a landfill or to be able to reuse it in any other way, it must be up to to some extent be freed from the organic material in order to to be able to carry out cost-effective disposal.
  • a device of the type described in the opening paragraph is known from DE 41 18 020 A1 known which a method and an apparatus for Separation of specifically light components from a slurry described by upstream sorting.
  • Coarse, not fluidizable Ingredients are first extracted from the slurry before it enters the container of the upstream sorter separated.
  • the container In the container there is
  • the container has a cylindrical wall, so that the Flow rate of the liquid in the container in each Altitude is constant.
  • the fluid bed stretches almost to top of the container.
  • a measuring device with which both the Tear density as well as the level of the fluid bed upper limit be kept constant. Only a relatively small one remains Space for a thinly cloudy zone, in the area of which also Introduction of the liquid contaminated with organic material he follows.
  • Another device for separating organic and inorganic material from a liquid is from DE 42 24 047 A1 known.
  • the device assigns one concentrically formed on a vertical axis container, which in its upper area a centrally arranged loading device owns.
  • the loading device has a swirl chamber, a downpipe and a trumpet-shaped diffuser, so that the Coanda effect is used here.
  • the device is primarily aimed at circular sand basins as well as in Sand classifiers in round construction, the sand from a liquid / sand mixture to separate. Which is under the influence of gravity in the lower area of the container via a withdrawal device in the form of a screw conveyor carried out.
  • the invention is therefore based on the object of a device to provide the type described above, with the example one contaminated with organic material Sand / water mixture, as it occurs in sewage treatment plants, is processed in this way can be that the organic material from the inorganic Material is largely separated so that the organic Material treated in the sewage treatment plant and the inorganic Material for recycling or inexpensive Landfill can be supplied.
  • this is the case of the device described at the beginning Art achieved in order to detach the organic Material from the inorganic material and for the purpose Shredding of the organic material in the lower area of the A fluidized sand layer is provided in the container through an upward spread over a perforated floor Flow is kept in motion that the container in Connection to the upper end of the expansion of the fluidized A layer of sand adjoining at the top for has organic material, and that the device for Removal of organic matter and liquid a first Discharge device essentially for the organic material from the collection room and a second discharge device in the essential for the liquid.
  • the invention is based on the idea of a considerably more effective Separation between organic and inorganic material perform.
  • the bottom of the container maintain a fluidized sand layer as a fluidized bed, the movement of the grains of sand initiated thereby causes organic material from inorganic Material detached, crushed and thus discharged upwards is that the organic material along with the liquid can be deducted.
  • the loading device introduced sand / water mixture contaminated with organic material e.g. with a normally designed loading device introduced into the container, particles with higher density and larger particles increased in the lower part of the container, while small particles with a relative low density prefer to follow the flow and with a Facility to be deducted that has an overflow on the container forms.
  • the fluidized sand layer affects organic material so that this, provided it is in the form of a larger particle has penetrated into the fluidized sand layer and is pushed up out of this again, so that the organic material above the fluidized sand layer accumulates while the inorganic material, i.e. the sand, in the fluidized sand layer immigrates and reinforces it.
  • the Reinforcement or densification of the sand layer in turn leads to an increased cleaning effect, so that here a self-reinforcing Effect can be observed.
  • the fluidized sand layer is moving by an upward flow held, which emerges over a perforated floor distributed over the surface. A bed of sand is created.
  • the empty pipe speed the upstream water is preferably 5 to 15 m / h. Due to the high density of the sand layer, everyone is different Substances with lower density, in particular the organic Material on the sand layer. To the sand layer in her Keeping the expansion height constant becomes part of the sand subtracted again and again, what is continuous or discontinuous can happen.
  • the bypass is used to bypass the Perforated soil or part of the sand from the sand layer to transfer out to the bottom of the container to the expansion height of the fluidized sand layer is approximately constant to keep.
  • the bypass is equally suitable, too relatively large particles of inorganic material, for example Stones to let through, so that these with the fine inorganic material, the sand, are discharged together can.
  • the container faces the top of the expansion the fluidized sand layer is followed by an upward one Collection room for organic material.
  • the gathering room is provided above the extent of the fluidized fluidized bed.
  • the device for the removal of organic Material and liquid a first discharge device in the essential for the organic material from the collection room and a second discharge device essentially for the liquid on. It becomes an overly large collection of organic Counteracted material on the fluidized bed.
  • the Removal of the organic material from the collection room via the second discharge device is preferably carried out discontinuously at intervals.
  • the loading device can be arranged centrally and a swirl chamber, a downpipe and a trumpet-shaped one Have diffuser. This can be done with organic material contaminated inorganic material using the Coanda effect be placed in the container, the vertical Swirl flow in the downpipe into a largely horizontal one Swirl flow is transferred. This particular type of Feeding leads to organic and inorganic Material are moved against each other.
  • the one in the container following the top of the expansion of the fluidized layer of sand adjoining the collection room for organic material can expand upwards Have cross-section. From the widening cross section becomes at least the lower part of the collecting space, which is adjoins the fluidized sand layer upwards. Due to the enlargement of the cross-sectional area, the Flow rate of the upstream water, so that only very finely shredded organic parts in a swimming or Suspend, while larger organic parts after sink below and continue on the fluidized sand layer be crushed until they float upwards. At the same time, the decreasing flow rate prevents the floating of extremely fine particles of inorganic material. So small sand particles will not carried upwards, but can sink downwards.
  • the device can be equipped with a special loading device a larger amount of mixture can be loaded without the Conditions in the area of the fluidized sand layer disadvantageous to change.
  • the device is also insensitive to Fluctuations in throughput. It can be continuous or be operated discontinuously. It is for small and for large flow rates can be used with the appropriate design.
  • Of the apparatus expenditure is relatively low, at least compared to previously known systems. This also results in an inexpensive one Treatment as required in the field of sewage treatment is.
  • the organic material becomes relatively clean; orders of magnitude are quite achievable at which inorganic material at most 5% or even less organic Material sticks when it comes out of the discharge device is carried out.
  • An agitator can be provided in the container, the agitator arms has in the lower region of the fluidized sand layer immediately above the perforated floor and / or above the fluidized sand layer following the border between the fluidized sand layer and the collection room for the organic Material are arranged all around.
  • One is an agitator arm is in close proximity to the perforated floor and fulfills two functions. It prevents channel formation in the lower area of the fluidized sand layer and helps keep the sand layer is evenly flowed through here. In the meantime forming channels are again through the agitator destroyed.
  • a support plate can be aligned horizontally in the container provided with a closed surface and a stirring arm of the Agitator must be assigned. It is understood that this platen only part of the cross section of the container in vertical Direction. The arrangement of this platen will, however, result in this platen inorganic material sinking in the container, ie Sand, layered.
  • the agitator arm is superimposed in this Sand that is not part of the fluidized Layer of sand, circulate and mechanically stress the sand, so that here a detachment from organic material.
  • By rotating the agitator arm a promotional effect on the sand is achieved at the same time, so that they each pass over the edge of the support plate and enter the area of the fluidized sand layer can. This means that the support plate is always receptive for further material sinking into the container. Above the support plate becomes a mechanical washing and Cleaning stage created.
  • the perforated bottom is expediently double-walled. He points a multitude evenly in its upward wall Openings distributed over the surface. Its lower wall is closed. As a bypass can penetrate the perforated floor in the vertical direction Pipe can be provided, which in particular centrally in the perforated bottom is provided. The pipe can also be made by a simple Breakthrough can be replaced, but the free cross section is considerably larger than the multitude of the distributed ones nozzle-like openings through which the upflow water for the fluidization of the sand layer emerges.
  • the double-walled Perforated bottom is for generating the upward flow for the fluidization of the sand layer to a pump Line connected for liquid. About the regulation of The expansion height of the sand layer is adjusted by the pump.
  • the perforations in the perforated floor from which the Upflow water emerges can have a diameter of 1 mm or have less.
  • the free cross section of these openings lies between 1 and 10% of the total area of the perforated floor.
  • the perforated bottom can also be covered with a membrane Has openings formed in the manner of check valves are so that the openings are only open if upstream water is also supplied via the pump.
  • An approximately cylindrical insert can be provided in the container to which the perforated floor is assigned and that for limitation serves to expand the fluidized sand layer.
  • This Insert can be designed to be exchangeable.
  • Various Inserts with different diameters can optionally be in one and the same unchanged container are introduced to in this way inexpensive devices different Size or for different throughputs. If the insert is cylindrical, the outflow rate is over its height and thus over the expansion height the fluidized sand layer constant.
  • the cylindrical insert can in a particularly simple embodiment, the support plate wear, which in this case is expediently ring-shaped is.
  • the fluidized sand layer can be shown in the various Embodiments an expansion height of about 20 to Have 40 cm to ensure that larger ones organic particles that are in the area of fluidized Sand layer have penetrated, also crushed and made safe this will be carried up again.
  • a valve and Container following the fluidized sand layer Pressure probe can be provided, the valve via the pressure probe to keep the expansion height of the fluidized sand layer constant is controllable. In this way, the height of expansion the fluidized sand layer is monitored, regulated and constant being held.
  • the hydrostatic pressure of the fluidized Layer of sand is measured using the pressure probe. An increase of the pressure signals an increase in the sand layer, so that accordingly the valve in the tube opened or opened more must be and vice versa.
  • the perforated floor can be cleaned with a backwashing device be provided, which expediently acts tangentially on the perforated base and with which it is possible, by backwashing the inside of sand that has penetrated the perforated floor.
  • the first removal device for the organic material can be a the wall part of the container in the area of the collecting space for have the organic material penetrating tube that stationary at the intended height relative to the collection room is arranged.
  • a valve in the pipe or the subsequent one The line is used for discontinuous operation.
  • the first removal device for the organic material can but also one in the collecting room approximately vertically from above have protruding suction line, which is also adjustable in height can be adjustable to target organic material subtract the set depth of the collecting space.
  • the devices shown can be quite different Operated in a manner.
  • An advantageous mode of operation results when the container is first filled with liquid, organic material and inorganic material is filled. Then the device is started, i.e. it will Fluid bed built up and the agitator started. Here the sand is cleaned, the organic material moves up and the sand down. The partition closes and the discharge of the cleaned sand. Appropriately for Finally, the organic material is removed. The deduction of the Liquid is continuous with continuous loading.
  • a container 1 is provided which is vertical Axis 2 has.
  • the container 1 is essentially rotationally symmetrical to axis 2.
  • the container 1 has in its lower area a conically widening Wall part 3, which is a cylindrical upwards designed wall part 4 connects.
  • the container 1 can with be provided with a cover 5.
  • the diameter of the container can be one or more meters. Can be used for installation purposes Legs 6 may be provided.
  • a perforated base 8 is horizontal aligned.
  • the perforated floor 8 is double-walled educated.
  • Its wall 9 facing upward has openings 10 on that in shape evenly over the area distributed nozzles can be formed.
  • the after the bottom wall 11 is closed.
  • a line 12 connected, in which a pump 13 is provided and via the liquid into the interior of the perforated base 8 between the Walls 9 and 11 is guided. This liquid passes through the openings 10 directed upwards in the container.
  • a fluidized sand layer 14 is provided in the perforated base 8, which in through the outflowing from the perforated bottom 8 in Movement is kept.
  • the sand layer 14 has an expansion height on, which goes up to a limit 15, which here as Dash is indicated.
  • the moving grains of sand 16 in the Fluidized sand layer 14 are shown exaggeratedly large. Depending on the amount of sand in the container, there will be the fluidized sand layer 14 more or less upwards expand.
  • Above the limit 15 of the sand layer 14 is a Collection space 17 for organic material 18 is provided.
  • a Inlet pipe 21 opens tangentially into a swirl chamber 22 which follows below into a down pipe 23, on which a trumpet-shaped Diffuser 24 connects.
  • the mixture of liquid, organic material and inorganic material is thus in a swirl flow according to arrow 25 introduced into the container 1 and is distributed more or less radially according to arrows 26 in the collecting room 17.
  • the diffuser 24 is below the water level 27 arranged.
  • the water level 27 turns according to an overflow 28 on a device 29 for removing the organic material 18 and the liquid.
  • the overflow 28 leads to an exhaust pipe 30.
  • a filler pipe 31 may be provided which penetrates the cover 5.
  • a contaminated sand mixture, especially street sweepings, are then filled into the liquid arrives and is treated accordingly.
  • the trigger device 32 can be in particular as Screw conveyor 33 with housing 34, shaft 35 and spiral conveyor 36 be formed. It is understood that a drive for the Screw conveyor 33 and the extraction device 32 are provided is operated continuously or discontinuously can, so that the inorganic material is withdrawn according to arrow 37 can be. So that the inorganic material, namely the itself in the area of the sand layer 40 enriching sand grains 16 the fluidized sand layer 14 can pass down and so that the perforated base 8 can pass is a bypass 38 provided, for example in the form of a perforated base 8 in vertical direction penetrating tube 39.
  • the tube 39 is provided concentric to the axis 2 of the container, closes on the one hand the interior of the perforated base 8 between the walls 9 and 11 and on the other hand allows the passage of Grains of sand 16 from the area of the fluidized sand layer 14 in the area of the discharge device 32, so that on this Way there is the possibility of expanding the fluidized To keep the sand layer 14 constant up to the limit 15.
  • An agitator 40 is concentric in the container 1 and to the axis 2 provided, which has a vertical shaft 41 which over a motor 42 is driven.
  • the shaft 41 is with stirring arms 43 occupied, which are arranged just above the perforated base 8.
  • One or more stirring arms 43 can be provided.
  • the Stirring arms 43 cause in a relatively slow circulation that channels for a preferred inflow in the area of not fluidized sand layer 14 above the perforated bottom 8 can train or destroyed such channels immediately become.
  • the sand grains 16 of the sand layer 14 are also here mechanically stressed by the agitator arms 43 and thus rubbed and cleaned.
  • Additional stirring arms 44 can be attached to the shaft 41 be appropriate in association with the upper limit 15 of the Sand layer 14 and thus in the lower region of the collecting space 17th are arranged and act.
  • These stirring arms 44 have the task an overly dense deposit of organic material 18 on the Prevent sand layer 14 and here also the organic Always keep material 18 moving, shredding and closing mix. On the one hand, this serves to ensure that those descending from above Grains of sand 16 penetrate the organic material 18 and can penetrate into the area of the sand layer 14.
  • the buoyancy of further shredded organic material 18 improved so that this in the collection room 17 float and ultimately discharged via the overflow 28 can be.
  • the device according to FIG. 1 can be operated as follows:
  • the sand layer 14 is fluidized in the container 1. Via the pump 13 and the line 12, liquid from the Openings 9 of the perforated base 8 are carried upward, whereby the sand layer 14 expands accordingly and is held in this expansion. Now liquid is with organically contaminated inorganic material according to arrow 20 abandoned via the feeder 19 and comes under the water level 27 in a swirl-like distribution, like this is indicated by the arrows 25 and 26. Depending on the size of the Particles will move them in the collecting space 17. Larger ⁇ Particles sink faster than smaller particles. Grains of sand 16 will sink and into the area of the fluidized sand layer 14 arrive, which increases the amount of sand here elevated. Organic material 18 will be within the Moving collecting space 17, again larger particles sink faster than fine particles.
  • the organic Material 18 will, however, to a large extent above the Pile border 15 on the sand layer 14. Fine organic Material 18 flows over the overflow 28 carried out while larger particles of organic matter be broken up and crushed until they also have one such a state of limbo that they are separated from that by the Perforated bottom 8 applied inflowing water with discharged become.
  • the agitator 40 with its arms 43 and 44 contributes to Cleaning and movement of the respective layers.
  • By the Tube 39 can grains of sand 16 from the sand layer 14 down step through. This cleaned sand is used with the discharge device 32 carried upwards and conveyed away. This happens in such a way that the expansion height of the sand layer 14 is kept as constant as possible up to the limit 15.
  • the embodiment of the device according to FIG. 3 is broad Areas initially constructed similarly to the embodiment according to Figure 1, so that reference is made to the description here can be.
  • the agitator 40 has a shorter one here designed shaft 41, on which only stirring arms 44 are provided which are just below the limit 15 of the fluidized sand layer 14 work.
  • a support plate 45 is provided, although within the fluidized sand layer 14 is arranged, however, the support of material on their surface, which of the fluidized sand layer 14 is not detected.
  • This yourself Superimposed material is moved together with the stirring arms 44 grated, crushed and separated, including one Promotional effect on this material occurs in such a way that it increasingly shifted to a larger radius and finally can pass over the edge 46 of the support plate 45.
  • cleaned sand grains 16 act that fluidized in the Install layer of sand 14 while the organic material through the movement of the agitator arms 44 after its comminution in the Collection room 17 floats.
  • the perforated base 8 is formed continuously here.
  • a bypass 38 serves a bypass line 47 in the area of the sand layer 14 is connected to this, bypasses the perforated base 8 and in the lower region 7 of the container 1 opens, so that here passing sand discharged from the discharge device 32 can be.
  • a valve 48 is arranged for control purposes.
  • the embodiment of the device shown in Figure 4 has a container 1, which is from bottom to top conically widening cross section is formed. About one cylindrical overflow 28 is connected to the Discharge tube 30.
  • the agitator 40 has agitator arms 43 and 44.
  • electrical line 50 is connected to valve 48, which is centered here in the tube 39, which the perforated base 8th penetrates, is housed. With the pressure probe 49 static pressure in the area of the sand layer 14 is monitored.
  • the valve 48 is opened and vice versa, so that the height of expansion the sand layer 14 are kept constant up to the limit 15 can. Due to the increasing cross-section from bottom to top of the container 1, the speed will decrease from the bottom Reduce above accordingly so that only organic material 18 is discharged in finely divided form over the overflow 28.
  • the embodiment according to FIG Embodiment according to Figure 4 has a special feature. It is a Insert 51 is provided, which is essentially cylindrical and in its upper area into an annular surface 52 passes, which fulfills the function of the support plate 45. Also here is an assignment to the agitator arms 44 of the agitator 40 given. The diameter of the insert 51 and the diameter the perforated bottom 8 are adapted to each other. The fluidized Sand layer 14 extends essentially over the height of the Mission 51.
  • This form of training has the advantage that the Insert 51 and an adapted perforated base 8 interchangeable in the Container 1 can be provided to different devices Sizes for different throughputs are available to deliver.
  • the sand layer 14 is extended to the upper limit 15, so that here, as it were, two speed ranges Flow velocity formed within the sand bed 14 are.
  • FIG. 6 shows the device according to FIG. 5, but with a Insert 51 comparatively smaller diameter and in Assignment to a perforated base 8, whose outer diameter is smaller is as the relevant diameter of the container 1 on this Job.
  • the embodiment of the device according to FIG. 7 is correct largely with previously described embodiments of the device, so that reference can be made to this.
  • the container 1 has a largely cylindrical here continuous housing, at least in the area of the sand layer 14 and the collecting space 17.
  • the support plate 45 also works here with stirrer arms 44 of the stirrer 40 together.
  • Figure 8 shows a plan view of the perforated base 8 with its upper wall 9, in which the nozzle-like openings 10 are evenly distributed.
  • the pipe 39 is central provided which forms the bypass 38.
  • Two cleaning lines 55 of a backwashing cleaning device 56 shown tangent to the interior of the Perforated bottom 8 is connected between the walls 9 and 11.
  • Via a connection 57 which is only indicated schematically, sand, which penetrated into the perforated base 8 during normal operation is to be rinsed out, so that then the even Structure of the fluidized sand layer 14 in normal operation becomes possible again.
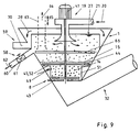
  • FIG 9 shows a device which is based essentially on the Embodiment of Figure 5 builds. However, here is a first one Trigger device 58 is provided, with the substantially organic material in the liquid is drawn off. A second trigger device 59 is used essentially to deduct the Liquid, whereby here too organic material with the Liquid is drawn off.
  • the device 29 is therefore in two separate discharge facilities, which is also useful operated differently.
  • the trigger device 58 will preferably discontinuously and the trigger device 59 operated continuously.
  • the separate first trigger device 58 serves to over-concentrate organic Avoid material in the collecting room 17, otherwise the danger there is that on the one hand, in particular with a large loading quantity the degree of contamination of the inorganic material the intended cleaning of the sand only increases insufficiently occurs, and on the other hand, fine sands increasingly the liquid are discharged.
  • the separate first trigger device 58 provided that a fixed tube 60 can have, which the wall part 4 of the container 1 penetrates and thus immediately Has connection to the collection space 17 for the organic material.
  • a valve 61 is expediently arranged to the discontinuous removal of the organic material according to arrow To enable 62.
  • a suction line 63 which in dashed lines is indicated.
  • the suction line 63 or you in the collection room 17 protruding end can be adjusted in height according to double arrow 65 be arranged to remove organic material in to allow different depths of the collecting space 17.
  • the discontinuous removal of organic material can in particular when the Ruhrwerk 40 is at a standstill be so that even with the arrangement of a further stirring arm 66 suction of the shaft 41 in the region of the collecting space 17 can take place below this stirring arm 66.
  • the device 29 can be divided into two separate extraction devices 58 and 59 in all embodiments of the device, the extraction device 58 always having to be arranged at a certain distance from the fluidized sand layer 14 in order to remove as little sand as possible when the organic material is removed.

Landscapes

  • Separation Of Solids By Using Liquids Or Pneumatic Power (AREA)
  • Devices And Processes Conducted In The Presence Of Fluids And Solid Particles (AREA)
  • Extraction Or Liquid Replacement (AREA)
  • Organic Low-Molecular-Weight Compounds And Preparation Thereof (AREA)
  • Fluidized-Bed Combustion And Resonant Combustion (AREA)

Description

Die Erfindung bezieht sich auf eine Vorrichtung zum Abscheiden von organischem und anorganischem Material aus einer Flüssigkeit, insbesondere von organischen Verschmutzungen und Sand von Kläranlagen, mit den im Oberbegriff des Patentanspruchs angegebenen Merkmalen.
Insbesondere das Material, welches aus dem Sandfang von Kläranlagen oder bei der Kanalreinigung aus dem Kanalnetz entnommen wird, oder auch Straßenkehricht, wie er von Kehrmaschinen aufgenommen wird, enthält neben dem anorganischen Material in Form von Sand, Steinen u. dgl. oft erhebliche Anteile an organischem Material. Um das anorganische Material einer Deponie zuführen oder anderweitig wiederverwenden zu können, muß es bis zu gewissem Grade von dem organischen Material befreit werden, um einen kostengünstige Entsorgung durchführen zu können.
Eine Vorrichtung der eingangs beschriebenen Art ist aus der DE 41 18 020 A1 bekannt, die ein Verfahren und eine Vorrichtung zum Abscheiden spezifisch leichter Bestandteile aus einer Trübe durch Aufstromsortierung beschreibt. Grobe, nicht fluidisierbare Bestandteile werden zunächst aus der Trübe vor deren Eintritt in den Behälter des Aufstromsortierers abgetrennt. In dem Behälter ist im unteren Bereich ein Lochboden untergebracht, der mit Rückschlagklappen versehen ist. Über diese sich öffnenden Rückschlagklappen wird eine Aufstromflüssigkeit zum Ausströmen gebracht und insoweit ein inhomogenes Wirbel- oder Fließbett mit zwei Zonen in dem Behälter erzeugt. In der unteren Zone befindet sich das schwerere anorganische Material. In der oberen Zone sammelt sich das leichtere organische Material an. Der Behälter weist eine zylindrisch ausgebildete Wandung auf, so daß die Aufströmgeschwindigkeit der Flüssigkeit im Behälter in jeder Höhenlage konstant ist. Das Fließbett dehnt sich fast bis zum oberen Rand des Behälters aus. In die obere Zone des Wirbel- und Fließbettes taucht eine Meßvorrichtung ein, mit der sowohl die Tranndichte als auch der Pegelstand der Fließbettobergrenze konstant gehalten werden. Darüber bleibt nur ein relativ kleiner Raum für eine dünntrübe Zone, in deren Bereich auch die Einleitung der mit organischem Material belasteten Flüssigkeit erfolgt. Im unteren Bereich des Behälters wird der Lochboden von einem als Bypass wirkenden Abzugsrohr durchsetzt, durch welches das Schwergut abgezogen wird.
Eine weitere Vorrichtung zum Abscheiden von organischem und anorganischem Material aus einer Flüssigkeit ist aus der DE 42 24 047 A1 bekannt. Die Vorrichtung weist einen konzentrisch zu einer Vertikalachse ausgebildeten Behälter auf, der in seinem oberen Bereich eine zentrisch angeordnete Beschickungseinrichtung besitzt. Die Beschickungseinrichtung weist eine Drallkammer, ein Fallrohr und einen trompetenförmigen Diffusor auf, so daß hier der Coanda-Effekt ausgenutzt wird. Die Vorrichtung ist in erster Linie darauf gerichtet, in Rundsandbecken sowie in Sandklassierern in Rundbauweise den Sand aus einem Flüssigkeits/Sand-Gemisch abzuscheiden. Der sich unter Schwerkrafteinwirkung im unteren Bereich des Behälters ansammelnde Sand wird über eine Abzugseinrichtung in Form einer Schneckenfördereinrichtung ausgetragen. Da der Sand, insbesondere aus Kläranlagen, und das organische Material mehr oder weniger stark aneinander haften, wird ein Großteil des organischen Materiales zusammen mit dem Sand abgeschieden und ausgetragen. Nur sehr fein verteiltes organisches Material, welches in einen Schwimm- bzw. Schwebezustand gerät, gelangt in einen Überlauf des Behälters und wird zusammen mit der Flüssigkeit abgeführt.
Aus der Zeitschrift Korrespondenz Abwasser 1/94, Seiten 48 - 53 (Klinger, Barth "Entwicklung einer Sandrecyclinganlage für Kläranlagen") ist eine Sandrecyclinganlage bekannt, bei der eine Mehrzahl von einzelnen Anlagenteilen hintereinander geschaltet kombiniert werden. So wird zunächst das zu behandelnde Material einem Schwingsieb zugeführt, um die größeren Teile abzusieben. In einem nachgeschalteten Aufstromklassierer wird das Material, welches das Schwingsieb passiert hat, mit Wasser aufgegeben, um organisches Material von der Sandfraktion abzutrennen. Die Aufgabe erfolgt über einen Hydrozyklon in den Aufstromklassierer. Schließlich wird ein Entwässerungssieb mit Unwuchtantrieb eingesetzt. Dieser hohe verfahrenstechnische Aufwand mag bei komplexen Trennaufgaben gerechtfertigt sein. Für die Behandlung von Sand aus Kläranlagen wird jedoch ein möglichst niedriger Aufwand und eine kostengünstige Arbeitsweise angestrebt. Die bekannte Anlage ist für relativ große Durchsatzmengen ausgelegt; die Übertragung und Anwendung auf kleinere Durchsatzmengen und/oder diskontinuierliche Betriebsweise bereitet Schwierigkeiten. Außerdem ist die Möglichkeit der Verarbeitung der für Kläranlagen spezifischen Sand/Wasser-Gemische nicht gegeben.
Der Erfindung liegt daher die Aufgabe zugrunde, eine Vorrichtung der eingangs beschriebenen Art bereitzustellen, mit der beispielsweise ein mit organischem Material verschmutztes Sand/Wasser-Gemisch, wie es in Kläranlagen anfällt, so verarbeitet werden kann, daß das organische Material von dem anorganischen Material weitgehend getrennt wird, so daß das organische Material in der Kläranlage weiterbehandelt und das anorganische Material einer Wiederverwertung oder einer kostengünstigen Deponierung zugeführt werden kann.
Erfindungsgemäß wird dies bei der Vorrichtung der eingangs beschriebenen Art dadurch erreicht, daß zwecks Ablösung des organischen Materials von dem anorganischem Material und zwecks Zerkleinerung des organischen Materials im unteren Bereich des Behälters eine fluidisierte Sandschicht vorgesehen ist, die durch eine über einen Lochboden verteilte und aufwärts gerichtete Strömung in Bewegung gehalten ist, daß der Behälter im Anschluß an das obere Ende der Ausdehnung der fluidisierten Sandschicht einen sich nach oben anschließenden Sammelraum für organisches Material aufweist, und daß die Einrichtung zur Abfuhr von organischem Material und von Flüssigkeit eine erste Abfuhreinrichtung im wesentlichen für das organische Material aus dem Sammelraum und eine zweite Abfuhreinrichtung im wesentlichen für die Flüssigkeit aufweist.
Die Erfindung geht von dem Gedanken aus, eine erheblich effektivere Trennung zwischen organischem und anorganischem Material durchzuführen. Zu diesem Zweck wird im unteren Bereich des Behälters eine fluidisierte Sandschicht als Wirbelschicht aufrechterhalten, wobei die dadurch initiierte Bewegung der Sandkörner dazu führt, daß organisches Material von anorganischem Material abgelöst, zerkleinert und so nach oben ausgetragen wird, daß das organische Material zusammen mit der Flüssigkeit abgezogen werden kann. Das über die Beschickungseinrichtung eingebrachte, mit organischem Material verschmutzte Sand/Wasser-Gemisch wird z.B. mit einer normal ausgebildeten Beschickungseinrichtung in den Behälter eingebracht, wobei Teilchen mit höherer Dichte und größere Teilchen vermehrt in den unteren Teil des Behälters gelangen, während kleine Teilchen mit einer relativ geringen Dichte bevorzugt der Strömung folgen und mit einer Einrichtung abgezogen werden, die einen Überlauf an dem Behälter bildet. Die fluidisierte Sandschicht wirkt auf organisches Material so, daß dieses, sofern es in Form eines größeren Teilchens in die fluidisierte Sandschicht eingedrungen ist, zerkleinert und aus dieser nach oben wieder herausgedrängt wird, so daß sich das organische Material oberhalb der fluidisierten Sandschicht ansammelt, während das anorganische Material, also der Sand, in die fluidisierte Sandschicht einwandert und diese verstärkt. Die Verstärkung bzw. Verdichtung der Sandschicht führt wiederum zu einem erhöhten Abreinigungseffekt, so daß hier eine selbstverstärkende Wirkung zu beobachten ist. Die fluidisierte Sandschicht wird durch eine aufwärtsgerichtete Strömung in Bewegung gehalten, die über einen Lochboden verteilt über die Fläche austritt. Es entsteht ein Sandwirbelbett. Die Leerrohrgeschwindigkeit des Aufstromwassers beträgt vorzugsweise 5 bis 15 m/h. Bedingt durch die hohe Dichte der Sandschicht scheiden sich alle Stoffe mit geringerer Dichte, also insbesondere das organische Material auf der Sandschicht ab. Um die Sandschicht in ihrer Ausdehnungshöhe konstant zu halten, wird ein Teil des Sandes immer wieder abgezogen, was kontinuierlich oder auch diskontinuierlich geschehen kann. Der Bypass dient zur Überbrückung des Lochbodens bzw. dazu, einen Teil des Sandes aus der Sandschicht heraus in den unteren Bereich des Behälters zu überführen, um die Ausdehnungshöhe der fluidisierten Sandschicht in etwa konstant zu halten. Der Bypass ist gleichermaßen geeignet, auch relativ große Teilchen anorganischen Material, beispielsweise Steine, nach unten durchzulassen, so daß diese mit dem feinen anorganischen Material, dem Sand, zusammen ausgetragen werden können.
Der Behälter weist im Anschluß an das obere Ende der Ausdehnung der fluidisierten Sandschicht einen sich nach oben anschließenden Sammelraum für organisches Material auf. Der Sammelraum ist oberhalb der Ausdehnung der fluidisierten Wirbelschicht vorgesehen.
Weiterhin weist die Einrichtung zur Abfuhr von organischem Material und von Flüssigkeit eine erste Abfuhreinrichtung im wesentlichen für das organische Material aus dem Sammelraum und eine zweite Abfuhreinrichtung im wesentlichen für die Flüssigkeit auf. Damit wird einer allzugroßen Ansammlung von organischem Material auf der Wirbelschicht entgegengewirkt. Die Abfuhr des organischen Materials aus dem Sammelraum über die zweite Abfuhreinrichtung erfolgt vorzugsweise diskontinuierlich in zeitlichen Abständen.
Die Beschickungseinrichtung kann zentrisch angeordnet sein und eine Drallkammer, ein Fallrohr und einen trompetenförmigen Diffusor aufweisen. Damit kann das mit organischem Material verschmutzte anorganische Material unter Ausnutzung des Coanda-Effektes in den Behälter aufgegeben werden, wobei die vertikale Drallströmung in dem Fallrohr in eine weitgehend horizontale Drallströmung überführt wird. Bereits diese besondere Art der Beschickung führt dazu, daß organisches und anorganisches Material gegeneinander bewegt werden.
Der im Behälter im Anschluß an das obere Ende der Ausdehnung der fluidisierten Sandschicht sich nach oben anschließende Sammelraum für organisches Material kann einen sich nach oben erweiternden Querschnitt aufweisen. Von dem sich erweiternden Querschnitt wird zumindest der untere Teil des Sammelraums, der sich an die fluidisierte Sandschicht nach oben anschließt, erfaßt. Durch die Vergrößerung der Querschnittsfläche bedingt nimmt die Strömungsgeschwindigkeit des Aufstromwassers ab, so daß nur sehr fein zerkleinerte organische Teile in einen Schwimm- bzw. Schwebezustand geraten, während größere organische Teile nach unten absinken und auf der fluidisierten Sandschicht weiter zerkleinert werden, bis auch sie nach oben aufschwimmen. Gleichzeitig verhindert die nach oben abnehmende Strömungsgeschwindigkeit das Aufschwimmen äußerst feiner Teilchen von anorganischem Material. Kleine Sandpartikel werden also nicht nach oben ausgetragen, sondern können nach unten absinken. Zudem ist die Strömungsgeschwindigkeit des Aufstromwassers direkt über dem Lochboden maximal, sofern der Behälter auch in diesem Bereich die bereits beschriebene, sich nach oben konisch erweiternde Form besitzt. Diese gleichmäßige kräftige Durchströmung im Bereich oberhalb des Lochbodens führt auch dazu, daß hier auch größere Steine in der fluidisierten Sandschicht in Bewegung versetzt bzw. in Bewegung gehalten werden, bis sie in den Bereich des Bypasses eintreten und insoweit aus der Sandschicht herausgenommen werden können. Es ist durchaus möglich, daß der Behälter von unten nach oben eine durchgehende sich konisch erweiternde Gestalt besitzt. Dies ist vorteilhaft, weil aufgrund der Gegebenheiten auf einer Kläranlage die Beschickung der Vorrichtung häufig mit einem Sand/Wasser-Gemisch erfolgt, wobei der überwiegende Anteil aus Wasser besteht. Bedingt durch dieses große Volumen im oberen Teil des Behälters und aufgrund der besonderen Beschickungseinrichtung kann die Vorrichtung mit einer größeren Gemischmenge beschickt werden, ohne daß sich die Verhältnisse im Bereich der fluidisierten Sandschicht nachteilig ändern. Die Vorrichtung ist auch unempfindlich gegenüber Schwankungen in der Durchsatzmenge. Sie kann kontinuierlich oder diskontinuierlich betrieben werden. Sie ist für kleine und für große Durchflußmengen in entsprechender Auslegung nutzbar. Der apparative Aufwand ist relativ gering, jedenfalls verglichen mit bisher bekannten Anlagen. Hieraus resultiert auch eine preisgünstige Behandlung, wie sie im Bereich der Klärtechnik Voraussetzung ist. Zudem wird das organische Material relativ sauber; es sind durchaus Größenordnungen erreichbar, bei denen dem anorganischen Material allenfalls 5 % oder noch weniger organisches Material anhaftet, wenn es aus der Austragseinrichtung ausgetragen wird.
Im Behälter kann ein Rührwerk vorgesehen sein, das Rührarme aufweist, die im unteren Bereich der fluidisierten Sandschicht unmittelbar oberhalb des Lochbodens und/oder oberhalb der fluidisierten Sandschicht im Anschluß an die Grenze zwischen der fluidisierten Sandschicht und dem Sammelraum für das organisches Material umlaufend angeordnet sind. Der eine Rührarm befindet sich in unmittelbarer Nähe zum Lochboden und erfüllt zwei Funktionen. Er verhindert eine Kanalbildung im unteren Bereich der fluidisierten Sandschicht und trägt dazu bei, daß die Sandschicht auch hier gleichmäßig durchströmt wird. Sich zwischenzeitlich bildende Kanäle werden durch den Rührarm wieder zerstört. Zum anderen werden organische Bestandteile, vor allem flächige Teile, wie Papier oder Blätter, welche zufälligerweise bis in den unteren Bereich der fluidisierten Sandschicht eindringen, aufgehalten, durch die Bewegung des Rührarmes losgelöst und mit dem Aufstromwasser nach oben getragen. Der andere Rührarm befindet sich oberhalb der fluidisierten Sandschicht im Anschluß an die Grenze zwischen Sandschicht und Sammelraum. Er lockert bei seiner Drehbewegung die sich über der Sandschicht befindliche organische Masse, so daß diese aufgelockert und aufgeschwemmt wird, wodurch es neuem, von oben absinkendem Sand möglich wird, diese Schicht zu durchstoßen und in die fluidisierte Sandschicht einzuwandern.
In dem Behälter kann horizontal ausgerichtet eine Auflagerplatte mit geschlossener Oberfläche vorgesehen und einem Rührarm des Rührwerks zugeordnet sein. Es versteht sich, daß diese Auflagerplatte nur einen Teil des Querschnittes des Behälters in vertikaler Richtung versperren darf. Die Anordnung dieser Auflagerplatte wird jedoch dazu führen, daß sich auf dieser Auflagerplatte im Behälter absinkendes anorganisches Material, also Sand, auflagert. Der Rührarm wird in diesem sich auflagerndem Sand, der gleichsam nicht Bestandteil der fluidisierten Sandschicht ist, umlaufen und dabei den Sand mechanisch beanspruchen, so daß hier durch die Reibebewegung eine Loslösung von organischem Material erfolgt. Durch die Drehbewegung des Rührarmes wird gleichzeitig eine Förderwirkung auf den Sand erzielt, so daß dieser jeweils über den Rand der Auflagerplatte übertreten und in den Bereich der fluidisierten Sandschicht eintreten kann. Damit wird die Auflagerplatte immer wieder aufnahmefähig für weiteres, im Behälter absinkendes Material. Oberhalb der Auflagerplatte wird gleichsam eine mechanische Wasch- und Reinigungsstufe geschaffen.
Der Lochboden ist zweckmäßig doppelwandig ausgebildet. Er weist in seiner nach oben gerichteten Wandung eine Vielzahl gleichmäßig über die Fläche verteilt angeordneter Durchbrechungen auf. Seine untere Wandung ist geschlossen ausgebildet. Als Bypass kann ein den Lochboden in vertikaler Richtung durchsetzendes Rohr vorgesehen sein, welches insbesondere zentrisch im Lochboden vorgesehen ist. Das Rohr kann auch durch eine einfache Durchbrechung ersetzt sein, deren freier Querschnitt jedoch erheblich größer ist als die Vielzahl der verteilt angeordneten düsenartigen Durchbrechungen, durch die das Aufstromwasser für die Fluidisierung der Sandschicht austritt. Der doppelwandige Lochboden ist zur Erzeugung der aufwärtsgerichteten Strömung für die Fluidisierung der Sandschicht an eine eine Pumpe aufweisende Leitung für Flüssigkeit angeschlossen. Über die Regelung der Pumpe erfolgt die Einstellung der Ausdehnungshöhe der Sandschicht. Die Durchbrechungen im Lochboden, aus denen das Aufstromwasser austritt, können einen Durchmesser von 1 mm oder weniger aufweisen. Der freie Querschnitt dieser Durchbrechungen liegt zwischen 1 und 10 % der gesamten Fläche des Lochbodens. Der Lochboden kann auch mit einer Membram bedeckt sein, die Öffnungen aufweist, die nach Art von Rückschlagventilen ausgebildet sind, so daß die Durchbrechungen nur dann offen sind, wenn auch Aufstromwasser über die Pumpe angeliefert wird. Für Stillstandszeiten, in denen die Vorrichtung nicht betrieben wird, sinkt die Sandschicht auf den nunmehr auch auf seiner Oberseite geschlossenen Boden ab. Es wird ein Übertritt des Sandes in das Innere des Lochbodens verhindert.
In dem Behälter kann ein etwa zylindrischer Einsatz vorgesehen sein, dem der Lochboden zugeordnet ist und der zur Begrenzung der Ausdehnung der fluidisierten Sandschicht dient. Dieser Einsatz kann auswechselbar ausgestaltet sein. Verschiedene Einsätze mit unterschiedlichen Durchmessern können wahlweise in ein und denselben unveränderten Behälter eingebracht werden, um auf diese Weise kostengünstig Vorrichtungen unterschiedlicher Größe bzw. für unterschiedliche Durchsatzmengen bereitzuhalten. Wenn der Einsatz Zylinderform aufweist, ist die Ausströmgeschwindigkeit über seine Höhe und damit über die Ausdehnungshöhe der fluidisierten Sandschicht konstant. Der zylindrische Einsatz kann in besonders einfacher Ausgestaltung auch die Auflagerplatte tragen, die in diesem Falle zweckmäßig ringförmig ausgebildet ist.
Die fluidisierte Sandschicht kann bei den verschiedenen aufgezeigten Ausführungsformen eine Ausdehnungshöhe von etwa 20 bis 40 cm aufweisen, damit sichergestellt ist, daß auch größere organische Teilchen, die in den Bereich der fluidisierten Sandschicht eingedrungen sind, auch sicher zerkleinert und aus dieser wieder nach oben ausgetragen werden.
In dem den Lochboden durchsetzenden Rohr kann ein Ventil und im Behälter im Anschluß an die fluidisierte Sandschicht eine Drucksonde vorgesehen sein, wobei das Ventil über die Drucksonde zum Konstanthalten der Ausdehnungshöhe der fluidisierten Sandschicht steuerbar ist. Auf diese Weise kann die Ausdehnungshöhe der fluidisierten Sandschicht überwacht, geregelt und konstant gehalten werden. Der hydrostatische Druck der fluidisierten Sandschicht wird mittels der Drucksonde gemessen. Ein Ansteigen des Druckes signalisiert ein Anwachsen der Sandschicht, so daß demgemäß das Ventil in dem Rohr geöffnet bzw. mehr geöffnet werden muß und umgekehrt. Es ist aber auch möglich, die Ausdehnungshöhe der Sandschicht mit einem Füllstandsrohr zu messen. Der Lochboden kann mit einer rückspülenden Reinigungseinrichtung versehen sein, die zweckmäßig tangential am Lochboden angreift und mit der es möglich ist, durch Rückspülung den in das Innere des Lochbodens eingedrungenen Sand herauszuführen.
Die ordnungsgemäße Funktion der Vorrichtung in den verschiedenen Ausführungsformen hängt in starkem Maße von der Größenordnung der aufgegebenen organischen Bestandteile und der Beschickungsmenge an Flüssigkeit ab. Mit zunehmender Beschickungsmenge wird das sich auf dem Wirbelbett des Sandes ansammelnde organische Material zu einem immer größer werdenden Anteil mit der Flüssigkeit aus dem Behälter ausgetragen. Andererseits wird sich bei geringer hydraulischer Belastung das organische Material im Behälter aufkonzentrieren. Während eine große hydraulische Belastung bezüglich des Austrages von organischem Material von Vorteil ist, ergibt sich bezüglich des Sandrückhaltes ein Nachteil, dad vermehrt Feinsande mit der Flüssigkeit ausgetragen werden. Um den Feinsandverlust innerhalb bestimmter Grenzen halten zu können, darf die Beschickungsmenge in Abhängigkeit von der Behältergeometrie nicht zu groß sein. Um den für den Kläranlagenbetrieb üblicherweise erforderlichen Abscheidegrad für Sand gewährleisten zu können, ist ein Verhältnis von Beschickungsmenge zu durchströmbarem Volumen des Behälters von etwa 20 l/(sec.m3) einzuhalten.
Die erste Abzugseinrichtung für das organische Material kann ein den Wandungsteil des Behälters im Bereich des Sammelraums für das organische Material durchdringendes Rohr aufweisen, das ortsfest in der vorgesehenen Höhe relativ zu dem Sammelraum angeordnet ist. Ein Ventil in dem Rohr oder der anschließenden Leitung dient dem diskontinuierlichen Betrieb.
Die erste Abzugseinrichtung für das organische Material kann aber auch eine in den Sammelraum etwa vertikal von oben einragende Saugleitung aufweisen, die zudem noch höhenveränderlich einstellbar sein kann, um organisches Material gezielt aus der eingestellten Tiefe des Sammelraums abzuziehen.
Die aufgezeigten Vorrichtungen können in durchaus unterschiedlicher Weise betrieben werden. Eine vorteilhafte Betriebsweise ergibt sich dann, wenn der Behälter zunächst mit Flüssigkeit, organischem Material und anorganischem Material befüllt wird. Dann wird die Vorrichtung in Betrieb gesetzt, d.h. es wird das Wirbelbett aufgebaut und das Rührwerk in Gang gesetzt. Dabei wird der Sand gereinigt, das organische Material bewegt sich nach oben und der Sand nach unten. Es schließt sich die Abtrennung und der Austrag des gereiningten Sandes an. Zweckmäßig zum Schluß wird das organische Material abgezogen. Der Abzug der Flüssigkeit erfolgt bei kontinuierlicher Beschickung kontinuierlich.
Die Erfindung wird anhand verschiedener Ausführungsbeispiele weiter erläutert und beschrieben. Es zeigen:
Figur 1
einen schematisierten Vertikalschnitt durch eine erste Ausführungsform der Vorrichtung,
Figur 2
eine Draufsicht auf die Vorrichtung gemäß Figur 1,
Figur 3
eine ähliche Darstellung wie Figur 1 bei einer zweiten Ausführungsform der Vorrichtung,
Figur 4
eine ähnliche Darstellung einer dritten Ausführungsform,
Figur 5
eine weitere Ausführungsform der Vorrichtung,
Figur 6
eine weitere Ausführungsform der Vorrichtung,
Figur 7
eine weitere Ausgestaltungsmöglichkeit der Vorrichtung,
Figur 8
eine schematisierte Draufsicht auf den Lochboden und
Figur 9
eine weitere Ausführungsform der Vorrichtung.
In Figur 1 sind die wesentlichen Elemente der Vorrichtung angedeutet. Es ist ein Behälter 1 vorgesehen, der eine vertikale Achse 2 aufweist. Der Behälter 1 ist im wesentlichen rotationssymmetrisch zu der Achse 2 ausgebildet. Der Behälter 1 besitzt in seinem unteren Bereich einen sich konisch nach oben erweiternden Wandungsteil 3, an den sich nach oben ein zylindrisch gestalteter Wandungsteil 4 anschließt. Der Behälter 1 kann mit einem Deckel 5 versehen sein. Der Durchmesser des Behälters kann ein oder mehrere Meter betragen. Für Aufstellzwecke können Standbeine 6 vorgesehen sein.
Im unteren Bereich 7 des Behälters 1 ist ein Lochboden 8 horizontal ausgerichtet angeordnet. Der Lochboden 8 ist doppelwandig ausgebildet. Seine nach oben gekehrte Wandung 9 weist Durchbrechungen 10 auf, die in Form gleichmäßig über die Fläche verteilt angeordneter Düsen ausgebildet sein können. Die nach unten gekehrte Wandung 11 ist geschlossen ausgebildet. Der Zwischenraum zwischen den Wandungen 9 und 11 ist an eine Leitung 12 angeschlossen, in der eine Pumpe 13 vorgesehen ist und über die Flüssigkeit in das Innere des Lochbodens 8 zwischen die Wandungen 9 und 11 geführt wird. Diese Flüssigkeit tritt durch die Durchbrechungen 10 aufwärts im Behälter gerichtet aus. Über dem Lochboden 8 ist eine fluidisierte Sandschicht 14 vorgesehen, die durch das aus dem Lochboden 8 ausströmende Aufwasser in Bewegung gehalten wird. Die Sandschicht 14 weist eine Ausdehnungshöhe auf, die bis zu einer Grenze 15 geht, die hier als Strich angedeutet ist. Die sich bewegenden Sandkörner 16 in der fluidisierten Sandschicht 14 sind übertrieben groß dargestellt. Je nach der Menge des im Behälter befindlichen Sandes wird sich die fluidisierte Sandschicht 14 mehr oder weniger nach oben ausdehnen. Oberhalb der Grenze 15 der Sandschicht 14 ist ein Sammelraum 17 für organisches Material 18 vorgesehen.
Über eine angedeutete Beschickungseinrichtung 19 wird ein Sand/Wasser-Gemisch, verschmutzt mit organischem Material gemäß Pfeil 20 der Vorrichtung bzw. dem Behälter zugegeben. Ein Einlaßrohr 21 mündet tangential in eine Drallkammer 22, die nach unten in ein Fallrohr 23 übergeht, an welches sich ein trompetenförmiger Diffusor 24 anschließt. Das Gemisch aus Flüssigkeit, organischem Material und anorganischem Material wird damit in einer Drallströmung gemäß Pfeil 25 in den Behälter 1 eingebracht und verteilt sich mehr oder weniger radial gemäß den Pfeilen 26 im Sammelraum 17. Der Diffusor 24 ist unterhalb des Wasserspiegels 27 angeordnet. Der Wasserspiegel 27 stellt sich gemäß einem Überlauf 28 an einer Einrichtung 29 zur Abfuhr des organischen Materials 18 und der Flüssigkeit ein. Der Überlauf 28 führt zu einem Abzugsrohr 30.
Im oberen Bereich des Behälters 1 kann zusätzlich ein Einfüllrohr 31 vorgesehen sein, welches den Deckel 5 durchdringt. Hier kann ein verunreinigtes Sandgemisch, insbesondere Straßenkehricht, eingefüllt werden, der dann auch in die Flüssigkeit gelangt und entsprechend behandelt wird.
Im unteren Bereich 7 des Behälters 1 ist unterhalb des Lochbodens 8 eine Abzugseinrichtung 32 für das anorganische Material vorgesehen. Die Abzugseinrichtung 32 kann insbesondere als Schneckenförderer 33 mit Gehäuse 34, Welle 35 und Förderwendel 36 ausgebildet sein. Es versteht sich, daß ein Antrieb für den Schneckenförderer 33 bzw. die Abzugseinrichtung 32 vorgesehen ist, der kontinuierlich oder diskontinuierlich betrieben werden kann, so daß das anorganische Material gemäß Pfeil 37 abgezogen werden kann. Damit das anorganische Material, nämlich die sich im Bereich der Sandschicht 40 anreichernden Sandkörner 16, aus der fluidisierten Sandschicht 14 nach unten durchtreten können und damit den Lochboden 8 passieren können, ist ein Bypass 38 vorgesehen, beispielsweise in Form eines den Lochboden 8 in vertikaler Richtung durchsetzenden Rohres 39. Das Rohr 39 ist konzentrisch zu der Achse 2 des Behälters vorgesehen, schließt einerseits den Innenraum des Lochbodens 8 zwischen den Wandungen 9 und 11 ab und ermöglicht andererseits den Durchtritt von Sandkörnern 16 aus dem Bereich der fluidisierten Sandschicht 14 in den Bereich der Austragseinrichtung 32, so daß auf diese Weise die Möglichkeit besteht, die Ausdehnungshöhe der fluidisierten Sandschicht 14 bis zur Grenze 15 konstant zu halten.
Konzentrisch im Behälter 1 und zur Achse 2 ist ein Rührwerk 40 vorgesehen, welches eine vertikale Welle 41 aufweist, die über einen Motor 42 angetrieben wird. Die Welle 41 ist mit Rührarmen 43 besetzt, die kurz oberhalb des Lochbodens 8 angeordnet sind. Es kann ein oder mehrere Rührarme 43 vorgesehen sein. Die Rührarme 43 bewirken bei einem relativ langsamen Umlauf, daß sich Kanäle für eine bevorzugte Aufströmung im Bereich der fluidisierten Sandschicht 14 oberhalb des Lochbodens 8 nicht ausbilden können bzw. solche Kanäle sofort wieder zerstört werden. Die Sandkörner 16 der Sandschicht 14 werden hier auch mechanisch durch die Rührarme 43 beansprucht und damit gerieben und gereinigt. An der Welle 41 können weitere Rührarme 44 angebracht sein, die in Zuordnung zu der oberen Grenze 15 der Sandschicht 14 und damit im unteren Bereich des Sammelraums 17 angeordnet sind und wirken. Diese Rührarme 44 haben die Aufgabe, ein allzu dichtes Ablagern von organischem Material 18 auf der Sandschicht 14 zu verhindern und auch hier das organische Material 18 immer in Bewegung zu halten, zu zerkleinern und zu durchmischen. Dies dient einerseits dazu, daS von oben herabsinkende Sandkörner 16 das organische Material 18 durchdringen und in den Bereich der Sandschicht 14 eindringen können. Andererseits wird die Aufschwimmfähigkeit von weiter zerkleinertem organischen Material 18 verbessert, so daß dieses im Sammelraum 17 aufschwimmen und letztlich über den Überlauf 28 abgeführt werden kann.
Die Vorrichtung gemäß Figur 1 kann wie folgt betrieben werden:
In dem Behälter 1 befindet sich die Sandschicht 14 fluidisiert. Über die Pumpe 13 und die Leitung 12 wird Flüssigkeit aus den Durchbrechungen 9 des Lochbodens 8 nach oben gerichtet ausgetragen, wodurch die Sandschicht 14 sich entsprechend ausdehnt und in dieser Ausdehnung gehalten wird. Nun wird Flüssigkeit mit organisch verschmutztem anorganischen Material gemäß Pfeil 20 über die Beschickungseinrichtung 19 aufgegeben und gelangt unter den Wasserspiegel 27 in einer drallartigen Verteilung, wie dies durch die Pfeile 25 und 26 angedeutet ist. Je nach der Größe der Teilchen werden sich diese im Sammelraum 17 bewegen. Größere` Teilchen sinken schneller ab als kleinere Teilchen. Sandkörner 16 werden absinken und in den Bereich der fluidisierten Sandschicht 14 gelangen, wodurch sich hier die Menge des Sandes erhöht. Organisches Material 18 wird sich innerhalb des Sammelraumes 17 bewegen, wobei wiederum größere Teilchen schneller nach unten absinken als feine Teilchen. Das organische Material 18 wird sich aber zu einem großen Teil oberhalb der Grenze 15 auf der Sandschicht 14 anhäufen. Feines organisches Material 18 wird mit der Aufströmung über den Überlauf 28 ausgetragen, während größere Teilchen von organischem Material aufgebrochen und zerkleinert werden, bis sie ebenfalls einen solchen Schwebezustand erreichen, daß sie von dem durch den Lochboden 8 aufgebrachten aufströmenden Wasser mit ausgetragen werden. Das Rührwerk 40 mit seinen Armen 43 und 44 trägt zur Reinigung und Bewegung der jeweiligen Schichten bei. Durch das Rohr 39 können Sandkörner 16 aus der Sandschicht 14 nach unten hindurchtreten. Dieser gereinigte Sand wird mit der Austragseinrichtung 32 nach oben ausgetragen und hinweggefördert. Dies geschieht in der Weise, daß die Ausdehnungshöhe der Sandschicht 14 bis zur Grenze 15 möglichst konstant gehalten wird.
Die Ausführungsform der Vorrichtung gemäß Figur 3 ist in weiten Bereichen zunächst ähnlich aufgebaut wie die Ausführungsform gemäß Figur 1, so daß hier auf deren Beschreibung verwiesen werden kann. Das Rührwerk 40 besitzt hier jedoch eine kürzer gestaltete Welle 41, an der lediglich Rührarme 44 vorgesehen sind, die kurz unterhalb der Grenze 15 der fluidisierten Sandschicht 14 arbeiten. In Zuordnung zu diesen Rührarmen 44 ist eine Auflagerplatte 45 vorgesehen, die zwar innerhalb der fluidisierten Sandschicht 14 angeordnet ist, jedoch die Auflagerung von Material auf ihrer Oberfläche gestattet, welches von der fluidisierten Sandschicht 14 nicht erfaßt wird. Dieses sich auflagernde Material wird mit den Rührarmen 44 bewegt, aneinander gerieben, zerkleinert und separiert, wobei auch eine Förderwirkung auf dieses Material derart eintritt, daß es sich zunehmend auf einen größeren Radius verlagert und schließlich über den Rand 46 der Auflagerplatte 45 übertreten kann. Bei diesem übertretenden Material wird es sich weitgehend um gesäuberte Sandkörner 16 handeln, die sich in die fluidisierte Sandschicht 14 einbauen, während das organische Material durch die Bewegung der Rührarme 44 nach seiner Zerkleinerung in dem Sammelraum 17 aufschwimmt.
Der Lochboden 8 ist hier durchgehend ausgebildet. Als Bypass 38 dient eine Umgehungsleitung 47, die im Bereich der Sandschicht 14 an diese angeschlossen ist, den Lochboden 8 umgeht und in den unteren Bereich 7 des Behälters 1 einmündet, so daS der hier durchtretende Sand von der Austragseinrichtung 32 ausgetragen werden kann. Für Steuer- bzw. Regelzwecke ist in der Umgehungsleitung 47 ein Ventil 48 angeordnet.
Die in Figur 4 dargestellte Ausführungsform der Vorrichtung weist einen Behälter 1 auf, der von unten nach oben mit sich konisch erweiterndem Querschnitt ausgebildet ist. Über einen zylindrisch ausgebildeten Überlauf 28 besteht Verbindung zu dem Abzugsrohr 30. Das Rührwerk 40 weist Rührarme 43 und 44 auf. In der Wandung des Behälters 1 im Bereich der fluidisierten Sandschicht 14 ist eine Drucksonde 49 vorgesehen, die über eine elektrische Leitung 50 mit dem Ventil 48 in Verbindung steht, welches hier zentrisch in dem Rohr 39, welches den Lochboden 8 durchdringt, untergebracht ist. Mit der Drucksonde 49 wird der statische Druck im Bereich der Sandschicht 14 überwacht. Beim Ansteigen des Druckes, welches ein Maß für die Ausdehnung der Sandschicht 14 nach oben ist, wird das Ventil 48 geöffnet und umgekehrt, so daß auf diese Art und Weise die Ausdehnungshöhe der Sandschicht 14 bis zur Grenze 15 konstant gehalten werden kann. Infolge des von unten nach oben zunehmenden Querschnittes des Behälters 1 wird sich die Geschwindigkeit von unten nach oben entsprechend verringern, so daß nur organisches Material 18 in feinverteilter Form über den Überlauf 28 ausgetragen wird.
Die Ausführungsform gemäß Figur 5 weist im Gegensatz zu der Ausführungsform gemäß Figur 4 eine Besonderheit auf. Es ist ein Einsatz 51 vorgesehen, der im wesentlichen zylindrisch ausgebildet ist und in seinem oberen Bereich in eine Ringfläche 52 übergeht, die die Funktion der Auflagerplatte 45 erfüllt. Auch hier ist eine Zuordnung zu den Rührarmen 44 des Rührwerks 40 gegeben. Der Durchmesser des Einsatzes 51 und der Durchmesser des Lochbodens 8 sind aneinander angepaßt. Die fluidisierte Sandschicht 14 erstreckt sich im wesentlichen über die Höhe des Einsatzes 51. Diese Ausbildungsform hat den Vorteil, daß der Einsatz 51 und ein angepaßter Lochboden 8 austauschbar in dem Behälter 1 vorgesehen sein können, um Vorrichtungen unterschiedlicher Größenordnungen für verschiedene Durchsätze zur Verfügung zu stellen. Die Sandschicht 14 ist bis zur Obergrenze 15 ausgedehnt, so daß hier gleichsam zwei Geschwindigkeitsbereiche der Aufströmgeschwindigkeit innerhalb des Sandbettes 14 gebildet sind.
Figur 6 zeigt die Vorrichtung gemäß Figur 5, jedoch mit einem Einsatz 51 vergleichsweise geringeren Durchmessers und in Zuordnung zu einem Lochboden 8, dessen Außendurchmesser kleiner ist als der betreffende Durchmesser des Behälters 1 an dieser Stelle. Damit entsteht eine ringförmige Durchtrittsfläche 53, die die Funktion des Bypasses 38 erfüllt, so daß Sandkörner 16 aus der Sandschicht 14 gemäß Pfeil 54 übertreten und in den Bereich der Austragseinrichtung 32 gelangen können.
Die Ausführungsform der Vorrichtung gemäß Figur 7 stimmt in weiten Teilen mit vorangehend beschriebenen Ausführungsformen der Vorrichtung überein, so daß hierauf verwiesen werden kann. Der Behälter 1 besitzt hier ein weitgehend zylindrisches durchgehendes Gehäuse, jedenfalls im Bereich der Sandschicht 14 und des Sammelraums 17. Die Auflagerplatte 45 arbeitet auch hier mit Rührarmen 44 des Rührwerks 40 zusammen.
Figur 8 zeigt eine Draufsicht auf den Lochboden 8 mit seiner oberen Wandung 9, in der die düsenartigen Durchbrechungen 10 gleichmäßig verteilt angeordnet sind. Zentrisch ist das Rohr 39 vorgesehen, welches den Bypass 38 bildet. Es sind hier zwei Leitungen 12 angedeutet, über die im normalen Betrieb Flüssigkeit über Pumpen 13 in das Innere des Lochbodens 8 zwischen den Wandungen 9 und 11 gelangt und über die Durchbrechungen 10 als Aufstromwasser ausgetrieben wird. Tangential zum Lochboden sind zwei Reinigungsleitungen 55 einer rückspülenden Reinigungseinrichtung 56 dargestellt, die tangential an den Innenraum des Lochbodens 8 zwischen den Wandungen 9 und 11 angeschlossen ist. Über einen nur schematisch angedeuteten Anschluß 57 kann Sand, der in den Lochboden 8 während des normalen Betriebes eingedrungen ist, ausgespült werden, so daß dann der gleichmäßige Aufbau der fluidisierten Sandschicht 14 im normalen Betrieb wieder möglich wird.
Figur 9 zeigt eine Vorrichtung, die im wesentlichen auf der Ausführungsform der Figur 5 aufbaut. Jedoch ist hier eine erste Abzugseinrichtung 58 vorgesehen, mit der im wesentlichen organisches Material in der Flüssigkeit abgezogen wird. Eine zweite Abzugseinrichtung 59 dient im wesentlichen dem Abzug der Flüssigkeit, wobei auch hier organisches Material mit der Flüssigkeit abgezogen wird. Die Einrichtung 29 ist also in zwei getrennte Abfuhreinrichtungen aufgeteilt, die zweckmäßig auch unterschiedlich betrieben werden. Die Abzugseinrichtung 58 wird vorzugsweise diskontinuierlich und die Abzugseinrichtung 59 kontinuierlich betrieben. Die gesonderte erste Abzugseinrichtung 58 dient dazu, eine zu große Konzentration von organischem Material im Sammelraum 17 zu vermeiden, weil sonst die Gefahr besteht, daß insbesondere bei großer Beschickungsmenge einerseits der Verschmutzungsgrad des anorganischen Materials ansteigt, also die beabsichtigte Reinigung, des Sandes nur unzureichend eintritt, und andererseits vermehrt Feinsande über die Flüssigkeit ausgetragen werden. Um dies zu verhindern ist die gesonderte erste Abzugseinrichtung 58 vorgesehen, die ein fest angeordnetes Rohr 60 aufweisen kann, welches den Wandungsteil 4 des Behälters 1 durchdringt und damit unmittelbar Anschluß an den Sammelraum 17 für das organische Material hat. In dem Rohr 60 ist zweckmäßig ein Ventil 61 angeordnet, um die diskontinuierliche Abfuhr des organischen Materials gemäß Pfeil 62 zu ermöglichen. Anstelle eines fest angeordneten Rohres 60 kann auch eine Saugleitung 63 vorgesehen sein, die in getrichelter Linienführung angedeutet ist. Über diese in den Sammelraum 17 von oben etwa vertikal einragende Saugleitung 63 kann das organische Material in Richtung des Pfeiles 64 abgezogen werden. Die Saugleitung 63 bzw. ihr in den Sammelraum 17 einragendes Ende kann gamäß Doppelpfeil 65 höhenverstellbar angeordnet sein, um die Abfuhr von organischem Material in unterschiedlicher Tiefe des Sammelraums 17 zu ermöglichen. Die diskontinuierliche Abfuhr von organischem Material kann insbesondere in Stillstandszeiten des Ruhrwerks 40 durchgeführt werden, sodaß auch bei Anordnung eines weiteren Rührarms 66 an der Welle 41 im Bereich des Sammelraums 17 eine Absaugung auch unterhalb dieses Rührarms 66 erfolgen kann.
Grundsätzlich ist die Aufteilung der Einrichtung 29 in zwei gesonderte Abzugseinrichtungen 58 und 59 bei allen Ausführungsformen der Vorrichtung möglich, wobei die Abzugseinrichtung 58 stets in einem gewissen Abstand zu der fluidisierten Sandschicht 14 anzuordnen ist, um beim Abzug des organischen Materials möglichst wenig Sand mitauszutragen.
BEZUGSZEICHENLISTE
1 - Behälter 11 - Wandung
2 - Achse 12 - Leitung
3 - Wandungsteil 13 - Pumpe
4 - Wandungsteil 14 - Sandschicht
5 - Deckel 15 - Grenze
6 - Standbein 16 - Sandkorn
7 - Bereich 17 - Sammelraum
8 - Lochboden 18 - organisches Material
9 - Wandung 19 - Beschickungseinrichtung
10 - Durchbrechungen 20 - Pfeil
21 - Einlaßrohr 31 - Einfüllrohr
22 - Drallkammer 32 - Abzugseinrichtung
23 - Fallrohr 33 - Schneckenförder
24 - Diffusor 34 - Gehäuse
25 - Pfeil 35 - Welle
26 - Pfeil 36 - Förderwendel
27 - Wasserspiegel 37 - Pfeil
28 - Überlauf 38 - Bypass
29 - Einrichtung 39 - Rohr
30 - Abzugsrohr 40 - Rührwerk
41 - Welle 51 - Einsatz
42 - Motor 52 - Ringfläche
43 - Rührarm 53 - Durchtrittsfläche
44 - Rührarm 54 - Pfeil
45 - Auflagerplatte 55 - Reinigungsleitung
46 - Rand 56 - Reinigungseinrichtung
47 - Umgehungsleitung 57 - Anschluß
48 - Ventil 58 - Abzugseinrichtung
49 - Drucksonde 59 - Abzugseinrichtung
50 - Leitung 60 - Rohr
61 - Ventil
62 - Pfeil
63 - Saugleitung
64 - Pfeil
65 - Doppelpfeil
66 - Rührarm

Claims (13)

  1. Vorrichtung zum Abscheiden von organischem und anorganischem Material aus einer Flüssigkeit, insbesondere von organischen Verschmutzungen und Sand von Kläranlagen, mit einem Behälter (1) in Rundbauweise, der in seinem oberen Bereich eine Beschickungseinrichtung (19) für die Einleitung der Flüssigkeit und des organischen und anorganischen Materials in den Behälter (1) aufweist, mit einem Bypass (38) für die Überführung eines Teils des anorganischen Materials in eine im unteren Bereich (7) des Behälters (1) angeordnete Abzugseinrichtung (32) für das anorganische Material und einer Einrichtung (29) zur Abfuhr von organischem Material und von Flüssigkeit, dadurch gekennzeichnet, daß zwecks Ablösung des organischen Materials von dem anorganischem Material und zwecks Zerkleinerung des organischen Materials im unteren Bereich (7) des Behälters (1) eine fluidisierte Sandschicht (14) vorgesehen ist, die durch eine über einen Lochboden (8) verteilte und aufwärts gerichtete Strömung in Bewegung gehalten ist, daß der Behälter (1) im Anschluß an das obere Ende (15) der Ausdehnung der fluidisierten Sandschicht (14) einen sich nach oben anschließenden Sammelraum (17) für organisches Material (18) aufweist, und daß die Einrichtung (29) zur Abfuhr von organischem Material und von Flüssigkeit eine erste Abfuhreinrichtung (58) im wesentlichen für das organische Material (18) aus dem Sammelraum (17) und eine zweite Abfuhreinrichtung (59) im wesentlichen für die Flüssigkeit aufweist.
  2. Vorrichtung nach Anspruch 1, dadurch gekennzeichnet, daß die Beschickungseinrichtung (19) zentrisch angeordnet ist und eine Drallkammer (22), ein Fallrohr (23) und einen trompetenförmigen Diffusor (24) aufweist.
  3. Vorrichtung nach Anspruch 1, dadurch gekennzeichnet, daß der sich an das obere Ende (15) der Ausdehnung der fluidisierten Sandschicht (14) nach oben anschließende Sammelraum (17) für organisches Material (18) einen sich nach oben erweiternden Querschnitt aufweist.
  4. Vorrichtung nach einem der Ansprüche 1 bis 3, dadurch gekennzeichnet, daß im Behälter (1) ein Rührwerk (40) vorgesehen ist, das Rührarme (43, 44) aufweist, die im unteren Bereich der fluidisierten Sandschicht (14) unmittelbar oberhalb des Lochbodens und/oder oberhalb der fluidisierten Sandschicht im Anschluß an die Grenze zwischen der fluidisierten Sandschicht (14) und dem Sammelraum (17) für das organisches Material umlaufend angeordnet sind.
  5. Vorrichtung nach Anspruch 4, dadurch gekennzeichnet, daß in dem Behälter (1) horizontal ausgerichtet eine Auflagerplatte (45) mit geschlossener Oberfläche vorgesehen und einem Rührarm (44) des Rührwerks (40) zugeordnet ist.
  6. Vorrichtung nach Anspruch 1, dadurch gekennzeichnet, daß der Lochboden (8) doppelwandig ausgebildet ist, in seiner nach oben gerichteten Wandung (9) eine Vielzahl gleichmäßig über die Fläche verteilt angeordneter Durchbrechungen (10) aufweist und seine untere Wandung (11) geschlossen ausgebildet ist, und daß als Bypass (38) ein den Lochboden (8) in vertikaler Richtung durchsetzendes Rohr (39) vorgesehen ist.
  7. Vorrichtung nach Anspruch 6, dadurch gekennzeichnet, daß der doppelwandige Lochboden (8) zur Erzeugung der aufwärts gerichteten Strömung für die Fluidisierung der Sandschicht (14) an eine eine Pumpe (13) aufweisende Leitung (12) für Flüssigkeit angeschlossen ist.
  8. Vorrichtung nach einem der Ansprüche 1 bis 7, dadurch gekennzeichnet, daß in dem Behälter (1) ein etwa zylindrischer Einsatz (51) vorgesehen ist, dem der Lochboden (8) zugeordnet ist und der zur Begrenzung der Ausdehnung der fluidisierten Sandschicht (14) dient.
  9. Vorrichtung einem der Ansprüche 1 bis 8, dadurch gekennzeichnet, daß die fluidisierte Sandschicht (14) eine Ausdehnungshöhe von etwa 20 bis 40 cm aufweist.
  10. Vorrichtung nach Anspruch 6 oder 9, dadurch gekennzeichnet, daß in dem den Lochboden (8) durchsetzenden Rohr (39) ein Ventil (48) und im Behälter (1) im Anschluß an die fluidisierte Sandschicht (14) eine Drucksonde (49) vorgesehen sind, und daß das Ventil (48) über die Drucksonde (49) zum Konstanthalten der Ausdehnungshöhe der fluidisierten Sandschicht (14) steuerbar ist.
  11. Vorrichtung nach Anspruch 6, dadurch gekennzeichnet, daß der Lochboden (8) mit einer rückspülenden Reinigungseinrichtung (56) versehen ist.
  12. Vorrichtung nach Anspruch 1, dadurch gekennzeichnet, daß die erste Abzugseinrichtung (58) für das organische Material ein den Wandungsteil (4) des Behälters (1) im Bereich des Sammelraums (17) durchdringendes Rohr (60) aufweist.
  13. Vorrichtung naach Anspruch 1, dadurch gekennzeichnet, daß die erste Abzugseinrichtung (58) für das organische Material eine in den Sammelraum (17) etwa vertikal einragende Saugleitung (63) aufweist.
EP94928796A 1994-05-04 1994-09-22 Vorrichtung zum abtrennen von mit organischem material verschmutztem anorganischem material aus einer flüssigkeit Expired - Lifetime EP0707520B1 (de)

Applications Claiming Priority (3)

Application Number Priority Date Filing Date Title
DE4415647A DE4415647C2 (de) 1994-05-04 1994-05-04 Vorrichtung zum Abtrennen von mit organischem Material verschmutztem anorganischem Material aus einer Flüssigkeit
DE4415647 1994-05-04
PCT/EP1994/003167 WO1995030486A1 (de) 1994-05-04 1994-09-22 Vorrichtung zum abtrennen von mit organischem material verschmutztem anorganischem material aus einer flüssigkeit

Publications (2)

Publication Number Publication Date
EP0707520A1 EP0707520A1 (de) 1996-04-24
EP0707520B1 true EP0707520B1 (de) 1999-04-21

Family

ID=6517222

Family Applications (1)

Application Number Title Priority Date Filing Date
EP94928796A Expired - Lifetime EP0707520B1 (de) 1994-05-04 1994-09-22 Vorrichtung zum abtrennen von mit organischem material verschmutztem anorganischem material aus einer flüssigkeit

Country Status (6)

Country Link
US (1) US5641397A (de)
EP (1) EP0707520B1 (de)
JP (1) JP3634374B2 (de)
AT (1) ATE179095T1 (de)
DE (2) DE4415647C2 (de)
WO (1) WO1995030486A1 (de)

Cited By (1)

* Cited by examiner, † Cited by third party
Publication number Priority date Publication date Assignee Title
EP1516672A1 (de) 2003-09-22 2005-03-23 Hans Huber AG Maschinen- und Anlagenbau Vorrichtung zum Abtrennen von organischem Material von anorganischem Material

Families Citing this family (29)

* Cited by examiner, † Cited by third party
Publication number Priority date Publication date Assignee Title
DE19622962A1 (de) * 1996-06-07 1997-12-11 Gerd Meurer Abwassertechnik Gm Vorrichtung zum Trennen von in Flüssigkeit aufgeschwemmtem Verbundmaterial
DE29614456U1 (de) * 1996-08-21 1996-11-14 Feierabend, Andreas, 45326 Essen Vorrichtung zum Reinigen und Abtrennen von Sand aus einem Sand/Flüssigkeitsgemisch, insbesondere Sand/Wassergemisch
SG54572A1 (en) * 1996-10-04 1998-11-16 Nihon Genryo Co Ltd Sand washing apparatus
US6273106B1 (en) 1996-10-04 2001-08-14 Nihon Genryo Co., Ltd. Particulate matter washing apparatus and method
DE19823674A1 (de) * 1998-05-20 1999-12-02 Alfred Schymalla Vorrichtung zur Entfernung organischer Bestandteile aus Sand
DE19924164C2 (de) * 1999-02-18 2001-04-12 Bormet Maschb Gmbh Verfahren und Vorrichtung zur Separation von aus organischem und anorganischem Material zusammengesetzten Feststoffen aus einer mit Feststoffen vermischten Flüssigkeit und zur Abtrennung des anorganischen Materials aus dem Gemisch von organischen und anorganischem Material
RU2166372C2 (ru) * 1999-07-06 2001-05-10 Открытое акционерное общество "Рудгормаш" Гидравлический классификатор
RU2174447C2 (ru) * 1999-08-30 2001-10-10 ЗАО "Центртехнометалл" Гидравлический классификатор
EP1123723A1 (de) * 2000-02-10 2001-08-16 Fernando H. Garcia Vorrichtung zum Trennen von Feststoffpartikeln aus einer Flüssigkeit
DE10014944A1 (de) * 2000-03-21 2001-10-04 Berliner Wasserbetriebe Rechengutaufbereitungsanlage
SE518295C2 (sv) * 2000-10-12 2002-09-17 Laeckeby Water Ab Förfarande och anordning för avskiljning av lättare partiklar från tyngre partiklar i en vätska
FR2815714B1 (fr) * 2000-10-20 2003-01-03 Omnium Traitement Valorisa Installation de mesure de la concentration en materiau granulaire dense d'un ecoulement et systeme pour le traitement de l'eau incluant une telle installation
DE20112681U1 (de) 2001-08-08 2001-10-18 Egner Umwelttechnologie GmbH, 74740 Adelsheim Vorrichtung zur Behandlung eines Feststoff-Flüssigkeitsgemisches
US6668625B2 (en) * 2001-10-26 2003-12-30 Smith & Loveless, Inc. Measurement of the level of settled particles within a fluid vessel
DE10200599B4 (de) * 2002-01-10 2005-12-15 Hans Huber Ag Maschinen- Und Anlagenbau Vorrichtung zum Abscheiden von organischem und anorganischem Material aus einer Flüssigkeit
US6966987B1 (en) * 2002-01-11 2005-11-22 Process Efficiency Products, Inc. Tangentially fed media filter method and apparatus
RU2246996C2 (ru) * 2002-12-25 2005-02-27 Верхотуров Михаил Васильевич Концентратор гравитационный
JP4563073B2 (ja) * 2003-05-29 2010-10-13 正明 岡島 汚泥の洗浄方法ならびにその装置
DE10361786A1 (de) * 2003-12-31 2005-02-17 Kuhn, Jürgen Vorrichtung zum Trennen von mit organischem Material verschmutzten anorganischem Material aus einer Schmutzflüssigkeit
EP1765976A4 (de) * 2004-05-18 2007-10-03 Biomass Proc Technology Inc Ausflockungsverfahren und ausgeflockter organismus
DE102005048053A1 (de) * 2005-10-07 2007-04-12 Voith Patent Gmbh Messvorrichtung, insbesondere zur Messung von Entwässerungsmengen von Papiermaschinen
US7699177B2 (en) * 2006-03-20 2010-04-20 Parkson Corporation Method and apparatus for washing sand
FR2910822B1 (fr) * 2006-12-29 2009-02-27 Otv Sa Procede et installation de traitement d'eau par floculation lestee et decantation
DE102010010572A1 (de) * 2010-03-08 2011-09-08 Mahle International Gmbh Trockenseparator
WO2014183804A1 (en) * 2013-05-17 2014-11-20 Stigebrandt Hydroteknik Ab A separator and a method for separating solid particles from liquids
GB2556038A (en) * 2016-11-10 2018-05-23 Henry Coulton Richard Separator apparatus and method
CN110743247A (zh) * 2019-12-07 2020-02-04 新晃县污水处理有限责任公司 一种污水沉砂装置
CN113800713B (zh) * 2021-09-08 2024-01-09 黑龙江省捷浩建筑工程有限公司 一种生活污水处理装置及处理方法
EP4628183A1 (de) * 2024-04-02 2025-10-08 Stjernholm A/S Sand-köder-flüssigkeitstrennungsanlage, verwendung der anlage und verfahren zur verwendung der anlage

Family Cites Families (9)

* Cited by examiner, † Cited by third party
Publication number Priority date Publication date Assignee Title
FR1386847A (fr) * 1964-03-24 1965-01-22 Dorr Oliver Inc Appareil de classement hydraulique de commande automatique d'un siphon
US3579443A (en) * 1969-07-31 1971-05-18 Russell J Horst Formation of dense precipitates
US3940252A (en) * 1972-03-27 1976-02-24 Deutsche Gold- Und Silber-Scheideanstalt Vormals Roessler Apparatus for the releasing of materials from voluminous precipitates or suspensions
JPS6052111B2 (ja) * 1979-03-02 1985-11-18 日本化学工業株式会社 肥料造粒物の製造法
AT359009B (de) * 1979-06-20 1980-10-10 Szilikat Koezponti Kutato Hydraulische vibrations-entwaesserungs- einrichtung
JPS5742354A (en) * 1980-08-25 1982-03-09 Nagata Seisakusho:Kk Sorting device for granulated slag
SU1452586A1 (ru) * 1986-12-29 1989-01-23 Волжский Абразивный Завод Гидравлический классификатор
DE4118020A1 (de) * 1991-06-01 1992-12-03 Schauenburg Masch Verfahren zum abscheiden spezifisch leichter bestandteile aus einer truebe durch aufstromsortierung und messvorrichtung dazu
DE4224047C2 (de) * 1992-07-21 1998-03-26 Anton Felder Vorrichtung und Verfahren zur zentrischen Beschickung von Rundsandfängen und Sandklassierern in Rundbauweise

Cited By (2)

* Cited by examiner, † Cited by third party
Publication number Priority date Publication date Assignee Title
EP1516672A1 (de) 2003-09-22 2005-03-23 Hans Huber AG Maschinen- und Anlagenbau Vorrichtung zum Abtrennen von organischem Material von anorganischem Material
US7318527B2 (en) 2003-09-22 2008-01-15 Hans Huber Ag Maschinen-Und Anlagenbau Apparatus for separating organic material from inorganic material

Also Published As

Publication number Publication date
WO1995030486A1 (de) 1995-11-16
DE4415647A1 (de) 1996-02-15
JP3634374B2 (ja) 2005-03-30
JPH08512246A (ja) 1996-12-24
ATE179095T1 (de) 1999-05-15
EP0707520A1 (de) 1996-04-24
DE4415647C2 (de) 1996-10-02
DE59408147D1 (de) 1999-05-27
US5641397A (en) 1997-06-24

Similar Documents

Publication Publication Date Title
EP0707520B1 (de) Vorrichtung zum abtrennen von mit organischem material verschmutztem anorganischem material aus einer flüssigkeit
DE3885471T2 (de) Zentrifugale Verdichtungsmaschine.
DE2201188C3 (de) Verfahren und Vorrichtung zum Abtrennen von Teilchen aus einer Flüssigkeit in einem Becken
DE903681C (de) Verfahren und Vorrichtung zum Sieben auf nassem Wege
EP0592508B1 (de) Verfahren und vorrichtung zur verbesserung der aufbereitung von abwasser-feststoffen, sand, müll oder dergleichen
DE1642780A1 (de) Verfahren und Vorrichtung zum Reinigen und Fraktionieren von Suspensionen
DE2737009A1 (de) Vorrichtung zur reinigung von faserstoffsuspensionen
EP1516672B1 (de) Verfahren und Vorrichtung zum Abtrennen von organischem Material von anorganischem Material
DE1507697A1 (de) Verfahren und Vorrichtung zu rotierender Verarbeitung und Sortierung
DE69505850T2 (de) Mineralien-trenner
DE1931978A1 (de) Vorrichtung zur Behandlung von Schlammwasser
DE2133802A1 (de) Verfahren zur aufbereitung von mineralischen korngemengen nach der dichte und vorrichtung zur durchfuehrung des verfahrens
DE2630639C3 (de) Setzverfahren und -maschine zur Sortierung von Mineralkörnermischungen unterschiedlichen spezifischen Gewichts
DE3732008A1 (de) Verfahren zur aufbereitung von schadstoff-belasteten, insbesondere stichfesten sedimenten aus abwasserkanaelen und deren einrichtungen sowie von artverwandten stoffen und anlage zur durchfuehrung des verfahrens
DE19844006A1 (de) Sandwäsche
DE19622962A1 (de) Vorrichtung zum Trennen von in Flüssigkeit aufgeschwemmtem Verbundmaterial
EP0012461B1 (de) Kohlevergasungsanlage
DE19617501C2 (de) Verfahren zur Trennung der Bestandteile von kommunalen Reststoffen
DE4312540C1 (de) Verfahren zur Abtrennung von Feststoffen aus einer Suspension sowie Vorrichtung zu seiner Durchführung
WO1998028058A1 (de) Verfahren und vorrichtung zum kontinuierlichen filtern von flüssigkeiten
DE4410969C1 (de) Vorrichtung zum Trennen von leichtlöslichen Stoffen, Schwebestoffen und schwerlöslichen Stoffen aus einem Feststoff- oder Flüssigkeit-Feststoffgemisch
DE19721629C1 (de) Aufstromsortierer
DE69514836T2 (de) Siebvorrichtung
DE2349941A1 (de) Verfahren und vorrichtung zur nassfeinsiebung
DE2650458C3 (de) Anlage zum Entwässern von wäßrigen Aufschlämmungen von feinen Feststoffpartikeln

Legal Events

Date Code Title Description
PUAI Public reference made under article 153(3) epc to a published international application that has entered the european phase

Free format text: ORIGINAL CODE: 0009012

17P Request for examination filed

Effective date: 19960216

AK Designated contracting states

Kind code of ref document: A1

Designated state(s): AT CH DE FR GB LI NL SE

17Q First examination report despatched

Effective date: 19980316

GRAG Despatch of communication of intention to grant

Free format text: ORIGINAL CODE: EPIDOS AGRA

GRAG Despatch of communication of intention to grant

Free format text: ORIGINAL CODE: EPIDOS AGRA

GRAH Despatch of communication of intention to grant a patent

Free format text: ORIGINAL CODE: EPIDOS IGRA

GRAH Despatch of communication of intention to grant a patent

Free format text: ORIGINAL CODE: EPIDOS IGRA

GRAA (expected) grant

Free format text: ORIGINAL CODE: 0009210

AK Designated contracting states

Kind code of ref document: B1

Designated state(s): AT CH DE FR GB LI NL SE

REF Corresponds to:

Ref document number: 179095

Country of ref document: AT

Date of ref document: 19990515

Kind code of ref document: T

REG Reference to a national code

Ref country code: CH

Ref legal event code: NV

Representative=s name: DR. CONRAD A. RIEDERER PATENTANWALT

Ref country code: CH

Ref legal event code: EP

GBT Gb: translation of ep patent filed (gb section 77(6)(a)/1977)

Effective date: 19990421

REF Corresponds to:

Ref document number: 59408147

Country of ref document: DE

Date of ref document: 19990527

ET Fr: translation filed
PLBE No opposition filed within time limit

Free format text: ORIGINAL CODE: 0009261

STAA Information on the status of an ep patent application or granted ep patent

Free format text: STATUS: NO OPPOSITION FILED WITHIN TIME LIMIT

26N No opposition filed
REG Reference to a national code

Ref country code: GB

Ref legal event code: IF02

REG Reference to a national code

Ref country code: CH

Ref legal event code: NV

Representative=s name: RIEDERER HASLER & PARTNER PATENTANWAELTE AG

PGFP Annual fee paid to national office [announced via postgrant information from national office to epo]

Ref country code: NL

Payment date: 20090923

Year of fee payment: 16

REG Reference to a national code

Ref country code: NL

Ref legal event code: V1

Effective date: 20110401

PG25 Lapsed in a contracting state [announced via postgrant information from national office to epo]

Ref country code: NL

Free format text: LAPSE BECAUSE OF NON-PAYMENT OF DUE FEES

Effective date: 20110401

PGFP Annual fee paid to national office [announced via postgrant information from national office to epo]

Ref country code: SE

Payment date: 20120925

Year of fee payment: 19

Ref country code: GB

Payment date: 20120925

Year of fee payment: 19

PGFP Annual fee paid to national office [announced via postgrant information from national office to epo]

Ref country code: DE

Payment date: 20120613

Year of fee payment: 19

PGFP Annual fee paid to national office [announced via postgrant information from national office to epo]

Ref country code: CH

Payment date: 20121001

Year of fee payment: 19

Ref country code: FR

Payment date: 20121011

Year of fee payment: 19

PGFP Annual fee paid to national office [announced via postgrant information from national office to epo]

Ref country code: AT

Payment date: 20120924

Year of fee payment: 19

REG Reference to a national code

Ref country code: SE

Ref legal event code: EUG

PG25 Lapsed in a contracting state [announced via postgrant information from national office to epo]

Ref country code: SE

Free format text: LAPSE BECAUSE OF NON-PAYMENT OF DUE FEES

Effective date: 20130923

REG Reference to a national code

Ref country code: CH

Ref legal event code: PL

REG Reference to a national code

Ref country code: AT

Ref legal event code: MM01

Ref document number: 179095

Country of ref document: AT

Kind code of ref document: T

Effective date: 20130922

GBPC Gb: european patent ceased through non-payment of renewal fee

Effective date: 20130922

REG Reference to a national code

Ref country code: FR

Ref legal event code: ST

Effective date: 20140530

REG Reference to a national code

Ref country code: DE

Ref legal event code: R119

Ref document number: 59408147

Country of ref document: DE

Effective date: 20140401

PG25 Lapsed in a contracting state [announced via postgrant information from national office to epo]

Ref country code: GB

Free format text: LAPSE BECAUSE OF NON-PAYMENT OF DUE FEES

Effective date: 20130922

Ref country code: LI

Free format text: LAPSE BECAUSE OF NON-PAYMENT OF DUE FEES

Effective date: 20130930

Ref country code: CH

Free format text: LAPSE BECAUSE OF NON-PAYMENT OF DUE FEES

Effective date: 20130930

PG25 Lapsed in a contracting state [announced via postgrant information from national office to epo]

Ref country code: FR

Free format text: LAPSE BECAUSE OF NON-PAYMENT OF DUE FEES

Effective date: 20130930

Ref country code: AT

Free format text: LAPSE BECAUSE OF NON-PAYMENT OF DUE FEES

Effective date: 20130922

Ref country code: DE

Free format text: LAPSE BECAUSE OF NON-PAYMENT OF DUE FEES

Effective date: 20140401