EP0668418B1 - Arbeitsbühne - Google Patents

Arbeitsbühne Download PDF

Info

Publication number
EP0668418B1
EP0668418B1 EP95100037A EP95100037A EP0668418B1 EP 0668418 B1 EP0668418 B1 EP 0668418B1 EP 95100037 A EP95100037 A EP 95100037A EP 95100037 A EP95100037 A EP 95100037A EP 0668418 B1 EP0668418 B1 EP 0668418B1
Authority
EP
European Patent Office
Prior art keywords
staging
support
folded
floor
stage
Prior art date
Legal status (The legal status is an assumption and is not a legal conclusion. Google has not performed a legal analysis and makes no representation as to the accuracy of the status listed.)
Expired - Lifetime
Application number
EP95100037A
Other languages
English (en)
French (fr)
Other versions
EP0668418A1 (de
Inventor
Artur Dipl.-Ing. Schwörer
Current Assignee (The listed assignees may be inaccurate. Google has not performed a legal analysis and makes no representation or warranty as to the accuracy of the list.)
Peri GmbH
Original Assignee
Peri GmbH
Priority date (The priority date is an assumption and is not a legal conclusion. Google has not performed a legal analysis and makes no representation as to the accuracy of the date listed.)
Filing date
Publication date
Family has litigation
First worldwide family litigation filed litigation Critical https://patents.darts-ip.com/?family=6510620&utm_source=google_patent&utm_medium=platform_link&utm_campaign=public_patent_search&patent=EP0668418(B1) "Global patent litigation dataset” by Darts-ip is licensed under a Creative Commons Attribution 4.0 International License.
Priority claimed from DE4405289A external-priority patent/DE4405289C1/de
Application filed by Peri GmbH filed Critical Peri GmbH
Publication of EP0668418A1 publication Critical patent/EP0668418A1/de
Application granted granted Critical
Publication of EP0668418B1 publication Critical patent/EP0668418B1/de
Anticipated expiration legal-status Critical
Expired - Lifetime legal-status Critical Current

Links

Images

Classifications

    • EFIXED CONSTRUCTIONS
    • E04BUILDING
    • E04GSCAFFOLDING; FORMS; SHUTTERING; BUILDING IMPLEMENTS OR AIDS, OR THEIR USE; HANDLING BUILDING MATERIALS ON THE SITE; REPAIRING, BREAKING-UP OR OTHER WORK ON EXISTING BUILDINGS
    • E04G1/00Scaffolds primarily resting on the ground
    • E04G1/34Scaffold constructions able to be folded in prismatic or flat parts or able to be turned down
    • EFIXED CONSTRUCTIONS
    • E04BUILDING
    • E04GSCAFFOLDING; FORMS; SHUTTERING; BUILDING IMPLEMENTS OR AIDS, OR THEIR USE; HANDLING BUILDING MATERIALS ON THE SITE; REPAIRING, BREAKING-UP OR OTHER WORK ON EXISTING BUILDINGS
    • E04G17/00Connecting or other auxiliary members for forms, falsework structures, or shutterings
    • E04G17/002Workplatforms, railings; Arrangements for pouring concrete, attached to the form
    • EFIXED CONSTRUCTIONS
    • E04BUILDING
    • E04GSCAFFOLDING; FORMS; SHUTTERING; BUILDING IMPLEMENTS OR AIDS, OR THEIR USE; HANDLING BUILDING MATERIALS ON THE SITE; REPAIRING, BREAKING-UP OR OTHER WORK ON EXISTING BUILDINGS
    • E04G5/00Component parts or accessories for scaffolds
    • E04G5/06Consoles; Brackets
    • EFIXED CONSTRUCTIONS
    • E04BUILDING
    • E04GSCAFFOLDING; FORMS; SHUTTERING; BUILDING IMPLEMENTS OR AIDS, OR THEIR USE; HANDLING BUILDING MATERIALS ON THE SITE; REPAIRING, BREAKING-UP OR OTHER WORK ON EXISTING BUILDINGS
    • E04G5/00Component parts or accessories for scaffolds
    • E04G5/06Consoles; Brackets
    • E04G5/061Consoles; Brackets specially adapted for attachment to scaffolds
    • EFIXED CONSTRUCTIONS
    • E04BUILDING
    • E04GSCAFFOLDING; FORMS; SHUTTERING; BUILDING IMPLEMENTS OR AIDS, OR THEIR USE; HANDLING BUILDING MATERIALS ON THE SITE; REPAIRING, BREAKING-UP OR OTHER WORK ON EXISTING BUILDINGS
    • E04G5/00Component parts or accessories for scaffolds
    • E04G5/06Consoles; Brackets
    • E04G5/062Consoles; Brackets specially adapted for attachment to building walls

Definitions

  • the invention relates to a work platform for a scaffold, in particular for a scaffold in concrete formwork with supports that can be folded up onto the underside of the floor covering of the stage.
  • the supports supporting the stage floor are supported on the latter by hanging them in devices arranged on the building wall. It is known, for example FR-A-2 676 771, to fold the supports for stacking onto the underside of the stage floor covering. In known stages, however, a sufficiently flat lower surface of the folded stage is only obtained when the supports are so short that they do not overlap when folded up on the stage floor. However, this cannot always be achieved with a reasonable length of the stage section, especially not if a preferably removable sub-stage is provided below the main stage on the scaffold supports. Also the safety regulations for such work platforms often do not allow the length of the supports to be limited to the size which is approximately half the length of the platform, so that the supports can be folded under the platform without overlapping.
  • the invention has for its object to provide a working platform that has a folded flat surface when folded, but the supports have a length that ensures the safety of the working platform in any case.
  • the pivot axis of at least one support is movable at right angles to the floor surface of the stage.
  • the pivot axis of the support can be moved into a position in which, when the supports overlap when the stage is folded, each support lies in such a way that its lower surface runs parallel to the stage floor.
  • the folded stage has a flat lower surface, so that many of these stages can be stacked one above the other for storage or transport without the load capacity of the stage or its safety being reduced in the working state.
  • the guides in which the pivot axis is movably guided, can, for example, allow the support to be removed from the stage covering, for example if these guides are a closable slot which is open at the bottom.
  • the distance of the pivot axis of the support from the stage floor can only be changed by the amount that an overlying support assumes in the position folded toward the underside of the floor covering.
  • the pivot axis of a support is held to be displaceable at right angles to the floor surface of the stage by the thickness of a support.
  • This displacement of the pivot axis of a support can, as already mentioned, take place in that the part which forms the axis of rotation of the support is guided in a slot which is formed by at least one fitting.
  • the device for the axis of rotation of a support which is carried out at right angles to the floor covering, is realized in that the axis of rotation is rotatably mounted at the free end of a pivotally mounted lever.
  • a flat lower surface of a collapsed work platform that runs parallel to the stage floor is not only useful when stacking, but also when transporting, for example when the collapsed platform is to be transported with a forklift so that the folded supports are on the fork of the forklift.
  • the stage has a foot with which an upper stage is supported on the next lower stage when stacking several superimposed, folded stages.
  • a foot with which an upper stage is supported on the next lower stage when stacking several superimposed, folded stages.
  • Such feet can be attached to the underside of the floor covering, but can also be formed by a fitting, for example, which limits the slot for the displacement of the axis of rotation of the support.
  • the feet can be so long in embodiments of the invention that between two superimposed, folded stages, a space remains in which to transport the stage Fork of a forklift can be retracted.
  • a carrier can be arranged on the sides of the work platform, at least on its narrow side, the width of which projects below the lower surface of the stage floor by the amount that two folded supports take up.
  • the lower edge of this transverse beam can then form the support of a collapsed platform on the fork of a forklift truck, whereby, if feet are provided in these embodiments, these feet in turn protrude further down by the amount required to be on the floor or to easily insert the fork of a forklift to a next folded stage.
  • the displaceability of the pivot axis of a support can be realized by an elongated hole in a fitting attached to the underside of the stage covering.
  • the fitting for limiting the slot has a rod which at the same time forms the pivot bearing for a hook which is mounted in the fitting about an axis which is vertical in the working position of the platform. In a swiveled position, this hook serves as a support for the lower of the supports folded up on the stage floor.
  • the foldable stage section has a stage floor 1 which is supported on two supports 2 and 3, which have an approximately triangular shape in the embodiment shown.
  • the parallel to the wall plane, with the stage vertical 4 of each support has near its upper end a hook 5 or 5 'and about halfway up a hook 6 or 6' with which they are hung in appropriate loops or shoes can be attached to the wall of the building and through which the load of the stage is transferred to the building wall.
  • At the lower end of the vertical rod 4 there is also a device 7 or 7 'for support on the wall.
  • an oblique rod 8 or 8 ' extends upwards outward, where it is fastened at 9 or 9' to a cross rod 10 or 24 and beyond the fastening point 9 or 9 'a projection 11 or . 11 '.
  • the cross bar 10 with the vertical bar 4 is fastened at 9 or 9' to a cross rod 10 or 24 and beyond the fastening point 9 or 9 'a projection 11 or . 11 '.
  • Stiffening rods 12 and 13 are also used to stiffen the support 3, which in the illustrated embodiment also has the shape of a bracket like the support 2.
  • Devices are also provided on the stage floor in which a railing, designated as a whole, can be attached.
  • the storage of the supports 2 and 3 is described at one end of the stage in connection with the support 2. At the other end of the stage there is a mirror-image arrangement for mounting the support 3.
  • the crossbar 10 forms the axis of rotation about which the console 2 can be pivoted toward the underside of the stage floor 1 when the stage is removed.
  • a fitting 15 is used, which is shown on a larger scale in FIG. 2 and which is provided at both ends of the crossbar 10, that is to say on the inside of the stage facing the building wall and on the outside of the stage facing away from the building wall.
  • the fitting 15 has a plate 16 which extends downward from the edge of the stage floor 1 and at the same time forms a foot 28 for supporting the folded stage.
  • the plate 16 has on its inwardly directed edge 17 a support 18 for the cross bar 10.
  • a rod 19 is fastened, which together with the edge 17 delimits a slot 20 in which the crossbar 10 can move at right angles to the level of the stage floor 1 and thus change its distance from the lower surface of the stage floor.
  • a pivot lock 21 is pivotally mounted around the rod 19 and has a bearing surface 22.
  • the cross bar 10 In the working position, ie when it is suspended on the building wall and attached stage, the cross bar 10 is located at the upper end of the slot 20 and in the embodiment shown supports the stage floor 1 directly. However, this can also be done using appropriate intermediate pieces. If the stage is suspended, the weight of the supports moves the crossbar to the lower end of slot 20. The supports 2 and 3 are then folded in.
  • the pivot axis 24 of the support 3 is supported, as mentioned, on a fitting which is arranged at the end of the stage floor 1 which faces away from the end of the stage floor which is shown in FIG. 2. If the support 3 is pivoted clockwise about its pivot axis 24 to rest on the stage floor 1, the fuse 21 is first pivoted so far about the axis of the rod 19 that the lower end 7 'of the support 3 can be pivoted past the pivot lock 21 . The swivel lock 21 is then swiveled back into the path of the lower end of the support 3 and this lower end is placed on the bearing surface 22.
  • the cross bar 24, which forms the pivot axis of the support 3 is still at the lower end of the slot 20 of the fitting arranged there.
  • the support 2 is pivoted counterclockwise around the crossbar 10 to the underside of the stage floor 1 and the lower end of the support 2 is placed on the swivel lock 25, which is arranged on a fitting 23, which is arranged on the opposite end of the fitting 16 of the stage is.
  • the support comes to rest on the already pivoted-in support 3 and presses this support upward, so that its crossbar 24 moves into the upper end of the slot there. Since the end 7 of the support 2 on the swivel lock 25 and the crossbar 10 rests at the lower end of the slot 20, the support 2 runs flat and parallel to the stage floor 1.
  • each side end of the stage there is also a cross member 26 fastened to the narrow side of the stage floor, the leg 27 of which protrudes somewhat further down than the dimension required by the two supports 2 and 3 which are folded over one another.
  • the leg 27 therefore extends a little further below the stage floor 1 than the support 18, which is provided at the lower end of the slot.
  • this lower edge 29 then rests on the forklift, the fork of which can also rest on the cross tube 10, provided that at this end of the stage the cross bar 10 is in the lower position in the slot 20.
  • the fittings 16 and the corresponding devices such as the swivel lock can be arranged at all four corners of the stage floor 1 in embodiments of the invention.
  • the folded stage points to everyone Corner one foot
  • the two swivel locks on the outer edge have no function, but they can be useful when other than triangular brackets are used as supports, e.g. rectangular frames.
  • the fitting 16 can be designed so that the supports are removably attached to it, preferably in a form-fitting manner without the use of screws.
  • the invention can be implemented both on entire stages and on individual stage sections.

Landscapes

  • Engineering & Computer Science (AREA)
  • Architecture (AREA)
  • Mechanical Engineering (AREA)
  • Civil Engineering (AREA)
  • Structural Engineering (AREA)
  • Ladders (AREA)

Description

  • Die Erfindung bezieht sich auf eine Arbeitsbühne für ein Gerüst, insbesondere für ein Gerüst bei Betonschalungen mit an die Unterseite des Bodenbelages der Bühne heranklappbaren Stützen.
  • Bei bekannten Bühnen dieser Art werden die den Bühnenboden tragenden Stützen durch Einhängen in an der Bauwerkswand angeordneten Vorrichtungen an dieser abgestützt. Es ist bekannt, z.B. FR-A-2 676 771, die Stützen zum Stapeln an die Unterseite des Bühnenbodenbelages heranzuklappen. Man erhält aber bei bekannten Bühnen nur dann eine hinreichend ebene Unterfläche der zusammengeklappten Bühne, wenn die Stützen so kurz sind, daß sie in an den Bühnenboden herangeklapptem Zustand sich nicht überlappen. Dies kann jedoch bei vernünftiger Länge des Bühnenabschnittes nicht immer verwirklicht werden, insbesondere dann nicht, wenn an den Gerüststützen noch eine vorzugsweise abnehmbare Unterbühne unterhalb der Hauptbühne vorgesehen ist. Auch die Sicherheitsbestimmungen für derartige Arbeitsbühnen erlauben häufig nicht, die Länge der Stützen auf das Maß zu beschränken, das etwa der Hälfte der Länge der Bühne entspricht, so daß die Stützen unter die Arbeitsbühne geklappt werden können, ohne daß sie sich überlappen.
  • Der Erfindung liegt die Aufgabe zugrunde, eine Arbeitsbühne zu schaffen, die zusammengeklappt eine ebene Unterfläche aufweist, wobei jedoch die Stützen eine die Sicherheit der Arbeitsbühne in jedem Falle gewährleistende Länge aufweisen.
  • Diese Aufgabe wird gemäß der Erfindung dadurch gelöst, daß die Schwenkachse mindestens einer Stütze rechtwinklig zu der Bodenfläche der Bühne bewegbar ist. Dadurch kann die Schwenkachse der Stütze in eine Lage verschoben werden, in der, wenn sich die Stützen beim Zusammenklappen der Bühne überlagern, jede Stütze so liegt, daß deren untere Fläche parallel zum Bühnenboden verläuft. Dadurch hat die zusammengeklappte Bühne eine ebene Unterfläche, so daß sich viele dieser Bühnen zur Lagerung oder aber zum Transport übereinander stapeln lassen ohne daß im Arbeitszustand die Tragkraft der Bühne oder ihre Sicherheit verringert ist.
  • Die Führungen, in denen die Schwenkachse beweglich geführt ist, können beispielsweise erlauben, daß die Stütze vom Bühnenbelag entfernt werden kann, beispielsweise wenn es sich bei diesen Führungen um einen nach unten offenen verschließbaren Schlitz handelt. Bei Ausführungsformen der Erfindung ist jedoch der Abstand der Schwenkachse der Stütze vom Bühnenboden lediglich um das Maß veränderbar, das eine überliegende Stütze in der an die Unterseite des Bodenbelages herangeklappter Stellung einnimmt. Z. B. ist die Schwenkachse einer Stütze rechtwinklig zu der Bodenfläche der Bühne um die Dicke einer Stütze verschiebbar gehalten.
  • Diese Verschiebung der Schwenkachse einer Stütze kann, wie bereits erwähnt, dadurch erfolgen, daß das Teil, das die Drehachse der Stütze bildet, in einem Schlitz geführt wird, der durch mindestens einen Beschlag gebildet wird.
  • Bei anderen Ausführungsformen der Erfindung ist die rechtwinklig zu dem Bodenbelag erfolgende Vorrichtung der Drehachse einer Stütze dadurch verwirklicht, daß die Drehachse am freien Ende eines schwenkbar gelagerten Hebels drehbar gelagert ist.
  • Eine parallel zum Bühnenboden verlaufende ebene Unterfläche einer zusammengeklappten Arbeitsbühne ist nicht nur beim Stapeln nützlich, sondern auch beim Transportieren, beispielsweise wenn die zusammengeklappte Bühne mit einem belstapler so transportiert werden soll, daß die übereinandergeklappten Stützen auf der Gabel des Gabelstaplers liegen.
  • Um das Stapeln zusammengeklappter Bühnen weiter zu erleichtern, weist die Bühne einen Fuß auf, mit dem sich beim Stapeln mehrerer aufeinandergelegter, zusammengeklappter Bühnen eine obere Bühne auf der nächst unteren Bühne abstützt. Dadurch erhält ein Stapel von übereinander geschichteten, zusammengeklappten Arbeitsbühnen eine gute Stabilität. Derartige Füße können an der Unterseite des Bodenbelages befestigt sein, beispielsweise aber auch durch einen Beschlag gebildet sein, der den Schlitz für die Verschiebung der Drehachse der Stütze begrenzt. Die Füße können bei Ausführungsformen der Erfindung so lang sein, daß zwischen zwei übereinander angeordneten, zusammengeklappten Bühnen ein Zwischenraum verbleibt, in dem zum Transport der Bühne die Gabel eines Gabelstaplers eingefahren werden kann.
  • Bei Ausführungsformen der Erfindung kann an den Seiten der Arbeitsbühne, zumindest an ihrer Schmalseite, ein Träger angeordnet sein, dessen Breite unter die untere Fläche des Bühnenboden um das Maß herunterragt, das zwei übereinandergeklappte Stützen einnehmen. Der untere Rand dieses querverlaufenden Trägers kann dann die Abstützung einer zusammengeklappten Bühne auf der Gabel eines Gabelstaplers bilden, wobei, sofern bei diesen Ausführungsformen Füße vorgesehen sind, diese Füße wiederum um das Maß weiter nach unten ragen, das erforderlich ist, um bei auf dem Boden oder einer nächstunteren zusammengeklappten Bühne aufgelegten Bühne die Gabel eines Gabelstaplers bequem einzuführen.
  • Bei Ausführungsformen der Erfindung kann die Verschiebbarkeit der Schwenkachse einer Stütze durch ein Langloch in einem an der Unterseite des Bühnenbelages befestigten Beschlag verwirklicht werden.
  • Bei einer Ausführungsform der Erfindung weist der Beschlag zur Begrenzung des Schlitzes einen Stab auf, der zugleich das Schwenklager für einen Haken bildet, der um eine in Arbeitsstellung der Bühne senkrechte Achse in dem Beschlag gelagert ist. In einer Schwenklage dient dieser Haken als Auflage für die untere der an den Bühnenboden herangeklappten Stützen.
  • Weitere Merkmale der Erfindung ergeben sich aus der folgenden Beschreibung einer Ausführungsform der Erfindung in Verbindung mit den Ansprüchen und der Zeichnung.
  • Es zeigen:
  • Fig. 1
    Eine Ansicht der Bühne in Arbeitsstellung;
    Fig. 2
    eine gegenüber der Ansicht in Fig. 1 um 90° gedrehten Ansicht eines Einzelteiles in vergrößertem Maßstab in Richtung des Pfeiles II - II der Fig. 3;
    Fig. 3
    zeigt eine Aufsicht in Richtung des Pfeiles III der Fig. 2;
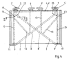
    Fig. 4
    eine Ansicht von unten im kleinerem Maßstab.
  • Bei der in der Zeichnung dargestellten Ausführungsform der Erfindung weist der klappbare Bühnenabschnitt einen Bühnenboden 1 auf, der auf zwei Stützen 2 und 3 sich abstützt, die bei der dargestellten Ausführungsform eine etwa dreieckige Form aufweisen. Der parallel zur Wandebene, bei aufgebauter Bühne senkrechte Stab 4 jeder Stütze weist in der Nähe seines oberen Endes einen Haken 5 bzw. 5' und etwa auf halber Höhe einen Haken 6 bzw. 6' auf, mit denen sie in entsprechende Schlaufen oder Schuhe eingehängt werden können, die in der Wand des Bauwerks befestigt sind und über die sich die Last der Bühne auf die Bauwerkswand überträgt. Am unteren Ende des senkrechten Stabes 4 befindet sich ebenfalls eine Vorrichtung 7 bzw. 7' zum Abstützen an der Wand. Von diesem unteren Ende der Stütze verläuft ein schräger Stab 8 bzw. 8' nach oben außen, wo er bei 9 bzw. 9' an einem Querstab 10 bzw. 24 befestigt und über die Befestigungsstelle 9 bzw. 9' hinaus noch einen Vorsprung 11 bzw. 11' aufweist. An dem der Stelle 9 abgewandten Ende ist der Querstab 10 mit dem senkrechten Stab 4, der Querstab 24 mit dem senkrechten Stab 4' starr verbunden. Zur Aussteifung der Stütze 3, die bei der dargestellten Ausführungsform ebenfalls wie die Stütze 2 die Form einer Konsole aufweist, dienen noch Aussteiffungsstäbe 12 und 13.
  • An dem Bühnenboden sind noch Vorrichtungen vorgesehen, in denen ein als ganzes mit 14 bezeichnetes Geländer befestigt werden kann.
  • Die Lagerung der Stützen 2 und 3 wird am einen Bühnenende in Verbindung mit der Stütze 2 beschrieben. Am anderen Ende der Bühne befindet sich zur Lagerung der Stütze 3 eine spiegelbildliche Anordnung. Der Querstab 10 bildet die Drehachse, um die die Konsole 2 an die Unterseite des Bühnenbodens 1 bei abgenommener Bühne herangeschwenkt werden kann. Hierzu dient ein Beschlag 15, der in Fig. 2 in größerem Maßstab dargestellt ist und der an beiden Enden des Querstabes 10 vorgesehen ist, also an der der Bauwerkswand zugewandten Innenseite der Bühne und an der der Bauwerkswand abgewandten äußeren Seite der Bühne. Der Beschlag 15 weist eine Platte 16 auf, die sich vom Rand des Bühnenbodens 1 nach unten erstreckt und zugleich einen Fuß 28 für die Abstützung der zusammengeklappten Bühne bildet. Die Platte 16 weist an ihrem nach innen gerichteten Rand 17 eine Auflage 18 für den Querstab 10 auf. In dem Beschlag 16 ist ein Stab 19 befestigt, der zusammen mit dem Rand 17 einen Schlitz 20 begrenzt, in dem der Querstab 10 sich rechtwinklig zur Ebene des Bühnenbodens 1 bewegen und damit seinen Abstand von der Unterfläche des Bühnenbodens verändern kann. Um den Stab 19 ist eine Schwenksicherung 21 schwenkbar gelagert, die eine Auflagefläche 22 aufweist.
  • In der Arbeitsstellung, d.h. bei an der Bauwerkswand eingehängter und befestigter Bühne befindet sich der Querstab 10 am oberen Ende des Schlitzes 20 und stützt bei der dargestellten Ausführungsform unmittelbar den Bühnenboden 1 ab. Dies kann aber auch über entsprechende Zwischenstücke erfolgen. Wird die Bühne abgehängt, so bewegt sich durch das Gewicht der Stützen der Querstab an das untere Ende des Schlitzes 20. Hierauf werden die Stützen 2 und 3 eingeklappt.
  • Die Schwenkachse 24 der Stütze 3 stützt sich wie erwähnt auf einem Beschlag ab, der an dem Ende des Bühnenbodens 1 angeordnet ist, das dem Ende des Bühnenbodens abgewandt ist, das in Fig. 2 dargestellt ist. Wird zunächst die Stütze 3 im Uhrzeigersinne um ihre Schwenkachse 24 zur Anlage an den Bühnenboden 1 verschwenkt, so wird die Sicherung 21 zunächst soweit um die Achse des Stabes 19 verschwenkt, daß das untere Ende 7' der Stütze 3 an der Schwenksicherung 21 vorbeigeschwenkt werden kann. Hierauf wird die Schwenksicherung 21 wieder in die Bahn des unteren Endes der Stütze 3 eingeschwenkt und dieses untere Ende auf der Auflagefläche 22 abgelegt. Dabei befindet sich der Querstab 24, der die Schwenkachse der Stütze 3 bildet, nach wie vor am unteren Ende des Schlitzes 20 des dort angeordneten Beschlages.
  • Nun wird die Stütze 2 gegen Uhrzeigersinn um den Querstab 10 an die Unterseite des Bühnenbodens 1 herangeschwenkt und das untere Ende der Stütze 2 auf die Schwenksicherung 25 aufgelegt, die an einem Beschlag 23 angeordnet ist, der auf der dem Beschlag 16 entgegengesetzen Ende der Bühne angeordnet ist. Dabei kommt die Stütze an der bereits eingeschwenkten Stütze 3 zur Anlage und drückt diese Stütze nach oben, so daß deren Querstab 24 in das obere Ende des dortigen Schlitzes wandert. Da das Ende 7 der Stütze 2 auf der Schwenksicherung 25 und der Querstab 10 am unteren Ende des Schlitzes 20 aufliegt, verläuft die Stütze 2 eben und parallel zu dem Bühnenboden 1.
  • An jedem seitlichen Ende der Bühne ist noch ein an der Schmalseite des Bühnenbodens befestigter Querträger 26 vorgesehen, dessen Schenkel 27 etwas weiter nach unten ragt als das Maß, das die beiden übereinandergeklappten Stützen 2 und 3 benötigen. Der Schenkel 27 reicht daher etwas weiter unter den Bühnenboden 1 herunter als die Auflage 18, die am unteren Schlitzende vorgesehen ist.
  • Die Platte 16, die den Fuß 28 für die zusammengeklappte Bühne bildet, reicht jedoch noch soweit nach unten, daß sich dann, wenn sich die Platte 16 auf einer Auflage abstützt, zwischen dem unteren Rand (Fuß 28) der Platte 16 und dem unteren Rand 29 des Schenkels 27 ein Zwischenraum verbleibt, der ausreicht, um mit der Gabel eines handelsüblichen Gabelstaplers bequem einfahren zu können. Beim Anheben liegt dann dieser untere Rand 29 auf dem Gabelstapler auf, dessen Gabel auch an dem Querrohr 10 anliegen kann, sofern an diesem Ende der Bühne der Querstab 10 in der unteren Position in dem Schlitz 20 sich befindet.
  • In der Platte 16 befindet sich noch ein Langloch 30, in dem ein Bolzen 31 geführt ist, der an einer Kranöse 32 befestigt ist, die nach oben über den Boden 1 herausgezogen werden kann, wenn die Bühne an den Kranhaken angehängt werden soll.
  • Die Beschläge 16 und die entsprechenden Einrichtungen wie die Schwenksicherung können bei Ausführungsformen der Erfindung an allen vier Ecken des Bühnenboden 1 angeordnet sein. Zum einen weist dann die zusammengeklappte Bühne an jeder Ecke einen Fuß auf, zum andern sind zwar bei der Verwendung von dreieckigen Konsolen als Stützen die beiden am äußeren Rand befindlichen Schwenksicherungen ohne Funktion, sie können jedoch nützlich sein, wenn andere als dreieckige Konsolen als Stützen verwendet werden, beispielsweise rechteckige Rahmen.
  • Der Beschlag 16 kann so ausgebildet sein, daß die Stützen abnehmbar an ihm befestigt sind, vorzugsweise formschlüssig ohne Verwendung von Schrauben.
  • Die Erfindung läßt sich sowohl an ganzen Bühnen als auch an einzelnen Bühnenabschnitten verwirklichen.

Claims (11)

  1. Arbeitsbühne für ein Gerüst, insbesondere bei Betonschalungen, mit an die Unterseite des Bodenbelages der Bühne heranklappbaren Stützen, dadurch gekennzeichnet, daß die Schwenkachse (10, 24) mindestens einer dieser Stützen (2, 3) rechtwinklig zu der Bodenfläche (1) der Bühne bewegbar ist.
  2. Bühne nach Anspruch 1, dadurch gekennzeichnet, daß der Abstand der Schwenkachse (10) der Stütze (2) von der Unterfläche des Bühnenbodens um das Maß veränderbar ist, das eine gegenüberliegende Stütze (3) in der an die Unterseite des Bodenbelages herangeklappter Stellung einnimmt.
  3. Bühne nach Anspruch 1 oder 2, dadurch gekennzeichnet, daß an der Unterseite des Bodenbelages Beschläge (16) vorgesehen sind, die einen Schlitz (20) begrenzen, in dem ein die Drehachse der Stütze (2, 3) bildendes Teil (10, 24) dreh- und verschiebbar geführt ist.
  4. Bühne nach Anspruch 1 oder 2, dadurch gekennzeichnet, daß die Bewegung der Drehachse der Stütze zur Veränderung ihres Abstandes von der Unterseite des Bodenbelages von einer Schwenkbewegung mindestens eines Hebels abgeleitet ist.
  5. Bühne nach einem der vorhergehenden Ansprüche, dadurch gekennzeichnet, daß die Bühne mindestens einen Fuß (28) aufweist, mit dem sich beim Stapeln mehrerer aufeinandergelegter, zusammengeklappter Bühnen eine obere Bühne auf der nächst unteren Bühne oder einer Auflage abstützt.
  6. Bühne nach Anspruch 5, dadurch gekennzeichnet, daß der Fuß (28) an mindestens einem der die Stützen der Bühne haltenden Beschlag (16) vorgesehen ist.
  7. Bühne nach Anspruch 5 oder 6, dadurch gekennzeichnet, daß der Fuß (16, 28) so lang ist, daß zwischen zwei aufeinandergelegten, zusammengeklappten Bühnen zumindest an der Schmalseite ein Zwischenraum verbleibt, dessen Höhe etwas größer ist als die Dicke der Gabel eines Gabelstaplers.
  8. Bühne nach einem der vorhergehenden Ansprüche, dadurch gekennzeichnet, daß an einem Ende der Bühne (1) eine Auflage (21, 22) vorgesehen ist, in die die am gegenüberliegenden Bühnenende gelagerte Stütze in an den Bühnenboden herangeklappten Zustand einlegbar ist.
  9. Bühne nach einem der vorhergehenden Ansprüche, dadurch gekennzeichnet, daß im Bereich des Bühnenbodens (1) ein Träger (26) vorgesehen ist, der Lagerstellen von Stützen längs oder quer verbindet.
  10. Bühne nach Anspruch 5 bis 10, dadurch gekennzeichnet, daß mindestens ein Fuß an dem Verbindungsträger (26) angeordnet ist.
  11. Bühne nach einem der vorhergehenden Ansprüche, mit Schmalseiten, dadurch gekennzeichnet, daß an ihren Schmalseiten ein Träger (26) angeordnet ist, dessen Breite unter die untere Fläche des Bühnenbodens weiter herunterragt als die Höhe, die zwei übereinandergeklappte Stützen einnehmen, und daß der untere Rand (29) dieses querverlaufenden Trägers (26) die Abstützung einer zusammengeklappten Bühne auf der Gabel eines Gabelstaplers bildet, und daß die Füße (16, 28) so weit weiter nach unten ragen, daß die Gabel des Gabelstaplers in diesen Zwischenraum zwischen zwei aufeindergestapelten, zusammengeklappten Bühnen Platz hat.
EP95100037A 1994-02-19 1995-01-03 Arbeitsbühne Expired - Lifetime EP0668418B1 (de)

Applications Claiming Priority (2)

Application Number Priority Date Filing Date Title
DE4405289 1994-02-19
DE4405289A DE4405289C1 (de) 1994-02-19 1994-02-19 Arbeitsbühne

Publications (2)

Publication Number Publication Date
EP0668418A1 EP0668418A1 (de) 1995-08-23
EP0668418B1 true EP0668418B1 (de) 1997-04-09

Family

ID=6510620

Family Applications (1)

Application Number Title Priority Date Filing Date
EP95100037A Expired - Lifetime EP0668418B1 (de) 1994-02-19 1995-01-03 Arbeitsbühne

Country Status (3)

Country Link
EP (1) EP0668418B1 (de)
DE (2) DE4447467C2 (de)
ES (1) ES2102890T3 (de)

Families Citing this family (2)

* Cited by examiner, † Cited by third party
Publication number Priority date Publication date Assignee Title
CN108797990A (zh) * 2018-06-15 2018-11-13 王秀丽 一种建筑施工用抹灰辅助装置
US12497789B2 (en) * 2021-03-02 2025-12-16 Werner Co. Interlocking work platform system

Family Cites Families (3)

* Cited by examiner, † Cited by third party
Publication number Priority date Publication date Assignee Title
US1837232A (en) * 1929-10-21 1931-12-22 Joseph Pavelka Hinge for electric grids
CH266847A (de) * 1949-01-28 1950-02-28 Fehrenbach Joseph Zusammenlegbarer Bock.
FR2676771B1 (fr) * 1991-05-21 1995-08-25 Al Cant Coffrages Perfectionnement aux consoles pignons repliables pour echafaudages ou analogues.

Also Published As

Publication number Publication date
DE59500165D1 (de) 1997-05-15
EP0668418A1 (de) 1995-08-23
DE4447467A1 (de) 1995-08-31
DE4447467C2 (de) 1997-02-06
ES2102890T3 (es) 1997-08-01

Similar Documents

Publication Publication Date Title
DE1958347C2 (de) Stapelbares Ladegestell mit schwenkbar gelagerten Eckstützen oder Stirnwänden
DE1967055A1 (de) Zusammenklappbare tragbare werkbank
DE3039079A1 (de) Zusammenlegbarer frachtgut-traeger
DE4113314A1 (de) Stapelbares traggestell fuer lager- und transportgut
DE102009050871B4 (de) Vorrichtung zum Transport von hängenden Kleidungsstücken
EP0668418B1 (de) Arbeitsbühne
DE2943274C2 (de) Stapelsicherung, bestehend aus wenigstens einer an einer vertikalen Stapelkante anliegenden Winkelschiene
DE4405289C1 (de) Arbeitsbühne
DE4135677A1 (de) Ladungstraeger
DE3728647A1 (de) Palette mit schutz- und stapelbuegeln
DE9421413U1 (de) Arbeitsbühne
EP0642980B1 (de) Palette zum Lagern und Transportieren von Gegenständen
DE3124360A1 (de) "mit fuessen versehener behaelter, insbesondere stapelbarer behaelter fuer landwirtschaftliche und industrielle zwecke"
DE9300111U1 (de) Transportbehälter, insbesondere Wäschetransportwagen
DE1193430B (de) Aufsteckgestell fuer Paletten mit rechtwinkliger Ladeflaeche
DE69405704T2 (de) Vorrichtung zum Aufsetzen von Lastträgern
DE20113396U1 (de) Vorrichtung zur Lagerung und zum Transport von Platten
EP0625619A1 (de) Gerüstbühne
DE1586870C (de) Zerlegbarer Aufsetzrahmen für Paletten
DE3117012A1 (de) Schutzkorb fuer krangabeln
DE20001120U1 (de) Transportfahrzeug
DE1556719C (de) Palettenartiges Transportmittel
DE10324358A1 (de) Glastransportgestell (AZL 2003 CF) mit verstellbaren Anlagen und in sich falt- und stapelbar
DE8431349U1 (de) Flaschenpalette
DE2152860A1 (de) Ladepalette mit klappbaren stuetzelementen

Legal Events

Date Code Title Description
PUAI Public reference made under article 153(3) epc to a published international application that has entered the european phase

Free format text: ORIGINAL CODE: 0009012

AK Designated contracting states

Kind code of ref document: A1

Designated state(s): DE ES FR GB IT

17P Request for examination filed

Effective date: 19950810

GRAG Despatch of communication of intention to grant

Free format text: ORIGINAL CODE: EPIDOS AGRA

GRAH Despatch of communication of intention to grant a patent

Free format text: ORIGINAL CODE: EPIDOS IGRA

17Q First examination report despatched

Effective date: 19960902

GRAH Despatch of communication of intention to grant a patent

Free format text: ORIGINAL CODE: EPIDOS IGRA

GRAA (expected) grant

Free format text: ORIGINAL CODE: 0009210

ITF It: translation for a ep patent filed
AK Designated contracting states

Kind code of ref document: B1

Designated state(s): DE ES FR GB IT

GBT Gb: translation of ep patent filed (gb section 77(6)(a)/1977)

Effective date: 19970410

REF Corresponds to:

Ref document number: 59500165

Country of ref document: DE

Date of ref document: 19970515

ET Fr: translation filed
REG Reference to a national code

Ref country code: ES

Ref legal event code: FG2A

Ref document number: 2102890

Country of ref document: ES

Kind code of ref document: T3

PLBE No opposition filed within time limit

Free format text: ORIGINAL CODE: 0009261

STAA Information on the status of an ep patent application or granted ep patent

Free format text: STATUS: NO OPPOSITION FILED WITHIN TIME LIMIT

26N No opposition filed
REG Reference to a national code

Ref country code: GB

Ref legal event code: IF02

PGFP Annual fee paid to national office [announced via postgrant information from national office to epo]

Ref country code: FR

Payment date: 20030124

Year of fee payment: 9

PGFP Annual fee paid to national office [announced via postgrant information from national office to epo]

Ref country code: GB

Payment date: 20030127

Year of fee payment: 9

PGFP Annual fee paid to national office [announced via postgrant information from national office to epo]

Ref country code: ES

Payment date: 20030130

Year of fee payment: 9

PG25 Lapsed in a contracting state [announced via postgrant information from national office to epo]

Ref country code: GB

Free format text: LAPSE BECAUSE OF NON-PAYMENT OF DUE FEES

Effective date: 20040103

PG25 Lapsed in a contracting state [announced via postgrant information from national office to epo]

Ref country code: ES

Free format text: LAPSE BECAUSE OF NON-PAYMENT OF DUE FEES

Effective date: 20040105

GBPC Gb: european patent ceased through non-payment of renewal fee

Effective date: 20040103

PG25 Lapsed in a contracting state [announced via postgrant information from national office to epo]

Ref country code: FR

Free format text: LAPSE BECAUSE OF NON-PAYMENT OF DUE FEES

Effective date: 20040930

REG Reference to a national code

Ref country code: FR

Ref legal event code: ST

PG25 Lapsed in a contracting state [announced via postgrant information from national office to epo]

Ref country code: IT

Free format text: LAPSE BECAUSE OF NON-PAYMENT OF DUE FEES;WARNING: LAPSES OF ITALIAN PATENTS WITH EFFECTIVE DATE BEFORE 2007 MAY HAVE OCCURRED AT ANY TIME BEFORE 2007. THE CORRECT EFFECTIVE DATE MAY BE DIFFERENT FROM THE ONE RECORDED.

Effective date: 20050103

REG Reference to a national code

Ref country code: ES

Ref legal event code: FD2A

Effective date: 20040105

PGFP Annual fee paid to national office [announced via postgrant information from national office to epo]

Ref country code: DE

Payment date: 20090122

Year of fee payment: 15

PG25 Lapsed in a contracting state [announced via postgrant information from national office to epo]

Ref country code: DE

Free format text: LAPSE BECAUSE OF NON-PAYMENT OF DUE FEES

Effective date: 20100803