EP0488147A2 - Bilderzeugungsgerät mit einer Reinigungseinheit für die Übertragungstrommel - Google Patents

Bilderzeugungsgerät mit einer Reinigungseinheit für die Übertragungstrommel Download PDF

Info

Publication number
EP0488147A2
EP0488147A2 EP91120151A EP91120151A EP0488147A2 EP 0488147 A2 EP0488147 A2 EP 0488147A2 EP 91120151 A EP91120151 A EP 91120151A EP 91120151 A EP91120151 A EP 91120151A EP 0488147 A2 EP0488147 A2 EP 0488147A2
Authority
EP
European Patent Office
Prior art keywords
transfer drum
holding surface
cleaner
paper
transfer material
Prior art date
Legal status (The legal status is an assumption and is not a legal conclusion. Google has not performed a legal analysis and makes no representation as to the accuracy of the status listed.)
Withdrawn
Application number
EP91120151A
Other languages
English (en)
French (fr)
Other versions
EP0488147A3 (en
Inventor
Atsushi Kano
Hiroshi Kono
Toshiyuki Osaka
Toshinobu Katafuchi
Shuji Yamada
Current Assignee (The listed assignees may be inaccurate. Google has not performed a legal analysis and makes no representation or warranty as to the accuracy of the list.)
Kyocera Mita Industrial Co Ltd
Original Assignee
Mita Industrial Co Ltd
Priority date (The priority date is an assumption and is not a legal conclusion. Google has not performed a legal analysis and makes no representation as to the accuracy of the date listed.)
Filing date
Publication date
Application filed by Mita Industrial Co Ltd filed Critical Mita Industrial Co Ltd
Publication of EP0488147A2 publication Critical patent/EP0488147A2/de
Publication of EP0488147A3 publication Critical patent/EP0488147A3/en
Withdrawn legal-status Critical Current

Links

Images

Classifications

    • GPHYSICS
    • G03PHOTOGRAPHY; CINEMATOGRAPHY; ANALOGOUS TECHNIQUES USING WAVES OTHER THAN OPTICAL WAVES; ELECTROGRAPHY; HOLOGRAPHY
    • G03GELECTROGRAPHY; ELECTROPHOTOGRAPHY; MAGNETOGRAPHY
    • G03G15/00Apparatus for electrographic processes using a charge pattern
    • G03G15/14Apparatus for electrographic processes using a charge pattern for transferring a pattern to a second base
    • G03G15/16Apparatus for electrographic processes using a charge pattern for transferring a pattern to a second base of a toner pattern, e.g. a powder pattern, e.g. magnetic transfer
    • G03G15/163Apparatus for electrographic processes using a charge pattern for transferring a pattern to a second base of a toner pattern, e.g. a powder pattern, e.g. magnetic transfer using the force produced by an electrostatic transfer field formed between the second base and the electrographic recording member, e.g. transfer through an air gap
    • G03G15/1635Apparatus for electrographic processes using a charge pattern for transferring a pattern to a second base of a toner pattern, e.g. a powder pattern, e.g. magnetic transfer using the force produced by an electrostatic transfer field formed between the second base and the electrographic recording member, e.g. transfer through an air gap the field being produced by laying down an electrostatic charge behind the base or the recording member, e.g. by a corona device
    • G03G15/165Arrangements for supporting or transporting the second base in the transfer area, e.g. guides
    • G03G15/1655Arrangements for supporting or transporting the second base in the transfer area, e.g. guides comprising a rotatable holding member to which the second base is attached or attracted, e.g. screen transfer holding drum
    • G03G15/166Arrangements for supporting or transporting the second base in the transfer area, e.g. guides comprising a rotatable holding member to which the second base is attached or attracted, e.g. screen transfer holding drum with means for conditioning the holding member, e.g. cleaning
    • GPHYSICS
    • G03PHOTOGRAPHY; CINEMATOGRAPHY; ANALOGOUS TECHNIQUES USING WAVES OTHER THAN OPTICAL WAVES; ELECTROGRAPHY; HOLOGRAPHY
    • G03GELECTROGRAPHY; ELECTROPHOTOGRAPHY; MAGNETOGRAPHY
    • G03G15/00Apparatus for electrographic processes using a charge pattern
    • G03G15/01Apparatus for electrographic processes using a charge pattern for producing multicoloured copies
    • G03G15/0105Details of unit
    • G03G15/0131Details of unit for transferring a pattern to a second base
    • GPHYSICS
    • G03PHOTOGRAPHY; CINEMATOGRAPHY; ANALOGOUS TECHNIQUES USING WAVES OTHER THAN OPTICAL WAVES; ELECTROGRAPHY; HOLOGRAPHY
    • G03GELECTROGRAPHY; ELECTROPHOTOGRAPHY; MAGNETOGRAPHY
    • G03G2215/00Apparatus for electrophotographic processes
    • G03G2215/01Apparatus for electrophotographic processes for producing multicoloured copies
    • G03G2215/0151Apparatus for electrophotographic processes for producing multicoloured copies characterised by the technical problem
    • G03G2215/0154Vibrations and positional disturbances when one member abuts or contacts another member
    • GPHYSICS
    • G03PHOTOGRAPHY; CINEMATOGRAPHY; ANALOGOUS TECHNIQUES USING WAVES OTHER THAN OPTICAL WAVES; ELECTROGRAPHY; HOLOGRAPHY
    • G03GELECTROGRAPHY; ELECTROPHOTOGRAPHY; MAGNETOGRAPHY
    • G03G2215/00Apparatus for electrophotographic processes
    • G03G2215/01Apparatus for electrophotographic processes for producing multicoloured copies
    • G03G2215/0167Apparatus for electrophotographic processes for producing multicoloured copies single electrographic recording member
    • G03G2215/0174Apparatus for electrophotographic processes for producing multicoloured copies single electrographic recording member plural rotations of recording member to produce multicoloured copy
    • G03G2215/018Linearly moving set of developing units, one at a time adjacent the recording member
    • GPHYSICS
    • G03PHOTOGRAPHY; CINEMATOGRAPHY; ANALOGOUS TECHNIQUES USING WAVES OTHER THAN OPTICAL WAVES; ELECTROGRAPHY; HOLOGRAPHY
    • G03GELECTROGRAPHY; ELECTROPHOTOGRAPHY; MAGNETOGRAPHY
    • G03G2215/00Apparatus for electrophotographic processes
    • G03G2215/16Transferring device, details
    • G03G2215/1647Cleaning of transfer member
    • G03G2215/1657Cleaning of transfer member of transfer drum

Definitions

  • the present invention relates generally to an image forming apparatus so adapted that a transfer material is held by holding means such as a transfer drum in transferring to the transfer material a toner image formed on a photosensitive drum. More particularly, it relates to an image forming apparatus having an improvement in a control operation of a cleaner provided for holding means such as a transfer drum.
  • a color copying machine having a transfer drum has been known (For example, U. S. Patent Nos. 4,766,463 and 3,729,311, and Japanese Patent Laid-Open Gazette No. 113481/1988).
  • a transfer process and a separation process are carried out.
  • a transfer material plain paper, a transparent resin sheet for an over head projector, label paper, a post card or the like
  • the transfer drum around which the transfer material is wound is synchronously rotated with it being abutted on a photosensitive drum, and an image formed on the photosensitive drum is transferred to the transfer material.
  • the separation process the transfer material to which the image is transferred is separated from the transfer drum.
  • the conventional color copying machine is generally made switchable between a monocolor mode in which a monochromatic image is obtained or a multicolor mode in which a color image having a plurality of colors fused with each other is obtained.
  • the transfer process is carried out only once, to obtain a monochromatic image.
  • the transfer process is carried out using three colors, that is, cyan, magenta and yellow or in some cases, four colors, that is, cyan, magenta, yellow and black such that the colors are fused with each other three or four times for each color, to obtain a color image.
  • a toner image may, in some cases, be erroneously transferred to the surface of the transfer drum which is not covered with the transfer material so that the surface of the transfer drum becomes dirty. If the dirt on the surface of the transfer drum is left, the transfer material is not sufficiently adsorbed by the transfer drum in winding the transfer material around the transfer drum, the reverse surface of the transfer material wound becomes dirty, and the toner image is not sufficiently transferred to the transfer material.
  • One of the prior arts of most particular interest to the present invention is a transfer drum cleaner which is described in Japanese Patent Laid-Open Gazette No. 57069/1981.
  • the transfer drum described in this gazette is provided on the downstream side of a separating claw and on the upstream side of a paper feeding path in the direction of rotation of a transfer drum.
  • a transfer material held by the transfer drum is separated from the transfer drum by the separating claw, the surface of the transfer drum from which the transfer material is separated is cleaned by the cleaner, and the transfer material is fed to the cleaned surface of the transfer drum from the paper feeding path.
  • the position of the transfer drum cleaner is not changed depending on an operation mode of a color copying machine. That is, in the above described prior art, when the operation mode of the color copying machine is in a monocolor mode and a multicolor mode, the transfer drum cleaner is abutted on the surface of the transfer drum or is separated therefrom at exactly the same timing. Particularly when monochromatic copies are continuously made in the monocolor mode, therefore, a switching operation of abutting the transfer drum cleaner on the surface of the transfer drum or separating the transfer drum cleaner therefrom must be frequently performed. Accordingly, in continuous copying in the monocolor mode, the position of the transfer drum cleaner must be frequently switched, so that there is a possibility of an adverse effect such as an abnormal sound or vibration due to the switching.
  • the present invention has been made so as to solve the above described problem and has for its object to provide an image forming apparatus capable of obtaining a good image without the possibility of an abnormal sound or vibration by changing a control method of a transfer drum cleaner.
  • such control is carried out in the multicolor mode that the transfer drum cleaner is abutted on the surface of a transfer material holding member for a constant time in synchronism with a separating operation of a separating claw or the like, while being separated from the surface thereof in the other times.
  • the transfer drum cleaner is always abutted on the surface of the transfer material holding member such that the surface of the holding member is always cleaned by the transfer drum cleaner, to eliminate frequent switching control of the transfer drum cleaner in the monocolor mode.
  • Fig. 1 is a cross sectional view showing the schematic construction of a full color copying machine 100 according to one embodiment of the present invention.
  • the full color copying machine 100 comprises a document mounting stand 3 for mounting a document and a reading sensor unit 4 for reading the contents of a document (not shown) mounted on the document mounting stand 3.
  • a lamp 5 for illuminating the document is contained in the reading sensor unit 4.
  • a moving device (not shown) for moving the reading sensor unit 4 in a direction indicated by an arrow X
  • a laser scan unit 6 which receives a signal from the reading sensor unit 4 for outputting laser light corresponding to the signal
  • Magenta, cyan, yellow and black toner particles are respectively contained in the four developing devices 81, 82, 83 and 84.
  • the four developing devices 81, 82, 83 and 84 are attached to an elevator mechanism 9 and are moved up and down by the elevator mechanism 9, so that any one of the developing devices is selectively abutted on the photosensitive drum 7.
  • a transfer drum 11 for holding a transfer material such as paper.
  • the peripheral surface of the photosensitive drum 11 is abutted on the peripheral surface of the photosensitive drum 7.
  • the photosensitive drum 11 is rotated in a direction indicated by an arrow Y at a peripheral speed which is equal to the peripheral speed of the photosensitive drum 7 as the photosensitive drum 7 is rotated.
  • a transferring corona discharger 15 is fixedly provided so as to be opposed to the position for transfer inside of the transfer drum 11.
  • the transferring corona discharger 15 discharges highfrequency AC for transferring the toner image on the photosensitive drum 7 to the paper held on the peripheral surface of the transfer drum 11.
  • the separating claw 1 and the cleaner 2 are not always brought into contact with the peripheral surface of the transfer drum 11 but are switched between an operating state where it is in close proximity to or abutted on the peripheral surface of the transfer drum 11 and a non-operating state where it is separated from the peripheral surface of the transfer drum 11.
  • two paper feeding cassettes 12a and 12b containing the paper serving as the transfer material, a manual paper feeding port 13 for manually feeding the paper, a paper conveying path 14 for conveying the paper into the transfer drum 11, a pair of registration rollers 10 for adjusting the timing of paper feeding to the transfer drum 11, a conveying belt 17 for conveying the paper separated from the transfer drum 11 by the separating claw 1, and a fixing device 18 which receives the paper conveyed by the conveying belt 17 for fixing the toner image on the paper.
  • Figs. 2 and 3 are enlarged cross sectional views illustrating the vicinity of a transfer drum 11. In Figs. 2 and 3, the internal structure of the transfer drum 11 is also shown.
  • Fig. 2 shows an instantaneous state where toner particles having the last color are transferred in a monocolor mode or a multicolor mode, and a clip holding the forward end of paper is opened so that the paper begins to be separated from the transfer drum 11.
  • Fig. 3 shows a state where toner particles having the first color or the second color are transferred in the multicolor mode.
  • a transfer drum 11 is rotated in a direction indicated by an arrow Y.
  • a pair of separating corona dischargers 16 is provided on the downstream side of a transferring corona discharger 15, a separating claw 1 for separating the paper from the transfer drum 11 is provided on the downstream of the separating corona dischargers 16, and a cleaner 2 for cleaning dirt on the peripheral surface of the transfer drum 11 is provided on the downstream side of the separating claw 1 on the basis of the direction of rotation of the transfer drum 11.
  • the separating claw 1 is provided so as to be displaceable by a solenoid 1 a between a state where it is in close proximity to the transfer drum 11 (a state shown in Fig. 2) and a state where it is separated from the transfer drum 11 (a state shown in Fig. 3).
  • the cleaner 2 has a casing 22, and a fur brush 21 provided in contact with the surface of the transfer drum 11 for removing dirt or abnormal matter adhering to the surface of the transfer drum 11, and a flicker 23 for sweeping the dirt or abnormal matter adhering to the fur brush 21 down are arranged in the casing 22.
  • the dirt or abnormal matter sweeped down from the fur brush 21 by the flicker 23 is contained in a dirt containing portion 24 provided in the lower end of the casing 22.
  • the cleaner 2 is made switchable by a solenoid 2a between a state where it is abutted on the transfer drum 11 (a state shown in Fig. 2) and a state where it is separated from the surface of the transfer drum 11 (a state shown in Fig. 3).
  • a shade 94 and a reference position detecting switch (TIM) 95 are disposed inside of the transfer drum 11.
  • the shade 94 is fixed to the transfer drum 11 and is rotated with the transfer drum 11.
  • the reference position detecting switch 95 is fixed to a predetermined position in the transfer drum 11 and is not rotated with the transfer drum 11. If the transfer drum 11 is rotated once, the shade 94 is rotated once.
  • the reference position detecting switch 95 provides a detection output. This detection output indicates the number of rotation of the transfer drum 11 and that the transfer drum 11 reaches a predetermined reference position.
  • a clip solenoid 91 is fixedly disposed in the transfer drum 11.
  • an arm member 92 which is swinged by the clip solenoid 91, and two pressing members 93a and 93b which are displaced outward in synchronism with the swing of the arm member 92 in a predetermined direction and are returned to the normal state in synchronism with the swing of the arm member 92 in the opposite direction.
  • the arm member 92 and the two pressing members 93a and 93b are disposed in a fixed state independently of the rotation of the transfer drum 11.
  • a recess portion 96 is formed in a predetermined position on the peripheral surface of the transfer drum 11, and a clip 97 is disposed within the recess portion 96.
  • the transfer drum 11 is rotated for a predetermined time from a reference position (for example, a position where the shade 94 crosses the reference position detecting switch 95)
  • the clip 97 is opposed to one of the pressing members 93a.
  • the clip solenoid 91 is turned on for a short time
  • the arm member 92 is swinged, and the pressing member 93a is displaced outward and is returned to the normal position in synchronism with the swing.
  • the clip 97 is opened for a short time and then, is closed by the displacement of the pressing member 93a. If the forward end of the paper is fed into the clip 97 from the paper feeding path 14 in synchronization with the opening and closing of the clip 97, therefore, the forward end of the paper is held by the clip 97.
  • the clip 97 is opposed to the other pressing member 93b. At this time, therefore, if the clip solenoid 91 is turned on for a short time to displace the other pressing member 93b by the arm member 92, the clip 97 can be opened for a short time, thereby to make it possible to release the holding of the forward end of the paper by the clip 97.
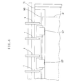
  • Fig. 4 the arrangement of the clip 97 and the separating claw 1 in the direction of the axis of the transfer drum 11 is as shown in Fig. 4.
  • two clips 97 are provided in a recess portion 96 formed in a transfer drum 11, and the clip 97 can hold the forward end of paper P.
  • Four separating claws 1 are arranged so as not to be overlapped with the clips 97 in the direction of the axis of the transfer drum 11, and enter a space between the paper P which is not held by the clip 97 and the peripheral surface of the transfer drum 11 to separate the paper P from the transfer drum 11.
  • Fig. 5 is a block diagram showing the construction of a control circuit of a full color copying machine 100 according to the present embodiment, which shows only portions associated with the present invention.
  • An operation panel 22 is provided on, for example, the upper surface of the full color copying machine 100, and comprises a multicolor mode setting key 22a and a monocolor mode setting key 22b.
  • a multicolor mode signal is applied to a CPU 23.
  • a monocolor mode setting key 22b is pressed, a monocolor mode signal is applied to the CPU 23.
  • the CPU 23 carries out on-off control of a clip solenoid 91, a separating claw solenoid 1 a and a cleaner solenoid 2a in synchronism with a copying operation of the full color copying machine 100 in response to the color mode signal applied.
  • Figs. 6A and 6B are timing charts showing the relation between the timing of the above described on-off control of the clip solenoid 91, the separating claw solenoid 1 a and the cleaner solenoid 2a by the CPU 23 and the timing of the opening and closing of the clip 97 (see Figs. 2 and 3) opened and closed by the clip solenoid 91.
  • Fig. 6A is a timing chart in a multicolor mode
  • Fig. 6B is a timing chart in a monocolor mode.
  • both the separating claw solenoid 1 a and the cleaner solenoid 2a are turned on so that the separating claw 1 and the cleaner 2 are in close proximity to or abutted on the surface of the transfer drum 11 at the time point where the rotation of the transfer drum 11 is started.
  • the clip solenoid 91 is turned on for a short time, so that the clip 97 is opened and closed in the position for paper feeding on the basis of the turn-on to hold the forward end of the paper P.
  • the separating claw solenoid 1 a and the cleaner solenoid 2a are turned off, so that the separating claw 1 and the cleaner 2 are separated from the surface of the transfer drum 11.
  • the transfer drum 11 is rotated four times so as to carry out the transfer process of a toner image having four colors.
  • the holding of the forward end of the paper is released by the opening of the clip 97 and at the same time, the separating claw 1 enters a space between the paper P and the transfer drum 11, to separate the forward end of the paper P from the surface of the transfer drum 11. Thereafter, the clip 97 is closed.
  • the cleaner solenoid 2a is turned on at the same time that the separating claw solenoid 1 a is turned on, so that the cleaner 2 is brought into contact with the surface of the transfer drum 11. Therefore, the surface of the transfer drum 11 from which the paper P is separated by the separating claw 1 is cleaned by the cleaner 2.
  • the timings when the separating claw solenoid 1 a and the cleaner solenoid 2a are turned on and off are exactly the same, the timing when the cleaner solenoid 2a is turned on or off may be delayed by a very short time from the timing when the separating claw solenoid 1 a is turned on or off.
  • the clip solenoid 91 is turned on for a short time at the timing when the clip 97 reaches the position for paper feeding after an elapse of a very short time since the timing when the transfer drum 11 reaches the reference position was detected by the reference position detecting switch 95 (see Fig. 2), so that the clip 97 is opened and closed.
  • the forward end of the paper P is fed into the clip 97, so that the forward end of the paper is held by the clip 97.
  • the paper P whose forward end is held by the clip 97 is rotated with it adhering to the surface of the transfer drum 11 by static electricity or the like.
  • the separating claw solenoid 1 a and the cleaner solenoid 2a are always turned on. Therefore, the separating claw 1 is always in close proximity to the surface of the transfer drum 11, and the cleaner 2 is always brought into contact with the surface of the transfer drum 11.
  • the separating claw 1 enters a space between the paper P whose forward end is not held by the opening and the surface of the transfer drum 11, so that the paper P is separated from the surface of the transfer drum 11.
  • the surface of the transfer drum 11 from which the paper P is separated is cleaned by the cleaner 2.
  • the cleaner solenoid 2a for bringing the cleaner 2 into contact with the surface of the transfer drum 11 or separating the cleaner 2 from the surface of the transfer drum 11 is controlled as described above, so that the cleaner solenoid 2a may be always turned on.
  • the separating claw solenoid 1 a for controlling the separating claw 1 may be always turned on in the monocolor mode.
  • the separating claw solenoid 1 a and the cleaner solenoid 2a may be always turned on in the monocolor mode, so that it is easy to control the two solenoids. Furthermore, the separating claw solenoid 1 a and the cleaner solenoid 2a need not be frequently turned on and/or off in continuous copying in the monocolor mode, so that there is no possibility of an abnormal sound, vibration or the like.
  • the separating claw 1 and the cleaner 2 are respectively controlled by separate solenoids 1 a and 2a, both may be controlled by the same solenoid. That is, since the separating claw 1 and the cleaner 2 are simultaneously in close proximity to or abutted on the surface of the transfer drum 11 and are simultaneously separated from the surface of the transfer drum 11, the separating claw 1 and the cleaner 2 can be also connected to each other such that they are controlled by a single solenoid.
  • the transfer drum may be replaced with a transfer material holding belt.

Landscapes

  • Physics & Mathematics (AREA)
  • General Physics & Mathematics (AREA)
  • Electrostatic Charge, Transfer And Separation In Electrography (AREA)
  • Cleaning In Electrography (AREA)
  • Control Or Security For Electrophotography (AREA)
  • Color Electrophotography (AREA)
EP19910120151 1990-11-30 1991-11-26 Image forming apparatus having transfer drum cleaner Withdrawn EP0488147A3 (en)

Applications Claiming Priority (2)

Application Number Priority Date Filing Date Title
JP340026/90 1990-11-30
JP2340026A JP2567520B2 (ja) 1990-11-30 1990-11-30 画像形成装置

Publications (2)

Publication Number Publication Date
EP0488147A2 true EP0488147A2 (de) 1992-06-03
EP0488147A3 EP0488147A3 (en) 1993-05-12

Family

ID=18333036

Family Applications (1)

Application Number Title Priority Date Filing Date
EP19910120151 Withdrawn EP0488147A3 (en) 1990-11-30 1991-11-26 Image forming apparatus having transfer drum cleaner

Country Status (2)

Country Link
EP (1) EP0488147A3 (de)
JP (1) JP2567520B2 (de)

Cited By (5)

* Cited by examiner, † Cited by third party
Publication number Priority date Publication date Assignee Title
EP0628894A3 (de) * 1993-06-10 1995-12-27 Canon Kk Bilderzeugungsgerät.
US5619746A (en) * 1993-07-30 1997-04-08 Canon Kabushiki Kaisha Image forming apparatus having recording material bearing member
EP0651298A3 (de) * 1993-10-30 1998-06-24 Canon Kabushiki Kaisha Bilderzeugungsgerät und Ölreiniger
EP0851317A3 (de) * 1996-12-26 1999-01-13 Canon Kabushiki Kaisha Farbbilderzeugungsgerät und Verfahren vom elektrophotographischen Typ
US6156624A (en) * 1996-04-08 2000-12-05 Canon Kabushiki Kaisha Method for production of SOI substrate by pasting and SOI substrate

Family Cites Families (6)

* Cited by examiner, † Cited by third party
Publication number Priority date Publication date Assignee Title
US2756676A (en) * 1953-05-04 1956-07-31 Haloid Co Method for the production of electrophotographic prints
JPS58211777A (ja) * 1982-06-03 1983-12-09 Canon Inc 像形成装置
JPS5945480A (ja) * 1982-09-07 1984-03-14 Canon Inc 電子写真画像記録装置における転写紙支持体のクリ−ニング制御方法
JPS63318859A (ja) * 1987-06-22 1988-12-27 Konica Corp 画像形成装置
US4899198A (en) * 1987-12-29 1990-02-06 Eastman Kodak Company Dual purpose cleaning apparatus
JPH0273378A (ja) * 1988-09-09 1990-03-13 Minolta Camera Co Ltd 多色画像形成装置

Cited By (7)

* Cited by examiner, † Cited by third party
Publication number Priority date Publication date Assignee Title
EP0628894A3 (de) * 1993-06-10 1995-12-27 Canon Kk Bilderzeugungsgerät.
US5619314A (en) * 1993-06-10 1997-04-08 Canon Kabushiki Kaisha Image forming apparatus
US5619746A (en) * 1993-07-30 1997-04-08 Canon Kabushiki Kaisha Image forming apparatus having recording material bearing member
EP0651298A3 (de) * 1993-10-30 1998-06-24 Canon Kabushiki Kaisha Bilderzeugungsgerät und Ölreiniger
US6156624A (en) * 1996-04-08 2000-12-05 Canon Kabushiki Kaisha Method for production of SOI substrate by pasting and SOI substrate
EP0851317A3 (de) * 1996-12-26 1999-01-13 Canon Kabushiki Kaisha Farbbilderzeugungsgerät und Verfahren vom elektrophotographischen Typ
US6470154B1 (en) 1996-12-26 2002-10-22 Canon Kabushiki Kaisha Color image forming apparatus having cleaning method for chromatic and mono-chromatic modes

Also Published As

Publication number Publication date
EP0488147A3 (en) 1993-05-12
JPH04204957A (ja) 1992-07-27
JP2567520B2 (ja) 1996-12-25

Similar Documents

Publication Publication Date Title
US7164877B2 (en) Image forming apparatus
US4984022A (en) Image forming apparatus having means for attenuating bias voltage of the developing sleeve
US5132736A (en) Transfer drum with different support position for resin sheet
EP0488147A2 (de) Bilderzeugungsgerät mit einer Reinigungseinheit für die Übertragungstrommel
US4483610A (en) Method of cleaning a transfer material supporting member in an image forming apparatus
JP3057121B2 (ja) 画像形成装置
US5523830A (en) Oil removing means for transfer material support member
JPS5926956B2 (ja) 多重転写装置
JPH0635262A (ja) 画像形成装置
JPH05188795A (ja) 画像形成装置
JP3283335B2 (ja) クリーニング装置
JP3655018B2 (ja) 画像形成装置
JP2921871B2 (ja) 画像形成装置
JPH0733242Y2 (ja) カラー画像形成装置の転写装置
JP2922622B2 (ja) 画像形成装置
JP2558674B2 (ja) 多重複写装置
JP3676017B2 (ja) 画像形成装置
JPH07191586A (ja) 画像形成装置
JP4078770B2 (ja) 画像形成装置
JPH09185271A (ja) 画像形成装置
JPH0253085A (ja) 画像形成装置
JPH04296784A (ja) 画像形成装置
JPH11344852A (ja) 画像形成装置
JPH06282177A (ja) 転写装置
JPS6172265A (ja) 画像形成装置

Legal Events

Date Code Title Description
PUAI Public reference made under article 153(3) epc to a published international application that has entered the european phase

Free format text: ORIGINAL CODE: 0009012

AK Designated contracting states

Kind code of ref document: A2

Designated state(s): DE FR GB IT

PUAL Search report despatched

Free format text: ORIGINAL CODE: 0009013

AK Designated contracting states

Kind code of ref document: A3

Designated state(s): DE FR GB IT

STAA Information on the status of an ep patent application or granted ep patent

Free format text: STATUS: THE APPLICATION IS DEEMED TO BE WITHDRAWN

18D Application deemed to be withdrawn

Effective date: 19931113