EP0486771B1 - Zylinderkopf für eine wassergekühlte Brennkraftmaschine - Google Patents

Zylinderkopf für eine wassergekühlte Brennkraftmaschine Download PDF

Info

Publication number
EP0486771B1
EP0486771B1 EP91114129A EP91114129A EP0486771B1 EP 0486771 B1 EP0486771 B1 EP 0486771B1 EP 91114129 A EP91114129 A EP 91114129A EP 91114129 A EP91114129 A EP 91114129A EP 0486771 B1 EP0486771 B1 EP 0486771B1
Authority
EP
European Patent Office
Prior art keywords
cylinder head
water
flange side
inlets
combustion engine
Prior art date
Legal status (The legal status is an assumption and is not a legal conclusion. Google has not performed a legal analysis and makes no representation as to the accuracy of the status listed.)
Expired - Lifetime
Application number
EP91114129A
Other languages
German (de)
English (en)
French (fr)
Other versions
EP0486771A1 (de
Inventor
Winfried Distelrath
Current Assignee (The listed assignees may be inaccurate. Google has not performed a legal analysis and makes no representation or warranty as to the accuracy of the list.)
Dr Ing HCF Porsche AG
Original Assignee
Dr Ing HCF Porsche AG
Priority date (The priority date is an assumption and is not a legal conclusion. Google has not performed a legal analysis and makes no representation as to the accuracy of the date listed.)
Filing date
Publication date
Application filed by Dr Ing HCF Porsche AG filed Critical Dr Ing HCF Porsche AG
Publication of EP0486771A1 publication Critical patent/EP0486771A1/de
Application granted granted Critical
Publication of EP0486771B1 publication Critical patent/EP0486771B1/de
Anticipated expiration legal-status Critical
Expired - Lifetime legal-status Critical Current

Links

Images

Classifications

    • FMECHANICAL ENGINEERING; LIGHTING; HEATING; WEAPONS; BLASTING
    • F02COMBUSTION ENGINES; HOT-GAS OR COMBUSTION-PRODUCT ENGINE PLANTS
    • F02FCYLINDERS, PISTONS OR CASINGS, FOR COMBUSTION ENGINES; ARRANGEMENTS OF SEALINGS IN COMBUSTION ENGINES
    • F02F1/00Cylinders; Cylinder heads 
    • F02F1/24Cylinder heads
    • F02F1/42Shape or arrangement of intake or exhaust channels in cylinder heads
    • F02F1/4235Shape or arrangement of intake or exhaust channels in cylinder heads of intake channels
    • FMECHANICAL ENGINEERING; LIGHTING; HEATING; WEAPONS; BLASTING
    • F02COMBUSTION ENGINES; HOT-GAS OR COMBUSTION-PRODUCT ENGINE PLANTS
    • F02FCYLINDERS, PISTONS OR CASINGS, FOR COMBUSTION ENGINES; ARRANGEMENTS OF SEALINGS IN COMBUSTION ENGINES
    • F02F1/00Cylinders; Cylinder heads 
    • F02F1/24Cylinder heads
    • F02F1/26Cylinder heads having cooling means
    • F02F1/36Cylinder heads having cooling means for liquid cooling
    • F02F1/40Cylinder heads having cooling means for liquid cooling cylinder heads with means for directing, guiding, or distributing liquid stream 
    • FMECHANICAL ENGINEERING; LIGHTING; HEATING; WEAPONS; BLASTING
    • F02COMBUSTION ENGINES; HOT-GAS OR COMBUSTION-PRODUCT ENGINE PLANTS
    • F02BINTERNAL-COMBUSTION PISTON ENGINES; COMBUSTION ENGINES IN GENERAL
    • F02B1/00Engines characterised by fuel-air mixture compression
    • F02B1/02Engines characterised by fuel-air mixture compression with positive ignition
    • F02B1/04Engines characterised by fuel-air mixture compression with positive ignition with fuel-air mixture admission into cylinder
    • FMECHANICAL ENGINEERING; LIGHTING; HEATING; WEAPONS; BLASTING
    • F02COMBUSTION ENGINES; HOT-GAS OR COMBUSTION-PRODUCT ENGINE PLANTS
    • F02FCYLINDERS, PISTONS OR CASINGS, FOR COMBUSTION ENGINES; ARRANGEMENTS OF SEALINGS IN COMBUSTION ENGINES
    • F02F1/00Cylinders; Cylinder heads 
    • F02F2001/008Stress problems, especially related to thermal stress
    • FMECHANICAL ENGINEERING; LIGHTING; HEATING; WEAPONS; BLASTING
    • F02COMBUSTION ENGINES; HOT-GAS OR COMBUSTION-PRODUCT ENGINE PLANTS
    • F02FCYLINDERS, PISTONS OR CASINGS, FOR COMBUSTION ENGINES; ARRANGEMENTS OF SEALINGS IN COMBUSTION ENGINES
    • F02F1/00Cylinders; Cylinder heads 
    • F02F1/24Cylinder heads
    • F02F2001/244Arrangement of valve stems in cylinder heads
    • F02F2001/247Arrangement of valve stems in cylinder heads the valve stems being orientated in parallel with the cylinder axis

Definitions

  • the invention relates to a cylinder head for a water-cooled internal combustion engine according to claim 1, first part.
  • US-A-2094893 discloses a cylinder head in which the gas exchange inlet and outlet channels are arranged according to the direct current principle, ie both channels open into a common wall that laterally delimits the cylinder head.
  • Such direct current heads offer advantages over so-called cross current heads in terms of the space required, since all the components used for supplying the mixture and exhaust gas are arranged on one side of the internal combustion engine.
  • the invention has for its object to design a generic cylinder head in such a way that improved cooling is achieved with a cylinder head that can be produced in a simple manner.
  • the almost diagonally running deck together with the collecting duct allows cross-flow cooling of each cylinder, which cools the cylinder head evenly and effectively, and a low-resistance outflow of the heated water through the collecting duct.
  • the diagonal course of the deck keeps the amount of water in the area of the spark plug inclined to a wall delimiting the cylinder head low and leads the water transversely and quickly to the area of the outlet duct which is highly thermally stressed.
  • the arrangement of the collecting channel in the oil-carrying area enables a straight, low-resistance design of this channel.
  • the inlets arranged on the underside of the cylinder head for the cooling water flowing from the crankcase into the cylinder head are dimensioned such that the inlets assigned to the thermally loaded flange side supply approximately 2/3 of the total amount of water.
  • the inner boundary wall of the collecting duct has a smooth surface and is connected to the deck, so that the entire oil-carrying area can be formed in one piece upwards when the cylinder head is cast.
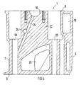
  • a cylinder head 1 of a water-cooled internal combustion engine has for each cylinder 2 an inlet duct 4 serving for gas exchange in a combustion chamber 3 and an outlet duct 5, both of which open into a flange side 6 which laterally delimits the cylinder head 1.
  • a delimiting wall 7 runs parallel to this flange side 6, and a cylinder head top 8 and a cylinder head bottom 9 of the cylinder head 1 run at right angles to this.
  • the gas exchange is controlled by a camshaft, not shown, held in bearings 10, which acts on cup tappets, not shown, mounted in bores 11 on valves, also not shown, sliding in guides 12.
  • Each combustion chamber 3 is assigned an ignition plug (not shown) which is inclined along an axis Z by means of an opening 13.
  • the deck 15 separates a water-carrying area W facing the combustion chamber 3 from an oil-carrying area S which receives the valve control.
  • the cylinder head underside 9 has inlets 17 and 18, which lead cooling water into the cylinder head 1 from a crankcase of the internal combustion engine, not shown.
  • the entrances 17 and 18 are connected to cavities 19 and 20, the cavity 19 washing around the inlet and outlet channels 4 and 5 and opening into the collecting channel 16 at its geodetically highest point via a connection 21.
  • the cavity 20 flows around the guide 12 and is connected to the cavity 19 adjacent to the deck 15.
  • transverse walls 22 are arranged in the cylinder head 1 between adjacent cylinders 2 and have receptacles 23 for cylinder head screws, lubricating oil bores 24 and openings 25.
  • cooling water flows through the entrances 17, 18 into the cavities 19, 20 and through the connection 21 into the collecting duct 16. With respect to each cylinder 2, cross-flow cooling is thus established, which ensures uniform and intensive cooling of the cylinders 2 Areas of the cylinder head 1 causes.
  • the flow resistance within the collecting channel 16 is very low, since it is not deflected, for example, by laying it in the oil-carrying area S. experienced through gas exchange channels. This low resistance causes a rapid flow through the cavities 19, 20 and thus rapid heating of the water in the starting phase of the internal combustion engine and effective cooling in continuous operation.
  • connection of an inner boundary wall 27 of the collecting duct 16 to the deck 15 and its smooth-surface design permit simple shaping of the oil-carrying area S when casting the cylinder head 1.
  • the openings 25 simplify the core bearings during casting, since only a single overall core is thus required, otherwise cores separated from each other by the transverse walls 22 would have to be stored for each cylinder 2.

Landscapes

  • Engineering & Computer Science (AREA)
  • Chemical & Material Sciences (AREA)
  • Combustion & Propulsion (AREA)
  • Mechanical Engineering (AREA)
  • General Engineering & Computer Science (AREA)
  • Cylinder Crankcases Of Internal Combustion Engines (AREA)
EP91114129A 1990-11-19 1991-08-23 Zylinderkopf für eine wassergekühlte Brennkraftmaschine Expired - Lifetime EP0486771B1 (de)

Applications Claiming Priority (2)

Application Number Priority Date Filing Date Title
DE4036810 1990-11-19
DE4036810A DE4036810C1 (cg-RX-API-DMAC7.html) 1990-11-19 1990-11-19

Publications (2)

Publication Number Publication Date
EP0486771A1 EP0486771A1 (de) 1992-05-27
EP0486771B1 true EP0486771B1 (de) 1993-09-29

Family

ID=6418534

Family Applications (1)

Application Number Title Priority Date Filing Date
EP91114129A Expired - Lifetime EP0486771B1 (de) 1990-11-19 1991-08-23 Zylinderkopf für eine wassergekühlte Brennkraftmaschine

Country Status (3)

Country Link
EP (1) EP0486771B1 (cg-RX-API-DMAC7.html)
DE (2) DE4036810C1 (cg-RX-API-DMAC7.html)
RU (1) RU1838648C (cg-RX-API-DMAC7.html)

Families Citing this family (6)

* Cited by examiner, † Cited by third party
Publication number Priority date Publication date Assignee Title
EP0744542B1 (de) 1995-05-22 1999-08-11 Dr.Ing.h.c. F. Porsche Aktiengesellschaft Zylinderkopf für eine wassergekühlte, mehrzylindrige Brennkraftmaschine
DE50312816D1 (de) * 2003-12-04 2010-07-29 Ford Global Tech Llc Zylinderkopf mit einem Kühlmittelmantel, der einen Kühlmantelkern und eine Entlüftungsleiste umfasst
DE102007027719B4 (de) * 2007-06-15 2015-05-13 Audi Ag Brennkraftmaschine mit einem Heizungskreislauf und einem Kühlkreislauf
AT506468B1 (de) 2009-03-24 2010-12-15 Avl List Gmbh Zylinderkopf einer brennkraftmaschine
DE102013113609B4 (de) 2013-12-06 2022-02-24 Dr. Ing. H.C. F. Porsche Aktiengesellschaft Kurbelgehäuse mit einer Kühlwasserverteilung für eine mehrzylindrige Brennkraftmaschine
JP6341100B2 (ja) * 2015-01-15 2018-06-13 トヨタ自動車株式会社 シリンダヘッド

Family Cites Families (5)

* Cited by examiner, † Cited by third party
Publication number Priority date Publication date Assignee Title
BE538641A (cg-RX-API-DMAC7.html) *
US2094893A (en) * 1933-09-02 1937-10-05 Continental Motors Corp Engine
GB1002846A (en) * 1963-02-27 1965-09-02 Vauxhall Motors Ltd Internal combustion engine cylinder head
GB1031571A (en) * 1964-01-14 1966-06-02 Henry Weslake Improvements in or relating to cylinder heads for internal combustion engines
DE3208341A1 (de) * 1982-03-09 1983-09-15 Klöckner-Humboldt-Deutz AG, 5000 Köln Zylinderkopf fuer eine wassergekuehlte brennkraftmaschine

Also Published As

Publication number Publication date
RU1838648C (ru) 1993-08-30
EP0486771A1 (de) 1992-05-27
DE59100434D1 (de) 1993-11-04
DE4036810C1 (cg-RX-API-DMAC7.html) 1991-12-05

Similar Documents

Publication Publication Date Title
DE2417925C2 (de) Flüssigkeitsgekühlte Mehrzylinder-Brennkraftmaschine
DE10202661B4 (de) Zylinderkopf für mehrere Zylinder
EP0952325A2 (de) Brennkraftmaschine
DE2825870A1 (de) Verbrennungsmotor
DE2839199C2 (de) Im Druckgießverfahren herstellbarer Zylinderkopf für wassergekühlte Brennkraftmaschinen
EP1516113B1 (de) Gekühlter zylinderkopf für eine kolbenbrennkraftmaschine
DE4437714C2 (de) Zylinderkopfabdeckung
DE102018116973B4 (de) Flüssigkeitsgekühltes Kurbelgehäuse für eine Brennkraftmaschine
DE3544213C2 (cg-RX-API-DMAC7.html)
DE1476397A1 (de) Wassergekuehlte Brennkraftmaschine
AT402325B (de) Zylinderkopf einer flüssigkeitsgekühlten brennkraftmaschine mit in reihe angeordneten zylindern
EP0486771B1 (de) Zylinderkopf für eine wassergekühlte Brennkraftmaschine
DE2824132A1 (de) Zylinderkopf fuer eine luftgekuehlte brennkraftmaschine
DE3326317C2 (cg-RX-API-DMAC7.html)
DE102004019853B4 (de) Zylinderkopfstruktur
DE602004001614T2 (de) Eine Mehrzylinderbrennkraftmaschine und Verfahren zur wahlweisen Herstellung der Mehrzylinderbrennkraftmaschinen
DE19701543B4 (de) Kühlanordnung in einem Motorblock
DE102009008237B4 (de) Brennkraftmaschine mit getrennten Kühlmittelräumen im Zylinderkopf
DE69519326T2 (de) Brennkraftmaschine
DE3546436C2 (de) Flüssigkeitsgekühlter Vierventil-Zylinderkopf für eine mehrzylindrige Brennkraftmaschine
AT5939U1 (de) Zylinderkopf
DE4001140C1 (en) Cylinder block for liquid cooled IC engine - has coolant channels in internal angle of V=shaped block
DE60028267T2 (de) Brennkraftmaschine und ihre Benutzung
DE69105568T2 (de) Kühlkreislauf eines Zylinderkopfes für eine Brennkraftmaschine.
DE4322030A1 (de) Brennkraftmaschine mit zwei Zylinderreihen

Legal Events

Date Code Title Description
PUAI Public reference made under article 153(3) epc to a published international application that has entered the european phase

Free format text: ORIGINAL CODE: 0009012

AK Designated contracting states

Kind code of ref document: A1

Designated state(s): DE FR GB IT SE

17P Request for examination filed

Effective date: 19920923

17Q First examination report despatched

Effective date: 19930219

ITF It: translation for a ep patent filed
GRAA (expected) grant

Free format text: ORIGINAL CODE: 0009210

AK Designated contracting states

Kind code of ref document: B1

Designated state(s): DE FR GB IT SE

REF Corresponds to:

Ref document number: 59100434

Country of ref document: DE

Date of ref document: 19931104

ET Fr: translation filed
GBT Gb: translation of ep patent filed (gb section 77(6)(a)/1977)

Effective date: 19931101

PLBE No opposition filed within time limit

Free format text: ORIGINAL CODE: 0009261

STAA Information on the status of an ep patent application or granted ep patent

Free format text: STATUS: NO OPPOSITION FILED WITHIN TIME LIMIT

PGFP Annual fee paid to national office [announced via postgrant information from national office to epo]

Ref country code: SE

Payment date: 19940809

Year of fee payment: 4

26N No opposition filed
EAL Se: european patent in force in sweden

Ref document number: 91114129.9

PG25 Lapsed in a contracting state [announced via postgrant information from national office to epo]

Ref country code: SE

Effective date: 19950824

EUG Se: european patent has lapsed

Ref document number: 91114129.9

PGFP Annual fee paid to national office [announced via postgrant information from national office to epo]

Ref country code: DE

Payment date: 19970812

Year of fee payment: 7

PGFP Annual fee paid to national office [announced via postgrant information from national office to epo]

Ref country code: GB

Payment date: 19970814

Year of fee payment: 7

PGFP Annual fee paid to national office [announced via postgrant information from national office to epo]

Ref country code: FR

Payment date: 19970829

Year of fee payment: 7

PG25 Lapsed in a contracting state [announced via postgrant information from national office to epo]

Ref country code: GB

Free format text: LAPSE BECAUSE OF NON-PAYMENT OF DUE FEES

Effective date: 19980823

GBPC Gb: european patent ceased through non-payment of renewal fee

Effective date: 19980823

PG25 Lapsed in a contracting state [announced via postgrant information from national office to epo]

Ref country code: FR

Free format text: LAPSE BECAUSE OF NON-PAYMENT OF DUE FEES

Effective date: 19990430

PG25 Lapsed in a contracting state [announced via postgrant information from national office to epo]

Ref country code: DE

Free format text: LAPSE BECAUSE OF NON-PAYMENT OF DUE FEES

Effective date: 19990601

REG Reference to a national code

Ref country code: FR

Ref legal event code: ST

PG25 Lapsed in a contracting state [announced via postgrant information from national office to epo]

Ref country code: IT

Free format text: LAPSE BECAUSE OF NON-PAYMENT OF DUE FEES;WARNING: LAPSES OF ITALIAN PATENTS WITH EFFECTIVE DATE BEFORE 2007 MAY HAVE OCCURRED AT ANY TIME BEFORE 2007. THE CORRECT EFFECTIVE DATE MAY BE DIFFERENT FROM THE ONE RECORDED.

Effective date: 20050823