EP0356375A2 - Verfahren zum Kaltpressen eines konischen Aussengewindes - Google Patents

Verfahren zum Kaltpressen eines konischen Aussengewindes Download PDF

Info

Publication number
EP0356375A2
EP0356375A2 EP89810017A EP89810017A EP0356375A2 EP 0356375 A2 EP0356375 A2 EP 0356375A2 EP 89810017 A EP89810017 A EP 89810017A EP 89810017 A EP89810017 A EP 89810017A EP 0356375 A2 EP0356375 A2 EP 0356375A2
Authority
EP
European Patent Office
Prior art keywords
workpiece
pressing
jaws
press
pressed
Prior art date
Legal status (The legal status is an assumption and is not a legal conclusion. Google has not performed a legal analysis and makes no representation as to the accuracy of the status listed.)
Granted
Application number
EP89810017A
Other languages
English (en)
French (fr)
Other versions
EP0356375B1 (de
EP0356375A3 (de
Inventor
Urs Kellner
Current Assignee (The listed assignees may be inaccurate. Google has not performed a legal analysis and makes no representation or warranty as to the accuracy of the list.)
BBR Bauverfahren AG
Original Assignee
BBR Bauverfahren AG
Priority date (The priority date is an assumption and is not a legal conclusion. Google has not performed a legal analysis and makes no representation as to the accuracy of the date listed.)
Filing date
Publication date
Application filed by BBR Bauverfahren AG filed Critical BBR Bauverfahren AG
Priority to AT89810017T priority Critical patent/ATE102855T1/de
Publication of EP0356375A2 publication Critical patent/EP0356375A2/de
Publication of EP0356375A3 publication Critical patent/EP0356375A3/de
Application granted granted Critical
Publication of EP0356375B1 publication Critical patent/EP0356375B1/de
Anticipated expiration legal-status Critical
Expired - Lifetime legal-status Critical Current

Links

Images

Classifications

    • BPERFORMING OPERATIONS; TRANSPORTING
    • B21MECHANICAL METAL-WORKING WITHOUT ESSENTIALLY REMOVING MATERIAL; PUNCHING METAL
    • B21KMAKING FORGED OR PRESSED METAL PRODUCTS, e.g. HORSE-SHOES, RIVETS, BOLTS OR WHEELS
    • B21K1/00Making machine elements
    • B21K1/56Making machine elements screw-threaded elements

Definitions

  • the present invention relates to a method for cold pressing a conical external thread at one end of a practically cylindrical workpiece and preferably a reinforcing steel, with a pressing tool which contains a plurality of pressing jaws which are arranged around a longitudinal axis and are at least radially displaceable to the latter and whose radially inner surfaces are individual Correspond to segments of a nut piece for the thread to be pressed, and a device for performing this method.
  • Conical threads enable a large number of threads to be engaged with one or just a few turns. They are therefore particularly suitable for fastening threads if the threaded bolt and / or the nut piece can only be turned with great effort when tightening or should only be displaced slightly in the axial direction.
  • conical threads A known use of conical threads is the mechanical connection of the butt-jointed ends of reinforcing steels for concrete.
  • the ends of the reinforcing steels, which are provided with conical external threads, are screwed together with a nut piece which has two opposing, conical threads.
  • conical external threads In the case of workpieces made of materials with relatively low toughness and hardness, for example wood screws made of aluminum, the conical external thread can be pressed directly into a cylindrical semi-finished product by means of radially displaceable press jaws.
  • EP patent application 85 80 810 610 (0 187 623) describes a method for producing a conical external thread on a workpiece made of a tough and hard material knows, in which the thread is cold pressed into a conically shaped end of a workpiece.
  • the pressing tool used to carry out this method has pressing jaws which are displaced in the axial direction in the conical interior of a guide sleeve and are pressed together or pulled apart in the radial direction.
  • This method enables threads to be produced which have the advantages of non-cutting deformation described above, and the relatively light, robust and easy-to-use device requires only those energy sources which are present at every construction site to operate.
  • the only disadvantage of this method or the device is that the part of the workpiece into which the conical thread is to be pressed must first be shaped conically.
  • the present invention was therefore based on the object of further developing the aforementioned method and the device used for carrying it out in such a way that conical threads can also be pressed into workpieces made of a relatively hard and tough material without the practically cylindrical workpiece having to be previously conically shaped .
  • the method according to the invention has the advantage that a conical thread can be cold-pressed into a practically cylindrical workpiece made of a hard and tough material without prior shaping of a conical surface, that only one device is required to carry out this method and that the cold pressing corresponds to a cold forging process , which causes grain refinement in the material and thus an increase in its strength.
  • method steps (2), (3), (4), (5) and (6) are preferably repeated at least once after method step (6) and method step (7) is then carried out.
  • Nete device contains a pressing tool with a guide sleeve, in the conical interior of which several pressing jaws are mounted displaceably along surface lines of the interior, as well as a pressure stamp, which is provided for moving the pressing jaws in the longitudinal direction of the interior, and is characterized by a holding device around the workpiece to hold in the longitudinal axis of the conical interior of the guide sleeve, and a feed device to move the holding device and / or the pressing tool relative to each other along the axis of the conical interior by a presettable feed path, and by a rotating device to the holding device and / or that Press tool relative to each other to rotate about the axis of the conical interior by a presettable angle.
  • the feed device is assigned a compensating cylinder which compensates for a change in length of the workpiece caused by the axial component of the displacement of the pressing jaws and by the flow of the material during the pressing process.
  • the device shown schematically in FIG. 1 contains a machine bed, not shown, to which a rotating device 11 and a feed device 12 can be fastened at an adjustable distance from one another.
  • a press tool 13 and a press 14 are held on the rotating device on the side facing the feed device.
  • a holding device 16 is arranged on the feed device 12. This holding device is provided for holding a rod-shaped workpiece 91 and is designed in the manner of a hydraulically actuated multi-jaw chuck.
  • the axis of rotation of the rotating device 11, the axis of symmetry of the pressing tool 13, and the axis of symmetry of the holding device 16 lie one inside the other, so that the pressing tool can be rotated about a rod-shaped workpiece held in the holding device with a suitable distance between the pressing tool and the holding device.
  • the rotating device 11 and the press 14 as well as the feed device 12 and the holding device 16 are actuated hydraulically and are connected to a hydraulic system 17 via hydraulic lines 21, 22, 23 and 24.
  • the hydrau Likanstrom contains a hydraulic pump, not shown, which generates a constant pressure of the hydraulic fluid during operation of the device.
  • At least one electrically controllable valve 26, 27, 28 and 29 is arranged in each hydraulic line and is connected to an electronic control circuit 36 via an electrical line 31, 32, 33 and 34.
  • the hydraulic lines 21 and 24 are designed in pairs between the valves 27 and 29, which makes it possible to reverse the direction of rotation of the rotating device 11 and to close and open the holding device 16.
  • the line 23 to the feed device consists of a plurality of lines (not shown) running parallel to one another, each of which contains a valve which can be controlled independently of the other valves, which will be described in detail with the aid of FIG. 4.
  • the electronic control circuit 36 is programmable for various uses of the device.
  • a control panel 37 is also provided, with a keypad for switching the device on and off and for setting the control circuit to a selected program.
  • the press 14 contains a hydraulic cylinder 41 in which a piston 42 is fitted so as to be displaceable in the axial direction.
  • the cylinder base 43 has a bore 44 which is provided for the connection of the hydraulic line 22.
  • a piston rod 46 is formed on the surface facing away from the working surface of the piston 42, the free end of which protrudes from the cylinder through the central opening of an annular cylinder cover 47.
  • a pressure stamp 48 is attached, the diameter of which is greater than is the diameter of the piston rod.
  • a compression spring 49 is placed around the part of the piston rod located in the cylinder, the ends of which abut the rear surface of the piston or the inner surface of the cylinder cover.
  • the pressing tool 13 contains a guide sleeve 51 which is fastened to the hydraulic press 14 in the region of the cylinder cover 47.
  • the guide sleeve has a conical interior 52, the largest diameter or base circle of which is adjacent to the plunger 48 and the smallest diameter or cover circle of which forms an opening 53 in the top surface of the press tool facing away from the press 14.
  • four grooves 56, 57, 58, 59, offset by 90 ° and having a T-shaped cross section are incorporated (FIG. 3).
  • the grooves run parallel to the surface lines of the conical interior and are therefore inclined at an angle ⁇ with respect to the longitudinal axis 61 of the pressing tool.
  • the press jaws have a T-shaped cross section with a two-armed guide beam and a press ram protruding therefrom.
  • Each press jaw is slidably mounted with its guide bar in an associated groove in the guide sleeve in the longitudinal direction of the press tool and connected to the pressure ram 48 by means of a screw 67, 68.
  • the screw heads are guided in the plunger in radial slots 69, 71 in order not to block the displacement in the radial direction superimposed on any displacement of the pressing jaws in the axial direction.
  • the inner surfaces of the press facing the center of the conical interior 52 jaws are inclined at an angle ⁇ with respect to the longitudinal axis 61.
  • the direction of inclination of this angle ⁇ is opposite to the direction of inclination of the angle ⁇ , and the angle ⁇ is smaller than the angle ⁇ .
  • the inner surfaces of the press jaws are circular in cross-section and have a surface profile that corresponds to a corresponding part of a nut piece for the conical external thread to be pressed.
  • the feed device contains a housing 72, in which several and in the exemplary embodiment shown three piston-cylinder arrangements connected in series are installed.
  • the first piston-cylinder arrangement consists of a first cylinder 73 permanently installed in the housing, to which pressure fluid lines 123 'and 123 und are connected.
  • a cylinder 77 which is displaceable in the second housing 72 is fastened to the piston rod 76 of the piston 74 sliding in the first cylinder.
  • the pressure fluid lines 223 'and 223 ⁇ are connected.
  • On the piston rod 79 of the piston 78 sliding in the second cylinder a third cylinder 81 is attached to the pressure fluid lines 323 'and 323 ⁇ are connected.
  • the piston 82 sliding in the third cylinder is rigidly connected by means of a piston rod 83 to a piston 84 of the length compensation device 71.
  • the stroke of the pistons in the three piston-cylinder arrangements is of different lengths, which makes it possible to move the piston 84 in the length compensation device by predetermined total lengths by displacing one, two or even all three pistons.
  • the working space 86 of length compensation Direction is connected to the hydraulic system 17 via the line 23A and is filled with the pressure fluid at the beginning of each working cycle, so that with each displacement of the piston 84 (to the right in FIG. 4) the cylinder 87, which, like the cylinders of the displacement device in the Housing 72 is slidably moved to the right.
  • the cylinder 87 is mechanically or indirectly mechanically connected to the holding device 16 for the workpiece, so that the holding device 16 is also displaced in accordance with the displacement of the cylinder 87.
  • a further pressure fluid line 23B is connected to the cylinder 87 of the length compensation device 71 or to the pressure fluid line 23A connected to this cylinder.
  • This line contains a pressure relief valve 88, which opens as soon as the pressure in the working space 86 exceeds a predetermined value, as will be explained below.
  • the "ON" button is first pressed on the control panel 37, which then activates the electronic control circuit 36 and the hydraulic system 17.
  • the control circuit sets the valve 27 in a first position in which hydraulic fluid flows into the cylinder 41 of the press 14 and displaces the piston 42 against the force of the spring 49 (to the right in FIG. 2).
  • the pressing jaws 62, 63, 64 and 65 are also displaced in the axial direction and, due to the inclination of the guide grooves 56, 57, 58, 59, are also moved together in the radial direction with respect to the longitudinal axis of the pressing tool until their side faces abut one another.
  • valve 29 is also in a adjusted first position, in which the inflowing hydraulic fluid pulls the holding jaws of the holding device 16 apart in the radial direction.
  • the rod-shaped workpiece 91 can then be inserted in the direction of the arrow 92 between the opened holding jaws as far as the stop on the compressed pressing jaws.
  • the key data of the workpiece important for the cycle in particular the diameter of the workpiece, or the nominal diameter and the length of the conical thread to be pressed and at least one the material are entered into the electronic control circuit using the keypad on the control panel 27 characteristic of the workpiece.
  • the entered characteristic values then determine which of several work programs stored in the control circuit is to be carried out.
  • the work cycle begins as soon as the "START" button is pressed on the control panel.
  • the valve 29 is switched to a second position in which the holding jaws move together until the workpiece is clamped.
  • the valve 27 is controlled into its second position, in which the cylinder 41 of the press is ventilated and the spring 49 pulls the piston 42 together with the press jaws 62, 63, 64, 66 back into the rest position shown in FIG. 2.
  • the valve 28 is controlled into a first position in which the hydraulic fluid flowing through displaces the feed device 12 and thus also the holding device 16 and the workpiece 91 held by it by a predetermined distance in the direction of the pressing tool 13 or between the pressing jaws .
  • the valve 27 is controlled again into its first position, in which the pressing jaws are displaced in the axial direction and at the same time pressed together and pressed into the workpiece until their side faces abut one another.
  • the pressure relief valve 88 opens and enables a rearward displacement of the cylinder 87 together with the holding device attached to it, until the pressure of the workpiece has dropped to a tolerable value.
  • the valve 27 is controlled into the second position, whereby the press jaws are pulled apart again in the radial direction.
  • the valve 26 is controlled into the first position, so that the rotating device 11 and with it the press 14 and the pressing tool are rotated 45 ° to the left.
  • the valve 27 is again moved into the first position, the pressing jaws of the pressing tool being moved together again in the radial direction and the burr which has formed during the pressing of the conical thread in the region of the lateral edges of the pressing jaws being pressed out.
  • the pressing jaws are first pulled apart again and then the pressing tool is turned 45 ° to the right into its starting position. The workpiece with a cold pressed ko African thread can then be removed from the device.
  • the end of a work cycle is always the work steps six and seven described above, with which the burr that is unavoidable when pressing the conical thread is pressed into the workpiece.
  • conical threads were pressed into reinforcing steels.
  • Each reinforcing steel had a diameter of 40 mm.
  • the conical thread had a cone of 6 °, a pitch of 4 mm and a flank angle of 90 °, corresponding to a pitch of 2 mm or half the pitch.
  • the pressing tool used contained four pressing jaws, each of which had a cross section when viewed in the axial direction, that corresponded to a quarter circle.
  • the pressure of the press was up to 650 bar in the axial direction, whereby a pressing pressure of the press jaws of up to 850 t was achieved in the radial direction.
  • the described device and its devices can be modified in many ways and adapted to special working conditions.
  • a press instead of a press that is moved hydraulically into the working position and into the rest position by means of a spring, a press can be used that is moved hydraulically in both directions.
  • a feed device with only one cylinder can be used, the feed of which is controlled by the amount of hydraulic fluid introduced.
  • the pressure relief valve 88 can also be connected to this cylinder and the longitudinal compensation device can be dispensed with.
  • the device can be assembled from commercially available components and groups, and it is assumed that the electronic control and hydraulic system for controlling or actuating the individual devices are known to any person skilled in the art, for which reason a detailed description of these devices is dispensed with.

Landscapes

  • Engineering & Computer Science (AREA)
  • Mechanical Engineering (AREA)
  • Forging (AREA)
  • Metal Extraction Processes (AREA)
  • Casting Or Compression Moulding Of Plastics Or The Like (AREA)
  • Yarns And Mechanical Finishing Of Yarns Or Ropes (AREA)

Abstract

Zur Ausführung des Verfahrens wird ein Presswerkzeug (13) verwen­det, das mehrere Pressbacken (62,63,64,66) aufweist, die um eine Längsach­se (61) angeordnet und radial zu dieser verschiebbar sind. Die radial inneren Flächen der Pressbacken entsprechen Segmenten des zu pressenden konischen Gewindes.
Beim Pressen eines konischen Gewindes in ein zylindrisches Werkstück (91) werden die Pressbacken (62,63,64,66) zuerst in radialer Richtung auseinandergezogen und dann das Werkstück (91) auf eine Länge, die nur wenigen Gewindegängen entspricht, zwischen die Pressbacken (62,63,64,66) geschoben. Die Pressbacken (62,63,64,66) werden dann zusammen­gepresst, um ein kurzes konischen Gewinde, bei dem mögli­cherweise nur der erste Gang bis zur vollen Tiefe ausgeformt ist, in das Werkstück (91) zu pressen. Nach dem Auseinanderziehen der Pressbacken (62,63,64,66) wird das Werkstück (91) um eine weitere Länge, die wiederum nur wenigen Gewindegängen entspricht, zwischen die Pressbacken (62,63,64,66) geschoben. Beim erneuten Zusammenpressen der Backen (62,63,64,66) werden die vorgängig gepressten Gewindegänge tiefer in das Werkstück (91) eingepresst und zusätzliche Gewindegänge angeformt. Dieser Vorgang wird mehrfach wiederholt, bis das konische Gewinde auf der vorgegebenen Gesamtlänge ausge­presst ist.
Jedesmal, wenn die Pressbacken (62,63,64,66) auseinandergezogen sind, wird das Werkstück (91) um einen Winkel gedreht, der einem Teil des Kreissektors eines Pressbackens entspricht, um das Aufwerfen eines Grats zwischen den zusammengeschobenen Pressbacken (62,63,64,66) zu vermeiden.
Eine zur Ausführung des Verfahrens geeignete Vorrichtung weist eine elektronisch gesteuerte Hydraulikanlage (17) auf, die in Abhängigkeit vom Durchmesser des Werkstücks (91) das Auseinan­derziehen und Zusammmenpressen der Pressbacken (62,63,64,66) sowie das Verschieben und Drehen des Werkstücks (91) bewirkt.

Description

  • Die vorliegende Erfindung betrifft ein Verfahren zum Kalt­pressen eines konischen Aussengewindes an einem Ende eines praktisch zylindrischen Werkstücks und vorzugsweise eines Armierungsstahls, mit einem Presswerkzeug, das mehrere Pressbacken enthält, die um eine Längsachse angeordnet und mindestens radial zu dieser verschiebbar sind und deren ra­dial innere Flächen einzelnen Segmenten eines Mutterstücks für das zu pressende Gewinde entsprechen, sowie eine Vorrichtung zur Ausführung dieses Verfahrens.
  • Konische Gewinde ermöglichen, mit einer oder nur wenigen Um­drehungen eine Vielzahl von Gewindegängen in Eingriff zu bringen. Sie eignen sich darum insbesondere für Befesti­gungsgewinde, wenn der Gewindebolzen und/oder das Mutter­stück beim Anziehen nur mit grossem Aufwand gedreht werden können oder nur wenig in axialer Richtung verschoben werden sollen.
  • Eine bekannte Verwendung konischer Gewinde ist die mechani­sche Verbindung der stumpf aneinanderstossenden Enden von Armierungsstählen für Beton. Dabei werden die mit konischen Aussengewinden versehenen Enden der Armierungsstähle mit ei­nem Mutterstück, das zwei gegenläufige, konische Gewinde aufweist, miteinander verschraubt.
  • Zum Herstellen konischer Aussengewinde sind mehrere unter­schiedliche Verfahren bekannt. Bei Werkstücken aus Werkstof­fen mit relativ geringer Zähigkeit und Härte, beispielsweise Holzschrauben aus Aluminium, kann das konische Aussengewinde mittels radial verschiebbarer Pressbacken direkt in ein zy­lindrisches Halbfabrikat eingepresst werden.
  • Werkstücke aus Werkstoffen mit relativ grosser Zähigkeit und Härte, beispielsweise Armierungsstahl, werden üblicherweise zuerst konisch angeformt, und danach wird in die konische Fläche das Gewinde eingeschnitten, wozu relativ komplizierte Vorrichtungen mit zwei einander gegenüberliegender Strehlern verwendet werden.
  • Weil beim Schneiden eines Gewindes der Faserverlauf im Werk­stück unterbrochen und damit dessen Festigkeit verringert und durch die Kerbwirkung im Bereich des Gewindeinnenkerns der tragfähige Querschnitt des Gewindes verkleinert wird, ist auch schon versucht worden, stark belastbare konische Gewinde zu walzen. Beim Walzen von Gewinden werden nicht nur die genannten Nachteile des Gewindeschneidens vermieden, sondern die durch den Walzendruck erreichte Oberflächenbefe­stigung ermöglicht die Herstellung höher belastbarer und verschleissfesterer Gewinde. Vorrichtung zum Walzen koni­scher Gewinde in relativ harte und zähe Werkstoffe erfordern einen hohen konstruktiven Aufwand, weshalb trotz der erwähn­ten Vorteile bisher solche Vorrichtungen nicht gebräuchlich sind.
  • Aus der EP-Patentanmeldung 85 80 810 610 (0 187 623) ist ein Verfahren zum Herstellen eines konischen Aussengewindes an einem Werkstück aus einem zähen und harten Werkstoff be­ kannt, bei dem das Gewinde in ein konisch vorgeformtes Ende eines Werkstücks kalt eingepresst wird. Das zur Ausführung dieses Verfahrens verwendete Presswerkzeug weist Pressbacken auf, die im konischen Innenraum einer Führungshülse in axia­ler Richtung verschoben und dabei in radialer Richtung zu­sammengepresst oder auseinandergezogen werden. Dieses Ver­fahren ermöglicht Gewinde herzustellen, die die oben be­schriebenen Vorteile der spanlosen Verformung aufweisen, und die relativ leichte, robuste und einfach zu bedienende Vor­richtung benötigt zum Betrieb nur solche Energiequellen, die auf jeder Baustelle vorhanden sind. Der einzige Nachteil dieses Verfahrens bzw. der Vorrichtung ist, dass der Teil des Werkstücks, in den das konische Gewinde eingepresst wer­den soll, vorgängig konisch angeformt werden muss.
  • Der vorliegenden Erfindung lag darum die Aufgabe zugrunde, das vorerwähnte Verfahren und die zu dessen Ausführung ver­wendete Vorrichtung derart weiterzuentwickeln, dass konische Gewinde auch in Werkstücke aus einem relativ harten und zä­hen Werkstoff eingepresst werden können, ohne dass das prak­tisch zylindrische Werkstück vorgängig konisch angeformt werden muss.
  • Erfindungsgemäss wird diese Aufgabe mit einem Verfahren der eingangs genannten Art gelöst, das dadurch gekennzeichnet ist, dass
    • (1) das Presswerkzeug durch Auseinanderziehen der Press­backen in radialer Richtung geöffnet wird,
    • (2) das Presswerkzeug und das zu dessen Längsachse ausge­richtete Werkstück relativ zueinander verschoben werden, bis die Pressbacken das Werkstück in der Längsrichtung um einen vorgegebenen Betrag umfassen,
    • (3) die Pressbacken in radialer Richtung zusammen- und in das Werkstück hineingepresst werden, bis deren parallel zur Längsachse verlaufenden seitlichen Ränder der Innenflächen aneinanderliegen,
    • (4) die Pressbacken wieder auseinandergezogen und das Press­werkzeug und das Werkstück relativ zueinander um die Längs­achse gedreht werden, wobei die Drehung einem Teil des dem Querschnitt jedes Pressbackens entsprechenden Kreissektors entspricht,
    • (5) zum Einpressen eines möglichen Grats der Verfahrens­schritt (3) wiederholt und
    • (6) nach dem Auseinanderziehen der Pressbacken in radialer Richtung das Presswerkzeug in seine Ausgangsstellung zurück­gedreht und
    • (7) das Werkstück aus dem Presswerkzeug entnommen wird.
  • Das erfindungsgemässe Verfahren hat den Vorteil, dass in ein praktisch zylindrisches Werkstück aus einem harten und zähen Werkstoff ohne vorgängiges Anformen einer konischen Fläche ein konisches Gewinde kalt eingepresst werden kann, dass zur Ausführung dieses Verfahrens nur eine Vorrichtung erforder­lich ist und dass das Kaltpressen einem Kaltschmiedevorgang entspricht, der eine Kornverfeinerung im Werkstoff und damit eine Erhöhung von dessen Festigkeit bewirkt.
  • Zum Herstellen relativ langer konischer Gewinde werden vor­zugsweise nach dem Verfahrensschritt (6) die Verfahrens­schritte (2), (3), (4), (5) und (6) mindestens einmal wie­derholt und abschliessend der Verfahrensschritt (7) ausge­führt.
  • Eine zur Ausführung des erfindungsgemässen Verfahrens geeig­ nete Vorrichtung enthält ein Presswerkzeug mit einer Füh­rungshülse, in deren konischen Innenraum mehrere Pressbacken längs Mantellinien des Innenraums verschiebbar gelagert sind, sowie einen Druckstempel, der zum Verschieben der Pressbacken in der Längsrichtung des Innenraums vorgesehen ist, und ist gekennzeichnet durch eine Halteeinrichtung, um das Werkstück in der Längsachse des konischen Innenraums der Führungshülse zu halten, und eine Vorschubeinrichtung, um die Halteeinrichtung und/­oder das Presswerkzeug relativ zueinander längs der Achse des konischen Innenraums um einen voreinstellbaren Vorschub­weg zu verschieben, sowie durch eine Dreheinrichtung, um die Halteeinrichtung und/oder das Presswerkzeug relatiy zueinander um die Achse des konischen Innenraums um einen voreinstellbaren Winkel zu drehen.
  • Bei einer bevorzugten Ausführungsform dieser Vorrichtung ist der Vorschubeinrichtung ein Ausgleichszylinder zugeordnet, der eine von der axialen Komponente der Verschiebung der Pressbacken und vom Fliessen des Materials während des Pressvorgangs bewirkte Längenänderung des Werkstücks aus­gleicht.
  • Nachfolgend werden das erfindungsgemässe Verfahren und eine zu dessen Ausführung geeignete Vorrichtung mit Hilfe der Fi­guren beschrieben. Es zeigen:
    • Fig. 1 die schematische Darstellung einer Vorrichtung zur Ausführung des Verfahrens,
    • Fig. 2 den Längsschnitt durch eine Ausführungsform des Presswerkzeugs der Vorrichtung gemäss der Fig. 1,
    • Fig. 3 den Querschnitt durch das Presswerkzeug längs der Li­nie A-A in Fig. 2 und
    • Fig. 4 ebenfalls in schematischer Darstellung eine bevorzug­te Ausführungsform der Verschiebeeinrichtung und des Ausgleichszylinders.
  • Die in Fig. 1 schematisch gezeigte Vorrichtung enthält ein nicht gezeigtes Maschinenbett, an dem eine Dreheinrichtung 11 und eine Vorschubeinrichtung 12 mit einstellbarem Abstand voneinander befestigbar sind. An der Dreheinrichtung sind auf der der Vorschubeinrichtung zugewandten Seite ein Press­werkzeug 13 und auf der abgewandten Seite eine Presse 14 ge­haltert. An der Vorschubeinrichtung 12 ist eine Halteein­richtung 16 angeordnet. Diese Halteeinrichtung ist zum Hal­ten eines stabförmigen Werkstücks 91 vorgesehen und dazu in der Art eines hydraulisch betätigbaren Mehrbackenfutters ausgebildet.
  • Die Drehachse der Dreheinrichtung 11, die Symmetrieachse des Presswerkzeugs 13, sowie die Symmetrieachse der Halteein­richtung 16 liegen ineinander, so dass bei geeignetem Ab­stand zwischen Presswerkzeug und Halteeinrichtung das Press­werkzeug um ein in der Halteeinrichtung gehaltenes stabför­miges Werkstück gedreht werden kann.
  • Die Dreheinrichtung 11 und die Presse 14 sowie die Vorschub­einrichtung 12 und die Halteeinrichtung 16 werden hydrau­lisch betätigt und sind über Hydraulikleitungen 21, 22, 23 bzw. 24 mit einer Hydraulikanlage 17 verbunden. Die Hydrau­ likanlage enthält eine nicht gezeigte Hydraulikpumpe, die beim Betrieb der Vorrichtung einen konstanten Druck des Hy­draulikfluids erzeugt. In jeder Hydraulikleitung ist minde­stens ein elektrisch steuerbares Ventil 26, 27, 28 bzw. 29 angeordnet, das über eine elektrische Leitung 31, 32, 33 bzw. 34 mit einer elektronischen Steuerschaltung 36 verbun­den ist. Die Hydraulikleitungen 21 und 24 sind zwischen den Ventilen 27 bzw. 29 paarweise ausgeführt, was ermöglicht, die Drehrichtung der Dreheinrichtung 11 umzukehren und die Halteeinrichtung 16 zu schliessen und zu öffnen. Die Leitung 23 zur Vorschubeinrichtung besteht aus mehreren (nicht ge­zeigten) parallel zueinander verlaufenden Leitungen, von de­nen jede ein Ventil enthält, das unabhängig von den anderen Ventilen ansteuerbar ist, was mit Hilfe der Fig. 4 noch aus­führlich beschrieben werden wird. Die elektronische Steuer­schaltung 36 ist für verschiedene Verwendungen der Vorrich­tung programmierbar. Weiter ist ein Steuerpult 37 vorgese­hen, mit einem Tastenfeld zum Ein- und Ausschalten der Vor­richtung sowie zum Einstellen der Steuerschaltung auf ein ausgewähltes Programm.
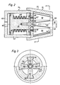
  • Die Fig. 2 zeigt in einem Längsschnitt ein Presswerkzeug 13 sowie eine zu dessen Betätigung vorgesehene Presse 14. Die Presse 14 enthält einen Hydraulikzylinder 41, in dem ein Kolben 42 in axialer Richtung verschiebbar eingepasst ist. Der Zylinderboden 43 weist eine Bohrung 44 auf, die für den Anschluss der Hydraulikleitung 22 vorgesehen ist. An der der Arbeitsfläche des Kolbens 42 abgewandten Fläche ist eine Kolbenstange 46 angeformt, deren freies Ende durch die zen­trale Oeffnung eines ringförmigen Zylinderdeckels 47 aus dem Zylinder herausragt. Am freien Ende der Kolbenstange ist ein Druckstempel 48 befestigt, dessen Durchmesser grösser als der Durchmesser der Kolbenstange ist. Um den im Zylinder liegende Teil der Kolbenstange ist eine Druckfeder 49 ge­legt, deren Enden an der rückwärtigen Fläche des Kolbens bzw. an der Innenfläche des Zylinderdeckels anliegen.
  • Das Presswerkzeug 13 enthält eine Führungshülse 51, die im Bereich des Zylinderdeckels 47 an der hydraulischen Presse 14 befestigt ist. Die Führungshülse weist einen konischen Innenraum 52 auf, dessen grösster Durchmesser oder Grund­kreis dem Druckstempel 48 benachbart ist und dessen klein­ster Durchmesser oder Deckkreis eine Oeffnung 53 in der der Presse 14 abgewandten Deckfläche des Presswerkzeuges bildet. In die Wand des konischen Innenraums 52 sind vier um 90° versetzte und im Querschnitt T-förmige Nuten 56, 57, 58, 59 eingearbeitet (Fig. 3). Die Nuten verlaufen parallel zu den Mantellinien des konischen Innenraums und sind darum gegen­über der Längsachse 61 des Presswerkzeugs um einen Winkel α geneigt.
  • In den konischen Innenraum sind vier in der Seitenansicht trapezförmige Gewindepressbacken 62, 63, 64, 66 angeordnet. Die Pressbacken weisen einen T-förmigen Querschnitt auf mit einem zweiarmigen Führungsbalken und einem davon abragenden Pressstempel. Jeder Pressbacken ist mit seinem Führungsbal­ken in einer zugeordneten Nut in der Führungshülse in der Längsrichtung des Presswerkzeugs verschiebbar gelagert und mittels einer Schraube 67, 68 mit dem Druckstempel 48 ver­bunden. Die Schraubenköpfe sind im Druckstempel in radialen Schlitzen 69, 71 geführt, um die jeder Verschiebung der Pressbacken in axialer Richtung überlagerte Verschiebung in radialer Richtung nicht zu blockieren. Die der Mitte des ko­nischen Innenraums 52 zugewandten Innenflächen der Press­ backen sind gegenüber der Längsachse 61 um einen Winkel β geneigt. Die Neigungsrichtung dieses Winkels β ist der Nei­gungsrichtung des Winkels α entgegengesetzt, und der Winkel β ist kleiner als der Winkel α. Die Innenflächen der Press­backen sind im Querschnitt kreisbogenförmig und weisen ein Oberflächenprofil auf, das einem entsprechenden Teil eines Mutterstücks für das zu pressende konische Aussengewinde entspricht.
  • Die Fig. 4 zeigt eine Vorschubeinrichtung 12, der eine Län­genausgleichseinrichtung 71 zugeordnet ist. Die Vorschubein­richtung enthält ein Gehäuse 72, in das mehrere und im ge­zeigten Ausführungsbeispiel drei in Serie geschaltete Kol­ben-Zylinder-Anordnungen eingebaut sind. Die erste Kolben-­Zylinder-Anordnung besteht aus einem im Gehäuse fest einge­bauten ersten Zylinder 73, an den Druckfluidleitungen 123′ und 123˝ angeschlossen sind. An der Kolbenstange 76 des im ersten Zylinder gleitenden Kolbens 74 ist ein im zweiten Ge­häuse 72 verschiebbarer Zylinder 77 befestigt. An diesen zweiten Zylinder sind die Druckfluidleitungen 223′ und 223˝ angeschlossen. An der Kolbenstange 79 des im zweiten Zylin­der gleitenden Kolbens 78 ist ein dritter Zylinder 81 befe­stigt, an den Druckfluidleitungen 323′ und 323˝ angeschlos­sen sind. Der im dritten Zylinder gleitende Kolben 82 ist mittels einer Kolbenstange 83 mit einem Kolben 84 der Län­genausgleichseinrichtung 71 starr verbunden.
  • Der Hub der Kolben in den drei Kolben-Zylinder-Anordnungen ist unterschiedlich lang, was ermöglicht, durch Verschieben eines, zweier oder auch aller drei Kolben den Kolben 84 in der Längenausgleichseinrichtung um vorgegebene Gesamtlängen zu verschieben. Der Arbeitsraum 86 der Längenausgleichsein­ richtung ist über die Leitung 23A mit der Hydraulikanlage 17 verbunden und wird zu Beginn jedes Arbeitszyklus mit dem Druckfluid gefüllt, so dass bei jeder Verschiebung des Kol­bens 84 (in der Fig. 4 nach rechts) der Zylinder 87, der wie die Zylinder der Verschiebeeinrichtung im Gehäuse 72 glei­tend angeordnet ist, nach rechts verschoben wird. Der Zylin­der 87 ist mit der Halteeinrichtung 16 für das Werkstück di­rekt oder indirekt mechanisch verbunden, so dass die Halte­einrichtung 16 entsprechend der Verschiebung des Zylinders 87 ebenfalls verschoben wird.
  • An den Zylinder 87 der Längenausgleichseinrichtung 71 bzw. an die mit diesem Zylinder verbundene Druckfluidleitung 23A ist eine weitere Druckfluidleitung 23B angeschlossen. Diese Leitung enthält ein Ueberdruckventil 88, das öffnet, sobald der Druck im Arbeitsraum 86 einen vorgegebenen Wert über­steigt, wie nachfolgend noch erläutert werden wird.
  • Bei der Verwendung der erfindungsgemässen Vorrichtung zum Kaltpressen eines konischen Gewindes in ein stabförmiges, praktisch zylindrisches Werkstück wird zuerst am Steuerpult 37 die "EIN"- Taste gedrückt, die dann die elektronische Steuerschaltung 36 und die Hydraulikanlage 17 aktiviert. Die Steuerschaltung stellt das Ventil 27 in eine erste Stellung, in der Hydraulikfluid in den Zylinder 41 der Presse 14 ein­strömt und den Kolben 42 gegen die Kraft der Feder 49 (in der Fig. 2 nach rechts) verschiebt. Dadurch werden auch die Pressbacken 62, 63, 64 und 65 in axialer Richtung verschoben und infolge der Neigung der Führungsnuten 56, 57, 58, 59 ge­genüber der Längsachse des Presswerkzeugs zugleich in radia­ler Richtung zusammengefahren, bis ihre Seitenflächen anein­anderliegen. Gleichzeitig wird auch das Ventil 29 in eine erste Stellung verstellt, in der das einströmende Hydraulik­fluid die Haltebacken der Halteeinrichtung 16 in radialer Richtung auseinanderzieht. Dann kann das stabförmige Werk­stück 91 in der Richtung des Pfeils 92 zwischen die geöffne­ten Haltebacken bis zum Anschlag an die zusammengefahrenen Pressbacken eingeführt werden.
  • Vor dem Beginn des eigentlichen Arbeitszyklus werden mit Hilfe des Tastenfelds am Steuerpult 27 die für den Zyklus wichtigen Kenndaten des Werkstücks in die elektronische Steuerschaltung eingegeben, insbesondere der Durchmesser des Werkstücks, oder der Nenndurchmesser und die Länge des zu pressenden konischen Gewindes und mindestens eine das Mate­rial des Werkstücks betreffende Kenngrösse. Die eingegebenen Kennwerte bestimmen dann, welches von mehreren in der Steu­erschaltung gespeicherten Arbeitsprogrammen auszuführen ist.
  • Der Arbeitszyklus beginnt, sobald am Steuerpult die "START"- Taste gedrückt ist. Beim ersten Arbeitsschritt wird das Ven­til 29 in eine zweite Stellung umgesteuert, in der die Hal­tebacken zusammenfahren, bis das Werkstück festgeklemmt ist. Beim zweiten Arbeitsschritt wird das Ventil 27 in seine zweite Stellung gesteuert, in der der Zylinder 41 der Presse belüftet wird und die Feder 49 den Kolben 42 mitsamt den Pressbacken 62, 63, 64, 66 in die in Fig. 2 gezeigte Ruhe­stellung zurückzieht. Beim darauffolgenden dritten Arbeits­schritt wird das Ventil 28 in eine erste Stellung gesteuert, in der das durchströmende Hydraulikfluid die Vorschubein­richtung 12 und damit auch die Halteeinrichtung 16 und das von dieser gehaltene Werkstück 91 um eine vorgegebene Strecke in Richtung des Presswerkzeugs 13 bzw. zwischen die Pressbacken verschiebt. Beim letzten vierten Arbeitsschritt wird das Ventil 27 wieder in seine erste Stellung gesteuert, in der die Pressbacken in axialer Richtung verschoben und zugleich zusammen- und in das Werkstück eingepresst werden, bis ihre Seitenflächen aneinanderliegen.
  • Beim Einpressen der Pressbacken in das Werkstück erzeugt die axiale Komponente von deren Verschiebung einen auf die Hal­teeinrichtung wirkenden Druck. Dieser Druck wird noch ver­stärkt, wenn das Material des Werkstücks beim Einpressen der Pressbacken in Richtung des grösseren Werkstückdurchmessers fliesst. Wenn dieser Druck einen vorgegebenen Wert über­steigt, dann öffnet das Ueberdruckventil 88 und ermöglicht eine rückwärts gerichtete Verschiebung des Zylinders 87 mit­samt der daran befestigten Halteeinrichtung, bis der Druck des Werkstücks auf einen tolerierbaren Wert abgesunken ist.
  • Im nachfolgenden fünften Arbeitsschritt wird das Ventil 27 in die zweite Stellung gesteuert, wodurch die Pressbacken wieder in radialer Richtung auseinandergezogen werden. Beim nächsten sechsten Arbeitsschritt wird das Ventil 26 in die erste Stellung gesteuert, so dass die Dreheinrichtung 11 und mit ihr die Presse 14 und das Presswerkzeug um 45° nach links gedreht werden. Beim siebten Arbeitsschritt wird das Ventil 27 wieder in die erste Stellung gesteuert, wobei die Pressbacken des Presswerkzeugs erneut in radialer Richtung zusammengefahren werden und der Grat, der sich beim Pressen des konischen Gewindes im Bereich der seitlichen Ränder der Pressbacken gebildet hat, ausgepresst wird. Im achten Ar­beitsschritt werden durch Ansteuern der Ventile 27 und 26 zuerst die Pressbacken wieder auseinandergezogen und danach das Presswerkzeug um 45° nach rechts in seine Ausgangsstel­lung gedreht. Das Werkstück mit einem kalt eingepressten ko­ nischen Gewinde kann dann aus der Vorrichtung entnommen wer­den.
  • Werkstücke mit grossem Durchmesser und/oder aus einem rela­tiv zähen Material bzw. konische Gewinde mit mehr als bei­spielsweise fünf Gängen werden vorteilhafterweise in mehre­ren Arbeitszyklen gepresst. Beim zweiten und jedem darauf folgenden Arbeitszyklus bleiben nach dem oben beschriebenen vierten Arbeitsschritt die Pressbacken in der Pressstellung, während in einem ersten Zwischenarbeitsschritt das Ventil 24 in die erste Stellung gesteuert und dadurch die Haltebacken der Halteeinrichtung 16 auseinandergefahren werden. In einem zweiten Zwischenarbeitsschritt wird das Ventil 28 in die zweite Stellung gesteuert und dadurch die Vorschubeinrich­tung 12 in ihre Ausgangsstellung zurückgefahren. Anschlies­send wird jeder oben beschriebene erste, zweite, dritte und vierte Arbeitsschritt wiederholt, d.h. die Haltebacken wer­den zusammengefahren, die Pressbacken in die Ruhestellung zurückgezogen, das Werkstück durch Verschieben der Vorschub­einrichtung um eine vorgegebene Länge tiefer in das Press­werkzeug eingeführt und die Pressbacken wieder zusammenge­presst.
  • Den Abschluss eines Arbeitszyklus bilden immer die oben be­schriebenen Arbeitsschritte sechs und sieben, mit denen der beim Pressen des konischen Gewindes unvermeidliche Grat in das Werkstück eingepresst wird.
  • Beim Pressen eines Gewindes in mehreren Arbeitszyklen, wird das Werkstück für jeden Arbeitszyklus tiefer in das Press­werkzeug hineingeschoben. Dabei werden die vorgängig ge­pressten Gewindegänge nachgepresst und neue Gewindegänge eingepresst. Um die mit zunehmender Anzahl Arbeitszyklen zu­nehmende, gesamthafte Verformung des Werkstücks im Bereich des Gewindes zu begrenzen, kann es vorteilhaft sein, den Vorschub des Werkstücks in das Presswerkzeug bei jedem nach­folgenden Arbeitszyklus etwas kürzer als beim vorgängigen Arbeitszyklus einzustellen.
  • Bei der praktischen Erprobung der erfindungsgemässen Vor­richtung wurden konische Gewinde in Armierungsstähle einge­presst. Jeder Armierungsstahl hatte einen Durchmesser von 40 mm. Das konische Gewinde hatte einen Konus von 6°, eine Steigung von 4 mm und einen Flankenwinkel von 90°, entspre­chend einer Gangtiefe von 2 mm oder der halben Steigung Das verwendete Presswerkzeug enthielt vier Pressbacken, von de­nen jeder in axialer Richtung gesehen einen Querschnitt auf­wies, der einem Viertelkreis entsprach. Der Druck der Presse betrug in axialer Richtung bis 650 bar, womit ein Pressdruck der Pressbacken in radialer Richtung von bis 850 t erreicht wurde.
  • Zum Kaltpressen eines konischen Gewindes mit 15 Gängen wur­den fünf Arbeitszyklen ausgeführt, wobei der Vorschub des Armierungsstahls in das Presswerkzeug beim ersten Zyklus der (axialen) Länge von fünf Gewindegängen und beim zweiten bis fünften Zyklus der Länge von vier, drei, zwei bzw. einem Ge­windegang entsprach. Die gesamte Bearbeitungszeit betrug et­wa 90 sec. Das fertig gepresste konische Gewinde zeigte we­der Ausbrüche noch einen Grat.
  • Es versteht sich, dass die beschriebene Vorrichtung und de­ren Einrichtungen auf vielerlei Weise abgeändert und an spe­zielle Arbeitsbedingungen angepasst werden können. Bei­ spielsweise kann anstelle einer Presse, die hydraulisch in die Arbeitsstellung und mittels einer Feder in die Ruhestel­lung verschoben wird, eine Presse verwendet werden, die in beiden Richtungen hydraulisch verschoben wird. Weiter kann eine Vorschubeinrichtung mit nur einem Zylinder verwendet werden, deren Vorschub durch die Menge des eingeleiteten Hy­draulikfluids gesteuert wird. Bei einer Vorschubeinrichtung mit nur einem Zylinder kann auch das Ueberdruckventil 88 an diesen Zylinder angeschlossen und dafür auf die Längsaus­gleichseinrichtung verzichtet werden.
  • Die Vorrichtung kann aus handelsüblichen Bauelementen und -Gruppen zusammengebaut werden, und es wird angenommen, dass auch die elektronische Steuerung und Hydraulikanlage zum Steuern bzw. Betätigen der einzelnen Einrichtungen jedem Fachmann bekannt sind, weshalb auf eine detaillierte Be­schreibung dieser Einrichtungen verzichtet wird.

Claims (13)

1. Verfahren zum Kaltpressen eines konischen Aussengewindes an einem Ende eines praktisch zylindrischen Werkstücks und vorzugsweise eines Armierungsstahls,
mit einem Presswerkzeug, das mehrere Pressbacken auf­weist, die um eine Längsachse angeordnet und mindestens radial zu dieser verschiebbar sind,
und deren radial innere Flächen einzelnen Segmenten eines Mutterstücks für das zu pressende Gewinde entsprechen, dadurch gekennzeichnet, dass
(1) das Presswerkzeug durch Auseinanderziehen der Press­backen in radialer Richtung geöffnet wird,
(2) das Presswerkzeug und das zu dessen Längsachse ausge­richtete Werkstück relativ zueinander verschoben werden, bis die Pressbacken das Werkstück in der Längsrichtung um einen vorgegebenen Betrag umfassen,
(3) die Pressbacken in radialer Richtung zusammen- und in das Werkstück hineingepresst werden, bis deren parallel zur Längsachse verlaufenden seitlichen Ränder der Innen­flächen aneinanderliegen,
(4) die Pressbacken wieder auseinandergezogen und das Presswerkzeug und das Werkstück relativ zueinander um die Längsachse gedreht werden, wobei die Drehung einem Teil des dem Querschnitt jedes Pressbackens entsprechenden Kreissektors entspricht,
(5) zum Einpressen eines möglichen Grats der Verfahrens­schritt (3) wiederholt und
(6) nach dem Auseinanderziehen der Pressbacken in radia­ler Richtung das Presswerkzeug in seine Ausgangsstellung zurückgedreht und
(7) das Werkstück aus dem Presswerkzeug entnommen wird.
2. Verfahren nach Anspruch 1, dadurch gekennzeichnet, dass die erste relative Verschiebung von Presswerkzeug und Werkstück einer Länge entspricht, bei der mindestens der erste Gewindegang mit vollem Profil ausgepresst wird.
3. Verfahren nach Anspruch 1, dadurch gekennzeichnet, dass für ein konisches Gewinde mit einem Konus von 6° das Presswerkzeug und das Werkstück in axialer Richtung um die fünffache Steigung des konischen Gewindes relativ zu­einander verschoben werden.
4. Verfahren nach Anspruch 1, dadurch gekennzeichnet, dass nach dem Auseinanderziehen der Pressbacken und dem Zu­rückdrehen des Presswerkzeugs in seine Ausgangsstellung im Verfahrensschritt (6) die Verfahrensschritte (2), (3), (4), (5) und (6) mindestens einmal wiederholt werden und abschliessend der Verfahrensschritt (7) ausgeführt wird.
5. Verfahren nach Anspruch 3, dadurch gekennzeichnet, dass bei der Wiederholung des Verfahrensschrittes (2) der Be­trag der Verschiebung der Steigung des konischen Gewindes oder eines ganzzahligen Vielfachen davon entspricht.
6. Verfahren nach Anspruch 3, dadurch gekennzeichnet, dass die Länge der relativen Verschiebung von Presswerkzeug und Werkstück mit zunehmender Wiederholung der Verfah­rensschritte (2), (3), (4), (5) und (6) kleiner wird.
7. Verfahren nach Anspruch 1, dadurch gekennzeichnet, dass für ein Presswerkzeug mit vier Pressbacken in den Ar­beitsschritten (4) und (6) das Presswerkzeug und das Werkstück um 45° relativ zueinander um die Längsachse ge­dreht werden.
8. Vorrichtung zur Ausführung des Verfahrens nach Anspruch 1 mit einem Presswerkzeug (13) mit einer Führungshülse (51), in deren konischem Innenraum mehrere Pressbacken (62, 63, 64, 66) längs Mantellinien des Innenraums ver­schiebbar gelagert sind, sowie mit einem Druckstempel (48), der zum Verschieben der Pressbacken in der Längs­richtung des Innenraums vorgesehen ist, gekennzeichnet durch
eine Halteeinrichtung (16), um das Werkstück (91) in der Längsachse (61) des konischen Innenraums der Führungshül­se zu halten,
und eine Vorschubeinrichtung (12), um die Halteeinrich­tung und/oder das Presswerkzeug relativ zueinander längs der Achse des konischen Innenraums um einen voreinstell­baren Vorschubweg zu verschieben,
sowie durch eine Dreheinrichtung (11), um die Halteein­richtung und/oder das Presswerkzeug relativ zueinander um die Achse des konischen Innenraums um einen voreinstell­baren Winkel zu drehen.
9. Vorrichtung nach Anspruch 8, dadurch gekennzeichnet, dass die Vorschubeinrichtung (12) mit einer Einrichtung (71) zum Ausgleich einer von der axialen Komponente der Ver­schiebung der Pressbacken und vom Fliessen des Materials des Werkstücks bewirkten Verschiebung des Werkstücks zu­sammenwirkt.
10. Vorrichtung nach Anspruch 8, dadurch gekennzeichnet, dass die Vorschubeinrichtung (12) mehrere Sektionen (73, 74; 77, 88; 81, 82) aufweist, die unabhängig voneinander ansteuerbar sind und von denen jede für eine andere Vor­schubstrecke vorgesehen ist.
11. Vorrichtung nach Anspruch 8, dadurch gekennzeichnet, dass eine Hydraulikanlage (17) vorgesehen ist, die mit mindestens einigen der Einrichtungen (11, 12, 13, 14, 16) verbunden ist, um deren Bewegung zu bewirken.
12. Vorrichtung nach Anspruch 11, dadurch gekennzeichnet, dass weiter eine elektronische Steuerschaltung (36) vor­gesehen ist, die in Uebereinstimmung mit eingegebenen Programmen die Ventile (26, 27, 28, 29) in den Hydrau­likleitungen (21, 22, 23, 24) steuert.
13. Vorrichtung nach Anspruch 12, gekennzeichnet durch ein elektronisches Steuerpult (37) mit einem Tastenfeld zum manuellen Eingeben der für das zu pressende konische Ge­winde erforderlichen Kenndaten.
EP89810017A 1988-08-26 1989-01-11 Verfahren zum Kaltpressen eines konischen Aussengewindes Expired - Lifetime EP0356375B1 (de)

Priority Applications (1)

Application Number Priority Date Filing Date Title
AT89810017T ATE102855T1 (de) 1988-08-26 1989-01-11 Verfahren zum kaltpressen eines konischen aussengewindes.

Applications Claiming Priority (2)

Application Number Priority Date Filing Date Title
CH3190/88 1988-08-26
CH3190/88A CH676564A5 (de) 1988-08-26 1988-08-26

Publications (3)

Publication Number Publication Date
EP0356375A2 true EP0356375A2 (de) 1990-02-28
EP0356375A3 EP0356375A3 (de) 1991-01-16
EP0356375B1 EP0356375B1 (de) 1994-03-16

Family

ID=4250591

Family Applications (1)

Application Number Title Priority Date Filing Date
EP89810017A Expired - Lifetime EP0356375B1 (de) 1988-08-26 1989-01-11 Verfahren zum Kaltpressen eines konischen Aussengewindes

Country Status (6)

Country Link
US (1) US4941341A (de)
EP (1) EP0356375B1 (de)
AT (1) ATE102855T1 (de)
CA (1) CA1318990C (de)
CH (1) CH676564A5 (de)
DE (1) DE58907213D1 (de)

Cited By (2)

* Cited by examiner, † Cited by third party
Publication number Priority date Publication date Assignee Title
DE102007062830A1 (de) 2007-12-21 2009-06-25 Ifm Electronic Gmbh Verfahren und Vorrichtung zum Herstellen eines Gewindes sowie Bauteil und Gerät
DE102008063692A1 (de) 2007-12-21 2009-07-09 Ifm Electronic Gmbh Verfahren und Vorrichtung zum Herstellen eines Gewindes sowie Bauteil und Gerät

Families Citing this family (2)

* Cited by examiner, † Cited by third party
Publication number Priority date Publication date Assignee Title
US5836197A (en) * 1996-12-16 1998-11-17 Mckee Machine Tool Corp. Integral machine tool assemblies
KR101894848B1 (ko) * 2014-02-28 2018-09-05 현대자동차주식회사 오스테나이트계 내열합금 및 이를 이용한 내열볼트의 제조방법

Family Cites Families (13)

* Cited by examiner, † Cited by third party
Publication number Priority date Publication date Assignee Title
US228033A (en) * 1880-05-25 Device for swaging screw-threads on eyebolts
US408294A (en) * 1889-08-06 Swag ing-machine
US859803A (en) * 1906-03-28 1907-07-09 Cummings Machine Company Threaded tube.
US1466302A (en) * 1920-04-26 1923-08-28 Jouve Felix Louis Machine for swaging or reducing metal
US1712108A (en) * 1926-10-01 1929-05-07 Robert A Goeller Connecter
US2160694A (en) * 1936-07-09 1939-05-30 Thomas & Betts Corp Wire connector
US2225345A (en) * 1938-09-17 1940-12-17 Bendix Aviat Corp Banding press
US2652577A (en) * 1946-04-27 1953-09-22 Bulloneria E Viteria Italiana Machine for producing articles from blank stock
US3154978A (en) * 1962-07-09 1964-11-03 United Wire & Supply Corp Tube pointer
US3370451A (en) * 1965-06-28 1968-02-27 Blaw Knox Co Apparatus and method for pointing tubes
US3417598A (en) * 1966-08-19 1968-12-24 Manco Mfg Co Apparatus for pointing work pieces
US4751839A (en) * 1980-05-09 1988-06-21 Ltv Steel Company, Inc. Method for removing certain of the corrugations in a helically corrugated pipe
CH665152A5 (de) * 1985-01-10 1988-04-29 Urs Kellner Verfahren zum herstellen eines konischen aussengewindes.

Cited By (3)

* Cited by examiner, † Cited by third party
Publication number Priority date Publication date Assignee Title
DE102007062830A1 (de) 2007-12-21 2009-06-25 Ifm Electronic Gmbh Verfahren und Vorrichtung zum Herstellen eines Gewindes sowie Bauteil und Gerät
DE102008063692A1 (de) 2007-12-21 2009-07-09 Ifm Electronic Gmbh Verfahren und Vorrichtung zum Herstellen eines Gewindes sowie Bauteil und Gerät
DE102007062830B4 (de) * 2007-12-21 2014-11-27 Ifm Electronic Gmbh Verfahren und Vorrichtung zum Herstellen eines Gewindes sowie Bauteil und Gerät

Also Published As

Publication number Publication date
US4941341A (en) 1990-07-17
CH676564A5 (de) 1991-02-15
EP0356375B1 (de) 1994-03-16
DE58907213D1 (de) 1994-04-21
CA1318990C (en) 1993-06-15
EP0356375A3 (de) 1991-01-16
ATE102855T1 (de) 1994-04-15

Similar Documents

Publication Publication Date Title
EP0187623B1 (de) Vorrichtung zum Kaltpressen eines konischen Gewindes
DE69317303T3 (de) Selbststanzende nieten
DE2610467A1 (de) Vorrichtung zum ablaengen von rohren
DE10118664B4 (de) Spanneinrichtung für zu bearbeitende Werkstücke mit Unwuchtausgleich
EP0017660A1 (de) Hydraulikpresse
EP0185883A2 (de) Kraftbetätigtes Backenspannfutter
EP0798063B1 (de) Ausdrehwerkzeug
DE3423543A1 (de) Presse und verfahren zur herstellung derselben
EP0356375B1 (de) Verfahren zum Kaltpressen eines konischen Aussengewindes
EP0183031A2 (de) Verfahren zum Herstellen von Bohrungen hoher Oberflächengüte und Vorrichtung zur Durchführung des Verfahrens
DE29824688U1 (de) Radialpresse
DE1602064A1 (de) Verfahren zur Herstellung sich allmaehlich verjuengender Walzprofile und Maschine zu seiner Durchfuehrung
DE3413285A1 (de) Spannvorrichtung fuer werkzeuge, wie bohrer, fraeser oder dgl.
DE1752716A1 (de) Verfahren zum maschinellen Biegen von Draht- und Bandmaterial und Maschine zur Durchfuehrung des Verfahrens
DE580175C (de) Vorrichtung zum Festklemmen der schaltbaren Werkzeug- oder Werkstuecktrommel bei mehrspindligen, selbsttaetigen Drehbaenken
DE19611611A1 (de) Presse
EP0380739B1 (de) Verfahren sowie Spannvorrichtung zum zeitweiligen Festlegen von Werkstücken
DE2512654A1 (de) Dornausziehvorrichtung fuer pilgerwalzwerke
AT524952B1 (de) Kettenfräsvorrichtung zum Ausfräsen einer taschenförmigen Ausnehmung in einer Möbelplatte zur Aufnahme eines Möbelbeschlags
DE2550216C2 (de) Vorrichtung zum kontinuierlichen Strangpressen von Draht
AT390822B (de) Schnellspanneinrichtung fuer geteilte pumpenwellen, insbesondere an hauptkuehlmittelpumpen
CH690542A5 (de) Werkstückspannvorrichtung für eine Werkzeugmaschine.
DE2707476B2 (de) Vorrichtung zum Verbinden winklig aneinanderstoßender Schaltafeln
DE2223431A1 (de) Hydraulische steuereinrichtung, insbesondere fuer schmiedepressen
DE9315323U1 (de) Vorrichtung zur Herstellung von Öffnungen aus Blech gebildeten Gehäusen, insbesondere Schaltschränken

Legal Events

Date Code Title Description
PUAI Public reference made under article 153(3) epc to a published international application that has entered the european phase

Free format text: ORIGINAL CODE: 0009012

AK Designated contracting states

Kind code of ref document: A2

Designated state(s): AT BE DE ES FR GB GR IT LU NL SE

PUAL Search report despatched

Free format text: ORIGINAL CODE: 0009013

AK Designated contracting states

Kind code of ref document: A3

Designated state(s): AT BE DE ES FR GB GR IT LU NL SE

17P Request for examination filed

Effective date: 19910406

17Q First examination report despatched

Effective date: 19911112

RAP1 Party data changed (applicant data changed or rights of an application transferred)

Owner name: BBR BAUVERFAHREN AG

GRAA (expected) grant

Free format text: ORIGINAL CODE: 0009210

AK Designated contracting states

Kind code of ref document: B1

Designated state(s): AT BE DE ES FR GB GR IT LU NL SE

PG25 Lapsed in a contracting state [announced via postgrant information from national office to epo]

Ref country code: GR

Free format text: LAPSE BECAUSE OF FAILURE TO SUBMIT A TRANSLATION OF THE DESCRIPTION OR TO PAY THE FEE WITHIN THE PRESCRIBED TIME-LIMIT

Effective date: 19940316

Ref country code: ES

Free format text: THE PATENT HAS BEEN ANNULLED BY A DECISION OF A NATIONAL AUTHORITY

Effective date: 19940316

REF Corresponds to:

Ref document number: 102855

Country of ref document: AT

Date of ref document: 19940415

Kind code of ref document: T

ITF It: translation for a ep patent filed
REF Corresponds to:

Ref document number: 58907213

Country of ref document: DE

Date of ref document: 19940421

GBT Gb: translation of ep patent filed (gb section 77(6)(a)/1977)

Effective date: 19940407

ET Fr: translation filed
PLBE No opposition filed within time limit

Free format text: ORIGINAL CODE: 0009261

STAA Information on the status of an ep patent application or granted ep patent

Free format text: STATUS: NO OPPOSITION FILED WITHIN TIME LIMIT

EAL Se: european patent in force in sweden

Ref document number: 89810017.7

PG25 Lapsed in a contracting state [announced via postgrant information from national office to epo]

Ref country code: LU

Free format text: LAPSE BECAUSE OF NON-PAYMENT OF DUE FEES

Effective date: 19950131

26N No opposition filed
PG25 Lapsed in a contracting state [announced via postgrant information from national office to epo]

Ref country code: NL

Effective date: 19950801

PG25 Lapsed in a contracting state [announced via postgrant information from national office to epo]

Ref country code: FR

Effective date: 19950929

NLV4 Nl: lapsed or anulled due to non-payment of the annual fee

Effective date: 19950801

REG Reference to a national code

Ref country code: FR

Ref legal event code: ST

PGFP Annual fee paid to national office [announced via postgrant information from national office to epo]

Ref country code: BE

Payment date: 19981211

Year of fee payment: 11

PGFP Annual fee paid to national office [announced via postgrant information from national office to epo]

Ref country code: GB

Payment date: 19981221

Year of fee payment: 11

PGFP Annual fee paid to national office [announced via postgrant information from national office to epo]

Ref country code: SE

Payment date: 19990114

Year of fee payment: 11

PGFP Annual fee paid to national office [announced via postgrant information from national office to epo]

Ref country code: AT

Payment date: 19990121

Year of fee payment: 11

PGFP Annual fee paid to national office [announced via postgrant information from national office to epo]

Ref country code: DE

Payment date: 19990330

Year of fee payment: 11

PG25 Lapsed in a contracting state [announced via postgrant information from national office to epo]

Ref country code: GB

Free format text: LAPSE BECAUSE OF NON-PAYMENT OF DUE FEES

Effective date: 20000111

Ref country code: AT

Free format text: LAPSE BECAUSE OF NON-PAYMENT OF DUE FEES

Effective date: 20000111

PG25 Lapsed in a contracting state [announced via postgrant information from national office to epo]

Ref country code: SE

Free format text: LAPSE BECAUSE OF NON-PAYMENT OF DUE FEES

Effective date: 20000112

PG25 Lapsed in a contracting state [announced via postgrant information from national office to epo]

Ref country code: BE

Free format text: LAPSE BECAUSE OF NON-PAYMENT OF DUE FEES

Effective date: 20000131

BERE Be: lapsed

Owner name: BBR BAUVERFAHREN A.G.

Effective date: 20000131

GBPC Gb: european patent ceased through non-payment of renewal fee

Effective date: 20000111

EUG Se: european patent has lapsed

Ref document number: 89810017.7

PG25 Lapsed in a contracting state [announced via postgrant information from national office to epo]

Ref country code: DE

Free format text: LAPSE BECAUSE OF NON-PAYMENT OF DUE FEES

Effective date: 20001101

PG25 Lapsed in a contracting state [announced via postgrant information from national office to epo]

Ref country code: IT

Free format text: LAPSE BECAUSE OF NON-PAYMENT OF DUE FEES;WARNING: LAPSES OF ITALIAN PATENTS WITH EFFECTIVE DATE BEFORE 2007 MAY HAVE OCCURRED AT ANY TIME BEFORE 2007. THE CORRECT EFFECTIVE DATE MAY BE DIFFERENT FROM THE ONE RECORDED.

Effective date: 20050111