EP0337922B1 - Heizungsanlage - Google Patents

Heizungsanlage Download PDF

Info

Publication number
EP0337922B1
EP0337922B1 EP89710027A EP89710027A EP0337922B1 EP 0337922 B1 EP0337922 B1 EP 0337922B1 EP 89710027 A EP89710027 A EP 89710027A EP 89710027 A EP89710027 A EP 89710027A EP 0337922 B1 EP0337922 B1 EP 0337922B1
Authority
EP
European Patent Office
Prior art keywords
temperature
heat exchanger
heating
burner
temperature sensor
Prior art date
Legal status (The legal status is an assumption and is not a legal conclusion. Google has not performed a legal analysis and makes no representation as to the accuracy of the status listed.)
Expired - Lifetime
Application number
EP89710027A
Other languages
English (en)
French (fr)
Other versions
EP0337922A2 (de
EP0337922A3 (en
Inventor
Joachim Berg
Current Assignee (The listed assignees may be inaccurate. Google has not performed a legal analysis and makes no representation or warranty as to the accuracy of the list.)
Nv Vaillant Sa
VAILLANT B.V.
Vaillant Austria GmbH
Vaillant GmbH
Vaillant SARL
Vaillant Ltd
Original Assignee
Vaillant Austria GmbH
Vaillant NV
Joh Vaillant GmbH and Co
Vaillant GmbH
Vaillant SARL
Vaillant Ltd
Vaillant BV
Priority date (The priority date is an assumption and is not a legal conclusion. Google has not performed a legal analysis and makes no representation as to the accuracy of the date listed.)
Filing date
Publication date
Application filed by Vaillant Austria GmbH, Vaillant NV, Joh Vaillant GmbH and Co, Vaillant GmbH, Vaillant SARL, Vaillant Ltd, Vaillant BV filed Critical Vaillant Austria GmbH
Publication of EP0337922A2 publication Critical patent/EP0337922A2/de
Publication of EP0337922A3 publication Critical patent/EP0337922A3/de
Application granted granted Critical
Publication of EP0337922B1 publication Critical patent/EP0337922B1/de
Anticipated expiration legal-status Critical
Expired - Lifetime legal-status Critical Current

Links

Images

Classifications

    • FMECHANICAL ENGINEERING; LIGHTING; HEATING; WEAPONS; BLASTING
    • F24HEATING; RANGES; VENTILATING
    • F24DDOMESTIC- OR SPACE-HEATING SYSTEMS, e.g. CENTRAL HEATING SYSTEMS; DOMESTIC HOT-WATER SUPPLY SYSTEMS; ELEMENTS OR COMPONENTS THEREFOR
    • F24D19/00Details
    • F24D19/10Arrangement or mounting of control or safety devices
    • F24D19/1006Arrangement or mounting of control or safety devices for water heating systems
    • F24D19/1066Arrangement or mounting of control or safety devices for water heating systems for the combination of central heating and domestic hot water
    • F24D19/1069Arrangement or mounting of control or safety devices for water heating systems for the combination of central heating and domestic hot water regulation in function of the temperature of the domestic hot water
    • FMECHANICAL ENGINEERING; LIGHTING; HEATING; WEAPONS; BLASTING
    • F24HEATING; RANGES; VENTILATING
    • F24HFLUID HEATERS, e.g. WATER OR AIR HEATERS, HAVING HEAT-GENERATING MEANS, e.g. HEAT PUMPS, IN GENERAL
    • F24H15/00Control of fluid heaters
    • F24H15/20Control of fluid heaters characterised by control inputs
    • F24H15/212Temperature of the water
    • F24H15/223Temperature of the water in the water storage tank
    • FMECHANICAL ENGINEERING; LIGHTING; HEATING; WEAPONS; BLASTING
    • F24HEATING; RANGES; VENTILATING
    • F24HFLUID HEATERS, e.g. WATER OR AIR HEATERS, HAVING HEAT-GENERATING MEANS, e.g. HEAT PUMPS, IN GENERAL
    • F24H15/00Control of fluid heaters
    • F24H15/30Control of fluid heaters characterised by control outputs; characterised by the components to be controlled
    • F24H15/305Control of valves

Definitions

  • the invention relates to a method for controlling a heating system with a primary heat exchanger that can be heated by a burner and to the flow of the primary heat exchanger via a three-way valve connected to the heating water circulation lines for heating a secondary heat exchanger arranged in a domestic hot water tank and at least one radiator, with a first temperature sensor in one for the secondary heat exchanger of the hot water tank leading branch of the flow line of the primary heat exchanger and a second temperature sensor are arranged in or on the hot water tank or its tap line and to control the three-way valve and a valve regulating the fuel supply to the burner, the two temperature sensors via signal lines to a common, via control lines with which the fuel supply to The burner regulating valve and the regulator connected to the three-way valve are connected.
  • this process water temperature is also dependent on the respective draw-off quantity and on the temperature of the cold water flowing from the supply line to the storage tank.
  • the object of the invention is therefore to provide a method in which there is a guarantee of a constant, arbitrarily selectable hot water temperature which is independent of the respective cold water temperature and the respective tap quantity, in particular when the system is operated by means of a single-stage burner.
  • the object is achieved in that, in the case of hot water tapping or recharging, the output of the burner is regulated as a function of the temperature detected by the first temperature sensor and its deviation from a target value, this target value depending on the difference between a set hot water temperature and the temperature measured by the second temperature sensor.
  • a preselectable outlet temperature of the domestic water at the tap can be guaranteed regardless of the temperature of the incoming cold water and regardless of the respective tap quantity.
  • a flow switch can be arranged in its cold water supply line or in its tap line, which starts the burner regardless of the instantaneous temperature of the storage water. If the burner is equipped with a combustion air or exhaust gas blower, the blower is operated continuously from the first burner cycle until the end of the tap cycle in order to achieve a delay-free cycle of the burner and thus to limit the fluctuations in the flow temperature to a minimum.
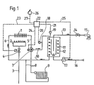
  • the water heating system comprises a burner that heats a water-carrying heat exchanger 1, preferably a gas burner 2 Fuel gas is supplied via a gas supply line 3 and a valve 4 regulating the gas supply.
  • This primary heat exchanger 1 emits heating water via a supply line 5 and is connected to a return line 6, which returns the cooled heating water.
  • a three-way valve 7 is arranged, which either opens the way to a heating circuit 8 in which there is at least one heating element 9, or - during the continuous or recharging operation - the flow flowing from the primary heat exchanger the way to a secondary heat exchanger 11 of a hot water tank 12 via the circulation line 10 opens.
  • a tap line 13 with at least one tap valve 14 and a tap point 15 starts from the hot water tank 12.
  • the hot water tank 12 is supplied with cold water from the supply line 16.
  • the flow switch 17 can be arranged, which is connected to the controller 22 via a signal line 25 and starts the continuous operation of the domestic hot water tank 12 as soon as a tap is taken.
  • the system comprises at least two temperature sensors, namely a temperature sensor 18 in the flow line 10 of the heating water heating the hot water tank 12 and a temperature sensor 19 arranged in or on this hot water tank 12 itself or on the tap line 13.
  • temperature sensors 18 and 19 are connected via signal lines 20 and 21 to a common controller 22 which controls the valve 4 regulating the fuel supply to the burner 2 via the control line 23 and the three-way valve 7 via the control line 24, depending on the two of them measured values transmitted by the temperature sensors 18 and 19.
  • the controller 22 is assigned a preselection device 26 for the desired hot water temperature and connected to it via a control line 27.
  • Figure 2 shows the head area of the domestic hot water tank 12 on a larger scale, together with the connection of the hot water circulating line 10 and the outlet of the tap line 13 and with part of the coil forming the secondary heat exchanger 11.
  • the output of the burner 2 is regulated as a function of the temperature detected by the temperature sensor 18 in the flow line 10 and its deviation from a predetermined target value.
  • This target value is formed by the controller 22 as a function of the difference between the hot water temperature set on the preselection device 26 and the temperature measured on the sensor 19.
  • the target value for the flow temperature is reduced, thus ensuring a hot water temperature that is independent of the cold water temperature and the flow rate (draw-off volume).
  • this temperature sensor 19 also takes over the function of a mechanical thermostat that regulates the temperature of the storage water and starts or ends a recharging of the domestic water storage.

Landscapes

  • Engineering & Computer Science (AREA)
  • General Engineering & Computer Science (AREA)
  • Thermal Sciences (AREA)
  • Combustion & Propulsion (AREA)
  • Mechanical Engineering (AREA)
  • Physics & Mathematics (AREA)
  • Chemical & Material Sciences (AREA)
  • Steam Or Hot-Water Central Heating Systems (AREA)
  • Sorption Type Refrigeration Machines (AREA)
  • Domestic Hot-Water Supply Systems And Details Of Heating Systems (AREA)
  • Investigating Or Analyzing Materials By The Use Of Fluid Adsorption Or Reactions (AREA)
  • Display Devices Of Pinball Game Machines (AREA)
  • Air-Conditioning For Vehicles (AREA)
  • General Preparation And Processing Of Foods (AREA)
  • General Induction Heating (AREA)

Description

  • Die Erfindung betrifft ein Verfahren zur Regelung einer Heizungsanlage mit einem durch einen Brenner beheizbaren, heizwasserführenden Primärwärmetauscher sowie an den Vorlauf des Primärwärmetauschers über ein Dreiwegeventil angeschlossene Heizwasserumlaufleitungen zur Erwärmung eines in einem Brauchwasserspeicher angeordneten Sekundärwärmetauschers und mindestens eines Heizkörpers, wobei ein erster Temperaturfühler in einem zum Sekundärwärmetauscher des Brauchwasserspeichers führenden Zweig der Vorlaufleitung des Primärwärmetauschers und ein zweiter Temperaturfühler im oder am Brauchwasserspeicher oder dessen Zapfleitung angeordnet sind und zur Steuerung des Dreiwegeventiles und eines die Brennstoffzufuhr zum Brenner regelnden Ventiles die beiden Temperaturfühler über Signalleitungen an einen gemeinsamen, über Steuerleitungen mit dem die Brennstoffzufuhr zum Brenner regelnden Ventil und mit dem Dreiwegeventil verbundenen Regler angeschlossen sind.
  • Anlagen dieser Art - bekannt aus der EP-A-146 264, der DE-A-21 32 745 oder der DE-A-21 42 545 - arbeiten bisher in einem weiten Umfang ihres Arbeitsbereiches zur Bereitstellung warmen Brauchwassers im Taktbetrieb, wobei es zwangsläufig zu Schwankungen der Temperatur des das Brauchwasser beheizenden Heizwassers kommt, die sich negativ auf die wünschenswerte Konstanthaltung der Brauchwassertemperatur auswirken.
  • Außerdem ist diese Brauchwassertemperatur auch bei gleichbleibender Temperatur des beheizenden Wassers, zum Beispiel bei Einsatz eines modulierbaren Brenners, auch noch von der jeweiligen Zapfmenge und von der Temperatur des dem Speicher aus der Versorgungsleitung zuströmenden Kaltwassers abhängig.
  • Aufgabe der Erfindung ist es deshalb, ein Verfahren anzugeben, bei dem eine von der jeweiligen Kaltwassertemperatur und von der jeweiligen Zapfmenge unabhängige Gewährleistung einer konstanten, beliebig wählbaren Brauchwassertemperatur, insbesondere bei einem Betrieb der Anlage mittels eines einstufigen Brenners, gegeben ist.
  • Erfindungsgemäß wird die Aufgabe dadurch gelöst, daß bei Brauchwasserzapfung bzw. -nachladung die Leistungsabgabe des Brenners in Abhängigkeit von der durch den ersten Temperaturfühler erfaßten Temperatur und deren Abweichung von einem Soll-Wert geregelt wird, wobei dieser Soll-Wert in Abhängigkeit von der Differenz zwischen einer eingestellten Brauchwassertemperatur und der durch den zweiten Temperaturfühler gemessenen Temperatur gebildet wird.
  • Durch die Rückwirkung der beiden Temperaturfühler auf die Stellung des Dreiwegeventils und die Brennerfunktion kann eine vorwählbare Auslauftemperatur des Brauchwassers an der Zapfstelle unabhängig von der Temperatur des zuströmenden Kaltwassers und unabhängig von der jeweiligen Zapfmenge gewährleistet werden.
  • Zur Auslösung des Durchlaufbetriebes des Brauchwasserspeichers kann in dessen Kaltwasserversorgungsleitung oder in dessen Zapfleitung ein Strömungsschalter angeordnet sein, der den Brenner unabhängig von der augenblicklichen Temperatur des Speicherwassers startet. Ist der Brenner mit einem Verbrennungsluft- oder Abgasgebläse ausgerüstet, wird ab dem ersten Brennertakt bis zum Ende des Zapfzyklus das Gebläse im Dauerlauf betrieben, um ein verzögerungsfreies Takten des Brenners zu erreichen und damit die Schwankungen der Vorlauftemperatur auf ein Minimum zu begrenzen.
  • Ein Ausführungsbeispiel des Erfindungsgegenstandes ist in den Zeichnungen veranschaulicht.
  • Im einzelnen zeigen:
  • Figur 1
    das Schaltschema der Anlage und
    Figur 2
    den Kopf des Brauchwasserspeichers.
  • Die erfindungsgemäße Wasserbeheizungsanlage umfaßt gemäß Figur 1 einen einen wasserführenden Wärmetauscher 1 beheizenden Brenner, vorzugsweise einen Gasbrenner 2, dem über eine Gaszufuhrleitung 3 und ein die Gaszufuhr regelndes Ventil 4 Brenngas zugeführt wird.
  • Dieser Primärwärmetauscher 1 gibt über eine Vorlaufleitung 5 Heizwasser ab und ist an eine Rücklaufleitung 6 angeschlossen, die das abgekühlte Heizwasser rückführt.
  • In der Vorlaufleitung 5 ist ein Dreiwegeventil 7 angeordnet, das dem Vorlauf entweder den Weg in einen Heizkreis 8 freigibt, in dem sich zumindest ein Heizkörper 9 befindet, oder - während des Durchlauf- oder Nachladebetriebes - dem vom Primärwärmetauscher zuströmenden Vorlauf den Weg zu einem Sekundärwärmetauscher 11 eines Warmwasserspeichers 12 über die Umlaufleitung 10 öffnet. Vom Warmwasserspeicher 12 geht eine Zapfleitung 13 mit zumindest einem Zapfventil 14 und einer Zapfstelle 15 aus.
  • Der Brauchwasserspeicher 12 wird aus der Versorgungsleitung 16 mit Kaltwasser versorgt. In dieser Versorgungsleitung 16 (oder in der Zapfleitung 13) kann der Strömungsschalter 17 angeordnet sein, der über eine Signalleitung 25 mit dem Regler 22 verbunden ist und den Durchlaufbetrieb des Brauchwasserspeichers 12 startet, sobald eine Zapfung erfolgt.
  • Die Anlage umfaßt zumindest zwei Temperaturfühler, nämlich einen Temperaturfühler 18 im Vorlauf der Umlaufleitung 10 des den Brauchwasserspeicher 12 beheizenden Heizwassers und einen in oder an diesem Brauchwasserspeicher 12 selbst oder an der Zapfleitung 13 angeordneten Temperaturfühler 19.
  • Diese Temperaturfühler 18 und 19 sind über Signalleitungen 20 beziehungsweise 21 mit einem gemeinsamen Regler 22 verbunden, der über die Steuerleitung 23 das die Brennstoffzufuhr zum Brenner 2 regelnde Ventil 4 und über die Steuerleitung 24 das Dreiwegeventil 7 steuert, und zwar in Abhängigkeit von den beiden ihm seitens der Temperaturfühler 18 und 19 übermittelten Meßwerte.
  • Dem Regler 22 ist eine Vorwahleinrichtung 26 für die gewünschte Brauchwassertemperatur zugeordnet und über eine Steuerleitung 27 mit diesem verbunden.
  • Figur 2 zeigt den Kopfbereich des Brauchwasserspeichers 12 in einem größeren Maßstab, samt dem Anschluß der heizwasserführenden Umlaufleitung 10 und dem Ausgang der Zapfleitung 13 sowie mit einem Teil der den Sekundärwärmetauscher 11 bildenden Rohrschlange.
  • Die Leistungsabgabe des Brenners 2 wird in Abhängigkeit von der durch den Temperaturfühler 18 in der Vorlaufleitung 10 erfaßten Temperatur und deren Abweichung von einem vorgegebenen Soll-Wert geregelt. Dieser Soll-Wert wird durch den Regler 22 in Abhängigkeit von der Differenz zwischen der an der Vorwahleinrichtung 26 eingestellten Brauchwassertemperatur und der am Fühler 19 gemessenen Temperatur gebildet.
  • Mit steigender Brauchwassertemperatur wird der Soll-Wert für die Vorlauftemperatur zurückgenommen und somit eine von der Kaltwassertemperatur und der Durchflußmenge (Zapfmenge) unabhängige Brauchwassertemperatur gewährleistet.
  • Außerhalb der Zapfzeiten übernimmt dieser Temperaturfühler 19 auch die Funktion eines die Temperatur des Speicherwassers regelnden mechanischen Thermostaten und startet beziehungsweise beendet eine Nachladung des Brauchwasserspeichers.

Claims (1)

  1. Verfahren zur Regelung einer Heizungsanlage mit einem durch einen Brenner (2) beheizbaren, heizwasserführenden Primärwärmetauscher (1) sowie an den Vorlauf (5) des Primärwärmetauschers (1) über ein Dreiwegeventil (7) angeschlossene Heizwasserumlaufleitungen (10 und 8) zur Erwärmung eines in einem Brauchwasserspeicher (12) angeordneten Sekundärwärmetauschers (11) und mindestens eines Heizkörpers (9), wobei ein erster Temperaturfühler (18) in einem zum Sekundärwärmetauscher (11) des Brauchwasserspeichers (12) führenden Zweig der Vorlaufleitung (5) des Primärwärmetauschers (1) und ein zweiter Temperaturfühler (19) im oder am Brauchwasserspeicher (12) oder dessen Zapfleitung (13) angeordnet sind und zur Steuerung des Dreiwegeventils (7) und eines die Brennstoffzufuhr zum Brenner (2) regelnden Ventiles (4) die beiden Temperaturfühler (18 und 19) über Signalleitungen (20 und 21) an einen gemeinsamen, über Steuerleitungen (23 und 24) mit dem die Brennstoffzufuhr zum Brenner (2) regelnden Ventil (4) und mit dem Dreiwegeventil (7) verbundenen Regler (22) angeschlossen sind, dadurch gekennzeichnet, daß bei Brauchwasserzapfung bzw. -nachladung die Leistungsabgabe des Brenners (2) in Abhängigkeit von der durch den ersten Temperaturfühler (18) erfaßten Temperatur und deren Abweichung von einem Soll-Wert geregelt wird, wobei dieser Soll-Wert in Abhängigkeit von der Differenz zwischen einer eingestellten Brauchwassertemperatur und der durch den zweiten Temperaturfühler (19) gemessenen Temperatur gebildet wird.
EP89710027A 1988-04-15 1989-04-17 Heizungsanlage Expired - Lifetime EP0337922B1 (de)

Applications Claiming Priority (2)

Application Number Priority Date Filing Date Title
AT0097888A AT389584B (de) 1988-04-15 1988-04-15 Heizungsanlage
AT978/88 1988-04-15

Publications (3)

Publication Number Publication Date
EP0337922A2 EP0337922A2 (de) 1989-10-18
EP0337922A3 EP0337922A3 (en) 1990-10-31
EP0337922B1 true EP0337922B1 (de) 1994-02-02

Family

ID=3504143

Family Applications (1)

Application Number Title Priority Date Filing Date
EP89710027A Expired - Lifetime EP0337922B1 (de) 1988-04-15 1989-04-17 Heizungsanlage

Country Status (3)

Country Link
EP (1) EP0337922B1 (de)
AT (2) AT389584B (de)
DE (2) DE3912593A1 (de)

Families Citing this family (8)

* Cited by examiner, † Cited by third party
Publication number Priority date Publication date Assignee Title
BE1004890A6 (nl) * 1990-05-07 1993-02-16 Vaillant Sa Waterverhittingsinrichting.
IT1254266B (it) * 1992-03-12 1995-09-14 Gruppo idraulico perfezionato per impianti misti di riscaldamento e acqua sanitaria
AT402764B (de) * 1992-04-07 1997-08-25 Vaillant Gmbh Wasserheizer für brauch- und heizungswasser
AT405465B (de) * 1996-01-15 1999-08-25 Vaillant Gmbh Wasserheizungsanlage
SE9601181D0 (sv) * 1996-03-27 1996-03-27 Alf Ottosson Sätt och anordning för temperaturreglering av tappvarmvatten
DE19850714A1 (de) * 1998-11-03 2000-05-04 Gaswaerme Inst Ev Verfahren und Anordnung zur Heizwärme- und Warmwasserbereitung
DE102009034556A1 (de) * 2009-07-23 2011-02-03 Viessmann Werke Gmbh & Co Kg Verfahren zur Überwachung des Verschmutzungszustandes eines Wärmetauschers zur Warmwasserbereitung an einem Heizgerät
IT201600068864A1 (it) * 2016-07-01 2018-01-01 Eti S N C Di Fogale Maria Elisa & Bortolato Luciano Kit o sistema di distribuzione di energia termica per la produzione di acqua calda sanitaria e per riscaldamento e impianto utilizzante detto kit

Family Cites Families (4)

* Cited by examiner, † Cited by third party
Publication number Priority date Publication date Assignee Title
AT306305B (de) * 1970-12-14 1973-04-10 Vaillant Joh Kg Umlaufheizungsanlage mit Gebrauchswasserbereiter
DE2142545B1 (de) * 1971-08-25 1973-02-08 Joh. Vaillant Kg, 5630 Remscheid
DE2307109A1 (de) * 1973-02-14 1974-08-29 Junkers & Co Heizgeraet fuer brauch- und heizwasser
GB2151816B (en) * 1983-12-19 1986-10-08 British Gas Corp Control of a central heating system

Also Published As

Publication number Publication date
DE58906857D1 (de) 1994-03-17
ATA97888A (de) 1989-05-15
ATE101255T1 (de) 1994-02-15
DE3912593A1 (de) 1989-10-26
EP0337922A2 (de) 1989-10-18
EP0337922A3 (en) 1990-10-31
AT389584B (de) 1989-12-27

Similar Documents

Publication Publication Date Title
EP0337922B1 (de) Heizungsanlage
EP0308848B1 (de) Verfahren und Vorrichtung zur Steuerung der Temperatur des Heizmediums einer Umlaufheizung mit einer Minimaltemperaturbegrenzung
DE69709928T2 (de) Kombiniertes Regelsystem für Gas und Luft zur Verbrennungsregelung eines Gasheizkessels
AT394771B (de) Verfahren und einrichtung zur durchfuehrung des verfahrens zum sofortigen zapfen von warmem brauchwasser
EP1310746B1 (de) Vorrichtung und Verfahren zur Regelung von Thermen
DE4303579A1 (en) Fuel fired heater for hot water heating system - has monitor for mean temperature of heat exchanger to allow for condensation effects
DE19530000A1 (de) Warmwasserbereitungsanlage
EP0229319B1 (de) Warmwasser-Heizungsanlage mit Wärmeverbrauchsmesser
DE2931024C2 (de) Vorrichtung zur Steuerung der Brennstoffzufuhr und der Luftzufuhr zu einem Brenner
EP0642069B1 (de) Regeleinrichtung
CH688491A5 (de) Verfahren zum Betrieb eines einen Brenner aufweisenden Brennwertgeraetes.
EP1508751A1 (de) Verfahren und Einrichtung zur Anpassung der Vorlauftemperatur eines Wärmeerzeugers an die jeweilige Heizkreisbelastung einer nachgeschalteten Heizungsanlage
DE102005040792B3 (de) Selbstlernender Temperaturregler
EP0049328A1 (de) Vorrichtung zur Ausnutzung der Wärme im Abgas von mehreren Prozessbereichen
DE19511366B4 (de) Verfahren zur Steuerung einer Heizungsanlage
DE3832495A1 (de) Verfahren und vorrichtung zur steuerung der temperatur des heizmediums einer umlaufheizung mit einer minimaltemperaturbegrenzung
AT397854B (de) Verfahren zur steuerung eines kessels
DE2529858A1 (de) Verfahren und vorrichtung zur steuerung einer waermeuebertragungsanlage, insbesondere zentralheizungsanlage
DE3515658C2 (de)
DE3503738A1 (de) Schaltung zum steuern der waermeabgabe einer brennstoffbeheizten waermequelle
DE19645135A1 (de) Verfahren zur Steuerung einer Heizungsanlage
DE4110629C1 (en) Heat or cooling generator regulator - has by=pass line between outward and return paths each with own temp. sensor
DE3871701T2 (de) Gaskesselregulierungseinrichtung.
EP0916903A2 (de) Raumheizungsanlage und Verfahren zum Betreiben derselben
EP0711960A1 (de) Verfahren und Vorrichtung zum Aufheizen von Brauchwasser

Legal Events

Date Code Title Description
PUAI Public reference made under article 153(3) epc to a published international application that has entered the european phase

Free format text: ORIGINAL CODE: 0009012

AK Designated contracting states

Kind code of ref document: A2

Designated state(s): AT BE CH DE ES FR GB GR IT LI LU NL SE

PUAL Search report despatched

Free format text: ORIGINAL CODE: 0009013

AK Designated contracting states

Kind code of ref document: A3

Designated state(s): AT BE CH DE ES FR GB GR IT LI LU NL SE

17P Request for examination filed

Effective date: 19901212

17Q First examination report despatched

Effective date: 19910814

RAP1 Party data changed (applicant data changed or rights of an application transferred)

Owner name: VAILLANT S.A.R.L

Owner name: VAILLANT GES.M.B.H

Owner name: VAILLANT B.V.

Owner name: VAILLANT GMBH

Owner name: VAILLANT LTD.

Owner name: JOH. VAILLANT GMBH U. CO.

Owner name: N.V. VAILLANT S.A.

RAP3 Party data changed (applicant data changed or rights of an application transferred)

Owner name: N.V. VAILLANT S.A.

Owner name: JOH. VAILLANT GMBH U. CO.

Owner name: VAILLANT GMBH

Owner name: VAILLANT S.A.R.L

Owner name: VAILLANT GES.M.B.H

Owner name: VAILLANT B.V.

Owner name: VAILLANT LTD.

GRAA (expected) grant

Free format text: ORIGINAL CODE: 0009210

AK Designated contracting states

Kind code of ref document: B1

Designated state(s): AT BE CH DE ES FR GB GR IT LI LU NL SE

PG25 Lapsed in a contracting state [announced via postgrant information from national office to epo]

Ref country code: IT

Free format text: LAPSE BECAUSE OF FAILURE TO SUBMIT A TRANSLATION OF THE DESCRIPTION OR TO PAY THE FEE WITHIN THE PRE;WARNING: LAPSES OF ITALIAN PATENTS WITH EFFECTIVE DATE BEFORE 2007 MAY HAVE OCCURRED AT ANY TIME BEFORE 2007. THE CORRECT EFFECTIVE DATE MAY BE DIFFERENT FROM THE ONE RECORDED.SCRIBED TIME-LIMIT

Effective date: 19940202

Ref country code: GB

Effective date: 19940202

Ref country code: GR

Free format text: LAPSE BECAUSE OF FAILURE TO SUBMIT A TRANSLATION OF THE DESCRIPTION OR TO PAY THE FEE WITHIN THE PRESCRIBED TIME-LIMIT

Effective date: 19940202

Ref country code: ES

Free format text: THE PATENT HAS BEEN ANNULLED BY A DECISION OF A NATIONAL AUTHORITY

Effective date: 19940202

Ref country code: SE

Effective date: 19940202

Ref country code: NL

Effective date: 19940202

REF Corresponds to:

Ref document number: 101255

Country of ref document: AT

Date of ref document: 19940215

Kind code of ref document: T

REF Corresponds to:

Ref document number: 58906857

Country of ref document: DE

Date of ref document: 19940317

PG25 Lapsed in a contracting state [announced via postgrant information from national office to epo]

Ref country code: LU

Free format text: LAPSE BECAUSE OF NON-PAYMENT OF DUE FEES

Effective date: 19940430

ET Fr: translation filed
NLV1 Nl: lapsed or annulled due to failure to fulfill the requirements of art. 29p and 29m of the patents act
GBV Gb: ep patent (uk) treated as always having been void in accordance with gb section 77(7)/1977 [no translation filed]

Effective date: 19940202

PLBE No opposition filed within time limit

Free format text: ORIGINAL CODE: 0009261

STAA Information on the status of an ep patent application or granted ep patent

Free format text: STATUS: NO OPPOSITION FILED WITHIN TIME LIMIT

26N No opposition filed
PGFP Annual fee paid to national office [announced via postgrant information from national office to epo]

Ref country code: BE

Payment date: 19950308

Year of fee payment: 7

PGFP Annual fee paid to national office [announced via postgrant information from national office to epo]

Ref country code: FR

Payment date: 19950322

Year of fee payment: 7

PGFP Annual fee paid to national office [announced via postgrant information from national office to epo]

Ref country code: AT

Payment date: 19950323

Year of fee payment: 7

PGFP Annual fee paid to national office [announced via postgrant information from national office to epo]

Ref country code: CH

Payment date: 19950327

Year of fee payment: 7

PG25 Lapsed in a contracting state [announced via postgrant information from national office to epo]

Ref country code: AT

Effective date: 19960417

PG25 Lapsed in a contracting state [announced via postgrant information from national office to epo]

Ref country code: CH

Effective date: 19960430

Ref country code: LI

Effective date: 19960430

Ref country code: BE

Effective date: 19960430

PGFP Annual fee paid to national office [announced via postgrant information from national office to epo]

Ref country code: DE

Payment date: 19960430

Year of fee payment: 8

BERE Be: lapsed

Owner name: N.V. VAILLANT S.A.

Effective date: 19960430

REG Reference to a national code

Ref country code: CH

Ref legal event code: PL

PG25 Lapsed in a contracting state [announced via postgrant information from national office to epo]

Ref country code: FR

Effective date: 19961227

REG Reference to a national code

Ref country code: FR

Ref legal event code: ST

PG25 Lapsed in a contracting state [announced via postgrant information from national office to epo]

Ref country code: DE

Free format text: LAPSE BECAUSE OF NON-PAYMENT OF DUE FEES

Effective date: 19980101