EP0309397B2 - Sanitäre Wasseranschlussanordnung - Google Patents

Sanitäre Wasseranschlussanordnung Download PDF

Info

Publication number
EP0309397B2
EP0309397B2 EP88810601A EP88810601A EP0309397B2 EP 0309397 B2 EP0309397 B2 EP 0309397B2 EP 88810601 A EP88810601 A EP 88810601A EP 88810601 A EP88810601 A EP 88810601A EP 0309397 B2 EP0309397 B2 EP 0309397B2
Authority
EP
European Patent Office
Prior art keywords
housing
valve
connection
arrangement according
pipe
Prior art date
Legal status (The legal status is an assumption and is not a legal conclusion. Google has not performed a legal analysis and makes no representation as to the accuracy of the status listed.)
Expired - Lifetime
Application number
EP88810601A
Other languages
English (en)
French (fr)
Other versions
EP0309397B1 (de
EP0309397A1 (de
Current Assignee (The listed assignees may be inaccurate. Google has not performed a legal analysis and makes no representation or warranty as to the accuracy of the list.)
Geberit Technik AG
Fides BV
Original Assignee
FIDES TREUHANDGESELLSCHAFT
Fides Treuhand GmbH
Priority date (The priority date is an assumption and is not a legal conclusion. Google has not performed a legal analysis and makes no representation as to the accuracy of the date listed.)
Filing date
Publication date
Family has litigation
First worldwide family litigation filed litigation Critical https://patents.darts-ip.com/?family=27428641&utm_source=google_patent&utm_medium=platform_link&utm_campaign=public_patent_search&patent=EP0309397(B2) "Global patent litigation dataset” by Darts-ip is licensed under a Creative Commons Attribution 4.0 International License.
Application filed by FIDES TREUHANDGESELLSCHAFT, Fides Treuhand GmbH filed Critical FIDES TREUHANDGESELLSCHAFT
Priority to AT88810601T priority Critical patent/ATE74641T1/de
Publication of EP0309397A1 publication Critical patent/EP0309397A1/de
Publication of EP0309397B1 publication Critical patent/EP0309397B1/de
Application granted granted Critical
Publication of EP0309397B2 publication Critical patent/EP0309397B2/de
Anticipated expiration legal-status Critical
Expired - Lifetime legal-status Critical Current

Links

Images

Classifications

    • EFIXED CONSTRUCTIONS
    • E03WATER SUPPLY; SEWERAGE
    • E03CDOMESTIC PLUMBING INSTALLATIONS FOR FRESH WATER OR WASTE WATER; SINKS
    • E03C1/00Domestic plumbing installations for fresh water or waste water; Sinks
    • E03C1/02Plumbing installations for fresh water
    • E03C1/04Water-basin installations specially adapted to wash-basins or baths
    • E03C1/042Arrangements on taps for wash-basins or baths for connecting to the wall
    • EFIXED CONSTRUCTIONS
    • E03WATER SUPPLY; SEWERAGE
    • E03CDOMESTIC PLUMBING INSTALLATIONS FOR FRESH WATER OR WASTE WATER; SINKS
    • E03C1/00Domestic plumbing installations for fresh water or waste water; Sinks
    • E03C1/02Plumbing installations for fresh water
    • E03C1/021Devices for positioning or connecting of water supply lines

Definitions

  • the present invention relates to a sanitary water connection arrangement according to the preamble of independent claim 1.
  • the generic EP-B-119 960 known armature connection member provided a so-called battery piece, which the disordered supply lines according to the definition in claim 1 arranged offset to one another in the axial direction are.
  • the fitting engages in the hole in the battery piece. If either in the valve or in the Battery piece two parallel circumferential grooves each communicating with an inflow line are provided, the valve can be used in any rotational position with regard to the battery piece. But if hot and cold water supply the part of the valve that dips into the hole must be separated from it, to make it possible to change the plug.
  • the insert part with its axial bores is very expensive in production, so that it hardly arouses great interest in new installation technology can.
  • This conventional assembly is opposed to the so-called chaotic assembly, for example Due to structural reasons it is not possible to arrange the supply lines for hot and cold water supply, or in old buildings, in which due to the old separate taps, the connections must be made in an orderly manner are. Therefore, an adjustment or even change should be possible.
  • the connector itself is only designed for an end connection of the two water pipes and not intended for the passage of two water pipes. However, this connector shows one central connection, which communicates with the one water pipe and a ring channel leading around it, who communicates with the other water pipe. This ensures that the valve is in position.
  • a disadvantage of the proposed solution is that the position of the fitting is only corrected via the thread can be used, so that only a very specific type of fittings can be used. Correcting the thickness of the Plastering can also only be corrected by screwing it in more or less deep, which is the case with such Diameter of the screw parts is difficult. Furthermore, none can be arranged with such an arrangement Install filter or backflow preventer or other additional elements.
  • DE-A-17 24 793 shows an arrangement which is very similar to that according to DE-A-18 11 936, but in which the housing of the fitting is connected to the connecting piece via a connecting threaded tube.
  • connection device for mixing fittings has become known, which has a fitting, which has comparatively complex channels and can be rotated around a connection to correct.
  • FIGS. 1 to 5 are not covered by claim 1 and serve only for explanation.
  • connection pieces 12, 12 'and 13, 13' are arranged parallel to one another in the connecting part 10.
  • the connecting pieces 12, 12 'on the one hand and 13, 13' on the other hand form two separate pipe connections.
  • a branch line 14, 15 is branched off from each of these pipe connections, the axes of which are perpendicular to the plane of the pipe connection and are arranged parallel to the axis of the cylindrical base part 11.
  • Any known single or multi-lever mixer can be used as a fitting.
  • FIG Embodiments drawn For the rigid connection between the valve housing 21 and the base part 11, two different ones are shown in FIG Embodiments drawn.
  • a union nut 16a by means of a Threaded ring 17 held captive on the base part 11.
  • the uebrew mother carries 16a a thread with which it is screwed onto the housing of the fitting 2.
  • the stop for the screw-in depth of the union nut 16a is given by the length of the nipples 3, 3 ', which engage with their cylindrical pin 32 in an insertion opening and abut there.
  • CH-A-381 170 are nipples for connecting a flush-mounted connector to a valve known. Only the nipples have a bead with the known, with which a support plate to the Wall is used. The fitting is attached to the support plate using a union nut. As a result, the nipples are permanently loaded and could therefore change structurally. Serve against it the nipple according to the present invention only the adjustable adjustment of the valve. The force fit occurs between the housing of the valve and the connection housing.
  • connection housing 1 can be covered with a plastic protective sleeve 18, which is used to keep the space required for fastening the fitting can be designed in a known manner as a cap, to be cut off after pouring.
  • the second embodiment for the union nut 16b is shown on the right in FIG.
  • the only difference The first embodiment described above is that it does not have a threaded ring is held on the connection housing 1, but with a second thread. If the top thread is one has a smaller pitch than the lower thread, e.g. 2 mm and 1.5 mm, the armature 2 for Be brought stop between the sleeves 30 and the pin 32 as long as the union nut 16b is screwed to it.
  • This distributor 4 is thus provided with plug sockets 30, 30 'for the nipples 3, 3', which are also the Make stops for the insertion depth. From the outside, the distributor 4 consists of a base cylinder 53 and a plug-in cylinder 54 for the connection to the fitting 2, which will be discussed later.
  • the two cylinders 53, 54 differ in diameter, the base cylinder 53 being one has a larger diameter than the insertion cylinder 54.
  • the passages within the distributor 4 are simple axial bores, one of which is a passage 59 in the shoulder surface 55, as the top surface of the base cylinder 53, opens as an opening 59b and between the corresponding plug-in socket 30, 30 'and this opening as an axially parallel bore and the other passage 58 is composed of two bores 58a, 58b, one of which in the base part 53 eccentrically but axially parallel and that in the insert cylinder 54 are coaxial and themselves overlap at least partially and form a free passage.
  • no backflow preventers are provided. But these can be in the simplest way according to the embodiment of Figure 2 can be installed in the distributor 4 by the additional length of the two cavities 58c, 59c is extended.
  • the housing must of course also be used 21 of the armature 2 can be extended by the same amount.
  • the remaining parts such as connection housing 1, nipple 3, 3 'and armature 2 are the same as in the previously described exemplary embodiments.
  • Another advantage of this invention is the fact that instead of the nipples 3, 3 'plugs for pressing of the lines or ventilation valves can be screwed in, so that the entire pre-installation is feasible.
  • connection housing 1 with the connection part 10 and a cylindrical Housing part 11 recognizable.
  • connecting part 10 On the connecting part 10 there are again two pairs of connecting pieces 12, 12 'and 13, 13' arranged in parallel to each other.
  • An eccentric, axially parallel bore is arranged above the pair 12, 12 ', which leads into the connecting piece connection penetrates and so forms a stub 15.
  • a central bore 117 is in the housing part 11 present, which has a radius that is the distance between the axis of the housing part 11 and the extreme peripheral point of the stub 15 corresponds, or as shown in Fig.3, slightly larger than this Distance is. From the bottom 119 of this central bore 117 there is a blind hole 14 between the two pairs the connecting piece 12, 12 '13, 13' drilled, which the wall of the second pair of connecting pieces 13, 13 ' breaks through and thus creates a radial stub.
  • a cylindrical recess 116 is formed centrally in the bottom 119 in the central bore 117 is located above the blind hole 14 and serves as a seat for a pipe section 105.
  • connection part of the fitting which is the connection to the second feed hole 126.
  • the line 127 is shown for connection for mixed water.
  • a union nut 129 is caught on the connection housing 1 with a threaded ring 118 and is open a thread 128 is screwed to the housing 21, so that the housing 21 and the connection housing 1 are rigid are interconnectable.
  • valve can be precisely positioned even with inaccurately laid conduits Alignment to be corrected.
  • this can result in the swapping of hot and cold water pipes cannot be undone.
  • an additional element according to FIG. 4 is used instead of the pipe section 105 in Fig.3 required.
  • This distributor 4 is in the central bore 117 in the connection housing 1 and in the central bore 122 used in the housing 21 of the armature 2.
  • the distributor 4 engages in the cylindrical recess on the one hand 116 in the connection part 10 of the connection housing 1 and on the other hand into the bore 123 in the housing 21 a.
  • a radial flange 142 bears sealingly against the wall of the central bore 122 of the housing 21 and divides the ring channel in Figure 3 into an annular channel 143 in the connection housing 1 and an annular channel 144 in Housing 21.
  • the axially parallel lines 145, 146 and radial openings 147, 148 separate the two ring channels 143, 144 connected to the respective connector 140, 141 located at the opposite end of the distributor 4. This means that the connection paths according to FIG. 3 are interchanged.
  • a union nut 129 which is caught on the connection housing, for fastening the valve 2 on the connection housing 1 must be provided to the two parts, the pipe section 105 or to keep the distributor 4 interchangeable, can be an adjustment of the distance from the wall surface cannot be made possible without additional funds.
  • FIG. 5 Such an arrangement for setting both conventional precise installation and chaotic Installation with adjustment of the wall distance is shown in Fig. 5. Although only the execution here is shown with a distributor, this distributor could of course also by a piece of pipe according Fig.3 to be replaced.
  • the changes compared to the explanations according to FIGS. 3 and 4 thus relate to an extension of the cylindrical recess 116 in Figures 3 and 4, an extension of the lower neck of the distributor 4 and an extension engaging in the central bore 117 in the connection housing 1 the wall of the housing 21.
  • connecting part 10 with four pipe sockets 12, 12 '13, 13 'provided, which are arranged in pairs parallel to each other in a row.
  • neck Above this neck there is a cylindrical base part 11 with an axial main bore 218.
  • the one connecting piece pair 13, 13 ' is open to the main bore 218 with a first stub 15.
  • the other connection pipe pair 12, 12 ' is cut with a second stub 14, so that a passage 19 is radial Direction in the main bore 218 results.
  • a cylindrical distributor 4 is rotatably inserted into the main bore 218.
  • This distributor 4 has one pierced pin 221, which is sealingly inserted into the second stub 14.
  • One across from the front edge 222 of the pin 221 set back surface 223 forms with the bottom 217 of the main bore 218 together an annular channel 224 leading around the pin 221.
  • An axially parallel first passage 225 in the distributor 4 communicates with the first stub 15 in Connecting part 11 and a second passage 226 diametrically opposite this stub 15 communicates with a coaxial bore 227 in the pin 221 via a connection 226 '. Centric between the Mouths of the passages 225, 226 there is an axial bore 228.
  • the distributor 4 is held in the housing part 11 by means of a holding plate 229.
  • This holding plate 229 in turn is rigidly held by means of three screws 230 which are screwed into peripheral eyes 216 on the housing part 11.
  • it has a central position another threaded bore 233 aligned with bore 228.
  • connection housing 1 can be dismantled and, provided that the screw-in depth of the bolt 246 does not change it can be put back on and fastened after any repairs have been made.
  • the Water-carrying parts, namely the distributor 4 and the nipples 3, 3 ', are not under load.
  • the Krafl River arrives from the bolt 246 to the holding plate 229 and via the screws 230 into the connection housing 1.
  • Two are used for the basic setting of the screwing depth of the stud screw 246 into the holding plate 229 or one or more spacer rings 234, 235, of which one spacer ring 234 on the valve housing 21 the fitting 2 is screwed on.
  • exemplary embodiments for fittings with a mixed water line are provided for direct outlet from the fitting, have the following exemplary embodiments according to Fig. 9 to 17 mixed water pipes, which via the plastered connection housing, to a shower and / or a bath water inlet.
  • DE-A-35 19 652 provides an arrangement with an additional connection piece for mixed water, however, four valves are arranged in the connection housing, two of which each have an outlet at the end Communicate the hole on the one hand and the continuous cold or hot water channel on the other.
  • the two holes are aligned with further holes in a distributor on which the Mixer tap is attached.
  • Cold or warm water can be supplied to the two holes so that a wrong connection to the connecting piece can be corrected.
  • This is special Useful if fittings are connected to the same pipes on both sides of the wall should be.
  • this known arrangement requires that the cold and hot water pipes run horizontally. This makes complex installations required.
  • a further embodiment for a connection arrangement for a mixing valve is in section in FIG shown. It comprises a sub-concealed connection housing 1 with a cold water pipe and one Hot water pipe with one connection piece 12, 12 ', 13, 13' (Fig.11), so that the connection housing 1 can be used in continuous lines. Transversely to the connection piece pairs 12, 12 ', 13, 13' two mixed water connecting pieces 306, 307 are arranged. Perpendicular to the level of the connection pipe pairs 12, 12 ', 13, 13', coaxial, cylindrical bores 308 are machined in the connection housing. Coaxial a valve housing 21 is fastened to the bores 308 on the connection housing 1 by means of screws 323.
  • the screw head presses a collar 319 of the valve housing 21 against the connection housing 1 and is supported on the outside by a ring 320. This allows the valve body 21 to be around turn its axis in relation to the connection housing 1 and fix it with the screws 323.
  • the valve housing 21 has a threaded bore 322 with a flat base 323 for inserting a mixing valve, not shown.
  • a mixing valve not shown.
  • the base area 323 three axially parallel Holes 316, 317.318 for hot water, cold water and mixed water, with corresponding holes the mixer tap.
  • a distributor 4 is used, which in the Embodiment according to Figure 9 consists of two coaxial tubes 326, 327. These enclose together with the outermost bore 308 three coaxial ring channels 328, 329, 330. These ring channels connect passages 333, 334 or stub lines 14, 15 of the connection housing 1 with passages 335, 336, 337 of Fitting housing 21, which are each connected to one of the bores 316, 317, 318.
  • Passages 333, 334 and branch lines 14, 15 open into the coaxial bores at different radial distances 308 and connect the three ring channels 328, 329, 330 to the connecting piece pairs 12, 12 ', 13, 13', wherein the outermost ring channel 330 is connected to both mixed water connecting pieces 306, 307.
  • the distributor 4 is opposite on both sides by two concentric O-rings 338 of different diameter Fitting housing 21 or the connection housing 1 sealed.
  • the inner tube 326 of the distributor 4 is exchanged for a distributor 4, according to FIG. 10.
  • the distributor 4 seals with a flange 344 and an O-ring 345 in the tube 327.
  • the two passages 328, 329 connect the passages 331 and 336 or 332 and 335 to one another here, so that cold and Hot water swapped over to the variant according to Fig. 9 reaches the mixer tap.
  • Connection housing 1 also has a shuttle valve 352 installed.
  • this valve 352 the mixed water can optionally via one of the two outlets 353, 354 one of the two mixed water connections 306, 307, e.g. for connecting a bath spout or a shower. Otherwise this corresponds Embodiment of that according to FIG. 9.
  • the shuttle valve 352 is arranged in the valve housing 21.
  • the distributor 4 has a further coaxial tube 357, which has the two outlets 353, 354 of the valve 352 separates from each other, so that they are each connected to one of the mixed water connecting pieces 306, 307 are.
  • the two channels 333, 334 of the connection housing 1 open in different radial Distances in one of the coaxial bores 308.
  • the embodiment corresponds to FIG. 13 and 14 those according to Fig.12.
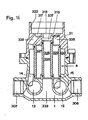
  • FIG. 15 A further variant of the embodiment according to FIGS. 13 and 14 is shown in FIG. 15, in which the Fitting housing 21 can be rotated relative to the connection housing 1 as well as being continuously axially displaceable and is noticeable.
  • the valve housing 21 has a tubular extension 360, which is in the outermost one Bore 308 of the connection housing 1 longitudinally displaceable and rotatable and with another O-ring 361 is sealed.
  • a clamped on the shoulder 360, conical on both sides, is used for clamping tapered, slotted ring 362. This is in corresponding conical surfaces of a flange 363 of the Connection housing 1 and a ring 364 used.
  • the ring 364 is countered by the screws 323 pulled the flange 363 and thereby presses the ring 362 radially against the shoulder 360.
  • the tubes 326, 327, 357 of the distributor 4 are connected here by axially parallel ribs 365 and engage in coaxial, tubular lugs 366 rigidly connected to the connection housing 1.
  • the innermost tube 326 is over a thread 367 is screwed into the valve housing 21. Otherwise, the embodiment corresponds to Fig. 15 that according to Fig. 13 and 14.
  • the embodiment according to FIG. 16 differs from that according to FIG. 9 by a different arrangement of the passages.
  • the housing bore 318 for mixed water is here via the central ring line 328 of the distributor 4 with the common passage 333 connecting the mixed water connections 306, 307 connected in the connection housing 1.
  • Cold and hot water are connected to the two ring channels 329, 330 Bores 316, 317 out.
  • the embodiment according to FIG. 16 corresponds to that according to FIG. 9.
  • valve housing 21 is opposite the connection housing 1 as in the example of FIG. 15, both rotatable and axially steplessly displaceable.
  • the distributor As in the embodiment according to FIG. 13, 4 is in coaxial cylindrical bores 308 of the connection housing 1 with cylindrical lugs 371 used sealing.
  • the distributor is on the opposite end 4 flat and is rotatable against one by means of screws 372 and a washer 373 on the connection housing 1 attached washer 374.
  • the disk 374 has four eccentric through holes 375 which align with axially parallel holes 376 in the distributor 4. Each of the holes 376 communicates with one the ring channels 328, 329, 330, 330a.
  • valve body 21 Longitudinally displaceable in the bores 376, sealed by O-rings 377, into the fitting housing 21 screwed nipples 3, 3 '.
  • the valve body 21 is through the Screws 323 over a ring 379 against a central support screw screwed into the washer 374 380 dressed. Due to the screwing depth of the screw 380, the axial position of the valve housing 21 fixed relative to the connection housing 1 and thus an inaccuracy in the thickness of the plaster or Wall cladding can be balanced. Otherwise, the embodiment according to FIGS. 17 and 18 corresponds to that 15.
  • the distributor 4 can be very simple in all of the described embodiments and e.g. be produced as a plastic injection molded part. An exchange of this distributor with one with another Routing is possible with little effort. This way, for a given connection hole pattern the mixer tap the inlets and outlets of this tap arbitrarily with the different Connection pieces of the distributor are connected.

Landscapes

  • Health & Medical Sciences (AREA)
  • Life Sciences & Earth Sciences (AREA)
  • Engineering & Computer Science (AREA)
  • Hydrology & Water Resources (AREA)
  • Public Health (AREA)
  • Water Supply & Treatment (AREA)
  • Valve Housings (AREA)
  • Domestic Plumbing Installations (AREA)

Description

Die vorliegende Erfindung betrifft eine sanitäre Wasseranschlussanordnung gemäss dem Oberbegriff des unabhängigen Patentanspruchs 1.
Für die Bewältigung der Probleme, die sich mit ungeordneter Installation ergeben, wurde bei dem nach der gattungsbildenden EP-B-119 960 bekannten Armaturanschlussorgan ein sogenanntes Batteriestück vorgesehen, dem die ungeordneten Zuleitungen gemäss der Definition im Patentanspruch 1 in Axialrichtung zueinander versetzt angeordnet sind. Die Armatur greift in die Bohrung im Batteriestück ein. Wenn entweder in der Armatur oder im Batteriestück zwei je mit einer Zuflussleitung kommuniziernde parallele umlaufende Nuten vorgesehen sind, kann die Armatur in jeder Drehlage bezüglich des Batteriestückes benützt werden. Wenn aber Warm- und Kaltwasserzufuhr vertauscht sind, muss das in die Bohrung eintauchende Teil der Armatur von dieser getrennt werden, um ein Umstecken zu ermöglichen. Der Einsteckteil mit seinen axialen Bohrungen ist jedoch sehr teuer in der Herstellung, so dass damit kaum ein grosses Interesse an einer neuen Installationstechnik geweckt werden kann.
Bei konventionellen sanitären Anlagen werden Kalt- und Warmwasserleitungen parallel in Unterputzmontage verlegt. Die Zuleitungen zu den Armaturen sind genormt, so dass links immer der Warmwasseranschluss und rechts immer der Kaltwasseranschuss zu finden ist. Ausserdem müssen die Leitungsmündungen entweder annähernd genau horizontal nebeneinander oder in bestimmten Fällen vertikal untereinander angeordnet sein. Abweichungen von wenigen Millimetern können durch den Einsatz von Exzenteranschlussstücken ausgeglichen werden. Diese Montage bedeutete für den Sanitärmonteur erhebliche Arbeit, weil nach dem Verlegen der Rohre in Schlitzen in den Wänden, Maurer, Gipser oder andere Handwerker weiterarbeiten müssen, und deshalb vielfach noch Veränderungen an den vordem genau ausgerichteten Rohren bewirken. Aber auch bei Rohr-in-Rohr-Anlagen, bei denen die Zuleitungen aus Kunststoff bestehen, muss mit relativ grossen Toleranzen gerechnet werden.
Dieser konventionellen Montage steht die sogenannte chaotische Montage gegenüber, bei der es beispielsweise wegen baulichen Gründen nicht möglich ist, die Zuleitungen für Warm- und Kaltwasser geordnet zuzuführen, oder bei Altbauten, in denen infolge der alten getrennten Hähnen, die Anschlüsse geordnet anzubringen sind. Daher sollte eine Einstellung oder sogar Umstellung möglich sein.
Vorrichtungen zur auswechselbaren Montage von sanitären Mischarmaturen sind schon längst bekannt. Eine solche ist im AT-Patent Nr. 177 382 dargestellt. An ein Anschlussstück werden Wasserleitungen angeschlossen, die im Anschlussstück entweder ihr Ende finden oder durch dieses hidurchgeführt sind. Senkrecht zu diesen Wasserleitngen gehen Stichleitungen ab und diese münden in einer zu den Wasserleitungen parallelen Fläche. An dieses Anschlussstück wird die Armatur angeschlossen. Nachteilig an einer solchen Anordnung ist, dass die Wasserleitungen genau horizontal angeordnet sein müssen, weil sich die Armatur infolge des Anschlussstückes starr auf diese Grundmontage einstellt.
Dieser Nachteil ist bei der Ausführung nach dem DE-Patent Nr. 879 678 insofern behoben, als die Armatur mit dem Gewinde eines zentralen Anschlussrohres in einen zentralen Anschluss am Anschlussstück angeschraubt wird. Die äussere Abdichtung der zweiten Zuleitung erfolgt mit einer Wandrosette, die ihrerseits auf ein Aussengewinde eines äusseren koaxialen Rohres des Anschlussstückes geschraubt ist. Damit kann eine ungenaue Montage ausgeglichen werden, indem die Einschraubtiefe entsprechend geändert und damit die gegenseitige Lage von Armatur und Anschlussstück eingestellt wird.
In einer späteren Veröffentlichung, der DE-Offenlegungsschrift 18 11 936, ist nur noch das Gehäuse der Armatur in das Gehäuse des Anschlussstückes eingeschraubt, während ein Innenrohr verschieblich in einen zentralen Stutzen eingesetzt ist. Damit ist natürlich die Lage weitgehend frei einstellbar und auch der Wandabstand lässt sich auskorrigieren.
Das Anschlussstück selbst ist nur für einen Endanschluss der beiden Wasserleitungen ausgebildet und nicht für die Durchleitung von zwei Wasserleitungen vorgesehen. Jedoch zeigt dieses Anschlussstück einen zentralen Anschluss, der mit der einen Wasserleitung kommuniziert und einen darum herumführenden Ringkanal, der mit der anderen Wasserleitung kommuniziert. Damit wird die Lagefreiheit der Armatur bewirkt.
Nachteilig an der vorgeschlagenen Lösung ist, dass die Lage der Armatur nur über das Gewinde korrigiert werden kann, so dass nur eine ganz bestimmte Sorte Armaturen verwendbar ist. Die Korrektur der Dicke des Verputzes kann ebenfalls nur durch mehr oder weniger tiefes Einschrauben korrigiert werden, was bei derartigen Durchmessern der Schraubenteile schwierig ist. Ferner lassen sich mit einer derartigen Anordnung keine Filter oder Rückflussverhinderer oder andere Zusatzelemente einbauen.
Die DE-A-17 24 793 zeigt eine Anordnung, die derjenigen gemäss der DE-A-18 11 936 sehr ähnlich ist, bei der aber das Gehäuse der Armatur über ein Verbindungsgewinderohr mit dem Anschlusstück verbunden ist.
Aus der EP-A-0 300 360, die einen Stand der Technik nach Artikel 54(3) EPÜ bildet, ist eine Anschlussvorrichtung für Mischarmaturen bekannt geworden, die ein Paßstück aufweist, das Vergleichsweise aufwendige Kanäle aufweist und gedreht werden kann, um einer Anschluss zu korrigieren.
Es ist deshalb eine Aufgabe der Erfindung, eine sanitäre Wasseranschlussanordnung zu schaffen, die günstig in der Herstellung ist und eine auswechselbare Befestigung für unterschiedliche Armaturen ermöglicht, bei der auch unterschiedliche Dicken des Verputzes oder der Wandabdeckungen ausgleichbar sind und vor allem bei der für konventionelle Anordnung der Leitungen verteuemde, bei chaotischer Montage aber notwendige Umsteck- und Drehdchtungs-Ausgleichsmittel weggelassen werden können
Erfindungsgemäss wird dies durch die Merkmale im kennzeichnenden Teil des Patentanspruchs 1 erreicht.
Ausführungsbeispiele der Erfindung werden nachfolgend anhand der Zeichnungen erläutert. Es zeigen:
  • Fig.1 eine Schnittansicht einer ersten Ausführungsform, bei der ein Verteiler zwischen Anschlussgehäuse und Armatur eingesetzt ist,
  • Fig.2 dieselbe Schnittansicht wie Fig.1, jedoch mit Ausnehmungen in den Leitungen des Verteilers für die Aufnahme von Rückflussverhinderern,
  • Fig.3 eine Schnittansicht einer nicht erfindungsgemäßen Ausführungsform,
  • Fig.4 einen Verteiler im Schnitt für das zweite Ausführungsbeispiel nach Fig.3 zur möglichen Vertauschung von Warm- und Kaltwasser,
  • Fig.5 eine Schnittansicht eines dritten Ausführungsbeispiels mit einer Variante des Verteilers nach Fig.4,
  • Fig.6 eine Schnittansicht einer vierten Ausführungsform einer Anschlussanordnung,
  • Fig.7 einen Ausschnitt nach der Schnittlinie X-X in Fig.6,
  • Fig.8 eine Draufsicht auf das Unterputz-Anschlussgehäuse ohne die Mischarmatur,
  • Fig.9 und 10 je eine Schnittansicht einer fünften und sechsten Ausführungsform,
  • Fig.11 eine Draufsicht auf die Ausführungsform nach Fig.9 bei entferntern Armaturengehäuse,
  • Fig.12 eine Schnittansicht einer siebten Ausführungsform
  • Fig.13 und 14 je eine Schnittansicht einer achten Ausführungsform,
  • Fig.15 eine Schnittansicht einer neunten Ausführungsform
  • Fig.16 eine Schnittansicht einer zehnten Ausführungsform
  • Fig.17 und 18 je eine Schnittansicht einer elften Ausführungsform.
  • In den Fig.1 bis 18 sind gleiche Teile mit gleichen Bezugszeichen gekennzeichnet.
    Die Ausführungen nach den Figuren 1 bis 5 sind vom Anspruch 1 nicht umfasst und dienen lediglich der Erläuterung.
    Im Anschlussteil 10 sind zwei Paare von Anschlussstutzen 12, 12' und 13, 13' parallel zueinander angeordnet. Die Anschlussstutzen 12,12' einerseits und 13,13' andererseits bilden zwei getrennte Rohrverbindungen. Von jeder dieser Rohrverbindungen ist eine Stichleitung 14, 15 abgezweigt, deren Achsen senkrecht auf der Ebene der Rohrverbindung und parallel zur Achse des zylindrischen Sockelteils 11 angeordnet sind.
    Als Armatur kann jeder bekannte Ein- oder Mehrhebelmischer verwendet werden.
    Für die starre Verbindung zwischen Armaturengehäuse 21 und Sockelteil 11 sind in Fig.2 zwei verschiedene Ausführungsformen gezeichnet. In der linken Hälfte der Fig.2 ist eine Ueberwurfmutter 16a mittels eines Gewinderinges 17 unverlierbar am Sockelteil 11 gehaltert. An ihrem anderen Ende trägt die Uebenwurfmutter 16a ein Gewinde, mit dem sie am Gehäuse der Armatur 2 festgeschraubt wird.
    Der Anschlag für die Einschraubtiefe der Ueberwurfmutter 16a ist durch die Länge der Nippel 3, 3' gegeben, die mit ihren zylindrischen Zapfen 32 in eine Einstecköffnung eingreifen und dort anstossen.
    Gemäss der CH-A-381 170 sind Nippel zur Verbindung eines Unterputz-Anschlussstückes mit einer Armatur bekannt geworden. Nur weisen die Nippel beim Bekannten einen Wulst auf, mit dem eine Tragplatte an die Mauer herangezogen wird. Die Befestigung der Armatur erfolgt mittels einer Ueberwurfmutter an der Tragplatte. Damit sind die Nippel dauernd belastet und könnten sich deshalb strukturell verändern. Demgegenüber dienen die Nippel gemäss der vorliegenden Erfindung nur der auf den Abstand einstellbaren Anpassung der Armatur. Der Kraffschluss erfolgt zwischen dem Gehäuse der Armatur und dem Anschlussgehäuse.
    Das Anschlussgehäuse 1 kann mit einer Kunststoffschutzhülse 18 umfasst sein, die zur Freihaltung des für die Befestigung der Armatur notwendigen Raumes in bekannter Weise als Kappe ausgebildet sein kann, um nach dem Eingiessen mauereben abgeschnitten zu werden.
    Die zweite Ausführungsform für die Ueberwurfmutter 16b ist rechts in Fig.2 dargestellt. Der einzige Unterschied zur oben beschriebenen ersten Ausführungsform besteht darin, dass sie nicht mit einem Gewindering am Anschlussgehäuse 1 gehaltert ist, sondern mit einem zweiten Gewinde. Wenn das obere Gewinde eine geringere Steigung hat als das untere Gewinde, z.B. 2 mm und 1,5 mm, so kann die Armatur 2 zum Anschlag zwischen den Hülsen 30 und den Zapfen 32 gebracht werden, solange die Ueberwurfmutter 16b noch an ihr angeschraubt ist.
    Durch die vorliegende Erfindung werden mit Bezug auf die Ausführungsformen nach Fig.1 und 2 diese Probleme gelöst, indem die Nippel 3, 3' in den Sockelteil 11 eingeschraubt sind, aber dass anschliessend daran ein Verteiler 4 vorgesehen ist, der in das verlängerte Gehäuse 21' einsetzbar ist.
    Dieser Verteiler 4 ist somit mit Einsteckbuchsen 30, 30' für die Nippel 3, 3' versehen, die ebenfalls die Anschläge für die Einstecktiefe bilden. Aeusserlich betrachtet besteht der Verteiler 4 aus einem Sockelzylinder 53 und einem Einsteckzylinder 54 für den Anschluss zur Armatur 2, über den später hoch zu reden sein wird.
    Die beiden Zylinder 53, 54 unterscheiden sich im Durchmesser, wobei der Sockelzylinder 53 einen wesentlich grösseren Durchmesser aufweist als der Einsteckzylinder 54.
    Die Durchleitungen innerhalb des Verteilers 4 sind einfache axiale Bohrungen, von denen die eine Durchleitung 59 in der Schulterfläche 55, als Deckfläche des Sockelzylinders 53, als Oeffnung 59b mündet und zwischen der entsprechenden Einsteckbuchse 30, 30' und dieser Oeffnung als achsparallele Bohrung ausgebildet ist, und die andere Durchleitung 58 ist aus zwei Bohrungen 58a, 58b zusammengesetzt, von denen diejenige im Sockelteil 53 aussermittig aber achsparallel und diejenige im Einsteckzylinder 54 koaxial liegen und sich wenigstens teilweise übergreifen und einen freien Durchgang bilden.
    Durch einen Abstand zwischen der Schulterfläche 55 und einem Anschlussstück 60 wird ein um den Einsteckzylinder 54 herumführender Kanal 62 gebildet, so dass die Armatur 2 in jeder Drehlage mit den beiden Anschlussrohren 12, 13 des Anschlussteils 10 verbunden ist.
    Wenn bei ungeordneter Installation Kalt- und Warmwasseranschlüsse vertauscht sind, so kann dies durch einfaches Umstecken des Verteilers 4 auf den beiden Nippeln 3, 3' korrigiert werden.
    Im Ausführungsbeispiel nach Fig.1 sind keine Rückflussverhinderer vorgesehen. Diese können aber in einfachster Weise gemäss dem Ausführungsbeispiel nach Fig.2 in den Verteiler 4 eingebaut werden, der durch die zusätzliche Länge der beiden Hohlräume 58c, 59c verlängert wird. Ebenso muss natürlich auch das Gehäuse 21 der Armatur 2 um dasselbe Mass verlängert werden. Die übrigen Teile wie Anschlussgehäuse 1, Nippel 3, 3' und Armatur 2 sind dieselben wie in den vorbeschriebenen Ausführungsbeispielen.
    Ein weiterer Vorteil dieser Erfindung ist darin zu sehen, dass anstelle der Nippel 3, 3' Stopfen zum Abpressen der Leitungen oder Entlüftungsventile eingeschraubt werden können, so dass die gesamte Vorinstallation durchführbar ist.
    In der Anordnung nach Fig.3 ist das Anschlussgehäuse 1 mit dem Anschlussteil 10 und einem zylindrischen Gehäuseteil 11 erkennbar. Am Anschlussteil 10 sind auch wieder zwei Paare von Anschlussstutzen 12, 12' und 13, 13' in paralleler Lage zueinander angeordnet.
    Ueber dem Paar 12, 12' ist eine aussermittige achsparallele Bohrung angeordnet, die in die Anschlussstutzen-Verbindung eindringt und so eine Stichleitung 15 bildet. Im Gehäuseteil 11 ist eine Zentralbohrung 117 vorhanden, die einen Radius hat, der dem Abstand zwischen der Achse des Gehäuseteils 11 und dem äussersten peripheren Punkt der Stichleitung 15 entspricht, oder wie in Fig.3 gezeigt, etwas grösser als dieser Abstand ist. Vom Boden 119 dieser Zentralbohrung 117 aus ist ein Sackloch 14 zwischen die beiden Paare der Anschlussstutzen 12, 12' 13, 13' gebohrt, das die Wand des zweiten Paares von Anschlussstutzen 13, 13' durchbricht und damit eine radiale Stichleitung erzeugt.
    Zentral im Boden 119 in der Zentralbohrung 117 ist eine zylindrische Ausnehmung 116 gebildet, die sich über dem Sackloch 14 befindet und als Sitz für ein Rohrstück 105 dient.
    Dadurch wird eine mittige Leitung mit einem Ringkanal herum abgetrennt.
    Im Gehäuse 21 der Armatur 2 ist ebenfalls eine Zentralbohrung 122 vorhanden, die denselben Durchmesser hat wie die Zentralbohrung 117 im Anschlussgehäuse 1. Durch das genannte Rohrstück 105, das mit seinem freien Ende in eine Bohrung 123 im Gehäuse 21 eingreift, wird somit auch im Gehäuse 21 ein Ringkanal abgetrennt, von dem aus eine Zufuhrbohrung 125 zum Anschlussteil der Armatur führt.
    Hinter der Bohrung 123 befindet sich im Anschlussteil der Armatur eine Auffanghöhle 124, die die Verbindung zur zweiten Zuführbohrung 126 herstellt. Zwischen den Zuführbohrungen 125, 126 und über der Auffanghöhle 124 ist die Leitung 127 zum Anschluss für Mischwasser dargestellt.
    Eine Ueberwurfmutter 129 ist mit einem Gewindering 118 am Anschlussgehäuse 1 gefangen und ist auf ein Gewinde 128 am Gehäuse 21 geschraubt, so dass das Gehäuse 21 und das Anschlussgehäuse 1 starr miteinander verbindbar sind.
    Mit einer solchen Anordnung kann die Armatur auch bei ungenau verlegten Leitungsrohren auf genaue Ausrichtung korrigiert werden. Allerdings kann damit eine Vertauschung von Warm- und Kaltwasserleitungen nicht rückgängig gemacht werden. Dazu ist ein Zusatzelement gemäss Fig.4 anstelle des Rohrstückes 105 in Fig.3 erforderlich. Dieser Verteiler 4 ist in die Zentralbohrung 117 im Anschlussgehäuse 1 und in die Zentralbohrung 122 im Gehäuse 21 der Armatur 2 eingesetzt.
    Mit zwei sich gegenüberliegenden Stutzen 140, 141 greift der Verteiler 4 einerseits in die zylindrische Ausnehmung 116 im Anschlussteil 10 des Anschlussgehäuses 1 und anderseits in die Bohrung 123 im Gehäuse 21 ein. Ein radialer Flansch 142 liegt dichtend an der Wand der Zentralbohrung 122 des Gehäuses 21 an und unterteilt den Ringkanal in Fig.3 in einen Ringkanal 143 im Anschlussgehäuse 1 und einen Ringkanal 144 im Gehäuse 21.
    Durch achsparallele Leitungen 145, 146 und radiale Oeffnungen 147, 148 sind die beiden Ringkanäle 143, 144 mit dem jeweiligen am entgegengesetzten Ende des Verteilers 4 befindlichen Stutzen 140, 141 verbunden. Damit findet eine Vertauschung der Verbindungswege gemäss Fig.3 statt.
    Ein ähnliches derartiges Zusatzelement ist aus dem US-Patent Nr. 3.823.737 bekannt geworden. Dieses ist für Wandanschlüsse bei beidseits der Wände angeordneten Armaturen vorgesehen, um auf der einen Seite der Wand Kalt- und Warmwasserleitungen zu vertauschen.
    Obwohl ähnlich aufgebaut, ist eine direkte Uebernahme des Erfindungsgedankens nicht möglich, weil der Verteiler 4 nach der Erfindung in eine gegebene Gehäuseanordnung eingebaut werden muss um dabei ein einfaches Rohrstück 105 (Fig.8) zu ersetzen, zum Zweck Warm- und Kaltwasserleitungen bei chaotischer Montage zu vertauschen.
    Da die beiden Teile, das Rohrstück 105 und der Verteiler 4, sehr billig herstellbar sind, könnten diese beiden Teile mit jeder Armatur mitgeliefert werden, so dass der Installateur die Wahl hat, die Zuleitungen im Gehäuse 21 zu vertauschen. In beiden Fällen kann die Armatur 2 gegenüber dem Anschlussgehäuse 1 gedreht werden, um eine ungenaue Installation der Leitungsrohre auszugleichen.
    Indem auch hier natürlicherweise eine am Anschlussgehäuse gefangene Ueberwurfmutter 129 zur Befestigung der Armatur 2 am Anschlussgehäuse 1 vorgesehen sein muss, um die beiden Teile, das Rohrstück 105 oder den Verteiler 4 austauschbar zu haltem, kann eine Einstellung des Abstandes von der Maueroberfläche nicht ohne zusätzliche Mittel ermöglicht werden.
    Eine solche Anordnung zur Einstellung sowohl von herkömmlicher genauer Installation als auch von chaotischer Installation mit einer Einstellung des Wandabstandes ist in Fig. 5 dargestellt. Obwohl hier nur die Ausführung mit einem Verteiler dargestellt ist, könnte natürlich auch dieser Verteiler durch ein Rohrstück gemäss Fig.3 ersetzt werden. Die Aenderungen im Vergleich zu den Ausführungen gemäss Fig.3 und 4 betreffen somit eine Verlängerung der zylinderischen Ausnehmung 116 in Fig.3 und 4, eine Verlängerung des unteren Stutzens des Verteilers 4 und eine in die Zentralbohrung 117 im Anschlussgehäuse 1 eingreifende Verlängerung der Wand des Gehäuses 21. Mit einer solchen Anordnung kann, wenn der Verteiler 4 mit seinem oberen Stutzen starr in die Bohrung 123 eingesetzt ist eine axiale Verschiebung der Armatur 2 gegenüber dem Anschlussgehäuse 1 vorgenommen werden.
    Um den Wandabstand genau einzustellen sind zwischen einer Rippe 130 am Gehäuse 21 und einem radialen Flansch 131 am Anschlussgehäuse 1 Abstandringe 132, 133 vorgesehen. Auf der Rippe 130 liegt ein Ring 134 mit Löchern 135 zur Aufnahme einer Befestigungsschraube 136, die in Gewindelöcher 137 im Flansch 131 einschraubbar ist.
    Im Anschlussgehäuse 1 nach Fig.6 und 7 ist wieder ein Anschlussteil 10 mit vier Rohrstutzen 12, 12' 13, 13' versehen, die je paarweise in Reihe liegend parallel zueinander angeordnet sind. Oberhalb dieser Stutzen befindet sich ein zylindrischer Sockelteil 11 mit einer axialen Hauptbohrung 218. Das eine Anschluss-Stutzenpaar 13, 13' ist mit einer ersten Stichleitung 15 zur Hauptbohrung 218 hin offen. Das andere Anschluss-Stutzenpaar 12, 12' ist mit einer zweiten Stichleitung 14 angeschnitten, so dass sich ein Durchgang 19 in radialer Richtung in die Hauptbohrung 218 ergibt.
    Ein zylindrischer Verteiler 4 ist drehbar in die Hauptbohrung 218 eingesetzt. Dieser Verteiler 4 hat einen durchbohrten Zapfen 221, der dichtend in die zweite Stichleitung 14 eingesetzt ist. Eine gegenüber der Stirnkante 222 des Zapfens 221 zurückversetzte Fläche 223 bildet mit dem Grund 217 der Hauptbohrung 218 zusammen einen um den Zapfen 221 herumführenden Ringkanal 224.
    Eine achsparallele erste Durchleitung 225 im Verteiler 4 kommuniziert mit der ersten Stichleitung 15 im Anschlussteil 11 und eine dieser Stichleitung 15 diametral gegenüberliegende zweite Durchleitung 226 kommuniziert mit einer koaxialen Bohrung 227 im Zapfen 221 über eine Verbindung 226'. Zentrisch zwischen den Mündungen der Durchleitungen 225, 226 befindet sich eine axiale Bohrung 228.
    Der Verteiler 4 ist im Gehäuseteil 11 mittels einer Halteplatte 229 gehaltert. Diese Halteplatte 229 ihrerseits ist mittels drei Schrauben 230 die in peripheren Augen 216 am Gehäuseteil 11 eingeschraubt sind starr gehaltert. Ausser den zwei mit den Durchleitungen 225, 226 fluchtenden Oeffnungen 231, 232 besitzt sie zentrisch noch eine mit der Bohrung 228 fluchtende Gewindebohrung 233.
    Von der Armatur 2 ist lediglich der untere Teil des Gehäuses 21 gezeichnet, in dem die Zuführleitungen 241, 242 und Ableitung 243 für die Anpassung an den jeweiligen Armaturentyp vorhanden sind. Eine axial zentrische Bohrung 244 dient der Aufnahme eines zylindrischen Kopfes 245 einer in die Gewindebohrung 233 eingeschraubten Bolzenschraube 246.
    Im Kopf 245 der Bolzenschraube 246 ist eine quadratische diametral angeordnete Oeffnung 247 in die ein Exzenterteil 248 eines Exzentersfiftes 249 eingreift. Dieser Exzenterstift 249 ist durch eine radiale Bohrung 250 im Armaturengehäuse 2' einsetzbar. Zur Verbindung zwischen den Durchleitungen 225, 226 und den Zuführleitungen 241, 242 sind zwei Nippel 3, 3' vorgesehen, die beispielsweise im Armaturengehäuse 21 starr gehaltert sind, wie durch einen Presssitz oder durch Einlöten oder dgl. Im Verteiler 4 sind die beiden Nippel 3, 3' mittels bekannten Dichtungen gleitend eingesetzt.
    Durch diese Anordnung kann eine Armatur 2 durch einfaches Lösen des Exzenterstiftes 249 vom Anschlussgehäuse 1 demontiert werden und, sofern die Einschraubtiefe der Bolzenschraube 246 nicht verändert wurde, kann sie nach Vornahme einer allfälligen Reparatur wieder aufgesetzt und befestigt werden. Die wasserführenden Teile, nämlich der Verteiler 4 und die Nippel 3, 3', sind kraftunbelastet. Der Kraflfluss gelangt von der Bolzenschraube 246 auf die Halteplatte 229 und über die Schrauben 230 in das Anschlussgehäuse 1.
    Für die Grundeinstellung der Einschraubtiefe der Bolzenschraube 246 in die Halteplatte 229 dienen zwei bzw. ein oder mehrere Distanzringe 234, 235, von denen der eine Distanzring 234 am Armaturengehäuse 21 der Armatur 2 angeschraubt ist.
    Während die vorangehend beschriebenen Ausführungsbeispiele für Armaturen mit einer Mischwasserleitung für direkten Abgang aus der Armatur vorgesehen sind, haben die nachfolgenden Ausführungsbeispiele gemäss Fig.9 bis 17 Mischwasserleitungen, die über das unter Putz verlegte Anschlussgehäuse, zu einer Brause und/oder einem Badewassereinlauf.
    In der DE-A-35 19 652 ist eine Anordnung mit einem zusätzlichen Stutzen für Mischwasser vorgesehen, wobei aber im Anschlussgehäuse vier Ventile angeordnet sind, von denen jeweils zwei mit einer stirnseitig austretenden Bohrung einerseits sowie mit dem durchgehenden Kalt- bzw. Warmwasserkanal andererseits kommuniziern. Die beiden Bohrungen fluchten mit weiteren Bohrungen in einem Verteiler, auf welchen die Mischarmatur aufgesetzt ist. Den beiden Bohrungen kann wahlweise kaltes oder warmes Wasser zugeführt werden, so dass ein verkehrter Anschluss an die Anschlussstutzen korrigiert werden kann. Dies ist besonders nützlich, wenn an denselben in einer Wand verlegten Leitungen beidseits der Wand Armaturen angeschlossen werden sollten. Damit die Armatur richtig montiert werden kann, ist es bei dieser bekannten Anordnung erforderlich, dass die Kalt- und Warmwasserleitungen horizontal verlaufen. Dies macht aufwendige Installationen erforderlich.
    In Fig.9 ist eine weitere Ausführungsform für eine Anschlussanordnung für eine Mischarmatur im Schnitt dargestellt. Sie umfasst ein unterpulzverlegtes Anschlussgehäuse 1 mit einer Kaltwasserleitung und einer Warmwasserleitung mit je einem Anschlussstutzen 12, 12', 13, 13' (Fig.11), so dass das Anschlussgehäuse 1 in durchgehenden Leitungen verwendet werden kann. Quer zu den Anschlussstutzenpaaren 12, 12', 13, 13' sind zwei Mischwasseranschlussstutzen 306, 307 angeordnet. Senkrecht zur Ebene der Anschlussstutzenpaare 12, 12', 13, 13' sind im Anschlussgehäuse koaxiale, zylindrische Bohrungen 308 eingearbeitet. Koaxial zu den Bohrungen 308 ist auf dem Anschlussgehäuse 1 ein Armaturengehäuse 21 mittels Schrauben 323 befestigt. Der Schraubenkopf drückt einen Bund 319 des Armaturengehäuses 21 gegen das Anschlussgehäuse 1 und ist aussen durch einen Ring 320 abgestützt. Dadurch lässt sich das Armaturengehäuse 21 beliebig um seine Achse gegenüber dem Anschlussgehäuse 1 verdrehen und durch die Schrauben 323 festsetzen. Am gegenüberliegenden Ende hat das Armaturengehäuse 21 eine Gewindebohrung 322 mit ebener Grundfläche 323 zum Einsetzen einer nicht dargestellten Mischarmatur. In die Grundfläche 323 münden drei achsparallele Bohrungen 316, 317,318 für Warmwasser, Kaltwasser und Mischwasser, die mit entsprechenden Bohrungen der Mischarmatur fluchten.
    Zwischen dem Armaturengehäuse 21 und dem Anschlussgehäuse 1 ist ein Verteiler 4 eingesetzt, der im Ausführungsbeispiel nach Fig.9 aus zwei koaxialen Rohren 326, 327 besteht. Diese umschliessen zusammen mit der äussersten Bohrung 308 drei koaxiale Ringkanäle 328, 329, 330. Diese Ringkanäle verbinden Durchleitungen 333, 334 bzw. Stichleitungen 14, 15 des Anschlussgehäuses 1 mit Durchleitungen 335, 336, 337 des Armaturengehäuses 21, die mit je einer der Bohrungen 316, 317, 318 verbunden sind. Die Durchleitungen 333, 334 und Stichleitungen 14, 15 münden in unterschiedlichen radialen Abständen in die koaxialen Bohrungen 308 und verbinden die drei Ringkanäle 328, 329, 330 mit den Anschlussstutzenpaaren 12, 12', 13, 13', wobei der äusserste Ringkanal 330 mit beiden Mischwasser-Anschlussstutzen 306, 307 verbunden ist. Der Verteiler 4 ist beidseitig durch je zwei konzentrische O-Ringe 338 unterschiedlichen Durchmessers gegenüber dem Armaturengehäuse 21 bzw. dem Anschlussgehäuse 1 abgedichtet.
    Sollten bei der Installation des Anschlussgehäuses 1 die Kalt- und die Warmwasserleitung verfauscht worden sein, so wird das innere Rohr 326 des Verteilers 4 gegen einen Verteiler 4, gemäss Fig.10 ausgetauscht. Der Verteiler 4 dichtet mit einem Flansch 344 und einem O-Ring 345 im Rohr 327 ab. Die beiden Durchleitungen 328, 329 verbinden hier die Durchleitungen 331 und 336 bzw. 332 und 335 miteinander, so dass Kalt- und Warmwasser gegenüber der Variante nach Fig.9 vertauscht zur Mischarmatur gelangt.
    Die Ausführungsformen nach Fig.12 unterscheidet sich von jener nach Fig. 10 dadurch, dass im Anschlussgehäuse 1 zusätzlich ein Wechselventil 352 eingebaut ist. Mit diesem Ventil 352 kann das Mischwasser wahlweise über einen der beiden Abgänge 353, 354 einem der beiden Mischwasseranschlüsse 306, 307 zugeführt werden, z.B. zum Anschluss eines Badeeinlaufs oder einer Brause. Im übrigen entspricht diese Ausführungsform jener nach Fig. 9.
    Bei der Ausführungsform nach Fig. 13 und 14 ist das Wechselventil 352 im Armaturengehäuse 21 angeordnet. Dazu hat der Verteiler 4 ein weiteres koaxiales Rohr 357, das die beiden Abgänge 353, 354 des Ventils 352 voneinander trennt, so dass diese mit je einem der Mischwasseranschlussstutzen 306, 307 verbunden sind. Dazu münden die beiden Kanäle 333, 334 des Anschlussgehäuses 1 in unterschiedlichen radialen Abständen in je eine der koaxialen Bohrungen 308. Im übrigen entspricht die Ausführungsform nach Fig.13 und 14 jener nach Fig.12.
    In Fig. 15 ist noch eine weitere Variante der Ausführungsform nach Fig. 13 und 14 dargestellt, bei der das Armaturengehäuse 21 relativ zum Anschlussgehäuse 1 sowohl verdrehbar als auch stufenlos axial verschiebbar und feststellbar ist. Dazu hat das Armaturengehäuse 21 einen rohrförmigen Ansatz 360, der in der äussersten Bohrung 308 des Anschlussgehäuses 1 längsverschiebbar und drehbar geführt und mit einem weiteren O-Ring 361 abgedichtet ist. Zum Festspannen dient ein auf den Ansatz 360 aufgeschobener, beidseits konisch verjüngter, geschlitzter Ring 362. Dieser ist in entsprechende konische Flächen eines Flansches 363 des Anschlussgehäuses 1 und eines Ringes 364 eingesetzt. Der Ring 364 wird durch die Schrauben 323 gegen den Flansch 363 gezogen und presst dadurch den Ring 362 radial gegen den Ansatz 360. Die Rohre 326, 327, 357 des Verteilers 4 sind hier durch achsparallele Rippen 365 miteinander verbunden und greifen in koaxiale, mit dem Anschlussgehäuse 1 starr verbundene rohrförmige Ansätze 366 ein. Das innerste Rohr 326 ist über ein Gewinde 367 ins Armaturengehäuse 21 eingeschraubt. Im übrigen entspricht die Ausführungsform nach Fig.15 jener gemäss Fig.13 und 14.
    Die Ausführungsform nach Fig.16 unterscheidet sich von jener gemäss Fig.9 durch eine andere Anordnung der Durchleitungen. Die Gehäusebohrung 318 für Mischwasser ist hier über die zentrale Ringleitung 328 des Verteilers 4 mit der gemeinsamen, die Mischwasseranschlüsse 306, 307 verbindenden Durchleitung 333 im Anschlussgehäuse 1 verbunden. Kalt- und Warmwasser sind über die beiden Ringkanäle 329, 330 zu den Bohrungen 316, 317 geführt. Im übrigen entspricht die Ausführungsform nach Fig.16 jener nach Fig. 9.
    Bei der Ausführungsform nach Fig.17 und 18 ist das Armaturengehäuse 21 gegenüber dem Anschlussgehäuse 1 wie beim Beispiel nach Fig. 15 sowohl drehbar als auch axial stufenlos verschiebbar. Der Verteiler 4 ist wie bei der Ausführungsform nach Fig. 13 in koaxiale zylindrische Bohrungen 308 des Anschlussgehäuses 1 mit zylindrischen Ansätzen 371 abdichtend eingesetzt. Auf der gegenüberliegnden Stirnseite ist der Verteiler 4 eben und liegt gegen eine mittels Schrauben 372 und einer Unterlagsscheibe 373 drehbar am Anschlussgehäuse 1 befestigte Scheibe 374 an. Die Scheibe 374 hat vier exzentrische Durchgangsbohrungen 375, die mit achsparallelen Bohrungen 376 im Verteiler 4 fluchten. Jede der Bohrungen 376 kommuniziert mit je einem der Ringkanäle 328, 329, 330, 330a. In die Bohrungen 376 greifen längsverschiebbar, durch O-Ringe 377 abgedichtet, in das Armaturengehäuse 21 eingeschraubte Nippel 3, 3' ein. Das Armaturengehäuse 21 ist durch die Schrauben 323 über einen Ring 379 gegen eine in die Scheibe 374 eingeschraubte zentrale Abstützschraube 380 angezogen. Durch die Einschraubtiefe der Schraube 380 kann die axiale Lage des Armaturengehäuse 21 relativ zum Anschlussgehäuse 1 festgelegt und damit eine Ungenauigkeit in der Dicke des Verputzes oder der Wandverkleidung ausgeglichen werden. Im übrigen entspricht die Ausführungsform nach Fig. 17 und 18 jener nach Fig. 15.
    Der Verteiler 4 kann bei sämtlichen beschriebenen Ausführungsformen sehr einfach ausgebildet und z.B. als Kunststoff-Spritzgussteil hergestellt werden. Ein Auswechseln dieses Verteilers mit einem mit anderer Durchleitungsführung ist mit geringem Aufwand möglich. Aus diese Weise können für ein gegebenes Anschluss-Lochbild der Mischarmatur die Zu- und Abgänge dieser Armatur beliebig mit den verschiedenen Anschlussstutzen des Verteilers verbunden werden.

    Claims (26)

    1. Sanitäre Wasseranschlussanordnung für eine Mischarmatur, mit einem Anschlussgehäuse (1), das für die Entnahme von Kalt- und Warmwasser aus Rohrverbindungen mit Stichleitungen (14,15) versehen ist, wobei das Anschlussgehäuse (1) einen die Rohrverbindungen und die Stichleitungen (14,15) umfassenden Anschlussteil (10) und einen einstückig mit dem Anschlussteil (10) ausgebildeten Sockelteil (11) aufweist zur Aufnahme von Durchleitungselementen (3,3',4) für die getrennte Zuleitung von Warm- und Kaltwasser zur Mischarmatur (2), wobei die Achsen der Stichleitungen (14,15) senkrecht auf der Ebene der Rohrverbindung stehen und parallel zur Achse des zylindrischen Sockelteils (11) sind, und wobei ferner zur kraftschlüssigen Befestigung der Mischarmatur (2) am Anschlussgehäuse (1) Befestigungsmittel vorhanden sind, derart, dass die wasserführenden Durchleitungselemente (3,3', 4) kraftunbelastet sind, das Mischarmaturengehäuse (21) gegenüber dem Anschlussgehäuse (1) um seine Achse drehbar und feststellbar ist, dass das Anschlussgehäuse (1) zwei durchgehende Rohrverbindungen mit zwei Anschlussstutzenpaaren (12,12',13,13') aufweist, und dass die Durchleitungselemente (3,3',4) einen auswechselbaren Verteiler (4) enthalten, der konzentrische Ringkanäle (328,329) aufweist, und der durch konzentrische Dichtringe (338) unterschiedlichen Durchmessers gegenüber dem Anschlussgehäuse (1) abgedichtet ist, wobei ein ungeordneter Kalt- und Warmwasseranschluss durch Umstecken oder Austauschen des Verteilers (4) oder eines Teils (326) davon korrigierbar ist.
    2. Anordnung nach Patentanspruch 1, gekennzeichnet durch in die Stichleitungen (14,15) im Sockelteil (11) des Anschlussgehäuses (1) einschraubbare Nippel (3,3') als Durchleltungselemente, zum Zweck der Längenanpassung auf die Dicke der Verkleidung der Wand und Steckbuchsen (30,30') in einem Verteiler (4) für den genauen Sitz der steckbar ausgebildeten freien Enden (32) der Nippel (3,3'), ferner dadurch, dass zur starren Verbindung zwischen dem Gehäuse (21',21") der Armatur (2) und dem Sockelteil (11) eine Ueberwurfmutter (16a,16b) vorhanden ist.
    3. Anordnung nach Patentanspruch 2, dadurch gekennzeichnet, dass der Verteiler (4) im Armaturengehäuse (21') verdrehbar untergebracht ist und für die Zuleitung zu den Leitungseingängen (29a,29b) der Armatur (2) zwei Leitungsdurchgänge (58,59) hat.
    4. Anordnung nach Patentanspruch 2, dadurch gekennzeichnet, dass der Verteiler (4) im Armaturengehäuse (21) verdrehbar untergebracht ist und für die Zuleitung zu den Leitungseingängen (29a,29b) der Armatur (2) einen zentralen Zapfen (54) mit einem gegen den Anschluss (59c) des einen Nippels (3) abgewinkelten ersten Leitungsdurchgang (58,58a,58b) und einen achsial vom anderen Nippel (3') weiterführenden zweiten Leitungsdurchgang (59) hat und in eine mittels einer zurückversetzten Schulterfläche (55) gebildeten Ringkanal (62) um den zentralen Zapfen (54) herum mündet.
    5. Anordnung nach Patentanspruch 4, dadurch gekennzeichnet, dass der achsiale zweite Leitungsdurchgang (59) eine achsparallele Bohrung ist und der erste Leitungsdurchgang (58) aus zwei radial versetzten achsparallelen Bohrungen (58a, 58b) zusammengesetzt ist.
    6. Anordnung nach Patentanspruch 5, dadurch gekennzeichnet, dass die nippelseitigen Partien (58c,59c) der Bohrungen (58,59) einen grösseren Durchmesser haben als die der Armatur (2) zugewandten Partien (58b,59b) und eine für die Aufnahme von Rückflussverhinderern notwendige Länge aufweisen.
    7. Anordnung nach einem der Patentansprüche 2 bis 5, dadurch gekennzeichnet, dass die Ueberwurfmutter (16b) beidseits mit einem Innengewinde versehen ist, wobei das Innengewinde, das mit dem Gehäuse (21,21',21") der Armatur (2) verschraubbar ist, eine geringere Steigung hat als das Innengewinde, das mit dem Sockelteil (11) verschraubbar ist.
    8. Anordnung nach Patentanspruch 7, dadurch gekennzeichnet, dass die Ueberwurfmutter (16a) einen am Sockelteil (11) angeschraubten Ring (17) unterfasst und mit einem Innengewinde am Gehäuse (21,21',21") der Armatur (2) festschraubbar ausgebildet ist.
    9. Anordnung nach Patentanpruch 1, dadurch gekennzeichnet, dass die eine Stichleitung (15) aussermittig angeordnet ist und achsparallel zur Hauptachse des Anschlussgehäuses (1) vom einen Anschlussstutzenpaar (12,12') abgeht, die bodenseitig in eine Zentralbohrung (117) im Anschlussgehäuse (1) mündet, dass ferner eine zentrische Sackbohrung vom Boden (119) der Zentalbohrung (117) aus das andere der beiden Anschlussstutzenpaare (13,13') aufschneidet und damit eine zentrale Stichleitung (14) bildet.
    10. Anordnung nach Patentanspruch 9, dadurch gekennzeichnet, dass als Mittel für die Zuleitung aus der zentralen Stichleitung (14) zur Armatur (2) ein in diese dichtend eingesetztes Rohrstück (105) vorhanden ist, das im Bereich der Zentralbohrung (117) einen vom anderen Anschlussstutzen (13,13') gespeisten Ringkanal (117') abgrenzt, dass im Armaturengehäuse (21) ein zweiter deckungsgleicher Ringkanal (122) ausgeschnitten ist, und dass das Rohrstück (105) in einer zentralen Auffanghöhle (124) im Armaturengehäuse (21) ebenfalls dichtend eingesetzt ist.
    11. Anordnung nach Patentanspruch 9, dadurch gekennzeichnet, dass das Durchleitungselement als zylindrischer Verteiler (4,4') ausgebildet ist, der mit einem ersten zentralen Stutzen (140,140') dichtend in die zentrale Stichleitung (14) und mit einem zweiten, dem ersten Stutzen (140,140') achsial gegenüberliegenden zentralen Stutzen (141,141') in eine zentrale Oeffnung (119a) im Armaturengehäuse (21) ebenfalls abgedichtet eingesetzt ist, dass der Verteiler (4,4') einen radialen Flansch (142) aufweist, dessen Peripherie in der Zentralbohrung (117, 121) dichtend anliegt und im Anschlussgehäuse (1) einerseits und im Armaturengehäuse (21) anderseits je einen Ringkanal abgrenzt, und dass der erste Stutzen (140) mit dem Ringkanal im Armaturengehäuse (21) und der zweite Stutzen (141') mit dem Ringkanal im Anschlussgehäuse (1) kommuniziernd verbunden sind.
    12. Anordnung nach Patentanspruch 11, dadurch gekennzeichnet, dass im Anschlussgehäuse (1) die zentrale Stichleitung (14) mit einer rohrförmigen Verlängerung (116') bis in die Zentralbohrung (117) hinein vorstehend ausgebildet ist, dass der erste Stutzen (140') schiebbar in die Verlängerung (116') eingreift, und dass der zweite Stutzen (141') in der Zuleitung zur Auffanghöhle (124) starr eingesetzt ist.
    13. Anordnung nach einem der Patentansprüche 9 bis 12, gekennzeichnet durch eine am Anschlussgehäuse (1) mittels eines Umfassungsringes (118) gefangene Ueberwurfmutter (129) die an einem Gewinde (128) am Armaturengehäuse (21) angeschraubt ist.
    14. Anordnung nach Patentanspruch 12, gekennzeichnet durch einen radialen, nach aussen abstehenden Flansch (131) am Anschlussgehäuse (1) mit auf dem Umfang verteilt angeordneten achsparallelen Gewindelöchern (137), ferner durch eine radial nach aussen abstehende Rippe (130) am Armaturengehäuse (21) und einem über dieser angordneten Ringflansche (134) mit einer gleichen Anzahl Löcher (135) und mit gleicher Verteilung wie die Gewindelöcher (137) im Flansch (131) zur Aufnahme von Bolzenschrauben (136) zur Verschraubung von Armaturengehäuse (21) und Anschlussgehäuse (1) und durch Abstandringe (132,133) zwischen der Stirnfläche des Anschlussgehäuses (1) und der Unterseite der Rippe (130) am Armaturengehäuse (21) zur Einstellung des Abstandes der Armatur (2) von der Maueroberfläche.
    15. Anordnung nach Patentanspruch 1, dadurch gekennzeichnet, dass die eine zentrale Stichleitung (14) als Sackbohrung zwischen den beiden Zuleitungen die eine Durchleitung (12,12') auschneidet und die andere aussermittige Stichleitung (15) über der anderen Durchleitung (13,13') angeordnet ist, dass die zentrale Stichleitung (14) als Steckbuchse für einen axial durchbohrten Zapfen (221) des Verteilers (4) ausgebildet ist, dass der Verteiler (4) eine gegenüber der Stirnkante (222) des Zapfens (221) zurückversetzte Fläche (223) aufweist, die mit der Fläche am Grund (217) der Bohrung (218) zusammen eine Ringkammer (224) um die genannte Steckbuchse (221) herum bildet, dass im Verteiler (4) eine aussermittige achsparallele erste Durchleitung (225) und eine aus einer diametral zur dieser ersten Durchleitung (225) angeordneten, mit der Bohrung (227) im Zapfen (221) kommunizierende Bohrung gebildeten zweiten Durchleitung (226) vorhanden sind, an deren freien Oeffnungen Nippel (3,3') axialverschieblich eingesetzt sind, dass ferner die Nippel (3,3') in einem die Zufuhr zur Armatur (2) bildenden Gehäuse (240) starr befestigt sind, und dass am Anschlussgehäuse (1) einerseits und am Gehäuse (240) andererseits je eine Bohrung (228,244) vorhanden ist, von denen die Bohrung (228) im Anschlussgehäuse (1) eine Gewindepartie (233) aufweist, um das Gehäuse (240) kraftschlüssig mittels einer Bolzenschraube (246) am Anschlussgehäuse (1) zu befestigen.
    16. Anordnung nach Patentanspruch 15, gekennzeichnet durch eine am Anschlussgehäuse (1) über dem Verteiler (4) angeordnete, und mit dem Anschlussgehäuse (1) starr gehalterte Halteplatte (229), die eine zentral über einem Sackloch (228) im Verteiler (4) angeordnete Gewindebohrung (233) für die Bolzenschraube (246) besitzt.
    17. Anordnung nach Patentanspruch 16, dadurch gekennzeichnet, dass der zylindrisch ausgebildete Kopf (245) der Bolzenschraube (246) eine diametral durchgehende quadratische Oeffnung (247) aufweist und dass im Gehäuse (240) eine radiale Bohrung (250) für die Aufnahme eines Einsteckstiftes (249) mit einem zum Eingreifen in die quadratische Oeffnung (247) bestimmten exzentrisch bezüglich der Achse des Einsteckstiftes (249) angeordneten Zylinder (248) zwecks Ausübens einer Zugkraft auf die Bolzenschraube (246) vorhanden ist.
    18. Anordnung nach einem der Patentansprüche 15 bis 17, dadurch gekennzeichnet, dass die Halteplatte (229) an der Wand des Anschlussgehäuses (1) mittels Schrauben (230) befestigt ist.
    19. Anordnung nach einem der Patentansprüche 15 bis 18, gekennzeichnet durch eine aussen am Gehäuse (240) angeschraubte Ringmutter (234) als Anschlag auf dem Anschlussgehäuse (1) für die Festilegung der Eindringtiefe der Nippel (3, 3') in die Durchleitung (225,226) im Verteiler (4).
    20. Anordnung nach Patentanspruch 19, gekennzeichnet durch wenigstens einen Distanzring (235) zwischen der Ringmutter (234) und dem Anschlag am Anschlussgehäuse (1) zur Anpassung der Länge der Anordnung an die baulichen Verhältnisse.
    21. Anordnung nach Patentanspruch 20, dadurch gekennzeichnet, dass der Verteiler (4) in mehrere koaxiale zylindrische Bohrungen (308) im Armaturengehäuse (21) und/oder im Anschlussgehäuse (1) eingesetzt und durch die Dichtringe (338) gegenüber diesen abgedichtet ist.
    22. Anordnung nach Patentanspruch 2, dadurch gekennzeichnet, dass die Rohre (326,327,357) miteinander verbunden sind.
    23. Anordnung nach Patentanspruch 21 oder 22, dadurch gekennzeichnet, dass das Anschlussgehäuse (1) einen zusätzlichen Anschlussstutzen (306) für das Mischwasser enthält, dass ein Umschaltventil (352) für das Mischwasser mit zwei Abgängen (353,354) vorhanden ist, und dass die beiden Abgänge (353,354) über getrennte Durchleitungen (333,334) mit den beiden Mischwasseranschlussstutzen (306,307) verbunden sind.
    24. Anordnung nach Patentanspruch 23, dadurch gekennzeichnet, dass das Umschaltventil (352) im Armaturengehäuse (21) angeordnet ist und die beiden Abgänge (353,354) mit den getrennten Durchleitungen (333,334) im Anschlussgehäuse (1) kommuniziern, wobei der Verteiler (4) gegenüber dem Anschlussgehäuse (1) und dem Armaturengehäuse (21) durch einen zusätzlichen konzentrischen Dichtring (338) abgedichtet ist.
    25. Anordnung nach einem der Patentansprüche 21 bis 24, dadurch gekennzeichnet, dass das Anschlussgehäuse (1) mehrere koaxiale, zylindrische Bohrungen (308) aufweist, von denen jede mit einem der Anschlussstutzen (306,307,12,12',13,13') verbunden ist, dass das Armaturengehäuse (21) in die äusserste Bohrung (308) abdichtend, längsverschiebbar und feststellbar eingreift, und dass der Verteiler (4) mit den Dichtringen (338) in die inneren Bohrungen (308) längsverschiebbar eingesetzt und am armaturengehäuse (21) befestigt ist
    26. Anordnung nach einem der Patentansprüche 21 bis 25, dadurch gekennzeichnet, dass das Anschlussgehäuse (1) mehrere koaxiale, zylindrische Bohrungen (308) aufweist, von denen jede mit einem der Anschlussstutzen (306,307,12,12',13,13') verbunden ist, dass das Armaturengehäuse (21) für jede Durchleitung (335,336,353,354) einen achsparallelen zylindrischen Nippel (3,3') mit einem Dichtring (377) aufweist dass die Nippel (3,3') in zylindrische Bohrungen (376) des Verteilers (4) eingreifen, dass jede dieser Bohrungen (376) über den Verteiler (4) mit je einer der koaxialen Bohrungen (308) des Anschlussgehäuses (1) verbunden ist, und dass das Armaturengehäuse (21) relativ zum Anschlussgehäuse (1) längs seiner Achse verschiebbar und feststellbar ist.
    EP88810601A 1987-09-09 1988-09-02 Sanitäre Wasseranschlussanordnung Expired - Lifetime EP0309397B2 (de)

    Priority Applications (1)

    Application Number Priority Date Filing Date Title
    AT88810601T ATE74641T1 (de) 1987-09-09 1988-09-02 Sanitaere wasseranschlussanordnung.

    Applications Claiming Priority (8)

    Application Number Priority Date Filing Date Title
    CH351287 1987-09-09
    CH351087 1987-09-09
    CH3510/87 1987-09-09
    CH3512/87 1987-09-09
    CH3511/87 1987-09-09
    CH351187 1987-09-09
    CH3965/87 1987-10-08
    CH396587 1987-10-08

    Publications (3)

    Publication Number Publication Date
    EP0309397A1 EP0309397A1 (de) 1989-03-29
    EP0309397B1 EP0309397B1 (de) 1992-04-08
    EP0309397B2 true EP0309397B2 (de) 1999-04-14

    Family

    ID=27428641

    Family Applications (1)

    Application Number Title Priority Date Filing Date
    EP88810601A Expired - Lifetime EP0309397B2 (de) 1987-09-09 1988-09-02 Sanitäre Wasseranschlussanordnung

    Country Status (3)

    Country Link
    EP (1) EP0309397B2 (de)
    DE (1) DE3869890D1 (de)
    ES (1) ES2030207T5 (de)

    Families Citing this family (9)

    * Cited by examiner, † Cited by third party
    Publication number Priority date Publication date Assignee Title
    DE3907585A1 (de) * 1989-03-09 1990-09-13 Grohe Armaturen Friedrich Anschlussvorrichtung fuer mischarmaturen
    DE3941106C2 (de) * 1989-11-07 1994-03-03 Scheffer Kludi Armaturen Sanitäre Mischbatterie für den Wandanschluß
    CH685205A5 (de) * 1992-05-18 1995-04-28 Fides Treuhand Gmbh Anschlussvorrichtung für eine sanitäre Mischarmatur.
    IT1283068B1 (it) * 1996-05-23 1998-04-07 Real S R L Dispositivo per la connessione di componenti di rubinetteria a sanitari quali lavelli,lavabi,bidet,vasche e simili.
    DE19622368A1 (de) * 1996-06-04 1997-12-11 Hansa Metallwerke Ag Mehrzahl von sanitären Mischarmaturen
    DE19856155A1 (de) 1998-12-05 2000-06-08 Hansgrohe Ag System von Sanitärarmaturen
    DE502005005716D1 (de) * 2005-12-15 2008-11-27 Arwa Ag Anschlußvorrichtung für eine wandmontierte Unterputzarmatur
    DE102012201693B4 (de) 2012-02-06 2017-08-24 Hansgrohe Ag Adapterelement
    DE102019134956A1 (de) * 2019-12-18 2021-06-24 Kwc Ag Befestigungsvorrichtung für Sanitärarmaturen

    Family Cites Families (5)

    * Cited by examiner, † Cited by third party
    Publication number Priority date Publication date Assignee Title
    AT177382B (de) * 1952-10-27 1954-01-25 Johannes Dipl Ing Dr T Twaroch Mischarmatur für Heiß- und Kaltwasser
    US3136570A (en) * 1960-08-12 1964-06-09 Sunnyview Invest Corp Adapter for nipple on bath tub spout
    DE1811936A1 (de) * 1968-11-30 1970-06-18 Hansa Metallwerke Ag Einlochwand-Mischbatterie fuer Kalt- und Warmwasser
    DE3462543D1 (en) * 1983-03-16 1987-04-09 Walter Hussauf Connecting armature device for sanitary installations
    DE3519652C2 (de) * 1985-06-01 1997-12-18 Grohe Armaturen Friedrich Unterputzanschlußstück für Sanitärarmaturen

    Also Published As

    Publication number Publication date
    EP0309397B1 (de) 1992-04-08
    ES2030207T3 (es) 1992-10-16
    ES2030207T5 (es) 1999-07-01
    EP0309397A1 (de) 1989-03-29
    DE3869890D1 (de) 1992-05-14

    Similar Documents

    Publication Publication Date Title
    DE69817573T2 (de) Verteiler für brauchwasser und heizwasser
    DE102004040084B4 (de) Sanitäre Unterputzarmatur
    EP0309397B2 (de) Sanitäre Wasseranschlussanordnung
    DE19603398B4 (de) Heizungsanschlussvorrichtung, Verteiler und Bauelement für Heizungen
    EP0119960B1 (de) Sanitär-Armaturanschlussorgan
    DE3826064C2 (de)
    DE102013205250B4 (de) Rohranschlussadapter und Sanitärarmatur
    DE2527132C3 (de) Anschlußvorrichtung für einen Heizkörper
    EP0942104A2 (de) Wasserarmatur
    DE102012212302B4 (de) Sanitärarmatur
    EP3055463B1 (de) Vorrichtung zum anschluss von sanitärarmaturen
    DE3826008A1 (de) Sanitaere wasseranschlussanordnung
    EP3839156B1 (de) Befestigungsvorrichtung für sanitärarmaturen
    DE3519763A1 (de) Sanitaerarmaturenanschlussstueck
    EP1690486A2 (de) Duscheinrichtung
    EP3848517B1 (de) Fluidverteilereinheit für sanitäre umstellarmaturen
    EP1435480B1 (de) Sanitärarmatur
    EP3307962A1 (de) Montagevorrichtung für ein armaturenpaneel
    EP2816160B1 (de) Wandarmatur mit einstellbarem Abstand der Anschlüsse
    DE102012201693B4 (de) Adapterelement
    DE3712625C2 (de)
    DE202005003778U1 (de) Rohrverteiler, insbesondere für Heizungsanlagen
    EP2072695B2 (de) Unterputzspülkasten mit einem Anschlussstück zum Anschliessen einer Wasserversorgungsleitung und Verfahren zum Anschliessen eines Unterputzspülkastens an eine Wasserversorgungsleitung
    DE10233863A1 (de) Anschlussblock für Sanitärarmaturen
    DE3826009C2 (de) Anschlußvorrichtung für eine sanitäre Mischarmatur

    Legal Events

    Date Code Title Description
    PUAI Public reference made under article 153(3) epc to a published international application that has entered the european phase

    Free format text: ORIGINAL CODE: 0009012

    AK Designated contracting states

    Kind code of ref document: A1

    Designated state(s): AT BE CH DE ES FR GB GR IT LI LU NL SE

    17P Request for examination filed

    Effective date: 19890713

    17Q First examination report despatched

    Effective date: 19901129

    GRAA (expected) grant

    Free format text: ORIGINAL CODE: 0009210

    AK Designated contracting states

    Kind code of ref document: B1

    Designated state(s): AT BE CH DE ES FR GB GR IT LI LU NL SE

    PG25 Lapsed in a contracting state [announced via postgrant information from national office to epo]

    Ref country code: SE

    Effective date: 19920408

    Ref country code: GR

    Free format text: LAPSE BECAUSE OF FAILURE TO SUBMIT A TRANSLATION OF THE DESCRIPTION OR TO PAY THE FEE WITHIN THE PRESCRIBED TIME-LIMIT

    Effective date: 19920408

    REF Corresponds to:

    Ref document number: 74641

    Country of ref document: AT

    Date of ref document: 19920415

    Kind code of ref document: T

    ET Fr: translation filed
    REF Corresponds to:

    Ref document number: 3869890

    Country of ref document: DE

    Date of ref document: 19920514

    GBT Gb: translation of ep patent filed (gb section 77(6)(a)/1977)
    ITF It: translation for a ep patent filed
    PG25 Lapsed in a contracting state [announced via postgrant information from national office to epo]

    Ref country code: LU

    Free format text: LAPSE BECAUSE OF NON-PAYMENT OF DUE FEES

    Effective date: 19920930

    REG Reference to a national code

    Ref country code: ES

    Ref legal event code: FG2A

    Ref document number: 2030207

    Country of ref document: ES

    Kind code of ref document: T3

    PLBI Opposition filed

    Free format text: ORIGINAL CODE: 0009260

    26 Opposition filed

    Opponent name: FRIEDRICH GROHE AKTIENGESELLSCHAFT

    Effective date: 19921212

    NLR1 Nl: opposition has been filed with the epo

    Opponent name: FRIEDRICH GROHE AG.

    APAC Appeal dossier modified

    Free format text: ORIGINAL CODE: EPIDOS NOAPO

    APAC Appeal dossier modified

    Free format text: ORIGINAL CODE: EPIDOS NOAPO

    APCC Communication from the board of appeal sent

    Free format text: ORIGINAL CODE: EPIDOS OBAPO

    APCC Communication from the board of appeal sent

    Free format text: ORIGINAL CODE: EPIDOS OBAPO

    APCC Communication from the board of appeal sent

    Free format text: ORIGINAL CODE: EPIDOS OBAPO

    APCC Communication from the board of appeal sent

    Free format text: ORIGINAL CODE: EPIDOS OBAPO

    APAC Appeal dossier modified

    Free format text: ORIGINAL CODE: EPIDOS NOAPO

    PLAW Interlocutory decision in opposition

    Free format text: ORIGINAL CODE: EPIDOS IDOP

    REG Reference to a national code

    Ref country code: CH

    Ref legal event code: PUE

    Owner name: FIDES TREUHANDGESELLSCHAFT TRANSFER- GEBERIT TECHN

    REG Reference to a national code

    Ref country code: FR

    Ref legal event code: CD

    PUAH Patent maintained in amended form

    Free format text: ORIGINAL CODE: 0009272

    STAA Information on the status of an ep patent application or granted ep patent

    Free format text: STATUS: PATENT MAINTAINED AS AMENDED

    27A Patent maintained in amended form

    Effective date: 19990414

    AK Designated contracting states

    Kind code of ref document: B2

    Designated state(s): AT BE CH DE ES FR GB GR IT LI LU NL SE

    REG Reference to a national code

    Ref country code: CH

    Ref legal event code: AEN

    Free format text: AUFRECHTERHALTUNG DES PATENTES IN GEAENDERTER FORM

    ET3 Fr: translation filed ** decision concerning opposition
    NLR2 Nl: decision of opposition
    REG Reference to a national code

    Ref country code: ES

    Ref legal event code: DC2A

    Kind code of ref document: T5

    Effective date: 19990504

    GBTA Gb: translation of amended ep patent filed (gb section 77(6)(b)/1977)
    NLR3 Nl: receipt of modified translations in the netherlands language after an opposition procedure
    REG Reference to a national code

    Ref country code: GB

    Ref legal event code: 732E

    REG Reference to a national code

    Ref country code: FR

    Ref legal event code: TP

    BECH Be: change of holder

    Free format text: 19990526 *ARMATURENFABRIK WALLISELLEN A.G.;*GEBERIT TECHNIK A.G.

    NLS Nl: assignments of ep-patents

    Owner name: GEBERIT TECHNIK AG;ARMATURENFABRIK WALLISELLEN AG;

    NLT1 Nl: modifications of names registered in virtue of documents presented to the patent office pursuant to art. 16 a, paragraph 1

    Owner name: FIDES

    PGFP Annual fee paid to national office [announced via postgrant information from national office to epo]

    Ref country code: NL

    Payment date: 20010930

    Year of fee payment: 14

    PGFP Annual fee paid to national office [announced via postgrant information from national office to epo]

    Ref country code: BE

    Payment date: 20011001

    Year of fee payment: 14

    PGFP Annual fee paid to national office [announced via postgrant information from national office to epo]

    Ref country code: ES

    Payment date: 20011116

    Year of fee payment: 14

    REG Reference to a national code

    Ref country code: GB

    Ref legal event code: IF02

    PGFP Annual fee paid to national office [announced via postgrant information from national office to epo]

    Ref country code: GB

    Payment date: 20020919

    Year of fee payment: 15

    PG25 Lapsed in a contracting state [announced via postgrant information from national office to epo]

    Ref country code: BE

    Free format text: LAPSE BECAUSE OF NON-PAYMENT OF DUE FEES

    Effective date: 20020930

    BERE Be: lapsed

    Owner name: *GEBERIT TECHNIK A.G.

    Effective date: 20020930

    Owner name: *ARMATURENFABRIK WALLISELLEN A.G.

    Effective date: 20020930

    PG25 Lapsed in a contracting state [announced via postgrant information from national office to epo]

    Ref country code: NL

    Free format text: LAPSE BECAUSE OF NON-PAYMENT OF DUE FEES

    Effective date: 20030401

    PG25 Lapsed in a contracting state [announced via postgrant information from national office to epo]

    Ref country code: GB

    Free format text: LAPSE BECAUSE OF NON-PAYMENT OF DUE FEES

    Effective date: 20030902

    PG25 Lapsed in a contracting state [announced via postgrant information from national office to epo]

    Ref country code: ES

    Free format text: LAPSE BECAUSE OF NON-PAYMENT OF DUE FEES

    Effective date: 20030903

    GBPC Gb: european patent ceased through non-payment of renewal fee
    REG Reference to a national code

    Ref country code: ES

    Ref legal event code: FD2A

    Effective date: 20030903

    APAH Appeal reference modified

    Free format text: ORIGINAL CODE: EPIDOSCREFNO

    PGFP Annual fee paid to national office [announced via postgrant information from national office to epo]

    Ref country code: FR

    Payment date: 20060830

    Year of fee payment: 19

    PGFP Annual fee paid to national office [announced via postgrant information from national office to epo]

    Ref country code: DE

    Payment date: 20060914

    Year of fee payment: 19

    PGFP Annual fee paid to national office [announced via postgrant information from national office to epo]

    Ref country code: AT

    Payment date: 20060929

    Year of fee payment: 19

    PGFP Annual fee paid to national office [announced via postgrant information from national office to epo]

    Ref country code: IT

    Payment date: 20060930

    Year of fee payment: 19

    PGFP Annual fee paid to national office [announced via postgrant information from national office to epo]

    Ref country code: CH

    Payment date: 20070718

    Year of fee payment: 20

    REG Reference to a national code

    Ref country code: CH

    Ref legal event code: NV

    Representative=s name: ISLER & PEDRAZZINI AG

    Ref country code: CH

    Ref legal event code: PUE

    Owner name: ARWA AG

    Free format text: GEBERIT TECHNIK AG#SCHACHENSTRASSE 77#8645 JONA (CH) $ ARMATURENFABRIK WALLISELLEN AG#RICHTISTRASSE 2#CH-8304 WALLISELLEN (CH) -TRANSFER TO- ARWA AG#RICHTISTRASSE 2#8304 WALLISELLEN (CH)

    PG25 Lapsed in a contracting state [announced via postgrant information from national office to epo]

    Ref country code: AT

    Free format text: LAPSE BECAUSE OF NON-PAYMENT OF DUE FEES

    Effective date: 20070902

    PG25 Lapsed in a contracting state [announced via postgrant information from national office to epo]

    Ref country code: DE

    Free format text: LAPSE BECAUSE OF NON-PAYMENT OF DUE FEES

    Effective date: 20080401

    REG Reference to a national code

    Ref country code: FR

    Ref legal event code: ST

    Effective date: 20080531

    REG Reference to a national code

    Ref country code: CH

    Ref legal event code: PL

    PG25 Lapsed in a contracting state [announced via postgrant information from national office to epo]

    Ref country code: FR

    Free format text: LAPSE BECAUSE OF NON-PAYMENT OF DUE FEES

    Effective date: 20071001

    PG25 Lapsed in a contracting state [announced via postgrant information from national office to epo]

    Ref country code: IT

    Free format text: LAPSE BECAUSE OF NON-PAYMENT OF DUE FEES

    Effective date: 20070902