EP0280766A2 - Verfahren und Vorrichtung zum Elektroschlacke-Stranggiessen von Stählen und Legierungen - Google Patents

Verfahren und Vorrichtung zum Elektroschlacke-Stranggiessen von Stählen und Legierungen Download PDF

Info

Publication number
EP0280766A2
EP0280766A2 EP87114823A EP87114823A EP0280766A2 EP 0280766 A2 EP0280766 A2 EP 0280766A2 EP 87114823 A EP87114823 A EP 87114823A EP 87114823 A EP87114823 A EP 87114823A EP 0280766 A2 EP0280766 A2 EP 0280766A2
Authority
EP
European Patent Office
Prior art keywords
slag
mold
electrically conductive
liquid
heated
Prior art date
Legal status (The legal status is an assumption and is not a legal conclusion. Google has not performed a legal analysis and makes no representation as to the accuracy of the status listed.)
Withdrawn
Application number
EP87114823A
Other languages
English (en)
French (fr)
Other versions
EP0280766A3 (de
Inventor
Wolfgang Dipl.-Ing. Dr. Mont. Holzgruber
Manfred Dipl.-Ing. Haissig
Current Assignee (The listed assignees may be inaccurate. Google has not performed a legal analysis and makes no representation or warranty as to the accuracy of the list.)
Inteco Internationale Techinsche Beratung GmbH
Original Assignee
Inteco Internationale Techinsche Beratung GmbH
Priority date (The priority date is an assumption and is not a legal conclusion. Google has not performed a legal analysis and makes no representation as to the accuracy of the date listed.)
Filing date
Publication date
Application filed by Inteco Internationale Techinsche Beratung GmbH filed Critical Inteco Internationale Techinsche Beratung GmbH
Publication of EP0280766A2 publication Critical patent/EP0280766A2/de
Publication of EP0280766A3 publication Critical patent/EP0280766A3/de
Withdrawn legal-status Critical Current

Links

Images

Classifications

    • BPERFORMING OPERATIONS; TRANSPORTING
    • B22CASTING; POWDER METALLURGY
    • B22DCASTING OF METALS; CASTING OF OTHER SUBSTANCES BY THE SAME PROCESSES OR DEVICES
    • B22D11/00Continuous casting of metals, i.e. casting in indefinite lengths
    • B22D11/10Supplying or treating molten metal
    • B22D11/11Treating the molten metal
    • CCHEMISTRY; METALLURGY
    • C22METALLURGY; FERROUS OR NON-FERROUS ALLOYS; TREATMENT OF ALLOYS OR NON-FERROUS METALS
    • C22BPRODUCTION AND REFINING OF METALS; PRETREATMENT OF RAW MATERIALS
    • C22B9/00General processes of refining or remelting of metals; Apparatus for electroslag or arc remelting of metals
    • C22B9/16Remelting metals
    • C22B9/18Electroslag remelting

Definitions

  • the invention relates to a method for the continuous casting of steels, in particular tool steels, such as, for example, high-speed steels, ledeburitic Cr steels, steels for cold and hot work, etc., from a warming or distribution vessel into a - in particular water-cooled, open at the bottom, straight or curved - mold from which the partially solidified strand is withdrawn continuously or step by means of a pull-out device.
  • tool steels such as, for example, high-speed steels, ledeburitic Cr steels, steels for cold and hot work, etc.
  • the invention also relates to a device for carrying out this method.
  • the electro-slag remelting of self-consumable electrodes enables the production of remelting blocks with a good surface at a slow block build-up speed.
  • the shallow sump depths that occur lead to a uniform solidification between the edge and core and thus to a good internal quality of the remelted blocks.
  • the use of short molds with lowerable base plates and electrode changes also allows the production of relatively long strands. In the production of small dimensions, however, the production of the required consumable electrodes becomes difficult, and the process costs due to the then low remelting rates become high.
  • liquid metal can be made available from a heated pan at a constant temperature over a long period of time.
  • the object of the invention is to avoid the respective disadvantages of the above-described methods by means of suitable measures and, if possible, to utilize their advantages.
  • the aim is the continuous production of strands with a good surface at casting speeds that are significantly lower than those required and customary in continuous casting, which means that a sufficiently good core zone can also be expected.
  • the solution to this problem is that the liquid metal level is completely covered by an overheated, electrically conductive liquid slag, the slag is additionally heated and the liquid steel is poured through the liquid slag, the casting speed being set so that it is at least 1 5 times the usual remelting rates for electroslag remelting and a maximum of 50% of the usual casting speed for continuous casting.
  • the inventor took advantage of the knowledge to lower the casting speed during continuous casting that excellent block surfaces can be achieved with electro-slag remelting at still considerably low block build-up speeds, since the surface of the liquid steel in the mold is kept warm by heated slag, so that the slag progresses Freezing over the meniscus is prevented.
  • the pouring rate in kg / h should be at least 1.5 times the diameter in the case of round strands or the length of the side in the square or the mean of the short and long side length in the case of rectangular strands in mm.
  • the maximum pouring rate should be so low that a depth of the liquid sump of 4 m is not exceeded.
  • the layer thickness of the electrically conductive slag should be at least 20 mm according to a further feature of the invention.
  • the slag can be heated by one or more non-consumable electrodes made of graphite, tungsten, molybdenum or other high-melting electrically conductive materials which are connected to a power source.
  • the slag bath can also be heated by a plasma torch.
  • molds as are common in continuous casting, can be used to carry out the method.
  • small cross sections - such as 100 mm and less - it becomes difficult to arrange one or more electrodes in addition to the pouring stream in the mold.
  • the second pole can also be formed by the liquid metal running from an upstream distributor, the power supply being able to do this via electrodes built into the distributor wall.
  • Another possibility is to also cover the distributor with an electrically conductive slag and also to produce the power supply there via an electrode immersed in the slag.
  • the second pole can also be formed by a second electrode immersed in the slag bath in the mold.
  • the strand can be withdrawn from the mold continuously or step by step.
  • a step-by-step strand withdrawal is selected when the mold is stationary, and a return stroke step can be connected to each withdrawal step.
  • the mold carries out an oscillating movement in such a way that the strand is briefly overtaken by the mold when moving in the strand withdrawal direction.
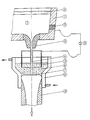
  • a pouring jet 4 runs from a spout 5 into a water-cooled funnel mold 6, which is open at the bottom, from a bricked-up distribution vessel 1, in which there is liquid metal 3 under a covering layer of covering slag 2.
  • a metal mirror 7 of a strand 12 is superimposed therein with an electrically conductive, overheated slag 8, in which a tubular graphite electrode 9 is immersed. This is connected to a power source 10.
  • the second pole of the current source 10 is an electrode 11 installed in the distributor, from where the current flow via the liquid metal 3 into the funnel mold 6 and through the slag 8 to the graphite electrode 9.
  • the strand 12 formed in the funnel mold 6 is drawn off downwards.

Landscapes

  • Engineering & Computer Science (AREA)
  • Chemical & Material Sciences (AREA)
  • Mechanical Engineering (AREA)
  • Manufacturing & Machinery (AREA)
  • Materials Engineering (AREA)
  • Metallurgy (AREA)
  • Organic Chemistry (AREA)
  • Continuous Casting (AREA)
  • Manufacture And Refinement Of Metals (AREA)

Abstract

Ein Verfahren zum kontinuierlichen Gießen von Stählen, inbesondere von Werkzeugstählen, aus einem Warmhalte- ­oder Verteilergefäß (1) in eine Kokille (6), aus welcher der teilweise erstarrte Strang kontinuierlich oder schritt­weise mittels einer Ausziehvorrichtung abgezogen wird, soll dadurch verbessert werden, daß der flüssige Metall­spiegel durch eine überhitzte elektrisch leitende flüssige Schlacke (8) vollkommen abgedeckt wird, die Schlacke zusätzlich beheizt und der flüssige Stahl (3) durch die flüssige Schlacke gegossen wird, wobei die Gießge­schwindigkeit so eingestellt wird, daß sie mindestens dem 1,5-fachen der üblichen Umschmelzraten beim Elektro­schlackeumschmelzen und maximal 50 % der üblichen Gieß­geschwindigkeit beim Stranggießen beträgt. Dabei soll die Schichtdicke der elektrisch leitenden, flüssigen Schlacke mindestens 20 mm betragen. Die elektrisch leitende, flüssige Schlacke wird durch eine oder mehrere an eine Stromquelle angeschlossene nichtverzehrbare Elektrode/n (9) aus beispielsweise Graphit, Molybdän, Wolfram oder sonstigen hochschmelzenden elektrisch leitenden Werkstoffen beheizt.

Description

  • Die Erfindung betrifft ein Verfahren zum kontinuier­lichen Gießen von Stählen, insbesondere von Werkzeug­stählen, wie beispielsweise Schnellarbeitsstählen, lede­buritischen Cr-Stählen, Stählen für Kalt- und Warmarbeit etc., aus einem Warmhalte- oder Verteilergefäß in eine -- insbesondere wassergekühlte, nach unten offene, ge­rade oder bogenförmige -- Kokille, aus welcher der teil­weise erstarrte Strang kontinuierlich oder schrittweise mittels einer Ausziehvorrichtung abgezogen wird. Zudem erfaßt die Erfindung eine Vorrichtung zur Durchführung dieses Verfahrens.
  • Bei der Herstellung von hochlegierten Werkzeugstählen, ledeburitischen Chromstählen und anderen stark seigern­den Stählen und Legierungen ist die Herstellung kontinu­ierlich gegossener Stränge mit kleinen bis mittleren Querschnitten mit Problemen verbunden.
  • Beim konventionellen Stranggießverfahren müssen nämlich relativ hohe Gießgeschwindigkeiten angewendet werden, um eine annehmbare Oberflächenqualität zu erreichen, die für die Weiterverarbeitung geeignet ist. Die dafür er­forderlichen Gießgeschwindigkeiten haben -- zusammen mit der notwendigen Ueberhitzung des Metalls -- Sumpflängen von mehreren Metern zur Folge, die ihrerseits die Ursache für die Ausbildung starker Kernseigerungen, ge­paart mit Schwindungshohlräumen sind.
  • Aus derartigen Gußsträngen hergestellter Stabstahl ist für einen großen Teil der Einsatzfälle nicht verwendbar.
  • Im Gegensatz zum Stranggießen ermöglicht das Elektro­schlacke-Umschmelzen selbstverzehrbarer Elektroden die Herstellung von Umschmelzblöcken mit guter Oberfläche bei langsamer Blockaufbaugeschwindigkeit. Die dabei auf­tretenden geringen Sumpftiefen führen zu einem gleich­mäßigen Erstarren zwischen Rand und Kern und damit zu einer guten Innenqualität der umgeschmolzenen Blöcke. Die Anwendung kurzer Kokillen mit absenkbaren Bodenplat­ten und Elektrodenwechsel erlaubt auch hier die Herstel­lung relativ langer Stränge. Bei der Herstellung kleiner Abmessungen wird jedoch die Erzeugung der erforderlichen Abschmelzelektroden schwierig, die Verfahrenskosten auf­grund der dann geringen Umschmelzraten werden hoch.
  • Während beim Stranggießen von Formaten zwischen 100 und 200 mm runden oder quadratischen Querschnittes selbst beim langsamen Gießen Gießleistungen von mindestens 5 bis 10 t je Stunde und Strang erforderlich sind, betragen die Abschmelzraten beim ESU-Verfahren maximal 100 bis 200 kg je Stunde bei denselben Formaten. Beim Stranggießen ergeben sich damit Sumpftiefen zwischen 4 und 8 m. Die Sumpftiefen beim ESU-Verfahren betragen dagegen nur 100 bis 300 mm.
  • Wünschenswert wäre es, Stränge aus hochlegierten Stählen mit gegenüber dem Stranggießen wesentlich geringeren Gießgeschwindigkeiten zu gießen, um eine verbesserte Kernzone zu erreichen, ohne dabei Nachteile hinsichtlich der Ausbildung der Oberfläche aufgrund zu starker Abküh­lung in Kauf nehmen zu müssen. Dabei wird vorausgesetzt, daß das flüssige Metall über längere Zeit mit konstanter Temperatur aus einer beheizbaren Pfanne verfügbar ge­macht werden kann.
  • Das Hauptproblem beim starken Absenken der Gießgeschwin­digkeit beim Stranggießen liegt darin, daß dann die Erstarrung von der Kokillenwand über den Meniskus fort­schreitet und es zur Ausbildung von Rillen und Ueber­lappungen kommt. Derartige Stränge sind für eine direkte Weiterverarbeitung ungeeignet.
  • Der Erfindung liegt nun die Aufgabe zugrunde, durch ge­eignete Maßnahmen die jeweiligen Nachteile der oben ge­schilderten Verfahren zu vermeiden und möglichst deren Vorteile auszunutzen. Ziel ist dabei die kontinuierliche Herstellung von Strängen mit guter Oberfläche bei Gieß­geschwindigkeiten, die wesentlich unter denen beim Stranggießen erforderlichen und üblichen liegen, womit auch eine ausreichend gute Kernzone erwartet werden kann.
  • Zur Lösung dieser Aufgabe führt nun, daß der flüssige Metallspiegel durch eine überhitzte elektrisch leitende flüssige Schlacke vollkommen abgedeckt wird, die Schlacke zusätzlich beheizt und der flüssige Stahl durch die flüssige Schlacke gegossen wird, wobei die Gießge­schwindigkeit so eingestellt wird, daß sie mindestens dem 1,5-fachen der üblichen Umschmelzraten beim Elektro­schlackeumschmelzen und maximal 50 % der üblichen Gießgeschwindigkeit beim Stranggießen beträgt.
  • Der Erfinder hat sich zum Absenken der Gießgeschwindig­keit beim Stranggießen die Erkenntnis zunutze gemacht, daß beim Elektroschlacke-Umschmelzen bei noch erheblich geringen Blockaufbaugeschwindigkeiten ausgezeichnete Blockoberflächen erzielbar sind, da die Oberfläche des flüssigen Stahles in der Kokille durch beheizte Schlacke warmgehalten wird, so daß ein Fortschreiten der Erstar­rung über den Meniskus verhindert wird.
  • Erfindungsgemäß sollte die Gießrate in kg/h mindestens gleich sein dem 1,5-fachen des Durchmessers bei Rund­strängen oder der Länge der Seite bei Quadrat bzw. dem Mittel aus der kurzen und langen Seitenlänge bei Rechtecksträngen in mm. Die maximale Gießrate sollte je­doch so niedrig sein, daß eine Tiefe des flüssigen Sumpfes von 4 m nicht überschritten wird.
  • Um eine gleichmäßige Erwärmung des Metallspiegels in der Kokille zu gewährleisten, soll nach einem weiteren Merk­mal der Erfindung die Schichtdicke der elektrisch leitenden Schlacke mindestens 20 mm betragen.
  • Die Beheizung der Schlacke kann erfindungsgemäß durch eine oder mehrere nichtverzehrbare Elektroden aus Graphit, Wolfram, Molybdän oder anderen hochschmelzenden elektrisch leitenden Werkstoffen erfolgen, die an eine Stromquelle angeschlossen sind.
  • Anstelle der nichtverzehrbaren Elektroden können auch arteigene verzehrbare Elektroden Verwendung finden. Im prinzip kann das Schlackenbad auch durch einen Plasma­brenner beheizt werden.
  • Grundsätzlich können für die Durchführung des Verfahrens Kokillen, wie sie beim Stranggießen üblich sind, Verwen­dung finden. Bei der Herstellung von kleinen Querschnit­ten -- wie beispielsweise 100 mm und darunter -- wird es jedoch schwierig, neben dem Gießstrahl in der Kokille noch eine oder mehrere Elektroden anzuordnen.
  • Dieses Problem kann durch den Einsatz an sich bekannter, nach oben erweiterter Trichterkokillen gelöst werden. Beim Gießen wird der Spiegel des Metalls erfindungsgemäß im unteren engen Teil gehalten, während die Schlacke bis in den erweiterten oberen Teil reicht, wo dann aus­reichend Platz für die Anordnung der Elektroden besteht.
  • Für die Anordnung der Elektroden sind im Rahmen der Er­findung verschiedene Möglichkeiten denkbar, die in den Patentansprüchen beschrieben sind.
  • Während ein Pol durch eine in die in der Kokille befind­lichen Schlacke eintauchende Elektrode gebildet wird, kann der zweite Pol an den abgezogenen Strang gelegt werden.
  • Der zweite Pol kann auch durch das aus einem vorgeschal­teten Verteiler laufende flüssige Metall gebildet wer­den, wobei die Stromzufuhr dazu über in die Verteiler­wand eingebaute Elektroden zu erfolgen vermag.
  • Eine andere Möglichkeit besteht darin, auch den Ver­teiler mit einer elektrisch leitenden Schlacke abzu­decken und auch dort die Stromzufuhr über eine in die Schlacke eintauchende Elektrode herzustellen.
  • Der zweite Pol kann aber auch durch eine zweite in das Schlackenbad in der Kokille eintauchende Elektrode ge­bildet werden.
  • Der Strangabzug aus der Kokille kann kontinuierlich oder schrittweise erfolgen.
  • Ueblicherweise wird bei feststehender Kokille ein schrittweiser Strangabzug gewählt, wobei an jeden Ab­zugsschritt ein Rückhubschritt angeschlossen werden kann.
  • Wird mit kontinuierlichem Strangabzug gearbeitet, so führt die Kokille eine oszillirende Bewegung in der Weise aus, daß bei Bewegung in Strangabzugsrichtung der Strang kurzfristig von der Kokille überholt wird.
  • Weitere Vorteile, Merkmale und Einzelheiten der Erfin­dung ergeben sich aus der nachfolgenden Beschreibung eines bevorzugten Ausführungsbeispiels sowie anhand der Zeichnung. Deren einzige Figur zeigt einen Teillängs­schnitt durch eine Vorrichtung.
  • Aus einem ausgemauerten Verteilergefäß 1, in welchem sich unter einer Deckschicht aus Abdeckschlacke 2 flüssiges Metall 3 befindet, läuft ein Gießstrahl 4 aus einem Ausguß 5 in eine wassergekühlte nach unten offene Trichterkokille 6. In dieser überlagert einen Metall­spiegel 7 eines Stranges 12 eine elektrisch leitende, überhitzte Schlacke 8, in welche eine rohrförmige Graphitelektrode 9 eintaucht. Diese ist an eine Strom­quelle 10 angeschlossen.
  • Der zweite Pol der Stromquelle 10 liegt einer im Vertei­ler eingebauten Elektrode 11, von wo der Stromfluß über das flüssige Metall 3 in die Trichterkokille 6 und durch die Schlacke 8 zur Graphitelektrode 9 läuft. Der in der Trichterkokille 6 gebildete Strang 12 wird nach unten abgezogen.

Claims (10)

1. Verfahren zum kontinuierlichen Gießen von Stählen, insbesondere von Werkzeugstählen, wie beispielsweise Schnellarbeitsstählen, ledeburitischen Cr-Stählen, Stählen für Kalt- und Warmarbeit etc., aus einem Warmhalte- oder Verteilergefäß in eine Kokille, aus welcher der teilweise erstarrte Strang kontinuier­lich oder schrittweise mittels einer Ausziehvorrich­tung abgezogen wird,

dadurch gekennzeichnet,

daß der flüssige Metallspiegel durch eine überhitzte elektrisch leitende flüssige Schlacke vollkommen ab­gedeckt wird, die Schlacke zusätzlich beheizt und der flüssige Stahl durch die flüssige Schlacke ge­gossen wird, wobei die Gießgeschwindigkeit so einge­stellt wird, daß sie mindestens dem 1,5-fachen der üblichen Umschmelzraten beim Elektroschlackeum­schmelzen und maximal 50 % der üblichen Gießge­schwindigkeit beim Stranggießen beträgt.
2. Verfahren nach Anspruch 1, dadurch gekennzeichnet daß die Schichtdicke der elektrisch leitenden, flüs­sigen Schlacke mindestens 20 mm beträgt,und/oder daß die elektrisch leitende, flüssige Schlacke durch eine oder mehrere an eine Stromquelle angeschlossene nichtverzehrbare Elektrode/n aus beispielsweise Graphit, Molybdän, Wolfram oder sonstigen hoch­schmelzenden elektrisch leitenden Werkstoffen be­heizt wird.
3. Verfahren nach Anspruch 1, dadurch gekennzeichnet, daß die elektrisch leitende, flüssige Schlacke durch eine oder mehrere verzehrbare Elektroden beheizt wird, die aus derselben Legierung wie der zu ver­gießende Stahl bestehen, oder daß die elektrisch leitende, flüssige Schlacke durch einen Plasma­brenner beheizt wird.
4. Verfahren nach einem der Ansprüche 1 bis 3, dadurch gekennzeichnet, daß der Spiegel des flüssigen Me­talls in einer sich nach oben trichterförmig er­weiternden Kokille im engen Teil gehalten wird, während die flüssige, elektrisch leitende Schlacke bis in den trichterförmig erweiterten Teil reicht und in diesem Teil beheizt wird.
5. Verfahren nach einem der Ansprüche 1 bis 6, dadurch gekennzeichnet, daß bei feststehender Kokille und schrittweisem Abzug an jeden Abzugshubschnitt ein Rückschritt angeschlossen wird, oder daß bei konti­nuierlichem Strangabzug mit der Kokille eine oszil­lierende Bewegung ausgeführt sowie bei der Bewegung in Strangabzugsrichtung der Strang kurzfristig von der Kokille überholt wird.
6. Vorrichtung zur Durchführung des Verfahrens mit wassergekühlter, nach unten offener, gerader oder bogenförmiger Kokille, nach wenigstens einem der An­sprüche 1 bis 5, dadurch gekennzeichnet, daß eine an eine Stromquelle (10) angeschlossene Elektrode (9) in das Schlackenbad (8) in der Kokille (6) eintaucht und der zweite Pol mit dem abgezogenen Strang (12) leitend verbunden ist.
7. Vorrichtung zur Durchführung des Verfahrens mit wassergekühlter,nach unten offener, gerader oder bogenförmiger Kokille nach wenigstens einem der An­sprüche 1 bis 5, dadurch gekennzeichnet, daß eine an eine Stromquelle (10) angeschlossene Elektrode (9) in das Schlackenbad (8) in der Kokille (6) eintaucht und der zweite Pol durch das flüssige Metall (3) ge­bildet ist, wobei die Zuleitung über in die Wand eines vorgeschalteten Verteilers (1) eingebaute Elektroden erfolgt.
8. Vorrichtung zur Durchführung des Vrfahrens mit wassergekühlter, nach unten offener, gerader oder bogenförmiger Kokile nach wenigstens einem der An­sprüche 1 bis 5, dadurch gekennzeichnet, daß eine an eine Stromquelle (10) angeschlossene Elektrode (9) in das Schlackenbad (8) in der Kokille (6) eintaucht und der zweite Pol durch eine Elektrode gebildet wird, die in ein sich auf dem Metall (3) in einem vorgeschalteten Verteiler (1) befindliches, elek­trisch leitendes Schlackenbad eintaucht.
9. Vorrichtung nach einem der Ansprüche 6 bis 8, da­durch gekennzeichnet, daß die Elektrode (9) den vom Verteiler (1) zugeführten Gießstrahl (4) umgibt.
10. Vorrichtung zur Durchführung des Verfahrens mit einer Kokille nach wenigstens einem der Ansprüche 1 bis 6, dadurch gekennzeichnet, daß die Beheizung des Schlackenbades (8) in der Kokille (6) durch zwei in die Schlacke eintauchende, an die Pole einer ein­phasigen Stromquelle angeschlossene Elektroden er­folgt oder daß die Beheizung des Schlackenbades (8) in der Kokille (6) durch drei in die Schlacke ein­tauchende, an die Pole einer dreiphasigen Strom­quelle angeschlossene Elektroden erfolgt.
EP87114823A 1987-03-03 1987-10-10 Verfahren und Vorrichtung zum Elektroschlacke-Stranggiessen von Stählen und Legierungen Withdrawn EP0280766A3 (de)

Applications Claiming Priority (2)

Application Number Priority Date Filing Date Title
AT463/87 1987-03-03
AT46387A AT399463B (de) 1987-03-03 1987-03-03 Verfahren zum elektroschlacke-stranggiessen von stählen und legierungen

Publications (2)

Publication Number Publication Date
EP0280766A2 true EP0280766A2 (de) 1988-09-07
EP0280766A3 EP0280766A3 (de) 1989-02-22

Family

ID=3491291

Family Applications (1)

Application Number Title Priority Date Filing Date
EP87114823A Withdrawn EP0280766A3 (de) 1987-03-03 1987-10-10 Verfahren und Vorrichtung zum Elektroschlacke-Stranggiessen von Stählen und Legierungen

Country Status (3)

Country Link
EP (1) EP0280766A3 (de)
AT (1) AT399463B (de)
DE (1) DE3734339A1 (de)

Cited By (5)

* Cited by examiner, † Cited by third party
Publication number Priority date Publication date Assignee Title
EP0786531A1 (de) * 1996-01-29 1997-07-30 Inteco Internationale Technische Beratung Gesellschaft mbH Verfahren zum Umschmelzen von Metallen zu einem Strang sowie Vorrichtung dafür
AT406239B (de) * 1996-04-09 2000-03-27 Inteco Int Techn Beratung Wassergekühlte kokille für das stranggiessen oder elektroschlacke-umschmelzen
CN102089101A (zh) * 2008-07-04 2011-06-08 阿勒里斯铝业科布伦茨有限公司 复合锭的铸造方法
CN102941323A (zh) * 2012-12-12 2013-02-27 济钢集团有限公司 中薄板坯连铸机结晶器低液位快速变更换中间包的方法
CN110548840A (zh) * 2019-10-09 2019-12-10 辽宁科技大学 在连铸过程中向结晶器加入加热固态保护渣的装置及方法

Families Citing this family (1)

* Cited by examiner, † Cited by third party
Publication number Priority date Publication date Assignee Title
AT408528B (de) * 1999-06-08 2001-12-27 Inteco Int Techn Beratung Verfahren und vorrichtung zur kontinuierlichen herstellung von gegossenen oder umgeschmolzenen strängen nach einem elektroschlacke-verfahren

Family Cites Families (6)

* Cited by examiner, † Cited by third party
Publication number Priority date Publication date Assignee Title
DE1483646A1 (de) * 1965-06-11 1969-09-25 Suedwestfalen Ag Stahlwerke Verfahren und Vorrichtung zum Herstellen von Gussbloecken,vorzugsweise Stahlbloecken
FR1513573A (fr) * 1967-01-06 1968-02-16 Soc Metallurgique Imphy Procédé et dispositif pour l'affinage du métal dans une installation de coulée continue
SE332833B (sv) * 1968-06-27 1977-09-19 Asea Ab Kokill for tillverkning av got av stal och metallegeringar genom elektroslaggraffineringsmetoden
SE364648B (de) * 1970-12-04 1974-03-04 Asea Ab
AT330389B (de) * 1973-11-08 1976-06-25 Voest Ag Verfahren zum kontinuierlichen giessen von stahlstrangen, insbesondere brammen, in einer stranggiessanlage
GB2038367B (en) * 1978-10-12 1982-09-29 Nippon Steel Corp Controlling the aluminium content of continuously cast silicon steels

Cited By (8)

* Cited by examiner, † Cited by third party
Publication number Priority date Publication date Assignee Title
EP0786531A1 (de) * 1996-01-29 1997-07-30 Inteco Internationale Technische Beratung Gesellschaft mbH Verfahren zum Umschmelzen von Metallen zu einem Strang sowie Vorrichtung dafür
AT406384B (de) * 1996-01-29 2000-04-25 Inteco Int Techn Beratung Verfahren zum elektroschlacke-strangschmelzen von metallen
AT406239B (de) * 1996-04-09 2000-03-27 Inteco Int Techn Beratung Wassergekühlte kokille für das stranggiessen oder elektroschlacke-umschmelzen
CN102089101A (zh) * 2008-07-04 2011-06-08 阿勒里斯铝业科布伦茨有限公司 复合锭的铸造方法
CN102089101B (zh) * 2008-07-04 2014-07-09 阿勒里斯铝业科布伦茨有限公司 复合锭的铸造方法
CN102941323A (zh) * 2012-12-12 2013-02-27 济钢集团有限公司 中薄板坯连铸机结晶器低液位快速变更换中间包的方法
CN110548840A (zh) * 2019-10-09 2019-12-10 辽宁科技大学 在连铸过程中向结晶器加入加热固态保护渣的装置及方法
CN110548840B (zh) * 2019-10-09 2024-04-02 辽宁科技大学 在连铸过程中向结晶器加入加热固态保护渣的装置及方法

Also Published As

Publication number Publication date
EP0280766A3 (de) 1989-02-22
ATA46387A (de) 1994-10-15
AT399463B (de) 1995-05-26
DE3734339A1 (de) 1988-09-15

Similar Documents

Publication Publication Date Title
DE19654021C2 (de) Verfahren zum Umschmelzen von Metallen zu einem Strang sowie Vorrichtung dafür
DE1296747B (de) Vorrichtung zur Zufuhr einer metallischen Schmelze aus einem Vorratsbehaelter
EP0280766A2 (de) Verfahren und Vorrichtung zum Elektroschlacke-Stranggiessen von Stählen und Legierungen
DE2804487C2 (de) Vorrichtung zum Auffüllen von Blockköpfen abgegossener Metallblöcke nach dem Elektroschlackenumschmelzverfahren
AT410413B (de) Verfahren zum elektroschlacke umschmelzen von metallen
DE2355249A1 (de) Blockgussform, insbesondere zum blockguss beim elektroschlackefeinen
DE1608082C3 (de) Vorrichtung zum Feinen von Stahl mittel» Schlacke in einer Stranggieß kokille
DE69912105T2 (de) Vorrichtung zum giesen von metall
DE2941849A1 (de) Verfahren zur herstellung von konstruktionsteilen durch elektro- schlacke-schweissen
EP1257675B1 (de) Verfahren und anordnung zur herstellung von hohlen gusskörpern aus metall
DE2807844C2 (de) Verfahren zum Elektroschlackegießen von Metallblöcken
EP0229589B1 (de) Vorrichtung und Verfahren zum Stranggiessen von Metallen
DE2257104C3 (de) Einrichtung zum Elektroschlackeschmelzen von Formblöcken
DE2215860C3 (de) Elektroschlacke-U mschmelzanlage zum Umschmelzen von selbstverzehrenden Elektroden
DE1057291B (de) Verfahren und Vorrichtung zum Lichtbogenschmelzen von Metallen in einer Stranggusskokille in Zwillingsausfuehrung
AT345488B (de) Vorrichtung zum gleichzeitigen herstellen von mehreren bloecken mittels elektrischer schmelzung
DE2926695C2 (de) Verfahren zur Herstellung von Gußstücken mit vergrößertem Querschnitt des Endteils durch Elektroschlackegießen von Metalls und Vorrichtung zur Durchführung des Verfahrens
DE2420141C3 (de) Verfahren und Vorrichtung zum Elektroschlacke-Umschmelzen
DE1952010C3 (de) Anlage zum Elektroschlacke Gießen hohler Metallblocke
AT345486B (de) Verfahren und vorrichtung zum elektroschlackenumschmelzen von metallen oder metallegierungen
DE2605645B2 (de) Verfahren und Vorrichtung zum Elektroschlacke-Umschmelzen
DE2113521A1 (de) Elektroschlacke-Umschmelzverfahren und Vorrichtung zu dessen Durchfuehrung
AT266358B (de) Verfahren zum Gießen von Metallblöcken
DE2228280C3 (de) Verfahren zum Elektroschlacke-GieBen von Blöcken
DE2260245C3 (de) Einrichtung zur Herstellung von Formblöcken

Legal Events

Date Code Title Description
PUAI Public reference made under article 153(3) epc to a published international application that has entered the european phase

Free format text: ORIGINAL CODE: 0009012

AK Designated contracting states

Kind code of ref document: A2

Designated state(s): AT BE CH DE ES FR GB GR IT LI LU NL SE

RBV Designated contracting states (corrected)

Designated state(s): AT BE CH DE ES FR GB IT LI LU SE

PUAL Search report despatched

Free format text: ORIGINAL CODE: 0009013

AK Designated contracting states

Kind code of ref document: A3

Designated state(s): AT BE CH DE ES FR GB IT LI LU SE

17P Request for examination filed

Effective date: 19890425

17Q First examination report despatched

Effective date: 19890915

18W Application withdrawn

Withdrawal date: 19900512

STAA Information on the status of an ep patent application or granted ep patent

Free format text: STATUS: THE APPLICATION HAS BEEN WITHDRAWN

R18W Application withdrawn (corrected)

Effective date: 19900512

RIN1 Information on inventor provided before grant (corrected)

Inventor name: HOLZGRUBER, WOLFGANG, DIPL.-ING. DR. MONT.

Inventor name: HAISSIG, MANFRED, DIPL.-ING.