EP0260182A2 - Verfahren zur Herstellung eines Sesselschoners und Sesselschoner - Google Patents

Verfahren zur Herstellung eines Sesselschoners und Sesselschoner Download PDF

Info

Publication number
EP0260182A2
EP0260182A2 EP87401951A EP87401951A EP0260182A2 EP 0260182 A2 EP0260182 A2 EP 0260182A2 EP 87401951 A EP87401951 A EP 87401951A EP 87401951 A EP87401951 A EP 87401951A EP 0260182 A2 EP0260182 A2 EP 0260182A2
Authority
EP
European Patent Office
Prior art keywords
strip
folds
portions
fact
making
Prior art date
Legal status (The legal status is an assumption and is not a legal conclusion. Google has not performed a legal analysis and makes no representation as to the accuracy of the status listed.)
Withdrawn
Application number
EP87401951A
Other languages
English (en)
French (fr)
Other versions
EP0260182A3 (de
Inventor
Maryse Palu épouse Suc
Current Assignee (The listed assignees may be inaccurate. Google has not performed a legal analysis and makes no representation or warranty as to the accuracy of the list.)
Individual
Original Assignee
Individual
Priority date (The priority date is an assumption and is not a legal conclusion. Google has not performed a legal analysis and makes no representation as to the accuracy of the date listed.)
Filing date
Publication date
Application filed by Individual filed Critical Individual
Publication of EP0260182A2 publication Critical patent/EP0260182A2/de
Publication of EP0260182A3 publication Critical patent/EP0260182A3/de
Withdrawn legal-status Critical Current

Links

Images

Classifications

    • AHUMAN NECESSITIES
    • A47FURNITURE; DOMESTIC ARTICLES OR APPLIANCES; COFFEE MILLS; SPICE MILLS; SUCTION CLEANERS IN GENERAL
    • A47CCHAIRS; SOFAS; BEDS
    • A47C31/00Details or accessories for chairs, beds, or the like, not provided for in other groups of this subclass, e.g. upholstery fasteners, mattress protectors, stretching devices for mattress nets
    • A47C31/10Loose or removable furniture covers
    • A47C31/11Loose or removable furniture covers for chairs

Definitions

  • the present invention relates to the headrests, that is to say the cover-shaped elements which protect the upper part of the armchair backs, against which the head comes to bear.
  • these headrests are made up of pieces of fabric placed astride the top of the backrests and held in place by stapling systems or the like making it possible to remove them, in the aim in particular to clean them. It is understood that these headrests are relatively expensive, due to the cost of their manufacture, the cost of the fabric and of the fastening elements, their maintenance coming to burden these various costs.
  • the object of the present invention is therefore to implement a process for producing headrests which makes it possible to reduce manufacturing and maintenance costs as much as possible and which allows multiple applications of these headrests, with an additional function for them. giving an even greater utility than that of the headrests of the prior art.
  • the subject of the present invention is a process for producing a headrest, characterized in that it consists, - making at least two folds on a strip of heat-sealable plastic or the like, - superimposing in an accordion the portions of band delimited by these folds, - And to perform a welding of the lateral edges of said portions to obtain two pockets with opposite openings.
  • the sheets which are used for making bags are most often in the form of a long strip wound on itself, the bags being preformed by prior folding . To be able to use them, it suffices to unroll the strip and cut it into as many parts as bags, this cutting possibly being associated with a welding operation. thermal to close each bag.
  • This technique for obtaining protective covers for automobile seats is described in particular in FR-A-2,491,315.
  • the folds forming the headrest are made in the longitudinal direction of the above strip.
  • the latter which is then presented in a continuous form, consists of three portions which are folded closely one on the other in accordion.
  • the strip is cut across its width and a welding of the edges thus cut is carried out simultaneously.
  • the resulting assembly then has two symmetrical pockets with opposite openings, one intended to wrap the top of the back of a chair for example, the other, located on the rear part of this chair, which can serve as a vacuum- pockets.
  • This variant of the method of the invention has the advantage of allowing complete freedom in the choice of the width of each headrest, this being a function of the width of the back of the chair which will be equipped with this headrest. It will indeed suffice to cut more or less large parts of the strip.
  • the folds forming the pockets of the headrest will be made along the width of the said strip, the latter being previously cut.
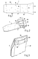
  • a strip 1, of oblong shape which may possibly be of rectangular shape, is cut, generally from a sheet of plastic of the heat-weldable type.
  • the end 2 of the strip 1 is slightly cut to form a part of the headrest against which the user's back will be supported.
  • the other end 3 is widened relative to the rest of the body 4 of the strip 1. This strip is shown unfolded in FIG. 1.
  • a first fold is made to bring the portion 8 back onto the portion 7.
  • a second fold is made to bring the portion 9 back to the face 10 of the portion 8 opposite to that facing towards the portion 7.
  • An accordion folding is thus effected, the three portions overlapping each other so that their lateral edges 11 and 12 overlap along the edges 13 and 14 of the strip 1.
  • this portion 9 When the portion 9 has a greater width than the rest of the body of the strip 1, this portion 9 is slightly folded so that its edges are perfectly superimposed on those of the other two portions.
  • Figure 2 shows the web in an intermediate situation during folding.
  • this pocket 15 could similarly increase the volume of this pocket 15 by providing its bottom with a bellows. To do this, it suffices to form two additional folds on either side of the fold 5 in order to obtain two adjacent strip portions having substantially equal surfaces.
  • the strip will thus have four folds so as to delimit five portions. These folds can be made in the longitudinal direction of the strip, in the first variant of the invention, or made along the width of this strip, in the second embodiment of the method of the invention.
  • a headrest which can, as illustrated in Figure 3, cover the top 20 of the backrest 21 of a chair.
  • the longest portion 7 is positioned on the face of the file against which the user's back rests, while the top 20 of the file is enveloped by the pocket 16.
  • the pocket 15 is thus located at the rear of the backrest 21 and can act as storage pockets for the occupant of the seat located in the next row.
  • a headrest made according to this process can cover armchairs whose tops have different thicknesses. To do this, it suffices to make a diagonal or square cut at each of the upper corners of the headrest at the level of the fold 6, in this way the pocket 16 will take the volume necessary to perfectly wrap the seat back.

Landscapes

  • Chair Legs, Seat Parts, And Backrests (AREA)
  • Seats For Vehicles (AREA)
  • Lining Or Joining Of Plastics Or The Like (AREA)
EP87401951A 1986-09-08 1987-09-01 Verfahren zur Herstellung eines Sesselschoners und Sesselschoner Withdrawn EP0260182A3 (de)

Applications Claiming Priority (2)

Application Number Priority Date Filing Date Title
FR8612946A FR2603471B1 (fr) 1986-09-08 1986-09-08 Procede de realisation d'une tetiere et tetiere ainsi obtenue
FR8612946 1986-09-08

Publications (2)

Publication Number Publication Date
EP0260182A2 true EP0260182A2 (de) 1988-03-16
EP0260182A3 EP0260182A3 (de) 1989-03-08

Family

ID=9338998

Family Applications (1)

Application Number Title Priority Date Filing Date
EP87401951A Withdrawn EP0260182A3 (de) 1986-09-08 1987-09-01 Verfahren zur Herstellung eines Sesselschoners und Sesselschoner

Country Status (2)

Country Link
EP (1) EP0260182A3 (de)
FR (1) FR2603471B1 (de)

Cited By (5)

* Cited by examiner, † Cited by third party
Publication number Priority date Publication date Assignee Title
DE29517326U1 (de) * 1995-11-02 1996-02-01 Poppe, Walter, 60598 Frankfurt Textil Sitz- und Liegetuch mit Taschenkonstruktion als Halterung, mit Schlaufe zum Einlegen einer Nackenstütze
US5620229A (en) * 1996-04-10 1997-04-15 Ledford; Janet K. Combination carrying bag, cover and accessory storage for a portable folding lounge
US6971716B2 (en) * 2002-02-20 2005-12-06 Lear Corporation System for transporting vehicle seats and floor mats
DE102010024911A1 (de) * 2010-06-17 2011-12-22 Paul Hartmann Ag Wegwerfbare Behandlungsstuhlabdeckung im medizinischen Bereich
DE202013000072U1 (de) * 2013-01-03 2013-11-29 Ingo Bauer Becherhalter für Stadionsitze in Sportstadien

Families Citing this family (1)

* Cited by examiner, † Cited by third party
Publication number Priority date Publication date Assignee Title
DE20017434U1 (de) * 2000-10-10 2002-02-21 Rukover, Attila, 42105 Wuppertal Abnehmbarer Liegenbezug

Family Cites Families (3)

* Cited by examiner, † Cited by third party
Publication number Priority date Publication date Assignee Title
US4273380A (en) * 1979-08-27 1981-06-16 Silvestri Margaret W Beach accessory
FR2491315A3 (fr) * 1980-10-03 1982-04-09 Horn Joerg Housse de protection pour sieges ou banquettes d'automobiles destinee a ne servir qu'une seule fois dans les ateliers
DE3419728C2 (de) * 1984-05-26 1986-04-10 Pe-Pack Kunststoff GmbH, 8802 Windsbach Verfahren zur Herstellung einer Autositzschutzabdeckung

Cited By (6)

* Cited by examiner, † Cited by third party
Publication number Priority date Publication date Assignee Title
DE29517326U1 (de) * 1995-11-02 1996-02-01 Poppe, Walter, 60598 Frankfurt Textil Sitz- und Liegetuch mit Taschenkonstruktion als Halterung, mit Schlaufe zum Einlegen einer Nackenstütze
US5620229A (en) * 1996-04-10 1997-04-15 Ledford; Janet K. Combination carrying bag, cover and accessory storage for a portable folding lounge
US6971716B2 (en) * 2002-02-20 2005-12-06 Lear Corporation System for transporting vehicle seats and floor mats
DE102010024911A1 (de) * 2010-06-17 2011-12-22 Paul Hartmann Ag Wegwerfbare Behandlungsstuhlabdeckung im medizinischen Bereich
EP2399539A1 (de) * 2010-06-17 2011-12-28 Paul Hartmann AG Wegwerfbare Behandlungsstuhlabdeckung im medizinischen Bereich
DE202013000072U1 (de) * 2013-01-03 2013-11-29 Ingo Bauer Becherhalter für Stadionsitze in Sportstadien

Also Published As

Publication number Publication date
EP0260182A3 (de) 1989-03-08
FR2603471B1 (fr) 1988-11-04
FR2603471A1 (fr) 1988-03-11

Similar Documents

Publication Publication Date Title
FR2911425A1 (fr) Caisson d'affichage repliable
EP0260182A2 (de) Verfahren zur Herstellung eines Sesselschoners und Sesselschoner
FR2776972A1 (fr) Agencement de tablettes escamotables pour sieges d'automobile
FR3081398A1 (fr) Systeme coiffant pour element de siege de vehicule automobile et procede de fabrication d'un tel systeme coiffant
WO2001078040A1 (fr) Structure pliable de presentation d'informations
EP0597756B1 (de) Überzug und Verfahren zum Überziehen eines Kissens eines Fahrzeugsitzes
FR2639910A1 (fr) Recipient pliable
FR2699459A1 (fr) Ecran pare-soleil.
FR2680355A3 (en) Blank made of pre-cut material, for folding package
EP0727333A1 (de) Überzug für Sitze insbesondere für Nutzfahrzeuge
FR2526649A1 (fr) Canape transformable a structure repliable
FR3001373A1 (fr) Banquette pliable, matelas pour banquette pliable et procede de fabrication correspondant
BE729698A (de)
FR2687379A1 (fr) Emballage sous film retractable.
EP0167439A1 (de) Bettzeug
FR2828170A1 (fr) Flan en carton, ensemble comportant un tel flan et deux feuilles de plastique thermoretractables, emballage realise a partir d'un tel flan ou d'un tel ensemble et procede de fabrication d'un tel emballage
FR2798049A1 (fr) Siege obtenu par pliage de materiau
FR2623703A1 (fr) Housse amovible pour fauteuils de dimensions variables
EP0894643B1 (de) Geschweisster Zusammenbau mit einem nicht-schweissbaren Material
FR2818958A1 (fr) Etui de conditionnement preforme et flan pour son obtention
FR2781458A1 (fr) Boite pliable, flan predecoupe et procede de montage pour la realisation d'une telle boite
BE713887A (de)
FR2583719A1 (fr) Cadre de portance pour plateau alveole, flan propre a la realisation d'un tel cadre de portance, et emballage a plateau(x) alveole(s) le mettant en oeuvre, notamment pour le conditionnement de fruits
EP1750239A1 (de) Hülse zur Etikettierung oder Gruppierung, die insbesondere mindestens einen Körper mit mindestens zwei Doppelhülsen umfasst
EP1289393B1 (de) Faltbare struktur in form eines sitzes

Legal Events

Date Code Title Description
PUAI Public reference made under article 153(3) epc to a published international application that has entered the european phase

Free format text: ORIGINAL CODE: 0009012

AK Designated contracting states

Kind code of ref document: A2

Designated state(s): AT BE CH DE ES GB GR IT LI LU NL SE

PUAL Search report despatched

Free format text: ORIGINAL CODE: 0009013

AK Designated contracting states

Kind code of ref document: A3

Designated state(s): AT BE CH DE ES GB GR IT LI LU NL SE

17P Request for examination filed

Effective date: 19890913

17Q First examination report despatched

Effective date: 19901030

STAA Information on the status of an ep patent application or granted ep patent

Free format text: STATUS: THE APPLICATION HAS BEEN WITHDRAWN

18W Application withdrawn

Withdrawal date: 19910306