EP0244878A2 - Elektromagnetisch-hydraulischer Ventiltrieb für Verbrennungskraftmaschinen - Google Patents

Elektromagnetisch-hydraulischer Ventiltrieb für Verbrennungskraftmaschinen Download PDF

Info

Publication number
EP0244878A2
EP0244878A2 EP87107613A EP87107613A EP0244878A2 EP 0244878 A2 EP0244878 A2 EP 0244878A2 EP 87107613 A EP87107613 A EP 87107613A EP 87107613 A EP87107613 A EP 87107613A EP 0244878 A2 EP0244878 A2 EP 0244878A2
Authority
EP
European Patent Office
Prior art keywords
piston
electromagnet
valve
hydraulic cylinder
armature
Prior art date
Legal status (The legal status is an assumption and is not a legal conclusion. Google has not performed a legal analysis and makes no representation as to the accuracy of the status listed.)
Granted
Application number
EP87107613A
Other languages
English (en)
French (fr)
Other versions
EP0244878B1 (de
EP0244878A3 (en
Inventor
Gabriel Dipl.-Ing. Tittizer
Ewald Dipl.-Ing. Junghans
Current Assignee (The listed assignees may be inaccurate. Google has not performed a legal analysis and makes no representation or warranty as to the accuracy of the list.)
Interatom Internationale Atomreaktorbau GmbH
Original Assignee
Interatom Internationale Atomreaktorbau GmbH
Priority date (The priority date is an assumption and is not a legal conclusion. Google has not performed a legal analysis and makes no representation as to the accuracy of the date listed.)
Filing date
Publication date
Priority claimed from DE19853504639 external-priority patent/DE3504639A1/de
Application filed by Interatom Internationale Atomreaktorbau GmbH filed Critical Interatom Internationale Atomreaktorbau GmbH
Priority to AT87107613T priority Critical patent/ATE57989T1/de
Publication of EP0244878A2 publication Critical patent/EP0244878A2/de
Publication of EP0244878A3 publication Critical patent/EP0244878A3/de
Application granted granted Critical
Publication of EP0244878B1 publication Critical patent/EP0244878B1/de
Anticipated expiration legal-status Critical
Expired - Lifetime legal-status Critical Current

Links

Images

Classifications

    • FMECHANICAL ENGINEERING; LIGHTING; HEATING; WEAPONS; BLASTING
    • F15FLUID-PRESSURE ACTUATORS; HYDRAULICS OR PNEUMATICS IN GENERAL
    • F15BSYSTEMS ACTING BY MEANS OF FLUIDS IN GENERAL; FLUID-PRESSURE ACTUATORS, e.g. SERVOMOTORS; DETAILS OF FLUID-PRESSURE SYSTEMS, NOT OTHERWISE PROVIDED FOR
    • F15B7/00Systems in which the movement produced is definitely related to the output of a volumetric pump; Telemotors
    • F15B7/02Systems with continuously-operating input and output apparatus
    • FMECHANICAL ENGINEERING; LIGHTING; HEATING; WEAPONS; BLASTING
    • F01MACHINES OR ENGINES IN GENERAL; ENGINE PLANTS IN GENERAL; STEAM ENGINES
    • F01LCYCLICALLY OPERATING VALVES FOR MACHINES OR ENGINES
    • F01L1/00Valve-gear or valve arrangements, e.g. lift-valve gear
    • F01L1/02Valve drive
    • F01L1/04Valve drive by means of cams, camshafts, cam discs, eccentrics or the like
    • F01L1/047Camshafts
    • FMECHANICAL ENGINEERING; LIGHTING; HEATING; WEAPONS; BLASTING
    • F01MACHINES OR ENGINES IN GENERAL; ENGINE PLANTS IN GENERAL; STEAM ENGINES
    • F01LCYCLICALLY OPERATING VALVES FOR MACHINES OR ENGINES
    • F01L9/00Valve-gear or valve arrangements actuated non-mechanically
    • F01L9/10Valve-gear or valve arrangements actuated non-mechanically by fluid means, e.g. hydraulic
    • FMECHANICAL ENGINEERING; LIGHTING; HEATING; WEAPONS; BLASTING
    • F01MACHINES OR ENGINES IN GENERAL; ENGINE PLANTS IN GENERAL; STEAM ENGINES
    • F01LCYCLICALLY OPERATING VALVES FOR MACHINES OR ENGINES
    • F01L9/00Valve-gear or valve arrangements actuated non-mechanically
    • F01L9/20Valve-gear or valve arrangements actuated non-mechanically by electric means
    • FMECHANICAL ENGINEERING; LIGHTING; HEATING; WEAPONS; BLASTING
    • F01MACHINES OR ENGINES IN GENERAL; ENGINE PLANTS IN GENERAL; STEAM ENGINES
    • F01LCYCLICALLY OPERATING VALVES FOR MACHINES OR ENGINES
    • F01L2820/00Details on specific features characterising valve gear arrangements
    • F01L2820/03Auxiliary actuators
    • F01L2820/031Electromagnets
    • FMECHANICAL ENGINEERING; LIGHTING; HEATING; WEAPONS; BLASTING
    • F02COMBUSTION ENGINES; HOT-GAS OR COMBUSTION-PRODUCT ENGINE PLANTS
    • F02BINTERNAL-COMBUSTION PISTON ENGINES; COMBUSTION ENGINES IN GENERAL
    • F02B1/00Engines characterised by fuel-air mixture compression
    • F02B1/02Engines characterised by fuel-air mixture compression with positive ignition
    • F02B1/04Engines characterised by fuel-air mixture compression with positive ignition with fuel-air mixture admission into cylinder

Definitions

  • the present application relates to a valve train for internal combustion engines, i. H. for four-stroke gasoline or diesel engines according to the preamble of claim 1.
  • Such machines have at least 2 valves per cylinder, which according to the currently preferred technique are pressed into their closed position by spring force and thereby brought into their open position in that a force which counteracts and exceeds the spring force is applied to the valve stem; this in such a way that cams are mounted on an auxiliary shaft driven by the crankshaft at half the speed, which apply the required force to the valve tappets via rocker arms.
  • Electromagnetic valve trains are already known from DE-A-33 11 250 and 30 24 109.
  • an attempt is made to close the valve, which is designed as an armature of an electromagnet, over the selected displacement path (which can be a few mm, for example, in a motor vehicle engine of 100 KW) by means of Excitement to move the former.
  • This requires relatively large electromagnets, which are not only expensive, but also often difficult to accommodate in the immediate vicinity of the engine block.
  • the object of the present invention is to enable a greater valve lift while basically adhering to the conventional design of the aforementioned motors and at the same time to eliminate parts which are susceptible to wear. This is intended to achieve a more favorable control behavior of the valves.
  • the hydraulic power transmission 1 can translate the movement of the first piston in that the second piston has a noticeably smaller cross section than the first piston.
  • the former then follows the movement imposed by the latter with a stroke that is enlarged in relation to the cross-sectional areas when the overall system is closed.
  • the movement of the pistons in their cylinders is largely wear-free due to the lack of transverse forces that stress the sliding surfaces.
  • the armature of the proposed first electromagnet only needs to be informed of a very small displacement path in the order of magnitude of 1 to 1.5 mm, for which relatively low electromagnetic forces are sufficient. This slight movement is then increased by the hydraulic ratio to the desired valve lift.
  • the return of the armature to its initial position when the electromagnet is de-energized can be effected in a conventional manner by the force of a return spring.
  • this return spring can be dispensed with in an embodiment of the invention according to claim 2, or its strength can be reduced to the extent which is sufficient to compensate for mechanical play if a special electromagnet is present for each movement device of the primary piston, which is mutually excited with the other.
  • the differential piston arrangement has the effect that a displacement of one piston, no matter in which direction, always results in a corresponding displacement of the other piston.
  • a pot magnet appears to be particularly suitable for use in the construction described, as proposed in claim 3.
  • the second piston and the valve stem with the molded valve plate can be made in one piece, which also further reduces the possibility of play in the transmission.
  • FIG. 1 An embodiment of the invention is shown in the drawing, namely in the longitudinal axial section.
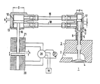
  • the figure partially shows the combustion chamber 1 of a cylinder of an internal combustion engine, to which a fuel-air mixture is supplied via an intake duct 2; an outlet valve can be designed in basically the same way.
  • the intake duct 2 is closed off from the combustion chamber 1 by a valve disk 4, which forms a unit with a tappet 5.
  • the valve 4 is loaded in the direction of its closed position by a helical spring 6, which is supported on an abutment 7.
  • the first piston 12 is made in one piece with an armature 19.
  • the armature 19 is in contact with a first electromagnet 20 or a second electromagnet 21, depending on the alternating excitation to be carried out.
  • the air gap s to the electromagnet removed in each case is only about 1 to 1.5 mm in size, so that relatively weak and thus small electromagnets can be used. This is particularly the case when, as shown here, it is not necessary to work against a strong return spring, but rather a spring 6 which presses the valve plate 4 into its closed position only serves to compensate for play and can be dimensioned correspondingly weak.
  • the excitation of the electromagnets 20, 21 takes place alternately by a control unit 26, in which not only the respective, for. B. on a crankshaft 27 decreased speed of the machine, but also other operating values that are detected by sensors 28 not described here. In this way, the valve closing times that correspond most precisely to the respective operating state can be controlled.

Landscapes

  • Engineering & Computer Science (AREA)
  • Mechanical Engineering (AREA)
  • General Engineering & Computer Science (AREA)
  • Physics & Mathematics (AREA)
  • Fluid Mechanics (AREA)
  • Valve Device For Special Equipments (AREA)

Abstract

Ein elektromagnetischer Ventiltrieb, der mit verhältnismäßig schwachem und leicht unterzubringendem Elektromagneten (20, 21) auskommt, da der Luftspalt s nur 1 bis 1,5 mm betragen muß. Die nur geringe Verschiebung des Ankers (19) wird über eine aus Primärzylinder (13), Primärkolben (12), Sekundärzylinder (16), Sekundärkolben (17) und diese verbindende Leitungen (15, 18) bestehende Übersetzung in den gewünschten Hub des Ventiltellers (4) umgesetzt. Hierzu ist der Durchmesser D des Primärkolbens (12) größer als derjenige d des Sekundärkolbens (17). Die Ventilschließzeiten, synchron zu den Umdrehungen der Kurbelwelle (27), können durch andere Betriebsparameter modifiziert werden, die mit Sensoren (28) aufgenommen und in einer Steuereinheit (26) mit verarbeitet werden.

Description

  • Die vorliegende Anmeldung betrifft einen Ventiltrieb für Verbrennungskraftmaschinen, d. h. für Viertakt-Otto- bzw. Dieselmotoren nach dem Oberbegriff des 1. Anspruchs. Derartige Maschinen weisen je Zylinder mindestens 2 Ventile auf, die nach der derzeitig bevorzugten Technik durch Federkraft in ihre Schließstellung gedrückt und dadurch in ihre Offenstellung gebracht werden, daß auf den Ventilschaft eine der Federkraft entgegenwirkende und diese übersteigende Kraft aufgebracht wird; dies in der Art, daß auf einer von der Kurbelwelle mit der halben Drehzahl angetriebenen Hilfswelle Nocken angebracht sind, die über Kipphebel die erforderliche Kraft auf die Ventilstößel aufbringen. Nocken und Kipphebel sind durch das Aneinanderabgleiten einem erheblichen Verschleiß ausgesetzt und der erreichbare Ventilhub ist dadurch begrenzt, daß die Flankensteigung der Nocken nicht beliebig groß gewählt werden kann, wenn die bei Zusammenwirken derselben mit den Kipphebeln aufzubringenden Kräfte nicht das zulässige Maß überschreiten sollen. Neuere Untersuchungen lassen vermuten, daß eine vollständigere Verbrennung im Zylinder und damit eine günstigere Treibstoffausnutzung und Herabsetzung der im Abgas abgegebenen Schadstoffe durch die Vergrößerung des Ventilhubs, durch ein schnelleres Öffnen und Schließen der Ventile und/oder dadurch erreichbar sein können, daß die starre Kupplung der Stellung der Ventile an diejenige des Kolbens bei allen Betriebszuständen gelockert wird. Eine solche nach Betriebs­zustand variable Ankoppelung erfolgt bereits bei der Betätigung der Zündung bei Otto-Motoren.
  • Elektromagnetische Ventiltriebe sind bereits bekannt, und zwar aus den DE-A-33 11 250 und 30 24 109. Hier wird versucht, das als Anker eines Elektromagneten ausgebildete Schließorgan des Ventils über den gewählten Verschiebeweg (der z. B. bei einem Kraftfahrzeugmotor von 100 KW einige mm betragen kann) durch das Erregen des ersteren zu bewegen. Dies erfordert verhältnis­mäßig große Elektromagneten, die nicht nur aufwendig, sondern auch oft in unmittelbarer Nähe des Motorblocks nur schwer unterzubringen sind.
  • Die vorliegende Erfindung hat die Aufgabe, bei grundsätzlichem Festhalten an der hergebrachten Bauweise der genannten Motoren einen größeren Ventilhub zu ermöglichen und gleichzeitig verschleißanfällige Teile zu eliminieren. Hierdurch soll ein günstigeres Steuerverhalten der Ventile erreicht werden.
  • Die Lösung dieser Aufgabe erfolgt durch die im kennzeichnenden Teil des 1. Anspruchs angegebenen Mittel. Dabei kann die hydraulische Kraftübertragung 1, die Bewegung des ersten Kolbens übersetzen, indem der zweite Kolben einen merklich geringeren Querschnitt aufweist als der erste Kolben. Ersterer folgt der durch letzteren aufgezwungenen Bewegung dann mit einem im Verhältnis der Querschnittsflächen vergrößerten Hub, wenn das Gesamtsystem geschlossen ist. Die Bewegung der Kolben in ihren Zylindern erfolgt wegen des Fehlens von die Gleitflächen beanspruchenden Querkräften weitgehend verschleißfrei.
  • Dem Anker des vorgeschlagenen ersten Elektromagneten braucht nur ein sehr geringer Verschiebeweg in der Größenordnung von 1 bis 1,5 mm mitgeteilt werden, wozu verhältnismäßig geringe elektromagnetische Kräfte ausreichen. Diese geringe Bewegung wird dann durch die hydraulische Übersetzung auf den gewünschten Ventilhub vergrößert. Die Rückkehr des Ankers in seine Ausgangsstellung bei entregtem Elektromagneten kann dabei in herkömmlicher Weise durch die Kraft einer Rückstellfeder bewirkt werden.
  • Jedoch kann auf diese Rückstellfeder bei einer Ausgestaltung der Erfindung gemäß dem 2. Anspruch verzichtet werden, bzw. kann ihre Stärke auf das Maß herabgesetzt werden, das ausreicht, um ein mechanisches Spiel auszugleichen, wenn für jede Bewegungseinrichtung des Primärkolbens ein besonderer Elektromagnet vorhanden ist, der wechselseitig mit dem anderen erregt wird. Die Differentialkolben-Anordnung bewirkt, daß eine Verschiebung des einen Kolbens, egal in welche Richtung, stets eine entsprechende Verschiebung des anderen Kolbens zur Folge hat.
  • Als besonders geeignet für den Einsatz in der beschriebenen Konstruktion erscheint, wie im 3. Anspruch vorgeschlagen, ein Topfmagnet. Gemäß der im 4. Anspruch vorgeschlagenen Ausge­staltung der Erfindung können der zweite Kolben und der Ventilschaft mit dem angeformten Ventilteller aus einem Stück hergestellt sein, wodurch auch die Möglichkeit des Spiels in der Übertragung weiter vermindert wird.
  • Ein Ausführungsbeispiel der Erfindung ist in der Zeichnung dargestellt, und zwar im Längsaxialschnitt. Die Figur zeigt teilweise den Brennraum 1 eines Zylinders einer Verbrennungskraftmaschine, dem über einen Ansaugkanal 2 ein Brennstoffluftgemisch zugeführt wird; ein Auslaßventil kann in prinzipiell gleicher Weise ausgeführt sein. Der Ansaugkanal 2 wird gegenüber dem Brennraum 1 abgeschlossen durch einen Ventilteller 4, der mit einem Stößel 5 eine Einheit bildet. Durch eine Schraubenfeder 6, die sich an einem Widerlager 7 abstützt, ist das Ventil 4 in Richtung seiner Schließstellung belastet.
  • Ein erster Hydraulikzylinder 13, in dem ein erster Kolben 12 gleitet, ist über zwei in Länge und Formgebung fast beliebig auszuführende Leitungen 15, 18 mit einem zweiten Hydraulikzylinder 16 verbunden, in dem ein zweiter Kolben 17 gleitet, der seinerseits auf den Ventilschaft 5 derart wirkt, daß jede Leitung jeweils auf einer Seite eines ersten bzw. zweiten Kolbens 12 bzw. 17 mündet. Ohne Rückholfeder folgt dann letzterer jeder Bewegung des ersteren. Da der von beiden Kolben 12, 17 bestrichene Hubraum gleich sein muß und der Durchmesser D des ersten Zylinders 13 größer bemessen ist als derjenige d des zweiten Zylinders 16, setzt sich die verhältnismäßig kleine hin- und hergehende Bewegung h des ersten Kolbens 12 in eine entsprechend größere Bewegung H des zweiten Kolbens 17 um. Die Größe des entsprechenden Hubs des Ventils 4 kann so über das mit Hilfe herkömmlicher Nockenwellen erzielbare Maß hinaus gesteigert werden.
  • Der erste Kolben 12 ist einstückig mit einem Anker 19 ausgeführt. Der Anker 19 liegt je nach deren wechselweise vorzunehmender Erregung an einem ersten Elektromagneten 20 oder an einem zweiten Elektromagneten 21 an. Dabei ist der Luftspalt s zum jeweils entfernten Elektromagneten nur etwa 1 bis 1,5 mm groß, so daß verhältnismäßig schwache und damit kleine Elektromagneten Verwendung finden können. Dies insbesondere dann, wenn wie hier dargestellt nicht gegen eine kräftige Rückholfeder gearbeitet werden muß, sondern eine den Ventilteller 4 in seine Schließstellung drückende Feder 6 lediglich zum Spielausgleich dient und entsprechend schwach dimensioniert werden kann. Die Erregung der Elektromagneten 20, 21 erfolgt abwechselnd durch eine Steuereinheit 26, in die nicht nur die jeweilige, z. B. an einer Kurbelwelle 27 abgenommene Drehzahl der Maschine, sondern auch andere Betriebswerte eingehen, die durch hier nicht näher beschriebene Sensoren 28 erfaßt werden. Hierdurch lassen sich die dem jeweiligen Betriebszustand am genauesten entsprechenden Ventilschließzeiten steuern.

Claims (4)

1. Elektromagnetischer Ventiltrieb für Verbrennungskraft­maschinen, gekennzeichnet durch die Kombination folgender Merkmale je Ventil:
a) einen in Abhängigkeit von den Betriebsparametern, insbesondere synchron zur Motordrehzahl erregbaren ersten Elektromagneten (20),
b) einen durch den ersten Elektromagneten (20) anziehbaren Anker (19), der mit einem ersten Kolben (12) verbunden ist, der in einem ersten Hydraulikzylinder (13) gleitet,
c) einen auf den Ventilschaft (5) wirkenden zweiten Kolben (17) mit gegenüber dem ersten Kolben verringertem Durchmesser (d/D), der in einem zweiten Hydraulikzylinder (16) gleitet, sowie eine den ersten und den zweiten Hydraulikzylinder miteinander verbindende Leitung (15).
2. Ventiltrieb nach Anspruch 1, gekennzeichnet durch
a) einen zweiten Elektromagneten (21), der zeitlich versetzt und räumlich entgegengesetzt zum ersten Elektromagneten (20) erregbar ist,
b) eine zweite den ersten (13) mit dem zweiten Hydraulik­zylinder (16) verbindende Leitung (18), die in bezug auf die erste Leitung (15) jeweils auf der entgegengesetzten Seite des Kolbens (12, 17) in den Zylinder mündet.
3. Ventiltrieb nach Anspruch 1 bzw. 2, dadurch gekennzeichnet, daß der erste oder zweite Elektromagnet (20, 21) ein Topfmagnet ist.
4. Ventiltrieb nach Anspruch 2, dadurch gekennzeichnet, daß der Ventilschaft (5) in den zweiten Kolben (17) integriert ist.
EP87107613A 1985-02-11 1986-01-30 Elektromagnetisch-hydraulischer Ventiltrieb für Verbrennungskraftmaschinen Expired - Lifetime EP0244878B1 (de)

Priority Applications (1)

Application Number Priority Date Filing Date Title
AT87107613T ATE57989T1 (de) 1985-02-11 1986-01-30 Elektromagnetisch-hydraulischer ventiltrieb fuer verbrennungskraftmaschinen.

Applications Claiming Priority (4)

Application Number Priority Date Filing Date Title
DE3504639 1985-02-11
DE19853504639 DE3504639A1 (de) 1985-02-11 1985-02-11 Hydraulische steuerung fuer ventile von verbrennungskraftmaschinen
DE3534388 1985-09-26
DE3534388 1985-09-26

Related Parent Applications (1)

Application Number Title Priority Date Filing Date
EP86101217.7 Division 1986-01-30

Publications (3)

Publication Number Publication Date
EP0244878A2 true EP0244878A2 (de) 1987-11-11
EP0244878A3 EP0244878A3 (en) 1987-12-23
EP0244878B1 EP0244878B1 (de) 1990-10-31

Family

ID=25829292

Family Applications (2)

Application Number Title Priority Date Filing Date
EP87107613A Expired - Lifetime EP0244878B1 (de) 1985-02-11 1986-01-30 Elektromagnetisch-hydraulischer Ventiltrieb für Verbrennungskraftmaschinen
EP86101217A Expired EP0191376B1 (de) 1985-02-11 1986-01-30 Ventiltrieb mit hydraulischer Übersetzung

Family Applications After (1)

Application Number Title Priority Date Filing Date
EP86101217A Expired EP0191376B1 (de) 1985-02-11 1986-01-30 Ventiltrieb mit hydraulischer Übersetzung

Country Status (4)

Country Link
EP (2) EP0244878B1 (de)
JP (1) JPS61187505A (de)
DE (2) DE3675387D1 (de)
ES (1) ES8702577A1 (de)

Cited By (8)

* Cited by examiner, † Cited by third party
Publication number Priority date Publication date Assignee Title
FR2638484A1 (fr) * 1988-10-28 1990-05-04 Daimler Benz Ag Dispositif d'actionnement, operant hydrauliquement, pour une soupape de lancement, notamment dans un moteur a combustion interne
EP0405187A1 (de) * 1989-06-27 1991-01-02 FEV Motorentechnik GmbH & Co. KG Elektromagnetisch arbeitende Stelleinrichtung
DE4004876A1 (de) * 1990-02-16 1991-09-26 Ulrich Karrer Elektrisch betaetigte ventilsteuerung fuer periodisch betriebene ventile fuer kraftmaschinen
WO1992000460A1 (de) * 1990-06-29 1992-01-09 Pi-Patente Gesellschaft Mit Beschränkter Haftung (Gmbh) Vorrichtung zum antrieb eines in axialer richtung hin- und herbewegbaren werkzeuges
DE19829857A1 (de) * 1998-07-05 2000-01-13 Bayerische Motoren Werke Ag Brennkraftmaschine mit einem pneumatischen und/oder hydraulischen Aktuator für ein Gaswechsel-Hubventil
EP1215369A3 (de) * 2000-12-12 2003-01-29 Jenbacher Aktiengesellschaft Vollvariabler hydraulischer Ventilantrieb
DE102004057574A1 (de) * 2004-11-30 2006-06-08 Luk Lamellen Und Kupplungsbau Beteiligungs Kg Variabler Ventiltrieb einer Brennkraftmaschine
WO2013000155A1 (zh) * 2011-06-30 2013-01-03 Lio Pang-Chian 液压远端传动控制装置

Families Citing this family (8)

* Cited by examiner, † Cited by third party
Publication number Priority date Publication date Assignee Title
SU1621816A3 (ru) * 1987-02-10 1991-01-15 Интератом Гмбх (Фирма) Гидравлическое устройство управлени клапанами двигател внутреннего сгорани
DE8717456U1 (de) * 1987-08-26 1988-12-29 INTERATOM GmbH, 5060 Bergisch Gladbach Rotationskolbenpumpe mit ungleichmäßiger Pumpleistung, insbesondere zur Ventilsteuerung von Verbrennungskraftmaschinen
DE19723924B4 (de) * 1997-06-06 2008-02-28 Hoffmann, Bernhard Elektrischer Linearmotor
DK176152B1 (da) * 2000-07-10 2006-10-16 Man B & W Diesel As Fremgangsmåde til aktivering af en udstödsventil til en forbrændingsmotor samt en sådan udstödsventil
DE102005017481B4 (de) 2005-04-15 2007-08-30 Compact Dynamics Gmbh Linearaktor
DE102005017482B4 (de) * 2005-04-15 2007-05-03 Compact Dynamics Gmbh Gaswechselventilaktor für einen ventilgesteuerten Verbrennungsmotor
CN105822377B (zh) * 2016-05-04 2018-05-18 哈尔滨工程大学 电磁控制增压式配气系统
CN106958470A (zh) * 2017-05-23 2017-07-18 海南大学 电磁液压配气机构

Citations (2)

* Cited by examiner, † Cited by third party
Publication number Priority date Publication date Assignee Title
DE3024109A1 (de) 1980-06-27 1982-01-21 Pischinger, Franz, Prof. Dipl.-Ing. Dr.Techn., 5100 Aachen Elektromagnetisch arbeitende stelleinrichtung
DE3311250A1 (de) 1983-03-28 1984-10-11 FEV Forschungsgesellschaft für Energietechnik und Verbrennungsmotoren mbH, 5100 Aachen Vorrichtung fuer elektromagnetisch arbeitende stelleinrichtungen

Family Cites Families (13)

* Cited by examiner, † Cited by third party
Publication number Priority date Publication date Assignee Title
FR471102A (fr) * 1913-10-02 1914-10-15 Ettore Bugatti Commande hydraulique de moteur avec piston de réglage formant compensateur
FR573596A (fr) * 1922-10-02 1924-06-26 Perfectionnements apportés à la commande de certains éléments, en mouvement périodique, de moteurs, notamment à celle d'éléments, tels que les soupapes, les organes d'injection et les dispositifs de graissage, dont le mouvement alterne avec des périodes de repos
DE467440C (de) * 1927-05-08 1928-10-25 Waggon Und Maschb Akt Ges Goer Druckfluessigkeitssteuerung fuer Ventile von Brennkraftmaschinen
FR932936A (fr) * 1946-07-31 1948-04-06 Perfectionnement aux commandes hydrauliques d'organes de moteurs et de machines diverses
FR941789A (fr) * 1947-01-16 1949-01-20 Dispositif de commande hydraulique de soupapes
US2635544A (en) * 1948-03-06 1953-04-21 Lossau Earl Hydraulic valve lifting mechanism
DE1002563B (de) * 1951-07-09 1957-02-14 Gerhard Schaller Hydraulischer Ventilantrieb fuer Brennkraftmaschinen
FR1380557A (fr) * 1963-10-02 1964-12-04 Glaenzer Spicer Sa Tourillon
DE2057639A1 (de) * 1969-12-05 1971-06-24 Inst Regelungstechnik Digitaler hydraulischer Stellantrieb
GB1591421A (en) * 1977-01-12 1981-06-24 Lucas Industries Ltd Valve operating mechanism
DE2907033A1 (de) * 1979-02-23 1980-09-04 Bosch Gmbh Robert Einrichtung zur betaetigung eines gaswechselventils bei brennkraftmaschinen
DE3046891A1 (de) * 1980-12-12 1982-07-15 Robert Bosch Gmbh, 7000 Stuttgart Elektromagnet
GB2122257B (en) * 1982-06-04 1986-04-16 Paul Julian Moloney Valve operating mechanism for internal combustion and like-valved engines

Patent Citations (2)

* Cited by examiner, † Cited by third party
Publication number Priority date Publication date Assignee Title
DE3024109A1 (de) 1980-06-27 1982-01-21 Pischinger, Franz, Prof. Dipl.-Ing. Dr.Techn., 5100 Aachen Elektromagnetisch arbeitende stelleinrichtung
DE3311250A1 (de) 1983-03-28 1984-10-11 FEV Forschungsgesellschaft für Energietechnik und Verbrennungsmotoren mbH, 5100 Aachen Vorrichtung fuer elektromagnetisch arbeitende stelleinrichtungen

Cited By (10)

* Cited by examiner, † Cited by third party
Publication number Priority date Publication date Assignee Title
FR2638484A1 (fr) * 1988-10-28 1990-05-04 Daimler Benz Ag Dispositif d'actionnement, operant hydrauliquement, pour une soupape de lancement, notamment dans un moteur a combustion interne
EP0405187A1 (de) * 1989-06-27 1991-01-02 FEV Motorentechnik GmbH & Co. KG Elektromagnetisch arbeitende Stelleinrichtung
DE3920931A1 (de) * 1989-06-27 1991-01-03 Fev Motorentech Gmbh & Co Kg Elektromagnetisch arbeitende stelleinrichtung
DE4004876A1 (de) * 1990-02-16 1991-09-26 Ulrich Karrer Elektrisch betaetigte ventilsteuerung fuer periodisch betriebene ventile fuer kraftmaschinen
WO1992000460A1 (de) * 1990-06-29 1992-01-09 Pi-Patente Gesellschaft Mit Beschränkter Haftung (Gmbh) Vorrichtung zum antrieb eines in axialer richtung hin- und herbewegbaren werkzeuges
US5337565A (en) * 1990-06-29 1994-08-16 Pi-Patent Gesellschaft Mit Beschraenkter Haftung (Gmbh) Device for driving a tool movable to and fro in axial direction
DE19829857A1 (de) * 1998-07-05 2000-01-13 Bayerische Motoren Werke Ag Brennkraftmaschine mit einem pneumatischen und/oder hydraulischen Aktuator für ein Gaswechsel-Hubventil
EP1215369A3 (de) * 2000-12-12 2003-01-29 Jenbacher Aktiengesellschaft Vollvariabler hydraulischer Ventilantrieb
DE102004057574A1 (de) * 2004-11-30 2006-06-08 Luk Lamellen Und Kupplungsbau Beteiligungs Kg Variabler Ventiltrieb einer Brennkraftmaschine
WO2013000155A1 (zh) * 2011-06-30 2013-01-03 Lio Pang-Chian 液压远端传动控制装置

Also Published As

Publication number Publication date
DE3660265D1 (en) 1988-07-07
ES551808A0 (es) 1986-12-16
EP0244878B1 (de) 1990-10-31
EP0191376A1 (de) 1986-08-20
EP0191376B1 (de) 1988-06-01
DE3675387D1 (de) 1990-12-06
JPS61187505A (ja) 1986-08-21
EP0244878A3 (en) 1987-12-23
ES8702577A1 (es) 1986-12-16

Similar Documents

Publication Publication Date Title
EP0244878B1 (de) Elektromagnetisch-hydraulischer Ventiltrieb für Verbrennungskraftmaschinen
DE69105721T3 (de) Ventilsteuervorrichtung.
DE68911484T2 (de) Ventilsteuerungsvorrichtung für Brennkraftmaschinen.
DE102010008959A1 (de) Verbrennungsmotor mit variablem Ventiltrieb
DE19712668C1 (de) Ventilantrieb für Gaswechselventile von Brennkraftmaschinen
DE3428627A1 (de) Viertakt-brennkraftmaschine
DE68904693T2 (de) Vorrichtung zum umschalten der betriebsart der ventile in einer brennkraftmaschine.
DE19815112A1 (de) Anordnung zur variablen Ventilzeitsteuerung und Ventilbetätigung
EP1561011A1 (de) Schwenkaktor-vorrichtung zur hubsteuerung eines gaswechselventils im zylinderkopf einer brennkraftmaschine
DE69303740T2 (de) Ventilantrieb für eine Brennkraftmaschine
DE69004806T2 (de) Nockenwelle für mehrventilbrennkraftmaschine.
DE19600536C2 (de) Vorrichtung zur variablen Steuerung eines Einlaßventils
DE60315923T2 (de) Eine Brennkraftmaschine mit zwei Einlassventilen für jeden Zylinder und einem elektronischen Regelsystem zum unterschiedlichen und wechselnden Bedienen der zwei Einlassventile
DE19540133C2 (de) Ventilstößel
EP1457645A1 (de) Ventiltrieb für einen Verbrennungsmotor
DE4332660A1 (de) Ventiltrieb mit schaltbaren, von zwei Nocken angetriebenen Tassenstößeln für Verbrennungsmotoren
DE4404683C1 (de) Verfahren zur Minimierung von Spiel in einem Ventiltrieb
DE19706769A1 (de) Steuervorrichtung für Motorzylinderventil
DE102020109260A1 (de) Ventilsteuerung für eine Ventilabschaltung und Ventilhubumschaltung
DE10248070B4 (de) Elektromagnetische Ventilbetätigung mit weichem Anschlag an den Ventilsitz
EP1421262B1 (de) Ventilmechanismus mit einem variablen ventilöffnungsquerschnitt
EP1375843B1 (de) Brennkraftmaschine mit innerer Verbrennung
DE3204841A1 (de) Hubkolben-brennkraftmaschine mit einer vorrichtung zur winkelverstellung der nockenwellen relativ zueinander
DE102004005588A1 (de) Schaltbare Nockenwelle zur Änderung der Nockenerhebungsdauer
DE4406008C2 (de) Brennkraftmaschine mit zumindest zwei Ein- oder Auslaß-Hubventilen und einer diesen zugeordneten Ventilsteuerung

Legal Events

Date Code Title Description
PUAI Public reference made under article 153(3) epc to a published international application that has entered the european phase

Free format text: ORIGINAL CODE: 0009012

PUAL Search report despatched

Free format text: ORIGINAL CODE: 0009013

AC Divisional application: reference to earlier application

Ref document number: 191376

Country of ref document: EP

AK Designated contracting states

Kind code of ref document: A2

Designated state(s): AT BE CH DE FR GB IT LI LU SE

AK Designated contracting states

Kind code of ref document: A3

Designated state(s): AT BE CH DE FR GB IT LI LU SE

17P Request for examination filed

Effective date: 19880125

17Q First examination report despatched

Effective date: 19890405

GRAA (expected) grant

Free format text: ORIGINAL CODE: 0009210

AC Divisional application: reference to earlier application

Ref document number: 191376

Country of ref document: EP

AK Designated contracting states

Kind code of ref document: B1

Designated state(s): AT BE CH DE FR GB IT LI LU SE

PG25 Lapsed in a contracting state [announced via postgrant information from national office to epo]

Ref country code: SE

Effective date: 19901031

Ref country code: BE

Effective date: 19901031

REF Corresponds to:

Ref document number: 57989

Country of ref document: AT

Date of ref document: 19901115

Kind code of ref document: T

REF Corresponds to:

Ref document number: 3675387

Country of ref document: DE

Date of ref document: 19901206

ET Fr: translation filed
PGFP Annual fee paid to national office [announced via postgrant information from national office to epo]

Ref country code: GB

Payment date: 19901217

Year of fee payment: 6

ITF It: translation for a ep patent filed
PGFP Annual fee paid to national office [announced via postgrant information from national office to epo]

Ref country code: FR

Payment date: 19910121

Year of fee payment: 6

GBT Gb: translation of ep patent filed (gb section 77(6)(a)/1977)
PG25 Lapsed in a contracting state [announced via postgrant information from national office to epo]

Ref country code: AT

Effective date: 19910130

ITTA It: last paid annual fee
PG25 Lapsed in a contracting state [announced via postgrant information from national office to epo]

Ref country code: LU

Free format text: LAPSE BECAUSE OF NON-PAYMENT OF DUE FEES

Effective date: 19910131

Ref country code: LI

Effective date: 19910131

Ref country code: CH

Effective date: 19910131

PGFP Annual fee paid to national office [announced via postgrant information from national office to epo]

Ref country code: DE

Payment date: 19910325

Year of fee payment: 6

PLBE No opposition filed within time limit

Free format text: ORIGINAL CODE: 0009261

STAA Information on the status of an ep patent application or granted ep patent

Free format text: STATUS: NO OPPOSITION FILED WITHIN TIME LIMIT

REG Reference to a national code

Ref country code: CH

Ref legal event code: PL

26N No opposition filed
PG25 Lapsed in a contracting state [announced via postgrant information from national office to epo]

Ref country code: GB

Effective date: 19920130

GBPC Gb: european patent ceased through non-payment of renewal fee
PG25 Lapsed in a contracting state [announced via postgrant information from national office to epo]

Ref country code: FR

Effective date: 19920930

PG25 Lapsed in a contracting state [announced via postgrant information from national office to epo]

Ref country code: DE

Effective date: 19921001

REG Reference to a national code

Ref country code: FR

Ref legal event code: ST

PG25 Lapsed in a contracting state [announced via postgrant information from national office to epo]

Ref country code: IT

Free format text: LAPSE BECAUSE OF NON-PAYMENT OF DUE FEES;WARNING: LAPSES OF ITALIAN PATENTS WITH EFFECTIVE DATE BEFORE 2007 MAY HAVE OCCURRED AT ANY TIME BEFORE 2007. THE CORRECT EFFECTIVE DATE MAY BE DIFFERENT FROM THE ONE RECORDED.

Effective date: 20050130