EP0243596B1 - Axialdrallregler für einen Abgasturbolader für Verbrennungsmotoren - Google Patents

Axialdrallregler für einen Abgasturbolader für Verbrennungsmotoren Download PDF

Info

Publication number
EP0243596B1
EP0243596B1 EP87102412A EP87102412A EP0243596B1 EP 0243596 B1 EP0243596 B1 EP 0243596B1 EP 87102412 A EP87102412 A EP 87102412A EP 87102412 A EP87102412 A EP 87102412A EP 0243596 B1 EP0243596 B1 EP 0243596B1
Authority
EP
European Patent Office
Prior art keywords
section
guide vanes
drag regulator
axial drag
regulator according
Prior art date
Legal status (The legal status is an assumption and is not a legal conclusion. Google has not performed a legal analysis and makes no representation as to the accuracy of the status listed.)
Expired - Lifetime
Application number
EP87102412A
Other languages
English (en)
French (fr)
Other versions
EP0243596A2 (de
EP0243596A3 (en
Inventor
Norbert Dr.-Ing Zloch
Christiane Römuss
Current Assignee (The listed assignees may be inaccurate. Google has not performed a legal analysis and makes no representation or warranty as to the accuracy of the list.)
Howden Turbo GmbH
Original Assignee
Siemens Turbomachinery Equipment GmbH
Kuehnle Kopp and Kausch AG
Priority date (The priority date is an assumption and is not a legal conclusion. Google has not performed a legal analysis and makes no representation as to the accuracy of the date listed.)
Filing date
Publication date
Application filed by Siemens Turbomachinery Equipment GmbH, Kuehnle Kopp and Kausch AG filed Critical Siemens Turbomachinery Equipment GmbH
Priority to AT87102412T priority Critical patent/ATE63980T1/de
Publication of EP0243596A2 publication Critical patent/EP0243596A2/de
Publication of EP0243596A3 publication Critical patent/EP0243596A3/de
Application granted granted Critical
Publication of EP0243596B1 publication Critical patent/EP0243596B1/de
Anticipated expiration legal-status Critical
Expired - Lifetime legal-status Critical Current

Links

Images

Classifications

    • FMECHANICAL ENGINEERING; LIGHTING; HEATING; WEAPONS; BLASTING
    • F04POSITIVE - DISPLACEMENT MACHINES FOR LIQUIDS; PUMPS FOR LIQUIDS OR ELASTIC FLUIDS
    • F04DNON-POSITIVE-DISPLACEMENT PUMPS
    • F04D29/00Details, component parts, or accessories
    • F04D29/40Casings; Connections of working fluid
    • F04D29/42Casings; Connections of working fluid for radial or helico-centrifugal pumps
    • F04D29/44Fluid-guiding means, e.g. diffusers
    • F04D29/46Fluid-guiding means, e.g. diffusers adjustable
    • F04D29/462Fluid-guiding means, e.g. diffusers adjustable especially adapted for elastic fluid pumps
    • FMECHANICAL ENGINEERING; LIGHTING; HEATING; WEAPONS; BLASTING
    • F04POSITIVE - DISPLACEMENT MACHINES FOR LIQUIDS; PUMPS FOR LIQUIDS OR ELASTIC FLUIDS
    • F04DNON-POSITIVE-DISPLACEMENT PUMPS
    • F04D29/00Details, component parts, or accessories
    • F04D29/40Casings; Connections of working fluid
    • F04D29/42Casings; Connections of working fluid for radial or helico-centrifugal pumps
    • F04D29/4206Casings; Connections of working fluid for radial or helico-centrifugal pumps especially adapted for elastic fluid pumps
    • F04D29/4213Casings; Connections of working fluid for radial or helico-centrifugal pumps especially adapted for elastic fluid pumps suction ports
    • FMECHANICAL ENGINEERING; LIGHTING; HEATING; WEAPONS; BLASTING
    • F05INDEXING SCHEMES RELATING TO ENGINES OR PUMPS IN VARIOUS SUBCLASSES OF CLASSES F01-F04
    • F05DINDEXING SCHEME FOR ASPECTS RELATING TO NON-POSITIVE-DISPLACEMENT MACHINES OR ENGINES, GAS-TURBINES OR JET-PROPULSION PLANTS
    • F05D2250/00Geometry
    • F05D2250/50Inlet or outlet
    • F05D2250/51Inlet

Definitions

  • the invention relates to an axial swirl controller for an exhaust gas turbocharger according to the preamble of claim 1.
  • Exhaust gas turbochargers are used in internal combustion engines to increase power and torque with low fuel consumption. Since turbochargers with a radial compressor are not able to cover the entire operating range of the internal combustion engines due to their pressure-volume characteristics, operating conditions can occur on the one hand at low engine speed and at full load, which are to the left of the pumping or tear-off limit of the compressor map and on the other hand, at high engine speeds and full load operation, they are to the right of the stuffing limit of the compressor map. For this reason, it is customary to design turbochargers in such a way that the pumping or tear-off limit is not exceeded to the left at low engine speeds and at part-load or full-load operation.
  • Bypass valves are known on the turbine side for controlling this operating behavior, e.g. through DE-A-14 26 076, with the help of which part of the exhaust gas flow can be passed around the turbine in order to avoid high boost pressures at full load and high speed. With this regulation, part of the exhaust gas energy is lost unused.
  • turbine-side regulations for turbochargers only affect the output or the torque. They are suitable for adapting the instantaneous power requirement of the compressor to the requirements within the limits given by the available exhaust gas quantity and exhaust gas temperature. They change the mass flow, but not the compressor map. As a result, it is quite possible that the compressor operating point may move out of the area of good efficiency or even get into the pumping area.
  • a compressor-side turbocharger control is also known from DE-A-14 26 076, wherein the volume flow can be reduced or even completely prevented by means of a throttle valve in the suction area. It may be desirable to prevent the volume flow in order to relieve the motor temporarily, e.g. When disengaging, ensure that the compressor no longer draws power and the turbocharger rotor does not drop too much in speed. With this compressor-side turbocharger control, however, it is not possible to change the usable map width.
  • the flow channel in which the guide vanes of the axial guide apparatus are arranged, consists of two cylindrical jacket sections with only slightly different diameters and an intermediate ball section, in which the ball radius is larger than the radius of the larger cylindrical jacket section, i.e. the flow channel experiences an increase in diameter in the area of the guide vanes.
  • This increase in diameter in the flow channel leads to a separation of the flow and to an increase in the vortex wake triggered by a speed jump on the guide vanes. Since the cylindrical casing section adjoining the spherical section on the compressor side has only an insignificantly smaller diameter than the first cylindrical casing section, rapid suppression of the disturbance of the flow before entering the compressor is not possible.
  • an axial swirl controller is known in which guide vanes are used, the axis of rotation of which runs through the axis of symmetry of the guide vane surface, the axes of rotation being arranged inclined such that the front edge of the opened guide vanes is approximately along the radius of the inlet-side flow channel runs.
  • the input-side flow channel is connected via a polygon housing to the output-side flow channel, the diameter of which is smaller than that of the input-side flow channel.
  • a gear box is arranged in the center of the flow channel, in which the front ends of the axes of rotation are connected to one another via a bevel gear, in order to ensure the same positioning for all guide vanes during the adjustment.
  • a radial compressor with an axial swirl regulator is known from DE-A-15 03 658, in which, after a conical inlet, the intake duct has a short cylinder section as seen in the flow direction, which section merges into a spherical section and a subsequent cylinder section with a smaller diameter.
  • the axes of rotation of the guide vanes, the edges of which follow the spherical channel contour, are mounted in the plane of the transition from the first cylinder section to the spherical section.
  • the invention has for its object to provide an axial swirl controller for a turbocharger, with which the sales area of the internal combustion engine is further expanded with the best efficiency and low fuel consumption can be.
  • these optimal operating ranges should be reached quickly and economically, which means that extreme operating states and their sudden changes can also be operated economically.
  • the usable control range must be so wide and the compressor map must be designed so that the respective operating point is in the range of the best efficiency and the surge limit does not affect the respective operating point due to the shifting of the characteristic field.
  • the measures of the invention ensure that behind the pivotable guide vanes, the two-cylindrical section adjoining the spherical section has a substantially smaller radius, and thus the reduction in the cross section of the flow channel produces an accelerated nozzle flow, as a result of which the guide vanes malfunction, and in particular those caused by the boundary layer effect Triggered dimples are quickly suppressed and a healthy, even inflow to the compressor impeller is guaranteed.
  • the surge limit is shifted so far to the left that the amount of charge air and the required charge air pressure, which are dependent on the engine load, the fuel requirement and the engine speed, are available even in extreme operating conditions and their sudden change , whereby the characteristic field is shifted so that the operating pressure is always to the right of the surge limit.
  • Another embodiment of the invention is the subject of a subclaim.
  • ratios of the diameters from the first cylinder section to the second cylinder section between 1.4 and 1.6 and preferably between 1.45 and 1.5 have proven to be particularly expedient, the measures of the invention also offering the possibility in the turbochargers used today in motor vehicle construction with very small compressor wheel diameters to ensure that optimal operating conditions are possible in the entire engine operating range.
  • the invention provides measures that the diffuser can be assembled so that a perfect setting without jamming is possible, and that the fixation takes place only afterwards by a force-fitting screw connection.
  • the shafts of the axes of rotation of the guide vanes are roller-mounted in the housing and carry the adjusting lever outside the housing, and that the guide vanes, the roller bearing and the adjusting lever are non-positively clamped.
  • the free end of the adjusting lever carries a ball pin which is guided in a groove in the adjusting ring which is parallel to the loader axis, the adjusting ring being mounted concentrically to the loader axis on the outer circumference of the housing on a cylindrical annular surface.
  • This bearing is preferably a needle bearing.
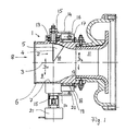
  • the axial swirl regulator 1 shown in FIG. 1 and mounted on the volute of the compressor of a turbocharger for internal combustion engines consists of a housing 6, in the interior of which the flow channel runs, in which a diffuser 2 with adjustable guide vanes 5 is arranged.
  • the flow channel has a first cylinder section 9, which extends in front of the guide device 2 and merges into a spherical section 10, the spherical radius of which is equal to the radius of the first cylindrical section 9. Closes the ball section 10 a second cylinder section 11, the diameter of which is substantially smaller than the first cylinder section 9 and into which the ball section merges with a part designed as a nozzle section 12.
  • the guide device 2 consists of a ring of guide vanes 5 which extend over the cross section of the flow channel and essentially have a circular section of such shape and division that the guide vanes 5 cover the cross section of the flow channel almost completely when the guide device 2 is completely closed. 1, only one guide vane 5 is shown.
  • the axis of rotation of the individual guide blades 5 runs in each case in the blade leading edge, so that the outwardly projecting shaft of the guide blades runs in the extension of the leading edge.
  • the spherical section 10 which, as already mentioned, has a spherical radius corresponding to the radius of the first cylindrical section 9.
  • the base of the guide vanes also runs in a circular arc with a radius that corresponds to the radius of the sphere, so that when the guide vanes are pivoted, there is a constant, uniform gap width for all angular positions and the rear edge of the guide vane follows the channel contour.
  • the shaft of the guide vanes 5 is mounted in the housing 6 with a roller bearing 13 and carries an adjusting lever 14 on the section located outside the housing 6, the free end of which is provided with a radially inwardly pointing ball pin 16.
  • the respective guide vane 5 and the associated roller bearing and the associated adjusting lever 14 are non-positively braced against one another with the aid of a screw nut 15.
  • the roller bearing 13 is fixed in a socket attached to the outside of the housing 6.
  • the housing is provided concentrically with the loader axis 3 with a cylindrical ring surface 19, on which an adjusting ring 18 is held and supported by means of a needle bearing 20.
  • the adjusting ring is provided on its outside with grooves 17 which run parallel to the loader axis and into which the ball pins 16 engage.
  • the guide vane ring can thus be adjusted in the desired manner via the adjustment lever 14 in order to influence the swirl of the flow. Because of the absolute dimensions due to the size of the turbocharger are relatively small and, as a result, the inevitable tolerances during assembly are relatively effective, the respective guide vane, the rolling bearing and the associated adjusting lever are first assembled without jamming or tensioning and the necessary adjustment positions are carried out before the screw nut 15 is tightened around the individual parts to be positively clamped in the precisely positioned position. When using a form-fitting bracing, exact positioning would be extremely difficult due to the inevitable manufacturing tolerances.
  • FIG. 2 shows a characteristic field in which the ratio of the outlet-side pressure to the inlet-side pressure is plotted against the inlet-side volume flow.
  • the diagram shows that with an angular adjustment of the guide vanes 5 with increasing angle a shift of the alga of the surge line shown in dash-dotted lines to the left can be achieved, the operating point characteristics being plotted for two peripheral speeds.
  • the solid curve family is assigned to the lower peripheral speed and the dashed family of curves to the higher peripheral speed.
  • the values of the volume flow plotted on the abscissa are relativized and plotted in percent, 100% being assigned to the volume flow occurring at the stuffing limit.

Landscapes

  • Engineering & Computer Science (AREA)
  • Mechanical Engineering (AREA)
  • General Engineering & Computer Science (AREA)
  • Supercharger (AREA)
  • Output Control And Ontrol Of Special Type Engine (AREA)
  • Control Of Turbines (AREA)

Description

  • Die Erfindung betrifft einen Axialdrallregler für einen Abgasturbolader nach dem Oberbegriff des Anspruchs 1.
  • Abgasturbolader finden bei Verbrennungsmotoren Verwendung, um Leistung und Drehmoment bei günstigem Kraftstoffverbrauch zu erhöhen. Da Turbolader mit einem Radialverdichter aufgrund ihrer Druck-Volumen-Charakteristik nicht in der Lage sind, den gesamten Betriebsbereich der Verbrennungsmotoren zu überdecken, können sich einerseits bei niederer Motordrehzahl und einem Vollastbetrieb Betriebszustände einstellen, die links von der Pump- bzw. Abreißgrenze des Verdichterkennfeldes und andererseits bei hohen Motordrehzahlen und Vollastbetrieb rechts von der Stopfgrenze des Verdichterkennfeldes liegen. Aus diesem Grund ist es üblich, Turbolader derart auszulegen, daß die Pump- bzw. Abreißgrenze bei niederen Motordrehzahlen sowie einem Teillast- bzw. Vollastbetrieb nicht nach links überschritten wird. Für die Regelung dieses Betriebsverhaltens sind auf der Turbinenseite Bypass-Ventile bekannt, z.B. durch die DE-A-14 26 076, mit deren Hilfe ein Teil des Abgasstromes um die Turbine herumgeführt werden kann, um bei Vollast und hoher Drehzahl hohe Ladedrücke zu vermeiden. Bei dieser Regelung geht ein Teil der Abgasenergie ungenutzt verloren.
  • Eine andere turbinenseitige Regelung wird durch einen verstellbaren Düsenkranz gemäß der DE-A-24 55 361 realisiert, wobei das Abgas besser ausgenutzt werden kann.
  • Generell aber beeinflussen turbinenseitige Regelungen für Turbolader nur die Leistung bzw. das Drehmoment. Sie sind geeignet, den augenblicklichen Leistungsbedarf des Verdichters innerhalb der durch die verfügbare Abgasmenge und Abgastemperatur gegebenen Grenzen den Erfordernissen anzupassen. Sie verändern dabei den Massenstrom, nicht jedoch das Verdichterkennfeld. Als Folge davon ist es durchaus möglich, daß der Verdichterbetriebspunkt aus dem Bereich guten Wirkungsgrades herauswandert oder gar in den Pumpbereich geraten kann.
  • Durch die DE-A-14 26 076 ist auch eine verdichterseitige Turboladerregelung bekannt, wobei mittels einer Drosselklappe im Saugbereich der Volumenstrom reduziert, ja sogar ganz unterbunden werden kann. Eine Unterbindung des Volumenstroms kann wünschenswert sein, um bei einer vorübergehenden Entlastung des Motors, z.B. beim Auskuppeln, dafür zu sorgen, daß der Verdichter keine Leistung mehr aufnimmt und der Turboladerrotor nicht zu stark in der Drehzahl absinkt. Mit dieser verdichterseitigen Turboladerregelung ist eine Veränderung der nutzbaren Kennfeldbreite jedoch nicht möglich.
  • Durch die DE-B-16 28 232 ist ein Axialdrallregler für Verdichter mit größeren Abmessungen bekannt, mit welchem eine Kennlinienverschiebung möglich ist. Bei diesem Axialdrallregler besteht der Strömungskanal, in welchem die Leitschaufeln des axialen Leitapparates angeordnet sind, aus zwei zylindrischen Mantelabschnitten mit nur geringfügig verschiedenen Durchmessern und einem dazwischen liegenden Kugelabschnitt, bei welchem der Kugelradius größer als der Radius des größeren zylindrischen Mantelabschnittes ist, d.h., der Strömungskanal erfährt im Bereich der Leitschaufeln eine Durchmesservergrößerung. Diese Durchmesservergrößerung im Strömungskanal führt zu einer Strömungsablösung und zu einer Vergrößerung der durch einen Geschwindigkeitssprung an den Leitschaufeln ausgelösten Wirbelschleppe. Da der verdichterseitig an den Kugelabschnitt anschließende zylindrische Mantelabschnitt einen nur unwesentlich kleineren Durchmesser als der erste zylindrische Mantelabschnitt hat, ist eine rasche Unterdrückung der Störung der Strömung vor dem Eintritt in den Verdichter nicht möglich.
  • Durch die US-A-1 978 128 ist ein Axialdrallregler bekannt, bei dem Leitschaufeln Verwendung finden, deren Drehachse durch die Symmetrieachse der Leitschaufelfläche verläuft, wobei die Drehachsen derart geneigt angeordnet sind, daß die Vorderkante der geöffneten Leitschaufeln etwa längs dem Radius des eingangsseitigen Strömungskanals verläuft. Der eingangsseitige Strömungskanal ist über ein Polygongehäuse mit dem ausgangsseitigen Strömungskanal verbunden, dessen Durchmesser kleiner als der des eingangsseitigen Strömungskanales ist. Im Zentrum des Strömungskanals ist ein Getriebekasten angeordnet, in dem die vorderen Enden der Drehachsen über ein Kegelgetriebe miteinander verbunden sind, um bei der Verstellung eine gleiche Positionierung für alle Leitschaufeln zu gewährleisten. Durch diesen Getriebekasten ergibt sich eine erhebliche Verwirbelung der Strömung, so daß eine gleichmäßige Anströmung über den gesamten Querschnitt im ausgangsseitigen Strömungskanal trotz der düsenförmigen Durchmesserverringerung im Bereich des Axialdrallreglers nicht mehr gewährleistet ist. Wenn außerdem ein solcher bekannter Axialdrallregler für Abgasturbolader Verwendung finden soll, ist wegen der kleinen Abmessungen der Abgasturbolader auch mit erheblichen mechanischen Schwierigkeiten zu rechnen.
  • Schließlich ist durch die DE-A-15 03 658 ein Radialverdichter mit einem Axialdrallregler bekannt, bei dem der Ansaugkanal nach einem konischen Einlauf in Strömungsrichtung gesehen einen kurzen Zylinderabsabschnitt aufweist, der in einen Kugelabschnitt und einen anschließenden Zylinderabschnitt mit kleinerem Durchmesser übergeht. In der Ebene des Überganges vom ersten Zylinderabschnitt zum Kugelabschnitt sind die Drehachsen der Leitschaufeln gelagert, deren Kanten der kugelförmigen Kanalkontur folgen. Da jedoch die Drehachsen der Leitschaufeln längs einem Radius verlaufen, der die Leitschaufeln im Verhältnis 1: 2 unterteilt, ergibt sich zwangsläufig, daß bei geöffneter Leitschaufel zwischen der kreisförmigen Kante und dem zylindrischen Mantel des ersten Zylinderabschnittes ein Freiraum entsteht, der zu einer Strömungsverwirbelung und damit zur Auslösung einer Wirbelschleppe an dem vorderen Teil der Kante der Leitschaufeln führt. Ferner befindet sich bei völlig geöffneten Leitschaufeln das hintere Ende der kreisförmigen Kante in der Eintrittsebene des zweiten Zylinderabschnittes, womit die in diesem Bereich in den zweiten Zylinderabschnitt eintretende Strömung keine weitere Beschleunigung erfährt, so daß die Wirbelschleppe und die Nachlaufstörungen in der Strömung weitergetragen werden.
  • Der Erfindung liegt die Aufgabe zugrunde, einen Axialdrallregler für einen Turbolader zu schaffen, mit dem der Vertriebsbereich des Verbrennungsmotors bei bestem Wirkungsgrad bzw. günstigem Kraftstoffverbrauch noch weiter erweitert werden kann. Insbesondere sollen bei jeder Motordrehzahl sowohl bei Vollast als auch bei Teillast diese optimalen Betriebsbereiche schnell und ökonomisch erreicht werden, das heißt, auch extreme Betriebszustände und deren plötzliche Anderungen wirtschaftlich gefahren werden können. Der nutzbare Regelbereich muß so breit und das Verdichterkennfeld so verschiebbar ausgelegt sein, daß der jeweilige Betriebspunkt im Bereich des besten Wirkungsgrades liegt und die Pumpgrenze durch die Verschiebung des Kennlinienfeldes den jeweiligen Betriebspunkt nicht tangiert.
  • Diese Aufgabe wird durch die die Erfindung im Anspruch 1 kennzeichnenden Merkmale gelöst.
  • Durch die Maßnahmen der Erfindung wird erreicht, daß hinter den schwenkbaren Leitschaufeln der an den Kugelabschnitt anschließende zweizylindrische Abschnitt einen wesentlich kleineren Radius hat und damit die Verkleinerung des Querschnitt des Strömungskanals eine beschleunigte Düsenströmung erzeugt, wodurch die Nachlaufstörungen der Leitschaufeln, und insbesondere die durch den Grenzschichteffekt ausgelösten Nachlaufdellen, rasch unterdrückt werden und eine gesunde, gleichmäßige Zuströmung zum Verdichterlaufrad gewährleistet wird.
  • Dadurch kann man erreichen, daß durch eine Verstellung der Leitschaufeln die Pumpgrenze so weit nach links verschoben wird, daß die in Abhängigkeit von der Motorbelastung, dem Kraftstoffbedarf und der Motordrehzahl erforderliche Ladeluftmenge und der erforderliche Ladeluftdruck auch bei extremen Betriebszuständen und deren plötzlichen Anderung zur Verfügung stehen, wobei das Kennlinienfeld so verschoben ist, daß der Betriebsdruck immer rechts von der Pumpgrenze liegt.
  • Eine weitere Ausgestaltung der Erfindung ist Gegenstand eines Unteranspruches.
  • Für die vorteilhafte Wirkung der Erfindung haben sich Verhältnisse der Durchmesser vom ersten Zylinderabschnitt zum zweiten Zylinderabschnitt zwischen 1,4 und 1,6 und vorzugsweise zwischen 1,45 und 1,5 als besonders zweckmäßig erwiesen, wobei die Maßnahmen der Erfindung die Möglichkeit bieten, auch bei den heutzutage im Kraftfahrzeugbau verwendeten Turboladern mit sehr kleinen Verdichterraddurchmessern dafür zu sorgen, daß optimale Betriebsbedingungen im gesamten Motorbetriebsbereich möglich sind.
  • Bei den geringen Abmessungen der für den Kraftfahrzeugbereich üblichen Turbolader _ wobei der erste zylindrische Mantelabschnitt bei Standardturboladern im Bereieh von 60 mm und kleiner liegen kann _ ist es besonders wichtig, dafür Sorge zu tragen, daß die unvermeidlichen Fertigungstoleranzen, die sich bei den kleinen absoluten Abmessungen beim Zusammenbau verhältnismäßig stark auswirken, die Funktionsweise nicht stören. Daher sieht die Erfindung Maßnahmen vor, daß der Leitapparat so zusammenbaubar ist, daß eine einwandfreie Einstellung ohne Klemmen möglich wird, und daß erst danach durch eine kraftschlüssige Verschraubung die Fixierung erfolgt. Zu diesem Zweck ist vorgesehen, daß die Wellen der Drehachsen der Leitschaufeln im Gehäuse wälzgelagert sind und außerhalb des Gehäuses die Verstellhebel tragen, und daß die Leitschaufeln, das Wälzlager und die Verstellhebel kraftschlüssig verspannt sind. Ferner ist vorgesehen, daß das freie Ende der Verstellhebel einen Kugelzapfen trägt, der in einer zur Laderachse parallelen Nut in dem Verstellring geführt ist, wobei der Verstellring konzentrisch zur Laderachse auf dem Außenumfang des Gehäuses auf einer zylindrischen Ringfläche gelagert ist. Dieses Lager ist vorzugsweise ein Nadellager.
  • Die Vorteile und Merkmale der Erfindung ergeben sich auch aus der nachfolgenden Beschreibung eines Ausführungsbeispieles in Verbindung mit den Ansprüchen und der Zeichnung. Es zeigen:
    • Fig. 1 einen Schnitt durch einen an einem Deckel eines Verdichtergehäuses montierten Axialdrallregler;
    • Fig. 2 ein Kennlinienfeld, aus welchem die Verschiebung der Pumpgrenze in Abhängigheit von der Schaufelstellung für zwei Umfangsgeschwindigkeiten dargestellt ist;
  • Der in Fig. 1 dargestellte und auf dem Spiralgehäuse des Verdichters eines Turboladers für Verbrennungsmotoren montierte Axialdrallregler 1 besteht aus einem Gehäuse 6, in dessen Innern der Strömungskanal verläuft, in welchem ein Leitapparat 2 mit verstellbaren Leitschaufeln 5 angeordnet ist. Der Strömungskanal hat einen ersten Zylinderabschnitt 9, der sich vor dem Leitapparat 2 erstreckt und in einen Kugelabschnitt 10 übergeht, dessen Kugelradius gleich dem Radius des ersten Zylinderabschnittes 9 ist. An den Kugelabschnitt 10 schließt ein zweiter Zylinderabschnitt 11 an, dessen Durchmesser wesentlich kleiner als der erste Zylinderabschnitt 9 ist und in welchen der Kugelabschnitt mit einem als Düsenabschnitt 12 ausgebildeten Teil übergeht. Ein Diffusorabschnitt, in welchem sich das Verdichterrad dreht, schließt an den zweiten Zylinderabschnitt 11 an.
  • Der Leitapparat 2 besteht aus einem Kranz von Leitschaufeln 5, welche sich über den Querschnitt des Strömungskanals erstrecken und im wesentlichen einen Kreisausschnitt von solcher Form und Teilung haben, daß die Leitschaufeln 5 bei völliger Schließung des Leitapparates 2 den Querschnitt des Strömungskanals fast ganz überdecken. In der Darstellung gemäß Fig. 1 ist lediglich eine Leitschaufel 5 dargestellt.
  • Die Drehachse der einzelnen Leitschaufeln 5 verläuft jeweils in der Schaufeleintrittskante, so daß die nach außen ragende Welle der Leitschaufeln in der Verlängerung der Eintrittskante verläuft. Im Bereich der Ebene der Drehachse beginnt der Kugelabschnitt 10, der _ wie bereits erwähnt _ einen dem Radius des ersten Zylinderabschnittes 9 entsprechenden Kugelradius hat. Die Basis der Leitschaufeln verläuft ebenfalls kreisbogenförmig mit einem Radius, der dem Kugelradius entspricht, so daß sich bei dem Verschwenken der Leitschaufeln eine gleichbleibende, gleichmäßige Spaltbreite für alle Winkelstellungen ergibt und die Hinterkante der Leitschaufel der Kanalkontur folgt. Die Welle der Leitschaufeln 5 ist im Gehäuse 6 mit einem Wälzlager 13 gelagert und trägt auf dem außerhalb des Gehäuses 6 befindlichen Abschnitt einen Verstellhebel 14, dessen freies Ende mit einem radial nach innen weisenden Kugelzapfen 16 versehen ist. Die jeweilige Leitschaufel 5 und das dazugehörige Wälzlager sowie der dazugehörige Verstellhebel 14 werden mit Hilfe einer Schraubenmutter 15 kraftschlüssig gegeneinander verspannt. Das Wälzlager 13 ist in einer auf der Außenseite des Gehäuses 6 angebrachten Buchse fixiert. Im Bereich neben der Buchse ist das Gehäuse konzentrisch zur Laderachse 3 mit einer zylindrischen Ringfläche 19 versehen, auf der ein Verstellring 18 mit Hilfe eines Nadellagers 20 gehaltert und gelagert ist. Der Verstellring ist auf seiner Außenseite mit zur Laderachse parallel verlaufenden Nuten 17 versehen, in welche die Kugelzapfen 16 eingreifen. Durch Drehen des Verstellringes kann somit über die Verstellhebel 14 der Leitschaufelkranz in der gewünschten Weise winkelverstellt werden, um den Drall der Strömung zu beeinflussen. Da die absoluten Abmessungen aufgrund der größe des Turboladers verhältnismäßig klein sind und infolgedessen die unvermeidlichen Toleranzen beim Zusammenbau verhältnismäßig stark wirksam sind, werden die jeweilige Leitschaufel, daß Wälzlager und der dazugehörige Verstellhebel zunächst ohne Verklemmen bzw. Verspannen zusammengebaut und die erforderlichen Verstellpositionierungen vorgenommen, bevor die Schraubmutter 15 angezogen wird, um die einzelnen Teile in der genau positionierten Lage kraflschlüssig zu verspannen. Bei der Verwendung einer formschlüssigen Verspannung wäre wegen der unvermeidlichen Fertigungstoleranzen eine genaue Positionierung äußerst schwierig.
  • Im Interesse einer optimalen Regelung auch bei extremen Betriebszuständen und deren plötzlichen Anderung muß dafür gesorgt werden, daß _ wie bereits erwähnt _ Nachlaufstörungen an den Leitschaufeln möglichst rasch unterdrückt und ausgeglichen werden. Dies geschieht durch die Beschleunigung der Strömung im Bereich des Düsenabschnittes 12, wobei durch die Verjüngung des Querschnittes die gewünschte Strömungsbeschleunigung erzielt wird. Als besonders vorteilhaft hat sich für die Verjüngung ein Durchmesserverhältnis D1/D2 von etwa 1,4 bis etwa 1,6 ergeben. Vorzugsweise liegt dieses Verhältnis zwischen 1,45 und 1,5, wobei die Anzahl der Leitschaufeln für Unterschiede in den Verhältniswerten ausschlaggebend sein kann. Es hat sich gezeigt, daß mit einem Leitapparat, bestehend aus 5 bis 14 Leitschaufeln die gewünschte Verschiebung des Kennlinienfeldes zur Optimierung des Motorberiebs auch bei extremen Betriebszuständen erzielbar ist.
  • Aus Fig. 2 geht ein Kennlinienfeld hervor, bei dem das Verhältnis des ausgansseitigen Druckes zum eingangsseitigen Druck über dem eingangsseitigen Volumenstrom aufgezeichnet ist. Das Diagramm läßt erkennen, daß sich bei einer Winkelverstellung der Leitschaufeln 5 mit zunehmendem Winkel eine Verschiebung der strichpunktiert dargestellten alge der Pumpgrenze nach links erzielen läßt, wobei die Betriebspunktkennlinien für zwei Umfangsgeschwindigkeiten eingezeichnet sind. Die ausgezogene Kurvenschar ist der niederen Umfangsgeschwindigkeit und die gestrichelte Kurvenschar der höheren Umfangsgeschwindigkeit zugeordnet. Die auf der Abszisse aufgetragenen Werte des Volumenstroms sind relativiert und in Prozent aufgetragen, wobei 100% dem an der Stopfgrenze auftretenden Volumenstrom zugeordnet ist.

Claims (8)

1. Axialdrallregler für einen Abgasturbolader für Verbrennungsmotoren mit Radialverdichter, bestehend aus einem axialen Leitapparat (2) mit einem Kranz sich radial zur Laderachse (3) erstreckende, um radial ausgerichtete Drehachsen (4) schwenkbaren Leitschaufeln (5), welche im wesentlichen aus Kreisausschnitten von solcher Form und Teilung bestehen, daß sie bei völliger Schließung des Leitapparates (2) den Querschnitt eines Strömungskanals fast ganz überdecken und in den Strömungskanal in einem Gehäuse (6) angeordnet sind, dessen innere Wand (7) in Strömungsrichtung (8) gesehen einen ersten Mantel eines Zylinderabschnittes (9), einen Mantel eines Kugelabschnittes (10) und einen zweiten Zylinderabschnitt (11) von kleinerem Radius umfaßt, wobei der Kugelradius des Kugelabschnittes (10) gleich dem Radius des ersten Zylinderabschnittes (9) ist und mit an den entlang der Drehachsen (4) nach außen ragenden Wellen der einseitig gelagerten Leitschaufeln (5) angeordneten Verstellhebeln (14), welche in einen das Gehäuse (6) konzentrisch umschließenden Verstellring (18) eingreifen, dadurch gekennzeichnet,
- daß der Kugelabschnitt (10) düsenförmig in den zweiten Zylinderabschnitt (11) übergeht
- daß die Drehachsen (4) der Leitschaufeln (5) jeweils in der Schaufeleintrittskante liegen
- und daß der Übergang des Gehäusemantels vom ersten Zylinderabschnitt (9) zum Kugelabschnitt (10) in der Ebene der Drehachsen (4) der Leitschaufeln (5) liegt.
2. Axialdrallregler nach Anspruch 1, dadurch gekennzeichnet,
_ daß das Verhältnis der Durchmesser vom ersten Zylinderabschnitt (9) zum zweiten Zylinderabschnitt (11) zwischen 1,4 und 1,6 und vorzugsweise zwischen 1,45 und 1,5 liegt.
3. Axialdrallregler nach den Ansprüchen 1 und 2, dadurch gekennzeichnet,
- daß die Wellen der Drehachsen der Leitschaufeln (5) im Gehäuse (6) wälzgelagert sind und außerhalb des Gehäuses die Verstellhebel (14) tragen,
- und daß die Leitschaufeln (5) das Wälzlager (13) und die Verstellhebel (14) durch eine Schraubmutter (15) kraftschlüssig verspannt sind.
4. Axialdrallregler nach Anspruch 3, dadurch gekennzeichnet, daß das freie Ende der Verstellhebel (14) einen Kugelzapfen (16) hat, der in einer zur Ladeachse parallelen Nut (17) in dem Verstellring (18) geführt ist.
5. Axialdrallregler nach Anspruch 4, dadurch gekennzeichnet, daß der Verstellring (18) auf einer konzentrisch zur Ladeachse (3) nut dem Außenumfang des Gehäuses befindlichen zylindrischen Ringfläche (19) gelagert ist.
6. Axialdrallregler nach Anspruch 5, dadurch gekennzeichnet, daß die Lagerung für den Verstellring (18) ein Nadelleger (20) ist.
7. Axialdrallregler nach Anspruch 1 bis 6, dadurch gekennzeichnet, daß die Leitschaufelverstellung Endbegrenzungen aufweist.
8. Axialdrallregler nach den Ansprüchen 1 bis 7, dadurch gekennzeichnet, daß das äußere Ende einer der Leitschaufelwellen ein Potentiometer (21) zum elektrischen Abgreifen der Schaufelanstellung trägt.
EP87102412A 1986-04-24 1987-02-20 Axialdrallregler für einen Abgasturbolader für Verbrennungsmotoren Expired - Lifetime EP0243596B1 (de)

Priority Applications (1)

Application Number Priority Date Filing Date Title
AT87102412T ATE63980T1 (de) 1986-04-24 1987-02-20 Axialdrallregler fuer einen abgasturbolader fuer verbrennungsmotoren.

Applications Claiming Priority (2)

Application Number Priority Date Filing Date Title
DE3613857 1986-04-24
DE19863613857 DE3613857A1 (de) 1986-04-24 1986-04-24 Axialdrallregler fuer einen abgasturbolader fuer verbrennungsmotoren

Publications (3)

Publication Number Publication Date
EP0243596A2 EP0243596A2 (de) 1987-11-04
EP0243596A3 EP0243596A3 (en) 1988-07-20
EP0243596B1 true EP0243596B1 (de) 1991-05-29

Family

ID=6299424

Family Applications (1)

Application Number Title Priority Date Filing Date
EP87102412A Expired - Lifetime EP0243596B1 (de) 1986-04-24 1987-02-20 Axialdrallregler für einen Abgasturbolader für Verbrennungsmotoren

Country Status (5)

Country Link
US (1) US4780055A (de)
EP (1) EP0243596B1 (de)
AT (1) ATE63980T1 (de)
DE (2) DE3613857A1 (de)
ES (1) ES2022821B3 (de)

Families Citing this family (24)

* Cited by examiner, † Cited by third party
Publication number Priority date Publication date Assignee Title
US5025629A (en) * 1989-03-20 1991-06-25 Woollenweber William E High pressure ratio turbocharger
DE4002548C3 (de) * 1990-01-29 1995-01-26 Kuehnle Kopp Kausch Ag Axialdrallregler für großvolumige Radialverdichter
DE4117025A1 (de) * 1991-05-24 1992-11-26 Halberg Maschbau Gmbh & Co Drallregler fuer kreiselpumpen
US6012897A (en) * 1997-06-23 2000-01-11 Carrier Corporation Free rotor stabilization
FR2849905B1 (fr) * 2003-01-15 2007-01-05 Renault Sa Dispositif d'alimentation en air du compresseur d'un moteur thermique suralimente
EP1574684A1 (de) * 2004-03-12 2005-09-14 ABB Turbo Systems AG Regelungssystem und Verfahren zum Betreiben eines Abgasturboladers
DE102004039299A1 (de) * 2004-08-13 2006-02-23 Fev Motorentechnik Gmbh Turboverdichter für eine Brennkraftmaschine
EP1632678A1 (de) 2004-09-01 2006-03-08 Ford Global Technologies, LLC, A subsidary of Ford Motor Company Drallgenerator in Bögen
DE102005017975A1 (de) * 2005-04-19 2006-11-02 Audi Ag Radialverdichteranordnung und Abgasturbolader mit einer Radialverdichteranordnung
DE102005019896B4 (de) * 2005-04-29 2013-07-11 Bayerische Motoren Werke Aktiengesellschaft Drallerzeugungseinrichtung
EP1719887A1 (de) * 2005-05-04 2006-11-08 ABB Turbo Systems AG Auflade-Regelung für Verbrennungsmotor
DE102005045194B4 (de) * 2005-09-21 2016-06-09 Fev Gmbh Leiteinrichtung für einen Turboverdichter einer Brennkraftmaschine
GB0716060D0 (en) * 2007-08-17 2007-09-26 Cummins Turbo Technologies An engine generator set
DE102008046220A1 (de) * 2008-09-08 2010-03-11 Bosch Mahle Turbo Systems Gmbh & Co. Kg Drallerzeugungseinrichtung
GB0821089D0 (en) * 2008-11-19 2008-12-24 Ford Global Tech Llc A method for improving the performance of a radial compressor
US20110088379A1 (en) * 2009-10-15 2011-04-21 General Electric Company Exhaust gas diffuser
US9249687B2 (en) 2010-10-27 2016-02-02 General Electric Company Turbine exhaust diffusion system and method
EP2780540B1 (de) * 2011-11-18 2017-09-06 Halliburton Energy Services, Inc. Autonomes fluidsteuerungssystem mit einer fluiddiode
DE102013018368B4 (de) 2013-11-02 2016-06-02 Iav Gmbh Ingenieurgesellschaft Auto Und Verkehr Verstellbare Drallerzeugungseinrichtung für Verdichter
DE102014212606B4 (de) * 2014-06-30 2020-12-17 Ford Global Technologies, Llc Kraftfahrzeug und Luftfilterbox
JP6001707B2 (ja) * 2015-02-25 2016-10-05 株式会社オティックス 過給機用のコンプレッサハウジング
US20170152860A1 (en) * 2015-11-30 2017-06-01 Borgwarner Inc. Compressor inlet guide vanes
DE102017222209A1 (de) * 2017-12-07 2019-06-13 MTU Aero Engines AG Leitschaufelanbindung sowie Strömungsmaschine
DE102018211091B4 (de) * 2018-07-05 2025-12-24 Volkswagen Aktiengesellschaft Verfahren zum Betreiben einer Brennkraftmaschine und Brennkraftmaschine

Family Cites Families (15)

* Cited by examiner, † Cited by third party
Publication number Priority date Publication date Assignee Title
US1978128A (en) * 1932-03-14 1934-10-23 Clarage Fan Company Vortex control
US2412365A (en) * 1943-10-26 1946-12-10 Wright Aeronautical Corp Variable turbine nozzle
US2606713A (en) * 1948-04-26 1952-08-12 Snecma Adjustable inlet device for compressors
GB755527A (en) * 1953-10-15 1956-08-22 Power Jets Res & Dev Ltd Mounting of swivelling guide vane elements in axial flow elastic fluid turbines
US2817475A (en) * 1954-01-22 1957-12-24 Trane Co Centrifugal compressor and method of controlling the same
US2827224A (en) * 1955-06-30 1958-03-18 Buffalo Forge Co Inlet vane actuating device
CH371857A (de) * 1959-10-20 1963-09-15 Bbc Brown Boveri & Cie Schaufelverstelleinrichtung an Turbomaschine
US3089679A (en) * 1960-06-06 1963-05-14 Chrysler Corp Gas turbine nozzle suspension and adjustment
US3096785A (en) * 1960-06-27 1963-07-09 Ingersoll Rand Co Pipe line pump
US3195805A (en) * 1961-10-25 1965-07-20 Garrett Corp Turbocharger differential pressure control
US3251539A (en) * 1963-05-15 1966-05-17 Westinghouse Electric Corp Centrifugal gas compressors
US3362625A (en) * 1966-09-06 1968-01-09 Carrier Corp Centrifugal gas compressor
JPS58167825A (ja) * 1982-03-29 1983-10-04 Hino Motors Ltd 車両用機関のタ−ボ過給装置
JPS58167824A (ja) * 1982-03-29 1983-10-04 Hino Motors Ltd 車両用機関のタ−ボ過給装置
JPS58185934A (ja) * 1982-04-24 1983-10-29 Hino Motors Ltd 車両用機関のタ−ボ過給装置

Also Published As

Publication number Publication date
US4780055A (en) 1988-10-25
ATE63980T1 (de) 1991-06-15
EP0243596A2 (de) 1987-11-04
DE3770327D1 (de) 1991-07-04
EP0243596A3 (en) 1988-07-20
DE3613857A1 (de) 1987-10-29
ES2022821B3 (es) 1991-12-16
DE3613857C2 (de) 1988-07-28

Similar Documents

Publication Publication Date Title
EP0243596B1 (de) Axialdrallregler für einen Abgasturbolader für Verbrennungsmotoren
EP1488084B1 (de) Variabler abgasturbolader
EP0093462B1 (de) Abgasturbolader mit verstellbarem Ringschieber
DE4242494C1 (en) Adjustable flow-guide for engine exhaust turbocharger - has axially-adjustable annular insert in sectors forming different kinds of guide grilles supplied simultaneously by spiral passages
DE102018221812B4 (de) Abgasturbine mit einer Abgasleiteinrichtung für einen Abgasturbolader und Abgasturbolader
DE112013005624T5 (de) Doppelschnecken-Halbaxial-Turbolader mit Einzelventil
DE112009004260T5 (de) Vereinfachter Turbolader mit veränderlicher Geometrie und Schaufelringen
DE3833906C2 (de)
EP3682115B1 (de) Verdichter für eine aufladevorrichtung einer brennkraftmaschine und aufladevorrichtung für eine brennkraftmaschine
WO2008125384A1 (de) Abgasturbolader
EP3542069B1 (de) Verdichter, abgasturbolader und brennkraftmaschine
EP0991856B1 (de) Brennkraftmaschinen - turbolader - system
DE102021122921A1 (de) Einlasssystem, beinhaltend einen turbolader mit geteiltem spiralgehäuse, der eine variable turbinengeometrie mit aerodynamischen abstandshaltern und einen leitschaufelkranz mit einer mehrzahl von drehbaren leitschaufeln aufweist
EP3682116A1 (de) Radialverdichter mit einem irisblendenmechanismus für eine aufladevorrichtung eines verbrennungsmotors, aufladevorrichtung und lamelle für den irisblendenmechanismus
EP0086466B1 (de) Durchflussregelung für den Spiralgehäuse-einlass einer Radialturbine
DE3105179A1 (de) "einen verdichter antreibender abgas-turbolader fuer eine mit veraenderlicher last und drehzahl betriebene brennkraftmaschine"
EP3056690B1 (de) Radialverdichter, abgasturbolader und entsprechendes verfahren zum betreiben eines radialverdichters
DE3528225A1 (de) Turbolader
DE102013007333A1 (de) Verdichter einer Ladeeinrichtung einer Brennkraftmaschine und Verfahren zum Betreiben eines Verdichters einer Ladeeinrichtung einer Brennkraftmaschine
DE102018212756B3 (de) Radialverdichter, Aufladevorrichtung und Brennkraftmaschine mit Abgasrückführeinrichtung
EP1201881B1 (de) Abgasturbolader
DE102014220680A1 (de) Brennkraftmaschine mit Mixed-Flow-Turbine umfassend eine Leiteinrichtung
DE2948089A1 (de) Turbolader fuer brennkraftmaschinen, insbesondere mehrflutiger abgasturbolader fuer motoren von kraftfahrzeugen
DE102017210168A1 (de) Turbine mit variablem Turbinenradauslass und Verdichter mit variablem Verdichtereinlass
DE10217470A1 (de) Abgasturbine

Legal Events

Date Code Title Description
PUAI Public reference made under article 153(3) epc to a published international application that has entered the european phase

Free format text: ORIGINAL CODE: 0009012

17P Request for examination filed

Effective date: 19870318

AK Designated contracting states

Kind code of ref document: A2

Designated state(s): AT CH DE ES FR GB IT LI

PUAL Search report despatched

Free format text: ORIGINAL CODE: 0009013

AK Designated contracting states

Kind code of ref document: A3

Designated state(s): AT CH DE ES FR GB IT LI

17Q First examination report despatched

Effective date: 19890913

GRAA (expected) grant

Free format text: ORIGINAL CODE: 0009210

AK Designated contracting states

Kind code of ref document: B1

Designated state(s): AT CH DE ES FR GB IT LI

REF Corresponds to:

Ref document number: 63980

Country of ref document: AT

Date of ref document: 19910615

Kind code of ref document: T

ET Fr: translation filed
GBT Gb: translation of ep patent filed (gb section 77(6)(a)/1977)
REF Corresponds to:

Ref document number: 3770327

Country of ref document: DE

Date of ref document: 19910704

ITF It: translation for a ep patent filed
PLBE No opposition filed within time limit

Free format text: ORIGINAL CODE: 0009261

STAA Information on the status of an ep patent application or granted ep patent

Free format text: STATUS: NO OPPOSITION FILED WITHIN TIME LIMIT

26N No opposition filed
PGFP Annual fee paid to national office [announced via postgrant information from national office to epo]

Ref country code: GB

Payment date: 19940131

Year of fee payment: 8

PGFP Annual fee paid to national office [announced via postgrant information from national office to epo]

Ref country code: FR

Payment date: 19940204

Year of fee payment: 8

PGFP Annual fee paid to national office [announced via postgrant information from national office to epo]

Ref country code: AT

Payment date: 19940211

Year of fee payment: 8

PGFP Annual fee paid to national office [announced via postgrant information from national office to epo]

Ref country code: ES

Payment date: 19940221

Year of fee payment: 8

PGFP Annual fee paid to national office [announced via postgrant information from national office to epo]

Ref country code: CH

Payment date: 19940311

Year of fee payment: 8

PG25 Lapsed in a contracting state [announced via postgrant information from national office to epo]

Ref country code: GB

Effective date: 19950220

Ref country code: AT

Effective date: 19950220

PG25 Lapsed in a contracting state [announced via postgrant information from national office to epo]

Ref country code: ES

Free format text: LAPSE BECAUSE OF NON-PAYMENT OF DUE FEES

Effective date: 19950221

PG25 Lapsed in a contracting state [announced via postgrant information from national office to epo]

Ref country code: LI

Effective date: 19950228

Ref country code: CH

Effective date: 19950228

GBPC Gb: european patent ceased through non-payment of renewal fee

Effective date: 19950220

PG25 Lapsed in a contracting state [announced via postgrant information from national office to epo]

Ref country code: FR

Effective date: 19951031

REG Reference to a national code

Ref country code: FR

Ref legal event code: ST

REG Reference to a national code

Ref country code: ES

Ref legal event code: FD2A

Effective date: 19990301

PGFP Annual fee paid to national office [announced via postgrant information from national office to epo]

Ref country code: DE

Payment date: 20040227

Year of fee payment: 18

PG25 Lapsed in a contracting state [announced via postgrant information from national office to epo]

Ref country code: IT

Free format text: LAPSE BECAUSE OF NON-PAYMENT OF DUE FEES

Effective date: 20050220

PG25 Lapsed in a contracting state [announced via postgrant information from national office to epo]

Ref country code: DE

Free format text: LAPSE BECAUSE OF NON-PAYMENT OF DUE FEES

Effective date: 20050901