EP0240786A1 - Christbaumständer mit Schubverstellung - Google Patents

Christbaumständer mit Schubverstellung Download PDF

Info

Publication number
EP0240786A1
EP0240786A1 EP87103904A EP87103904A EP0240786A1 EP 0240786 A1 EP0240786 A1 EP 0240786A1 EP 87103904 A EP87103904 A EP 87103904A EP 87103904 A EP87103904 A EP 87103904A EP 0240786 A1 EP0240786 A1 EP 0240786A1
Authority
EP
European Patent Office
Prior art keywords
tree
sleeve
foot
stand
foot cover
Prior art date
Legal status (The legal status is an assumption and is not a legal conclusion. Google has not performed a legal analysis and makes no representation as to the accuracy of the status listed.)
Granted
Application number
EP87103904A
Other languages
English (en)
French (fr)
Other versions
EP0240786B1 (de
Inventor
Karlheinz Meidel
Current Assignee (The listed assignees may be inaccurate. Google has not performed a legal analysis and makes no representation or warranty as to the accuracy of the list.)
Individual
Original Assignee
Individual
Priority date (The priority date is an assumption and is not a legal conclusion. Google has not performed a legal analysis and makes no representation as to the accuracy of the date listed.)
Filing date
Publication date
Family has litigation
First worldwide family litigation filed litigation Critical https://patents.darts-ip.com/?family=6297365&utm_source=google_patent&utm_medium=platform_link&utm_campaign=public_patent_search&patent=EP0240786(A1) "Global patent litigation dataset” by Darts-ip is licensed under a Creative Commons Attribution 4.0 International License.
Application filed by Individual filed Critical Individual
Priority to AT87103904T priority Critical patent/ATE57295T1/de
Publication of EP0240786A1 publication Critical patent/EP0240786A1/de
Application granted granted Critical
Publication of EP0240786B1 publication Critical patent/EP0240786B1/de
Anticipated expiration legal-status Critical
Expired - Lifetime legal-status Critical Current

Links

Images

Classifications

    • AHUMAN NECESSITIES
    • A47FURNITURE; DOMESTIC ARTICLES OR APPLIANCES; COFFEE MILLS; SPICE MILLS; SUCTION CLEANERS IN GENERAL
    • A47GHOUSEHOLD OR TABLE EQUIPMENT
    • A47G33/00Religious or ritual equipment in dwelling or for general use
    • A47G33/04Christmas trees 
    • A47G33/12Christmas tree stands
    • AHUMAN NECESSITIES
    • A47FURNITURE; DOMESTIC ARTICLES OR APPLIANCES; COFFEE MILLS; SPICE MILLS; SUCTION CLEANERS IN GENERAL
    • A47GHOUSEHOLD OR TABLE EQUIPMENT
    • A47G33/00Religious or ritual equipment in dwelling or for general use
    • A47G33/04Christmas trees 
    • A47G33/12Christmas tree stands
    • A47G2033/1286Christmas tree stands comprising watering means, e.g. a water reservoir

Definitions

  • the invention relates to a device for setting up, aligning and holding Christmas trees.
  • Tree stands are used to set up Christmas trees. Usually the tree trunk is pushed into the Christmas tree stand and fixed with screws at right angles to the tree axis in the stand. Tree stands are also known which allow the tree to be aligned via a ball joint, via clamp connections or via the adjustability of articulated foot supports.
  • the devices listed here allow the correct alignment of the tree only with difficulty.
  • the insertion of the tree into the stand and the attachment is often difficult and cumbersome.
  • Most of the work is done in a stooped position or lying on the floor and with the help of another person.
  • a Christmas tree stand is known (published application DE-OS 34 21 733), in which a fastening part screwed to the tree rests in an articulated socket and is frictionally clamped to the foot part via a tensioning band.
  • the strap is tightened using a screw.
  • the fastening part is also loosened using the screw. Accordingly, after inserting the fastening part into the socket of the foot part, cumbersome and cumbersome handling is required to align and fix the tree. Attention should also be drawn to the complex design of the device.
  • DE-GM 77 25 342 describes a tree stand in which the tree holder is articulated in a foot container and is aligned and fixed by means of adjusting screws.
  • the alignment of the tree is achieved by means of an opposing tension screw.
  • the invention has for its object to provide a tree stand that allows installation and correct alignment in simple and easy handling.
  • the sleeve which is connected to the tree trunk by means of a clamping screw connection and is inserted with the conically closed part, is fixed in the likewise conically shaped counterpart of the foot via a perforated plate.
  • the plate lies on the surface of the foot cover. It is under a preselected contact pressure and can be moved against the frictional engagement between the two surfaces. Only the force exerted by hand on the tree causes an adjustment of the perforated plate centrally surrounding the sleeve and thus fixes the desired position of the tree.
  • the foot of the tree stand is designed as a closed hollow body. It is filled with water in order to increase the stability of the device and to ensure that the tree is irrigated via inlet openings.
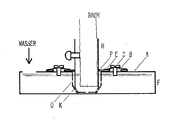
  • a perforated plate P pressed on by spring elements E.
  • the screws S which penetrate into the circumference of the foot cover A press the spring elements E against the perforated plate and foot cover A.
  • the centrally in the perforated plate P bores B are selected in diameter so that a sufficiently large displaceability of the perforated plate P on the foot cover A is ensured.
  • the sleeve H connected to the inserted tree trunk via a clamping screw is conical at the closed end. It is inserted through the perforated plate P into the conically shaped counterpart K. The sleeve H with the clamped tree is therefore opposite the foot F. fixed enough.
  • the perforated plate P comprising the shaft of the sleeve H is shifted on the foot cover A until the desired vertical position of the tree is reached.
  • inlet openings ⁇ are provided inside the foot container F and in the sleeve H.

Landscapes

  • Cultivation Receptacles Or Flower-Pots, Or Pots For Seedlings (AREA)
  • Mirrors, Picture Frames, Photograph Stands, And Related Fastening Devices (AREA)

Abstract

Der Christbaumständer nutzt die vorgewählte Reibungskraft zwischen einer zentrisch angeordneten Lochplatte (P) und der Oberfläche der Fußabdeckung (A), um allein durch Krafteinwirkung von Hand auf den Baum ein korrektes und müheloses Ausrichten zu erreichen. Die mit dem Stamm des Baumes über Klemmverschraubung verbundene Hülse (H) wird durch die Bohrung der Lochplatte (P), welche dem Schaft der Hülse (H) angepaßt ist, hindurchgeschoben und in ein Konusteil (K) des Fußes (F) eingesetzt. Durch Feder- oder Klemmkraft wird die die Hülse (H) bzw. den Baum ausrichtende Lochplatte (P) auf die Fußabdeckung (A) gepreßt.

Description

  • Die Erfindung bezieht sich auf eine Vorrichtung zum Aufstellen, Ausrichten und Festhalten von Weihnachts­bäumen.
  • Zum Aufstellen von Weihnachtsbäumen werden die verschieden­artigsten Baumständer verwendet. Meist wird der Baumstamm in den Christbaumständer eingeschoben und mit rechtwinklig zur Baumachse im Ständer befindlichen Schrauben fixiert. Es sind auch Baumständer bekannt, die über ein Kugelgelenk, über Klemmverbindungen oder über die Verstellbarkeit von angelenkten Fußabstützungen das Ausrichten des Baumes gestatten.
  • Die hier angeführten Vorrichtungen erlauben nur in beschwer­licher Weise das korrekte Ausrichten des Baumes. Auch ist das Einbringen des Baumes in den Ständer und die Befestigung oft schwierig und umständlich. Die Arbeiten sind meist in gebückter Haltung oder auf dem Fußboden liegend und unter Zuhilfenahme einer weiteren Person auszuführen.
  • Es ist ein Christbaumständer bekannt (Offenlegungsschrift DE-OS 34 21 733), bei dem ein mit dem Baum verschraubtes Befestigungsteil in einer Gelenkpfanne ruht und über ein Spannband mit dem Fußteil reibschlüssig verklemmt wird. Zur Fixierung des Befestigungsteiles wird das Spannband mittels einer Schraube angespannt. Ebenso wird das Befesti­gungsteil über die Schraube gelöst. Dementsprechend ist nach dem Einsetzen des Befestigungsteiles in die Gelenk­pfanne des Fußteiles eine umständliche und beschwerliche Handhabung zum Ausrichten und Feststellen des Baumes erfor­derlich. Hinzuweisen ist auch auf die aufwendige konstruk­tive Gestaltung der Vorrichtung.
  • Die DE-GM 77 25 342 beschreibt einen Baumständer, bei dem der Baumhalter in einen Fußbehälter gelenkig eingesetzt ist und mittels Einstellschrauben ausgerichtet und fixiert wird. In der US-Patentschrift 15 84 011 wird das Ausrichten des Baumes über eine gegenläufige Spannschraube erreicht.
  • Beide Vorrichtungen zeigen ebenfalls nicht die konstruktiven Merkmale, um die gewünschte Baumeinstellung in vorteilhafter Weise zu erreichen.
  • Demgegenüber liegt der Erfindung die Aufgabe zugrunde, einen Baumständer zur Verfügung zu stellen, der in einfacher und unbeschwerlicher Handhabung das Aufstellen und korrekte Ausrichten erlaubt.
  • Gemäß der Erfindung wird die über Klemmverschraubung mit dem Baumstamm verbundene und mit dem konusförmig abgeschlos­senen Teil in das ebenfalls konisch geformte Gegenstück des Fußes eingesetzte Hülse über eine Lochplatte fixiert. Die Platte liegt auf der Oberfläche der Fußabdeckung. Sie steht unter einem vorgewählten Anpreßdruck und kann gegen den Reibungsschluß zwischen den beiden Flächen verschoben werden. Allein die von Hand auf den Baum ausgeübte Krafteinwirkung bewirkt eine Verstellung der die Hülse zentrisch umfassenden Lochplatte und fixiert damit die gewünschte Stellung des Baumes. Der Fuß des Baumständers ist als geschlossener Hohl­körper ausgebildet. Er wird mit Wasser gefüllt, um so die Standfestigkeit des Gerätes zu erhöhen und die Bewässerung des Baumes über Zulauföffnungen zu gewährleisten.
  • Im folgenden wird die Erfindung anhand eines zeichnerisch dargestellten Ausführungsbeispieles näher erläutert.
  • Auf der Fußabdeckung A befindet sich eine mittels Federele­menten E aufgepreßte Lochplatte P. Diese umschließt zentrisch den Schaft der Hülse H. Die im Kreisumfang in die Fußab­deckung A eindringenden Schrauben S drücken die Federelemente E gegen die Lochplatte und Fußabdeckung A. Die zentrisch in in der Lochplatte P befindlichen Bohrungen B sind im Durch­messer so gewählt, daß eine genügend große Verschiebbarkeit der Lochplatte P auf der Fußabdeckung A gewährleistet ist. Die über eine Klemmschraube mit dem eingeschobenen Baumstamm verbundene Hülse H ist am geschlossenen Ende konisch ausge­führt. Sie wird durch die Lochplatte P in das ebenfalls konisch geformte Gegenstück K eingesetzt. Damit ist die Hülse H mit dem eingespannten Baum gegenüber dem Fuß F aus­ reichend fixiert. Durch Krafteinwirkung von Hand auf den Baum wird die den Schaft der Hülse H umfassende Lochplatte P auf der Fußabdeckung A soweit verschoben, bis die gewünschte vertikale Stellung des Baumes erreicht ist. Für die Bewäs­serung des Baumes sind Zulauföffnungen Ö innerhalb des Fuß­behälters F und in der Hülse H vorgesehen.

Claims (1)

  1. Christbaumständer zum Aufstellen und Ausrichten von Weihnachtsbäumen, dadurch gekennzeichnet, daß eine den Baumstamm umfassende, mit diesem über Klemmverschraubung verbundene, am geschlossenen Ende konusförmig ausgebildete und in ein konisch geformtes Gegenstück (K) des Fußes (F) einsetzbare Hülse (H) dadurch fixiert wird, daß eine durch Feder- oder Klemmwirkung auf die Fußabdeckung (A) gepreßte und horizontal verschiebbare Lochplatte (P) die Hülse (H) umschließt.
EP87103904A 1986-03-26 1987-03-17 Christbaumständer mit Schubverstellung Expired - Lifetime EP0240786B1 (de)

Priority Applications (1)

Application Number Priority Date Filing Date Title
AT87103904T ATE57295T1 (de) 1986-03-26 1987-03-17 Christbaumstaender mit schubverstellung.

Applications Claiming Priority (2)

Application Number Priority Date Filing Date Title
DE19863610282 DE3610282A1 (de) 1986-03-26 1986-03-26 Christbaumstaender
DE3610282 1986-03-26

Publications (2)

Publication Number Publication Date
EP0240786A1 true EP0240786A1 (de) 1987-10-14
EP0240786B1 EP0240786B1 (de) 1990-10-10

Family

ID=6297365

Family Applications (1)

Application Number Title Priority Date Filing Date
EP87103904A Expired - Lifetime EP0240786B1 (de) 1986-03-26 1987-03-17 Christbaumständer mit Schubverstellung

Country Status (3)

Country Link
EP (1) EP0240786B1 (de)
AT (1) ATE57295T1 (de)
DE (1) DE3610282A1 (de)

Cited By (5)

* Cited by examiner, † Cited by third party
Publication number Priority date Publication date Assignee Title
EP0850585A1 (de) 1996-12-19 1998-07-01 Société Crea Ständer für Christbaum oder Kunstbusch
EP0868877A1 (de) 1997-03-28 1998-10-07 Société Crea Dekorativer Ständer für Christbäume oder Kunstbüsche
GB2384697A (en) * 2002-01-26 2003-08-06 Joseph Noblett Tree stand providing fluid
US20160374495A1 (en) * 2011-12-01 2016-12-29 Patent Innovations Llc Christmas tree stand
US10182677B2 (en) 2016-07-24 2019-01-22 Patent Innovations Llc Christmas tree stand

Citations (5)

* Cited by examiner, † Cited by third party
Publication number Priority date Publication date Assignee Title
DE613012C (de) * 1934-02-13 1935-05-10 Paul H Mueller Dr Ing Christbaumstaender
US2931604A (en) * 1958-06-13 1960-04-05 Billy D Weddle Christmas tree holder
US3298643A (en) * 1965-04-08 1967-01-17 Albert J Taylor Tree stand
DE7725342U1 (de) * 1977-08-16 1977-12-01 Eisenwerk Roedinghausen Gmbh & Co Kg, 5750 Menden Baumstaender
DE2853148A1 (de) * 1978-12-08 1980-06-26 Heuermann Hans Ulrich Dipl Kfm Verfahren und vorrichtung zum befestigen eines weihnachtsbaumes

Family Cites Families (2)

* Cited by examiner, † Cited by third party
Publication number Priority date Publication date Assignee Title
US1584011A (en) * 1925-05-21 1926-05-11 Clifton Enoch Tree support
DE3421733C2 (de) * 1984-06-12 1987-02-19 Georg 5828 Ennepetal Langer Baumständer, insbesondere Weihnachtsbaumständer

Patent Citations (5)

* Cited by examiner, † Cited by third party
Publication number Priority date Publication date Assignee Title
DE613012C (de) * 1934-02-13 1935-05-10 Paul H Mueller Dr Ing Christbaumstaender
US2931604A (en) * 1958-06-13 1960-04-05 Billy D Weddle Christmas tree holder
US3298643A (en) * 1965-04-08 1967-01-17 Albert J Taylor Tree stand
DE7725342U1 (de) * 1977-08-16 1977-12-01 Eisenwerk Roedinghausen Gmbh & Co Kg, 5750 Menden Baumstaender
DE2853148A1 (de) * 1978-12-08 1980-06-26 Heuermann Hans Ulrich Dipl Kfm Verfahren und vorrichtung zum befestigen eines weihnachtsbaumes

Cited By (8)

* Cited by examiner, † Cited by third party
Publication number Priority date Publication date Assignee Title
EP0850585A1 (de) 1996-12-19 1998-07-01 Société Crea Ständer für Christbaum oder Kunstbusch
EP0868877A1 (de) 1997-03-28 1998-10-07 Société Crea Dekorativer Ständer für Christbäume oder Kunstbüsche
GB2384697A (en) * 2002-01-26 2003-08-06 Joseph Noblett Tree stand providing fluid
GB2384697B (en) * 2002-01-26 2005-10-05 Joseph Noblett Improvements in and relating to tree stands
US20160374495A1 (en) * 2011-12-01 2016-12-29 Patent Innovations Llc Christmas tree stand
US10575670B2 (en) * 2011-12-01 2020-03-03 Patent Innovations Llc Christmas tree stand
US10182677B2 (en) 2016-07-24 2019-01-22 Patent Innovations Llc Christmas tree stand
US10485369B2 (en) 2016-07-24 2019-11-26 Patent Innovations Llc Christmas tree stand

Also Published As

Publication number Publication date
DE3610282C2 (de) 1990-05-03
DE3610282A1 (de) 1987-10-01
ATE57295T1 (de) 1990-10-15
EP0240786B1 (de) 1990-10-10

Similar Documents

Publication Publication Date Title
EP0379655A3 (de) Verbindungsvorrichtung
EP0474976B1 (de) Polyermerisationseinrichtung
EP0240786B1 (de) Christbaumständer mit Schubverstellung
DE2630498A1 (de) Einstellbarer halter
EP0069060B1 (de) Stellfuss für geodätische Instrumente
DE9307092U1 (de) Spannsystem
DE2530776A1 (de) Schraubstock
DE8608342U1 (de) Christbaumständer
DE2611168A1 (de) Steckverbindung fuer zwei optische bauelemente
DE1814145A1 (de) Befestigung fuer Laeuferringe von Spinn- und Zwirnmaschinen
DE8802938U1 (de) Instrumentenhalterung für stereotaktische Gehirnoperationen
DE2721110A1 (de) Spannvorrichtung fuer auf einem maschinentisch o.dgl. aufzuspannende werkstuecke
DE1224443B (de) Artikulator
DE3703415A1 (de) Schraubstockartiges spanngeraet
DE8601325U1 (de) Christbaumständer
DE3625926A1 (de) Vorrichtung zum halten von zwei werkstuecken
DE934549C (de) Kopfstueck fuer Stative
DE3400748C2 (de) Gegen Umkippen gesicherter Weihnachtsbaumständer mit verstellbarem Aufnahmeteil
AT235661B (de) Vorrichtung zur Anbringung eines Verbindungsstückes an einer Werkstoffstange
CH167216A (de) Klemmstativ für photographische Apparate, Fernrohre und dergleichen Instrumente.
DE8703472U1 (de) Schraubbock zum Unterstützen, Spannen und Richten von Werkstücken
DE8236748U1 (de) Spannvorrichtung fuer weihnachtsbaumstaender
DE7913867U1 (de) Bestrahlungsgeraet
DE2534378A1 (de) Vorrichtung zum verspannen eines verschwenkbaren gipsmodell-traegers auf einer das motorgehaeuse einer saegemaschine tragenden grundplatte
DE806950C (de) Vorrichtung zum Aufhaengen von Zeichenmaschinen an Zeichenbrettern

Legal Events

Date Code Title Description
PUAI Public reference made under article 153(3) epc to a published international application that has entered the european phase

Free format text: ORIGINAL CODE: 0009012

AK Designated contracting states

Kind code of ref document: A1

Designated state(s): AT BE CH FR GB IT LI NL SE

17P Request for examination filed

Effective date: 19880408

17Q First examination report despatched

Effective date: 19890605

GRAA (expected) grant

Free format text: ORIGINAL CODE: 0009210

AK Designated contracting states

Kind code of ref document: B1

Designated state(s): AT BE CH FR GB IT LI NL SE

REF Corresponds to:

Ref document number: 57295

Country of ref document: AT

Date of ref document: 19901015

Kind code of ref document: T

ET Fr: translation filed
GBT Gb: translation of ep patent filed (gb section 77(6)(a)/1977)
ITF It: translation for a ep patent filed
PLBE No opposition filed within time limit

Free format text: ORIGINAL CODE: 0009261

STAA Information on the status of an ep patent application or granted ep patent

Free format text: STATUS: NO OPPOSITION FILED WITHIN TIME LIMIT

26N No opposition filed
ITTA It: last paid annual fee
PGFP Annual fee paid to national office [announced via postgrant information from national office to epo]

Ref country code: NL

Payment date: 19940331

Year of fee payment: 8

EAL Se: european patent in force in sweden

Ref document number: 87103904.6

PG25 Lapsed in a contracting state [announced via postgrant information from national office to epo]

Ref country code: NL

Effective date: 19951001

NLV4 Nl: lapsed or anulled due to non-payment of the annual fee

Effective date: 19951001

PGFP Annual fee paid to national office [announced via postgrant information from national office to epo]

Ref country code: AT

Payment date: 19960322

Year of fee payment: 10

PGFP Annual fee paid to national office [announced via postgrant information from national office to epo]

Ref country code: BE

Payment date: 19970217

Year of fee payment: 11

PG25 Lapsed in a contracting state [announced via postgrant information from national office to epo]

Ref country code: AT

Effective date: 19970317

PG25 Lapsed in a contracting state [announced via postgrant information from national office to epo]

Ref country code: BE

Free format text: LAPSE BECAUSE OF NON-PAYMENT OF DUE FEES

Effective date: 19980331

BERE Be: lapsed

Owner name: MEIDEL KARLHEINZ

Effective date: 19980331

PGFP Annual fee paid to national office [announced via postgrant information from national office to epo]

Ref country code: GB

Payment date: 19990223

Year of fee payment: 13

PGFP Annual fee paid to national office [announced via postgrant information from national office to epo]

Ref country code: SE

Payment date: 20000224

Year of fee payment: 14

Ref country code: CH

Payment date: 20000224

Year of fee payment: 14

PGFP Annual fee paid to national office [announced via postgrant information from national office to epo]

Ref country code: FR

Payment date: 20000225

Year of fee payment: 14

PG25 Lapsed in a contracting state [announced via postgrant information from national office to epo]

Ref country code: GB

Free format text: LAPSE BECAUSE OF NON-PAYMENT OF DUE FEES

Effective date: 20000317

GBPC Gb: european patent ceased through non-payment of renewal fee

Effective date: 20000317

PG25 Lapsed in a contracting state [announced via postgrant information from national office to epo]

Ref country code: SE

Free format text: LAPSE BECAUSE OF NON-PAYMENT OF DUE FEES

Effective date: 20010318

PG25 Lapsed in a contracting state [announced via postgrant information from national office to epo]

Ref country code: LI

Free format text: LAPSE BECAUSE OF NON-PAYMENT OF DUE FEES

Effective date: 20010331

Ref country code: CH

Free format text: LAPSE BECAUSE OF NON-PAYMENT OF DUE FEES

Effective date: 20010331

EUG Se: european patent has lapsed

Ref document number: 87103904.6

REG Reference to a national code

Ref country code: CH

Ref legal event code: PL

PG25 Lapsed in a contracting state [announced via postgrant information from national office to epo]

Ref country code: FR

Free format text: LAPSE BECAUSE OF NON-PAYMENT OF DUE FEES

Effective date: 20011130

REG Reference to a national code

Ref country code: FR

Ref legal event code: ST

PG25 Lapsed in a contracting state [announced via postgrant information from national office to epo]

Ref country code: IT

Free format text: LAPSE BECAUSE OF NON-PAYMENT OF DUE FEES;WARNING: LAPSES OF ITALIAN PATENTS WITH EFFECTIVE DATE BEFORE 2007 MAY HAVE OCCURRED AT ANY TIME BEFORE 2007. THE CORRECT EFFECTIVE DATE MAY BE DIFFERENT FROM THE ONE RECORDED.

Effective date: 20050317