EP0239013A2 - Webeschaft mit Schaftstäben aus einem Aluminiumprofil - Google Patents

Webeschaft mit Schaftstäben aus einem Aluminiumprofil Download PDF

Info

Publication number
EP0239013A2
EP0239013A2 EP87104061A EP87104061A EP0239013A2 EP 0239013 A2 EP0239013 A2 EP 0239013A2 EP 87104061 A EP87104061 A EP 87104061A EP 87104061 A EP87104061 A EP 87104061A EP 0239013 A2 EP0239013 A2 EP 0239013A2
Authority
EP
European Patent Office
Prior art keywords
shaft rod
shaft
heald frame
heald
projections
Prior art date
Legal status (The legal status is an assumption and is not a legal conclusion. Google has not performed a legal analysis and makes no representation as to the accuracy of the status listed.)
Granted
Application number
EP87104061A
Other languages
English (en)
French (fr)
Other versions
EP0239013B1 (de
EP0239013A3 (en
Inventor
Rudi Gaisser
Current Assignee (The listed assignees may be inaccurate. Google has not performed a legal analysis and makes no representation or warranty as to the accuracy of the list.)
C C Egelhaaf GmbH and Co Maschinenfabrik KG
Original Assignee
C C Egelhaaf GmbH and Co Maschinenfabrik KG
Priority date (The priority date is an assumption and is not a legal conclusion. Google has not performed a legal analysis and makes no representation as to the accuracy of the date listed.)
Filing date
Publication date
Application filed by C C Egelhaaf GmbH and Co Maschinenfabrik KG filed Critical C C Egelhaaf GmbH and Co Maschinenfabrik KG
Priority to AT87104061T priority Critical patent/ATE54684T1/de
Publication of EP0239013A2 publication Critical patent/EP0239013A2/de
Publication of EP0239013A3 publication Critical patent/EP0239013A3/de
Application granted granted Critical
Publication of EP0239013B1 publication Critical patent/EP0239013B1/de
Anticipated expiration legal-status Critical
Expired - Lifetime legal-status Critical Current

Links

Images

Classifications

    • DTEXTILES; PAPER
    • D03WEAVING
    • D03CSHEDDING MECHANISMS; PATTERN CARDS OR CHAINS; PUNCHING OF CARDS; DESIGNING PATTERNS
    • D03C9/00Healds; Heald frames
    • D03C9/06Heald frames
    • D03C9/0608Construction of frame parts
    • D03C9/0616Horizontal upper or lower rods
    • D03C9/0625Composition or used material
    • DTEXTILES; PAPER
    • D03WEAVING
    • D03CSHEDDING MECHANISMS; PATTERN CARDS OR CHAINS; PUNCHING OF CARDS; DESIGNING PATTERNS
    • D03C9/00Healds; Heald frames
    • D03C9/06Heald frames
    • D03C9/0666Connection of frame parts
    • D03C9/0675Corner connections between horizontal rods and side stays
    • DTEXTILES; PAPER
    • D03WEAVING
    • D03CSHEDDING MECHANISMS; PATTERN CARDS OR CHAINS; PUNCHING OF CARDS; DESIGNING PATTERNS
    • D03C9/00Healds; Heald frames
    • D03C9/06Heald frames
    • D03C9/0683Arrangements or means for the linking to the drive system

Definitions

  • the invention relates to a heald frame with shaft rods made of an aluminum profile and with side supports, wherein the side supports on the end faces of the shaft rod ends each engage with a projection in cavities of the aluminum profile and are anchored therein by means of screws.
  • the invention has for its object to form a heald frame with shaft rods made of an aluminum profile so that a secure connection of the side supports to the shaft rods and good power transmission from shaft drive to the shaft rods and the side supports is achieved.
  • the object is achieved with a heald frame of the type mentioned at the outset in that the projections of the side supports have the same thickness as the shaft rod at least in the area of the anchoring screws and protrude into matching end-side recesses in the shaft rod and in that the anchoring screw has its head on one each on the narrow side of a shaft rod, the cheeks are placed on the outside and the other end is screwed into the threaded bore of a jaw inserted into a cavity of the shaft rod profile.
  • the projections of the side supports can expediently rest at least approximately over their entire circumference on the edges of the matching end recess of the associated shaft rod end.
  • the connecting projections of the side supports are thicker than in conventional heald frames, so that they allow the formation of larger through-bores for stronger anchoring screws.
  • the projections are no longer on the side walls of the shaft rod hollow profile and on fastening jaws as before, but are supported by the system against the edges of the end recess formed in the shaft rod end over their entire circumference and thus tilt-proof on the shaft rod.
  • the jaws placed on the outside of the narrow side of the shaft rod allow a good distribution of the forces transmitted via an anchoring screw to the shaft rod.
  • the cheek placed on the outside can also be formed by a shaft drive piece, the anchoring screw also serving to fasten this shaft drive piece.
  • the anchoring screw also serving to fasten this shaft drive piece.
  • the tilt-proof fit of the projections of the sides & supports in the shaft rods can be increased by an extension of the projections, which has a smaller thickness than the shaft rod and fits into a cavity of the shaft rod 4 profiles. This extension creates additional force transmission surfaces on the inside of the shaft rod.
  • connection points of the side supports with the shaft rods of a heald frame designed according to the invention are explained in more detail with reference to the attached drawing.
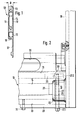
  • Fig. 1 shows a shaft rod 10 of a heald frame made of an extruded aluminum profile in cross section.
  • the shaft rod 10 has closed side walls 11 and 12, a closed upper narrow side 13 and two continuous cavities 14 and 15 on the inside. It has a maximum thickness B.
  • the one side wall 12 is extended beyond a lower narrow side 16 of the shaft rod 10 to a holding part 17 which, according to FIGS. 2 and 3, can have larger cutouts 36.
  • shaft rods 10 form the upper and lower frame legs of the heald frame in a known manner and are also connected to one another by suitably profiled but narrower side supports 18.
  • FIG. 2 shows the lower right corner and FIG. 3 the upper right corner of a heald frame, where a side support 18 is each connected to a shaft rod 10.
  • the side support 18 is provided at both ends with a solid web-like lateral projection 19 and 20, which has the same thickness B as the shaft rod 10.
  • Both projections 19 and 20 also have an extension 21 and 22, which has a smaller thickness , which corresponds to the clear width of the cavity 14 of the shaft rods 10.
  • 3 visible shaft rod 10 of the heald frame are provided with an end-side recess 23 and 24, which are exactly on the corners
  • Shape of the projections 19, 20 is adapted so that the projections 19 and 20 can be inserted without tilting into the recesses 23, 24 of the shaft rods 10 formed by milling, the extensions 21 and 22 being immersed in the adjoining cavity 14 of the shaft rods 10.
  • the projections 19 and 20 are thus supported almost over their entire circumference at the edges of the cutouts 23 and 24 and thus on the side walls 11 and 12 of the shaft rods 10.
  • the projection 20 (and in the same way also the lower projection 19 of the shaft rod 18) is provided with a through hole 25.
  • the through hole 25 serves to pass an anchoring screw 26 or 27.
  • the other end provided with a thread 27.2 of the anchoring screw 27 is screwed into a threaded bore of a second jaw 29, which is inserted into the cavity 15 of the shaft rod 10 and held there by means of a dowel pin 30 which is through a transverse bore in the jaw 29 and with it aligned holes in the side walls 11 and 12 of the shaft rod 10 protrudes.
  • the anchoring screw 26 serves at the same time for fastening a shaft drive piece 31 placed on the upper narrow side 13 of the shaft rod, on which the shaft drive device acts, but whose known structure is of no further interest.
  • the base 31.1 of this shaft drive piece 31 here forms the jaws, against which the head 26.1 of the anchoring screw 26 rests, the threaded other end 26.2 of which can be screwed into the threaded bore of a second jaw 32 which is inserted into the cavity 15 of the shaft rod.
  • the jaw 28 shown in FIG. 2 is additionally fastened by means of a second screw 33 which is directly in a 3 is anchored by means of a screw 34, which is anchored in a threaded hole of an additional jaw 35 inserted into the shaft rod.
  • the side supports 18 can be easily and quickly released from the shaft rods 10.
  • the jaws 29 and 32 serving to anchor the clamping screws 26 and 27 with their threaded bores are expediently made of steel. Anchoring of the screws in the relatively soft aluminum material of the shaft rods 10 is thus avoided.
  • the jaws are easy to replace if the threads of their holes are damaged.

Landscapes

  • Engineering & Computer Science (AREA)
  • Textile Engineering (AREA)
  • Looms (AREA)
  • Mutual Connection Of Rods And Tubes (AREA)
  • Heat Treatment Of Articles (AREA)
  • Shafts, Cranks, Connecting Bars, And Related Bearings (AREA)
  • Joining Of Building Structures In Genera (AREA)
  • Superconductors And Manufacturing Methods Therefor (AREA)
  • Woven Fabrics (AREA)
  • Tents Or Canopies (AREA)
  • Forging (AREA)

Abstract

Mit dem Webeschaft ist an den Verbindungsstellen der Seitenstützen (18) mit den Schaftstäben (10) die Seitenstütze (18) mit einem Vorsprung (20) versehen, der die gleiche Dicke wie der Schaftstab (10) hat und in eine passende stirnseitige Ausnehmung (24) des Schaftstabes (10) ragt. An der Verbindungsstelle ist eine Verankerungsschraube (26) vorgesehen, die durch eine Längsbohrung (25) des Vorsprunges (20) hindurchgeführt ist, mit einem Gewindeende in einem in einen Hohlraum (15) des Webeschaftes (10) eingeschobenen Backen (32) verankert ist und mit ihrem Kopf (26.1) an einem gegen die Außenseite (13) des Webeschaftes (10) anliegenden Backen abgestützt ist, der durch ein Schaftantriebsstück (31) des Webeschaftes gebildet sein kann.

Description

  • Die Erfindung betrifft einen Webeschaft mit Schaftstäben aus einem Aluminiumprofil und mit Seitenstützen, wobei die Seitenstützen an den Stirnseiten der Schaftstabenden jeweils mit einem Vorsprung in Hohlräume des Aluminiumprofils eingreifen und darin mittels Schrauben verankert sind.
  • Bei dem Bestreben, Webmaschinen zur Erhöhung der Produktiv vität mit höheren Betriebsgeschwindigkeiten zu betreiben, hat sich unter anderem das Problem ergeben, daß die Webeschäfte herkömmlicher Bauart in ihrer Stabilität nicht mehr ausreichen, um die erhöhte Schwingungsbelastung und den rascheren Bewegungswechsel zu verkraften. Dies gilt insbesondere für Webeschäfte mit aus einem Aluminiumprofil gefertigten Schaftstäben. Es ist zwar grundsätzlich bekannt, bei der Verbindung von Seitenstützen mit hohlen Schaftstäben die Seitenstützen mit einem Vorsprung zu versehen, der in das Hohlprofil des Webeschaftes eintaucht und innerhalb des Hohlprofiles mittels einer Spannbacken und den Vorsprung durchdringenden Schraube einzuspannen und formschlüssig zu halten. Eine solche Verbindung ist aber nicht ausreichend, weil hier nur schwache Verankerungsschrauben verwendet werden können und der Formschluß der Seitenstützen mit den Schaftstabenden zu gering ist, um den erhöhten Belastungen standzuhalten.
  • Der Erfindung liegt die Aufgabe zugrunde, einen Webeschaft mit Schaftstäben aus einem Aluminiumprofil so auszubilden, daß eine sichere Verbindung der Seitenstützen mit den Schaftstäben und eine gute Kraftübertragung von Schaftantrieb auf die Schaftstäbe und die Seitenstützen erreicht wird.
  • Die gestellte Aufgabe wird mit einem Webeschaft der eingangs genannten Art erfindungsgemäß dadurch gelöst, daß die Vorsprünge der Seitenstützen mindestens im Bereich der Verankerungsschrauben die gleiche Dicke wie der Schaftstab haben und in passende stirnseitige Ausnehmungen des Schaftstabes ragen und daß die Verankerungsschraube mit ihrem Kopf jeweils auf einem auf der Schmalseite eines Schaftstabes außen aufgesetzten Backen aufliegt und mit ihrem anderen Ende jeweils in die Gewindebohrung eines in einen Hohlraum des Schaftstabprofiles eingesetzten Backens eingeschraubt ist. Hierbei können die Vorsprünge der Seitenstützen zweckmäßig jeweils mindestens annähernd über ihren ganzen Umfang an den Rändern der passenden stirnseitigen Ausnehmung des zugeordneten Schaftstabendes anliegen.
  • Bei einem erfindungsgemäß ausgebildeten Webeschaft sind die Verbindungsvorsprünge der Seitenstützen dicker als bei herkömmlichen Webeschäften, so daß sie die Ausbildung von größeren Durchgangsbohrungen für stärkere Verankerungsschrauben erlauben. Die Vorsprünge liegen nicht mehr wie bisher nur an Seitenwandungen des Schaftstab-Hohlprofiles und an Befestigungsbacken an, sondern sind durch die Anlage gegen die Ränder der im Schaftstabende ausgebildeten stirnseitigen Ausnehmung über ihren ganzen Umfang und damit verkantungssicher am Schaftstab abgestützt. Der auf die Schmalseite des Schaftstabes außen aufgesetzte Backen erlaubt eine gute Verteilung der über eine Verankerungsschraube übertragenen Kräfte auf den Schaftstab.
  • Der außen aufgesetzte Backen kann erfindungsgemäß auch durch ein Schaftantriebsstück gebildet sein, wobei die Verankerungsschraube gleichzeitig zur Befestigung dieses Schaftantriebsstückes dient. Bei dieser Ausführungsform wird über die Verankerungsschraube eine unmittelbare Verteilung der vom Schaftantriebsstück ausgehenden Belastungskräfte auf den Schaftstab und auf die angrenzende Seitenstütze erreicht.
  • Der verkantungssichere Sitz der Vorsprünge der Seiten& stützen in den Schaftstäben kann noch durch einen Fortsatz der Vorsprünge erhöht werden, der eine geringere Dicke als der Schaftstab hat und in einen Hohlraum des Schaftstab4 profiles paßt. Durch diesen Fortsatz werden noch zusätzliche Kraftübertragungsflächen an den Innenseiten des Schaftstabes geschaffen.
  • Nachfolgend werden Ausführungsbeispiele von Verbindungsstellen der Seitenstützen mit den Schaftstäben eines erfindungsgemäß ausgebildeten Webeschaftes anhand der beiliegenden Zeichnung näher erläutert.
  • Im einzelnen zeigen:
    • Fig. 1 einen Querschnitt durch einen profilierten Aluminiumschaftstab eines Webeschaftes;
    • Fig. 2 eine Darstellung der rechten unteren Ecke eines rechteckigen Webeschaftes mit der Verbindungsstelle der Seitenstütze mit dem Schaftstabende;
    • Fig. 3 eine Darstellung der rechten oberen Ecke des Webeschaftes mit der dortigen Verbindungsstelle der Seitenstütze mit dem Schaftstabende;
    • Fig. 4 eine Einzeldarstellung des Endbereiches der in Fig. 3 verwendeten Seitenstütze;
    • Fig. 5 einen Querschnitt durch die Verbindungsstelle von Seitenstütze und Schaftstab entlang der Linie V - V in Fig. 3 in gegenüber Fig. 3 verdoppeltem Maßstab.
  • Fig. 1 zeigt einen aus einem Aluminium-Strangpreßprofil hergestellten Schaftstab 10 eines Webeschaftes im Querschnitt. Der Schaftstab 10 weist geschlossene Seitenwandungen 11 und 12, eine geschlossene obere Schmalseite 13 und im Innern zwei durchgehende Hohlräume 14 und 15 auf. Er hat eine maximale Dicke B. Die eine Seitenwandung 12 ist über eine untere Schmalseite 16 des Schaftstabes 10 hinaus zu einem Halteteil 17 verlängert, der gemäß Fig. 2 und 3 größere Aussparungen 36 aufweisen kann.
  • Bei den rechteckigen Webeschäften bilden Schaftstäbe 10 in bekannter Weise den oberen und den unteren Rahmenschenkel des Webeschaftes und sind durch zweckmäßig ebenfalls pro4 filierte, aber schmälere Seitenstützen 18 miteinander verbunden. Fig. 2 zeigt die rechte untere und Fig. 3 die rechte obere Ecke eines Webeschaftes, wo eine Seitenstütze 18 jeweils mit einem Schaftstab 10 verbunden ist. Die Seitenstütze 18 ist an ihren beiden Enden mit einem massiven stegartigen seitlichen Vorsprung 19 und 20 versehen, der die gleiche Dicke B wie der Schaftstab 10 aufweist..Beide Vorsprünge 19 und 20 weisen noch einen Fortsatz 21 und 22 auf, der eine kleinere Dicke hat, die der lichten Weite des Hohlraumes 14 der Schaftstäbe 10 entspricht. Zur Aufnahme der Vorsprünge 19 und 20 sind sowohl der untere, aus Fig. 2 ersichtliche, als auch der obere, aus Fig. 3 erL sichtliche Schaftstab 10 des Webeschaftes mit einer stirnseitigen Ausnehmung 23 und 24 versehen, die bis auf die Ecken genau an die Form der Vorsprünge 19, 20 angepaßt ist, so daß sich die Vorsprünge 19 und 20 verkantungsfrei in die durch Ausfräsen gebildeten Ausnehmungen 23, 24 der Schaftstäbe 10 einstecken lassen, wobei die Fortsätze 21 und 22 in den anschließenden Hohlraum 14 der Schaftstäbe 10 eintauchen. Die Vorsprünge 19 und 20 stützen sich also nahezu über ihren ganzen Umfang an den Rändern der Ausfräsungen 23 und 24 und damit an den Seitenwandungen 11 und 12 der Schaftstäbe 10 ab.
  • Wie die Einzeldarstellung des oberen Endbereichs der Seitenstütze 18 in Fig. 4 zeigt, ist der Vorsprung 20 (und in gleicher Weise auch der untere Vorsprung 19 des Schaftstabes 18) mit einer Durchgangsbohrung 25 versehen. Die Durchgangsbohrung 25 dient zum Hindurchführen einer Verankerungsschraube 26 oder 27. Der Kopf 27.1 der in Fig. 2 dargestellten Verankerungsschraube 27 liegt gegen einen auf der Schmalseite 13 des Schaftstabes 10 aufliegenden länglichen Backen 28 an, der ebenfalls eine nicht bezeichnete Durchgangsbohrung für die Verankerungsschraube 27 aufweist. Das mit einem Gewinde vesehene andere Ende 27.2 der Verankerungsschraube 27 ist in eine Gewindebohrung eines zweiten Backens 29 eingeschraubt, der in den Hohlraum 15 des Schaftstabes 10 eingeschoben ist und dort mittels eines Spannstiftes 30 gehalten ist, der durch eine Querbohrung des Backens 29 und mit ihr fluchtende Bohrungen in den Seitenwandungen 11 und 12 des Schaftstabes 10 hindurchragt.
  • An der aus Fig. 3 ersichtlichen oberen Verbindungsstelle der Seitenstütze 18 mit einem Schaftstab 10 dient die Verankerungsschraube 26 gleichzeitig zum Befestigen eines auf die obere Schmalseite 13 des Schaftstabes aufgesetzten Schaftantriebsstückes 31, an welchem die Schaftantriebsvorrichtung angreift, dessen bekannter Aufbau aber nicht näher interessiert. Der Sockel 31.1 dieses Schaftantriebsstückes 31 bildet hier den Backen, gegen welchen der Kopf 26.1 der Verankerungsschraube 26 anliegt, deren mit einem Gewinde versehenes anderes Ende 26.2 in die Gewindebohrung eines zweiten und in den Hohlraum 15 des Schaftstabes eingeschobenen Backens 32 einschraubbar ist. Während der aus Fig. 2 ersichtliche Backen 28 zusätzlich mittels einer zweiten Schraube 33 befestigt ist, die direkt in einer Gewindebohrung des Schaftstabes 10 verankert ist, ist das aus Fig. 3 ersichtliche Schaftantriebsstück 31 zusätzlich mittels einer Schraube 34 befestigt, die in einer Gewindebohrung eines in den Schaftstab eingeschobenen zusätzlichen Backens 35 verankert ist.
  • Durch Entfernen der relativ starken Verankerungsschrauben 26 und 27 lassen sich die Seitenstützen 18 leicht und rasch von den Schaftstäben 10 lösen. Die zur Verankerung der Spannschrauben 26 und 27 dienenden Backen 29 und 32 mit ihren Gewindebohrungen sind zweckmäßig aus Stahl gefertigt. Eine Verankerung der Schrauben in dem relativ weichen Aluminiummaterial der Schaftstäbe 10 ist also vermieden. Die Backen lassen sich leicht auswechseln, wenn die Gewinde ihrer Bohrungen beschädigt sein sollten.

Claims (4)

1. Webeschaft mit Schaftstäben aus einem Aluminiumprofil und mit Seitenstützen, wobei die Seitenstützen an den Stirnseiten der Schaftstabenden jeweils mit einem Vorsprung in Hohlräume des Aluminiumprofiles eingreifen und mittels Schrauben verankert sind, dadurch gekennzeichnet, daß die Vorsprünge (19, 20) der Seitenstützen (18) mindestens im Bereich der Verankerungsschrauben (26, 27) die gleiche Dicke (B) wie der Schaftstab (10) haben und in passende stirnseitige Ausnehmungen (23, 24) des Schaftstabes (10) ragen und daß die Verankerungsschrauben (26, 27) mit ihrem Kopf (26.1, 27.1) jeweils auf einem auf der Schmalseite (13) eines Schaftstabes (10) außen aufgesetzten Backen (28, 31.1) aufliegt und mit ihrem anderen Ende (26.2, 27.2) jeweils in die Gewindebohrung eines in einen Hohlraum (15) des Schaftstabes (10) eingesetzten Backens (29, 32) eingeschraubt ist.
2. Webeschaft nach Anspruch 1, dadurch gekennzeichnet, daß die Vorsprünge (19, 20) der Seitenstützen (18) jeweils mindestens annähernd über ihren ganzen Umfang an den Rändern der passenden stirnseitigen Ausnehmung (23, 24) des zugeordneten Schaftstabes (10) anliegen.
3. Webeschaft nach Anspruch 1 oder 2, dadurch gekennzeichnet, daß der außen aufgesetzte Backen durch ein Schaftantriebsstück (31) gebildet ist und die Verankerungsschraube (26) gleichzeitig zur Befestigung des Schaftantriebsstückes (31) dient.
4. Webeschaft nach einem der Ansprüche 1 bis 3, dadurch gekennzeichnet, daß die Vorsprünge (19, 20) der Seitens stützen (18) jeweils in einem Fortsatz (21, 22) enden, der eine geringere Dicke als der Schaftstab (10) hat und in einen Hohlraum (14) des Schaftstabprofile paßt.
EP87104061A 1986-03-25 1987-03-19 Webeschaft mit Schaftstäben aus einem Aluminiumprofil Expired - Lifetime EP0239013B1 (de)

Priority Applications (1)

Application Number Priority Date Filing Date Title
AT87104061T ATE54684T1 (de) 1986-03-25 1987-03-19 Webeschaft mit schaftstaeben aus einem aluminiumprofil.

Applications Claiming Priority (2)

Application Number Priority Date Filing Date Title
DE3609964 1986-03-25
DE19863609964 DE3609964A1 (de) 1986-03-25 1986-03-25 Webeschaft mit schaftstaeben aus einem aluminiumprofil

Publications (3)

Publication Number Publication Date
EP0239013A2 true EP0239013A2 (de) 1987-09-30
EP0239013A3 EP0239013A3 (en) 1988-02-17
EP0239013B1 EP0239013B1 (de) 1990-07-18

Family

ID=6297187

Family Applications (1)

Application Number Title Priority Date Filing Date
EP87104061A Expired - Lifetime EP0239013B1 (de) 1986-03-25 1987-03-19 Webeschaft mit Schaftstäben aus einem Aluminiumprofil

Country Status (6)

Country Link
US (1) US4753273A (de)
EP (1) EP0239013B1 (de)
JP (1) JPS62243845A (de)
AT (1) ATE54684T1 (de)
CS (1) CS274613B2 (de)
DE (2) DE3609964A1 (de)

Cited By (5)

* Cited by examiner, † Cited by third party
Publication number Priority date Publication date Assignee Title
WO1991010764A1 (de) * 1990-01-18 1991-07-25 C.C. Egelhaaf Maschinenfabrik Gmbh Mittelverbinder für insbesondere metallische webeschäfte
WO1997025465A1 (de) * 1996-01-13 1997-07-17 Firma Schmeing Gmbh & Co. Verfahren zur herstellung eines schaftstabes für webschäfte aus einem metallhohlprofil
DE19858013A1 (de) * 1998-12-01 2000-06-08 Schmeing Gmbh & Co Verbindung zwischen Schaftstab und Seitenstütze bei Webschäften
CN101387030B (zh) * 2007-09-12 2013-12-04 格罗兹-贝克特公司 用于综框的异型杆和承载器杆
EP3241932A1 (de) * 2016-05-02 2017-11-08 Groz-Beckert KG Webschaft und herstellverfahren für einen webschaft

Families Citing this family (4)

* Cited by examiner, † Cited by third party
Publication number Priority date Publication date Assignee Title
US5056231A (en) * 1990-06-01 1991-10-15 Bear Automotive Service Equipment Co. Apparatus for locking wheel unit in automotive wheel alignment system
DE19612404A1 (de) * 1996-03-28 1997-10-02 Grob & Co Ag Eckverbindung für einen Webschaft
DE10325908B4 (de) * 2003-06-05 2005-07-21 Groz-Beckert Kg Schaftstab, Webschaft und Verfahren zur Herstellung eines Schaftstabs
FR2857987B1 (fr) * 2003-07-21 2005-10-07 Staubli Sa Ets Cadre de lisses et metier a tisser equipe d'au moins un tel cadre

Family Cites Families (8)

* Cited by examiner, † Cited by third party
Publication number Priority date Publication date Assignee Title
AT261503B (de) * 1965-04-30 1968-04-25 Grob & Co Ag Webschaft mit einer lösbaren Eckverbindung
CH427688A (de) * 1965-04-30 1966-12-31 Grob & Co Ag Webschaft mit einer lösbaren Eckverbindung
CH538560A (de) * 1971-05-13 1973-06-30 Grob & Co Ag Webschaft
DE2126074A1 (de) * 1971-05-26 1972-12-07 Fa. CC. Egelhaaf, 7411 Reutlingen-Betzingen Litzentragschienenhalter-Verriegelung für Webeschäfte
US3949789A (en) * 1972-06-14 1976-04-13 Grob & Co. Aktiengesellschaft Heddle frame stave with closed T-rail
AT315767B (de) * 1972-06-28 1974-06-10 Grob & Co Ag Hohler Schaftstab
JPS5514185A (en) * 1978-07-18 1980-01-31 Sintokogio Ltd Solvent of facing material for reduced-pressure-molded casting mold
DE3017629A1 (de) * 1980-05-08 1981-11-12 Kabushiki Kaisha Maruyama Seisakusho, Sakai Webschaft

Cited By (10)

* Cited by examiner, † Cited by third party
Publication number Priority date Publication date Assignee Title
WO1991010764A1 (de) * 1990-01-18 1991-07-25 C.C. Egelhaaf Maschinenfabrik Gmbh Mittelverbinder für insbesondere metallische webeschäfte
US5332006A (en) * 1990-01-18 1994-07-26 Grob & Co Ltd. Center connector, for metallic weaving shafts
WO1997025465A1 (de) * 1996-01-13 1997-07-17 Firma Schmeing Gmbh & Co. Verfahren zur herstellung eines schaftstabes für webschäfte aus einem metallhohlprofil
US6076250A (en) * 1996-01-13 2000-06-20 Firma Schmeing Gmbh & Co. Process for producing a heald shaft for weaving shafts out of a metal hollow section
DE19858013A1 (de) * 1998-12-01 2000-06-08 Schmeing Gmbh & Co Verbindung zwischen Schaftstab und Seitenstütze bei Webschäften
DE19858013C2 (de) * 1998-12-01 2001-02-01 Schmeing Gmbh & Co Verbindung zwischen Schaftstab und Seitenstütze bei Webschäften mit reiterlosem Schaft-Litzensystem
CN101387030B (zh) * 2007-09-12 2013-12-04 格罗兹-贝克特公司 用于综框的异型杆和承载器杆
EP3241932A1 (de) * 2016-05-02 2017-11-08 Groz-Beckert KG Webschaft und herstellverfahren für einen webschaft
CN107338549A (zh) * 2016-05-02 2017-11-10 格罗兹-贝克特公司 综框和用于综框的制造方法
CN107338549B (zh) * 2016-05-02 2021-10-22 格罗兹-贝克特公司 综框和用于综框的制造方法

Also Published As

Publication number Publication date
US4753273A (en) 1988-06-28
ATE54684T1 (de) 1990-08-15
DE3763713D1 (de) 1990-08-23
CS198287A2 (en) 1990-11-14
JPS62243845A (ja) 1987-10-24
EP0239013B1 (de) 1990-07-18
CS274613B2 (en) 1991-09-15
DE3609964A1 (de) 1987-10-01
EP0239013A3 (en) 1988-02-17

Similar Documents

Publication Publication Date Title
DE1535854C2 (de) Webschaft mit einer losbaren Eckver bindung
AT405757B (de) Verbindungsstück für die lösbare verbindung zweier profilstäbe, vorzugsweise aus leichtmetall
EP0278252A2 (de) Ankerschiene
EP0136431A2 (de) Konstruktion aus Profilstäben
EP0050242A2 (de) Verbindung für Rahmenteile von Möbeln, insbesondere Büromöbeln
EP0239013B1 (de) Webeschaft mit Schaftstäben aus einem Aluminiumprofil
EP0539687B1 (de) Querverbindung für Profilstäbe mit hinterschnittenen Längsnuten
DE2218066B2 (de) Webschaft
EP0004374A1 (de) Vorrichtung zum Verbinden von zwei Profilstäben
DE3803292A1 (de) Verbinder fuer zwei mit ihren offenen seiten einander zugewandte c-profilschienen
EP0616135B1 (de) Verbindungseinrichtung für Profilteile
DE3604984C2 (de)
DE9012607U1 (de) Klemmelement für eine Klemmvorrichtung
EP0423474B1 (de) Vorrichtung zum lösbaren Verbinden von zwei Profilstäben
DE3401468C2 (de) Tragvorrichtung für elektrische Einrichtungen
DE1634666A1 (de) Vorgefertigtes Pfostenfundament
DE4124157C2 (de) Modulplatte, Träger o. dgl. Element zur Verwendung bei Maschinenaufbauten
DE9014882U1 (de) Einrichtung für die Befestigung eines Tragarms an einer Tischplatte
DE4027935C2 (de) Klemmvorrichtung oder Klemmverbund
DE1954810C3 (de) Beschlag zum lösbaren Verbinden zweier senkrecht aufeinanderstoßender plattenförmiger Bauteile, insbesondere Möbelteile
EP0496057B1 (de) Spreizwerkzeug
DE8608183U1 (de) Webeschaft mit Schaftstäben aus einem Aluminiumprofil
DE8814964U1 (de) Bausatz für eine Türzarge
DE3706236A1 (de) Verbindungselement fuer zwei tragteile
EP4298351B1 (de) Vorrichtung, insbesondere spannelement und verfahren zur anwendung dieses spannelements

Legal Events

Date Code Title Description
PUAI Public reference made under article 153(3) epc to a published international application that has entered the european phase

Free format text: ORIGINAL CODE: 0009012

AK Designated contracting states

Kind code of ref document: A2

Designated state(s): AT BE CH DE FR GB IT LI NL

PUAL Search report despatched

Free format text: ORIGINAL CODE: 0009013

AK Designated contracting states

Kind code of ref document: A3

Designated state(s): AT BE CH DE FR GB IT LI NL

17P Request for examination filed

Effective date: 19880323

17Q First examination report despatched

Effective date: 19890830

GRAA (expected) grant

Free format text: ORIGINAL CODE: 0009210

AK Designated contracting states

Kind code of ref document: B1

Designated state(s): AT BE CH DE FR GB IT LI NL

REF Corresponds to:

Ref document number: 54684

Country of ref document: AT

Date of ref document: 19900815

Kind code of ref document: T

REF Corresponds to:

Ref document number: 3763713

Country of ref document: DE

Date of ref document: 19900823

ET Fr: translation filed
ITF It: translation for a ep patent filed
GBT Gb: translation of ep patent filed (gb section 77(6)(a)/1977)
PGFP Annual fee paid to national office [announced via postgrant information from national office to epo]

Ref country code: BE

Payment date: 19910221

Year of fee payment: 5

PGFP Annual fee paid to national office [announced via postgrant information from national office to epo]

Ref country code: FR

Payment date: 19910222

Year of fee payment: 5

PGFP Annual fee paid to national office [announced via postgrant information from national office to epo]

Ref country code: CH

Payment date: 19910225

Year of fee payment: 5

PGFP Annual fee paid to national office [announced via postgrant information from national office to epo]

Ref country code: GB

Payment date: 19910308

Year of fee payment: 5

PGFP Annual fee paid to national office [announced via postgrant information from national office to epo]

Ref country code: AT

Payment date: 19910326

Year of fee payment: 5

PGFP Annual fee paid to national office [announced via postgrant information from national office to epo]

Ref country code: DE

Payment date: 19910327

Year of fee payment: 5

ITTA It: last paid annual fee
PGFP Annual fee paid to national office [announced via postgrant information from national office to epo]

Ref country code: NL

Payment date: 19910331

Year of fee payment: 5

PLBE No opposition filed within time limit

Free format text: ORIGINAL CODE: 0009261

STAA Information on the status of an ep patent application or granted ep patent

Free format text: STATUS: NO OPPOSITION FILED WITHIN TIME LIMIT

26N No opposition filed
PG25 Lapsed in a contracting state [announced via postgrant information from national office to epo]

Ref country code: GB

Effective date: 19920319

Ref country code: AT

Effective date: 19920319

PG25 Lapsed in a contracting state [announced via postgrant information from national office to epo]

Ref country code: LI

Effective date: 19920331

Ref country code: CH

Effective date: 19920331

Ref country code: BE

Effective date: 19920331

BERE Be: lapsed

Owner name: C.C. EGELHAAF G.M.B.H. & CO. MASCHINENFABRIK K.G.

Effective date: 19920331

PG25 Lapsed in a contracting state [announced via postgrant information from national office to epo]

Ref country code: NL

Effective date: 19921001

NLV4 Nl: lapsed or anulled due to non-payment of the annual fee
GBPC Gb: european patent ceased through non-payment of renewal fee
PG25 Lapsed in a contracting state [announced via postgrant information from national office to epo]

Ref country code: FR

Effective date: 19921130

REG Reference to a national code

Ref country code: CH

Ref legal event code: PL

PG25 Lapsed in a contracting state [announced via postgrant information from national office to epo]

Ref country code: DE

Effective date: 19921201

REG Reference to a national code

Ref country code: FR

Ref legal event code: ST

PG25 Lapsed in a contracting state [announced via postgrant information from national office to epo]

Ref country code: IT

Free format text: LAPSE BECAUSE OF NON-PAYMENT OF DUE FEES

Effective date: 20050319