EP0120336B2 - Rohrbiegemaschine - Google Patents

Rohrbiegemaschine Download PDF

Info

Publication number
EP0120336B2
EP0120336B2 EP84102164A EP84102164A EP0120336B2 EP 0120336 B2 EP0120336 B2 EP 0120336B2 EP 84102164 A EP84102164 A EP 84102164A EP 84102164 A EP84102164 A EP 84102164A EP 0120336 B2 EP0120336 B2 EP 0120336B2
Authority
EP
European Patent Office
Prior art keywords
clamping
bending
bending template
template
piston
Prior art date
Legal status (The legal status is an assumption and is not a legal conclusion. Google has not performed a legal analysis and makes no representation as to the accuracy of the status listed.)
Expired - Lifetime
Application number
EP84102164A
Other languages
English (en)
French (fr)
Other versions
EP0120336B1 (de
EP0120336A1 (de
Inventor
Rigobert Dipl.-Ing. Schwarze
Current Assignee (The listed assignees may be inaccurate. Google has not performed a legal analysis and makes no representation or warranty as to the accuracy of the list.)
Individual
Original Assignee
Individual
Priority date (The priority date is an assumption and is not a legal conclusion. Google has not performed a legal analysis and makes no representation as to the accuracy of the date listed.)
Filing date
Publication date
Family has litigation
First worldwide family litigation filed litigation Critical https://patents.darts-ip.com/?family=6194815&utm_source=google_patent&utm_medium=platform_link&utm_campaign=public_patent_search&patent=EP0120336(B2) "Global patent litigation dataset” by Darts-ip is licensed under a Creative Commons Attribution 4.0 International License.
Application filed by Individual filed Critical Individual
Publication of EP0120336A1 publication Critical patent/EP0120336A1/de
Publication of EP0120336B1 publication Critical patent/EP0120336B1/de
Application granted granted Critical
Publication of EP0120336B2 publication Critical patent/EP0120336B2/de
Anticipated expiration legal-status Critical
Expired - Lifetime legal-status Critical Current

Links

Images

Classifications

    • BPERFORMING OPERATIONS; TRANSPORTING
    • B21MECHANICAL METAL-WORKING WITHOUT ESSENTIALLY REMOVING MATERIAL; PUNCHING METAL
    • B21DWORKING OR PROCESSING OF SHEET METAL OR METAL TUBES, RODS OR PROFILES WITHOUT ESSENTIALLY REMOVING MATERIAL; PUNCHING METAL
    • B21D37/00Tools as parts of machines covered by this subclass
    • B21D37/14Particular arrangements for handling and holding in place complete dies
    • BPERFORMING OPERATIONS; TRANSPORTING
    • B21MECHANICAL METAL-WORKING WITHOUT ESSENTIALLY REMOVING MATERIAL; PUNCHING METAL
    • B21DWORKING OR PROCESSING OF SHEET METAL OR METAL TUBES, RODS OR PROFILES WITHOUT ESSENTIALLY REMOVING MATERIAL; PUNCHING METAL
    • B21D7/00Bending rods, profiles, or tubes
    • B21D7/02Bending rods, profiles, or tubes over a stationary forming member; by use of a swinging forming member or abutment
    • BPERFORMING OPERATIONS; TRANSPORTING
    • B21MECHANICAL METAL-WORKING WITHOUT ESSENTIALLY REMOVING MATERIAL; PUNCHING METAL
    • B21DWORKING OR PROCESSING OF SHEET METAL OR METAL TUBES, RODS OR PROFILES WITHOUT ESSENTIALLY REMOVING MATERIAL; PUNCHING METAL
    • B21D7/00Bending rods, profiles, or tubes
    • B21D7/02Bending rods, profiles, or tubes over a stationary forming member; by use of a swinging forming member or abutment
    • B21D7/021Construction of forming members having more than one groove
    • BPERFORMING OPERATIONS; TRANSPORTING
    • B21MECHANICAL METAL-WORKING WITHOUT ESSENTIALLY REMOVING MATERIAL; PUNCHING METAL
    • B21DWORKING OR PROCESSING OF SHEET METAL OR METAL TUBES, RODS OR PROFILES WITHOUT ESSENTIALLY REMOVING MATERIAL; PUNCHING METAL
    • B21D7/00Bending rods, profiles, or tubes
    • B21D7/02Bending rods, profiles, or tubes over a stationary forming member; by use of a swinging forming member or abutment
    • B21D7/024Bending rods, profiles, or tubes over a stationary forming member; by use of a swinging forming member or abutment by a swinging forming member

Definitions

  • the invention relates to a pipe bending machine.
  • the clamping jaws and counter-clamping jaws are changed mechanically in order to bend tubes with different designs with a single clamping in the clamping sleeve on the feed carriage of the bending template and thus without removing and converting the clamping jaws.
  • the bending template and the clamping jaw each have a rectilinear groove and one or more curved grooves corresponding to the tube radius and the bending template and the clamping jaw are rotatably mounted on the bending table.
  • a known pipe bending machine (DE-A-2 711 340) of the type specified in the preamble of claim 1 each has a clamping body which is guided on the bending template and on the clamping device so as to be displaceable in the vertical direction.
  • Each clamping body is provided with a plurality of clamping surfaces arranged one above the other, which interact with the clamping surfaces of the opposite clamping body.
  • the desired pair of clamping surfaces can be adjusted to the height of the circumferential groove of the bending template.
  • the remaining clamping surfaces are then below the circumferential groove of the bending template. Since between the circumferential groove and the bending table carrying the bending template there must be a corresponding free space for the clamping surfaces of the clamping bodies lying below the circumferential groove, a relatively large overall height of the bending template is required.
  • the bending template should be as flat as possible so that the circumferential groove of the bending template is arranged directly above the bending table in order to keep the bending stress on the drive shaft of the bending template low.
  • the clamping body, the range of movement is not limited to the space above the circumferential groove, can hinder the freedom of movement of the tube during the bending or loading process.
  • the invention has for its object to provide a pipe bending machine in which the bending template has a low profile and can be provided with a variety of clamping surfaces of different designs.
  • the solution according to the invention ensures that the body with the clamping surface is present on the bending template and in the same way also on the clamping jaw only at one point, which is generally also a recess.
  • This measure of mechanically arranging bodies with different clamping surfaces at a single point on the bending template and / or the clamping jaw ensures that the production of the bending template is simplified.
  • the bending template can also be used over a larger area of its circumference. It is also essential that other components may be present on the bending template or in cooperation with the bending template, which simplify the manufacture of the tube or lead to a safe tube production.
  • a so-called wrinkle smoothener can now be arranged in the vicinity of the bending template and interacting with the bending template, which is at the level of the slide rail.
  • the tube can be thickened at its front end so that it can be connected to another tube or other body after bending.
  • the tube can also be provided, for example, with a welded-on flange or other connecting body. In many cases it is common first to bend the pipes and then to attach these connecting bodies to the front pipe end.
  • connection bodies With the solution according to the invention, it is now easily possible to bring these connection bodies to the unbent pipe before it is introduced into the pipe bending machine. As a result, the attachment of the connecting bodies, usually by welding or soldering, can be simplified very mechanically in the case of straight pipes.
  • the solution according to the invention of arranging a large number of the bodies, each with different clamping surfaces, one after the other at a predetermined point on the bending template, is a great relief.
  • the solution according to the invention allows various possibilities that can be easily adapted to the local conditions, the special design of a pipe-making machine, the size of the bending template and the number of different clamping surfaces required.
  • the solution according to the invention can also be expanded in the manner of a modular system. Two or three, but also optionally four or five such bodies with assigned clamping surfaces can be used, or the clamping surfaces can also be removed from the machine and exchanged for others, provided that individual pipes or a series of pipes have different dimensions, for example their outer pipe diameter .
  • a piston rod is fastened to the bending template and / or the clamping jaw in vertical extension and on the cylinder assigned to the piston rod an axis of rotation for a shaft extending in a horizontal plane is arranged, at one end of which the two are side by side lying jaws are arranged with the clamping surfaces, the aforementioned shaft being rotatable by an associated motor, in particular a hydraulic motor, so that after a corresponding rotation of the shaft and the movement of the cylinder on the piston rod, one body or the other body into the recess of the bending template can be brought in and arranged in the working position there.
  • This solution thus means that in addition to the movement in the vertical direction, there is a movement transversely thereto.
  • This transverse movement is a rotary movement in the case described above. As will be explained below, it can also be a movement in the horizontal plane.
  • the rotary movement which is used hastily for two bodies with assigned different clamping surfaces, wherein these two bodies can also be a single body that has two different clamping surfaces, is particularly simple and takes up little space. So the space that the device occupies is limited to a space above the bending template, so that this solution does not interfere with the bending of the pipes.
  • the solution to attaching the piston rod to the bending template or the clamping jaw can also be modified in a further embodiment according to the invention in such a way that a hydraulic cylinder is attached to the bending template and / or the clamping jaw in vertical extension, the piston rod of which is at the upper end has a horizontal pivot bearing for a swivel arm, which has the body with one clamping surface at one end and the body with the other clamping surface at the other end and by rotating the two bodies about the horizontal axis of rotation and raising and lowering the piston rod and thus the Swivel arm of one or the other body can be introduced into the recess of the bending template and is arranged there in the working position.
  • This solution takes up only one space above the bending template. The space can be reduced by the requirement that a horizontal boom is arranged at the upper end of the piston rod, which has a downward extension at its front end and the horizontal axis of rotation is arranged in the region of the lower end of this extension.
  • a cantilever arm is mounted on the upwardly extended axis of rotation of the bending template, each of which carries a rail at its two ends, the other end of which are carried by a bracket on the bending table and a carriage can be moved on these two rails, furthermore the carriage which is movable in this way is provided with a guide on which at least two cylinders arranged one behind the other in the radial direction of the bending template can be moved, the downward-pointing piston rods of which the bodies coexist wear the clamping surfaces.
  • a guide in the recess of the bending template and the body on one of the surfaces lying against one another in the use position advantageously in the form of a tongue and groove design.
  • This guide can be in one of the adjacent surfaces. However, it can also be present in a further contact surface.
  • a particularly advantageous embodiment of the invention is that above the bending template and coaxially to its axis of rotation and relative to the bending template in the same horizontal plane rotatable a support device is advantageously arranged in the form of a carrier plate, on the circumference or area of the circumference, a plurality of clamping bodies are attached and these clamping bodies are displaceable from the carrier plate into the recess of the bending template.
  • This solution has the advantage that a large number of clamping bodies of different designs can be arranged distributed over the circumference of the support device or support plate.
  • the aforementioned basic proposal to arrange the clamping bodies rotatably above the bending template and coaxially relative to the bending template allows various further developments for the movement of the clamping bodies.
  • One suggestion is to provide a hydraulically or pneumatically operated piston-cylinder arrangement on the carrier plate, which introduces and executes at least one of the clamping bodies into the recess in the bending template.
  • This proposal thus implies that a plurality of clamping bodies can be assigned a single piston-cylinder arrangement which lifts a clamping body out of the bending template and then lifts or fastens it to the carrier plate, this same piston-cylinder arrangement subsequently having previously been rotated Carrier plate and corresponding positioning of the next clamping body to be used above the recess of the bending template in this recess from above.
  • the solution is particularly advantageous. that a hydraulic or pneumatic piston-cylinder arrangement is arranged on the carrier plate associated with each clamping body. This solution is advantageous because the piston rod is permanently connected to the clamping body and thus a safe and quick lifting and lowering of the clamping body can take place.
  • the carrier plate in addition to the aforementioned rotation of the carrier plate coaxial to the bending template, the carrier plate can also be displaced in the radial direction parallel to the bending template.
  • the carrier plate with the clamping bodies located thereon can be used for bending templates of different diameters with comparatively simple means.
  • This solution also ensures that the support plate can be retrofitted to existing pipe bending machines with the clamping bodies movably arranged on them as an independent device.
  • the carrier plate can be displaced in the radial direction of the bending template in such a way that a piston-cylinder arrangement for displacing the carrier plate in the radial direction relative to the bending template is present in the area between the top of the bending template and the carrier plate.
  • the carrier plate is mounted displaceably in the axial direction to the bending template.
  • This proposal ensures that the carrier plate with the clamping bodies mounted thereon can also be used for a so-called tier template, in which a further bending template of smaller diameter is placed on a lower bending template of large diameter.
  • This axial displacement of the entire carrier plate can be achieved in a simple manner in that a piston-cylinder arrangement for lifting the carrier plate is arranged on the upper side of the bending template.
  • the Carrier plate consists of a U-shaped pot, which has a very wide circumferential flange and openings are provided on the circumference of the flange, reach through the piston rods, the pistons of which are arranged in cylinders above the carrier plate or the flange, and the lower ends of the Piston rods are each connected to an associated clamp body.
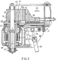
  • FIG. 1 shows a conventional pipe bending machine with a feed carriage 10, which can slide back and forth on one or more guide rails 11 on the top of the machine housing 12.
  • the feed carriage 10 has a hollow cylinder 13, in the interior of which there is a clamping sleeve 14 in which the end region of the pipe section or pipe 15 to be bent is clamped.
  • the pipe section 15 is guided around a pivotally mounted bending template 16 which has a groove 17 for the pipe which corresponds to the pipe radius.
  • a clamping jaw 19 is pressed by means of a clamping device 18, which also has a groove corresponding to the pipe radius as a clamping surface and clamps the pipe 15 on the bending template 16.
  • a hydraulic cylinder 20 is shown as an example, which moves the clamping device 18 of the clamping jaw 19 towards the bending template 16 for clamping the pipe or removes it from this template.
  • the bending template 16 is fixedly arranged on the bending table 21, while the clamping device 18 can be pushed back and forth in the indicated arrow direction 22 via the cylinder 20 shown as an example. If the bending template 16 is pivoted over the bending table 21 together with the clamping jaw 19 in the direction of the arrow 23, the pipe section 15 is given a curvature which corresponds to the profile of the bending template 16. During this bending process, the end part of the pipe section 15 remains clamped in the clamping sleeve 14 of the feed carriage 10 in order to safely guide the pipe section in all positions.
  • a slide rail 24 is pressed onto this pipe section part, which also has a groove which corresponds to the pipe radius.
  • the clamping sleeve 14 of the feed carriage 10 not only clamps the pipe section 15 firmly. but also turns it up to 360 ° if successive pipe bends are to be bent in different directions.
  • a hydraulic motor rotates a worm which interacts with a worm wheel (not shown) which is connected to the clamping sleeve 14.
  • Fig. 2 shows an exhaust pipe that can be produced with the bending machine and in which bent sections or pipe bends S 1 and S 2 as well as S 3 and S 4 directly follow. There are also linear intermediate lengths L 1, L 2 and L 3, which, however, do not need to be present except for the length L 1.
  • Fig. 2 thus shows a tube in which there are partially straight intermediate lengths between bends and partially straight intermediate lengths between bends are not available.
  • This tube shown in Fig. 2 can be bent with a single relaxation on the tube bending machine the. An example of such a machine is shown in FIG.
  • the bending table 21 is rotatable about the axis 25.
  • This has a lower shaft 26, in which a shaft 27 is arranged coaxially, which in its upper area has a part 28 with an enlarged diameter on which the bending template rests.
  • the bending template 16 is mounted on a shaft 29 and is secured against rotation in connection with a wedge, not shown, on the latter. With 30 a clamping device is designated.
  • the clamping jaw 19 is an exchangeable body and has a clamping surface 19a. On the bending template 16 there is a body 31 which has a clamping surface 31a which lies opposite the clamping surface 19a of the clamping jaw 19.
  • the bending table of the bending template and the clamping jaw is rotated via a chain 32.
  • the clamping device 18 with the clamping jaw 19 is moved back and forth in the indicated double arrow direction 22 by the piston rod 33 of the cylinder 20, which is fixed in place on the bending table 21 via the shaft 34 and is provided with a toggle lock 35 and 36.
  • Figures 4 and 5 show a solution in which the bending template has the usual height and is located just above the bending table. This can be achieved by the proviso that there is also a piston rod 38 on the bending template, namely on the upper side 47, which is provided with a piston 46 which is movable in the cylinder 39.
  • the outer surface of the cylinder 39 is over a holder 48 is provided for the shaft 49, on the front area of which there is a body 51 with a curved clamping surface 51a a and another body 52 with a straight clamping surface 52a via a fastening plate 50.
  • Fig. 5 shows that after rotating the shaft 49 by 180 °, the body 51 with the curved clamping surface assumes the lower position and was then introduced into the recess 54 of the bending template 16.
  • the recess has the two surfaces 55 and 56.
  • a protruding rounded strip 57 In the surface 55 there is a protruding rounded strip 57.
  • a rounded groove 58b is provided on the contact surface 58 of the body 51, but also in the same way on the body 52.
  • a projecting bar 57 can also be assigned to the surface 56 of the beige template 16. There is therefore a vertical guide in the manner of a tongue and groove, which increases the flat contact of the body in the recess 54.
  • Fig. 6 shows that the top 47 of the bending template 16 is screwed onto a cylinder 59, the piston rod 60 of which has a transversely projecting arm 61 with a horizontal pivot bearing 62 and a swivel arm 63, which has the body 51 at one end and the other at the other Body has 52.
  • the arm 62 is rotated by a hydraulic motor 64.
  • FIG. 7 shows that the piston rod 60 is extended before the rotation about the horizontal axis 62.
  • Fig. 8 shows that two cylinders 59 and 59a with associated arms 61, 61 a are present on the piston rods 60.
  • the hydraulic motor 64 and the arm 61 with the body 51 in the working position are also shown.
  • Fig. 9 shows that the arm 60 attached to the piston rod has an arm 65 which is angled downwards and on which the aforementioned axis of rotation 62 is arranged. This solution results in a significantly lower overall height. 9, the piston rod 60 is extended and thus the body 61 is extended from the recess of the bending template 16. Then the rotation takes place through 180 °, which can take place in one direction or the other.
  • Fig. 10 shows a side view and partly in section a particularly advantageous solution because it allows more than two bodies with associated clamping surfaces.
  • the rail 65 extends in a horizontal plane and is supported at the other end on a bracket 66 which is supported on the bending table 21.
  • a plurality of cylinders 67, 68, 69 and 70 are movable on the rail 65, which are provided with associated piston rods and carry bodies 71 and 72 for use in the bending template 16, and 19, 19b for use on the tensioning device 18.
  • the aforementioned cylinders are connected to one another by a holder 73 to which the piston rod 75 is articulated via a connecting plate 74, the piston 76 of which can be moved in the hydraulic cylinder 77, the cylinder 77 also being fastened to the bracket 66.
  • Fig. 10 shows the position that the body 72 can be moved into the bending template 16 and the body 19 in the clamping device 18.
  • the narrowed state results from FIG. 11 because the piston rods of the cylinders 68 and 69 are extended.
  • Fig. 13 shows the development of the solution shown in Fig. 10 with the proviso that at the head end of the shaft 29 as the axis of rotation of the bending table 21 is arranged with the bending template, a crossbar 78 which carries a rail 65 at one end and a rail 65a at the other end, which are fastened to the bracket 66 as described in relation to FIG. 10.
  • a carriage 79 can be moved on the above-mentioned rails 65, 65a via four slide bearings 78a, 78b 78c and 78d, specifically via the cylinder 20 attached to the bracket 66 (shown in principle in FIG. 1), the piston rod of which on a crossbar 80 of the carriage 79 is fastened so that the clamping jaw is pressed against the bending template 16 with the interposition of the tube.
  • the carriage 79 has a further crossbar 81, on which two rails 82 and 82a are fastened, which carry a further carriage 84 via four slide bearings 83, on which the cylinders 69 and 70 according to FIG. 10 are arranged, the associated piston rods of which are the bodies with clamping surfaces wear, which are attached to the clamping device 18 and thus form the jaws 19 and 19a.
  • the movement in the horizontal plane takes place through the cylinder 77 described in FIG. 10, the piston rod 76 of which is connected to the carriage 84.
  • hydraulic cylinder with piston rod shown in FIG. 13 can also be the piston cylinder 20 shown in FIG. 3 with the piston rod 33, which moves the tensioning device 18 towards the bending template and away from it via a toggle lever lock.
  • 14 shows the bodies 19 and 19b with their associated clamping surfaces of different spatial shapes.
  • the cylinders 69 and 70 are attached to the carriage 84, which is movable with its bearings 83, 83a on the rail 82 and is connected to the carriage 84 via the piston 77 with the piston rod 76.
  • 14 also shows the rail 65 fastened to the shaft 29, the rails 82 and 82a and the carriage 84 which can be moved in the manner described above by the cylinder 77 with its piston 76.
  • the carriage 79 is also actuated via the tensioning cylinder 20, so that because this first acts on the tensioning device, the body 19 with its associated clamping surface or the body 19a with its associated clamping surface is displaced with the force required for bending in the direction of the bending template, and that Tube clamped to the bending template.
  • Figure 15 shows the bending template 16 as viewed from above.
  • the square support plate 85 which is assigned to each side and has clamping bodies 86, 86a, 86b and 86c, is arranged above this.
  • the carrier plate has guides 87 associated with a wedge 57a for holding the aforementioned clamping bodies in FIG. 16, as is also shown as wedge 57 in FIG. 4.
  • 16 shows the recess 54 in the bending template 16, in which the wedge 57 is also present as an extension of the aforementioned wedge 57a.
  • the bending template 16 is rotated together with the bending table 21 via the shaft 26, as has been described in detail for FIG. 3.
  • the carrier plate is attached to the upper end of the drive shaft 26.
  • the rotation of the carrier plate about the axis 26 of the bending template is carried out by a hydraulic motor 87.
  • the carrier plate has an associated rotary drive which rotates it about the axis of the bending template, so that the clamping bodies 86a, 86b or 86c one after the other into one position get above the recess 54 of the bending template and then be moved down into this recess.
  • the solution shown in FIG. 17 is particularly advantageous in that a piston-cylinder arrangement 93, 93a, 93b and 93c is associated with each clamping body 86, 86a, 86b and 86c.
  • This solution has the advantage that the previously mentioned clamping bodies always remain attached to the rod 91 and this attachment is also the holder on the carrier plate. This enables a quick change of the sprags.
  • the carrier plate as soon as its clamping bodies are all raised, is rotated by a shaft 94 arranged within the drive shaft 26 of the bending template with a ring gear 95, on which a drive chain of a rotary motor, not shown in the drawing, engages.
  • the support plate 85 of the embodiment according to FIGS. 17 and 18 has an associated rotary motor on the support plate 85 which rotates it relative to the bending template, so that one or the other of the aforementioned clamping bodies into the position above the recess 54 of the bending template reached.
  • a rotary motor can be a hydraulic motor.
  • An electric motor is also possible.
  • the solution of arranging the drives for attaching and lowering the clamping bodies and rotating the support plate on the support plate is advantageous because this solution enables a tube bending machine to be subsequently fitted with this solution above the bending template.
  • Fig. 19 is the solution that the carrier plate is radially displaceable to the bending template.
  • a guide 96 extending in the radial direction is provided above the bending template 16.
  • the rotary drive is arranged on the carrier plate 85, as mentioned above, it can also be attached directly to the upper side of the bending template 16.
  • the carriage 97 is displaceable on the rail 96. This is done by a bracket 98 on the rail 96 attached cylinder 99, the piston rod 100 is attached to a bracket 101 of the carriage 87.
  • the support plate 85 is designed in the manner of a pot. It has the wide circumferential flange 102 on which the piston-cylinder arrangements 93, 93a, 93b and 93c are arranged, and, as described in relation to FIG. 16, a clamping body 86 is fastened to an associated piston rod 91.
  • the piston rod 104 of the cylinder 105 is attached to the underside of the pot 102 and raises and lowers the entire support plate 85.
  • Fig. 19 shows the raised position of the support plate with the proviso that the aforementioned clamping bodies 86, 86a, etc. are fitted with the upper bending template 16 by the hydraulic cylinders 93 assigned to them with the piston rods 91. However, if, as shown in Fig.
  • the lower bending template 16a which has a larger diameter, is to be fitted with the clamping body, then the piston rod 104 is inserted and the support plate 85 is lowered accordingly, with the proviso that the clamping body 86 when the piston rod is extended 91 can be moved into the recess 54a of the lower bending template 16a.
  • the radial displacement necessary as a result of the larger diameter of the lower bending template 16a is brought about by the piston-cylinder arrangement 99, 100.

Landscapes

  • Engineering & Computer Science (AREA)
  • Mechanical Engineering (AREA)
  • Bending Of Plates, Rods, And Pipes (AREA)

Description

  • Die Erfindung betrifft eine Rohrbiegemaschine.
  • Bei einer bekannten Biegemaschine (DE-A- 26 26 202) werden die Klemmbacken und Gegenklemmbacken maschinell gewechselt, um damit Rohre mit unterschiedlichen Gestaltungsformen bei einmaliger Einspannung in der Klemmhülse am Vorschubwagen der Biegeschablone und somit ohne Aus- und Umbau der Spannbacken zu biegen. Zur Lösung dieser Aufgabe wird nach der vorgenannten Schrift vorgeschlagen, daß die Biegeschablone und die Spannbacke als Spannflächen jeweils eine geradlinige Rille und eine oder mehrere dem Rohrhalbmesser entsprechende gekrümmte Rille haben und die Biegeschablone und die Spannbacke am Biegetisch drehbar gelagert sind.
  • Diese Lösung hat sich in der Praxis sehr bewährt. Sofern jedoch entsprechend einer Ausbildungsform, wie sie in Fig. 6 dieser Patentschrift dargestellt ist, über den Umfang verteilt drei solcher Spannbacken angeordnet sind, dann lassen sich die Rohre lediglich um einen Winkelbetrag biegen, der dem Sektor von Spannbacke zu Spannbacke entspricht. Dies bedeutet, daß bei der Anordnung der drei in Fig. 6 dargestellten Spannbacken eine Biegung allenfalls über einen Winkel von mx. 120° C erfolgen kann.
  • Eine bekannte Rohrbiegemaschine (DE-A- 2 711 340) der im Oberbegriff des Patentanspruchs 1 angegebenen Art weist je einen an der Biegeschablone und an der Spanneinrichtung in Vertikalrichtung verschiebbar geführten Klemmkörper auf. Jeder Klemmkörper ist mit mehreren übereinander angeordneten Klemmflächen versehen, die mit den Klemmflächen des gegenüberliegenden Klemmkörpers zusammenwirken. Durch Verschieben der Klemmkörper in vertikaler Richtung kann das jeweils gewünschte Klemmflächenpaar auf die Höhe der Umfangsnut der Biegeschablone eingestellt werden. Wenn sich die beiden obersten Klemmflächen der Klemmkörper auf der Höhe der Umfangsnut befinden, sind die Klemmkörper vollständig in den Zwischenraum zwischen Biegeschablone und Spanneinrichtung eingefahren und liegen mit ihren Unterseiten auf dem Biegetisch auf. Die übrigen Klemmflächen befinden sich dann unterhalb der Umfangsnut der Biegeschablone. Da zwischen der Umfangsnut und dem die Biegeschablone tragenden Biegetisch ein entsprechender Freiraum für die unterhalb der Umfangsnut liegenden Klemmflächen der Klemmkörper vorhanden sein muß, ist eine relativ große Bauhöhe der Biegeschablone erforderlich. Die Biegeschablone sollte aber möglichst flach ausgebildet sein, so daß die Umfangsnut der Biegeschablone unmittelbar oberhalb des Biegetisches angeordnet ist, um die Biegebeanspruchung der Antriebswelle der Biegeschablone gering zu halten. Ferner ist nachteilig, daß die Klemmkörper, deren Bewegungsbereich nicht auf den Raum oberhalb der Umfangsnut beschränkt ist, das Rohr während des Biege- oder Beschickungsvorgangs in seiner Bewegungsfreiheit behindern können.
  • Der Erfindung liegt die Aufgabe zugrunde, eine Rohrbiegemaschine zu schaffen, bei der die Biegeschablone eine geringe Bauhöhe aufweist und dabei mit einer Vielzahl von Klemmflächen unterschiedlicher Ausbildung versehen werden kann.
  • Die Lösung dieser Aufgabe erfolgt erfindungsgemäß mit den im Patentanspruch 1 angegebenen Merkmalen.
  • Durch die erfindungsgemäße Lösung wird erreicht, daß an der Biegeschablone und in gleicher Weise auch an der Spannbacke lediglich an einer Stelle, die in der Regel zugleich eine Ausnehmung ist, der Körper mit der Klemmfläche vorhanden ist. Durch diese Maßnahme, an einer einzigen Stelle der Biegeschablone und/oder der Spannbacke maschinell Körper mit unterschiedlichen Klemmflächen anzuordnen, wird erreicht, daß die Herstellung der Biegeschablone vereinfacht ist. Auch wird die Biegeschablone über einen größeren Bereich ihres Umfanges nutzbar. Weiterhin ist wesentlich, daß an der Biegeschablone oder in Zusammenwirkung mit der Biegeschablone sonstige Bauelemente vorhanden sein können, die das Herstellen des Rohres vereinfachen oder zu einer sicheren Rohrherstellung führen. So kann nunmehr im nahen Bereich der Biegeschablone und mit der Biegeschablone zusammenwirkend ein sogenannter Faltenglätter angeordnet werden, der in der Pegel der Gleitschiene. die ebenfalls mit der Biegeschablone zusammenwirkt, gegenüberliegt. Faltenglätter werden verwendet. weil beim Biegen des Rohres die Neigung besteht; daß dieses an seinem Außenbogen zufolge der Dehnung seiner Wanddicke vermindert und an seinem Innenbogen zufolge der Stauchung nicht lediglich in der Wanddicke vergrößert wird, sondern auch Falten bildet. Durch die erfindungsgemäße Lösung lassen sich nunmehr im Bereich des Umfanges der wirksamen Biegeschablone Zusatzeinrichtungen leicht unterbringen, weil die erfindungsgemäße Lösung, bezogen auf den Bereich der Biegeschablone, nur einen geringen Raum einnimmt.
  • Der Vorschlag, an einer örtlichen Stelle und automatisch auswechselbar verschiedenartige Klemmflächen vorzusehen, macht es auch möglich, neben den Klemmflächen unterschiedlicher Raumform, um beim Biegen Rohrbogen an Rohrbogen anschließen zu können, auch unterschiedliche Rohranfänge fest anzuklemmen, so daß diese dem üblichen Rohrquerschnitt gegenüber andere Bemessung oder Gestaltung haben können. So kann beispielsweise das Rohr an seinem vorderen Ende verdickt sein, um nach dem Biegen an ein anderes Rohr oder einen sonstigen Körper angeschlossen werden zu können. Auch kann das Rohr im Zuge dieser Maßnahme beispielsweise mit einem angeschweißten Flansch oder sonstigen Anschlußkörper versehen sein. Vielfach ist es üblich, die Rohre erst zu biegen und dann diese Anschlußkörper am vorderen Rohrende anzubringen. Mit der erfindungsgemäßen Lösung ist es nunmehr leicht möglich, diese Anschlußkörper an dem nicht gebogenen Rohr vor dessen Einbringen in die Rohrbiegemaschine zu bringen. Dadurch läßt sich das Anbringen derAnschlußkörper, in der Regel durch Anschweißen oder Anlöten, bei geradlinigen Rohren maschinell sehr vereinfachen. Die erfindungsgemäße Lösung, an einer vorbestimmten Stelle der Biegeschablone nacheinander eine große Vielzahl der Körper mit jeweils unterschiedlichen Klemmflächen anzuordnen, bringt eine große Erleichterung.
  • Durch dei erfindungsgemäße Lösung wird weiterhin erreicht, daß ein schneller Wechsel der Klemmflächen stattfinden kann.
  • Die erfindungsgemäße Lösung läßt verschiedene Möglichkeiten zu, die den örtlichen Verhältnissen, der besonderen Bauart einer Rohrbeigemaschine, der Größe der Biegeschablone und der Anzahl der notwendigen unterschiedlichen Klemmflächen leicht angepaßt werden kann. So ist die erfindungsgemäße Lösung auch nach Art eines Baukastensystems ausbaufähig. So können zwei oder drei, aber auch wahlweise vier oder fünf solcher Körper mit zugeordneten Klemmflächen Anwendung finden oder die Klemmflächen auch aus der Maschine ausgebaut gegen andere ausgetauscht werden, sofern einzelne Rohre oder eine Serie von Rohren andere Bemessungen, beispielsweise ihres Rohrau- ßendurchmessers, haben.
  • In weiterer erfindungsgemäßer Ausgestaltung wird vorgeschlagen, daß an der Biegeschablone und/oder der Spannbacke in vertikaler Erstreckung eine Kolbenstange befestigt ist und an dem der Kolbenstange zugeordneten Zylinder eine Drehachse für eine sich in horizontaler Ebene erstreckende Welle angeordnet ist, an deren einem Ende die beiden nebeneinander liegenden Klemmbacken mit den Klemmflächen angeordnet sind, wobei die vorgenannte Welle durch einen zugeordneten Motor, insbesondere Hydromotor, so drehbar ist, daß nach entsprechender Drehung der Welle und der Bewegung des Zylinders an der Kolbenstange der eine Körper oder der andere Körper in die Ausnehmung der Biegeschablone einbringar und in Arbeitsstellung dort angeordnet ist. Diese Lösung beinhaltet somit, daß zusätzlich zur Bewegung in vertikaler Richtung eine Bewegung quer dazu erfolgt. Diese Querbewegung ist in dem vorbeschriebenen Falle eine Drehbewegung. Sie kann auch, wie nachfolgend noch dargelegt wird, eine Bewegung in horizontaler Ebene sein. Die Drehbewegung, die voneilhaft angewendet wird bei zwei Körpern mit zugeordneten unterschiedlichen Klemmflächen, wobei diese zwei Körper auch ein einzelner Körper sein kann, der zwei unterschiedliche Klemmflächen hat, ist besonders einfach und nimmt wenig Raum ein. So ist der Raum, den die Vorrichtung einnimmt, auf einen Raum oberhalb der Biegeschablone beschränkt, so daß diese Lösung das Biegen der Rohre nicht behinden.
  • Die Lösung, an der Biegeschablone oder der Spannbacke die Kolbenstange zu befestigen, kann auch in weiterer erfindungsgemäßer Ausgestaltung in der Weise abgewandelt sein, daß an der Biegeschablone und / oder der Spannbacke in vertikaler Erstreckung ein hydraulischer Zylinder befestigt ist, dessen Kolbenstange an dem oberen Ende ein horizontales Drehlager für einen Schwenkarm aufweist, der an dem einen Ende den Körper mit der einen Klemmfläche und an dem anderen Ende den Körper mit der anderen Klemmfläche aufweist und durch Drehung der beiden Körper um die horizontale Drehachse und Anheben sowie Absenken der Kolbenstange und damit des Schwenkarmes der eine oder der andere Körper in die Ausnehmung der Biegeschablone einbringbar und in Arbeitsstellung dort angeordnet ist. Diese Lösung nimmt nur einen Raum oberhalb der Biegeschablone ein. Der Raum kann verkleinen werden durch die Maßgabe, daß an dem oberen Ende der Kolbenstange ein horizontaler Ausleger angeordnet ist, der an seinem vorderen Ende eine nach unten gerichtete Verlängerung aufweist und im Bereich des unteren Endes dieser Verlängerung die horizontale Drehachse angeordnet ist.
  • An einer Rohrbiegemaschine drei, vier oder noch mehr auswechselbare Körper mit zugeordneten unterschiedlichen Flächen zur Wirkung, d, h, zur Anlage an die Biegeschablone oder Spannbacke zu bringen, wird in weiterer erfindungsgemäßer Ausgestaltung dadurch erreicht, daß in einem Bereich oberhalb der Biegeschablone und / oder der Spannbacke eine horizontale Führungsstange vorhanden ist, an der mehrere hydraulische Zylinder verfahrbar sind, wobei jeder Zylinder in seiner in vertikaler Erstreckung nach unten weisenden Kolbenstange einen Körper mit Klemmfläche hat und durch eine Bewegung in horizontaler Erstreckung und in vertikaler Erstreckung wahlweise der eine Körper mit Klemmfläche oder der andere Körper mit anderer Klemmfläche in die Ausnehmung der Biegeschablone oder der Spannbacke einbringbar und in Arbeitsstellung dort angeordnet ist.
  • Diese Lösung kann vereinfacht werden durch die Maßgabe, daß die Drehachse der Biegeschablone nach oben über die Biegeschablone hinaus verlängert ist und an dem oberen Ende dieser Verlängerung eine quer und somit in horizontaler Erstreckung abstehende Halterung angeordnet ist, an der eine sich in horizontaler Erstreckung verlaufende Schiene angeordnet ist, die an einem Gegenlager am Biegetisch gelagert ist und an dieser Schiene ein Schlitten verfahrbar ist, an der in Radialrichtung der Biegeschablone hintereinander Zylinder angeordnet sind, deren nach unten weisenden Kolbenstangen an ihren vorderen unteren Enden jeweils einen Körper mit Klemmfläche tragen und durch Verfahren der Körper in horizontaler Ebene und Absenken sowie Anheben in vertikaler Ebene der eine oder andere Körper in die Ausnehmung der Biegeschablone und / oder der Spannbacke einbringbar und in Arbeitsstellung dort angeordnet ist
  • Eine weitere Verbesserung, die auch die Möglichkeit der Anpressung der dem Klemmbacken zugeordneten Körper mit der Klemmfläche beinhaltet, besteht darin, daß an der nach oben verlängerten Drehachse der Biegeschablone ein Auslegerarm gelagert ist, der an seinen beiden Enden jeweils eine Schiene trägt, deren anderes Ende von einer Halterung am Biegetisch getragen sind und an diesen beiden Schienen ein Wagen verfahrbar ist, weiterhin der so verfahrbare Wagen mit einer Führung versehen ist, an der zumindest zwei in Radialrichtung der Biegeschablone hintereinander angeordnete Zylinder verfahrbar sind, deren nach unten weisende Kolbenstangen die Körper mit den Klemmflächen tragen.
  • Um die Anlage des die Klemmfläche tragenden Körpers in derAusnehmung der Biegeschablone oder auch in der Ausnehmung der Spannbacke weiterhin zu sichern, wird in weiterer erfindungsgemäßer Ausgestaltung vorgeschlagen, daß in der Ausnehmung der Biegeschablone und dem Körper an einer der in der Gebrauchsstellung einander anliegenden Flächen eine Führung, vorteilhaft in Gestalt einer Nut-und Federausbildung, vorhanden ist. Diese Führung kann in einer der einander anliegenden Flächen sein. Sie kann aber auch in einer weiteren Anlagefläche vorhanden sein.
  • Eine besonders vorteilhafte Ausgestaltung der Erfindung besteht darin, daß oberhalb der Biegeschablone und koaxial zu deren Drehachse sowie relativ zur Biegeschablone in gleicher Horizontalebene drehbar eine Tragvorrichtung vorteilhaft in Gestalt einer Trägerplatte, angeordnet ist, an deren Umfang oder Bereich des Umfanges eine Vielzahl von Klemmkörpern angebracht sind und diese Klemmkörper von der Trägerplatte in die Ausnehmung der Biegeschablone verschiebbar sind. Diese Lösung hat den Vorteil, daß über dem Umfang der Tragvorrichtung oder Trägerplatte verteilt, eine Vielzahl von Klemmkörpern unterschiedlicher Ausbildung angeordnet werden können. Auch ist die Anordnung dieser Klemmkörper oberhalb der Biegeschablone und Drehung um die Achse der Biegeschablone und relativ zu dieser so kompakt und einfach, daß keine Behinderung beim Biegen eines Rohres oder beim Beschicken der Rohrbiegemaschine oder der Entnahme des Rohres aus der Rohrbiegemaschine stattfindet.
  • Der vorerwähnte Grundvorschlag, oberhalb der Biegeschablone und koaxial relativ zur Biegeschablone drehbar die Klemmkörper anzuordnen, läßt verschiedene Weiterbildungen zur Bewegung der Klemmkörper zu. So besteht ein Vorschlag darin, an der Trägerplatte eine hydraulisch oder pneumatisch betätigte KolbenZylinder-Anordnung vorzusehen, die zumindest einen der Klemmkörper in die Ausnehmung der Biegeschablone einführt und ausführt. Dieser Vorschlag beinhaltet somit, daß mehreren Klemmkörpern eine einzige Kolben-Zylinder-Anordnung zugeordnet sein kann, die einen Klemmkörper aus der Biegeschablone aushebt und dann an der Trägerplatte anhebt oder an dieser befestigt, wobei diese gleiche Kolben-Zylinder-Anordnung anschließend nach vorheriger Drehung der Trägerplatte und entsprechend Positionierung des nächsten zu brauchenden Klemmkörpers oberhalb der Ausnehmung der Biegeschablone in diese Ausnehmung von oben einfährt.
  • Besonders vorteilhaft ist jedoch die Lösung. daß an der Trägerplatte einem jedem Klemmkörper zugeordnet eine hydraulische oder pneumatische Kolben- Zylinder-Anordnung angeordnet ist. Diese Lösung ist vorteilhaft, weil die Kolbenstange dauernd mit dem Klemmkörper verbunden ist und somit ein sicheres und auch schnelles Anheben und Absenken des Klemmkörpers stattfinden kann. In weiterer erfindungsgemäßer Ausgestaltung wird vorgeschlagen, daß zusätzlich zu der vorerwähnten Drehung der Trägerplatte koaxial zur Biegeschablone die Trägerplatte auch parallel zur Biegeschablone in Radialrichtung verschiebbar ist.
  • Durch diese Lösung läßt sich erreichen, daß mit vergleichsweise einfachen Mitteln die Trägerplatte mit dem an diesen befindlichen Klemmkörpern für Biegeschablonen unterschiedlichen Durchmessers anwendbar ist. Diese Lösung gewährleistet auch, daß die Trägerplatte mit den an diesen beweglich angeordneten Klemmkörpern als selbständige Einrichtung nachträglich an bestehende Rohrbiegemaschinen angebracht werden kann.
  • Die Verschiebung der Trägerplatte in Radialrichtung der Biegeschablone kann in der Weise geschehen, daß im Bereich zwischen der Oberseite der Biegeschablone und der Trägerplatte eine Kolben- Zylinder-Anordnung zur Verschiebung der Trägerplatte in Radialrichtung relativ zur Biegeschablone vorhanden ist.
  • Ein weiterer erfindungsgemäßer Vorschlag besteht darin, daß die Trägerplatte in Axialrichtung zur Biegeschablone verschiebbar gelagert ist. Durch diesen Vorschlag wird erreicht, daß die Trägerplatte mit den daran gelagerten Klemmkörpem auch anwendbar ist für eine sogenannte Etagen-Schablone, bei der auf einer unteren Biegeschablone großen Durchmessers eine weitere Biegeschablone kleineren Durchmessers aufgesetzt ist. Diese Axialverschiebung der gesamten Trägerplatte kann in einfacher Weise dadurch erreicht werden, daß an der Oberseite der Biegeschablone eine Kolben-Zylinder-Anordnung zum Anheben der Trägerplatte angeordnet ist.
  • Besonders vorteilhaft ist die Ausbildung, daß die Trägerplatte aus einem U-förmigen Topf besteht, der einen sehr breiten umlaufenden Flansch aufweist und an dem Umfang des Flansches Öffnungen vorhanden sind, durch die Kolbenstangen durchgreifen, deren Kolben in Zylindern oberhalb der Trägerplatte bzw. des Flansches angeordnet sind und wobei die unteren Enden der Kolbenstangen jeweils mit einem zugeordneten Klemmkörper verbunden sind.
  • Die Erfindung ist in der Zeichnung beispielhaft dargestellt. Es zeigen:
    • Fig. 1 eine Rohrbiegemaschine in perspektivischer Darstellung,
    • Fig. 2 ein gebogenes Rohr,
    • Fig. 3 in einem vertikalen Schnitt den Biegetisch mit Biegeschablone und Spannbacke,
    • Fig. 4 in perspektivischer Darstellung die Biegeschablonen mit zwei auswechselbaren Körpern in oberer Neutralstellung,
    • Fig. 5 die Darstellung nach Fig. 4 mit einem in Arbeitsstellung befindlichen Körper mit gekrümmter Klemmfläche,
    • Fig. 6 in vertikalem Schnitt die Biegeschablone mit weiterer Vorrichtung zum Auswechsel, der Spannflächen,
    • Fig. 7 die Darstellung nach Fig. 6 in einer Auswechselstellung,
    • Fig. 8 die Darstellung nach Fig. 6 in Oberansicht,
    • Fig. 9 eine Fig. 6 gegenüber vorgenommene Abwandlung,
    • Fig. 10 eine Vorrichtung mit vielfachen auswechselbaren Klemmflächen,
    • Fig. 11 die Darstellung nach Fig. 10 bei zwei abgelassenen Körpern mit Klemmflächen,
    • Fig. 12 die Darstellung nach Fig. 10 mit einer Horizontalverschiebung der Körper mit Klemmflächen,
    • Fig. 13 in Oberansicht eine weitere Abwandlung,
    • Fig. 14 in Seitenansicht die Darstellung nach Fig. 13.
    • Fig. 15 in Oberansicht eine Trägerplatte mit Klemmkörpern,
    • Fig. 16 die Anordnung nach Fig. 15 entsprechend der dortigen Linie XVI-XVI,
    • Fig. 17 eine weiter Trägerplatte in Oberansicht,
    • Fig. 18 einen vertikalen Schnitt durch die Trägerplatte mit Biegeschablone nach Fig. 17 entsprechend der dortigen Linie XVIII - XVIII,
    • Fig. 19 einen vertikalen Schnitt durch eine Etagenschablone mit Trägerplatte entsprechend der Linie XIX - XIX nach Fig .20,
    • Fig. 20 die Darstellung nach Fig. 19 in Oberansicht,
    • Fig. 21 die Anordnung nach Fig. 19 bei in Radialrichtung verschobener Biegeschablone,
    • Fig. 22 die Darstellung nach Fig. 21 in der Ansicht von oben.
  • Figur 1 zeigt eine herkömmliche Rohrbiegemaschine mit einem Vorschubwagen 10, der auf einer oder mehreren Führungsschienen 11 auf der Oberseite des Maschinengehäuses 12 hin- und hergleiten kann.
  • Der Vorschubwagen 10 hat einen Hohlzylinder 13, in dessen Innern sich eine Spannhülse 14 befindet, in welcher der Endbereich des zu biegenden Rohrstückes bzw. Rohres 15 eingespannt ist. Das Rohrstück 15 ist um eine schwenkbar gelagerte Biegeschablone 16 herumgeführt, welche eine dem Rohrhalbmesser entsprechende Rille 17 für das Rohr hat. An einem Teil des um die Biegeschablone 16 herumgeführten Rohrstückes 15 ist mittels einer Spanneinrichtung 18 eine Spannbacke 19 angedrückt, welcher ebenfalls eine dem Rohrhalbmesser entsprechende Rille als Spannfläche hat und das Rohr 15 an der Biegeschablone 16 festklemmt. Es ist ein Hydraulikzylinder 20 beispielhaft dargestellt, der die Spanneinrichtung 18 der Spannbacke 19 zur Biegeschablone 16 zur Festklemmung des Rohres hin bewegt oder von dieser Schablone entfernt. Die Biegeschablone 16 ist an dem Biegetisch 21 fest angeordnet, während die Spanneinrichtung 18 über den beispielhaft dargestellten Zylinder 20 in angegebener Pfeilrichtung 22 hin- und herverschiebbar ist. Wird die Biegeschablone 16 über den Biegetisch 21 zusammen mit der Spannbacke 19 in Richtung des Pfeiles 23 umgeschwenkt, so erhält das Rohrstück 15 eine Krümmung, welche dem Profil der Biegeschablone 16 entspricht. Während dieses Biegevorganges bleibt der Endteil des Rohrstückes 15 in der Spannhülse 14 des Vorschubwagens 10 eingespannt, um das Rohrstück in allen Lagen sicher zu führen. Damit das zwischen Spannhülse 14 und Biegeschablone 16 freie Rohrstück 15 seitlich nicht ausknicken kann, ist an dieses Rohrstückteil eine Gleitschiene 24 angedrückt, die ebenfalls eine Rille hat, welche dem Rohrhalbmesser entspricht. Die Spannhülse 14 des Vorschubwagens 10 spannt das Rohrstück 15 nicht nur fest ein. sondern wendet es auch um Beträge bis zu 360°, wenn aufeinanderfolgende Rohrbiegungen nach verschiedenen Richtungen gekrümmt werden sollen. Zur Verdrehung der Spannhülse 14 dreht ein hydraulischer Motor eine Schnecke, die mit einem nicht dargestellten mit der Spannhülse 14 in Verbindung stehenden Schneckenrad zusammenwirkt.
  • Fig. 2 zeigt ein Auspuffohr, das mit der biegemaschine herstellbar ist und bei dem sich gebogene Abschnitte bzw. Rohrbögen S 1 und S 2 sowie S 3 und S 4 unmittelbar anschließen. Es sind auch geradlinige Zwischenlängen L 1, L 2 und L 3 vorhanden, die aber bis auf die Länge L 1 nicht vorhanden zu sein brauchen.
  • Fig. 2 zeigt somit ein Rohr, bei dem teils geradlinige Zwischenlängen zwischen biegungen vorhanden sind und teils geradlinige Zwischenlängen zwischen biegungen nicht vorhanden sind. Dieses in Fig. 2 dargestellte Rohr kann bei einer einzigen Entspannung auf der Rohrbiegemaschine gebogen werden. Eine solche Maschine ist beispielhat in Fig.3 dargestellt
  • Nach Fig. 3 ist der biegetisch 21 drehbar um die Achse 25. Diese hat eine untere Welle 26, in der koaxial eine Welle 27 angeordnet ist, die in ihrem oberen bereich einen im Durchmesser erweiterten Teil 28 hat, an dem die Biegeschablone aufliegt. Die Biegeschablone 16 ist an einer Welle 29 gelagert und wird in Verbindung mit einem nicht dargestellten Keil an dieser gegen eine Verdrehung gesichert. Mit 30 ist eine Festspannvorrichtung bezeichnet. Die Spannbacke 19 ist ein auswechselbarer Körper und hat eine Einspannfläche 19a. An der biegeschablone 16 ist ein Körper 31 vorhanden, der eine Einspannfläche 31a hat, die der Einspannfläche 19a der Spannbacke 19 gegenüberliegt.
  • Der Biegetisch der Biegeschablone und der Spannbacke wird gedreht über eine Kette 32. Die Spanneinrichtung 18 mit der Spannbacke 19 wird in angegebener Doppelpfeilrichtung 22 hin- und hergefahren durch die Kolbenstange 33 des Zylinders 20, der über die Welle 34 ortsfest an dem biegetisch 21 befestigt ist und mit einem Kniehebelverschluß 35 und 36 versehen ist. Die bisher beschriebenen Merkmale sind bekannt
  • Die Figuren 4 und 5 zeigen eine Lösung, bei der die Biegeschablone die übliche Höhe hat und dicht oberhalb des Biegetisches angeordnet ist. Dies läßt sich erreichen durch die Maßgabe, daß ebenfalls an der Biegeschablone, und zwar an der Oberseite 47, eine Kolbenstange 38 vorhanden ist, die mit einem Kolben 46 versehen ist, der in dem Zylinder 39 bewegbar ist An dem Außenmantel des Zylinders 39 ist über eine Halterung 48 die Welle 49 vorhander, an deren vorderen Bereich über eine Befestigungsplatte 50 ein Körper 51 mit gekrümmter Klammfläche 51a a und ein anderer Körper 52 mit geradliniger Klemmfläche 52a vorhanden ist. An dem Zylinder 39 ist eine weitere Halterung 53 vorhanden, an der der hydraulische Antriebsmotor 53a befestigt ist, der die Welle 49 in Drehung versetzt und damit den Körper 51 oder den Körper 52 in den nahen Bereich der Oberfläche 47 der Biegeschablone 16 bringt. Sofern dies geschehen ist, wird der Zylinder 39 runtergelassen. Der Kolben 46 hat dann im Zylinder 39 seine obere Position. Fig. 5 zeigt, daß nach vorheriger Drehung der Welle 49 um 180° der Körper 51 mit der gekrümmten Klemmfläche die untere Stellung einnimmt und dann in die Ausnehmung 54 der Biegeschablone 16 eingebracht wurde. Die Ausnehmung hat die beiden Flächen 55 und 56. In der Fläche 55 ist eine vorstehende abgerundete Leiste 57 vorhanden. An derAnlagefläche 58 des Körpers 51, aber auch in gleicher Weise an dem Körper 52 ist eine abgerundete Nut 58b vorhanden. Eine vorstehende Leiste 57 kann auch der Fläche 56 der Beigeschablone 16 zugeordnet sein. Vorhanden ist somit eine Vertikalführung nach Art einer Nut und Feder, die die flächige Anlage des Körpers in der Ausnehmung 54 erhöht.
  • Fig. 6 zeigt, daß der Oberseite 47 der Biegeschablone 16 eine Zylinder 59 angeschraubt ist, dessen Kolbenstange 60 einen quer abstehenden Ausleger 61 hat mit einem horizontalen Drehlager 62 und einem Schwenkarm 63, der an einem Ende den Körper 51 und an dem anderen Ende den Körper 52 hat. Der Arm 62 wird gedreht durch einen Hydromotor 64. Fig. 7 zeigt, daß vor der Drehung um die horizontale Achse 62 die Kolbenstange 60 ausgefahren wird. Fig. 8 zeigt, daß zwei Zylinder 59 und 59a mit zugeordneten Auslegern 61, 61 a an den Kolbenstangen 60 vorhanden sind. Dargestellt ist ebenfalls der Hydromotor 64 und der Arm 61 mit dem in Arbeitsstellung befindlichen Körper 51.
  • Fig 9 zeigt, daß deran der Kolbestange befestigte Arm 60 einen nach unten abgewinkelten Arm 65 hat, an dem die vorerwähnte Drehachse 62 ageordnet ist. Durch diese Lösung wird eine bedeutend geringere Bauhöhe erreicht. Auch nach Fig. 9 wird die Kolbenstange 60 ausgefahren und damit der Körper 61 aus der Ausnehmung der Biegeschablone 16 ausgefahren. Dann erfolgt die Drehung um 180°, die in der einen oder anderen Richtung erfolgen kann.
  • Fig. 10 zeigt Seitenansicht und teilweise im Schnitt eine besonders vorteilhafte Lösung, weil sie mehr als zwei Körper mit zugeordneten Klemmflächen ermöglicht. An der nach oben über die Biegeschablone hinaus verlängerten Welle 29 ist gegen eine Verdrehung durch ein entsprechendes Lager gesichert eine Schiene 65 vorhanden, die zu der Biegeschablone 16 einen ausreichenden Höhenabstand hat. Dieser Höhenabstand ist etwas größer als die Höhe eines Körpers mit zugeordneter Klemmfläche. Die Schiene 65 erstreckt sich in horizontaler Ebene und ist an dem anderen Ende gelagert an einer Konsole 66, die sich an dem Biegetisch 21 abstüzt. An der Schiene 65 sind fahrbar mehrere Zylinder 67, 68, 69 und 70, die mit zugeordneten Kolbenstangen versehen sind und Körper 71 und 72 zum Einsatz in der Biegeschablone 16, und 19, 19b zum Einsatz an der Spanneinrichtung 18 tragen. Die vorgenannten Zylinder sind miteinander durch eine Halterung 73 verbunden, an der über eine Verbindungsplatte 74 die Kolbenstange 75 angelenkt ist, deren Kolben 76 in dem Hydraulikzylinder 77 bewegbar ist, wobei der Zylinder 77 ebenfalls an der Konsole 66 befestigt ist.
  • Fig. 10 zeigt die Lage, daß der Körper 72 in die Biegeschablone 16 und der Körper 19 in die Spanneinrichtung 18 einfahrbar ist. Der engefahrene Zustand ergibt sich aus Fig. 11, weil die Kolbenstangen der Zylinder 68 und 69 ausgefahren sind.
  • Fig. 12 zeigt, daß die Körper 71 und 19b in die Ausgangsstellung zum Einfahren geschoben sind durch Einfahren des Kolbens 76 in den Zylinder 77.
  • Fig. 13 zeigt die Weiterbildung der in Fig. 10 dargestellten Lösung mit der Maßgabe, daß an dem Kopfende der Welle 29 als Drehachse des Biegetisches 21 mit der Biegeschablone eine Quertraverse 78 angeordnet ist, die an dem einen Ende eine Schiene 65 und an dem anderen Ende eine Schiene 65a trägt, die wie zu Fig. 10 beschrieben, an der Konsole 66 befestigt sind. An den vorerwähnten Schienen 65, 65a ist über vier Gleitlager 78a, 78b 78c und 78d verfahrbar ein Wagen 79 und zwar über den an der Konsole 66 befestigten Zylinder 20 (im Prinzip dargestellt in Fig. 1), dessen Kolbenstange an einem Querbalken 80 des Wagens 79 befestigt ist, damit ein Anpressen des Klemmbackens unter Zwischenschaltung des Rohres an die Biegeschablone 16 stattfindet.
  • DerWagen 79 hat einen weiteren Querbalken 81, an dem zwei Schienen 82 und 82a befestigt sind, die über vier Gleitlager 83 einen weiteren Wagen 84 tragen, an dem die Zylinder 69 und 70 nach Fig. 10 angeordnet sind, deren zugeordnete Kolbenstangen die Körper mit Klemmflächen tragen, die an die Spanneinrichtung 18 angebracht und damit den Klemmbacken 19 bzw. 19a bilden. Die Bewegung in horizontaler Ebene erfolgt durch den in Fig. 10 beschriebenen Zylinder 77, dessen Kolbenstange 76 mit dem Wagen 84 verbunden ist.
  • Es sei bemerkt, daß der zu Fig. 13 dargestellte Hydraulikzylinder mit Kolbenstange auch der in Fig. 3 dargestellte Kolbenzylinder 20 mit der Kolbenstange 33 sein kann, der über einen Kniehebelverschluß die Spanneinrichtung 18 in Richtung zur Biegeschablone und von dieser weg verschiebt.
  • Fig. 14 zeigt die Körper 19 und 19b mit ihren zugeordneten Spannflächen unterschiedlicher Raumform. Die Zylinder 69 und 70 sind an dem Wagen 84 befestigt, der mit seinen Lagern 83, 83a an der Schiene 82 fahrbar und über den Kolben 77 mit der Kolbenstange 76 mit dem Wagen 84 verbunden ist. Fig. 14 zeigt ebenfalls die an der Welle 29 befestigte Schiene 65, die Schienen 82 und 82a und den Wagen 84, der in der vorbeschriebenen Weise durch den Zylinder 77 mit dessen Kolben 76 bewegbar ist. Auch der Wagen 79 wird über den Spannzylinder 20 betätigt, so daßn weil dieser zunächst auf die Spanneinrichtung einwirkt, der Körper 19 mit seiner zugeordneten Klemmfläche oder aber der Körper 19a mit seiner zugeordneten Klemmfläche mit der zum Biegen notwendigen Kraft in Richtung zur Biegeschablone verschoben und das Rohr an der Biegeschablone festklemmt.
  • Fig. 15 zeigt die Biegeschablone 16 in derAnsicht von oben. Oberhalb dieser ist die quadratische Trägerplatte 85 angeordnet, die einer jeden Seite zugeordnet, Klemmkörper 86, 86a, 86b und 86c hat. Die Trägerplatte hat zur Halterung der vorerwähnten Klemmkörper in Fig. 16 zugeordnete Führungen 87 mit einem Keil 57a, wie er auch als Keil 57 in Fig. 4 dargestellt ist. Fig. 16 zeigt die Ausnehmung 54 in der Biegeschablone 16, in der ebenfalls in Verlängerung des vorerwähnten Keiles 57a der Keil 57 vorhanden ist.
  • Nach den Figuren 15 und 16 wird die Biegeschablone 16 zusammen mit dem Biegetisch 21 über die Welle 26, wie das zu Fig. 3 im einzelnen beschrieben worden ist, gedreht. Die Trägerplatte ist en dem oberen Ende der Antriebswelle 26 befestigt. Die Drehung der Trägerplatte um die Achse 26 der Biegeschablone erfolgt durch einen Hydromotor 87. Das bedeutet, daß die Trägerplatte einen ihr zugeordneten Drehantrieb hat, der sie um die Achse der Biegeschablone dreht, damit nacheinander die Klemmkörper 86a, 86b oder 86c zunächst in eine Stellung oberhalb der Ausnehmung 54 der Biegeschablone gelangen und dann nach unten in diese Ausnehmung eingefahren werden. Das kann geschehen durch einen Hubzylinder 88, an dessen Kolbenstange 89 der Ausleger 90 vorhanden ist, der mit einer Befestigungsstange 91 Verbindung mit einer Kupplung 92 den Klemmkörper 86 erfaßt und diesen in vertikaler Richtung bewegt.
  • Besonders vorteilhaft ist jedoch die in Fig. 17 dargestellte Lösung, daß jedem Klemmkörper 86, 86a, 86b und 86c zugeordnet eine Kolben-Zylinder-Anordnung 93, 93a, 93b und 93c vorhander ist. Diese Lösung hat den Vorteil, daß die vorerwäh nten Klemmkörper stets an der Stange 91 befestigt bleiben und diese Befestigung zugleich die Halterung an der Trägerplatte ist. Dadurch ist ein schneller Wechsel der Klemmkörper möglich.
  • Nach Fig. 18 wird die Trägerplatte, sobald ihre Klemmkörper alle angehoben sind, durch eine innerhalb der Antriebswelle 26 der Biegeschablone angeordnete Welle 94 mit einem Zahnkranz 95, an dem eine in der Zeichnung nicht dargestellte Antriebskette eines Drehmotors eingreift, gedreht. Es ist jedoch auch möglich, daß die Trägerplatte 85 derAusbildung nach den Figuren 17 und 18 einen zugeordneten Drehmotor an der Trägerplatte 85 hat, der diese relativ zur Biegeschablone dreht, damit die eine oder andere der vorerwähnten Klemmkörper in die Position oberhalb der Ausnehmung 54 der Biegeschablone gelangt. Ein solcher Drehmotor kann ein Hydraulikmotor sein. Möglich ist aber auch ein Elektromotor. Die Lösung, die Antriebe zum Anheden und Absenken der Klemmkörper und dem Drehen der Trägerplatte an der Trägerplatte anzuordnen, ist vorteilhaft, weil diese Lösung auf einfache Weise das nachträgliche Bestücken einer Rohrbiegemaschine mit dieser Lösung oberhalb der Biegeschablone ermöglicht.
  • Fig. 19 ziegt die Lösung, daß die Trägerplatte radial zur Biegeschablone verschiebbar ist. Dazu ist oberhalb der Biegeschablone 16 eine sich in Radialrichtung erstreckende Führung 96 vorhanden. Nach dem Ausführungsbeispiel in Fig. 19 ist sie an der Drehachse 94 angeordnet. Sie kann aber auch, sofern wie vorerwähnt, der Drehantrieb an der Trägerplatte 85 angeordnet ist, unmittelbar an der Oberseite der Biegeschablone 16 befestigt sein. An der Schiene 96 ist der Schlitten 97 verschiebbar. Dies geschieht durch einen an der Schiene 96 über eine Halterung 98 befestigten Zylinder 99, dessen Kolbenstange 100 an einer Halterung 101 des Schlittens 87 befestigt ist.
  • Nach Fig. 19 ist die Trägerplatte 85 nach Art eines Topfes ausgebildet. Sie hat den breiten umlaufenden Flansch 102, an dem die Kolben-Zylinder-Anordnungen 93, 93a, 93b und 93c angeordnet sind, wobei, wie zu Fig. 16 beschrieben, an einer zugeordneten Kolbenstange 91 jeweils ein Klemmkörper 86 befestigt ist. An der Unterseite des Topfes 102 ist befestigt die Kolbenstange 104 des Zylinders 105 der die gesamte Trägerplatte 85 anhebt und absenkt. Fig 19 zeigt die angehobene Stellung der Trägerplatte mit der Maßgabe, daß die vorerwähnten Klemmkörper 86, 86a usw. durch die ihnen zugeordneten Hydraulikzylinder 93 mit den Kolbenstangen 91 die obere Biegeschablone 16 bestücken. Soll jedoch, wie in Fig. 21 dargestellt, die untere Biegeschablone 16a, die einen größeren Durchmesser aufweist, mit den Klemmkörper bestückt werden, dann wird die Kolbenstange 104 eingeführt und entsprechend die Trägerplatte 85 abgesenkt mit der Maßgabe, daß der Klemmkörper 86 bei ausgefahrener Kolbenstange 91 in die Ausnehmung 54a der unteren Biegeschablone 16a gefahren werden kann. Die infolge des größeren Durchmessers der unteren Biegeschablone 16a notwendige Radialverschiebung wird durch die Kolben-Zylinder-Anordnung 99, 100 bewirkt.

Claims (16)

1. Rohrbiegemaschine mit einem das Rohr transportierenden Vorschubwagen (10) und einem an einer Achse schwenkbaren Biegetisch (21), der eine Biegeschablone (16) und eine dieser gegenüberliegende und zur Biegeschablone hin- und herverschiebbare, mit der Biegeschablone mitgedrehte Spanneinrichtung (18) aufweist, wobei die Biegeschablone (16) mit einem Klemmbacken und die Spanneinrichtung (18) mit einem Gegenklemmbacken versehen ist, die den einzuspannenden Rohrabschnitten angepaßte, jeweils einander zugeordnete Klemmflächen aufweisen, die jeweils räumlich voneinander getrennt und in Arbeitsstellung bringbar sind, an der Biegeschablone (16) und/oder Spanneinrichtung (18) eine Anlagefläche, insbesondere Ausnehmung (54), zur auswechselbaren Aufnahme des Klemmbackens bzw. Gegenklemm- backens in Ausrichtung mit einer Biegerille (17) vorhanden ist, der Klemmbacken der Biegeschablone (16) mit einem zugeordneten Kolben-Zylinder-Antrieb versehen ist, der an der Biegeschablone befestigt ist und/oder der Gegenklemmbacken der Spanneinrichtung (18) mit einem zugeordneten Kolben-Zylinder-Antrieb versehen ist, der an der Spanneinrichtung (18) befestigt ist, und die Biegeschablone (16) mit dem Klemmbacken bzw. die Spanneinrichtung (18) mit dem Gegenklemmbacken mit einer jeweils zugeordneten Führung versehen ist, und der jeweils zugeordnete Kolben-Zylinder-Antrieb den Klemmbacken bzw. Gegenklemmbacken mit einer Vertikalbewegung in die Ausnehmung (54) einfährt oder aus dieser ausfährt, und an die Stelle des einen Klemm- bzw. Gegenklemmbackens ein anderer Klemm- bzw. Gegenklemmbacken mit einer Klemmfläche anderer Ausbildung durch Ein- und Ausfahren in Ausrichtung mit der Biegerille bringbar ist, dadurch gekennzeichnet daß die Klemmbacken (51,52) an einer über der Biegeschablone (16) bzw. der Spanneinrichtung (18) um eine horizontale Drehachse schwenkbaren oder horizontal bewegbaren Tragvorrichtung angebracht sind und daß der Kolben-Zylinder-Antrieb den in der Ausnehmung (54) befindlichen Klemmbacken (51,52) aus der Ausnehmung (54) heraushebt und die Tragvorrichtung diesen Klemmbacken im angehobenen Zustand, durch Schwenken oder horizontales Bewegen gegen einen anderen Klemmbacken austauscht, derauschließend in die Ausnehmung abgesenkt wird.
2. Rohrbiegemaschine nach Anspruch 1, dadurch gekennzeichnet, daß die Drehachse der Tragvorrichtung eine an dem Zylinder (39) des Kolben-Zylinder-Antriebs angeordnete sich in horizontaler Ebene erstreckende Welle (49) ist, an deren einem Ende die nebeneinanderliegenden und miteinander verbundenen Klemmbacken (51,52) mit den Klemmflächen (51a,52a) angeordnet sind, wobei die Welle (49) durch einen zugeordneten Motor (53a), insbesondere Hydromotor, so drehbar ist, daß nach entsprechender Drehung der Welle (49) und der Bewegung des Zylinders (39) an der Kolbenstange (38) der eine Klemmbacken (51) oder der andere Klemmbacken (52) in die Ausnehmung (54) der Biegeschablone (16) einbringbar und in Arbeitsstellung dort angeordnet ist.
3. Rohrbiegemaschine nach Anspruch 1, dadurch gekennzeichnet, daß an der Biegeschablone (16) und/oder der Spanneinrichtung (18) in vertikaler Erstreckung ein hydraulischer Zylinder (59) des Kolben-Zylinder-Antriebs befestigt ist, dessen Kolbenstange (60) an dem oberen Ende die horizontale Drehachse (62) für einen Schwenkarm (63) aufweist, der an dem einen Ende einen ersten Klemmbacken (51) mit der einen Klemmfläche (51a) und an dem anderen Ende einen zweiten Klemmbacken (52) mit der anderen Klemmfläche (52a) aufweist und durch Drehung der beiden Klemmbacken (51,52) um die horizontale Drehachse (62) und Anheben sowie Absenken der Kolbenstange (60) und damit des Schwenkarmes (63) der erste oder der zweite Klemmbacken (51,52) in die Ausnehmung (54) der Biegeschablone (16) einbringbar und in Arbeitsstellung dort angeordnet ist.
4. Rohrbiegemaschine nach Anspruch 3, dadurch gekennzeichnet, daß an dem oberen Ende der Kolbenstange (60) ein horizontaler Ausleger (61) angeordnet ist, der an seinem vorderen Ende eine nach unten gerichtete Verlängerung (65) aufweist und im Bereich des unteren Endes dieser Verlängerung die horizontale Drehachse (62) angeordnet ist.
5. Rohrbiegemaschine nach Anspruch 1, dadurch gekennzeichnet, daß in einem Bereich oberhalb der Biegeschlabone (16) und/oder der Span neinrichtung (18) eine horizontale Schiene (65) vorhanden ist, an der mehrere hydraulische Zylinder (67,68,69,70) zum Anheben und Absenken der Klemmbacken (19,19b,71,72) verfahrbar sind, wobei jeder Zylinder an seiner in vertikaler Erstreckung nach unten weisenden Kolbenstange einen Klemmbacken (19,19b,71,72) mit Klemmfläche hat und durch eine Bewegung in horizontaler Erstreckung und in vertikaler Erstreckung wahlweise der eine Klemmbacken mit seiner Klemmfläche oder der andere Klemmbacken mit seiner anderen Klemmfläche in die Ausnehmung (54) der Biegeschablone (16) bzw. der Spanneinrichtung einbringbar und in Arbeitsstellung dort angeordnet ist.
6. Rohrbiegemaschine nach Anspruch 5, dadurch gekennzeichnet, daß die Drehachse (29) der Biegeschablone (16) nach oben über die Biegeschablone hinaus verlängert ist und an dem oberen Ende dieser Verlängerung die in horizontaler Erstreckung verlaufende Schiene (65) angeordnet ist, die an einem Gegenlager (66) am Biegetisch (21) gelagert ist und an dieser Schiene (65) eine Halterung (73) verfahrbar ist, an dem in Radialrichtung der Biegeschablone hintereinander die hydraulischen Zylinder (67,68,69,70) angeordnet sind, deren nach unten weisende Kolbenstangen an ihren vorderen unteren Enden jeweils einen Klemmbacken (71,72, 19b,19) mit Klemmfläche tragen und durch Verfahren der Klemmbacken in horizontaler Ebene und Absenken sowie Anheben in vertikaler Ebene der eine oder andere Klemmbacken in die Ausnehmung (54) der Biegeschablone (16) bzw. der Spanneinrichtung (18) einbringbar und in Arbeitsstellung dort angeordnet ist.
7. Rohrbiegemaschine nach Anspruch 6, dadurch gekennzeichnet, daß an der nach oben verlängerten Drehachse (29) der Biegeschablone (16) eine Quertraverse (78) gelagert ist, der an seinen beiden Enden jeweils eine Schiene (65,65a) trägt, deren anderes Ende von dem Gegenlager (66) am Biegetisch (21) getragen ist und an diesen beiden Schienen (65,65a) ein Wagen (80,81) verfahrbar ist, weiterhin der so verfahrbare Wagen mit einer Führung (82,82a) versehen ist, an der zumindest zwei in Radialrichtung der Biegeschablone hintereinander angeordnete Zylinder (69,70) verfahrbar sind, deren nach unten weisende Kolbenstangen die Klemmbacken (19,19b) mit den Klemmflächen tragen.
8. Rohrbiegemaschine nach einem der Ansprüche 1-7, dadurch gekennzeichnet, daß in der Ausnehmung (54) der Biegeschablone (16) und an den Klemmbacken (51,52) an einer der in der Arbeitsstellung einander anliegenden Flächen (55,58) eine Führung (57,59) in Gestalt einer Nut- und Federausbildung vorhanden ist.
9. Rohrbiegemaschine nach Anspruch 1, dadurch gekennzeichnet, daß oberhalb der Biegeschablone (16) und koaxial zu deren Drehachse (26) sowie relativ zur Biegeschablone in gleicher Horizontalebene die Tragvorrichtung, vorteilhaft in Gestalt einer Trägerplatte (85), drehbar angeordnet ist, an deren Bereich des Umfanges eine Vielzahl von Klemmbacken (86,86a usw.) angebracht sind und diese Klemmbacken von der Trägerplatte in die Ausnehmung (54) der Biegeschablone (16) verschiebbar sind.
10. Rohrbiegemaschine nach Anspruch 9, dadurch gekennzeichnet, daß an der Trägerplatte (85) eine hydraulisch oder pneumatisch betätigte Kotben-Zylinder-Anordnung (88,89,90,91) vorhanden ist, die zumindest einen der Klemmbacken (86) in die Ausnehmung (54) der Biegeschablone (16) einführt und ausfährt.
11. Rohrbiegemaschine nach Anspruch 9, dadurch gekennzeichnet, daß an der Trägerplatte (85) für jeden Klemmbacken (86) eine hydraulische oder pneumatische Kolben-Zylinder-Anordnung (93) vorhanden ist.
12. Rohrbiegemaschine nach Anspruch 9, dadurch gekennzeichnet, daß die Trägerplatte (85) parallel zur Biegeschablone (16) relativ zu dieser in Radialrichtung verschiebbar ist.
13. Rohrbiegemaschine nach Anspruch 12, dadurch gekennzeichnet, daß im Bereich zwischen der Oberseite der Biegeschablone (16) und der Trägerplatte (85) eine Kolben-Zylinder-Anordnung (99,100) zur Verschiebung der Trägerplatte (85) in Radialrichtung retativ zur Biegeschablone oder an der Biegeschablone (16) vorhanden ist.
14. Rohrbiegemaschine nach Anspruch 9 und einem oder mehreren der Ansprüche 10-13, dadurch gekennzeichnet, daß die Trägerplatte (85) in Axialrichtung zur Biegeschablone verschiebbar gelagert ist.
15. Rohrbiegemaschine nach Anspruch 14, dadurch gekennzeichnet, daß an der Oberseite der Biegeschablone (16) eine Kolben-Zylinder-Anordnung (104,105) zum Anheben der Trägerplatte (85) angeordnet ist.
16. Rohrbiegemaschine nach Anspruch 15, dadurch gekennzeichnet, daß die Trägerplatte (85) aus einem U-förmigen Topf (102) besteht, der einen sehr breiten umlaufenden Flansch (103) aufweist und an dem Umfang des Flansches Öffnungen vorhanden sind, durch die Kolbenstangen (91) durchgreifen, deren Kolben in Zylinder (93) oberhalb der Trägerplatte bzw. des Flansches (103) angeordnet sind und wobei die unteren Enden der Kolbenstangen (91) jeweils mit einem zugeordneten Klemmbacken (86) verbunden sind.
EP84102164A 1983-03-26 1984-03-01 Rohrbiegemaschine Expired - Lifetime EP0120336B2 (de)

Applications Claiming Priority (2)

Application Number Priority Date Filing Date Title
DE3311148 1983-03-26
DE3311148 1983-03-26

Publications (3)

Publication Number Publication Date
EP0120336A1 EP0120336A1 (de) 1984-10-03
EP0120336B1 EP0120336B1 (de) 1988-06-08
EP0120336B2 true EP0120336B2 (de) 1991-10-09

Family

ID=6194815

Family Applications (1)

Application Number Title Priority Date Filing Date
EP84102164A Expired - Lifetime EP0120336B2 (de) 1983-03-26 1984-03-01 Rohrbiegemaschine

Country Status (4)

Country Link
US (1) US4567745A (de)
EP (1) EP0120336B2 (de)
CA (1) CA1211032A (de)
DE (1) DE3471892D1 (de)

Cited By (1)

* Cited by examiner, † Cited by third party
Publication number Priority date Publication date Assignee Title
US11440069B2 (en) 2013-11-15 2022-09-13 Greenlee Tools, Inc. Bender having a sensor configured to sense a workpiece

Families Citing this family (10)

* Cited by examiner, † Cited by third party
Publication number Priority date Publication date Assignee Title
DE3516923A1 (de) * 1985-05-10 1986-11-13 Rigobert Dipl.-Ing. 5000 Köln Schwarze Rohrbiegemaschine
GB8519627D0 (en) * 1985-08-05 1985-09-11 Integrated Production Machines Pipe bending machine
FR2624038A1 (fr) * 1987-12-02 1989-06-09 Snecma Outillage de cintrage de canalisations et procede de fabrication d'une canalisation a embout soude
DE19530805A1 (de) * 1995-08-22 1997-02-27 Schwarze Rigobert CNC-gesteuerte Rohrbiegemaschine
FR2774317B1 (fr) * 1998-01-30 2000-04-07 Silfax Machine a cintrer les tubes et son dispositif a barillet
FR2783447B1 (fr) 1998-09-22 2000-12-01 Silfax Dispositif prehenseur pour le changement des outils de cintrage sur une machine a cintrer les tubes
US10150154B2 (en) 2013-11-14 2018-12-11 Robert Kyle Hughes, JR. Tube bending machine with reversible clamp assembly
ITUA20161931A1 (it) * 2016-03-23 2017-09-23 Crippa Spa Dispositivo per la curvatura di un materiale filiforme
CN112496107B (zh) * 2020-11-28 2022-03-22 青岛船用锅炉厂有限公司 一种锅炉蛇形管弯曲成型加工系统
IT202000030371A1 (it) * 2020-12-10 2022-06-10 Cte Sistemi Srl Procedimento per ricavare una curva tridimensionale in un prodotto tubolare, e procedimento per la fabbricazione di prodotti tubolari a curvatura complessa

Family Cites Families (12)

* Cited by examiner, † Cited by third party
Publication number Priority date Publication date Assignee Title
DE825279C (de) * 1949-02-09 1951-12-17 Mix & Genest A G Waehler zur Herstellung elektrischer Verbindungen
US3147792A (en) * 1961-09-25 1964-09-08 Charles F Hautau Tube and bar bending machinery
DE1962590A1 (de) * 1969-12-13 1971-06-24 Hilgers Maschinen U App Bauans Rohrbiegemaschine
DE2101162A1 (de) * 1971-01-12 1972-07-20 J. Banning Ag, 4700 Hamm Rohrbiegemaschine
DE2537382A1 (de) * 1975-08-22 1977-03-03 Babcock Ag Vorrichtung zum biegen von rohren
DE2626202C2 (de) 1976-06-11 1992-10-29 Rigobert Dipl.-Ing. 5000 Köln Schwarze Rohrbiegemaschine
DE2711340C3 (de) 1977-03-16 1986-11-13 Lang, Thomas Peter, Dipl.-Wirtsch.-Ing., 6120 Michelstadt Vorrichtung zum Kaltbiegen von Strangmaterial
US4085608A (en) * 1977-05-02 1978-04-25 Burr Oak Tool & Gauge Company Return elbow and crossover bender
DE2746721C3 (de) * 1977-10-18 1981-03-19 Schwarze, Rigobert, Dipl.-Ing., 5000 Köln Rohrbiegemaschine
DD136582A1 (de) * 1978-05-11 1979-07-18 Erika Kirmse Rohrbiegevorrichtung
DE3033300A1 (de) * 1980-09-04 1982-04-01 Rigobert Dipl.-Ing. 5000 Köln Schwarze Rohrbiegemaschine
US4495788A (en) * 1982-08-02 1985-01-29 Eaton-Leonard Corporation Multiple curvature bender

Cited By (1)

* Cited by examiner, † Cited by third party
Publication number Priority date Publication date Assignee Title
US11440069B2 (en) 2013-11-15 2022-09-13 Greenlee Tools, Inc. Bender having a sensor configured to sense a workpiece

Also Published As

Publication number Publication date
EP0120336B1 (de) 1988-06-08
DE3471892D1 (en) 1988-07-14
US4567745A (en) 1986-02-04
EP0120336A1 (de) 1984-10-03
CA1211032A (en) 1986-09-09

Similar Documents

Publication Publication Date Title
EP0226167B1 (de) Verfahren zum Biegen von strangförmigem Material sowie Biegemaschine zur Durchführung dieses Verfahrens
DE2626202C2 (de) Rohrbiegemaschine
EP0039322B1 (de) Vorrichtung zum Abkanten von Blechtafeln
EP0108193B2 (de) Rohrbiegemaschine
EP0245623B1 (de) Rohrbiegemaschine
DE3033300C2 (de)
DE2746721C3 (de) Rohrbiegemaschine
DE3149557C2 (de)
EP0120336B2 (de) Rohrbiegemaschine
DE3016047C2 (de)
DE2232834A1 (de) Maschine zum automatischen abschneiden von rohrstuecken von einem kontinuierlich vorbewegten rohr
DE102009024406B4 (de) Rotationsbiegewerkzeug mit Exzenterklemmung
EP0257182B1 (de) Rohrbiegemaschine
EP0200979B1 (de) Rohrbiegemaschine
DE69509936T2 (de) Blechbiegemaschine
DE3407499A1 (de) Rohrbiegemaschine
EP1101869B1 (de) Schwellengreifer
EP0463132B1 (de) Biegemaschine zum biegen von stabförmigem material
DE2927753A1 (de) Vorrichtung zum beschicken und entladen einer rohrbiegemaschine
DE2201791C3 (de) Einspann- und Richtvorrichtung für aus Blechen gepreßte, vorzugsweise konische, schlitzrohrartige Masten o.dgl. bei einer Rohrschweißvorrichtung
DE3206423A1 (de) Karussellstufenpresse
DE8309108U1 (de) Rohrbiegemaschine
DE2910874C2 (de) Einlegegerät
DE2314278B2 (de) Rammvorrichtung zum Einrammen von Rammgut
DE2334436A1 (de) Vier-walzen-blechbiegemaschine

Legal Events

Date Code Title Description
PUAI Public reference made under article 153(3) epc to a published international application that has entered the european phase

Free format text: ORIGINAL CODE: 0009012

AK Designated contracting states

Designated state(s): DE FR GB NL SE

17P Request for examination filed

Effective date: 19841219

17Q First examination report despatched

Effective date: 19860306

GRAA (expected) grant

Free format text: ORIGINAL CODE: 0009210

AK Designated contracting states

Kind code of ref document: B1

Designated state(s): DE FR GB NL SE

REF Corresponds to:

Ref document number: 3471892

Country of ref document: DE

Date of ref document: 19880714

GBT Gb: translation of ep patent filed (gb section 77(6)(a)/1977)
ET Fr: translation filed
PLBI Opposition filed

Free format text: ORIGINAL CODE: 0009260

26 Opposition filed

Opponent name: LANG MASCHINENBAU GMBH U. CO. KG

Effective date: 19890308

NLR1 Nl: opposition has been filed with the epo

Opponent name: LANG MASCHINENBAU GMBH U. CO. KG

PUAH Patent maintained in amended form

Free format text: ORIGINAL CODE: 0009272

STAA Information on the status of an ep patent application or granted ep patent

Free format text: STATUS: PATENT MAINTAINED AS AMENDED

27A Patent maintained in amended form

Effective date: 19911009

AK Designated contracting states

Kind code of ref document: B2

Designated state(s): DE FR GB NL SE

NLR2 Nl: decision of opposition
ET3 Fr: translation filed ** decision concerning opposition
GBTA Gb: translation of amended ep patent filed (gb section 77(6)(b)/1977)
NLR3 Nl: receipt of modified translations in the netherlands language after an opposition procedure
EAL Se: european patent in force in sweden

Ref document number: 84102164.5

REG Reference to a national code

Ref country code: GB

Ref legal event code: IF02

PGFP Annual fee paid to national office [announced via postgrant information from national office to epo]

Ref country code: GB

Payment date: 20030218

Year of fee payment: 20

PGFP Annual fee paid to national office [announced via postgrant information from national office to epo]

Ref country code: NL

Payment date: 20030317

Year of fee payment: 20

PGFP Annual fee paid to national office [announced via postgrant information from national office to epo]

Ref country code: FR

Payment date: 20030318

Year of fee payment: 20

PGFP Annual fee paid to national office [announced via postgrant information from national office to epo]

Ref country code: SE

Payment date: 20030324

Year of fee payment: 20

PGFP Annual fee paid to national office [announced via postgrant information from national office to epo]

Ref country code: DE

Payment date: 20030429

Year of fee payment: 20

PG25 Lapsed in a contracting state [announced via postgrant information from national office to epo]

Ref country code: NL

Free format text: LAPSE BECAUSE OF EXPIRATION OF PROTECTION

Effective date: 20040229

Ref country code: GB

Free format text: LAPSE BECAUSE OF EXPIRATION OF PROTECTION

Effective date: 20040229

REG Reference to a national code

Ref country code: GB

Ref legal event code: PE20

NLV7 Nl: ceased due to reaching the maximum lifetime of a patent

Effective date: 20040229

EUG Se: european patent has lapsed