EP0100403B1 - Vorrichtung zum Paraffinieren eines Fadens mit Hilfe eines Paraffinkörpers - Google Patents

Vorrichtung zum Paraffinieren eines Fadens mit Hilfe eines Paraffinkörpers Download PDF

Info

Publication number
EP0100403B1
EP0100403B1 EP83104619A EP83104619A EP0100403B1 EP 0100403 B1 EP0100403 B1 EP 0100403B1 EP 83104619 A EP83104619 A EP 83104619A EP 83104619 A EP83104619 A EP 83104619A EP 0100403 B1 EP0100403 B1 EP 0100403B1
Authority
EP
European Patent Office
Prior art keywords
thread
paraffin body
paraffin
solid paraffin
stop rail
Prior art date
Legal status (The legal status is an assumption and is not a legal conclusion. Google has not performed a legal analysis and makes no representation as to the accuracy of the status listed.)
Expired
Application number
EP83104619A
Other languages
English (en)
French (fr)
Other versions
EP0100403A1 (de
Inventor
Hans Dipl.-Ing. Landwehrkamp
Current Assignee (The listed assignees may be inaccurate. Google has not performed a legal analysis and makes no representation or warranty as to the accuracy of the list.)
Rieter Ingolstadt GmbH
Original Assignee
Schubert und Salzer Maschinenfabrik AG
Priority date (The priority date is an assumption and is not a legal conclusion. Google has not performed a legal analysis and makes no representation as to the accuracy of the date listed.)
Filing date
Publication date
Family has litigation
First worldwide family litigation filed litigation Critical https://patents.darts-ip.com/?family=6169802&utm_source=google_patent&utm_medium=platform_link&utm_campaign=public_patent_search&patent=EP0100403(B1) "Global patent litigation dataset” by Darts-ip is licensed under a Creative Commons Attribution 4.0 International License.
Application filed by Schubert und Salzer Maschinenfabrik AG filed Critical Schubert und Salzer Maschinenfabrik AG
Publication of EP0100403A1 publication Critical patent/EP0100403A1/de
Application granted granted Critical
Publication of EP0100403B1 publication Critical patent/EP0100403B1/de
Expired legal-status Critical Current

Links

Images

Classifications

    • BPERFORMING OPERATIONS; TRANSPORTING
    • B65CONVEYING; PACKING; STORING; HANDLING THIN OR FILAMENTARY MATERIAL
    • B65HHANDLING THIN OR FILAMENTARY MATERIAL, e.g. SHEETS, WEBS, CABLES
    • B65H71/00Moistening, sizing, oiling, waxing, colouring or drying filamentary material as additional measures during package formation
    • B65H71/005Oiling, waxing by applying solid wax cake during spooling
    • BPERFORMING OPERATIONS; TRANSPORTING
    • B65CONVEYING; PACKING; STORING; HANDLING THIN OR FILAMENTARY MATERIAL
    • B65HHANDLING THIN OR FILAMENTARY MATERIAL, e.g. SHEETS, WEBS, CABLES
    • B65H2701/00Handled material; Storage means
    • B65H2701/30Handled filamentary material
    • B65H2701/31Textiles threads or artificial strands of filaments

Definitions

  • the present invention relates to a device for paraffin waxing a thread on spinning or winding machines with the aid of a paraffin body which resiliently rests against the thread path and at least one on a polygonal bolt which can be driven in rotation and whose axis is essentially perpendicular to the thread path between a delivery point and a winding device Stop rail is slidably mounted.
  • a stop is arranged on one or both sides of the thread area on the end face of the paraffin body.
  • the traversing angle is very limited by the stop or stops arranged to the side of the traversing area. If the thread is exceeded, the traverse reaches the area of the trapping or stops and thus impairs the paraffinizing process.
  • the paraffin body is supported only over a partial length by the polygonal bolt which supports and drives it, so that it is reliably excluded that the polygonal bolt protrudes beyond the end face of the paraffin body and comes into contact with the yarn. Due to the own weight of the paraffin body, a tilting moment results, by which in particular a large paraffin body lowers with its side facing the yarn. The inner polygonal guide in the paraffin body is knocked out, so that the tilting movement becomes ever greater and the entrainment of the paraffin body by the polygonal bolt becomes worse and worse. In addition, this tilting moment is usually amplified by the stop or stops, which attack the bottom half of the face of the paraffin body during the most common thread movement from bottom to top.
  • the object of the invention is therefore to design a paraffinizing device of the type mentioned at the outset in such a way that a uniform paraffinizing of the thread is ensured, in particular even in the case of large paraffin bodies.
  • the stop rail extends transversely to the thread running direction and is arranged on the half of the face of the paraffin body facing away from the thread system side.
  • the measure that the stop rail extends transversely to the thread running direction is prevented with certainty that the thread can temporarily adhere to the stop during its traversing movement, so that a consequent uneven application of paraffin on the thread is excluded. Since a hold of the thread by the stop is impossible due to its orientation, a single removal in the edge region of the front side while simultaneously leaving the central region of the front side of the paraffin body to stand cannot occur; In contrast, a uniform removal of the paraffin body is ensured over the entire surface of its face.
  • the stop acts on the upper half of the paraffin body facing away from the thread system side, a counter torque is generated to the tilting moment generated by the dead weight. This counteracts a deflection of the drive guide of the paraffin body.
  • the stop rail has a widened area that extends to the edge of the paraffin body. This widening increases the contact surface of the stop rail on that side of the thread run on which the thread is not in contact with the paraffin body anyway, and causes gentle sliding on the rotating paraffin body.
  • the widening projects beyond the paraffin body on its circumference, so that the paraffin body can never come into contact with the outer edge of the stop rail.
  • the areal widening is inclined towards the peripheral edge of the paraffin body.
  • the stop rail is rounded on its side facing the polygonal bolt against the paraffin body. This slightly convex curvature causes the widening to lie flat on the paraffin body, but on the other hand, when the paraffin body rotates, no sharp edge of the stop rail can cut into the paraffin body, so that the contact between the paraffin body and the stop rail takes place extremely gently.
  • a thread tension compensation bracket is provided, which is also designed as a stop rail, so that a separate thread tension compensation bracket is not required.
  • a thread guide is arranged below the paraffin body and the stop rail is designed such that the thread lies essentially only on the lower half of the paraffin body on its end face.
  • the stop rail is advantageously adjustable parallel to the longitudinal axis of the paraffin body. As a result, the deflection angle of the yarn on the paraffin body is changed, which also changes the contact pressure of the yarn fixed in its barrel.
  • the stop rail can expediently be pivoted away from the area in front of the front side of the paraffin body, the stop rail advantageously having a thread catcher in order to remove the thread that is still running from the area in front of the end face of the paraffin body.
  • the stop rail is assigned an elastic element by which it is pressed against the end face of the paraffin body. Accessibility to the paraffin body can also be improved in this way by simply folding away.
  • the paraffin body is supported on a plate that can be tilted along the polygonal bolt, for which purpose the plate expediently has a guide hub on its side facing away from the paraffin body with an internal profile adapted to the shape of the polygonal bolt.
  • the plate expediently has a guide hub on its side facing away from the paraffin body with an internal profile adapted to the shape of the polygonal bolt.
  • the subject of the invention brings about an extremely uniform removal of the paraffin body, since it permanently occupies a precisely fixed position. This enables large paraffin bodies to be processed cost-effectively for the first time, which enables more economical production of the paraffin bodies and, moreover, more economical work during paraffinizing.
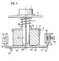
  • the paraffinizing device arranged in the thread path between an active or passive delivery point and a winding device has a rotatable guide mandrel designed as a polygonal bolt 10, which is actuated by a suitable drive device 1 (FIG. 2), e.g. a motor or a suitably driven gear, can be rotated and on which a paraffin body 2 is placed.
  • a suitable drive device 1 e.g. a motor or a suitably driven gear
  • An active delivery point is to be understood here as a delivery point which feeds the thread 3 positively to the paraffin body 2, e.g. the spinning device of an open-end spinning device.
  • a passive delivery point in the sense of this description, on the other hand, is a point from which the thread is withdrawn, e.g. the winding spool of a winding machine.
  • a thread guide 4 which can also be formed by the pair of draw-off rollers in an open-end spinning device.
  • the thread 3 is inserted into a traversing thread guide or a cross-groove roller, through which element the thread 3 is placed in a changing manner in a bobbin.
  • the thread 3 covers a triangular surface during traversing, the so-called traversing triangle 5, which is limited by the running of the thread as shown and the running 3 'of the thread shown in dashed lines.
  • the end face 20 of the paraffin body 2 is arranged in the traversing triangle 5 such that the paraffin body 2 projects beyond it laterally. This ensures that the iridescent thread 3 always rests on the end face 20 of the paraffin body 2.
  • a stop designed as a stop rail 6 is assigned to the paraffin body 2 and limits the position of the paraffin body 2 in the direction of the running thread 3.
  • the stop rail 6 extends transversely to the thread running direction and lies against the upper half of the end face 20 of the paraffin body 2.
  • the stop rail 6 is mounted in a suitable manner on both sides of the paraffin body 2 in stationary holding devices 60 and 61.
  • a compression spring 11 is supported, which the paraffin body 2 in System on the stop rail 6 holds.
  • the thread 3 lies on its way from the delivery device to the winding device on the lower half of the end face 20 of the paraffin body 2, while it is on the upper half of the end face 20 of the paraffin body 2 facing away from the thread attachment side by the stop rail 6 is lifted off the paraffin body 2.
  • the thread 3 passes through the end face 20 of the paraffin body 2, whereby it is oscillated back and forth in the area of the traversing triangle 5 by the traversing device (traversing thread guide or cross-groove roller), not shown.
  • the traversing device traversing thread guide or cross-groove roller
  • the thread 3 lies against the paraffin body 2 on the feed side thereof, while on the discharge side of the paraffin body 2 it is slightly lifted from the paraffin body 2 by the stop rail 6.
  • the thickness of the selected stop rail 6 determines the length range of the thread course of the thread 3 on the end face 20 of the paraffin body 2.
  • the thread 3 is not disturbed during its traversing movement by any stops or paraffin accumulations, so that a regular traversing of the thread 3 is also ensured in the area of the paraffin body 2. This also ensures uniform removal of the paraffin body 2. Since the thread 3 also cannot get stuck between the stop rail 6 and the paraffin body 3, since the stop rail 6 extends essentially transversely to the running of the oscillating thread 30 between the thread and the paraffin body 2, the end face 20 of the paraffin body 2, in which this is supported on the stop rail 6, uniform wear of the paraffin body 2 is achieved.
  • the direction of the thread does not matter. While in the described embodiment the (active or passive) delivery point is below the paraffin body 2 and the winding device above it, so that the thread 3 passes through the paraffin body 2 from the bottom up, a reverse thread running direction is quite possible. In this case, the support rail 6 can still rest against the upper half of the end face 20 of the paraffin body 2, but the tip of the traversing triangle 5 formed by the thread guide 4 is located above the paraffin body 2 The advantage achieved is that the thread 3 is not jammed in the area of the stop rail 6, thereby achieving a uniform removal of the paraffin body 2.
  • the thread guide 4 below the paraffin body 2 and the stop rail 6 are designed such that the thread essentially only on the lower half of the end face 20 of the paraffin body 2 is present.
  • the rotation of the paraffin body 2 thus always acts on the thread 3 over the entire contact length of the thread 3 on the paraffin body 2 in the same direction - and not in the opposite direction as with longer contact lengths.
  • the effect of a known paraffinizing device will be described with the aid of FIG. 3.
  • the polygonal bolt 10 does not extend all the way to the end face 20 of the paraffin body 2, so that it cannot come into contact with the thread 3 that changes on the end face 20, which would prevent uniform waxing. Due to the weight of the paraffin body 2, it has the tendency to tilt downward on its unsupported end face 20, in particular since certain tolerances between the outer profile of the polygonal bolt 10 and the inner profile of the paraffin body 2 cannot be avoided. This tendency is further supported when the paraffin body 2 is supported on the lower half of its end face 20, as is the case in the prior art.
  • the situation is different in the device described.
  • the paraffin body 2 is always supported on the upper half of its end face 20, regardless of the direction of the thread, so that the paraffin body cannot tilt at all.
  • the paraffin body 2 always assumes such a position that its longitudinal axis 200 coincides with the axis 100 of the polygonal bolt 10 (FIG. 2).
  • This ensures a uniform drive of the paraffin body 2 even over long times and leads to a uniform removal of the paraffin body 2.
  • This is of even greater importance in the case of open-end spinning devices than in the case of winding machines, since because of the lower winding speed of the thread 3 compared to that in winding machines
  • Working time of a paraffin body 2 in open-end spinning devices is several times higher than in winding machines.
  • the device described enables longer running times of the paraffin body 2, it also offers the prerequisite for larger dimensions of the paraffin body 2.
  • This is also particularly advantageous in that in this way the contact length of the thread 3 on the end face 20 of the paraffin body 2, which is caused by the stop rail 6 extending transversely to the thread running direction has been somewhat shortened, can be enlarged again.
  • the paraffin body 2 has a diameter of at least 50 mm.
  • the paraffin body 2 thus has, for example, 5 times the mass and more than 5 times the service life of conventional paraffin body sizes.
  • the tilting moment is of course also significantly greater than with small paraffin bodies 2. Even if the stop rail 6 certainly generates a sufficiently large counter torque, this is nevertheless bought with the disadvantage of an increased contact force and thus increased wear.
  • the paraffin body 2 is supported on a plate 7 which can be displaced along the polygonal bolt and which has a guide hub 70 on its side facing away from the paraffin body 2 has an inner profile adapted to the outer profile of the polygonal bolt 10. This enables tilt-free displacement of the plate 7 on the polygonal bolt 10.
  • the plate 7 counteracts the tilting moment of the paraffin body 2 in a safe manner, which is due to its own weight and the polygonal bolt 10 which does not extend over the full length of the faraffin body 2 is produced.
  • This effect of the plate 7 is substantially supported by the largest possible contact surface for the faraffin body 2 and achieves its optimum if the plate 7 has an annular collar 71 on its circumference, which encompasses the paraffin body 2 slightly. In this way, the paraffin body 2 can be used for a particularly long working time; Even in the case of paraffinizing devices with other stops instead of the stop rail 6 described, such a tilt-free guided plate 7 is advantageous.
  • the plate 7 it is not absolutely necessary for the plate 7 to have a guide hub 70 which projects beyond the plate base in the direction of the compression spring 11; with a corresponding thickness of the plate 7, this guide hub can also be omitted under certain circumstances if a tilt-free guiding of the plate 7 is ensured.
  • the stop rail 6 lies as softly as possible on the paraffin body 2 in order to thereby contribute to its long service life.
  • the stop rail 6 according to FIG. 1 has a flat widening 62 on its upper side, with which it rests on the paraffin body 2.
  • the stop surface 63 of the stop rail 6 on the paraffin body 2 is enlarged and the pressure per unit area is correspondingly reduced at the same total system pressure.
  • the widening 62 is achieved in a particularly simple manner in that the stop rail 6 with the widening 62 is formed as a continuous sheet.
  • the sheet forming the stop rail 6 and the widening 62 projects somewhat beyond the paraffin body 2 on its peripheral edge 23 in the embodiment shown, so that the stop rail 6 has no edge in the area of the paraffin body 2 on its upper side.
  • this stop surface 63 is slightly convex towards its lower end, ie the stop rail is rounded on its side facing the polygonal bolt 10 against the paraffin body 2, so that here too it is effectively prevented that an edge can cut into the end face 20 of the paraffin body 2.
  • the contact pressure of the wax body 2 against the thread 3 can be changed.
  • the plane of the traversing triangle 5 of the thread 3 is, however, defined by the thread guide 4 and the stop rail 6 which effects a thread deflection.
  • the latter is displaced parallel to its longitudinal axis 200, so that the thread deflection at the lower peripheral edge 24 of the paraffin body 2 is also increased or decreased.
  • the paraffin body 2 is fixed in its respective axial position by adjusting the stop rail 6 parallel to the longitudinal axis 200 of the paraffin body 2.
  • the stop rail 6 has an end 64 and 65 bent on both sides parallel to the longitudinal axis 200 of the paraffin body 2 , with the help of which the stop rail 6 is mounted in the holding devices 60 and 61.
  • One end 64 has a plurality of circumferential grooves 640 arranged one behind the other, with which a locking bolt 66 elastically mounted in the holding device 60 cooperates.
  • the stop rail 6 By partially pulling out the locking pin 66, the stop rail 6 can be adjusted by one or more circumferential grooves in one direction or the other parallel to the longitudinal axis 200 of the paraffin body 2, whereupon the stop rail 6 can be returned to its new position by releasing the locking pin 66 is secured.
  • Other attachments are of course also possible.
  • the mounting of the end 65 in the holding device 61 is designed as an upwardly open groove 610.
  • the stop rail 6 in order to remove the thread 3 from the end face 20 of the paraffin body 2 at the same time without the thread withdrawal having to be interrupted, the stop rail 6 in the embodiment shown has a thread catcher 67 which reaches the area of the thread 3 sliding along the stop rail 6 and takes the thread 3 with it when the stop rail 6 is pivoted into the rest position 6 '.
  • paraffinised yarn is mainly used in knitting and knitting, where the thread 3 is guided by thread guides before reaching the stitch-forming parts.
  • a paraffin film is deposited over time, which ensures sufficient sliding and post-waxing of the thread 3 in the case of non-waxed thread sections.
  • pivot axis 68 of the stop rail 6 it is not absolutely necessary for the pivot axis 68 of the stop rail 6 to run parallel to the longitudinal axis 200 of the paraffin body 2. Rather, it is also possible to provide a vertical pivot axis, so that the pivot plane is arranged parallel to the longitudinal axis 200 of the paraffin body 2.
  • a thread catcher 67 can also be provided here, as can the possibility of adjusting the stop rail 6 parallel to the longitudinal axis 200 of the paraffin body 2, for example by the holding devices 60 and 61 being adjustably mounted in this direction. It is also possible to provide the pivot axis parallel to the plane 22 through the end face 20 of the paraffin body 2. Such a modification of the described device is shown in FIG. 3, which shows the pivot axis 69 of the stop rail 6 above the paraffin body 2.
  • this spring plate 80 also provides an elastic support for the paraffin body 2 by the stop rail 6.
  • the stop rail 6 can undergo further modifications. For example, it is possible to design these as thread tension compensation brackets. With appropriate guidance of the thread over the stop rail 6, this can take over the task of a thread tension compensation bracket, so that a separate thread tension compensation bracket is unnecessary.
  • the size of the paraffin body 2 to be processed is in principle irrelevant to the present invention, but its use is particularly advantageous for large diameters of 50 mm or more.

Landscapes

  • Chemical & Material Sciences (AREA)
  • Oil, Petroleum & Natural Gas (AREA)
  • Treatments For Attaching Organic Compounds To Fibrous Goods (AREA)
  • Spinning Or Twisting Of Yarns (AREA)
  • Treatment Of Fiber Materials (AREA)

Description

  • Die vorliegende Erfindung betrifft eine Vorrichtung zum Paraffinieren eines Fadens an Spinn- oder Spulmaschinen mit Hilfe eines Paraffinkörpers welcher auf einem drehend antreibbaren Mehrkantbolzen, dessen Achse im wesentlichen senkrecht zum Fadenlauf zwischen einer Lieferstelle und einer Aufwindeeinrichtung verläuft, elastisch in Richtung gegen den Fadenlauf und mindestens einer Anschlagschiene verschiebbar gelagert ist.
  • Bei bekannten derartigen Paraffiniereinrichtungen (DE-AS 2.105.558 sowie DE-Gm 7.927.734) ist seitlich vom Changierbereich des Fadens auf der Stirnfläche des Paraffinkörpers auf einer oder auf beiden Seiten ein Anschlag angeordnet.
  • Durch den oder die seitlich vom Changierbereich angeordneten Anschläge wird der Changierwinkel sehr eingeschränkt, bei dessen Überschreiten der Faden in den Bereich des oder der Anschläge gelangt und so eine Beeinträchtigung des Paraffiniervorganges bewirkt.
  • Darüber hinaus ist der Paraffinkörper nur auf einer Teillänge durch den ihn tragenden und antreibenden Mehrkantbolzen abgestützt, damit mit Sicherheit ausgeschlossen wird, daß der Mehrkantbolzen über die Stirnseite des Paraffinkörpers hervorragt und in Kontakt mit dem Garn gelangt. Aufgrund des Eigengewichtes des Paraffinkörpers ergibt sich dabei ein Kippmoment, durch welches insbesondere ein großer Paraffinkörper sich mit seiner dem Garn zugewandten Seite absenkt. Der Führungs-Innenmehrkant im Paraffinkörper wird dabei ausgeschlagen, so daß die Kippbewegung immer größer und die Mitnahme des Paraffinkörpers durch den Mehrkantbolzen immer schlechter wird. Außerdem wird dieses Kippmoment in der Regel durch den oder die Anschläge verstärkt, die bei den meist üblichen Fadenlaufbewegungen von unten nach oben an der unteren Hälfte der Stirnseite des Paraffinkörpers angreifen.
  • Aufgabe der Erfindung ist es daher, eine Paraffiniereinrichtung der eingangs genannten Art so auszubilden, daß ein gleichmäßiges Paraffinieren des Fadens insbesondere auch bei großen Paraffinkörpern sichergestellt wird.
  • Diese Aufgabe wird erfindungsgemäß dadurch gelöst, daß sich die Anschlagschiene quer zur Fadenlaufrichtung erstreckt und auf der der Fadenanlagenseite abgewandten Hälfte der Stirnseite des Paraffinkörpers angeordnet ist. Durch die Maßnahme, daß die Anschlagschiene sich quer zur Fadenlaufrichtung erstreckt, wird mit Sicherheit verhindert, daß der Faden sich bei seiner Changierbewegung am Anschlag vorübergehend festsetzen kann, so daß ein hierdurch bedingtes ungleichmäßiges Auftragen von Paraffin auf den Faden ausgeschlossen wird. Da ein Festhalten des Fadens durch den Anschlag aufgrund von dessen Orientierung ausgeschlossen ist, kann ein alleiniges Abtragen im Randbereich der Stirnseite bei gleichzeitigen Stehenlassen des Mittelbereichs der Stirnseite des Paraffinkörpers nicht auftreten; im Gegensatz hierzu ist ein gleichmäßiges Abtragen des Paraffinkörpers über die gesamte Fläche seiner stirnseite sichergestellt.
  • Wenn vorgesehen wird, daß der Anschlag auf die obere, der Fadenanlagenseite abgewandten Hälfte des Paraffinkörpers einwirkt, wird zu dem durch das Eigengewicht erzeugten Kippmoment ein Gegenmoment erzeugt. Hierdurch wird einem Ausschlagen der Antriebsführung des Paraffinkörpers entgegengewirkt.
  • Durch die erzielte gleichmäßige Abnutzung des Paraffinkörpers sowie durch Bildung eines Gegenmomentes zu dem durch die Schwerkraft erzeugten Kippmoment wird die Voraussetzung dafür geschaffen, daß Paraffinkörper benutzt werden, deren Größe diejenige bisher üblicher Paraffinkörper um ein Vielfaches übersteigt.
  • Um die Anlagefläche zwischen Anschlagschiene und Paraffinkörper zu vergrößern und um damit den Anpreßdruck pro Flächeneinheit herabzusetzen, ist in zweckmäßiger Ausgestaltung des Erfindungsgegenstandes vorgesehen, daß die Anschlagschiene eine flächige Verbreiterung aufweist, die sich zum Rande des Paraffinkörpers erstreckt. Diese Verbreiterung vergrößert die Anlagefläche der Anschlagschiene auf jener Seite des Fadenlaufes, auf welcher der Faden ohnehin nicht am Paraffinkörper anliegt, und bewirkt ein schonendes Gleiten auf dem rotierenden Paraffinkörper.
  • Vorteilhafterweise überragt die Verbreiterung den Paraffinkörper auf seinem Umfang, so daß der Paraffinkörper niemals mit der äußeren Kante der Anschlagschiene in Kontakt geraten kann. In einer weiteren Ausgestaltung des Erfindungsgegenstandes ist die flächige Verbreiterung gegen den Umfangsrand des Paraffinkörpers geneigt. Um auch zu verhindern, daß die untere Kante der Anschlagschiene sich in den Paraffinkörper einschneiden kann, ist die Anschlagschiene an ihrer dem Mehrkantbolzen zugewandten Seite gegen den Paraffinkörper gerundet. Diese leicht konvexe Krümmung bewirkt, daß zwar die Verbreiterung flächig am Paraffinkörper anliegt, daß aber andererseits sich bei der Rotation des Paraffinkörpers keine scharfe Kante der Anschlagschiene in den Paraffinkörper einschneiden kann, so daß die Kontaktaufnahme zwischen Paraffinkörper und Anschlagschiene äußerst sanft erfolgt.
  • Vorteilhafterweise ist ein Fadenspannungsausgleichsbügel vorgesehen, der gleichzeitig als Anschlagschiene ausgebildet ist, so daß ein separater Fadenspannungsausgleichsbügel nicht erforderlich ist.
  • Während es bei den bisher bekannten Vorrichtungen zum Faraffinieren eines Fadens mit festem Paraffin wenig Sinn hatte, große Paraffinkörper zu verwenden wegen der Gefahr der ungleichmäßigen Abtragung und der Unmöglichkeit, auf längere Dauer gleichmäßige Antriebsverhältnisse für den Paraffinkörper sicherzustellen, werden diese Nachteile mit Hilfe der erfindungsgemäßen Vorrichtung vermieden, so daß auch Paraffinkörper mit einem Durchmesser von mindestens 50 mm verarbeitet werden können. Hierdurch werden die Zeiten zwischen einer Erneuerung des Paraffinkörpers und der nächsten wesentlich erhöht, was zu einer Entlastung der Maschinenbedienung führt.
  • Um einen gleichmäßigen Fadenlauf auf dem rotierenden Paraffinkörper zu erzielen, selbst wenn dieser einen großen Durchmesser aufweist, sind eine Fadenführung unterhalb des Paraffinkörpers so angeordnet und die Anschlagschiene so ausgebildet, daß der Faden im wesentlichen lediglich auf der unteren Hälfte des Paraffinkörpers an dessen Stirnseite anliegt.
  • Um den Anpreßdruck zwischen Paraffinkörper und Anschlagschiene einstellen zu können, ist vorteilhafterweise die Anschlagschiene parallel zur Längsachse des Paraffinkörpers verstellbar. Hierdurch wird der Umlenkwinkel des Garns auf den Paraffinkörper verändert, wodurch sich auch der Anpreßdruck des in seinem Lauf fixierten Garnes ändert.
  • Um den Paraffinkörper rasch auswechseln zu können, ist zweckmäßigerweise die Anschlagschiene aus dem Bereich von vor der Stirnseite des Paraffinkörpers wegschwenkbar, wobei die Anschlagschiene vorteilhafterweise einen Fadenfänger aufweist, um den weiterhin laufenden Faden aus dem Bereich vor der Stirnfläche des Paraffinkörpers herauszunehmen. Zusätzlich oder anstelle der schwenkbaren Anordnung der Anschlagschiene kann auch vorgesehen sein, daß der Anschlagschiene ein elastisches Element zugeordnet ist, durch das sie gegen die Stirnseite des Paraffinkörpers gedrückt wird. Auch auf diese Weise kann durch einfaches Wegklappen die Zugänglichkeit zum Paraffinkörper verbessert werden.
  • Je größer der Paraffinkörper wird, desto größer wird die Gefahr, daß durch das auftretende Kippmoment das Innenprofil des Paraffinkörpers ausgeschlagen wird. Um nicht durch die Anschlagschiene ein zu großes Gegenmoment aufbringen zu müssen, wodurch sich der Paraffinkörper rascher abnützen würde, ist vorgesehen, daß der Paraffinkörper sich auf einem längs des Mehrkantbolzens kippfrei verschiebbaren Teller abstützt, wozu zweckmäßigerweise der Teller auf seiner dem Paraffinkörper abgewandten Seite eine Führungsnabe mit einem der Form des Mehrkantbolzens angepaßten Innenprofil besitzt. Eine solche Ausbildung des Tellers ist jedoch auch bei anderen Ausbildungen von Anschlägen für den Paraffinkörper von Vorteil. Die stabilisierende Wirkung des Tellers auf den Paraffinkörper wird noch vergrößert, wenn dieser Teller einen den Paraffinkörper an seinem Umfang geringfügig umgreifenden Ringbund aufweist.
  • Der Erfindungsgegenstand bewirkt ein außerordentlich gleichmäßiges Abtragen des Paraffinkörpers, da dieser dauerhaft eine genau fixierte Position einnimmt. Dies ermöglicht es erstmals, große Paraffinkörper kostengünstig zu verarbeiten, was eine wirtschaftlichere Herstellung der Paraffinkörper und darüber hinaus auch ein wirtschaftlicheres Arbeiten beim Paraffinieren ermöglicht.
  • Weitere Einzelheiten der Erfindung werden anhand von Zeichnungen näner erläutert. Es zeigen:
    • Figur 1 eine erfindungsgemäß ausgebildete Paraffiniereinrichtung in der Vorderansicht;
    • Figur 2 die in Figur 1 gezeigte Vorrichtung in der Draufsicht; und
    • Figur 3 die in Figur 1 gezeigte Vorrichtung in der Seitenansicht.
  • Die im Fadenlauf zwischen einer aktiven oder passiven Lieferstelle und einer Aufwickeleinrichtung angeordnete Paraffiniereinrichtung weist einen als Mehrkantbolzen 10 ausgebildeten drehbaren Führungsdorn auf, der durch eine geeignete Antriebsvorrichtung 1 (Figur 2), z.B. einen Motor oder ein auf geeignete Weise angetriebenes Getriebe, in Drehung versetzt werden kann und auf welche ein Paraffinkörper 2 aufgesetzt ist. Unter aktiver Lieferstelle soll hier eine Lieferstelle verstanden werden, welche den Faden 3 dem Paraffinkörper 2 positiv zuführt, z.B. die Spinnvorrichtung einer Offenend-Spinnvorrichtung. Eine passive Lieferstelle im Sinne dieser Beschreibung ist dagegen eine Stelle, von wo der Faden abgezogen wird, z.B. die Vcrlagespule einer Spulmaschine.
  • In Fadenlaufrichtung vor dem Paraffinkörper 2 befindet sich eine Fadenführung 4, die bei einer Offenend-Spinnvorrichtung auch durch das Abzugswalzenpaar gebildet werden kann. In Fadenlaufrichtung nach der Faraffiniereinrichtung ist der Faden 3 in einen Changierfadenführer oder eine Kreuznutwalze eingelegt, durch welches Element der Faden 3 einer Spule changierend vorgelegt wird.
  • Der Faden 3 überstreicht beim Changieren eine dreieckige Fläche, das sogenannte Changierdreieck 5, das durch den gezeigten Lauf des Fadens sowie den gestrichelt dargestellten Lauf 3' des Fadens begrenzt wird. Die Stirnseite 20 des Paraffinkörpers 2 ist so im Changierdreieck 5 angeordnet, daß der Paraffinkörper 2 dieses seitlich überragt. Hierdurch wird sichergestellt, daß der changierende Faden 3 stets auf der Stirnseite 20 des Paraffinkörpers 2 anliegt.
  • Dem Paraffinkörper 2 ist ein als Anschlagschiene 6 ausgebildeter Anschlag zugeordnet, der die Position des Paraffinkörpers 2 in Richtung zum laufenden Faden 3 begrenzt. Die Anschlagschiene 6 erstreckt sich quer zur Fadenlaufrichtung und liegt an der oberen Hälfte der Stirnseite 20 des Paraffinkörpers 2 an. Die Anschlagschiene 6 ist in geeigneter Weise beidseitig vom Paraffinkörper 2 in ortsfesten Haltevorrichtungen 60 und 61 gelagert.
  • Am Maschinengestell 9 stützt sich eine Druckfeder 11 ab, welche den Paraffinkörper 2 in Anlage an der Anschlagschiene 6 hält. Wie Figur 3 zeigt, liegt der Faden 3 auf seinem Weg von der Liefervorrichtung zur Aufwickelvorrichtung auf der unteren Hälfte der Stirnseite 20 des Paraffinkörpers 2 an, während er auf der oberen, d.h. der Fadenanlagenseite abgewandten, Hälfte der Stirnseite 20 des Paraffinkörpers 2 durch die Anschlagschiene 6 vom Paraffinkörper 2 abgehoben ist.
  • Während des Spinn- oder Umspulvorganges passiert der Faden 3 die Stirnseite 20 des Paraffinkörpers 2, wobei er durch die nicht gezeigte Changiereinrichtung (Changierfadenführer oder Kreuznutwalze) pendelnd im Bereich des Changierdreiecks 5 hin-und herbewegt wird. Bei dieser Bewegung liegt der Faden 3 auf der Zuführseite zum Paraffinkörper 2 an diesem an, während er auf der Abführseite des Paraffinkörpers 2 durch die Anschlagschiene 6 geringfügig vom Paraffinkörper 2 abgehoben ist. Durch die Stärke der gewählten Anschlagschiene 6 wird dabei festgelegt, über welchen Längenbereich des Fadenlaufs der Faden 3 auf der Stirnseite 20 des Paraffinkörpers 2 anliegt.
  • Der Faden 3 wird bei seiner Changierbewegung durch keinerlei Anschläge oder Paraffinanhäufungen gestört, so daß ein regelmäßiges Changieren des Fadens 3 auch im Bereich des Paraffinkörpers 2 sichergestellt wird. Hierdurch wird auch ein gleichmäßiges Abtragen des Paraffinkörpers 2 gewänrleistet. Da sich der Faden 3 auch nicht zwischen Anschlagschiene 6 und Paraffinkörper 3 festsetzen kann, da sich die Anschlagschiene 6 im wesentlichen quer zum Lauf des changierenden Fadens 30 zwischen Faden und Paraffinkörper 2 erstreckt, wird auch im Ringbereich 23 der Stirnseite 20 des Paraffinkörpers 2, in welchem sich dieser an der Anschlagschiene 6 abstützt, ein gleichmäßiges Abnützen des Paraffinkörpers 2 erreicht.
  • Prinzipiell spielt die Fadenlaufrichtung keine Rolle. Während im beschriebenen Ausführungsbeispiel sich die (aktive oder passive) Lieferstelle unterhalb vom Paraffinkörper 2 befindet und die Aufwickeleinrichtung oberhalb derselben, so daß der Faden 3 den Paraffinkörper 2 von unten nach oben passiert, ist durchaus auch eine umgekehrte Fadenlaufrichtung möglich. In diesem Fall kann zwar die Abstützschiene 6 nach wie vor an der oberen Hälfte der Stirnseite 20 des Paraffinkörpers 2 anliegen, doch befindet sich die durch die Fadenführung 4 gebildete Spitze des Changierdreiecks 5 oberhalb des Paraffinkörpers 2. Auch bei einer solchen Ausbildung der Paraffiniereinrichtung wird der Vorteil erreicht, daß ein Einklemmen des Fadens 3 im Bereich der Anschlagschiene 6 vermieden und dadurch ein gleichmäßiges Abtragen des Paraffinkörpers 2 erzielt wird.
  • Um einen besonders ruhigen Fadenlauf und damit ein besonders gleichmäßiges Paraffinieren zu erreichen, ist bei der vorstehend beschriebenen Paraffiniervorrichtung vorgesehen, daß die Fadenführung 4 unterhalb des Paraffinkörpers 2 und die Anschlagschiene 6 so ausgebildet sind, daß der Faden im wesentlichen lediglich auf der unteren Hälfte der Stirnseite 20 des Paraffinkörpers 2 anliegt. Die Drehung des Paraffinkörpers 2 wirkt somit stets auf der gesamten Anlagelänge des Fadens 3 auf dem Paraffinkörper 2 in derselben Richtung - und nicht in entgegengesetzter Richtung wie bei größeren Anlagelängen - auf den Faden 3.
  • Bevor noch andere Einzelheiten der erfindungsgemäßen Vorrichtung erläutert werden, soll - unter Zuhilfenahme der Figur 3 - die Wirkung einer bekannten Paraffiniereinrichtung beschrieben werden. Wie Figur 3 zeigt, reicht der Mehrkantbolzen 10 nicht bis hin zur Stirnseite 20 des Paraffinkörpers 2, damit er keinesfalls mit dem auf der Stirnseite 20 changierenden Faden 3 in Kontakt geraten kann, was ein gleichmäßiges Paraffinieren verhindern würde. Aufgrund des Eigengewichtes des Paraffinkörpers 2 hat dieser die Tendenz, sich auf seiner nicht unterstützten Stirnseite 20 nach unten zu neigen, insbesondere da sich gewisse Toleranzen zwischen Außenprofil des Mehrkantbolzens 10 und Innenprofil des Paraffinkörpers 2 nicht vermeiden lassen. Bei einer Abstützung des Paraffinkörpers 2 auf der unteren Hälfte seiner Stirnseite 20 - wie dies beim Stand der Technik der Fall ist - wird diese Tendenz noch unterstützt. Durch dieses Kippmoment wird das Innenprofil des Paraffinkörpers 2 bei bekannten Paraffiniereinrichtungen immer mehr mit immer Weiter zunehmender Geschwindigkeit ausgeschlagen. Hieraus resultiert eine immer schlechter werdende Antriebsmitnahme des Paraffinkörpers 2, so daß schließlich die Paraffinierwirkung völlig undefiniert wird.
  • Anders dagegen bei der beschriebenen Vorrichtung. Der Paraffinkörper 2 wird hier unabhängig von der Fadenlaufrichtung stets an der oberen Hälfte seiner Stirnseite 20 abgestützt, so daß ein Kippen des Paraffinkörpers gar nicht erst auftreten kann. Hierdurch nimmt der Paraffinkörper 2 stets eine solche Position ein, daß seine Längsachse 200 mit der Achse 100 des Mehrkantbolzens 10 zusammenfällt (Figur 2). Dies stellt einen gleichmäßigen Antrieb des Paraffinkörpers 2 auch über lange Zeiten sicher und führt zu einem gleichmäßigen Abtragen des Paraffinkörpers 2. Dies ist bei Offenend-Spinnvorrichtungen von noch größerer Bedeutung als bei Spulmaschinen, da wegen der geringeren Aufwindegeschwindigkeit des Fadens 3 gegenüber jener bei Spulmaschinen die Arbeitsdauer eines Paraffinkörpers 2 bei Offenend-Spinnvorrichtungen um ein Mehrfaches höher ist als bei Spulmaschinen.
  • Da die beschriebene Vorrichtung längere Laufzeiten des Paraffinkörpers 2 ermöglicht, bietet sie auch die Voraussetzung für größere Abmessungen des Paraffinkörpers 2. Dies ist auch insofern besonders vorteilhaft, da auf diese Weise die Kontaktlänge des Fadens 3 auf der Stirnseite 20 des Paraffinkörpers 2, die durch die sich quer zur Fadenlaufrichtung erstreckende Anschlagschiene 6 etwas verkürzt worden ist, wieder vergrößert werden kann. Der Paraffinkörper 2 weist zu diesem Zweck einen Durchmesser von mindestens 50 mm auf. Der Paraffinkörper 2 besitzt hierdurch beispielsweise gegenüber üblichen Paraffinkörpergrößen die 5- fache Masse und eine mehr als 5-fache Lebensdauer.
  • Bei derart großen Paraffinkörpern 2 ist natürlich auch das Kippmoment bedeutend größer als bei kleinen Paraffinkörpern 2. Wenn auch die Anschlagschiene 6 durchaus ein ausreichend großes Gegenmoment erzeugt, so wird dies doch mit dem Nachteil einer erhöhten Anpreßkraft und somit erhöhten Abnützung erkauft. Um diese Anpreßkraft im Vergleich zu kleinen Paraffinkörpers 2 nicht erhohen zu müssen, ist in der gezeigten Ausführung vorgesehen, daß der Paraffinkörper 2 sich auf einem längs des Mehrkantbolzens verschiebbaren Teller 7 abstützt, der auf seiner dem Paraffinkörper 2 abgewandten Seite eine Führungsnabe 70 aufweist, die ein dem Außenprofil des Mehrkantbolzens 10 angepaßtes Innenprofil aufweist. Hierdurch wird ein kippfreies Verschieben des Tellers 7 auf dem Mehrkantbolzen 10 ermöglicht. Da der Paraffinkörper 2 aufgrund der auf ihn einwirkenden Axialkräfte (Druckfeder 11 und Anschlagschiene 6) die Tendenz hat, mit der vollen Grundfläche 21 an diesem Teller 7 anzuliegen, wirkt der Teller 7 auf sichere Weise dem Kippmoment des Paraffinkörpers 2 entgegen, welches durch dessen Eigengewicht und den sich nicht über die volle Länge des Faraffinkörpers 2 erstreckenden Mehrkantbolzen 10 erzeugt wird. Diese Wirkung des Tellers 7 wird durch eine möglichst große Anlagefläche für den Faraffinkörper 2 wesentlich unterstützt und erreicht ihr Optimum, wenn der Teller 7 an seinem Umfang einen Ringbund 71 aufweist, welcher den Paraffinkörper 2 geringfügig umgreift. Auf diese Weise kann der Paraffinkörper 2 für eine besonders lange Arbeitsdauer eingesetzt werden; selbst bei Paraffiniervorrichtungen mit anderen Anschlägen anstelle der beschriebenen Anschlagschiene 6 ist ein solcher kippfrei geführter Teller 7 von Vorteil.
  • Es ist nicht unbedingt erforderlich, daß der Teller 7 eine in Richtung zur Druckfeder 11 über den Tellerboden vorragende Führungsnabe 70 aufweist; bei entsprechender Stärke des Tellers 7 kann diese Führungsnabe auch unter Umständen entfallen, wenn ein kippfreies Führen des Tellers 7 gewährleistet ist.
  • Es ist bei größeren Paraffinkörpern 2 vorteilhaft, wenn die Anschlagschiene 6 möglichst weich am Paraffinkörper 2 anliegt, um hierdurch an der hohen Lebensdauer desselben beizutragen. Zu diesem Zweck besitzt die Anschlagschiene 6 gemäß Figur 1 eine flächige Verbreiterung 62 auf ihrer oberen Seite, mit welcher sie am Paraffinkörper 2 anliegt. Hierdurch wird die Anschlagfläche 63 der Anschlagschiene 6 auf dem Paraffinkörper 2 vergrößert und entsprechend bei gleichem Gesamt-Anlagedruck der Druck pro Flächeneinheit herabgesetzt. Die Verbreiterung 62 wird auf besonders einfache Weise dadurch erzielt, daß die Anschlagschiene 6 mit der Verbreiterung 62 als ein durchgehendes Blech ausgebildet wird.
  • Das die Anschlagschiene 6 und die Verbreiterung 62 bildende Blech überragt in der gezeigten Ausführung etwas den Paraffinkörper 2 an seinem Umfangsrand 23, so daß die Anschlagschiene 6 auf ihrer oberen Seite keine Kante im Bereich des Paraffinkörpers 2 aufweist.
  • Um zu erreichen, daß sich die Anschlagschiene 62 nicht in den rotierenden Paraffinkörper 2 einschneiden kann, weist diese nicht nur abgerundete Kanten auf, sondern besitzt eine besonders ausgebildete Anschlagfläche 63. Diese Anschlagfläche 63 läuft gemäß Figur 3 zu ihrem unteren Ende hin leicht ballig aus, d.h. die Anschlagschiene ist an ihrer dem Mehrkantbolzen 10 zugewandten Seite gegen den Paraffinkörper 2 gerundet, so daß auch hier wirksam verhindert wird, daß sich eine Kante in die Stirnseite 20 des Paraffinkörpers 2 einschneiden kann.
  • Da durch das Paraffinieren des Fadens 3 die Stirnseite 20 des Paraffinkörpers 2 mit der Zeit ohnehin eine leicht ballige Form bekommt, die von der senkrecht zur Längsachse 200 des Paraffinkörpers gelegten Ebene 22 abweicht, läßt sich dieser Effekt der Anschlagfläche 63 auch dadurch erreichen, daß die Anschlagschiene 6 sich soweit nach unten erstreckt, bis sie sich von der balligen Stirnseite 20 des Paraffinkörpers 2 abhebt.
  • Je nach gewünschter Paraffinierintensität und je nach verarbeitetem Fasermaterial oder zu bearbeitendem Garn ist es von Vorteil, wenn der Anpreßdruck des Paraffinkörpers 2 gegen den Faden 3 geändert werden kann. Die Ebene des Changierdreiecks 5 des Fadens 3 ist aber durch die Fadenführung 4 und die eine Fadenumlenkung bewirkende Anschlagschiene 6 festgelegt. Um die Anlagekraft des Fadens 3 am Faraffinkörper 2 zu verändern, wird dieser parallel zu seiner Längsachse 200 verschoben, so daß auch die Fadenumlenkung am unteren Umfangsrand 24 des Paraffinkörpers 2 herauf- oder herabgesetzt wird.
  • Die Fixierung des Paraffinkörpers 2 in seiner jeweiligen axialen Stellung erfolgt durch Verstellen der Anschlagschiene 6 parallel zur Längsachse 200 des Paraffinkörpers 2. Gemäß Figur 2 weist die Anschlagschiene 6 zu diesem Zweck beidseitig je ein parallel zur Längsachse 200 des Paraffinkörpers 2 gebogenes Ende 64 und 65 auf, mit deren Hilfe die Anschlagschiene 6 in den Haltevorrichtungen 60 und 61 gelagert ist. Das eine Ende 64 besitzt mehrere hintereinander angeordnete Umfangsnuten 640, mit denen ein in der Haltevorrichtung 60 elastisch gelagerter Rastbolzen 66 zusammenarbeitet. Durch teilweises Herausziehen des Rastbolzens 66 kann die Anschlagschiene 6 um eine oder mehrere Umfangsnuten in der einen oder anderen Richtung parallel zur Längsachse 200 des Paraffinkörpers 2 verstellt werden, woraufhin die Anschlagschiene 6 durch erneute Freigabe des Rastbolzens 66 in ihrer neuen Position wieder gesichert wird. Andere Befestigungen sind natürlich ebenfalls möglich.
  • Gemäß den Figuren 1 und 2 ist die Lagerung des Endes 65 in der Haltevorrichtung 61 als eine nach oben offene Nut 610 ausgebildet. Auf diese Weise ist es bei einem erforderlich werdenden Austausch des aufgebrauchten Paraffinkörpers 2 gegen einen neuen nicht notwendig, zuvor erst die Anschlagschiene 6 abzubauen. Es genügt vielmehr, die Anschlagschiene 6 um das durch die Haltevorrichtung 61 gebildete Lager nach oben wegzuschwenken, so daß die Stirnseite 20 des Paraffinkörpers 2 freigegeben wird. Um gleichzeitig auch noch den Faden 3 von der Stirnfläche 20 des Paraffinkörpers 2 zu entfernen, ohne daß der Fadenabzug unterbrochen werden muß, besitzt die Anschlagschiene 6 in der gezeigten Ausführung einen Fadenfänger 67, der in den Bereich des entlang der Anschlagschiene 6 gleitenden Fadens 3 gelangt und bei der Schwenkbewegung der Anschlagschiene 6 in die Ruhestellung 6' den Faden 3 mitnimmt. Der Austausch des Paraffinkörpers 2 geht sehr rasch vor sich, so daß die wenigen Meter Garn, die hierbei nicht paraffiniert werden, für die Weiterverarbeitung völlig ohne Bedeutung sind. Paraffiniertes Garn wird nämlich vornehmlich in der Wirkerei und Strickerei eingesetzt, wo der Faden 3 vor Erreichen der maschenbildenden Teile durch Fadenführer geführt wird. Bei der Zuführung von Garn zu den maschenbildenden Teilen setzt sich im Laufe der Zeit ein Paraffinfilm ab, der bei nichtparaffinierten Garnabschnitten für ein ausreichendes Gleiten und Nachparaffinieren des Fadens 3 sorgt.
  • Es ist nicht unbedingt notwendig, daß die Schwenkachse 68 der Anschlagschiene 6 parallel zur Längsachse 200 des Paraffinkörpers 2 verläuft. Vielmehr ist es auch möglich, eine vertikale Schwenkachse vorzusehen, so daß die Schwenkebene parallel zur Längsachse 200 des Paraffinkörpers 2 angeordnet ist. Auch hier kann ein Fadenfänger 67 vorgesehen werden ebenso wie die Möglichkeit einer Verstellmöglichkeit der Anschlagschiene 6 parallel zur Längsachse 200 des Paraffinkörpers 2, indem beispielsweise die Haltevorrichtungen 60 und 61 in dieser Richtung verstellbar gelagert sind. Es ist auch möglich, die Schwenkachse parallel zu der durch die Stirnseite 20 des Paraffinkörpers 2 gelegten Ebene 22 vorzusehen. Eine solche Abwandlung der beschriebenen Vorrichtung zeigt Figur 3, welche oberhalb vom Paraffinkörper 2 die Schwenkachse 69 der Anschlagschiene 6 zeigt. Auf der Schwenkachse 69 befindet sich hierbei ein Vierkant 8, der in eine Kerbe 81 eines Federbleches 90 eingreift, welches seinerseits auf dem Maschinengestell 9 gelagert ist. Dieses Federblech 80 bewirkt durch seine Elastizität auch eine elastische Abstützung des Paraffinkörpers 2 durch die Anschlagschiene 6.
  • Die Anschlagschiene 6 kann noch weitere Abwandlungen erfahren. So ist es beispielsweise möglich, diese als Fadenspannungsausgleichsbügel auszubilden. Bei entsprechender Führung des Faden über die Anschlagschiene 6 kann diese die Aufgabe eines Fadenspannungsausgleichsbügels übernehmen, so daß ein separater Fadenspannungsausgleichsbügel überflüssig wird.
  • Die Größe des zur Verarbeitung kommenden Paraffinkörpers 2 ist im Prinzip für die vorliegende Erfindung ohne Belang, doch ist ihre Anwendung besonders vorteilhaft bei großen Durchmessern von 50 mm oder mehr.

Claims (9)

1. Vorrichtung zum Paraffinieren eines Fadens an Spinn- oder Spulmaschinen mit Hilfe eines Paraffinkörpers, welcher auf einem Mehrkantbolzen (10), dessen Achse (100) im wesentlichen senkrecht Fadenlauf zwischen einer Lieferstelle und einer Aufwindeeinrichtung verläuft, elastisch in Richtung gegen den Fadenlauf und mindestens eine Anschlagschiene (6) verschiebbar gelagert ist, dadurch gekennzeichnet, daß sich die Anschlagschiene (6) quer zur Fadenlaufrichtung erstreckt und auf der der Fadenanlagenseite abgewandten Hälfte der Stirnseite (20) des Faraffinkörpers (2) angeordnet ist.
2. Vorrichtung nach Anspruch 1, dadurch gekennzeichnet, daß die Anschlagschiene (6) eine flächige Verbreiterung (62) aufweist, die sich zum Rande des Paraffinkörpers (2) erstreckt.
3. Vorrichtung nach Anspruch 2, dadurch gekennzeichnet, daß die Verbreiterung (62) den Paraffinkörper (2) überragt.
4. Vorrichtung nach Anspruch 2 oder 3, dadurch gekennzeichnet, daß die flächige Verbreiterung (62) gegen den Umfangsrand (23) des Paraffinkörpers (2) geneigt ist.
5. Vorrichtung nach einem oder mehreren der Ansprüche 1 bis 4, dadurch gekennzeichnet, daß die Anschlagschiene (6) an ihrer dem Mehrkantbolzen (10) zugewandten Seite gegen den Paraffinkörper (2) gerundet ist.
6. Vorrichtung nach einem oder mehreren der Ansprüche 1 bis 5, dadurch gekennzeichnet, daß ein Fadenspannungsausgleichsbügel vorgesehen ist, der gleichzeitig als Anschlagschiene ausgebildet ist.
7. Vorrichtung nach einem oder mehreren der Ansprüche 1 bis 6, dadurch gekennzeichnet, daß die Anschlagschiene (6) parallel zur Längsachse (200) des Paraffinkörpers (2) verstellbar ist.
8. Vorrichtung nach einem oder mehreren der Ansprüche 1 bis 7, dadurch gekennzeichnet, daß die Anschlagschiene (6) aus dem Bereich von vor der Stirnseite (20) des Paraffinkörpers (2) wegschwenkbar ist und einen Fadenfänger (67) aufweist.
9. Vorrichtung nach einem oder mehreren der Ansprüche 1 bis 8, dadurch gekennzeichnet, daß der Anschlagschiene (6) ein elastisches Element (80) zugeordnet ist, durch das sie gegen die Stirnseite (20) des Paraffinkörpers (2) gedrückt wird.
EP83104619A 1982-07-31 1983-05-11 Vorrichtung zum Paraffinieren eines Fadens mit Hilfe eines Paraffinkörpers Expired EP0100403B1 (de)

Applications Claiming Priority (2)

Application Number Priority Date Filing Date Title
DE3228642A DE3228642C2 (de) 1982-07-31 1982-07-31 Vorrichtung zum Paraffinieren eines Fadens an Spinn- oder Spulmaschinen mit Hilfe eines festen Paraffinkörpers
DE3228642 1982-07-31

Publications (2)

Publication Number Publication Date
EP0100403A1 EP0100403A1 (de) 1984-02-15
EP0100403B1 true EP0100403B1 (de) 1986-01-15

Family

ID=6169802

Family Applications (1)

Application Number Title Priority Date Filing Date
EP83104619A Expired EP0100403B1 (de) 1982-07-31 1983-05-11 Vorrichtung zum Paraffinieren eines Fadens mit Hilfe eines Paraffinkörpers

Country Status (7)

Country Link
US (1) US4501221A (de)
EP (1) EP0100403B1 (de)
DE (1) DE3228642C2 (de)
GB (1) GB2127048B (de)
HK (1) HK7887A (de)
MY (1) MY8700327A (de)
SG (1) SG87586G (de)

Families Citing this family (10)

* Cited by examiner, † Cited by third party
Publication number Priority date Publication date Assignee Title
DE3422814A1 (de) * 1984-06-20 1986-01-02 Schubert & Salzer Maschinenfabrik Ag, 8070 Ingolstadt Antriebsvorrichtung fuer eine paraffiniereinrichtung
DE3910917A1 (de) * 1989-04-05 1990-10-11 Schubert & Salzer Maschinen Vorrichtung zur behandlung von paraffinkoerpern
DE4434566C2 (de) * 1994-09-28 2002-07-18 Rieter Ingolstadt Spinnerei Paraffiniereinrichtung
US5520351A (en) * 1995-01-31 1996-05-28 Johnson & Johnson Consumer Products, Inc. Heated thread tensioner assembly
MXPA05001839A (es) * 2002-08-15 2005-04-19 Binder Siegfried Anillo de parafina para parafinar hilos.
DE10354588B4 (de) * 2003-11-21 2014-02-20 Saurer Germany Gmbh & Co. Kg Paraffiniereinrichtung für eine Kreuzspulen herstellende Textilmaschine
DE102006018838B4 (de) * 2005-06-22 2012-09-20 Oerlikon Textile Gmbh & Co. Kg Paraffiniereinrichtung für eine Kreuzspulen herstellende Textilmaschine
DE102007018650A1 (de) * 2007-04-21 2008-10-23 Oerlikon Textile Gmbh & Co. Kg Paraffiniereinrichtung für eine Arbeitsstelle einer Kreuzspulen herstellenden Textilmaschine
DE102014012247A1 (de) * 2014-08-19 2016-02-25 Saurer Germany Gmbh & Co. Kg Paraffiniereinrichtung für eine Kreuzspulen herstellende Textilmaschine
DE102016120083A1 (de) * 2016-10-21 2018-04-26 Saurer Germany Gmbh & Co. Kg Auflaufspulen herstellende Textilmaschine mit einer Paraffiniereinrichtung

Family Cites Families (6)

* Cited by examiner, † Cited by third party
Publication number Priority date Publication date Assignee Title
US1350007A (en) * 1919-11-14 1920-08-17 Cunningham Thomas Yarn-waxing device
BE694730A (de) * 1967-02-28 1967-07-31
US3479988A (en) * 1967-06-26 1969-11-25 Barber Colman Co Running thread waxer
DE2105558B2 (de) * 1971-02-06 1976-11-11 Elitex - Zavody Textilniho Strojirenstvi Generalni Reditelstvi, Reichenberg (Tschechoslowakei) Vorrichtung zum paraffinieren von garn
IT1037277B (it) * 1975-04-14 1979-11-10 Nuova S Giorgio Spa Dispositivo per paraffinare il filato
DE7927734U1 (de) * 1979-09-29 1980-01-03 Schubert & Salzer Maschinenfabrik Ag, 8070 Ingolstadt Vorrichtung zum Paraffinieren von Garn

Also Published As

Publication number Publication date
MY8700327A (en) 1987-12-31
SG87586G (en) 1987-03-27
GB2127048B (en) 1985-12-04
DE3228642A1 (de) 1984-02-09
GB8317033D0 (en) 1983-07-27
EP0100403A1 (de) 1984-02-15
HK7887A (en) 1987-01-28
DE3228642C2 (de) 1985-02-21
US4501221A (en) 1985-02-26
GB2127048A (en) 1984-04-04

Similar Documents

Publication Publication Date Title
DE3202428C2 (de) Verfahren und Vorrichtung zum Anspinnen eines Fadens in einer Offenend-Spinnvorrichtung
EP3891089B1 (de) Vorrichtung und verfahren zum aufwickeln eines fadens
EP1902990B1 (de) Vorrichtung für eine Spinnereivorbereitungsmaschine
EP0100403B1 (de) Vorrichtung zum Paraffinieren eines Fadens mit Hilfe eines Paraffinkörpers
CH636651A5 (de) Vorrichtung an einer spinnmaschine zum einwachsen eines garnes.
DE102006018838B4 (de) Paraffiniereinrichtung für eine Kreuzspulen herstellende Textilmaschine
EP0411382B1 (de) Kopsvorbereitungseinrichtung zum Aufwinden des Fadenanfanges auf der Hülsenspitze des Kopses
EP0036066B1 (de) Vorrichtung zum Unterbrechen der Faserbandzufuhr bei Offenend-Spinnvorrichtungen
EP0593951A2 (de) Spinnereivorrichtung
EP1178000A2 (de) Spuleinrichtung für eine Kreuzspulen herstellende Textilmaschine
EP1182284A2 (de) Offenend-Spinnvorrichtung sowie Verfahren zur vorübergehenden Aufnahme eines Fadens mit Hilfe einer derartigen Offenend-Spinnvorrichtung
DE2705660C3 (de) Offenend-Spinnmaschine mit einer Vorrichtung zum Wickeln von Kreuzspulen
DE2144363B2 (de) Vorrichtung zum selbsttätigen Wiederverbinden gerissener Fäden an Ringspinn- oder Zwirnmaschinen
EP3321222B1 (de) Arbeitsstelle einer kreuzspulen herstellenden textilmaschine mit einem im bereich des fadenchangierdreieckes angeordneten mechanischen fadenspeicher
DE2939875C3 (de) Einschaltevorrichtung an einer Einrichtung zum zeitweiligen Abziehen von Schußgarn von einer ortsfesten Vorratsspule einer Webmaschine
DE4334813B4 (de) Spulvorrichtung
DE3123282C1 (de) Vorrichtung zur Aufnahme eines Fadens von einer Spule und UEbergabe an ein Arbeitsorgan
EP0182241B1 (de) Vorrichtung zum Friktionsspinnen
DE3042957A1 (de) Fadenliefervorrichtung
DE102016104601A1 (de) Textilmaschine mit einer kontinuierlichen Lieferung des erzeugten Garns und Garnaufwicklung auf eine kreuzgewickelte Kegelspule
EP3331790B1 (de) Vorrichtung zum füllen einer kanne mit faserband
WO1993010291A1 (de) Streckwerk für eine feinspinnmaschine, insbesondere düsenspinnmaschine
CH669776A5 (de)
DE3416804A1 (de) Einrichtung zur rueckfuehrung von garn
DE19523286C1 (de) Coilmanipulator in einer Wickelvorrichtung zum Aufwickeln einer Kunststoffbahn

Legal Events

Date Code Title Description
PUAI Public reference made under article 153(3) epc to a published international application that has entered the european phase

Free format text: ORIGINAL CODE: 0009012

AK Designated contracting states

Designated state(s): CH FR IT LI

ITCL It: translation for ep claims filed

Representative=s name: ZINI MARANESI

EL Fr: translation of claims filed
17P Request for examination filed

Effective date: 19840216

ITF It: translation for a ep patent filed
GRAA (expected) grant

Free format text: ORIGINAL CODE: 0009210

AK Designated contracting states

Designated state(s): CH FR IT LI

ET Fr: translation filed
PLBI Opposition filed

Free format text: ORIGINAL CODE: 0009260

R20 Corrections of a patent specification

Effective date: 19860407

26 Opposition filed

Opponent name: W. SCHLAFHORST & CO.

Effective date: 19861002

PLBN Opposition rejected

Free format text: ORIGINAL CODE: 0009273

STAA Information on the status of an ep patent application or granted ep patent

Free format text: STATUS: OPPOSITION REJECTED

27O Opposition rejected

Effective date: 19880305

PGFP Annual fee paid to national office [announced via postgrant information from national office to epo]

Ref country code: FR

Payment date: 19910508

Year of fee payment: 9

ITTA It: last paid annual fee
PGFP Annual fee paid to national office [announced via postgrant information from national office to epo]

Ref country code: CH

Payment date: 19910620

Year of fee payment: 9

PG25 Lapsed in a contracting state [announced via postgrant information from national office to epo]

Ref country code: LI

Effective date: 19920531

Ref country code: CH

Effective date: 19920531

PG25 Lapsed in a contracting state [announced via postgrant information from national office to epo]

Ref country code: FR

Effective date: 19930129

REG Reference to a national code

Ref country code: CH

Ref legal event code: PL

REG Reference to a national code

Ref country code: FR

Ref legal event code: ST