CN218692977U - 金属门框加工用冲压装置 - Google Patents
金属门框加工用冲压装置 Download PDFInfo
- Publication number
- CN218692977U CN218692977U CN202223205041.3U CN202223205041U CN218692977U CN 218692977 U CN218692977 U CN 218692977U CN 202223205041 U CN202223205041 U CN 202223205041U CN 218692977 U CN218692977 U CN 218692977U
- Authority
- CN
- China
- Prior art keywords
- door frame
- stamping
- metal door
- gear
- fixedly installed
- Prior art date
- Legal status (The legal status is an assumption and is not a legal conclusion. Google has not performed a legal analysis and makes no representation as to the accuracy of the status listed.)
- Expired - Fee Related
Links
- 239000002184 metal Substances 0.000 title claims abstract description 21
- 238000003825 pressing Methods 0.000 title description 2
- 238000004080 punching Methods 0.000 claims abstract description 12
- 238000009434 installation Methods 0.000 claims abstract description 5
- 238000000034 method Methods 0.000 description 12
- 238000010586 diagram Methods 0.000 description 4
- 238000005242 forging Methods 0.000 description 2
- 238000012986 modification Methods 0.000 description 2
- 230000004048 modification Effects 0.000 description 2
- NIXOWILDQLNWCW-UHFFFAOYSA-N acrylic acid group Chemical group C(C=C)(=O)O NIXOWILDQLNWCW-UHFFFAOYSA-N 0.000 description 1
- 230000009286 beneficial effect Effects 0.000 description 1
- 238000004891 communication Methods 0.000 description 1
- 230000007812 deficiency Effects 0.000 description 1
- 238000005516 engineering process Methods 0.000 description 1
- 238000006748 scratching Methods 0.000 description 1
- 230000002393 scratching effect Effects 0.000 description 1
- 238000000926 separation method Methods 0.000 description 1
- 230000007306 turnover Effects 0.000 description 1
Images
Classifications
-
- Y—GENERAL TAGGING OF NEW TECHNOLOGICAL DEVELOPMENTS; GENERAL TAGGING OF CROSS-SECTIONAL TECHNOLOGIES SPANNING OVER SEVERAL SECTIONS OF THE IPC; TECHNICAL SUBJECTS COVERED BY FORMER USPC CROSS-REFERENCE ART COLLECTIONS [XRACs] AND DIGESTS
- Y02—TECHNOLOGIES OR APPLICATIONS FOR MITIGATION OR ADAPTATION AGAINST CLIMATE CHANGE
- Y02P—CLIMATE CHANGE MITIGATION TECHNOLOGIES IN THE PRODUCTION OR PROCESSING OF GOODS
- Y02P70/00—Climate change mitigation technologies in the production process for final industrial or consumer products
- Y02P70/10—Greenhouse gas [GHG] capture, material saving, heat recovery or other energy efficient measures, e.g. motor control, characterised by manufacturing processes, e.g. for rolling metal or metal working
Landscapes
- Mounting, Exchange, And Manufacturing Of Dies (AREA)
Abstract
本实用新型公开了金属门框加工用冲压装置,涉及金属门框加工技术领域,具体为金属门框加工用冲压装置,包括加工台、安装架、冲压机,所述安装架固定安装在加工台的上表面,所述冲压机安装在安装架的中部,所述加工台的上表面固定安装有伸缩套,所述伸缩套的内部活动安装有伸缩柱,所述伸缩柱的顶部固定安装有连接板,所述连接板的另一端焊接有模具。该金属门框加工用冲压装置,通过冲压机下降进行冲压时,此时的第一斜齿轮轮处于转动状态,利用第一斜齿轮轮能够带动第二齿轮转动,利用第二齿轮可以对第二齿条进行驱动,继而使得第二齿条带动挡板移动,使得两个挡板重合,实现防夹手的目的,能够有效的避免夹手的安全隐患出现。
Description
技术领域
本实用新型涉及金属门框加工技术领域,具体为金属门框加工用冲压装置。
背景技术
冲压是靠压力机和模具对板材、带材、管材和型材等施加外力,使之产生塑性变形或分离,从而获得所需形状和尺寸的工件(冲压件)的成形加工方法,冲压和锻造同属塑性加工(或称压力加工),合称锻压,在传统的加工中通常将加工件进行固定,使得冲压装置利用压力对冲压件进行冲压,继而使得剪切力作用在加工件上,但是由于模具是固定的,而只依靠冲压机进行冲压时,只能够依靠增加冲压力度来增加剪切力,对于剪切力的利用不够充分,同时在冲压过程中需要工作人员调节位置,所以对于需要对冲压机进行隔离与防护,避免误操而导致压手现象出现,存在一定的安全隐患,故而这里提出金属门框加工用冲压装置来解决上述问题。
实用新型内容
针对现有技术的不足,本实用新型提供了金属门框加工用冲压装置,解决了上述背景技术中提出的问题。
为实现以上目的,本实用新型通过以下技术方案予以实现:金属门框加工用冲压装置,包括加工台、安装架、冲压机,所述安装架固定安装在加工台的上表面,所述冲压机安装在安装架的中部,所述加工台的上表面固定安装有伸缩套,所述伸缩套的内部活动安装有伸缩柱,所述伸缩柱的顶部固定安装有连接板,所述连接板的另一端焊接有模具,所述模具的内部设置有冲压件,所述模具的焊接有固定架,所述固定架的后侧焊接在伸缩柱的正面,所述冲压机的输出轴上固定套接有第一齿条,所述第一齿条的右侧咬合有第一齿轮,所述第一齿轮的正面固定安装有第一斜齿轮轮,所述第一斜齿轮轮的上方咬合有第二斜齿轮,所述第二斜齿轮的上表面固定安装有蜗杆,所述蜗杆的后侧啮合有蜗轮,所述蜗轮的中部固定套接有转杆,所述转杆的左右两侧均固定套接有驱动臂,所述驱动臂的活动套接在伸缩套的内部,所述驱动臂的上表面与伸缩柱的底部活动接触。
可选的,所述伸缩套的正面开设有驱动槽,所述伸缩套正面开设的驱动槽与驱动臂相适配。
可选的,所述模具的左右两侧均活动安装有夹持臂,所述模具的左右两侧均活动安装有紧合螺柱,所述紧合螺柱的外表面螺纹连接有紧合螺母。
可选的,所述夹持臂的中部开设有紧合槽,所述紧合螺柱处于紧合槽中,所述紧合螺母的宽度大于紧合槽宽度一到三厘米。
可选的,所述第一斜齿轮轮的正面固定安装有第二齿轮,所述第二齿轮的上下两侧均咬合有第二齿条,所述第二齿条的一侧固定安装有挡板。
可选的,所述挡板的底部固定安装有滑块,所述滑块的形状为T形凸块,所述加工台的表面开设有与滑块相适配的T形滑槽。
本实用新型提供了金属门框加工用冲压装置,具备以下有益效果:
1、该金属门框加工用冲压装置,通过启动冲压机对冲压件进行冲压,此时冲压机会带动第一齿条下降,利用第一齿条可以对第一齿轮进行驱动,利用第一齿轮带动第一斜齿轮轮转动,继而使得第一斜齿轮轮对第二斜齿轮进行驱动,使得第二斜齿轮带动蜗杆转动,继而使得蜗杆对蜗轮进行驱动,使得蜗轮带动转杆转动,从而使得驱动臂对伸缩柱进行顶升,使得模具上升,利用模具与冲压机同时移动冲击,能够有效的提高冲压件受到的剪切力,相比传统能够使得冲压机在同等功率下提高剪切力,继而使得冲压过程更加顺利。
2、该金属门框加工用冲压装置,通过冲压机下降进行冲压时,此时的第一斜齿轮轮处于转动状态,利用第一斜齿轮轮能够带动第二齿轮转动,利用第二齿轮可以对第二齿条进行驱动,继而使得第二齿条带动挡板移动,使得两个挡板重合,实现防夹手的目的,能够有效的避免夹手的安全隐患出现。
附图说明
图1为本实用新型正面结构示意图;
图2为本实用新型背面的结构示意图;
图3为本实用新型伸缩柱处立体的结构示意图;
图4为本实用新型夹持臂处立体的结构示意图;
图5为本实用新型挡板处立体的结构示意图。
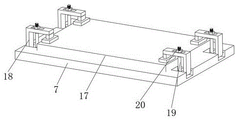
图中:1、加工台;2、安装架;3、冲压机;4、伸缩套;5、伸缩柱;6、连接板;7、模具;8、固定架;9、第一齿条;10、第一齿轮;11、第一斜齿轮轮;12、第二斜齿轮;13、蜗杆;14、蜗轮;15、转杆;16、驱动臂;17、冲压件;18、夹持臂;19、紧合螺柱;20、紧合螺母;21、第二齿轮;22、第二齿条;23、挡板;24、滑块。
具体实施方式
下面将结合本实用新型实施例中的附图,对本实用新型实施例中的技术方案进行清楚、完整地描述,显然,所描述的实施例仅仅是本实用新型一部分实施例,而不是全部的实施例。
请参阅图1、图2和图3,本实用新型提供技术方案:金属门框加工用冲压装置,包括加工台1、安装架2、冲压机3,安装架2固定安装在加工台1的上表面,冲压机3安装在安装架2的中部,加工台1的上表面固定安装有伸缩套4,伸缩套4的内部活动安装有伸缩柱5,伸缩柱5的形状为“工”字形,可以增加伸缩柱5与伸缩套4的接触面积,继而使得伸缩柱5与伸缩套4之间连接的更加紧密,能够使得伸缩柱5在升降过程中更加的稳定,伸缩柱5的顶部固定安装有连接板6,连接板6的另一端焊接有模具7,模具7的内部设置有冲压件17,模具7的焊接有固定架8,利用固定架8可以提高模具7的强度,继而增加模具7的承载性能,避免冲压机3的冲压力量过大对模具7造成损伤,固定架8的后侧焊接在伸缩柱5的正面,冲压机3的输出轴上固定套接有第一齿条9,加工台1的内部开设有与第一齿条9相适配的通槽,第一齿条9在对第一齿轮10驱动时处于向下状态,利用通槽可以避免加工台1对第一齿条9造成干涉,第一齿条9的右侧咬合有第一齿轮10,第一齿轮10的正面固定安装有第一斜齿轮轮11,第一斜齿轮轮11的上方咬合有第二斜齿轮12,第二斜齿轮12的上表面固定安装有蜗杆13,蜗杆13的后侧啮合有蜗轮14,蜗轮14的中部固定套接有转杆15,转杆15的左右两侧均固定套接有驱动臂16,伸缩套4的正面开设有驱动槽,伸缩套4正面开设的驱动槽与驱动臂16相适配,利用驱动槽可以使得驱动臂16顺利的对伸缩柱5进行驱动,避免伸缩套4对其造成干涉,同时驱动槽可以对驱动臂16进行限位,使得驱动臂16在驱动时更加稳定,驱动臂16的活动套接在伸缩套4的内部,驱动臂16的上表面与伸缩柱5的底部活动接触。
请参阅图3和图4,模具7的左右两侧均活动安装有夹持臂18,夹持臂18的中部开设有紧合槽,紧合螺柱19处于紧合槽中,紧合螺母20的宽度大于紧合槽宽度一到三厘米,通过拧紧紧合螺母20,使得紧合螺母20的底部与夹持臂18的上表面紧密接触,可以对夹持臂18进行定位,继而完成对冲压件17的固定,夹持臂18的底部安装有橡胶垫,利用橡胶垫可以在夹持臂18对冲压件17进行固定时避免夹持臂18划伤冲压件17的表面,模具7的左右两侧均活动安装有紧合螺柱19,紧合螺柱19的外表面螺纹连接有紧合螺母20。
请参阅图1和图5,第一斜齿轮轮11的正面固定安装有第二齿轮21,第二齿轮21的上下两侧均咬合有第二齿条22,挡板23的底部固定安装有滑块24,滑块24的形状为T形凸块,加工台1的表面开设有与滑块24相适配的T形滑槽,利用滑块24可以对挡板23与第二齿条22进行限位,继而使得第二齿条22驱动过程、挡板23移动过程更加稳定,第二齿条22的一侧固定安装有挡板23,挡板23由透明亚克力制成,可以实现防夹手的同时能够观察冲压件17的冲压过程。
综上所述,该金属门框加工用冲压装置,使用时,首先使用者需要将冲压件17放置在模具7的内部,然后翻转夹持臂18,拧紧紧合螺母20对冲压件17进行固定,接着启动冲压机3进行冲压作业,此时冲压机3会带动第一齿条9下降,利用第一齿条9对第一齿轮10进行驱动,利用第一齿轮10带动第一斜齿轮轮11转动,使得第一斜齿轮轮11对第二斜齿轮12进行驱动,使得第二斜齿轮12带动蜗杆13转动,使得蜗杆13对蜗轮14进行驱动,使得蜗轮14带动转杆15转动,从而使得驱动臂16对伸缩柱5进行顶升,使得模具7上升,利用模具7与冲压机3同时移动冲击来提高冲压件17受到的剪切力,使得冲压过程更加顺利有效,同时第一斜齿轮轮11转动会带动第二齿轮21转动,利用第二齿轮21对第二齿条22进行驱动,使得第二齿条22带动挡板23移动,使得两个挡板23重合,实现防夹手的目的,如此即可。
在本实用新型的描述中,需要说明的是,术语“中心”、“上”、“下”、“左”、“右”、“竖直”、“水平”、“内”、“外”等指示的方位或位置关系为基于附图所示的方位或位置关系,仅是为了便于描述本实用新型和简化描述,而不是指示或暗示所指的装置或元件必须具有特定的方位、以特定的方位构造和操作,因此不能理解为对本实用新型的限制;术语“第一”、“第二”、“第三”仅用于描述目的,而不能理解为指示或暗示相对重要性,此外,除非另有明确的规定和限定,术语“安装”、“相连”、“连接”应做广义理解,例如,可以是固定连接,也可以是可拆卸连接,或一体地连接;可以是机械连接,也可以是电连接;可以是直接相连,也可以通过中间媒介间接相连,可以是两个元件内部的连通。对于本领域的普通技术人员而言,可以具体情况理解上述术语在本实用新型中的具体含义。而且,术语“包括”、“包含”或者其任何其他变体意在涵盖非排他性的包含,从而使得包括一系列要素的过程、方法、物品或者设备不仅包括那些要素,而且还包括没有明确列出的其他要素,或者是还包括为这种过程、方法、物品或者设备所固有的要素。
尽管已经示出和描述了本实用新型的实施例,对于本领域的普通技术人员而言,可以理解在不脱离本实用新型的原理和精神的情况下可以对这些实施例进行多种变化、修改、替换和变型,本实用新型的范围由所附权利要求及其等同物限定。
Claims (6)
1.金属门框加工用冲压装置,包括加工台(1)、安装架(2)、冲压机(3),所述安装架(2)固定安装在加工台(1)的上表面,所述冲压机(3)安装在安装架(2)的中部,其特征在于:所述加工台(1)的上表面固定安装有伸缩套(4),所述伸缩套(4)的内部活动安装有伸缩柱(5),所述伸缩柱(5)的顶部固定安装有连接板(6),所述连接板(6)的另一端焊接有模具(7),所述模具(7)的内部设置有冲压件(17),所述模具(7)的焊接有固定架(8),所述固定架(8)的后侧焊接在伸缩柱(5)的正面,所述冲压机(3)的输出轴上固定套接有第一齿条(9),所述第一齿条(9)的右侧咬合有第一齿轮(10),所述第一齿轮(10)的正面固定安装有第一斜齿轮轮(11),所述第一斜齿轮轮(11)的上方咬合有第二斜齿轮(12),所述第二斜齿轮(12)的上表面固定安装有蜗杆(13),所述蜗杆(13)的后侧啮合有蜗轮(14),所述蜗轮(14)的中部固定套接有转杆(15),所述转杆(15)的左右两侧均固定套接有驱动臂(16),所述驱动臂(16)的活动套接在伸缩套(4)的内部,所述驱动臂(16)的上表面与伸缩柱(5)的底部活动接触。
2.根据权利要求1所述的金属门框加工用冲压装置,其特征在于:所述伸缩套(4)的正面开设有驱动槽,所述伸缩套(4)正面开设的驱动槽与驱动臂(16)相适配。
3.根据权利要求1所述的金属门框加工用冲压装置,其特征在于:所述模具(7)的左右两侧均活动安装有夹持臂(18),所述模具(7)的左右两侧均活动安装有紧合螺柱(19),所述紧合螺柱(19)的外表面螺纹连接有紧合螺母(20)。
4.根据权利要求3所述的金属门框加工用冲压装置,其特征在于:所述夹持臂(18)的中部开设有紧合槽,所述紧合螺柱(19)处于紧合槽中,所述紧合螺母(20)的宽度大于紧合槽宽度一到三厘米。
5.根据权利要求1所述的金属门框加工用冲压装置,其特征在于:所述第一斜齿轮轮(11)的正面固定安装有第二齿轮(21),所述第二齿轮(21)的上下两侧均咬合有第二齿条(22),所述第二齿条(22)的一侧固定安装有挡板(23)。
6.根据权利要求5所述的金属门框加工用冲压装置,其特征在于:所述挡板(23)的底部固定安装有滑块(24),所述滑块(24)的形状为T形凸块,所述加工台(1)的表面开设有与滑块(24)相适配的T形滑槽。
Priority Applications (1)
| Application Number | Priority Date | Filing Date | Title |
|---|---|---|---|
| CN202223205041.3U CN218692977U (zh) | 2022-12-01 | 2022-12-01 | 金属门框加工用冲压装置 |
Applications Claiming Priority (1)
| Application Number | Priority Date | Filing Date | Title |
|---|---|---|---|
| CN202223205041.3U CN218692977U (zh) | 2022-12-01 | 2022-12-01 | 金属门框加工用冲压装置 |
Publications (1)
| Publication Number | Publication Date |
|---|---|
| CN218692977U true CN218692977U (zh) | 2023-03-24 |
Family
ID=85626060
Family Applications (1)
| Application Number | Title | Priority Date | Filing Date |
|---|---|---|---|
| CN202223205041.3U Expired - Fee Related CN218692977U (zh) | 2022-12-01 | 2022-12-01 | 金属门框加工用冲压装置 |
Country Status (1)
| Country | Link |
|---|---|
| CN (1) | CN218692977U (zh) |
Cited By (1)
| Publication number | Priority date | Publication date | Assignee | Title |
|---|---|---|---|---|
| CN118847800A (zh) * | 2024-08-09 | 2024-10-29 | 江苏瑞美克仪器有限公司 | 一种仪器仪表制造用前段加工装置 |
-
2022
- 2022-12-01 CN CN202223205041.3U patent/CN218692977U/zh not_active Expired - Fee Related
Cited By (1)
| Publication number | Priority date | Publication date | Assignee | Title |
|---|---|---|---|---|
| CN118847800A (zh) * | 2024-08-09 | 2024-10-29 | 江苏瑞美克仪器有限公司 | 一种仪器仪表制造用前段加工装置 |
Similar Documents
| Publication | Publication Date | Title |
|---|---|---|
| CN204074855U (zh) | 新型铝板折弯机 | |
| CN218692977U (zh) | 金属门框加工用冲压装置 | |
| CN213256415U (zh) | 一种新型防护罩钣金结构 | |
| CN221291227U (zh) | 一种动车组转向架对位辅助装置 | |
| CN211588244U (zh) | 一种卸料稳定的单冲模具 | |
| CN221715348U (zh) | 一种配电箱板材加工用折弯机 | |
| CN206286790U (zh) | 一种半自动数显压入机 | |
| CN213765312U (zh) | 一种钢材生产加工用打磨台 | |
| CN218079745U (zh) | 一种折弯机构辅助定位装置 | |
| CN210734227U (zh) | 一种模具管理用上架辅助装置 | |
| CN215452752U (zh) | 一种电机端盖校正装置 | |
| CN216869432U (zh) | 一种汽车零部件冲压钣金件检测装置 | |
| CN209006449U (zh) | 一种辅助板材压弧成型的设备 | |
| CN222079098U (zh) | 一种电子产品外壳检测用固定夹具 | |
| CN214869430U (zh) | 一种钣金加工用打磨弯折钣金工装 | |
| CN218137113U (zh) | 一种模具钢的平磨加工装置 | |
| CN221676949U (zh) | 一种固定夹具 | |
| CN222491973U (zh) | 一种锻件锻压设备用锻压驱动装置 | |
| CN217647783U (zh) | 一种钢材加工用焊接装置 | |
| CN221834288U (zh) | 一种钢结构翻转装置 | |
| CN216728921U (zh) | 一种五金制品折弯装置 | |
| CN218946156U (zh) | 金属底盖冲压固定结构 | |
| CN223789255U (zh) | 一种改进型折弯机用后档料装置 | |
| CN217370148U (zh) | 一种高性能高可靠机械零件加工装置 | |
| CN215548128U (zh) | 一种冲床连杆用维修固定装置 |
Legal Events
| Date | Code | Title | Description |
|---|---|---|---|
| GR01 | Patent grant | ||
| GR01 | Patent grant | ||
| CF01 | Termination of patent right due to non-payment of annual fee | ||
| CF01 | Termination of patent right due to non-payment of annual fee |
Granted publication date: 20230324 |