CN218108243U - 一种针织布表面抑菌涂覆层装置 - Google Patents

一种针织布表面抑菌涂覆层装置 Download PDF

Info

Publication number
CN218108243U
CN218108243U CN202221935776.9U CN202221935776U CN218108243U CN 218108243 U CN218108243 U CN 218108243U CN 202221935776 U CN202221935776 U CN 202221935776U CN 218108243 U CN218108243 U CN 218108243U
Authority
CN
China
Prior art keywords
stirring
guide
pair
roller
box
Prior art date
Legal status (The legal status is an assumption and is not a legal conclusion. Google has not performed a legal analysis and makes no representation as to the accuracy of the status listed.)
Expired - Fee Related
Application number
CN202221935776.9U
Other languages
English (en)
Inventor
洪志民
Current Assignee (The listed assignees may be inaccurate. Google has not performed a legal analysis and makes no representation or warranty as to the accuracy of the list.)
Quanzhou Shubiao Textile Technology Co ltd
Original Assignee
Shishi Jiuling Textile Technology Co ltd
Priority date (The priority date is an assumption and is not a legal conclusion. Google has not performed a legal analysis and makes no representation as to the accuracy of the date listed.)
Filing date
Publication date
Application filed by Shishi Jiuling Textile Technology Co ltd filed Critical Shishi Jiuling Textile Technology Co ltd
Priority to CN202221935776.9U priority Critical patent/CN218108243U/zh
Application granted granted Critical
Publication of CN218108243U publication Critical patent/CN218108243U/zh
Expired - Fee Related legal-status Critical Current
Anticipated expiration legal-status Critical

Links

Images

Landscapes

  • Coating Apparatus (AREA)

Abstract

本实用新型公开了一种针织布表面抑菌涂覆层装置,包括一底板、一搅拌机构和一导向机构,所述底板的上端安装有一侧板,所述搅拌机构包括一搅拌箱、一第一电机和一对刮料机构,所述搅拌箱固定在所述顶板的上端;所述第一电机安装在所述搅拌箱的内顶壁上,所述第一电机的输出端连接有一搅拌组件;一对刮料机构对称连接在所述搅拌组件的搅拌杆上,所述导向机构安装在所述侧板的前端面上。本实用新型不仅可通过设置的搅拌机构调整油漆的粘稠度,并且通过设置的刮板机构便于使用者清洗箱体的内部。

Description

一种针织布表面抑菌涂覆层装置
技术领域
本实用新型涉及纺织设备技术领域,具体涉及一种针织布表面抑菌涂覆层装置。
背景技术
针织布即是利用织针将纱线弯曲成圈并相互串套而形成的织物,分经编针织布和纬编针织布。同时,针织面料具有质地柔软、吸湿透气、排汗保暖等特性,大多具有优良的弹性与延伸性。相对梭织布它具有产量高,适合小批量生产的特点。针织服饰穿着舒适、贴身和体、无拘紧感、能充分体现人体曲线。但在对针织布表面进行涂层涂刷时,由于油漆搅拌不均从而容易出现结块的现象,导致涂刷出现一定的质量问题。并且在搅拌油漆时,搅拌筒内的残余会附着在筒壁内,不易清理。
实用新型内容
有鉴于此,本实用新型提供一种针织布表面抑菌涂覆层装置,以解决上述技术问题。
为实现上述目的,本实用新型提供如下技术方案:
一种针织布表面抑菌涂覆层装置,包括:
一底板,所述底板的上端安装有一侧板;
一搅拌机构,所述搅拌机构安装在所述侧板的顶板上,所述搅拌机构包括:
一搅拌箱,所述搅拌箱固定在所述顶板的上端;
一第一电机,所述第一电机安装在所述搅拌箱的内顶壁上,且所述第一电机的输出端连接有一搅拌组件;
一对刮料机构,一对刮料机构对称连接在所述搅拌组件的搅拌杆上,且一对刮料机构均能够与所述搅拌箱的内侧箱壁滑动配合;
一导向机构,所述导向机构安装在所述侧板的前端面上。
进一步地,所述搅拌组件还包括:
若干个第一套筒,若干个第一套筒均套设在所述搅拌杆的外周上;
若干个搅拌棒,若干个搅拌棒分别连接在对应的第一套筒的外端面处,且每个第一套筒的外端具有三个搅拌棒。
更进一步地,所述刮料机构包括:
一对连接杆,一对连接杆分别与所述搅拌杆上对应的第二套筒的外端面固接;
一对缓冲组件,一对缓冲组件分别活动设置在对应的连接杆的导槽处;
一刮板,所述刮板与一对缓冲组件固接,且所述刮板能够与所述搅拌箱的内侧箱壁滑动配合。
更进一步地,所述缓冲组件包括:
一连接筒,所述连接筒与所述刮板固接;
一导杆,所述导杆与所述刮板的外壁固接,且所述导杆能够与所述导槽滑动连接;
一压缩弹簧,所述压缩弹簧套设在所述导杆的外周上,且所述压缩弹簧的两端分别抵压在所述刮板的外壁与所述连接杆的端面之间。
进一步地,所述导向机构包括一第一导辊、一第二导辊、一第三导辊、一压辊和一收卷辊,所述第一导辊、所述第二导辊、所述第三导辊、所述压辊和所述收卷辊均安装在所述侧板的前端面上,且所述压辊位于所述第三导辊的正上方,所述收卷辊通过所述侧板后端的第二电机控制驱动。
进一步地,所述搅拌箱的上端开设有一入料口。
进一步地,所述搅拌箱的下端开口处连接有一出料管,所述出料管的下端与所述侧板的涂料盒相连通,其中,所述涂料盒的下端安装有一料刷。
进一步地,所述底板的底部通过若干个撑脚固定。
从上述的技术方案可以看出,本实用新型的优点是:本实用新型不仅可通过设置的搅拌机构调整油漆的粘稠度,并且通过设置的刮板机构便于使用者清洗箱体的内部。
附图说明
构成本申请的一部分的附图用来提供对本实用新型的进一步理解,本实用新型的示意性实施例及其说明用于解释本实用新型,并不构成对本实用新型的不当限定。
图1为本实用新型的结构示意图。
图2为图1的A处局部放大图。
图3为图2的B处局部放大图。
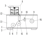
附图标记列表:底板1、侧板11、顶板12、撑脚2、搅拌机构3、搅拌箱31、入料口32、第一电机33、第一套筒34、第二套筒35、搅拌杆36、刮料机构37、连接杆371、导槽3711、连接筒372、导杆373、压缩弹簧374、刮板375、出料管38、搅拌棒39、涂料盒4、料刷41、针织布5、第一导辊6、第二导辊7、第三导辊8、压辊81、收卷辊9、第二电机91。
具体实施方式
为使本实用新型的目的、技术方案和优点更加清楚明白,下面结合实施方式和附图,对本实用新型做进一步详细说明。在此,本实用新型的示意性实施方式及其说明用于解释本实用新型,但并不作为对本实用新型的限定。
参考图1至图3,如图1和图2所示的一种针织布表面抑菌涂覆层装置,包括一底板1、一搅拌机构3和一导向机构,所述底板1的上端后侧安装有一侧板11;所述搅拌机构3安装在所述侧板11的顶板12上,顶板12由侧板11的上端向前延伸,所述搅拌机构3包括一搅拌箱31、一第一电机33和一对刮料机构37,所述搅拌箱31固定安装在所述顶板12的上端;所述第一电机33固定安装在所述搅拌箱31的内顶壁上,所述第一电机33的输出端向下延伸,且所述第一电机33的输出端连接有一搅拌组件;一对刮料机构37对称连接在所述搅拌组件的搅拌杆36上,且一对刮料机构37均能够与所述搅拌箱31的内侧箱壁滑动配合;所述导向机构安装在所述侧板11的前端面上。
优选的,所述搅拌组件还包括若干个第一套筒34和若干个搅拌棒39,若干个第一套筒34均套设在所述搅拌杆36的外周上,且若干个第一套筒34沿搅拌杆36的轴向间隔分布,若干个搅拌棒39分别连接在对应的第一套筒34的外端面处,且每个第一套筒34的外端具有三个搅拌棒39,以提高搅拌效果,所述搅拌杆36的外周上安装有一对第二套筒35。
如图3所示,所述刮料机构37包括一对连接杆371、一对缓冲组件和一刮板375,一对连接杆371分别与对应的第二套筒35的外端面固接,一对缓冲组件分别活动设置在对应的连接杆371的导槽3711处,所述刮板375与一对缓冲组件固接,且所述刮板375能够与所述搅拌箱31的内侧箱壁滑动配合。
优选的,所述缓冲组件包括一连接筒372、一导杆373和一压缩弹簧374,所述连接筒372的外端与所述刮板375的内端固接,所述导杆373的外端与所述刮板375的内端外壁固接,且所述导杆373内端向导槽3711内延伸,且能够与所述导槽3711滑动连接,所述压缩弹簧374套设在所述导杆373的外周上,且所述压缩弹簧374的外端抵压在所述刮板375的内端外壁上,压缩弹簧374的内端抵压在所述连接杆371的端面上。
优选的,所述导向机构包括一第一导辊6、一第二导辊7、一第三导辊8、一压辊81和一收卷辊9,所述第一导辊6、所述第二导辊7、所述第三导辊8、所述压辊81和所述收卷辊9均活动安装在所述侧板11的前端面上,且所述压辊81位于所述第三导辊8的正上方,所述收卷辊9通过所述侧板11后端的第二电机91控制驱动。
优选的,所述搅拌箱3的上端开设有一入料口32。
优选的,所述搅拌箱31的下端开口处连接有一出料管38,所述出料管38的下端与所述侧板11的涂料盒4相连通,其中,所述涂料盒4的下端安装有一料刷41。
优选的,所述底板1的底部通过若干个撑脚2固定。
工作原理:开始加工前,先启动第二电机91,使得第二电机91带动收卷辊9转动,将针织布5从收卷辊9上抽取出一部分,并依次绕经第三导辊8和压辊81之间的空隙、第二导辊7和第一导辊6,此时将油漆工入料口32处倒入搅拌箱31内,并同时启动第一电机33,使得第一电机33带动搅拌杆36转动,使得搅拌杆36带动若干个搅拌棒39和刮板375转动,对油漆进行充分搅拌,搅拌一段时间后,打开出料管38上的阀门,搅拌好的油漆从出料管38进入到涂料盒4内,并从涂料盒4底部的若干个小孔流到料刷41上,对针织布5表面进行涂刷操作,加工完毕后,继续启动第一电机31,使得第一电机31带动刮板375转动,使得刮板375将筒壁上的残余进行刮料处理,从而对后续清理搅拌筒提供了方便。
综上所述,本实用新型不仅可通过设置的搅拌机构3调整油漆的粘稠度,并且通过设置的刮板机构便于使用者清洗箱体的内部。
以上所述仅为本实用新型的优选实施例而已,并不用于限制本实用新型,对于本领域的技术人员来说,本实用新型实施例可以有各种更改和变化。凡在本实用新型的精神和原则之内,所作的任何修改、等同替换、改进等,均应包含在本实用新型的保护范围之内。

Claims (8)

1.一种针织布表面抑菌涂覆层装置,其特征在于,包括:
一底板(1),所述底板(1)的上端安装有一侧板(11);
一搅拌机构(3),所述搅拌机构(3)安装在所述侧板(11)的顶板(12)上,所述搅拌机构(3)包括:
一搅拌箱(31),所述搅拌箱(31)固定在所述顶板(12)的上端;
一第一电机(33),所述第一电机(33)安装在所述搅拌箱(31)的内顶壁上,且所述第一电机(33)的输出端连接有一搅拌组件;
一对刮料机构(37),一对刮料机构(37)对称连接在所述搅拌组件的搅拌杆(36)上,且一对刮料机构(37)均能够与所述搅拌箱(31)的内侧箱壁滑动配合;
一导向机构,所述导向机构安装在所述侧板(11)的前端面上。
2.根据权利要求1所述的针织布表面抑菌涂覆层装置,其特征在于,所述搅拌组件还包括:
若干个第一套筒(34),若干个第一套筒(34)均套设在所述搅拌杆(36)的外周上;
若干个搅拌棒(39),若干个搅拌棒(39)分别连接在对应的第一套筒(34)的外端面处,且每个第一套筒(34)的外端具有三个搅拌棒(39)。
3.根据权利要求2所述的针织布表面抑菌涂覆层装置,其特征在于,所述刮料机构(37)包括:
一对连接杆(371),一对连接杆(371)分别与所述搅拌杆(36)上对应的第二套筒(35)的外端面固接;
一对缓冲组件,一对缓冲组件分别活动设置在对应的连接杆(371)的导槽(3711)处;
一刮板(375),所述刮板(375)与一对缓冲组件固接,且所述刮板(375)能够与所述搅拌箱(31)的内侧箱壁滑动配合。
4.根据权利要求3所述的针织布表面抑菌涂覆层装置,其特征在于,所述缓冲组件包括:
一连接筒(372),所述连接筒(372)与所述刮板(375)固接;
一导杆(373),所述导杆(373)与所述刮板(375)的外壁固接,且所述导杆(373)能够与所述导槽(3711)滑动连接;
一压缩弹簧(374),所述压缩弹簧(374)套设在所述导杆(373)的外周上,且所述压缩弹簧(374)的两端分别抵压在所述刮板(375)的外壁与所述连接杆(371)的端面之间。
5.根据权利要求1所述的针织布表面抑菌涂覆层装置,其特征在于,所述导向机构包括一第一导辊(6)、一第二导辊(7)、一第三导辊(8)、一压辊(81)和一收卷辊(9),所述第一导辊(6)、所述第二导辊(7)、所述第三导辊(8)、所述压辊(81)和所述收卷辊(9)均安装在所述侧板(11)的前端面上,且所述压辊(81)位于所述第三导辊(8)的正上方,所述收卷辊(9)通过所述侧板(11)后端的第二电机(91)控制驱动。
6.根据权利要求1所述的针织布表面抑菌涂覆层装置,其特征在于,所述搅拌箱(31)的上端开设有一入料口(32)。
7.根据权利要求1所述的针织布表面抑菌涂覆层装置,其特征在于,所述搅拌箱(31)的下端开口处连接有一出料管(38),所述出料管(38)的下端与所述侧板(11)的涂料盒(4)相连通,其中,所述涂料盒(4)的下端安装有一料刷(41)。
8.根据权利要求1所述的针织布表面抑菌涂覆层装置,其特征在于,所述底板(1)的底部通过若干个撑脚(2)固定。
CN202221935776.9U 2022-07-26 2022-07-26 一种针织布表面抑菌涂覆层装置 Expired - Fee Related CN218108243U (zh)

Priority Applications (1)

Application Number Priority Date Filing Date Title
CN202221935776.9U CN218108243U (zh) 2022-07-26 2022-07-26 一种针织布表面抑菌涂覆层装置

Applications Claiming Priority (1)

Application Number Priority Date Filing Date Title
CN202221935776.9U CN218108243U (zh) 2022-07-26 2022-07-26 一种针织布表面抑菌涂覆层装置

Publications (1)

Publication Number Publication Date
CN218108243U true CN218108243U (zh) 2022-12-23

Family

ID=84520340

Family Applications (1)

Application Number Title Priority Date Filing Date
CN202221935776.9U Expired - Fee Related CN218108243U (zh) 2022-07-26 2022-07-26 一种针织布表面抑菌涂覆层装置

Country Status (1)

Country Link
CN (1) CN218108243U (zh)

Similar Documents

Publication Publication Date Title
CN110924001A (zh) 一种纺织加工用布料快速清洗设备
CN103921540B (zh) 一种橡胶导带多套色辊筒印花机
CN109056221A (zh) 一种纺织布冲洗除皱装置
CN207313749U (zh) 一种羊毛面料纺织用羊毛清洗装置
CN218108243U (zh) 一种针织布表面抑菌涂覆层装置
CN218707689U (zh) 一种针织布加工用表面除毛絮设备
CN108411600A (zh) 一种可防止毛料倒乱的针织衫加工用倒毛设备
CN107956067A (zh) 一种纺织用布匹染色设备
CN211256313U (zh) 一种纺织布料印染滚刷桶
CN220413734U (zh) 湿巾加液装置
CN208266549U (zh) 一种印染设备用清洁布除尘装置
CN216237674U (zh) 一种纺织染色装置
CN113246601B (zh) 一种高弹春亚纺加工用印花装置及其印花方法
CN111155261A (zh) 一种印花布匹的染色处理方法
CN216237119U (zh) 一种毛皮加工用清洗装置
CN213978205U (zh) 一种具有清洗功能的纺织用烘干装置
CN213357966U (zh) 一种单面上浆机
CN211142280U (zh) 一种耗牛绒针梳机
CN213681243U (zh) 一种水刺无纺布拖网帘在线清洗机构
CN210215864U (zh) 一种溢流染缸的挤水机构
CN112359578A (zh) 一种毛绒面料成型生产工艺
CN207313929U (zh) 一种半自动染色清理系统
CN213507554U (zh) 便于控制刮片布料染色均匀度的刮片机
CN208293247U (zh) 纺织用方便使用的均匀轧车
CN211256305U (zh) 一种基于纺织纱用清洗装置

Legal Events

Date Code Title Description
GR01 Patent grant
GR01 Patent grant
TR01 Transfer of patent right

Effective date of registration: 20231221

Address after: No. 168 Yongsheng Road, Taishang Development Zone, Yongning Town, Shishi City, Quanzhou City, Fujian Province, 362711

Patentee after: Quanzhou Shubiao Textile Technology Co.,Ltd.

Address before: No. 84 Caobang, Cuozi Village, Hanjiang Town, Shishi City, Quanzhou City, Fujian Province, 362700

Patentee before: Shishi Jiuling Textile Technology Co.,Ltd.

TR01 Transfer of patent right
CF01 Termination of patent right due to non-payment of annual fee

Granted publication date: 20221223

CF01 Termination of patent right due to non-payment of annual fee